TE5765AMN - Phone MT Logic - Free user manual and instructions
Find the device manual for free TE5765AMN MT Logic in PDF.
Frequently Asked Questions - TE5765AMN MT Logic
Download the instructions for your Phone in PDF format for free! Find your manual TE5765AMN - MT Logic and take your electronic device back in hand. On this page are published all the documents necessary for the use of your device. TE5765AMN by MT Logic.
USER MANUAL TE5765AMN MT Logic
To use 'Caller ID' (display caller), this service has to be activated on your phone line. Normally you need a separate subscription from your telephone company to activate this function. If you don't have the Caller ID function on your phone line, the incoming telephone numbers will NOT be shown on the display of your telephone.
Important
UK The features described in this manual are published with reservation to modifications.
This product is in compliance with the essential requirements and other relevant provisions of the R&TTE directive 1999/5/EC.
The Declaration of conformity can be found on:
http://www.tristar.eu
UK The CE symbol indicates that the unit complies with the essential requirements of the R&TTE directive.
F La conformité de l'appareil avec les exigences fondamentales de la directive europeenne R&TTE relative aux terminaux, est confirmée par le label CE.
NL Het toestel voldoet aan de basiseisen van de R&TTE-richtlijn. Dit worden bevestigd door de CE-markering.
D Die Übereinstimmung des Gerätes mit den grundlegenden Anforderungen der R&TTE-Directive ist durch das CE-Kennzeichen bestätigt.

UK This product works with rechargeable batteries only. If you put non-rechargeable batteries in the handset and place it on the base, the handset will be damaged and this in NOT covered under the warranty conditions.
1 Safety instructions
- Only use the charger plug supplied. Do not use other chargers as this may damage the battery cells.
- Only insert rechargeable batteries of the same type. Never use ordinary, non-rechargeable batteries. Insert rechargeable batteries so they connect to the right poles (indicated in the battery compartment of the handset).
- Do not touch the charger and plug contacts with sharp or metal objects.
- The operations of some medical devices may be affected.
- The handset may cause an unpleasant buzzing sound in hearing aids.
- Do not place the basic unit in a damp room or at a distance of less than 1.5m away from a water source. Keep water away from the handset.
- Do not use the telephone in environments where there is a risk of explosions.
- Dispose of the batteries and maintain the telephone in an environment-friendly manner.
- As this telephone cannot be used in case of a power cut, you should use a mains-independent telephone for emergency calls, e.g. a mobile phone
2 Getting started
2.1 How to use this user guide
In this user guide, following method is used to clarify the instructions:

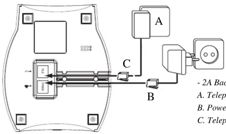
2.2 Installing the base
For installation, do the following:
1 Plug one end of the adaptor into the outlet and the other end into the adaptor jack on the back of the base.
2 Connect one end of the telephone cord with the wall phone jack and the other end to the bottom of the base.
3 Put the telephone- and AC power line cord in the base guides as shown on picture 2A.

- 2A Back view of base -
A. Telephone wall outlet
B. Power cable
C. Telephone cord
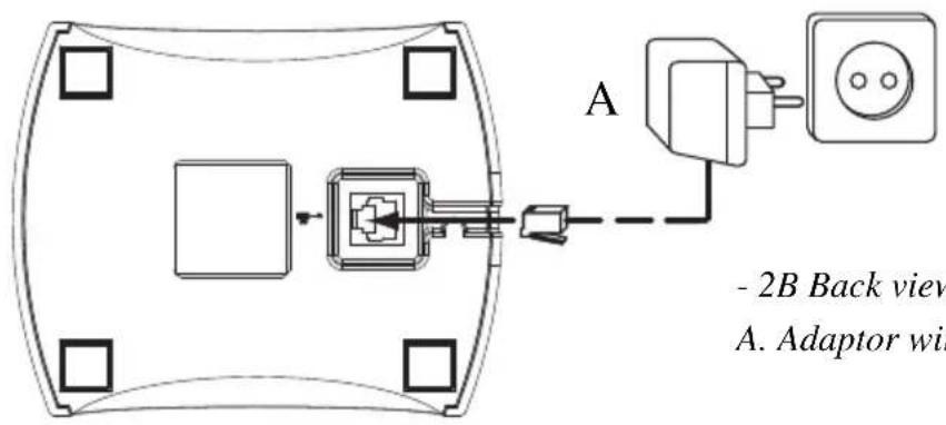
2.3 Installing the charger
1Plug the adaptor into the wall outlet.

-2B Back view of charger - A. Adaptor with power cable
2.4 Installing the handset
1Open the battery compartment as shown on picture 2C.
2 Insert the batteries respecting the polarity (+ and -).
3Close the battery compartment.
4Leave the handset on the base unit for 20 hours.
- 2C Back view of handset -
A. Cover
B. Rechargeable batteries


Before you use the telephone for the first time, you must first make sure the battery is charged for 20 hours. If you do not do this, the telephone will not work optimally.
2.5 Keys/LED's
Handset
- Display
- Menu / OK key
- Down / call log key
- Phonebook key
- Alphanumeric keys
- INT key
- On/off / flash key
8.Keypad lock - Handsfree key
- On-hook / off-hook key
- Up / redial / pause key
- Mute / delete key

-2DHandset-
Handset display
In standby mode, the display shows the time and the handset number:
12-05 1
To toggle between handset name and time, press and hold the '0' key.

- 2E Display -
Base
- Delete key
- Stop key
- Volume up key
- Skip forward key
- Answering on/off LED
- Play / pause key
- Skip back key
- Volume down key
- Paging key
- Answering machine on/off key

-2FBase
2.6 Symbols
| ext | Off hook; you are online New numbers in call list | |
| External call Answering machine on | ||
| Internal call Battery full | ||
| Answered call Battery medium | ||
| Unanswered call Battery low | ||
| Handsfree Battery empty | ||
| You are in the phonebook New voice mail | ||
| Your are in the menu Handset keypad | ||
| Indicates that the displayed number is longer than the screen (12 digits) | Handset within base range The antenna flashes when the handset is not registered on the base | |
2.7 Base LED
The "answering on/off" LED (17) indicates the following status:
Off The answering machine is off.
On The answering machine is on.
Blinking slowly There are new messages.
Blinking rapidly The memory of the answering machine is full.
2.8 Navigating the menu
The Butler E465 has a menu system which is easy to use. Each menu leads to a list of options. The menu map is shown on the following paragraph.
OK
1 When the handset is switched on and in standby, press the menu key to open the main menu.

2 Scroll to the desired menu option. The menu options scroll in a loop (you return to the first after the last).

3 Press the OK key to view further options or to confirm the setting displayed.

Press the delete key to return to the previous level in the menu.
2.9 Menu overview
| Menu | Submenu items |
| PLAYMESSAGE | NEW MSG ALL MSG |
| PHONEBOOK | ADD ENTRY MODIFY ENTRY DELETE ENTRY |
| TAM SETTINGS | ANS ON/OFF ANS MODE MEMO REC OGM SETTINGS DAY SETTINGS ANS DELAY REMOTE CODE |
| Menu Submenu items | |
| SETUP | BASE VOLUME BASE MEODY DEL HANDSET PIN CODE RECALL DEFAULT |
| HANDSET | BEEP INT RING VOL EXT RING VOL INT MEODY EXT MEODY AUTO ANSWER NAME LANGUAGE KEYLOCK? |
| DATE - TIME | DATE SET CLOCK SET ALARM SET |
| REGISTER | SELECT BASE REG BASE |
3 Using the telephone
3.1 Switching the handset on/off
1 Press the on/off key on the handset for 6 seconds. The handset will search the base.
2 Press and hold the on/off key for 6 seconds. The display will go off.
3.2 Changing the menu language
OK
1Enter the menu.
OK
2Select "HANDSET" and confirm.
OK
3Select "LANGUAGE" and confirm.
OK
4 Select a language and confirm.
3.3 Receiving a telephone call
To take the call:

1Press the off-hook key. OR
Lift the handset off its base if you have activated "Automatic answer". (See "6.5 Automatic answer")
You are connected to your correspondent.

2 Press the on-hook key to hang up or put the handset back on the base.
3.4 Making an external telephone call
Direct dialing

1Press the off-hook key to start the call.
2 Dial the telephone number.
3 Press the on-hook key to hang up or put the handset back on the base.
To correct a number use the delete key to delete an entered digit.
Pre-dialing

1 Dial the telephone number.
2Press the off-hook key to start the call.
3 Press the on-hook key to hang up or put the handset back on the base.
3.5 Making an internal telephone call

1 Press the internal call key.
2 Enter the number of the internal handset (1 to 5).
3 Press the on-hook key to hang up or put the handset back on the base.
3.6 Internal call transfer
Transfer an external call to another handset.

1 Press the internal call key.
2 Enter the number of the internal handset (1 to 5), the external caller is put on hold.
3 When the other handset picks up, press the on-hook key to hang up and transfer the call.

If the internal correspondent does not pick-up, press the internal call key again to reconnect to the external caller on line.
4 Press the on-hook key to hang up or put the handset back on the base.
3.7 Conference call
Only possible when more than one handset are registered to the base!
You can converse simultaneously with an internal correspondent and an external correspondent. During an external call:

1 Press the internal call key.
2 Enter the number of the internal handset (1 to 5).
3When the other handset picks up, press and hold the key.
If the internal correspondent does not pick-up, press the internal call key again to reconnect to the external caller on line.
4 Press the on-hook key to hang up or put the handset back on the base.
3.8 Handsfree mode
You can speak with your correspondent without picking up the handset.
1 Press the handsfree key during a call to activate or deactivate the handsfree mode.
3.9 Speaker volume during call

1 During a conversation, press the up or down key to change the volume accordingly.

The handsfree volume is also adjusted together with the receiver in the handset as above described.
3.10 Display of call duration
The call duration is displayed after 15 seconds, in minutes - seconds.
At the end of each call, the total call duration is displayed for 5 seconds.
3.11 Microphone mute
It is possible to mute the microphone during a conversation.

1 Press the mute key. You can talk freely without being heard by the calling party.
"MUTE" is displayed.

2Press the mute key again to return to normal mode.
3.12 Pause key
When dialing a number you can add a pause between two digits:

1 Press the radial/pause key for 2 seconds.
3.13 Locating a handset (Paging function)

1Press the paging key on the base.
All handsets registered with the base will ring.

2 Press any key on the handset to stop the ringing.
3.14 Redial memory
You can redial up to 10 of the last numbers called. If you have stored a name in the phonebook to go with the number, the name will be displayed instead.

1 Press the radial key.

2 Select a number. If the number is in the phonebook, the name will be shown.

When the name is displayed, you can toggle between the name and the number by pressing the OK key!

3Press the off-hook key to start the call.

4Press the on-hook key to return to standby.
3.15 Using the alphanumeric keypad
With your telephone, you can also enter alphanumeric characters. This is useful for entering a name into the phonebook, giving a name to the handset, ...
To select a letter, press the corresponding key as many times as necessary.
For example, to select an 'A', press '2' once. To select a 'B', press '2' twice and so on.
To select 'A' and then 'B' consecutively, press '2' once, wait until the cursor moves on to the next character, then press '2' twice.
During entering text, the available character under each key appears below on the display.

Press '1' to select a space.
Press the delete key to delete a character.
The keypad characters are as follows:
| KeyFirst | Second | Third | Fourth | Fifth |
| press press press press press |
| 1 space - 1 | |||||||
| 2 | A | B | C | 2 | |||
| 3 | D | E | F | 3 | |||
| 4 | G | H | I | 4 | |||
| 5 | J | K | L | 5 | |||
| 6 | M | N | O | 6 | |||
| 7 | P | Q | R | S | 7 | ||
| 8 | T | U | V | 8 | |||
| 9 | W | X | Y | Z | |||
4 Phonebook
Each handset can store up to 50 telephone numbers and names. Names can be up to 12 characters long and numbers up to 24 digits.
To enter alphanumeric characters, refer to the section "3.15 Using the alphanumeric keypad".
4.1 To add an entry into the phonebook
| OK | 1 | Enter the menu. |
| OK | 2 | Select “PHONEBOOK” and confirm. |
| OK | 3 | Select “ADD ENTRY” and confirm. |
| OK | 4 | Enter the name and confirm. |
| C | Press and hold the mute/delete key to exit the menu without taking any modifications into account. | |
| OK | 5 | Enter the number and confirm. |
| OK | 6 | Select a ring melody (1-10) and confirm. |
4.2 To dial an entry from the phonebook

1 Press the phonebook key.
2 Select a name or enter the first letter of the name. (The list scrolls in alphabetical order.)
Press the OK key if you first like to see the telephone number.
If the telephone number is longer than 12 digits, press the OK key again to see the complete number.
3 Press the off-hook key to start the call.
4 Press the on-hook key to hang up or put the handset back on the base.
4.3 To modify a name and number
| OK | 1Enter the menu. |
| OK | 2Select “PHONEBOOK” and confirm. |
| OK | 3Select “MODIFY ENTRY” and confirm. |
| OK | 4Select the name to modify and confirm. |
| OK | 5Delete the unwanted characters and enter the new name. Confirm. |
| OK | 6Enter the new number and confirm. |
| OK | 7Select a ring melody (1-10) and confirm. |
4.4 Delete an entry from the phonebook
| OK | 1 Enter the menu. |
| OK | 2 Select “PHONEBOOK” and confirm. |
| OK | 3 Select “DELETE ENTRY” and confirm. |
| OK | 4 Select a name or enter the first letter of the name and confirm. |
| “CONFIRM” appears on the display. | |
| OK | 5 Confirm or cancel. |
5 Caller Identification

This service only works when you have a Caller ID/Clip subscription. Please contact your telephone company.
When you receive an external call, the telephone number of the caller appears on the handset display. The telephone can receive calls in both FSK and DTMF. You can also see his or her name if it is transmitted by the network. If the name is programmed in the phonebook, the name in the phonebook is displayed!
The caller identity is replaced by the call duration after 15 seconds in communication. It is still possible to display the caller's identity after this time by pressing the OK key repeatedly for the name and number.
The telephone can store 40 calls in a call list (received and missed calls) that can be reviewed later. This function is only available if your are subscribed to the caller ID information.
When the memory is full, the new calls automatically replace the oldest calls in the memory.

New or missed calls are signaled by a blinking icon on the display.
To consult the list of calls:

1 Press the call log key.
If there are no calls in the list "EMPTY" will appear.

2 Scroll through the calls. The callers names will be shown if the name is send by the network or is stored in the phonebook. If you are at the end of the list you will hear a beep tone.

When is shown, this call is been answered. When is shown, the call is unanswered.
3Press the OK key to see the telephone number.




If the telephone number is longer than 12 digits, press the OK key again to see the complete number.
4 Press the OK key again to see the time and date when the call is received.
5 Press the OK key to add this entry to the phonebook if it's not already stored: Press OK when "ADD" is shown on the display. Enter or modify the name and press OK. Enter or modify the telephone number and press OK. Select the melody (1-10) which will be heard when this number is calling by means of the up/down keys and press OK. The entry will be stored in the phonebook.
6 Press the off-hook key to call back a correspondent, when their telephone number or name are displayed.
You can delete each entry separately:


1Scroll to the call you want to delete and delete.
"DELETE" appears on the screen.
2 Confirm or cancel.


es at ones:
To delete all entries at ones:

1Press the delete key long (2 seconds).
"DELETE ALL" appears on the screen.


2 Confirm or cancel.
6 Personalize the handset

Every programmation is confirmed at the end by a double or single long beep. A double beep confirms the validation of your choice. A long beep signifies that the modification has not been taken into account.
6.1 Adjusting the ring volume
Handset ring volume internal/external calls
The handset ring volume for internal or external calls can be set separately. You can choose from 5 handset ringer volume levels and "OFF".

When the handset is inside the base, the base will not ring during incoming call. So when the handset ring volume is turned off and handset is inside the base, your phone will not ring anymore!

1Enter the menu.


2Select "HANDSET" and confirm.


3 Select "INT RING VOL" to change the internal volume or "EXT RING VOL" to change the external volume and confirm.

4Select a volume (1 to 5 or "OFF").


5Confirm or return to the previous menu.
6.2 Choosing the ring melody
The base and each handset can ring with a different melody. The handsets can ring with a different melody according to whether the call is internal or external. You can choose from 5 different ringer melodies:
| OK | 1Enter the menu. |
| OK | 2Select “SETUP” and confirm. |
| OK | 3Select “HANDSET” and confirm. |
| OK | 4Select “INT MELODY” to change the internal melody or “EXT MELODY” to change the internal melody and confirm. |
| OK | 5Select a melody (1 to 10). |
| OK | 6Press the OK key to confirm or return to the previous menu. |
6.3 Activation/deactivation of beeps
The handsets can emit a beep tone when a key is pressed, when the batteries are low or when the handset is out of range.
Key pressed beep tone on/off
| OK | 1Enter the menu. |
| OK | 2Select “HANDSET” and confirm. |
| OK | 3Select “BEEP” and confirm. |
| OK | 4Select “KEYTONE” and confirm. |
| OK | 5Select “ON” to activate or “OFF” to deactivate and confirm. |
Low battery
| OK | 1Enter the menu. |
| OK | 2Select “HANDSET” and confirm. |
| OK | 3Select “BEEP” and confirm. |
| OK | 4Select “LOW BATTERY” and confirm. |
| OK | 5Select “ON” to activate or “OFF” to deactivate and confirm. |
Handset out of range
| OK | 1Enter the menu. |
| OK | 2Select “HANDSET” and confirm. |
| OK | 3Select “BEEP” and confirm. |
| OK | 4Select “OUT RANGE” and confirm. |
| OK | 5Select “ON” to activate or “OFF” to deactivate and confirm. |
6.4 Handset name
You can change the name displayed on the handset during standby (max. 9 characters). This function allows you to personalize each handset.
| OK | 1Enter the menu. |
| OK | 2Select “HANDSET” and confirm. |
| OK | 3Select “NAME” and confirm. |
| OK | 4Enter the name you want and confirm. |
| C | Press the delete key to delete a character. Press and hold the phonebook key to exit the menu without taking any modifications into account. |
6.5 Automatic answer
When there is a incoming call and the handset is on the base, the phone automatically takes the line when lifted. This is the default setting, but can be set off:
1 Enter the menu.
AOK
2 Select "HANDSET" and confirm.
AOK
3 Select "AUTO ANSWER" and confirm.
OK
4 Select "ON" to activate or "OFF" to deactivate and confirm.
6.6 Reset the handset
It is possible to return the phone to the original default configuration. This is the configuration which was installed when you first received the telephone.
To return to default settings:
OK
1 Enter the menu.
A
2 Select "SETUP" and confirm.
AOK
3 Select "DEFAULT" and confirm.
OK
4 Enter the 4 digit PIN code (default = 0000 ) and confirm.
Default parameters are:
Low battery beeps On
Out of range warning beeps Off
Key click On
Auto answer On
Internal melody 1
Internal volume 3
External melody 3
External volume 3
Ear volume 3
Phonebook
Call log list Empty
Redial list Empty
Pin code 0000
Dial mode DTMF
Keypad lock Off
Empty

Returning to default settings will delete all entries in the phonebook and call log. The PIN code will also be reset to 0000.
6.7 Keypad lock
The keypad can be locked so that no settings can be changed or no telephone number can be dialed. The icon will appear on the screen when keypad is locked.
Locking the keypad
1 Press and hold the * key for 3 seconds. The keypad will be locked.
Unlock the keypad
1 Press any key, "PRESS *" will appear on the screen.
2 Press the * key within 3 seconds.
6.8 Setting the time
| OK | 1Enter the menu. |
| OK | 2Select “DATE - TIME” and confirm. |
| OK | 3Select “CLOCK SET” and confirm. |
| OK | 4Enter the time (24h format) and confirm. |
6.9 Setting the alarm
| OK | 1Enter the menu. |
| OK | 2Select “DATE - TIME” and confirm. |
| OK | 3Select “ALARM SET” and confirm. |
| OK | 4Select “ON” to turn on the alarm and confirm. |
| OK | Enter the time (24h format) when the alarm must be activated and confirm. |
| OK | OR |
| OK | Select “OFF” to turn off the alarm and confirm. |
| OK | 5Select “DATE SET” and confirm. |
| OK | 6Enter the date (day-month) and confirm. |
6.10 Setting the date
| OK | 1Enter the menu. |
| OK | 2Select “DATE - TIME” and confirm. |
| OK | 3Select “DATE SET” and confirm. |
| OK | 4Enter the date (day-month) and confirm. |
7 Base settings
7.1 Adjusting the ring volume
Base ring volume
You can choose from 5 ringer volume levels and "OFF".
| OK | Enter the menu. |
| OK | Select “SETUP” and confirm. |
| OK | Select “BASE VOLUME” and confirm. |
| OK | Select a volume (“OFF” or 1 to 5). |
| OK | Confirm or return to the previous menu. |
7.2 Choosing the ring melody
The base and each handset can ring with a different melody. To set the base melody:
| OK | 1Enter the menu. |
| OK | 2Select “SETUP” and confirm. |
| OK | 3Select “BASE MELODY” and confirm. |
| OK | 4Select a melody (1 to 5). |
| OK | 5Confirm or return to the previous menu. |
7.3 Changing the PIN code
Certain functions are only available to users who know the PIN code. By default the PIN code is 0000. To change the PIN code:
| OK | 1Enter the menu. |
| OK | 2Select “SETUP” and confirm. |
| OK | 3Select “PIN CODE” and confirm. |
| OK | 4Enter the old 4 figure PIN code and confirm. |
| OK | 5Enter a new 4 figure PIN code and confirm. |
| OK | 6Enter the new PIN code a second time and confirm. |
7.4 Flash time duration
Press the flash key 'R' (key 7 - picture 2D Handset) to use certain services on your external line such as "call waiting" (if your phone company offers this feature); or to transfer calls if you use a telephone exchange (PABX). The flash key 'R' is a brief interruption of the line. You can set the flash time to 100ms or 250ms
| OK | 1Enter the menu. |
| OK | 2Select “SETUP” and confirm. |
| OK | 3Select “RECALL” and confirm. |
| OK | 4 Choose “RECALL1” for short flash time (100ms) or “RECALL2” for long flash time (250ms) and confirm. |
8 Managing multiple handsets
8.1 Adding a new handset

Only needed when you have deregistered a handset or when you bought a new one.
You can register new handsets on the base if these handsets support the DECT GAP protocol. The base can support a maximum of 5 handsets. If you already have 5 handsets, and you wish to add another one or change one handset, you must first delete a handset, then associate the new handset.
Putting the base into registration mode:

1 Press and hold the paging key on the base for 6 seconds. The base will then emit a beep tone.
The LED on the base will start to blink for 90 seconds. During that time, the base is ready to register a new handset.
Register the new handset:
If your additional handset is a Butler E465


2Enter the menu.
3Select "REGISTER" and confirm.
4Select "REG BASE" and confirm.
5 Enter the number of the base to be associated with the handset (1-4) and confirm. (The flashing numbers are already in use.)
| OK | 6Enter the Base PIN code (0000 by default) and confirm. |
| The handset will start searching for the DECT base. If the handset has located the base, it will display the base identification number. | |
| OK | 7Confirm or stop. |
| If the handset does not locate the base, it will return to the standby mode after a few seconds. Try again by changing the base number and check that you are not in an environment with interference. Move closer to the base. |
If your handset is another model
After starting the registration procedure on the base, refer to the handset manual to find out how to register the handset. The handset must be GAP compatible.
The icon and the text "NOT REG" flashes on the display when the handset is not associated with the base.
When a handset is associated with a base, it is attributed a handset number by the base. It is this number that is displayed on the handset after the name and must be used for internal calls.

DECT GAP Profile only guarantees that basic calling-functions will work correctly between different brands/types. There's a possibility that certain services (like CLIP) will not work correctly.
8.2 Removing a handset
This procedure needs to be carried out on a different handset than the one you want to remove.
| OK | 1 Enter the menu. |
| OK | 2 Select “SETUP” and confirm. |
| OK | 3 Select “DEL HANDSET” and confirm. |
| OK | 4 Enter the Base PIN code (0000 by default) and confirm. |
| OK | 5 Select the handset to be removed and confirm. |
8.3 Setting up a handset on another base
If you want to use a Butler E465 handset with a base of another model. The base must be GAP compatible.
| OK | 1Put the base in registration mode, refer to the base manual. |
| 2Enter the menu. | |
| ▲▼ | 3Select “REGISTER” and confirm. |
| ▲▼ | 4Select “REG BASE” and confirm. |
| OK | 5 Enter the number of the base to be associated with the handset and confirm. |
| OK | 6Enter the Base PIN code and confirm. |
| OK | The handset will start searching for the DECT base. If the handset has located the base, it will display the base identification number. |
| OK | 7Confirm or stop. |
8.4 Selecting a base
You can switch your handset between bases. The handsets can be registered up to 4 bases simultaneously. When selecting the base, the current selected base is indicated by a blinking base number. If you select "AUTO" the handset will automatically search for another base when you are out of range. The handset must first be registered with each base individually.
| OK | 1Enter the menu. |
| OK | 2Select “REGISTER” and confirm. |
| OK | 3Select “SELECT BASE” and confirm. |
| OK | 4Select a base or select “AUTO” and confirm. |

When you have activated Automatic base selection and the handset is out of range on the current base, the handset will only search for the strongest base in standby (not during communication).
9 Answering machine
The Butler E465 has a built-in digital answering machine with a recording capacity of 10min . This answering machine can be controlled by the base and by the handset. The answering machine can be operated remotely and features the possibility of recording two outgoing messages (Message 1 and Message 2).
An internal voice will state various information, such as day and time of the call, as well as settings such as VIP code, ring delay... The language available of the internal voice is indicated on the packing!

All messages and settings are stored on flash-memory and will not be erased when the adapter is unplugged. Only the day/time settings will be erased.
9.1 Answering machine settings
Some settings can also be done on the base but most settings are controlled by the handset.
Setting the base speaker volume
To change the volume during playback of incoming or outgoing messages:
Press the base volume keys to increase or to decrease.
The volume can be set from 0 to 9. If the volume is set to the lowest position there will be no audible output during call screening and during remote interrogation, but there will be a level 1 output for other operation.
Turning answering machine on/off
If the answering machine is on, the answering on/off LED (17) on the base will light up continuously (or blink when there are new messages) and the machine will automatically pick up the line after a number of rings (see "Setting number of rings (Answer delay)"). On the handset the on will be show (or blink when there are new messages).
If the answering machine is off, the answering on/off LED (17) on the base will not lit and the -icon will not been shown on the handset display.
To turn the answering on/off from the base.
1 Press the on/off key on the base to switch on the answering machine.
2 A voice confirms the setting and playback the active outgoing message.
3Press the on/off key again to switch off the answering machine.
To turn the answering on/off from the handset:
OK
1Enter the menu.
2Select "TAM SETTINGS" and confirm.
A
3Select "ANS ON/OFF" and confirm.
A
4Select "ON" or "OFF" and confirm.

Even if the answering machine is off, the machine will automatically pick up after 10 rings in order to enable remote activation (see "9.3 Remote operation").
Setting number of rings (Answer delay)
The number of rings after which the answering machine will answer calls can be set from 2 to 9 and "Toll saver". The standard setting is 6 rings. In "Toll saver" mode, the machine will answer after 6 rings if there are no new messages, and after 2 rings if there are new messages. If there are no new messages and you call your machine to check your messages remotely (see "9.3 Remote operation"), you can hang up after the 2nd ring. You do not need to pay connection fees and you know that you don't have any new messages.
To set the number of ring by the base:
1 Press the skip forward key briefly to check the actual number of rings. A voice will playback the current number of rings.
2 Press the skip forward key for 2 seconds to set the number of ringing tones.
3 Press the skip forward key immediately to change the current number of rings.
4 If you do not press any keys for 3 seconds, the machine will set the selected number of rings.
To set the number of ring by the handset:
OK
1Enter the menu.
A
2Select "TAM SETTINGS" and confirm.
A
3Select "ANS DELAY" and confirm.
A
4 Set the number of rings and confirm.
Memory full
If the memory is full, the answering on/off LED on the base will flash rapidly (0,5 sec. on/off). If the answering machine is turned on and a call comes in, the machine will automatically play outgoing message 2 (answering machine function without recorded caller message).
When listening to the messages, the internal voice will say that the memory is full before playing back the messages. Erase some or all the messages to have free memory again.
Programming the VIP code
The VIP code is a 3-digit code used to operate the machine remotely (see "9.3 Remote operation"). The VIP code is set to '123' by default.
OK
1Enter the menu.
A
2Select "TAM SETTINGS" and confirm.
A
3Select "REMOTE CODE" and confirm.
OK
4 Enter the new code and confirm.
Recording and selecting an outgoing message
Two outgoing messages of 3 minutes can be recorded (OGM1 and OGM2).
-
Outgoing message 1 for the answering function and the possibility for callers to leave a message.
-
Outgoing message 2 for the answering function without allowing callers to leave a messages on the machine (answer only).

If no outgoing message is recorded, a pre-recorded outgoing message will be used.
| OK | |
| ↓▼ | ↓/OK |
| ↓▼ | ↓/OK |
| ↓▼ | ↓/OK |
| ↓▼ | ↓/OK |
| ↓▼ | ↓/OK |
| ↓▼ | ↓/OK |
| # | |
| ↓▼ | ↓/OK |
| ↓▼ | ↓/OK |
1Enter the menu.
2Select "TAM SETTINGS" and confirm.
3Select "OGM SETTINGS" and confirm.
- Select "PLAY OGM" to play and hear the outgoing message.
Select "ANS AND REC" for outgoing message 1 or "ANS ONLY" for outgoing message 2 and confirm. - Select "RECORD OGM" to record the outgoing message.
Select "ANS AND REC" for outgoing message 1 or "ANS ONLY" for outgoing message 2 and confirm.
The internal voice will ask to start speaking after the tone. You can end the recording by pressing the # -key. The recording will be played back. - Select "DELETE OGM" to erase the outgoing message.
Select "ANS AND REC" for outgoing message 1 or "ANS ONLY" for outgoing message 2 and confirm. The pre-recorded outgoing message will be played.
Selecting the outgoing message (Answering mode)
To set the answering mode by the handset:
| OK | |
| ▲▼ | OK |
| ▲▼ | OK |
| ▲▼ | OK |
1Enter the menu.
2Select "TAM SETTINGS" and confirm.
3Select "ANS MODE" and confirm.
4 Select "ANS AND REC" for outgoing message 1 or "ANS ONLY" for outgoing message 2 and confirm.
Setting the day
During playback of messages you will hear the day and time when the messages are recorded. The time is set by the internal clock (See "6.8 Setting the time") but the day need to be set separately:
| OK | |
| OK | |
| OK | |
| OK | |
1Enter the menu.
2Select "TAM SETTINGS" and confirm.
3Select "DAY SETTINGS" and confirm.
4 Set the day and confirm.
9.2 Operation
If a call is received and the answering machine is turned ON, the answering machine will automatically answer the call after the set number of rings.
- If outgoing message 1 has been selected, the message will be played, a beep will be heard and the caller can leave a message (max. 3 minutes).
- If outgoing message 2 has been selected, after the beep, the line will automatically be disconnected. The caller doesn't have the possibility to leave a message.

If, during recording, nothing is said for 8 seconds, the line will be automatically disconnected.

Due to noise on your telephone line, it's possible that the device will not disconnect automatically, but record up to max. 3 minutes. The recording will be interrupted as soon as you take the line. If the unit continuous recording, press on the base.
Call screening on base and handset
This function is convenient if you only want to answer certain calls. During incoming call it is possible to screen the call over the base and handset and hear who is calling. On the base, if the speaker volume is not set to minimum, you can hear the outgoing message and the caller who is leaving a message. For the handset:

1 When "SCREEN?" appears press OK, you can hear the caller by the handset.

2 Press the delete key to stop the screening.
Recording a memo
A memo is considered as an incoming message that can be picked up later by the user. The max. recording time for a memo is 3 minutes.

1Enter the menu.

/OK
2Select "TAM SETTINGS" and confirm.

OK
3Select "MEMO REC" and confirm.

4 The internal voice will ask you to start the memo recording after the beep.
5Press the -key to stop the recording.
Playback of incoming messages and memos
On the base:

6Press the playback key to play all the messages and memos.

7 Press the playback for 2 seconds to play only the new messages and memos.
For each message, the internal voice announce the day and time when the message was recorded.
During playback, you can:

- Press the skip back key once to go to the beginning of the current message.

- Press the skip back key twice to go to the previous message.

- Press the stop key to stop the playback.

- Press the delete key to erase the current message.

- Press the play/pause key to interrupt the playback. Press the play/pause key again to restart playback.

- Press the skip forward key to go to the next message.

After you have listened to all messages, the internal voice will ask you to delete all the messages.

- Press the delete key to confirm. After pressing delete, the internal voice confirms that all the messages have been deleted.

- Press the stop key to skip.
On the handset:

1Enter the menu.

/OK
2Select "PLAY MESSAGES" and confirm.



3 The amount of new messages will be show, press the down key to see all messages (new and old messages).
4Press the OK key to play a message.
5 After the play back, the internal voice will ask to delete all messages by pressing the delete key.
9.3 Remote operation
The answering machine can be operated remotely using a touch-tone phone (DTMF tone selection system). The remote control is menu operated.
To enter the remote operation

1Call your machine.
The answering machine picks up the line, you hear the outgoing message and a beep.


2 After the beep, press the *key long. The unit will ask to enter the VIP code.
3Slowly dial the VIP code (default = '123').
1
If the VIP code is incorrect the unit will confirm and ask you to re-enter.
4 If the VIP code is correct and the unit has new messages, it will start to pronounce the amount of new messages and also play them. When all messages are played, the unit will ask you to press '5' to delete current played messages, or '1' to hear main menu.
If the unit doesn't have any new messages it will say so and ask you to press '1' for main menu.
Main menu
1 Press '1' to hear the main menu.
2 Press '2' to play all messages.
3 Press '3' to play new messages.
4 Press '4' to skip back during messages.
5 Press '5' to delete during messages.
6 Press '6' to skip forward during messages.
7 Press '7' to set|answer on/off.
8 Press '8' to hear outgoing messages menu.
9 Press '9' to set a new security code.

You are not obliged to play the main menu before activating any function.
Outgoing message menu
Press '8' in the main menu. The unit shall announce 'Outgoing message menu' followed by the outgoing message menu:
2 Press '2' to play the outgoing message.
3 Press '3' to record 'outgoing message 1'.
4 Press '4' to record 'outgoing message 2'.
5 Press '5' to select 'outgoing message 1'.
6 Press '6' to select 'outgoing message 2'.
8 Press '8' to hear outgoing messages menu again.
1 Press '1' to hear mean menu again.
Setting the security code
| * ④.5.6- | 5The unit shall ask to press the ‘’ key to set a new VIP code. Press ‘’. * |
| 6Use the numerical keypad to enter the new security code after the tone. | |
| # | 7Press the ‘’ key to confirm. |
| 1 8The unit shall | ask to press ‘1’ for main menu. |
10 Troubleshooting
| Symptom Possible cause Solution | ||
| No display Batteries uncharged | Check the position of the | batteries |
| Recharge the batteries | ||
| Handset turned off Turn on the handset | ||
| No tone Telephone cord badly | connected Check the telephone cord connection | |
| The line is occupied by another handset | Wait until the other handset hangs up | |
| The icon flashes Handset out | of range Bring the handset closer to the base | |
| The base has no power supply | Check the mains connection to the base | |
| The handset is not registered on the base | Register the handset on the base | |
| Base or handset do not ring | The ringing volume is off or low | Adjust the ringing volume |
| Tone is good, but there is no communication | The dialing mode is wrong | Adjust the dialing mode (pulse/tone) |
| Not possible to transfer a call on PABX | The flash time is too short or too long | Change the flash time |
| Telephone does not react when pressing the keys | Manipulation error | Remove the batteries and put them back in place |
11 Technical characteristics
| Standard | DECT (Digital Enhanced Cordless Telecommunications) GAP (Generic Access Profile) |
| Frequency range 1880 MHz to 1900 MHz | |
| Number of channels 120 duplex channels | |
| Modulation GFSK | |
| Speech coding 32 kbit/s | |
| Emission power 10 mW (average power per channel) | |
| Range maximum 300m in open space / 10-50m in-house | |
| Number of handsets Up to 5 | |
| Base power supply 230V / 50 Hz / 7,5V DC 300mA | |
| Charger power supply 230V / 50 Hz / 7,5V DC 200mA | |
| Handset batteries: | 2 rechargeable batteries AAA, NiMH 1,2V, 550mAh |
| Handset autonomy | 200 hours in standby |
| Handset talk time | 10 hours |
| Normal conditions of use | +5 °C to +45 °C |
| Flash time | 100 or 250 ms |
12 Warranty
12.1 Warranty period
The devices have a 36-month warranty period. The warranty period starts on the day the new unit is purchased. There is no warranty on standard or rechargeable batteries (AA/AAA type).
Consumables or defects causing a negligible effect on operation or value of the equipment are not covered. The warranty has to be proven by presentation of the original or copy of the purchase receipt, on which the date of purchase and the unit-model are indicated.
12.2 Warranty handling
A faulty unit needs to be returned to an authorized service centre including a valid purchase note and a filled in service card.
If the unit develops a fault during the warranty period, the service centre will repair any defects caused by material or manufacturing faults free of charge, by either repairing or exchanging the faulty units or parts of the faulty units. In case of replacement, colour and model can be different from the original purchased unit.
The initial purchase date shall determine the start of the warranty period. The warranty period is not extended if the unit is exchanged or repaired by the service centre.
12.3 Warranty exclusions
Damage or defects caused by incorrect treatment or operation and damage resulting from use of non-original parts or accessories are not covered by the warranty.
The warranty does not cover damage caused by outside factors, such as lightning, water and fire, nor any damage caused during transportation. No warranty can be claimed if the serial number on the units has been changed, removed or rendered illegible. Any warranty claims will be invalid if the unit has been repaired, altered or modified by the buyer.
This appliance may only be used with rechargeable batteries. If you want to replace the originally included batteries, please check whether the batteries you use are suitable and rechargeable.
Alkaline batteries may under NO circumstances be used in the handsets.
If you use Alkaline batteries and place the handset on the basis, the batteries will heat up and may explode. Any damage which may be caused cannot be recovered from the manufacturer and the damage thus caused to the appliance is not covered by the warranty conditions. Any repairs will be charged to you.
13 Disposal of the device (environment)

At the end of the product lifecycle, you should not throw this product into the normal household garbage but bring the product to a collection point for the recycling of electrical and electronic equipments. The symbol on the product, user guide and/or box indicate this.
Some of the product materials can be re-used if you bring them to a recycling point.
By re-using some parts or raw materials from used products you make an important contribution to the protection of the environment. Please contact your local authorities in case you need more information on the collection points in your area.
14 Cleaning
Clean the telephone with a slightly damp cloth or with an anti-static cloth. Never use cleaning agents or abrasive solvents.
Francais
4 Répertoir (Phonebook)
- /OK
- /OK
- /OK
- /OK
- /OK
- /OK
DECT(Digital Enhanced Cordless Telecommunications)
GAP (Generic Access Profile)
Frequeniebereik 1880 MHz tot 1900 MHz
The keypad characters are as follows:
| Key | First press press press press | Second press press press | Third | Fourth | Fifth | |||||||||||||||||
| 1 | s | p | a | c | e | - | 1 | |||||||||||||||
| 2 | A | B | C | 2 | ||||||||||||||||||
| 3 | D | E | F | 3 | ||||||||||||||||||
| 4 | G | H | I | 4 | ||||||||||||||||||
| 5 | J | K | L | 5 | ||||||||||||||||||
| 6 | M | N | O | 6 | ||||||||||||||||||
| 7 | P | Q | R | S | 7 | |||||||||||||||||
| 8 | T | U | V | 8 | ||||||||||||||||||
| 9 | W | X | Y | Z | 9 | |||||||||||||||||
4 Telefonbuch
3 Press the skip forward key immediately to change the current number of rings.
EasyManual