TE5765AMN - Telefon MT Logic - Kostenlose Bedienungsanleitung
Finden Sie kostenlos die Bedienungsanleitung des Geräts TE5765AMN MT Logic als PDF.
Häufig gestellte Fragen - TE5765AMN MT Logic
Laden Sie die Anleitung für Ihr Telefon kostenlos im PDF-Format! Finden Sie Ihr Handbuch TE5765AMN - MT Logic und nehmen Sie Ihr elektronisches Gerät wieder in die Hand. Auf dieser Seite sind alle Dokumente veröffentlicht, die für die Verwendung Ihres Geräts notwendig sind. TE5765AMN von der Marke MT Logic.
BEDIENUNGSANLEITUNG TE5765AMN MT Logic
USER GUIDE MANUEL D'UTILISATEUR HANDLEIDING GEBRAUCHSANWEISUNG
v 1.0 - 08/12
Important
Zur Verwendung der 'Rufnummernanzeige' muss dieser Dienst erst für ihre Telefonleitung freigegeben werden. Zur Aktivierung dieser Dienstleistung benötigen Sie meistens ein separates Abonnement ihrer Telefongesellschaft. Wenn Sie für ihre Telefonleitung keine Rufnummernanzeigefunktion haben, erscheinen die eingehenden Telefonnummern NICHT im Display Ihres Gerätes.
D Die in dieser Bedienungsanleitung umschreibenen Mochlichkeiten, werden vorbehaltlich Änderungen publiziert.
D Dieses Gerätarf nur mit Akkus betrieben werden. Wenn Sie das Mobilteil mit nicht wiederaufladbaren Batterien bestücken und es auf die Basisstation stellen, wird das Mobilteil beschädigt und fällt nicht unter die Garantie.
English
3.7 Conferentiegesprek
6.5 Automatisch antewendung
1 Sicherheitshinweise
- Verwenden Sie nur den mitgelieferten Netzadapter. Verwenden Sie keine fremden Adapter, die Batteriezellen beschädigt werden konnten.
- Verwenden Sie nur aufladbare Batterien des gleichen Typs. Verwenden Sie niemals normale, nicht-aufladbare Batterien. Achten Sie beim Einlagen der Batterien auf die richtige Polarität (wie im Batteriefach des Mobilteils angegeben).
- Berühren Sie nicht die Lade- und Steckerkontakte mit spitzen oder metallischen Gegenständen.
- Medizinische Geräte können in ihrer Funktion beeinflusst werden.
- Das Mobilteil kann in Hörgeräten einen unangenehmen Brummton verursachen.
- Stellen Sie das Basisgerät nicht in einem feuchten Raum oder in einem Abstand von weniger als 1,5m von einem Wasseranschluss auf. Lassen Sie kein Wasser an das Mobilteil kommt.
- Verwenden Sie das Telefon nicht in Umgebungen, in denen Explosionsgefahr besteht.
- Entsorgen Sie die Batterien und pflegen Sie das Telefon auf umweltfreundliche -Weise.
- Da bei Stromausfall das Telefonieren mit thisem Gerät nicht möglich ist, verwenden Sieitte im Falle eines Notrufs ein -stromnetzunabhängiges Telefon, z.B. ein Handy.
2 Erste Schritte
2.1 Zum Gebrauch dieser Bedienungsanleitung
In dieser Bedienungsanleitung die einzelnen Bedienschritte folgendermaßen verdutlicht:

Zudruckende Taste.
2.2 Basisstation installmenten
Zur Installation gehen Sie folgendermaßen vor:
1 Verbinden Sie das eine Ende des Netzadapters mit der Steckdose und das andere Ende mit der Adapterbuchse auf der Rückseite der Basisstation.
2Verbinden Sie das eine Ende des Telefonkabels mit dem Telefonwandanschluss und das andere Ende mit dem Anschluss auf der Rückseite der Basisstation.
3 Befestigen Sie das Telefon- und das Netzkabel wie in Abbildung 2A dargestellt.

- 2A Rückseite der Basisstation -
A. Telefonwandanschluss
B. Netzkabel
C. Telefonkabel
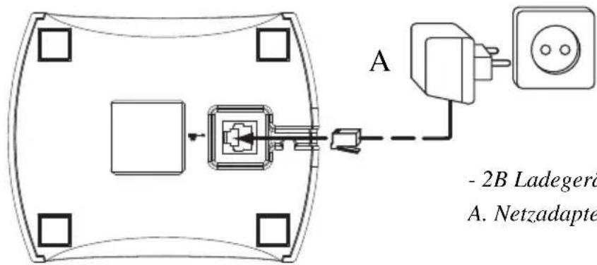
2.3 Ladegerät anschließen
1 Stecken Sie den Netzadapter in die Steckdose.

-2B Ladegerät -
A. Netzadapter mit Stromkabel
2.4 Mobilteil installmenten
1 Öffnen Sie das Batteriefach wie in Abbildung 2C dargestellt.
2 Legen Sie die Batterien ein. Achten Sie darauf auf die Polarität (+ und -).
3Schlieben Sie das Batteriefach.
4 Lassen Sie das Mobilteil 20 Stunden auf der Basisstation stehen.
- 2C Rückseite des Mobilteils -
A. Abdeckung
B. Wiederaufladbare Batterien


Bevor Sie das Telefon zum ersten Mal benutzen, stellen Sie sicher, dass die Batterien 20 Stunden aufgeladen wurden. Geschieht dies nicht, Funktioniert das Telefon nicht optimal.
2.5 Tasten/LEDs
Mobiltelei
- Display
- Menu- / OK-Taste
- Nach-unten-Taste / Anrufliste
- Telefonbuch
- Alphanumericische Tasten
- INT-Taste
- Ein-/ Aus-/ Flash-Taste
- Tastatursperre
- Freisprech-Taste
- Auflegen / Geschäft annehmen
- Nach-oben-/ Wahlwiederholung / Pausen-Taste
- Stumm / Löschen-Taste

- 2D Mobilteil
Mobilteil display
Im Standby-Modus wird die Uhrzeit und die Nummer des Mobilteils angezeigt:
12-05 1
Zum wechseln zwischen dem Namen und der Zeit, halten Sie die "0"-Taste gedrückt.

- 2E Display -
Basisstation
- Lösch-Taste
- Stopp-Taste
- Lautstärke Basisstation erhöhen
- Vorwarts springen-Taste
- LED Antwerten an/aus
- Abspielen / Pausen-Taste
- Rückwärts springen-Tast
- Lautstärke Basisstation verringern
- Paging-Taste
- Anrufbeantworter an/aus Taste

2.6 Symbole
| Gesprach angenommen; Verbindung ist hergestellt | Neue Nummern in der Anrufliste | |
| Externer Anruf | Anrufbeantworter ein | |
| Internet Anruf Batterie voll | ||
| Angenommener Anruf Batteriestand mittel | ||
| Nicht angenommener Anruf Batterie schwært | ||
| Freisprechmodus aktiviert Batterie leer | ||
| Sie befinden sich im Telefonbuch Neue Mailbox-Nachricht | ||
| Sie befinden sich im Menu Tastatur am Mobilteil gesetzt | ||
| Gibt an, dass die angezeigte Nummer länger ist als der Bildschirm (12 Ziffern) | Mobilteil innerhalb der Reichweite der Basisstation. Die Antenne blinkt, wenn das Mobilteil nicht an der Basisstation angemeldet ist. | |
2.7 LED der Basisstation
Die LED Antwerten an/aus (17) zeigt folgenden an:
| Aus Die Anrufbeantwörter ist aus. |
| An Die Anrufbeantwörter ist an. |
| Langsames Blinken Es gibt neue Nachrichten. |
| Schnelles Blinken Der Speicher der Anrufbeantwörter ist voll. |
2.8 Durch das Menu navigieren
Das Butler E465 verfügt über ein leicht zu bedienendes Menu-System. jeder Menüpunkt besteht aus einer Reihe von Unterpunkten. Die Menu-Übersicht finden Sie im folgenden Abschnitt.

1 Um das Hauptmenü aufzurufen, drücken Sie die Menütaste bei eingeschaltetem Mobilteil im Standby-Modus.

2 Bewegen Sie sich zum gewünschten Menüpunkt. Sie können die Menüpunkte in einer Schleife durchblättern (nach der letzten Option gehren Sie zur ersten zurück).

3 Drücken Sie die OK-Taste zum Aufrufen weiterer Unterspunkte oder zum Bestätigten der angezeigten Einstellung.

Drücken Sie die Löschen-Taste, um zur nachsthöheren Menüebene zusammenzukehren.
2.9 Menu-Übersicht
| Menu Untermenüpunkte | |
| NA. HOEREN (PLAYMESSAGE) | NEUE NA. (NEW MSG) ALLE NA. (ALL MSG) |
| TELEFONBUCH (PHONEBOOK) | HINZUFUEGEN (ADD ENTRY) AENDERN (MODIFY ENTRY) LOESCHEN (DELETE ENTRY) |
| AB EINSTELL.(TAM SETTINGS) | AB EIN/AUS (ANS ON/OFF) ANSAGEBETR. (ANS MODE) AUFN. MEMO (MEMO REC) AB EINST. (OGM SETTINGS) EINST. TAG (DAY SETTINGS) ANZ. Rufe (ANS DELAY) ABFR. PIN (REMOTE CODE) |
| EINSTELLUNG (SETUP) | BASIS-LAUTST (BASE VOLUME) BASIS-MEODY (BASE MEODY) MT-ABMELDEN (DEL HANDSET) PIN CODE (PIN CODE) FLASHZEIT (RECALL) WERKSEINST. (DEFAULT) |
| MOBILTEIL (HANDSET) | TOENE (BEEP) INT RUF LAUT (INT RING VOL) EXT RUF LAUT (EXT RING VOL) INT MELODIE (INT MEODY) EXT MELODIE (EXT MEODY) AUTO ANNAHME (AUTO ANSWER) NAME (NAME) SPRACHE (LANGUAGE) TASTENSPERRE (KEYLOCK?) |
| DATUM - ZEIT (DATE - TIME) | DATUM EINST. (DATE SET) UHR EINST (CLOCK SET) WECKER EINST (ALARM SET) |
| ANMELDEN (REGISTER) | BASIS-WAHL (SELECT BASE) BASIS ANMELD (REG BASE) |
3 Telefon benutzen
3.1 Mobilteil ein- und ausschalten
1 Drücken Sie die Ein-/Aus-Taste am Mobilteil während 6 Sekunden. Das Mobilteilucht die Basisstation.
2 Halten Sie die Ein-/Aus-Taste 6 Sekunden lang gedrückt. Die Anzeige erlischt.
3.2 Menüspracheändern
OK
1Rufen Sie das Menu auf.
OK
2 Wahlen Sie "MOBILTEIL (HANDSET)" und bestätigten Sie.
OK
3 Wahlen Sie "SPRACHE (LANGUAGE)" und bestätigten Sie.
4 Wahlen Sie die gewünschte Sprache und bestätigen Sie.
3.3 Einen Anruf annehmen
Um den Anruf anzunehmen:

1 Drücken Sie die Taste Geschäft annehmen. ODER Nehmen Sie das Mobilteil von der Basisstation, wenn Sie die "Automatische Annahme" aktiviert haben. (Siehe "6.5 Automatische Geschäftssannahme")
Sie sind mit Ihr dem Geschäftspartner verbunden.
2 Drücken Sie die Auflegen-Taste oder stellen Sie das Mobilteil auf die Basisstation, um das Geschäft zu beenden.
3.4 Einen externen Anruf tätigen
Direkt wahlen

1 Drücken Sie die Taste Geschäft annehmen, um das Geschäft zu beginnen.
2Geben Sie die Telefonnummer ein.
3 Drücken Sie die Auflegen-Taste oder stellen Sie das Mobilteil auf die Basisstation, um das Geschäft zu beenden.

Um eine Nummer zu korrigieren,löschen Sie die eingegebenen Ziffern mit der Löschen-Taste.
Vorwahlen

1Geben Sie die Telefonnummer ein.
2 Drücken Sie die Taste Geschäft annehmen, um das Geschäft zu beginnen.
3 Drücken Sie die Auflegen-Taste oder stellen Sie das Mobilteil auf die Basisstation, um das Geschäft zu beenden.
3.5 Einen internen Anruf tätigen
Int
1 Drucken Sie die INT-Taste.

2 Geben Sie die interne Nummer des gewünschten Mobilteils ein (1 bis 5).

3 Drücken Sie die Auflegen-Taste oder stellen Sie das Mobilteil auf die Basisstation, um das Geschäft zu beenden.
3.6 Interne Anrufweiterleitung
Ein externes Geschäft an ein anderes Mobilteil weiterleiten.
Int

1 Drucken Sie die INT-Taste.
2 Geben Sie die interne Nummer des gewünschten Mobilteils ein (1 bis 5), der externe Anruf wird gehalten.
3 Wird das Geschäft am anderen Mobilteil angenommen, drücken Sie die Auflegen-Taste, um aufzulegen, und das Geschäft weiterzuleiten.
Int
Nimmt der interne Geschäftspartner den Anruf nicht an, drücken Sie die INT-Taste erneut, um den externen Anruf zurückzuholen.

4 Drücken Sie die Auflegen-Taste oder stellen Sie das Mobilteil auf die Basisstation, um das Geschäft zu beenden.
3.7 Konferenzschaltung
These Funktion ist nur möglich, wenn mehrere Mobilteile an der Basisstation angemeldet sind! Sie können gleichzeitig mit einem internen und einem externen Geschäftspartner Telefonieren. Wahrend eines externen Geschäfts:
Int
4.5.6
1 Drucken Sie die INT-Taste.
2 Geben Sie die interne Nummer des gewünschten Mobilteils ein (1 bis 5).
3 Wird das Geschäft am anderen Mobilteil angenommen, halten Sie die '#'-Taste gedrückt.
Int
Nimmt der interne Geschäftspartner den Anruf nicht an, drücken Sie die INT-Taste erneut, um den externen Anruf zurückzuholen.
#
4 Drücken Sie die Auflegen-Taste oder stellen Sie das Mobilteil auf die Basisstation, um das Geschäft zu beenden.
3.8 Freisprechmodus
Sie konnen mit Ihr Geschäftspartner sprechen, ohne das Handgerät aufnehmen zu müssen.
1 Drücken Sie während eines Telefonats die Freisprech-Taste zum Aktivieren oder Deaktivieren des Freisprechmodus.
3.9 Lautstärke während eines Anrufs einstehen
1 Drücken Sie während eines Geschrechs die Nach-oben- oder Nach-unten-Taste, um die Lautstärke entsprechend einzustellen.

Die Freisprechlautstärke wird zusammen mit dem Empfänger im Handgerät, wie oben beschreiben, eingestellt!
3.10 Anzeige der Gesprächsdauer
Die Geschäftsdauer wird nach 15 Sekunden in Minuten und Sekunden angezeigt.
Nach Beenden eines Geschäfts wird die gesamte Geschäftsdauer 5 Sekunden lang angezeigt.
3.11 Mikrofon stummschalten
Sie konnen das Mikrofon während eines Geschrechts stummschalten.
C
1 Drücken Sie die Stummschalttaste. Nun konen Sie sprechen, ohne von Ihr dem Geschäftspartner am Telefon gehört zu werden.
C
"STUMM (MUTE)" wird angezeigt.
C
2 Drücken Sie die Stummschalttaste erneut, um das Mikrofon wieder zu aktivieren.
3.12 Pausen-Taste
Wenn Sie eine Nummer wahlen, konnen Sie eine Pause zwischen zwei Ziffern eingufen:
1 Halten Sie die Taste Wahlwiederholung / Pause 2 Sekunden lang gedrück.
3.13 Ein Mobilteil suchen (Paging)

1 Drucken Sie die Paging-Taste an der Basisstation.
Alle an der Basisstation angemeldeten Mobilteile klingeln.
2 Drücken Sie eine beliebige Taste am Mobilteil, um das Klingeln zu beenden.
3.14 Wahlwiederholung
Sie können die letzten 10 gewährten Nummern erneut wahlen. Haben Sie im Telefonbuch einen Name mit dieser Nummer gespeichert, erscheidt der Name in der Liste.

1 Drucken Sie die Taste Wahlwiederholung.
2 Wahlen Sie eine Nummer aus. Ist die Nummer im Telefonbuch gespeichert, erscheint der Name.
Wenn der Name angezeigt wird, konnen Sie mit der OK-Taste zwischen dem Namen und der Nummer wechseln!
3 Drücken Sie die Taste Geschäft annehmen, um das Geschäft zu beginnen.
4 Drücken Sie die Auflegen-Taste, um zum Standby zurückzukehren.
3.15 Die alphanumericien Tasten verwenden
Sie konnen mit Ihrm Telefon alphanumericische Zeichen eingeben. Das ist notwendig, um Namen in das Telefonbuch einzugeben, zum Benennen des Mobilteils, ...
Zur Auswahl eines Buchstabens drücken Sie die entsprechende Taste so oft wie nötig.
Drücken Sie z. B. für den Buchstaben 'A' die Taste '2' einmal. Für den Buchstaben 'B' drücken Sie die Taste '2' zweimal usw.
Um die Buchstaben 'A' und 'B' hintereinander einzugeben, drücken Sie die Taste '2'omal, warten Sie, bis der Cursor zur nachsten Stelle springt und drücken Sie dann die Taste '2' zweimal.
Während der Ungabe eines Textes erscheinen die verfügbaren Zeichen jeder Taste unter im Display.

Drucken Sie die Taste '1', um eine Leerstelle einzufugen.
Drücken Sie die Löschen-Taste, um ein Zeichen zulöschen.
Jedes Mobilteil kann bis zu 50 Namen und Telefonnummern speichern. Namen konnen bis zu 12 Zeichen und Telefonnummern bis zu 24 Ziffern lang sein. Wie Sie alphanumericische Zeichen eingeben, erfahren Sie im Abschnitt "3.15 Die alphanumericischen Tasten verwenden".
4.1 Um einen Eintrag im Telefonbuch hinzuzufugen
| OK | 1 Rufen Sie das Menu auf. |
| OK | 2 Wahlen Sie "TELEFONBUCH (PHONEBOOK)" und bestätigen Sie. |
| OK | 3 Wahlen Sie "HINZUFUEGEN (ADD ENTRY)" und bestätigen Sie. |
| OK | 4 Geben Sie den Namein ein und bestätigen Sie. |
| C | Halten Sie die Stumm/Löschen-Taste gedrückt, um das Menu ohne Änderungen zu verlassen. |
| OK | 5 Geben Sie die Nummer ein und bestätigen Sie. |
| OK | 6 Wahlen Sie eine Ruftonmelodie (1 - 10) und bestätigen Sie. |
4.2 Um einen Eintrag aus dem Telefonbuch anzurufen
| 1Drücken Sie die Telefonbuch-Taste. | |
| 2 Wahlen Sie einen Namen oder geben Sie den ersten Buchstaben des Namens ein. (Die Beste wird in alphabetischer Reihenfolge durchblättert.) | |
| 3OK | Drücken Sie die OK-Taste, wenn Sie sich zunachst die Telefonnummer anziegen setzen möchten. |
| 4OK | Ist die Telefonnummer länger als 12 Ziffern, drücken Sie die OK-Taste erneut, um die vollständige Nummer anzuzeigen. |
| 5 | 3Drücken Sie die Taste Geschäft annehmen, um das Geschäft zu beginnen. |
| 6 | 4 Drücken Sie die Auflegen-Taste oder stellen Sie das Mobilteil auf die Basisstation, um das Geschäft zu beenden. |
4.3 Um einen Namen und eine Nummer zu verändern
| OK | 1 Rufen Sie das Menu auf. |
| OK | 2 Wahlen Sie "TELEFONBUCH (PHONEBOOK)" und bestätigen Sie. |
| OK | 3 Wahlen Sie "AENDERN (MODIFY ENTRY)" und bestätigen Sie. |
| OK | 4 Wahlen Sie den Name, den Sie ändern möchten und bestätigen Sie. |
| C | 5 Löschen Sie nicht gewünschte Zeichen und geben Sie den neuen Name ein. Bestätigen Sie. |
| OK | 6Geben Sie die Nummer ein und bestätigen Sie. |
| OK | 7 Wahlen Sie eine Ruftonmelodie (1 - 10) und bestätigen Sie. |
4.4 Einen Eintrag aus dem Telefonbuchlöschen
| OK | 1Rufen Sie das Menu auf. |
| OK | 2 Wahlen Sie "TELEFONBUCH (PHONEBOOK)" und bestätigen Sie. |
| OK | 3 Wahlen Sie "LOESCHEN (DELETE ENTRY)" und bestätigen Sie. |

4 Wahlen Sie einen Namen oder geben Sie den ersten Buchstaben des Namens ein und bestätigen Sie.
"BESTÄTIGEN? (CONFIRM?)" erscheint im Display.
5 Bestätigen Sie oder brechen Sie ab.
5 Anruferkennung

Dieser Dienst muss von Ihr Telefonnetzanbieter aktiviert werden.itte setzen Si es ich mit Ihr Netzanbieter in Verbindung.
Wenn Sie einen externen Anruf erhalten, wird die Telefonnummer des Anrufers im Display des Mobilteils angezeigt. Das Telefon kann Anrufe im FSK- und DTMF-Modus empfangen. Sie können auch den Name sehen, wenn er über das Netz übertragen wird. Ist der Name im Telefonbuch gespeichert, wird er im Display angezeigt!

Die Telefonnummer des Anrufers wird 15 Sekunden lang angezeigt, danach erscheint die Geschäftsdauer im Display. Sie können sich die Telefonnummer des Anrufers danach noch einmal anzeigen setzen, indem Sie die OK-Taste wiederholt drücken, um nacheinander Name und Nummer anzuzeigen.
Das Telefon kann 40 Anrufe in der Anrufliste (entgegenommene und entgangene Anrufe) speichern, die Sie später anzeigen setzen können. Diese Funktion ist nur verfügbar, wenn Sie für den Dienst Anruferkennung angemeldet sind.
Wenn der Speicher voll ist, überschreiben neue Anrufe automatisch die ältesten Einträge im Speicher.

Neue oder entgangene Anrufe werden mit einem blinkenden Symbol im Display angezeigt.
Zum Aufrufen der Anrufliste:

1 Drucken Sie die Taste Anrufliste.
Sind keine Anrufe in der Liste, so erscheint "LEER (EMPTY)".

2 Durchsuchen der Beste. Die Name der Anrufer werden angezeigt, wenn der Name über das Netz übertragen wird oder wenn er im Telefonbuch gespeichert ist. Sind Sie am Ende der Beste angekommen, ertont ein Piepton.

Wenn entscheidt, wurde dieser Anruf angenommen. Wenn entscheidt, wurde dieser Anruf nicht angenommen.

3 Drücken Sie die OK-Taste, um die Telefonnummer anzuzeigen.

Ist die Telefonnummer länger als 12 Ziffern, drücken Sie die OK-Taste erneut, um die vollständige Nummer anzuzeigen.
4 Drücken Sie die OK-Taste erneut, um Uhrzeit und Datum des Anrufs anzuzeigen.

5 Drücken Sie die OK-Taste, um diesen Eintrag dem Telefonbuch hinzuzufügen, falls er noch nicht gespeichert wurde:
Drücken Sie OK, wenn "HINZUFUEGEN? (ADD?)" angezeigt wird. Geben Sie den Namein ein oder ändern Sieihn und drücken Sie OK. Geben Sie die Telefonnummer ein oder ändern Sie sie und drücken Sie OK. Wahlen Sie mit den Nach-oben-/ Nach-unten-Tasten die Melodie (1 bis 10), die abgespielt werden soll, wenn diese Nummer anruft, und drücken Sie OK. Der Eintrag wird im Telefonbuch gespeichert.

6 Drücken Sie die Taste Geschäft annehmen, um den Anrufer zusückzurufen, wenn die Telefonnummer oder der Name angezeigt wird.
Sie konnen jeder Eintrag einzeln loschen:


1 Blättern Sie zu dem Anruf, den Sie löschen möchten und drücken Sie die Löschen-Taste.
"LOESCHEN? (DELETE?)" erscheint im Display.


2 Bestätigen Sie oder brechen Sie ab.
Um alle Einträge auf einmal zu loschen:

1 Halten Sie die Löschen-Taste 2 Sekunden lang gedrück.
"ALLES LOESCH (DELETE ALL)" erscheint im Display.


2 Bestätigen Sie oder brechen Sie ab.
6 Mobilteil individuell anpassen

Jede Programmierung wird am Ende mit einem doppelten oder einfachen langen Piepton bestätigt. Ein doppelter Piepton bestätigt ihre Einstellung. Ein langer Piepton gibt an, dass die Änderung nicht vorgenommen wurde.
6.1 Ruftonlautstärke einstellen
Ruftonlautstärke des Mobilteils für interne / externe Anrufe
Die Ruftonlautstärke des Mobilteils kann für interne und externe Anrufe separat eingestellt werden. Sie können 5 Ruftonlautstärke einstellen und den Rufton ausschalten.

Befindet sich das Mobilteil auf der Basisstation, klingelt die Basisstation bei einem ankommen den Anruf nicht. Wenn also die Ruftonlautstärke ausgeschaltet ist und sich das Mobilteil auf der Basisstation befindet, klingelt Ihr Telefon überhaupt nicht!


1Rufen Sie das Menu auf.
2 Wahlen Sie "MOBILTEIL (HANDSET)" und bestätigen Sie.
3 Wahlen Sie "INT RUF LAUT (INT RING VOL)", um die Lautstärke für interne Anrufe zu ändern oder "EXT RUF LAUT (EXT RING VOL)", um die Lautstärke für externe Anrufe zu ändern und bestätigen Sie.
4 Wahlen Sie eine Lautstärke (1 bis 5 oder "AUS (OFF)").
5Bestätigen Sie oder kehren Sie zum vorherigen Menüpunkt zurück.
6.2 Ruftonmelodie wahlen
Die Basisstation und jedem Mobilteil können mit entsprechenden Ruftonmelodien klingeln. Die Mobilteile können mit verschiedenen Melodien klingeln, je nachdem, ob es sich um einen internen oder externen Anruf handelt. Sie können 5 verschiedene Ruftonmelodien wahlen:
OK
OK
1Rufen Sie das Menu auf.
OK
2 Wahlen Sie "EINSTELLUNG (SETUP)" und bestätigten Sie.
3 Wahlen Sie "MOBILTEIL (HANDSET)" und bestätigten Sie.
/ OK 4 Wahlen Sie "INT MELODIE (INT MEODY)", um die Melodie für interne Anrufe zuändern oder "EXT MELODIE (EXT MEODY)", um die Melodie für externe Anrufe zuändern und bestätigen Sie.
5 Wahlen Sie eine Melodie (1 bis 10).
OK
6 Drücken Sie die OK-Taste zum Bestätigen oder kehren Sie zum vorherigen Menüpunkt zurück.
6.3 Aktivierung / Deaktivierung der Pieptone
Das Mobilteil kann einen Piepton erzeugen, wenn eine Taste gedrückt wird, wenn die Batterien schwach sind oder wenn sich das Mobilteil außer Reichweite befindet.
Tastenton ein / aus
OK
1Rufen Sie das Menu auf.
OK
2 Wahlen Sie "MOBILTEIL (HANDSET)" und bestätigten Sie.
/OK
3 Wahlen Sie "TOENE (BEEP)" und bestätigen Sie.
OK
4 Wahlen Sie "TASTENTON (KEYTONE)" und bestätigen Sie.
5 Wahlen Sie "EIN (ON)" zum Aktivieren oder "AUS (OFF)" zum Deaktivieren und bestätigten Sie.
Schwache Batterie
OK
1Rufen Siedas Menu auf.
OK
2 Wahlen Sie "MOBILTEIL (HANDSET)" und bestätigen Sie.
OK
3 Wahlen Sie "TOENE (BEEP)" und bestätigen Sie.
/0 4 Wahlen Sie "AKKU LEER (LOW BATTERIE)" und bestätigen Sie.
/0 Wahlen Sie "EIN (ON)" zum Aktivieren oder "AUS (OFF)" zum Deaktivieren und bestätigten Sie.
Mobilteil außer Reichweite
OK
1Rufen Sie das Menu auf.
OK
2 Wahlen Sie "MOBILTEIL (HANDSET)" und bestätigten Sie.
OK
3 Wahlen Sie "TOENE (BEEP)" und bestätigen Sie.
/0 Wahlen Sie "REICHWEITE (OUT RANGE)" und bestätigten Sie.
/OK 5 Wahlen Sie "EIN (ON)" zum Aktivieren oder "AUS (OFF)" zum Deaktivieren und bestätigten Sie.
6.4 Name des Mobilteils
Sie können den Name, der im Display des Mobilteils im Standby angezeigt wird,ändern (max. 9 Zeichen). Mit dieser Funktion konnen Sie jeder Mobilteil personalisieren.
OK
OK
1 Rufen Sie das Menu auf.
2 Wahlen Sie "MOBILTEIL (HANDSET)" und bestätigen Sie.
3 Wahlen Sie "NAME (NAME)" und bestätigen Sie.
4 Geben Sie den Namein ein und bestätigen Sie.
4.5.6
Drücken Sie die Löschen-Taste, um ein Zeichen zu loschen. Halten Sie die Telefonbuch-Taste gedrückt, um das Menu ohne Änderungen zu verlassen.
6.5 Automatische Geschäftssannahme
Steht das Mobilteil bei einem ankommenden Anruf auf der Basisstation, so wird das Geschäft automatisch angenommen, sobald das Mobilteil von der Basisstation abgehoben wird. Diese Funktion ist voreingestellt, kann jeder geändert werden:
1 Rufen Sie das Menu auf.
2 Wahlen Sie "MOBILTEIL (HANDSET)" und bestätigten Sie.
OK
3 Wahlen Sie "AUTO ANNAHME (AUTO ANSWER)" und bestätigen Sie.
OK
4 Wahlen Sie "EIN (ON)" zum Aktivieren oder "AUS (OFF)" zum Deaktivieren und bestätigten Sie.
6.6 Mobilteil zurücksetzen
Sie können das Telefon auf die Werkseinstellungen zusückensetzen. Dies ist die Konfiguration, in der sich das Telefon bei Lieferung befind. Um die Werkseinstellungen wiederherzustellen:
OK
1 Rufen Sie das Menu auf.
2 Wahlen Sie "EINSTELLUNG (SETUP)" und bestätigten Sie.
OK
3 Wahlen Sie "WERKSEINST. (DEFAULT)" und bestätigten Sie.
4.5.6
OK
4 Geben Sie die vierstellige PIN-Nummer (voreingestellt 0000) ein und bestätigen Sie.
DIE VOREINSTELLUNGEN SIND:
Piepton bei schwacher Batterie Ein
Piepton wenn außer Reichweite Aus
Tastenton Ein
Automatische Geschrechtsannahme Ein
Interne Melodie 1
Interne Lautstärke 3
Externe Melodie 3
Externe Lautstärke 3
Ohr-Lautstärke 3
Telefonbuch Leer
Anrufliste Leer
Wahlwiederholungsliste Leer
PIN-Nummer 0000
WahlverfahrenDTMF
Tastatursperre Aus

Wenn Sie zu den Werkseinstellungen zurückkehren, werden alle Einträge im Telefonbuch und in der Anrufliste gelöscht. Die PIN-Nummer wird auf 0000 zurückgesetzt.
6.7 Tastatursperre
Die Tastatur kann gespeit werden, so dass keine Einstellungen geändert und keine Telefonnummer gewählt werden kann. Das Symbol _* erscheint im Display, wenn die Tastatur gespeit ist.
Tastatur sperren

1 Halten Sie die Taste 'Sekunden lang gedrückt. Die Tastatur wird gespeert.
Tastatur entsperren

1 Drücken Sie eine beliebige Taste, "DRUECKEN (PRESS *)" erscheint im Display.
2 Drücken Sie die Taste ' innerhalb von 3 Sekunden.
6.8 Uhrzeit einstellen
OK
1Rufen Sie das Menu auf.
2 Wahlen Sie "DATUM - ZEIT (DATE - TIME)" und bestätigten Sie.
3 Wahlen Sie "UHR EINST (CLOCK SET)" und bestätigen Sie.
4.5.6
4 Geben Sie die Uhrzeit ein (24 Std.-Format) und bestätigen Sie.
6.9 Wecker einstellen
OK
1Rufen Sie das Menu auf.
2 Wahlen Sie "DATUM - ZEIT (DATE - TIME)" und bestätigten Sie.
3 Wahlen Sie "WECKER EINST (ALARM SET)" und bestätigten Sie.
4 Wahlen Sie "EIN (ON)", um den Wecker einzuschalten und bestätigen Sie. Geben Sie die Uhrzeit (24-Std.-Format) ein, wenn der Wecker klingeln soll und bestätigen Sie.
ODER
OK
Wahlen Sie "AUS (OFF)", um den Wecker auszuschalten und bestätigen Sie.
6.10 Datum einstellen
OK
1Rufen Sie das Menu auf.
2 Wahlen Sie "DATUM - ZEIT (DATE - TIME)" und bestätigten Sie.
3 Wahlen Sie " DATUM EINST. (DATE SET)" und bestätigen Sie.
4.5.6
4 Geben Sie die Uhrzeit (Tag -- Monat) ein und bestätigen Sie.
7 Einstellungen der Basisstation
7.1 Ruftonlautstärke einstellen
Ruftonlautstärke der Basisstation
Sie konnen 5 Ruftonlautstärken einstellen und den Rufton ausschalten.
OK
1Rufen Sie das Menu auf.
OK
2 Wahlen Sie "EINSTELLUNG (SETUP)" und bestätigten Sie.
OK
3 Wahlen Sie "BASIS-LAUTST (BASE VOLUME)" und bestätigten Sie.
4 Wahlen Sie eine Lautstärke (1 bis 5 oder "AUS (OFF)").
OK
C
5 Bestätigten Sie oder kehren Sie zum vorherigen Menüpunkt zurück.
7.2 Ruftonmelodie wahlen
Die Basisstation und jedem Mobilteil können mit entsprechenden Ruftonmelodien klingeln. Um die Ruftonmelodie der Basisstation einzustellen:
OK
1Rufen Sie das Menu auf.
2 Wahlen Sie "EINSTELLUNG (SETUP)" und bestätigten Sie.
3 Wahlen Sie "BASIS-MEODY (BASE MEODY)" und bestätigen Sie.
4 Wahlen Sie eine Melodie (1 bis 5).
OK
5Bestätigen Sie oder kehren Sie zum vorherigen Menüpunkt darüber.
7.3 PIN-Nummerändern
Einige Funktionen stehen nur zur Verfügung, wenn der Benutzer die PIN-Nummer kennt. Die voreingestellte PIN-Nummer lautet 0000. Um die PIN-Nummer zuändern:
OK
1Rufen Sie das Menu auf.
OK
2 Wahlen Sie "EINSTELLUNG (SETUP)" und bestätigen Sie.
OK
3 Wahlen Sie "PIN CODE (PIN CODE)" und bestätigen Sie.
4.5.6
OK
4 Geben Sie die alte vierstellige PIN-Nummer ein und bestätigen Sie.
4.5.6
5 Geben Sie die neue vierstellige PIN-Nummer ein und bestätigen Sie.
4.5.6
6 Geben Sie die neue PIN-Nummer erneut ein und bestätigen Sie.
7.4 Flashzeit
Drücken Sie die Flamhtaste 'R' (Taste 7 - Abbildung 2D Mobilteil), um verschiedene Dienste wie "Anklopfen" (wenn dieser Dienst von Ihrem Telefonanbieter unterszt wird) zu nutzen oder um Anrufe weiterzuleiten, wenn Sie eine Telefonanlage (PABX) verwenden. Die Flamhtaste 'R' unterbricht kurzzeitig die Verbindung. Sie können die Flashzeit auf 100ms oder 250ms einstellen.
OK
OK
1Rufen Sie das Menu auf.
OK
2 Wahlen Sie "EINSTELLUNG (SETUP)" und bestätigen Sie.
OK
3 Wahlen Sie "FLASHZEIT (RECALL)" und bestätigen Sie.
4 Wahlen Sie "FLASH 1 (RECALL 1)" für eine kurze Flashzeit (100 ms) oder "FLASH 2 (RECALL 2)" für eine lange Flashzeit (250 ms) und bestätigten Sie.
8 Mehrere Mobilteile verwalten
8.1 Ein neues Mobilteil hinzufugen

These Funktion brauchen Sie nur, wenn Sie ein Mobilteil abgemeldet haben oder ein neues gekauft haben.
Sie können neue Mobilteile an der Basisstation anmelden, wenn diese Mobilteile das DECT-GAP-Protokoll unterstützen.
Die Basisstation unterstützt bis zu 5 Mobilteile. Wenn Sie bereits 5 Mobilteile angemeldet haben und Sie möchten ein weiteres Mobilteil hinzufugen oder ein Mobilteil wechseln, dann müssen Sie erst ein Mobilteil abmelden, um dann das neue Mobilteil anmelden zu konnen.
Die Basisstation in den Anmeldemodus setzen:


1 Halten Sie die Paging-Taste an der Basisstation 6 Sekunden lang gedrückt. Die Basisstation erzeugt einen Piepton.
Die LED der Basisstation beginnnt zu blinken (90 Sekunden lang). Wahrend dieser Zeit ist die Basisstation bereit zum Anmelden eines neuen Mobilteils.
Neues Mobilteil anmelden:
Wenn Ihr neues Mobilteil ein Butler E465 ist











2Rufen Sie das Menu auf.
3 Wahlen Sie "ANMELDEN (REGISTER)" und bestätigen Sie.
4 Wahlen Sie "BASIS ANMELD (REG BASE)" und bestätigen Sie.
5 Wahlen Sie die Nummer der Basisstation, an der Sie das Mobilteil anmelden möchten (1 bis 4) und bestätigten Sie. (Blinkende Nummern sind bereits vergeben.)
6 Geben Sie die PIN-Nummer der Basisstation (voreingestellt 0000) ein und bestätigen Sie.
Das Mobilteil beginnnt, nach der DECT-Basisstation zuuchen. Hat das Mobilteil die Basisstation gefunden, erscheint die Nummer der Basisstation im Display.
7 Bestätigen Sie oder brechen Sie ab.
Findet das Mobilteil die Basisstation nicht, kehrt es nach einigen Sekunden wieder in den Standby-Modus zurück. Versuchen Sie es erneut und ändern Sie die Nummer der Basisstation. Stellen Sie safer, dass Sie sich nicht in einer Umgebung mit Störsignalen befinden. Gehen Sie;naher an die Basisstation heran.
Wenn es sich bei Ihr dem Mobilteil um ein anderes Modell handelt
Nachdem Sie den Anmeldevorgang an der Basisstation gestartet haben,lesen Sie in der Bedienungsanleitung des Mobilteils nach, wie das Mobilteil angemeldet wird. Das Mobilteil muss GAP-kompatibel sein.
Das Symbol 'Y' und "NICHT GESP. (NOT REG)" blinken im Display, wenn das Mobilteil nicht an der Basisstation angemeldet wurde.
Wurde ein Mobilteil an der Basisstation angemeldet, wird ihm von der Basisstation eine Mobilteilnummer zugewiesen. Diese Nummer entscheidt im Display des Mobilteils hinter dem Namen und muss für interne Anrufe verwendet werden.

Nur das DECT-GAP-Profil garantiert, dass grundlegende Anruf-Funktionen korrekt zwischen verschiedenen Marken / Typen Funktionieren. Es besteht die Möglichkeit, dass bestimmte Dienste (z. B. CLIP) nicht richtig Funktionieren.
8.2 Ein Mobilteil abmelden
Die folgenden Schritte müssen Sie an einem Mobilteil durchführren, das Sie nicht abmelden möchten.
OK
OK
OK
4.5.6
OK
OK
1Rufen Sie das Menu auf.
2 Wahlen Sie "EINSTELLUNG (SETUP)" und bestätigten Sie.
3 Wahlen Sie "MT-ABMELDEN (DEL HANDSET)" und bestätigten Sie.
4 Geben Sie die PIN-Nummer der Basisstation (voreingestellt 0000) ein und bestätigen Sie.
5 Wahlen Sie das Mobilteil, das Sie entfernen möchten, und bestätigen Sie.
8.3 Ein Mobilteil an einer anderen Basisstation anmelden
Wenn Sie ein Butler E465 Mobilteil an der Basisstation eines anderen Modells anmelden möchten. Die Basisstation muss GAP-kompatibel sein.
OK
OK
/OK
4.5.1
OK
4.15.6
OK


1 Setzen Sie die Basisstation in den Anmeldemodus. Lesen Sie dazu in der Bedienungsanleitung der Basisstation.
2Rufen Sie das Menu auf.
3 Wahlen Sie "ANMELDEN (REGISTER)" und bestätigen Sie.
4 Wahlen Sie "BASIS ANMELD (REG BASE)" und bestätigten Sie.
5 Wahlen Sie die Nummer der Basisstation, an der Sie das Mobilteil anmelden möchten, und bestätigten Sie.
6 Geben Sie die PIN-Nummer der Basisstation ein und bestätigen Sie.
Das Mobilteil beginnnt, nach der DECT-Basisstation zuuchen. Hat das Mobilteil die Basisstation befinden, erscheint die Nummer der Basisstation im Display.
7 Bestätigen Sie oder brechen Sie ab.
8.4 Eine Basisstation auswahlen
Sie konnen Ihr Mobilteil an verschiedene Basisstationen benutzen. Die Mobilteile können an bis zu 4 Basisstationen gleichzeitig angemeldet sein. Wenn Sie eine Basisstation auswahlen, wird die aktuell ausgewählte Basisstation durch die blinkende Nummer der Basisstation angezeigt. Wenn Sie "AUTO (AUTO)" wahren, sich das Mobilteil automatisch nach einer anderen Basisstation, wenn es sich außer Reichweite befindet. Das Mobilteil muss zunachst an allen Basisstationen einzeln angemeldet werden.
OK
OK
OK
OK
1Rufen Sie das Menu auf.
2 Wahlen Sie "ANMELDEN (REGISTER)" und bestätigen Sie.
3 Wahlen Sie "BASIS-WAHL (SELECT BASE)" und bestätigen Sie.
4 Wahlen Sie eine Basisstation oder "AUTO (AUTO)" und bestätigen Sie.

Wenn Sie die Basisstation automatisch auswahlen halten und das Mobilteil außer Reichweite der derzeitigen Basisstation gelangt, sicht das Mobilteil nur nach der stärksten Basisstation im Standby-Modus (nicht während eines Geschäfts).
9 Answering machine
Das Butler E465 verfügt über einen integrierten Anrufbeantworter mit einer Aufnahmekapazität von 10 Minuten. Diese Anrufbeantworter kann über die Basisstation und das Mobilteil bedient werden. Der Anrufbeantworter kann außer dem fernbedient werden. Sie können 2 Ansagetexte aufnehmen (Ansagetext 1 und Ansagetext 2).
Die interne Stimmansage gibt bestimmte Informationen, wie z. B. Tag und Uhrzeit des Anrufes sowie Einstellungen wie VIP-Code, verspatete Klingelsignale ... Die verfügbaren Sprachen der Stimmansage sind auf der Verpackung angegeben!

Alle Nachrichten und Einstellungen werden im Flash-Speicher gespeichert und nicht gelöscht, wenn der Adapter herausgezogen wird. Nur die Einstellungen von Tag/Uhrzeit werden gelöscht.
9.1 Einstellungen, die an der Basisstation erfolgen
Eineige Einstellungen können auch über die Basisstation ausgewählt werden, die meisten werden jedoch über das Mobilteil eingegeben.
Einstellung der Laufsprecherlautstärke der Basisstation
Um die Lautstärke beim Abspielen von ein- oder Ansagetexte zuändern:
+
.
Drucken Sie Lautstärke Basisstation erhöhen Taste oder verringern.
Die Lautstärke kann von '0'-'9' eingestellt werden. Wenn die Lautstärke auf die niedrigste Position gestellt ist, gibt es beim Abhören der Anrufe und bei der Fernabfrage keinen hörbaren Output, aber für andere Funktionen einen Output der Stärke '1'.
Anrufbeantwortein- und ausschalten
Wenn der Anrufbeantworter angeschaltet ist leuchtet die LED Antwerten AN/AUS (17) an der Basisstation ununterbrochen (oder blinkt, wenn es neue Nachrichten gibt) und die Maschine nimmt den Anruf automatisch nach einer Anzahl Klingeltöne an. (Sehe “Die Anzahl der Klingeltöne einstellen”) Am Mobilteil erscheint das -Symbol (oder blinkt, wenn neue Nachrichten gespeichert wurden).
Wenn der Anrufbeantworter ausgeschaltet ist, leuchtet die LED Antwerten AN/AUS (17) an der Basisstation nicht und das -Symbol erscheint nicht im Display des Mobilteils.
Um den Anrufbeantworter über die Basisstation ein- oder auszuschalten:
1 Drücken Sie die Anrufbeantworter AN/AUS Taste um den Anrufbeantworter anzuschalten..
2 Eine Stimme bestätigt die Einstellung und spiel die aktive Ansagetext ab.
3Drücken Sie die Anrufbeantworter AN/AUS Taste um den Anrufbeantworter auszuschalten.
Um den Anrufbeantworter über das Mobilteil ein- oder auszuschalten:
OK
1Rufen Sie das Menu auf.
OK
2 Wahlen Sie "AB EINSTELL. (TAM SETTINGS)" und bestätigten Sie.
OK
3 Wahlen Sie "AB EIN/AU (ANS ON/OFF)" und bestätigten Sie.
OK
4 Wahlen Sie "EIN (ON)" oder "AUS (OFF)" und bestätigen Sie.

Auch wenn der Anrufbeantworter ausgeschaltet ist, nimmt er Telefonate automatisch nach 10 Klingeltönen an um Fernaktivierung zu erhögblichen. (Sehe "9.3 Fernbedienung")
Die Anzahl der Klingeltone einstellen
Die Anzahl der Klingeltone, nach denen der Anrufbeantworter Anrufe annimmt, kann eingestellt werden von 2 - 9 und TS (Gebührensparmodus). Die Standardeinstellung ist 6 Klingeltone. Im Gebührensparmodus nimmt das Gerät nach 6 Klingeltönen an, wenn es keine neuen Nachrichten gibt und nach 2 Klingeltönen, wenn es neue Nachrichten gibt. Wenn es keine neuen Nachrichten gibt und Sie rufen Ihr Gerät an um ihre Nachrichten abzuhären (sehe “9.3 Fernbedienung”), können Sie also nach dem 2. Klingelton auflegen. Sie müssen keine Telefongebühren bezahlen und wollen, dass Sie keine neuen Nachrichten haben.
Die Anzahl der Klingelzeichen über die Basisstation einstellen:
1 Drücken Sie kurz die vorwärts springen Taste um die aktuell eingestellte Anzahl der Klingeltone zu überprüfen. Eine Stimme gibt die aktuelle Anzahl der Klingeltone an.
2 Drücken Sie die vorwärts springen Taste 2 Sekunden lang um die Anzahl der Klingeltöne einzustellen.
4 Wenn Sie 3 Sekunden lang keine Taste drücken, stellt das Gerät die selektierte Anzahl der Klingeltöne ein.
Die Anzahl der Klingelzeichen über das Mobilteil einstellen:
OK
1Rufen Sie das Menu auf.
OK
2 Wahlen Sie "AB EINSTELL. (TAM SETTINGS)" und bestätigten Sie.
OK
3 Wahlen Sie "ANZ. Rufe (ANS DELAY)" und bestätigen Sie.
OK
4 Stellen Sie die Anzahl der Klingelzeichen und bestätigen Sie.
Speicher voll
Wenn der Speicher voll ist, blinkt die LED-Anzeige Anrufbeantworter AN/AUS an der Basisstation Schnell (0,5 Sekunde ein-/aus). Wenn der Anrufbeantworter eingeschaltet ist und ein Anruf eingegt, spiel das Gerät automatisch Ansagetext 2 ab (Anrufbeantworterfungtion ohne Aufzeichnung einer Anrufernachricht).
Wenn Sie die Nachrichten abhören, wird die interne Stimme mitteilen, dass der Speicher voll ist und dann die Nachrichten abspielen. Löschen Sie einige oder alle Nachrichten nachdem Sie sie abgehört haben. Der Speicher ist dann wieder frei.
Programmierung des VIP-Codes
Der VIP-Code ist ein dreistelliger Code zur Fernbedienung des Geräts aus der Ferne. (Sehe "9.3 Fernbedienung") Der VIP-Code ist standardmäßig auf '123' eingestellt.
OK
OK
/OK
4.5.6
OK
1Rufen Sie das Menu auf.
2 Wahlen Sie "AB EINSTELL. (TAM SETTINGS)" und bestätigten Sie.
3 Wahlen Sie "ABFR. PIN (REMOTE CODE)" und bestätigen Sie.
4Geben Sie den neuen Code ein und bestätigen Sie.
Einen Ansagetext aufnehmen / abspielen (Ansagetext 1 oder Ansagetext 2)
Sie konnen zwei Ansagetexte von 3 Minuten Länge aufnehmen (Ansagetext 1 und Ansagetext 2).
- Ansagetext 1 ist für die Anrufbeantworterfung mit der Möglichkeit für den Anrufer, eine Nachricht zu hinterlassen.
- Ansagetext 2 ist für die Anrufbeantworterfungtion ohne die Möglichkeit für den Anrufer, eine Nachricht zu hinterlassen (nur Annahme des Anrufs)

Wenn kein Ansagetext aufgenommen wurde, wird der integrierte Ansagetext verwendet.
OK
/OK
OK
OK
OK
OK
OK
OK
/OK
1Rufen Sie das Menu auf.
2 Wahlen Sie "AB EINSTELL. (TAM SETTINGS)" und bestätigten Sie.
3 Wahlen Sie "ANS. EINST. (OGM SETTINGS)" und bestätigten Sie.
- Wahlen Sie "HOEREN ANS. (PLAY OGM)" um den Ansagetext abzuspielen und anzuhoren.
Wahlen Sie "ANS. M. AUFZ (ANS AND REC)" für Ansagetext 1 oder "NUR ANSAGE (ANS ONLY)" für Ansagetext 2 und Bestätigen Sie.
- Wahlen Sie "AUFN. ANSAGE (RECORD OGM)" um den Ansagetext aufzunehmen.
Wahlen Sie "ANS. M. AUFZ (ANS AND REC)" für Ansagetext 1 oder "NUR ANSAGE (ANS ONLY)" für Ansagetext 2 und Bestätigen Sie. Sie werden von der Stimmansage aufgefordert, nach dem Signalton zu sprechen. Sie können die Aufnahme mit der Taste # beenden. Die Aufnahme wird abgespielt.
- Wahlen Sie "ANS. LOE. (Delete OGM)" um den Ansagetext zu Löschen. Wahlen Sie "ANS. M. AUFZ (ANS AND REC)" für Ansagetext 1 oder "NUR ANSAGE (ANS ONLY)" für Ansagetext 2 und Bestätigen Sie. Der integrierte Ansagetext wird abgespielt
Einen Ansagetext wahlen (Anrufannahme-Modus)
Anrufannahme-Modus über das Mobilteil einstellen:
OK
OK
OK
/OK
1Rufen Sie das Menu auf.
2 Wahlen Sie "AB EINSTELL. (TAM SETTINGS)" und bestätigten Sie.
3Wahlen Sie "ANSAGEBETR. (ANS MODE)" und bestätigen Sie.
4 Wahlen Sie "ANS. M. AUFZ (ANS AND REC)" für Ansagetext 1 oder "NUR ANSAGE (ANS ONLY)" für Ansagetext 2 und Bestätigten Sie.
Tag einstellen
Während der Wiedergabe der Nachrichten wird auch der Tag und die Uhrzeit angesagt, zu der die Nachricht aufgenommen wurde. Die Uhrzeit wird über die interne Uhr eingestellt (Siehe "6.8 Uhrzeit einstellen"), der Tag muss jedoch separat eingestellt werden:
OK
1Rufen Sie das Menu auf.
OK
2 Wahlen Sie "AB EINSTELL. (TAM SETTINGS)" und bestätigten Sie.
OK
3 Wahlen Sie "EINST. TAG (DAY SETTINGS)" und bestätigten Sie.
OK
4 Stellen Sie den Tag und Bestätigen Sie.
9.2 Betrieb
Wenne ein Anruf eingeht und der Anrufbeantworter ist eingeschaltet, nimmt der Anrufbeantworter den Anruf automatisch nach der eingestillten Anzahl Klingeltöne entgegen.
- Wenn die Ansagetext 1 selektiert wurde, wird die Nachricht abgespielt, ertont ein Piepton und der Anrufer kann eine Nachricht hinterlassen (max. 3 Minuten).
- Wenn die Ansagetext 2 selektiert wurde, wird die Verbindung nach dem Piepton automatisch unterbrochen. Der Anrufer kann keine Nachricht hinterlassen.

Wenn nach dem Annehmen 8 Sekunden lang nichts gesagt wird, wird die Verbindung automatisch unterbrochen.

Wegen Gerauschen in Ihrer Telefonverbindung ist es möglich, dass das Gerät nicht automatisch auflegt, sondern bis zu max. 3 Minuten aufzeichnet. Die Aufnahme wird unterbrochen, wenn Sie das Telefon aufnehmen. Wenn das Gerät weiter aufzeichnet, drücken Sie in der Basisstation.
Mithören der Nachrichten über die Basisstation und das Mobilteil (Call Screening )
These Funktion ist nutzlich, wenn Sie nur bestimmte Anrufe entgegenheiten möchten. Es ist möglich, während eines ankommenden Geschäfts, den Anrufer über die Basisstation oder das Mobilteil zu horen, um Herauszufinden, wer anruft. Wenn der Lautsprecher der Basisstation nicht auf die niedrigste Stufe eingestellt ist, horen Sie den Ansagetext und den Anrufer, der eine Nachricht aufspricht.
Am Mobilteil:
OK
1 Drücken Sie OK wenn "MITHOEREN? (SCREEN?)" im Display erscheint. Sie können den Anrufer über das Mobilteil horen.
C
2 Drucken Sie die Löschen-Tastezum Ausschalten des Mithorens.
Ein Memo aufnehmen
Ein Memo wird wie eine eingehende Nachricht behandelt, die später vom Benutzer abgehört werden kann. Die maximale Aufnahmezeit für ein Memo beträgt 3 Minuten.
OK
1Rufen Sie das Menu auf.
OK
2 Wahlen Sie "AB EINSTELL. (TAM SETTINGS)" und bestätigten Sie.
OK
3 Wahlen Sie "AUFN. MEMO (MEMO REC)" und bestätigen Sie.
4 Die Stimmansage fordert Sie auf, das Memo nach dem Piepton aufzunehmen.
5Um die Aufnahme zu beenden, drücken Sie die Taste'.#
Gespeicherte Nachrichten und Memos abspielen
Am Basisstation:

1 Drücken Sie die Abspielen/Pausen-Taste um alle Nachrichten und Memos abzuspielen.

2 Drücken Sie 2 Sekunden lang die Abspielen/Pausen-Taste um nur die neuen Nachrichten und Memos abzuspielen.
Zu jeder Nachricht gibt die interne Stimme den Tag und die Uhrzeit des Anrufs an.
Während des Abspielens konnen Sie:

- Drücken Sie einmal die Rückwärts springen Taste um zum Anfang der aktuellen Nachricht zu gehen.

- Drücken Sie zweimal die Rückwärts springen Taste um zur vorgen Nachricht zu gehen.

- Drücken Sie die Stopp-Taste um die Wiedergabe zu beenden.

- Drücken Sie die Lösch-Taste um die aktuelle Nachricht zulöschen.

- Drücken Sie die Abspielen/Pausen-Taste um die Wiedergabe zu unterbrechen. Drücken Sie erneut die Abspielen/Pausen-Taste um die Wiedergabe erneut zu starten.

- Drücken Sie die Vorwarts springen Taste um zur{nachsten Nachricht zu gehen.

Nachdem Sie alle Nachrichten abgehört haben, fordert Sie die interne Stimme auf alle Nachrichten zu loschen.

- Drücken Sie die Lösch-Taste zum Bestätigen

- Drucken Sie die Stopp-Taste zum Überspringen.
Am Mobilteil:








1Rufen Sie das Menu auf.
2 Wahlen Sie "NA. HOEREN (TAM SETTINGS)" und bestätigten Sie.
3 Die Anzahl der neuen Nachrichten wird angezeigt. Drücken Sie die Nachunter-Taste, um alle Nachrichten zu sehen (neue und alte Nachrichten).
4 Drucken Sie OK, um das Abspielen der Nachrichten zu starten.
5Nach der Wiedergabe fordert Sie die interne Stimmansage auf, alle Nachrichten zu loschen, indem Sie die Lösch-Taste drucken.
9.3 Fernbedienung
Der Anrufbeantworter kann mit einem Touch-tone-Telefon (MFV-Tonsystem) fernbedient werden. Die Fernbedienung lauft über ein Menu.
Zum Start der Fernbedierung:
4.5.6

4.5.6
1Rufen Sie Ihr Gerät an.
Der Anrufbeantworter nimmt das Geschäft an, Sie horen die ausgehenden Nachricht und einen Piepton.
2 Nach dem Piepton drücken Sie lange auf ''.Das Gerät fordert Sie auf den VIP-Code einzugeben.
3 Wahlen Sie langsam den VIP-Code (Standard = '123').
1
- Wenn der VIP-Code falsch ist, bestätigt das Gerät dies und fordert Sie auf den VIP-Code erneut einzugeben.
4 Wenn der VIP-Code korrekt ist und das Gerät hat neue Nachrichten gespeichert, nennt es die Anzahl der neuen Nachrichten und spiel sie auch ab. Wenn alle neuen Nachrichten abgespielt wurden, fordert Sie das Gerät auf zum Löschen der abgespielten Nachrichten '5' zu drücken oder '1', wenn Sie das Hauptmenü horen möchten. - Wenn das Gerät keine neuen Nachrichten gespeichert hat, teilt es das mit und fordert Sie auf '1' zu drücken um das Hauptmenu zu öffnen.
Hauptmenü:
1 Drücken Sie '1' um das Hauptmenü abzuspielen.
2 Drucken Sie '2' um alle Nachrichten abzuspielen.
3 Drücken Sie '3' um die neuen Nachrichten abzuspielen.
4 Drücken Sie '4' um während der Nachrichten zurück zu springen.
5 Drücken Sie '5' um während der Nachrichten zu loschen.
6 Drücken Sie '6' um während der Nachrichten vorwärts zu springen.
7 Drücken Sie '7' um den Anrufbeantworter an-/auszuschalten.
8 Drücken Sie '8' um das Menu der ausgehenden Nachrichten abzuhoren.
9 Drücken Sie '9' um einen neuen VIP-Code einzustellen.

Sie müssen das Hauptmenü nicht abspielen, um eine beliebige Funktion zu aktivieren.
Menu der ausgehenden Nachrichten:
2 Drucken Sie '2' um die Ansagetext abzuspielen.
3 Drücken Sie '3' um Ansagetext 1 aufzuzeichnen.
4 Drücken Sié '4' um Ansagetext 2 aufzuzeichnen.
5 Drucken Sie '5' um Ansagetext 1 zu selektieren.
6 Drucken Sie '6' um Ansagetext 1 zu selektieren.
8 | Drucken Sie '8' um das Menu der ausgehenden Nachrichten erneut abzuhoren.
1 Drucken Sie '1' um das Hauptmenu erneut abzuhoren.
Den VIP-Code einstellen
*
4.5.6
1
5 Das Gerät fordert Sie auf ‘’ zu drücken um einen neuen VIP-Code einzustellen. Drücken Sie ‘
6 Geben Sie nach dem Ton mit dem numerischen Tastenfeld den neuen Sicherheitscode ein.
7 Drücken Sie ' als Bestätigung.
8 Das Gerät fordert Sie auf '1' zu drücken um das Hauptmenü zu öffnen.
10 Problemlösung
| Störung Mögliche Ursache Lösung | |||
| Kein Display Batterien nicht geladen Überprüfen Sie die Position der Batterien | |||
| Batterien aufladen | |||
| Mobilteil ist ausgeschaltet Mobilteil einschalten | |||
| Kein Ton Telefonkabel nicht richtaghtig angeschlossen | Überprüfen Sie die Verbindung des Telefonkabels | ||
| Die Leitung ist von einem anderen Mobilteil besetzt | Warten Sie, bis das andere Mobilteil aufgelegt wird | ||
| Das Symbol blinking | Mobilteil außer Reichweite Gehen | ||
| Die Basisstation hat keine Stromzufuhr | Überprüfen Sie die Stromverbindung zur Basisstation | ||
| Das Mobilteil ist nicht an der Basisstation angemeldet | Melden Sie das Mobilteil an der Basisstation an | ||
| Basisstation oder Mobilteil klingeln nicht | Die Ruftonlautstärke ist ausgeschaltet oder zu leise | Passen Sie die Ruftonlautstärke an | |
| Der Ton ist gut, aber es besteht keine Verbindung | Falsches Wahlverfahren Stellen | ||
| Es ist nicht möglich, einen Anruf auf PABX weiterzuleiten | Die Flashzeit ist zu kurz oder zu lang | ||
| Das Telefon reagiert nicht auf Tastendrücke | Bedienfehler Entfernen Sie die Batterien und wegen sie erneut ein | ||
11 Technische Daten
| Standard | DECT(Digital Enhanced Cordless Telecommunications) GAP (Generic Access Profile) |
| Frequenzbereich | 1880 MHz bis 1900 MHz |
| Anzahl der Kanäle | 120 Duplexkanäle |
| Modulation | GFSK |
| Codierungschwindigkeit | 32 kbit/s |
| Emissionsleistung | 10 mW (durchschnittliche Leistung pro Kanal) |
| Reichweite | maximal 300 m im Freien / 10 - 50 m im Gebäude |
| Anzahl der Mobilteile | Bis zu 5 |
Stromversorgung der Basisstation 230V / 50Hz / 7,5V DC 300mA
Stromversorgung der Ladegerät 230V / 50Hz / 7,5V DC 200mA
Mobilteil-Batterien 2 wiederauffladbare Batterien AAA, NiMh 1,2 V, 550 mAh
Mobilteil-Bereitschaft 200 Stunden im Standby-Modus
Mobilteil-Sprechzeit 10 Stunden
Unter normalen Gebrauchsbedingungen +5^ bis +45^
Flashzeit 100 oder 250~ms
12 Garantie
12.1 Garantiezeit
Die Geräte haben eine 36-monatige Garantiezeit. Die Garantiezeit beginnnt an dem Tag, an dem das neue Gerät erworben wurde. Die Garantie gilt nicht für normale Batterien oder wiederaufladbare Akkus (Typen AA/AAA).
Verschleibeile oder Mängel, die den Wert oder die Gebrauchstauglichkeit des Geräts nur unerheblich beeinflussen, sind von der Garantie ausgeschlossen.
Der Garantieanspruch muss durch den Originalkaufbeleg oder eine Kopie des Kaufbelegs, auf dem das Kaufdatum und das Gerätemodell ersichtlich sind, nachgewiesen werden.
12.2 Abwicklung des Garantiefalls
Senden Sie das fehlerhafte Gerät mit dem gültigen Kaufbeleg und einer ausgeführten Service-Karte an ein autorisiertes Service-Zentrum.
Tritt ein Gerätefehler innerhalb der Garantiezeit auf, übernimmt das autorisierte Service-Zentrum unentgeltlich die Reparatur{jedes durch einen Material- oder Herstellungsfehler aufgetretenen Defekts mittels Reparatur oder Austausch des fehlerhaften Geräts oder von Teilen des fehlerhaften Geräts. Bei einem Austausch konnen Farbe und Modell vom eigentlich erworbenen Gerät abweichen.
Das ursprüngliche Kaufdatum bestimmt den Beginn der Garantiezeit. Die Garantiezeit verlangert sich nicht, wenn das Gerät von autorisierten Service-Zentren ausgetaucht oder repariert wird.
12.3 Garantieausschluss
Schäden oder Mängel, die durch unsachgemäß Handhabung oder unsachgemäß Betrieb verursacht werden, sowie Defekte, die durch die Verwendung von Nicht-Originalteilen oder -zubehör entstehen, werden nicht von der Garantie abgedeckt.
Die Garantiedecktkeine Schaden ab, die durch außerEinflusseentstanden sind, wie z.B. Blitzeinschlag,Wasser,Brande oder jegliche Transportschaden.
Wenn die Seriennummer des Geräts verändert, entfernt oder unleserlich gemacht wurde, kann keine Garantie in Anspruch genommen werden.
Alle Garantieansprüche erlösen, wenn das Gerät vom Käufer repariert, verändert oder umgebaut wurde.
Dieses Geratarf nur mit Akkus betrieben werden. Falls Sie die ursprünglich im Lieferumfang enthaltenen Akkus ersetzen mochten, prufen Sieitte, ob sich die neuen Akkus eignen und
wiederaufladbar sind. Sie dürfen in den Mobilteilen unter KEINEN Umständen Alkalibatterien verwenden.
Wenn Sie Alkalibatterien verwenden und das Mobilteil in die Basisstation setzen, erwärmen sich die Batterien und explodieren möglicherweise. Ein durch die Verwendung falscher Batterien bedingter Defekt wird durch den Hersteller nicht entschädigt und das auf diese Weise beschädigte Gerät fällt nicht unter die Garantie. Alle Reparaturen werden Ohnen in Rechnung gestellt.
13 Entsorgung des Geräts (Umweltschutz)

Am Ende der Nutzungsdauer des Produkts darf das Gerät nicht im normalen Hausmüll entsorgt werden. Bringen Sie es zu einer Sammelstelle zur Aufbereitung elektrischer und elektronischer Geräte. Das Symbol am Produkt, in der Bedienungsanleitung und/oder Verpackung zeigt dies an.
Einige der Materialien des Produkts können wieder verwendet werden, wenn Sie das Gerät in einer Aufbereitungsstelle abgeben. Mit der Wiederverwertung einiger Teile oder Rohmaterialien aus gebrauchten Produktken leisten Sie einen wichtigen Beitrag zum Umweltschutz. Wenden Sie sichitte an ihre ortlichen Behörden, wenn Sie weitere Informationen über Sammelstellen in Ihrer Umgebung benötigten.
14 Reinigung
Reinigen Sie das Telefon mit einem leicht feuchten Lappen oder mit einem antistatischen Tuch. Verwenden Sie niemals Reinigungs- oder Scheuermittel.

BUTLER E465 TWIN
EinfachAnleitung