TE5765AMN - Telefoon MT Logic - Gratis gebruiksaanwijzing en handleiding
Vind de handleiding van het apparaat gratis TE5765AMN MT Logic in PDF-formaat.
Veelgestelde vragen - TE5765AMN MT Logic
Questions des utilisateurs sur TE5765AMN MT Logic
0 question sur cet appareil. Repondez a celles que vous connaissez ou posez la votre.
Poser une nouvelle question sur cet appareil
Download de handleiding voor uw Telefoon in PDF-formaat gratis! Vind uw handleiding TE5765AMN - MT Logic en neem uw elektronisch apparaat weer in handen. Op deze pagina staan alle documenten die nodig zijn voor het gebruik van uw apparaat. TE5765AMN van het merk MT Logic.
GEBRUIKSAANWIJZING TE5765AMN MT Logic
Om de 'Nummerweergave' te konnen gebruiken,要去 deze diest geactiveerd zich op uw telefoonlijn. Om deze diest te activeren,heits U hiervoor meestal een apart abonnement van uw telefoonmaatschappij nodig. Indien U geen nummerweergavefunctie hebt op uw telefoonlijn, zullen de inkomende telefoonnummers NIET op de display van uw toestel verschijnen.
Wichtig
NL De in deze handleiding beschreiben möglichkheden worden gepubliciceerd onder voorbehoud van wijzigingen.
NL Dit product werkt alleen op herlaadbare batterijen. Als u Niet herlaadbare batterijen in de handset stopt en deze op de basis plaatst, za de handset beschadigd raken. Deze beschadiging worden NIET gedekt door de garantie.
1 Veiligheidsinstructies
- Gebruik uitsluitend de meegeleverde adapter. Gebruik geen andere laders,,ondat dit de batterijcellen kan beschadigen.
- Gebruik uitsluitend oplaadbare batterijen van hetzelfde type. Gebruik nooit gewone, Niet-oplaadbare batterijen. Let bij hetplaatsen van de oplaadbare batterijen op de polariteit (aangeduid in het batterijvak van de handset).
- Raak de laad- en stekkercontacten Niet aan met scherpe en metalen voorwerpen.
- De werkung van sommige medische instrumenten kan worden beinvloed.
- De handset kan een onaangenaam zoemend geluid veroorzaken in hoorapparaten.
- Plaats het basisstation Niet in een vochtige ruimte of op minder dan 1,5m van een waterbron. De handset Niet in aanraking brengen met water.
- Gebruik de telefoon Niet in omgevingen met explosiegevaar.
Recycler de batterijen en onderhoud de telefoon op een milieuvriendelijkme manier. - Omdat deze telefoon Niet kan worden gebruikt tijdens een stroomuitval, moet u een telefoon gebruiken die Niet afhankelijk is van het elektriciteitsnet bij noodgevalen, bv. een mobiele telefoon.
2 B e g i n n e n
2.1 Deze gebruikshandleiding gebruiken
In deze gebruikshandleiding is de volgende methode gebruikt om de instructies te verduidelijk:

Tekst....."DISPLAY".


De tekst die verschijnt op de display van de telefoon worden:tussen aanhalingstkens getoond in de rechterkolom.
In te drukken toets.
2.2 Het basisstation installeren
Volgudge stappen voor de installmente:
1 Steek de stroomstekker van de adapter in het stopcontact en de stroomplug in de aansluiting aan de onderkant van het basisstation.
2 Steek de telefoonstekker in het telefoonstopcontact en de telefoonplug in de connector aan de onderzijde van het basisstation.
3 Plaats de telefoon- en stroomkabel in de aansluitingen van het basisstation, zoals weergegeven in afbeelding 2A.

- 2A Onderaanzicht van het basisstation -
A. Telefoonstopcontact
B. Stroomkabel
C. Telefoonkabel
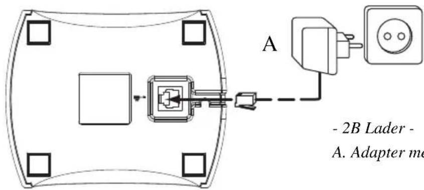
2.3 De lader installeren
1 Verbind de adapter met het stopcontact.

-2BLader
A. Adapter met stroomkabel
2.4 De handset installeren
1Open het batterijvak zoals weergegeven in afbeelding 2C.
2 Plaats de batterijen en let waar bij op de polariteit (+ en -).
3Sluit het batterijvak.
4Laat de handset 20 uur in het basisstation staan.
- 2C Onderaanzicht van de handset -
A. Batteriideksel
B. Oplaadbare batterijen


Voordat u de telefoon voor het eerst gebruikt, moet u controleren of de batterij 20uur is opgeladen. De telefoon zal nicht optimaal werk den als u dit Niet doet.
2.5 Toetsen/LED's
Handset
- Display
- Menu / OK-toets
- Omlaag / oproeplog-toets
- Telefoonboek-toets
- Alfanumerieke toetsen
- INT-toets
- Aan/uit / flash-toets
- Toetsenbordvergrendeling
- Handenvrijtoets
- Opleggen / opnemen-toets
- Omhoog / nummerherhaling / pauze-toets
- Microfoonuit/wissen-toets

-2DHandset
Handset display
In de stand-bymodus toont de display de hijd en het nummer van de handset:
12-05 1
Om te wisselen:tussen de handset naam en deijd, houd u de '0'-toets ingedrukt.

-2EDisplay
Base
- Wis-toets
- Stop toets
- Volume hoger-toets
- Verderspoeltoets
- Antwoord aan/uit LED
- Play / pauze-toets
- Terugspoeltoets
- Volume lager-toets
- Paging-toets
- Antwoordapparaat aan/uit toets

-2FBase-
2.6 Symbolen
| ext | Opgenomen, u bent verbonden Nieuwe nummers in de oproeplijst |
| External oproep Antwoordapparaat aan | |
| int | Interne oproep Batterij vol |
| Beantwoorde oproep Batterij halfleeg | |
| ↓ | Onbeantwoorde oproep Batterij bijna leeg |
| Handenvrij Batterij leeg | |
| ü | U bevindt zich in het telefoonboek Nieuwsvocicemail |
| ü | U bevindt zich in het menu Toetsenbordhandset vergrendeld |
| « | Geeft aan dat het getoonde nummerHandset binnen bereik van het basisstation |
| langer is dan het scherm (12 cijfers)De antenne knippert wanner de handset | |
| niet in het basisstation is geregistreerd |
2.7 LED van het basisstation
De "Antwoord aan/uit"-LED (17) geeft de volgende status waar:
Uit Het antwoordappaata isuitgeschakeld.
Aan Het antwoordapparaat staat aan.
Langzaam knipperen Er zichnjn neue berichten.
Snel knipperen Het geheugen van het antwoordapparaat is vol.
2.8 Door het menu bladeren
De Butler E465 heeft een gebruiksvriendelijk menusystem. Elk menu toont een lijst met opties. De menukaart staat in de volgende paragraaf.

1 Wanner de handset aan en in stand-by staat, drukt u op de menu-toets om het hoofdmenu te openen.

2 Blader maar de gewenste menuoptie. U kunt in een lus de menuopties doorlopen (na de LASTe keert u terug� de eerste).

3 Druk op de OK-toets om meer opties te zien of de getoonde instelling te bevestigen.

Druk op de wissen-toets om maar het vorige menuniveautering te keren.
2.9 Menuverzicht
| Menu | Submenu-items |
| HOOR BOODSCH | NIEUWE ALLE |
| TELEFOONBOEK | TOEVOEGEN BEWERKEN WISSEN |
Menu Submenu-items
| ANTW. INSTEL | ANT A/U |
| ANTWOORD | |
| MEMO OPN | |
| OGM INSTEL | |
| DATUM | |
| AANT BELSIGN | |
| TOEGANGSCODE | |
| INSTELLINGEN | BASIS VOLUME |
| BS MELODIE | |
| HS VERWIJDER | |
| PIN CODE | |
| FLASHTIJD | |
| FAB INSTELL | |
| HANDSET | BIEP |
| INT BELVOLUM | |
| EXT BELVOLUM | |
| INT MELODIE | |
| EXT MELODIE | |
| AUTO ANTWDEN | |
| NAAM | |
| TAAL | |
| KLAVIERVERG? | |
| DATUM - TIJD | DATUM INST. |
| TIJD INSTELL | |
| ALARM INST | |
| AANMELDEN | BASIS SELECT |
| BS AANMELDEN |
3 De telefoon gebruiken
3.1 De handset aan- en afzetten
1 Druk gedurende 6 seconden op de aan/uit-toets van de handset. De handset zoekt nu het basisstation.
2 Houd de aan/uit-toets 6 seconden ingedrukt. De display schakelt zich uit.
3.2 De menutaal veranderen
OK
1Open het menu.
OK
2 Kies "HANDSET" en bevestig.
OK
3Kies "TAAL" en bevestig.
OK
4 Kies een taal en bevestig.
3.3 Een oproep ontvangen
Om de oproep aan te nemen:

1Druk op de opnemen-toets.
OF
Neem de handset van het basisstation als u de Automatisch antewoordenfunctie hebt geactiveerd. (Zie "6.5 Automatisch antewoorden")
U bent verbonden met uw correspondent.

2 Druk op de opleggen-toets om te eindigen of zet de handset terug op het basisstation.
3.4 Een externe oproep doen
Direct kiezen

1 Druk op de opnemen-toets om het nummer te bellen.
2 Voer het telefoonnummer in.

3 Druk op de opleggen-toets om te eindigen of zet de handset terug op het basisstation.

Om een nummer te corrigeren gezbrukt u de wissen-toets om een ingevoerd bijfer te wissen.
Voorkiezen

1 Voer het telefoonnummer in.
2 Druk op de opnemen-toets om het nummer te bellen.

3 Druk op de opleggen-toets om te eindigen of zet de handset terug op het basisstation.
3.5 Een interne oproep doeon
Int

1Druk op de interne oproep-toets.
2 Voer het nummer van de interne handset in (1 tot 5).
3 Druk op de opleggen-toets om te eindigen of zet de handset terug op het basisstation.
3.6 Een interne oproep doorschakelen
Een externe oproep doorschakelen maar een andere handset
Int

1Druk op de interne oproep-toets.
2 Voer het nummer van de interne handset in (1 tot 5). Uw externe correspondent worden nu in de wacht geplaatst.
3 Wanner de andere handset opneemt, druk dan op de opleggen-toets om op te hangen en de oproep door te schakelen.
Int

Wanner de interne correspondent Niet opneemt, drukt u opnieuw op de interne oproep-toets om uw externe correspondent aan de lijn te krijgen.
4 Druk op de opleggen-toets om te eindigen of zet de handset terug op het basisstation.
Alleen möglich wonneer meer dan een handset op het basisstation is aangemeld! U kunt gewelijk tijdig converseren met een interne en externe correspondent. Tijdens een externe oproep:
Int
4.1.16
Int

1Druk op de interne oproep-toets.
2 Voer het nummer van de interne handset in (1 tot 5).
3 Wanner de andere handset opneemt, houd u de "# toets ingedrukt.
Wanner de interne correspondent Niet opneemt, drukt u opnieuw op de interne oproep-toets om uw externe correspondent aan de lijn te krijgen.
4 Druk op de opleggen-toets om te eindigen of zet de handset terug op het basisstation.
3.8 Handenvrije modus
U kunt met uw correspondent praten zonder de handset op te nemen.
1 Drukijdens een oproep op de handenvrijtoets om de handenvrijde modus te activeren of te desactiveren.
3.9 Luidsprekervolume tijdens het gesprek
1 Tijdens het gesprek drukt u op de omhoog/omlaag-toets om het volume aan te passen.

Het volume voor het handenvrij bellen worden met dat van de handset aangepast, zoals hierboven beschreiben.
3.10 Weergave van de duur van het gesprek
De gespreksduur worden na 15 seconden in minutes en seconden getoond.
Bij het einde van elke oproep worden de totale gespreksduur gedurende 5 seconden getoond.
3.11 Microfoon uitschakelen
Het is möglichk om de microfoon tijdens een gesprek af te zetten.
C
1 Druk op de microfoon uit-toets. U kunt vrijuit spreken zonder dat uw correspondent u hoor.
C
Op de display verschijnt "MIC UIT".
2 Druk opniew op de microfoon uit-toets om terug te keren maar de normale modus.
3.12 Pauze-toets
Wanner u een nummer invoert, kunt u een pauze invoeren:tussen twee cijfers:
O/P
1 Houd de nummerherhaling/pauze-toets 2 seconden ingedrukt.
3.13 Een handset vinden (Paging-functie)
·
1Druk op de Paging-toets op het basisstation.
5.6
Alle handsets die bij het basisstation zijn aangemeld, zullen nu rinkelen.
2 Druk op een willekeurige toets op de handset om het rinkelen te stoppen.
3.14 Numerherhalingsgeheugen
U kunt maximaal 10 van de LASTe oproepen terugbellen. Als u een naam in het telefoonboek hebt opgeslagen die bij het nummer hoort, za de naam worden weergegeven.

1 Druk op de nummerherhalingstoets.
2 Kies een nummer. Als het nummer in het telefoonboek staat, worden de naam weergegeven.
Wonneer de naam verschijnt,=kunt u kiezen:tussen de naam of het nummer door op de OK-toets te drukken!
3 Druk op de opnemen-toets om het nummer te bellen.
4 Druk op de opleggen-toets om terug te keren maar de stand-bymodus.
3.15 Het alfanumerieke toetsenbord gebruiken
Met uw telefoonkestu ook alfanumerieke tekens invoeren. Dit is handig om een naam in het telefoonboek teplaatsen,een naam tegeven aan de handset enz.
Om een letter te kiezen, drukt u zo vaak als nodig op de bijbehorende toets.
Bijvoorbeeld: druk eenmaal op "2" om "A" te kiezen. Druk tweeemaal op "2" om "B" te kiezen enz.
Druk eenmaal op "2" en wacht totdat de cursoraar het volgende teken gaat en druk tweeemaal op "2" om eerst "A" en verwolgens "B" te kiezen. Tijdens het invoeren van tekst verschijnt het beschikbare teken onder elke toets onder in de display.

Druk op "1" om een spatie te kiezen.
Druk op de wissen-toets om een teken te wissen.
De tekens op het toetsenbord zijn als volgt verd南非:
| ToetsEerste | Tweede | Derde | Vierde | Vijfde | |||||
| druk druk druk druk druk | |||||||||
| 1 spatie - 1 | |||||||||
| 2 | A | B | C | 2 | |||||
| 3 | D | E | F | 3 | |||||
| 4 | G | H | I | 4 | |||||
| 5 | J | K | L | 5 | |||||
| 6 | M | N | O | 6 | |||||
| 7 | P | Q | R | S | 7 | ||||
| 8 | T | U | V | 8 | |||||
| 9 | W | X | Y | Z | 9 | ||||
| 0 | 0 | ||||||||
4 Telefoonbok
Elke handset kan tot 50 telefoonnummers en name opslaan. Namekunnen 12 tekens, en nummers 24 cijfers lang zich. Voor het invoeren van alfanumerieke karakters, die paragraaf "3.15 Het alfanumerieke toetsenbord gebruiken".
4.1 Een nummer toevoegen aan het telefoonboek

1 Kies het menu.
2 Kies "TELEFOONBOEK" en bevestig.
3 Kies "TOEVOEGEN" en bevestig.
4 Voer de naam in en bevestig.





Houd de microloon uit/wissen-toets ingedrukt en verlaat het menu zonder de wijzigingen op te slaan.
5 Voer het nummer in en bevestig.
6Kies een belmelodie (1-10) en bevestig.
4.2 Een nummeruit hettelefoonboek bellen






1Druk op de telefoonboek-toets.
2 Kies een naam of voer de eerste letter van de naam in. (De lijst scrollt in alfabetische volgorde.)
Om eerst het telefoonnummer te zien, drukt u op de OK-toets.
Wanner het telefoonnummer uit meer dan 12 cijfers bestaat, drukt u opnieuw op de OK-toets om het volledige nummer te zien.
3Druk op de opnemen-toets om het nummer te bellen.
4 Druk op de opleggen-toets om te eindigen of zet de handset terug op het basisstation.
4.3 Een naam en nummer wijzigen















1 Kies het menu.
2Kies "TELEFOONBOEK" en bevestig.
3Kies "BEWERKEN" en bevestig.
4 Kies de naam die u wilt wijzigen en bevestig.
5 Wis de ongewenst tekens en voer de neue naam in. Bevestig.
6Voer het neue nummer in en bevestig.
7 Kies een belmelodie (1-10) en bevestig.
4.4 Een nummer uit het telefoonboek verwijderen









1Open het menu.
2 Kies "TELEFOONBOEK" en bevestig.
3Kies "WISSEN" en bevestig.
4 Kies een naam of voer de eerste letter van de naam in en bevestig.
De display toont "BEVESTIGEN?"
5Bevestig of annuleer.
5 Numerweergave oproeper

Deze diest werkt alleen als u bent geabonneerd op een Dienst met nummerherkenning van de oproeper (CLIP). Neem hiervoor contact op met uw telefoonmaatschappij.
Wanner u een externe oproep ontvangt, verschijnt het nummer van de beller op de display van de handset. De telefoon kan oproepen ontvangen in zowel FSK als DTMF. U kunt ook zijn of haar naam zich als deze worden verzonden door het netwerk. Als de naam in het telefoonboek is geprogrammeerd, zal de naam uit het telefoonboek worden weergegeven!

Na 15 seconden verbinding wordt de naam van de beller verrangen door de gespreksduur. U kunt de naam van de beller ook langer tonen door herhaaldelijk op de OK-toets te drukken voor de naam en het nummer.
De telefoon kan 40 oproepen opslaan in de oproeplijst (ontvangen en gemiste oproepen), die later bekeken können worden. Deze functie is alleen beschikbaar wanner u geabonneerd bent op een Dienst voor nummerweergave.
Als het geheugen vol is, zullen de nieuwe oproepen automatisch de oudste oproepen in het geheugen verrangen.

Nieuwe of gemiste oproepen worden aangeduid door een knipperend pictogram op de display.
De oproeplijst raadplegen

1Druk op de oproeplog-toets.
Wanner er geen oproepen zijn, verschijnt in de lijst "LEEG".

2 Doorloop de oproepen. De namen van de bellers worden getoond wanner de naam door het netwerk worden doorgestuurd of in het telefoonboek is opgeslagen. Wanner u aan het eind van de lijst komt, hoort u een pieptoon.

Wanneer verschijnt, worden de oproepe beantwoord. Wanneer verschijnt, blijf de oproeep onbeantwoord.

3Druk op dc OK-toets om het telefoonnummer te zien.

Wanner het telefoonnummer uit meer dan 12 cijfers bestaat, drukt u opnieuw op de OK-toets om het volledige nummer te zien.

4 Druk opnieuw op de OK-toets om dearend datum te zien waarop de oproep is ontvangen.

5 Druk op de OK-toets om het eventuele的良好 nummer aan het telefoonboek toe te voegen.
Druk op OK wanneer "TOEVOEGEN?" op de display verschijnt. Voer de naam in, of wijzig hem en druk op OK. Voer het telefoonnummer in, of wijzig het en druk op OK. Kies met de omhoog/omlaag-toets de melodie (1-10) die u wenst te horen wanneer dit nummer u belt en druk op OK. Het nummer zal in het telefoonboek worden opgeslagen.
6 Druk op de opnemen-toets om een correspondent terug te bellen, wanneer hun nummer of naam worden getoond.
Ukunt elk nummer afzonderlijk verwijdersen:


1 Kies de oproep die u wenst te wissen en wis hem.
Op de display verschijnt "WISSEN?".


2 Bevestig of annuleer.
Om alle items geleuktijdig te wissen:

1 Houd de wissen-toets 2 seconden ingedrukt.
Op het scherm verschijnt "WIS ALLE?".


2 Bevestig of annuleer.
6 De handset personaliseren

Elke programmering worden bij het einde bevestigd door een dubbele of een enkele Lange pieptoon. Een dubbele pieptoon geeft de bevestiging van uw keuze aan. Een lange pieptoon betekent dat de wijziging Niet is doorgevoerd.
6.1 HET BELVOLUME AANPASSEN
Belvolume van de handset voor interne/externe oproepen
U kunt het belvolume afzonderlijk instellen voor de interne of externe oproepen. U kunt voor de handset kiezen uit 5 belvolumeneveaus en "UIT".

Wanner de handset in het basisstation staat, zal het basisstation nicht rinkelen bij een inkomende oproep. Wanner het belvolume van de handset uitgeschakeld is en de handset staat in het basisstation, dan zal uw telefoon Niet meer rinkelen!

1Open het menu.
2Kies "HANDSET" en bevestig.
3 Kies "INT BELVOLUM" om het interne volume te wijzigen of "EXT BEL VOLUM" om het externe volume te wijzigen en bevestig.
4 Kies een volumeniveau (1 tot 5 of "UIT").
5 Bevestig of keer terug maar het vorige menu.
6.2 Een beltoon kiezen
U kurz voor het basisstation en elke handset een verschillende beltoon instellen. U kurz de handset ook instellen om voor interne of externe oproepen met een andere beltoon te rinkelen. U kurz kiezen uit 5 verschillende beltonen.

1Open het menu.
2Kies "INSTELLINGEN" en bevestig.
3Kies "HANDSET" en bevestig.
4 Kies "INT MELODIE" om de interne beltoon of "EXT MELODIE" om de externe beltoon te wijzigen en bevestig.
5Kies een beltoon (1 tot 10).
6 Druk op de OK-toets om te bevestigen of maar het vorige menutering te keren.
6.3 Inschakelen/uitschakelen van de pieptonen
De handsets können een pieptoon gehen wanner u op een toets drukt, wanner het batterijniveau laag is of wanner de handset buiten bereik is.
Pieptoont toetsdruk aan/uit

1Open het menu.
2Kies "HANDSET" en bevestig.
3Kies "BIEP" en bevestig.
4Kies "TOETSTOON" en bevestig.
5 Kies "AAN" om in te schakelen of "UIT" om uit te schakelen en bevestig.
Laag batterijniveau
| OK | 1Open het menu. |
| OK | 2Kies "HANDSET" en bevestig. |
| OK | 3Kies "BIEP" en bevestig. |
| OK | 4Kies "BAT LAAG" en bevestig. |
| OK | 5 Kies "AAN" om in te schakelen of "UIT" om uit te schakelen en bevestig. |
Handset is buiten bereik
| OK | 1Open het menu. |
| OK | 2Kies "HANDSET" en bevestig. |
| OK | 3Kies "BIEP" en bevestig. |
| OK | 4Kies "BUIT BEREIK" en bevestig. |
| OK | 5 Kies "AAN" om in te schakelen of "UIT" om uit te schakelen en bevestig. |
6.4 Naam van de handset
U kurz de naam die in de stand-bymodus op de handset worden weergegeven, veranderen (max. 9 tekens). Met deze functie kurz u elke handset personaliseren.
| OK | 1Open het menu. |
| OK | 2Kies "HANDSET" en bevestig. |
| OK | 3Selecteer "NAAM" en bevestig. |
| OK | 4Voer de gewenste naam in en bevestig. |
| C | Druk op de wissen-toets om een teken te wissen. Houd de telefoonboek-toets ingedrukt en verlaat het menu zonder de wijzigingen op te slaan. |
Wanner er een inkomende oproep is en de handset staat in het basisstation, neemt de telefoon automatisch de lijn wanner u hem opneemt. Dit is de standard instelling. U kunt dezeuitschakelen.
| 1Open het menu. | |
| 2Kies "HANDSET" en bevestig. | |
| 3Kies "AUTO ANTWDEN" en bevestig. | |
| 4 Kies "AAN" om in te schakelen of "UIT" om uit te schakelen en bevestig. |
6.6 De handset resetten
U kunt de fabrieksinstellungen voor de telefoon terugzetten. Dit zijn de instillingen die+zijn geinstalleerd wonneer u de telefoon aankoopt. Om maar de standard indstellingen terug te keren:
| OK | 1Open het menu. |
| OK | 2Kies "INSTELLINGEN" en bevestig. |
| OK | 3Kies "FAB INSTELL" en bevestig. |
| OK | 4 Voer de 4-cijferige pincode in (standaard =0000) en bevestig. |
DE STANDAARD PARAMETERS ZIJN:
Pieptoon bij laag batterijniveau Aan
Pieptonen bij buiten bereik Uit
Toetstoon Aan
Automatisch antewoorden Aan
Interne melodie 1
Intern volume 3
External melodie 3
External volume 3
Ontvang volume 3
Telefoonboek Leeg
Oproeplog Leeg
Nummerherhalingslijst Leeg
Pincode 0000
BelmodusDTMF
Toetsenbordvergrendeling Uit

Wanner u terugkeert waar de standard instellingen worden alle items in het telefoonboek en de oproeplog verwijderd. De pincode wordt ook terugzet op 0000.
6.7 Toetsenbordvergrendeling
Het toetsenbord kan worden vergrendeld zodate er geen instelleningen+konnen worden gewijzigd en geen telefoonnummers+konnen worden gevormd. Wanner het toetsenbord vergrendeld is, verschijnt het ^ 一 pictogram.
Het toetsbord vergrendelen

1 Houd de " 串 -toets 3 seconden ingedrukt. Het toetsbord zar worden vergrendeld.
Het toetsenbord ontgrendelen.

1 Druk op een willekeurige toets, "DRUK *" verschijnt op het scherm.
2 Druk binnen de 3 seconden op de **-toets.
6.8 De&tijd instellen


1 Open het menu.
2 Kies "DATUM - TIOD" en bevestig.
3 Kies "TIJD INSTELL" en bevestig.
4 Voer deijd in (24-uurweergave) en bevestig.
6.9 Het alarm instellen


1 Open het menu.
2 Kies "DATUM - TIJD" en bevestig.
3 Kies "ALARM INST" en bevestig.

4 Kies "AAN" om het alarm aan te zetten en bevestig.
Voer het tijdstip in (24-uurweergave) waarop het alarm要去 afgaan en bevestig.
OF
Kies "UIT" om het alarm af te zetten en bevestig.
6.10 De datum instellen
| OK | 1Open het menu. |
| OK | 2Kies "DATUM - TIJD" en bevestig. |
| OK | 3Kies " DATUM INST." en bevestig. |
| OK | 4Voer de datum in (dag-maand) en bevestig. |
7 Basisinstallingen
7.1 HET BELVOLUME AANPASSEN
Belvolume van het basisstation
U kuntkiezenuit 5belvolumeniveaus en"UIT".
| OK | 1Open het menu. |
| OK | 2Kies "INSTELLINGEN" en bevestig. |
| OK | 3Kies "BASIS VOLUME" en bevestig. |
| OK | 4Kies een volumeniveau ("UIT" 1 tot 5). |
| OK | 5Bevestig of keer terug maar het vorige menu. |
7.2 Een beltoon kiezen
U kunt voor het basisstation en elke handset een verschillende beltoon instellen. Om de melodie van het basisstation in te stellen:
| OK | 1Open het menu. |
| OK | 2Kies "INSTELLINGEN" en bevestig. |
| OK | 3Kies "BASIS MELODIE" en bevestig. |
| OK | 4Kies een beltoon (1 tot 5). |
| OK | 5Bevestig of keer terug maar het vorige menu. |
7.3 De pincode wijzigen
Bepaalde functies zijn alleen beschikbaar voor gebruikers die de pincode kennen. De standard pincode is 0000. Om de pincode te wijzigen:
| OK | 1Open het menu. |
| OK | 2Kies "INSTELLINGEN" en bevestig. |
| OK | 3Kies "PIN CODE" en bevestig. |
| OK | 4Voer de oude 4-cijferige pincode in en bevestig. |
| OK | 5Voer een neue 4-cijferige pincode in en bevestig. |
| OK | 6 Voer de neue pincode een tweede keer in en bevestig. |
7.4 Duur van de flashtijd
Druk op de flash-toets 'R' (toets 7 - afbeelding 2D Handset) om bepalde Diensten op uw externe lijn te gebruiken, zoals "tweede oproep" (wonneer uw telefoonbedrijf deze Dienst aanbiedt); of om oproepen door te schakelen wonneer u een telefooncentrale gebruikt (PABX). De flashtoets 'R' is een korte onderbreking van de lijn. U kut de flashtijd instellen tot 100ms of 250~ms
OK
OK
OK
OK
1Open het menu
2 Kies "INSTELLINGEN" en bevestig.
3Selecteer "FLASHTIJD" en bevestig.
4 Kies "FLASH1" voor een korte flashtijd (100 ms) of "FLASH2" voor een lange flashtijd (250 ms) en bevestig.
8 Meerdere handsets gebruiken
8.1 Een neue handset toevoegen

Alleen nodig wanner u de aanmeling van een handset hebt verwijderd of wanner u zich een neue hebt aangeschaft.
U kunt twee handsets aanmelden op het basisstation wanneer deze handsets het DEC GAP-protocol ondersteunen.
Het basisstation kan tot 5 handsets ondersteunen. Wanner u reeds 5 handsets hebt en u wenst een bijkomende handset toe te voegen of een handset te verrangen, moet u eerst een handset verwijderen en verrolgens de neue aamelden.
Het basisstation in de aanmeldingsmodus plaatsen
1 Houd de Paging-toets op het basisstation 6 seconden ingedrukt. Het basisstation geeft een pieptoon.
De LED op het basisstation zal 90 seconden lang knipperen. In diearend is het basisstation maar om een neue handset te registrieren.
Meld de neue handset aan:
Aanmelden van een handset type Butler E465
OK
OK
OK
4.5.6
OK
4.5.6
OK
OK
2 Open het menu.
3Kies "AANMELDEN" en bevestig.
4Kies "BS AANMELDEN" en bevestig.
5 Kies het nummer van het basisstation dat aan de handset (1 - 4)要去 worden gekoppeld en bevestig. (De knipperende nummers zijn reeds in gebruik.)
6 Voer de pincode van het basisstation in (standaard 0000) en bevestig.
De handset zoekt nu het DECT-basisstation. Wanner de handset het basisstation heeft gezonden, toont hij het identificatienummer van het basisstation.
7 Bevestig of stop.
Wanneer de handset het basisstation Niet vindt, keert hij na enkele seconden terug maar stand-bymodus. Probeer het nummer van het basisstation te wijzigigen en ga na of er geen storingsbronnen zijn in de omgeving. GaDICter bij het basisstation staan.
Handsets van andere typen aanmelden
Na het starten van de procedure voor aanmeling op het basisstation volgt u de aanwijzingen voor het aanmelden in de handleiding van de handset. De handset要去 GAP-compatible发展格局.
Op de display knipperen het pictogram "Y" en de tekst "NT AANGEMELD" wanneer de handset Niet aan het basisstation is gekoppeld.
Wanner een handset aan een basisstation is gekoppeld, krijgt hij van het basisstation een handsetnummer. Dit is het nummer dat op de handset anschter de naam staat en moet worden gebruikt voor interne oproepen.

Het DECT GAP-profiel zorgt er alleen voor dat de basis telefoonfuncties correct werkten:tussen de verschillende merken/typen. Het is möglichk dat sommige diensten (zoals CLIP - nummerweergave oproeper) Niet correct werken.
8.2 Een handset verwijderen
Deze procedure moet worden uitgevoerd op een andere handset dan die die u wilt verwijden.
| OK | 1Open het menu. |
| OK | 2Kies "INSTELLINGEN" en bevestig. |
| OK | 3Selecteer "HS VERWIJDER" en bevestig. |
| OK | 4Voer de pincode van het basisstation in (standaard 0000) en bevestig. |
| OK | 5 Kies de handset die u wilt verwijdenen en bevestig. |
8.3 Een handset instellen op een ander basisstation
Wanner u een Butler E465-handset gekrukt op een basisstation van een ander model. Het basisstation要去 GAP-compatible发展格局.
| OK | 2Open het menu. |
| ▼ | 3Kies "AANMELDEN" en bevestig. |
| ▼ | 4Kies "BS AANMELDEN" en bevestig. |
| OK | 5 Voer het nummer van het basisstation in dat aan de handset要去 worden gekoppeld in en bevestig. |
| OK | 6Voer de pincode van het basisstation in en bevestig. |
| De handset zoekt nu het DECT-basisstation. Wanner de handset het basisstation heeft gezonden, toont hij het identificatienummer van het basisstation. | |
| OK | 7Bevestig of stop. |
8.4 Een basisstation selecteren
U Aunt uw handsetussen basisstations wisselen. De handsets konnen tot op 4 basistations tegelijkkertijd worden aangemeld. Wanner u het basisstation kiest, worden het huidig gekozen basisstation aangeduid door een knipperend basisstationnummer.
Wanner u "AUTO" kiest, zal de handset automatisch maar een ander basisstation Zoeken wonneer u zich buiten bereik vindt. De handset要去eerst apart worden aangemeld bij elke basisstation.
| OK | 1Open het menu. |
| OK | 2Kies "AANMELDEN" en bevestig. |
| OK | 3Kies "BASIS SELECT" en bevestig. |


4Kies een basisstation of kies "AUTO" en bevestig.

Als u automatische basisselectie hebts geseleerd en de handset buiten bereik is van het huidige basisstation, za de handset alleen zoekenaar het sterkste basisstation in de stand-bymodus (nietijdens verbindingen).
9 Antwoordapparaat
De Butler E465 heeft een ingebouwd digitaal antwoordapparaat met een opnamecapaciteit van 10min . Dit antwoordapparaat kan vanaf het basisstation en vanaf de handset worden bediend. Het antwoordapparaat kan op afstand worden bediend en is voorzien van de möglichkheid om tweeuitgaande berichten op te nemen (Bericht 1 en Bericht 2).
Een interne stem zal diverse informatatie noemen, zoals de datum en het tijdstip van de oproep, evenals deinstallingen, zoals de VIP-code, de beltoonvertraging, enz. De beschikbare taal van de interne stem staat vermeld op de verpakking!

Alle berichten en instellingen worden opgeslagen in het flash-geheugen en zullen nicht worden gewist als de adapter wordt verwijderd. Alleen de datum/tijdinstellingen zullen worden gewist.
9.1 Instellingen van het antwoordapparaat
Sommige instellingen können ook vanaf het basisstation worden uitgevoerd, maar de meeste instellingen worden ingesteld vanaf de handset.
Het luidsprekervolume van het basisstation instellen
Om het volume op de basis te wijzigenijdens de weergave van inkomende ofuitgaande boodschappen:


Druk op de volumetoetsen van de basis om het volume te verhogen of te verlagen.
Het volume kan ingesteld worden van '0' tot '9'. Als het volume op het laagsteiveau is ingesteld zal er niets hoorbaar zijnijdens meeluisterfunctie en bediening vanop afstand. De rest zal weergegeven worden met volume '1'.
Antwoordapparaat aan/uit schakelen
Is het antwoordapparaat is ingeschakeld, zal de "Antwoord aan/uit"-LED (17) op het basisstation blijven branden (of knipperen als erijke berichten+zijn binnengekomen) en het apparaat zal de oproep automatisch aannemen na een,aantal beltonen ("Aantal beltonen instellen (Answer delay)" Op de handset zal het -pictogram gaan branden (of knipperen als erijke berichten+zijn binnengekomen).
Als het antwoordapparaat is uitgeschakeld zal de "Antwoord aan/uit"-LED (17) op het basisstation Niet branden en zal het -pictogram nicht worden weergegeven op de display van de handset. Het antwoordapparaat in-/uitschakelen vanaf het basisstation:

1 Druk op de aan/uit toets om het antwoordapparaat te activeren.
2 De interne stem zal de instellen gen bevestigen en het huidige uitgaand bericht afspelen.
3 Druk opnieuw op de aan/uit toets om het antwoordapparaat UIT te schakelen.
Het antwoordapparaat in-/uitschakelen vanaf de handset:

1Open het menu.


2 Kies "ANTW. INSTEL" en bevestig.


3Kies "ANTW AAN/UIT" en bevestig.

4 Selecteer "AAN" of "UIT" en en bevestig.

Zelfs als het antwoordapparaat uit staat, zal het automatisch na 10 beltonen opnemen om de activering op afstand möglich te make. (Zie "9.3 Bediening vanop afstand")
Aantal beltonen instellen (Answer delay)
Het aantal beltonen waarna het antwoordapparaat de oproep zar beantwoorden, kan ingesteld worden van 2 tot 9 en TS (Toll saver). Standaard staat het toestel ingesteld op 6 beltonen. In toll saver modus zar het toestel antewoorden na 6 beltonen als er geen{nieuwe boodschappen zich, en na 2 beltonen als er{nieuwe boodschappen zich. Als er geen{nieuwe boodschappen zich en u belt waar het toestel om vanop afstand uw boodschappen op te vragen (zie "9.3 Bediening vanop afstand"), kan u al na de 2de beltoon inhaken. U hoeff geen verbindingskosten te betalen en u weet dat er geen{nieuwe boodschappen zich.
Het aantal beltonen instellen vanaf het basisstation:

1 Druk op de verderspoeltoets om het aantal ingestelde boodschappen te controeren. De interne stem za het aantal beltonen bevestigen.

2 Druk 2 seconden op de verderspoeltoets om het aantal beltonen in te stellen.

3 Druk onmiddelijk op de verderspoeltoets om het+aantal te wijzigen.
4Wacht nu 3 seconden om het aantal in te stellen.
Het aantal beltonen instellen vanaf de handset:

1Open het menu.


2Kies "ANTW. INSTEL" en bevestig.


3Kies "ANTW. TIJD" en bevestig.


4Stel het aantal beltonen in en bevestig.
Geheugen vol
Wannneer het geheugen vol is zal de "aan/uit"-LED van het antwoordapparaat op het basisstation snel knipperen (0,5 sec. aan/uit). Wanneer het antwoordapparaat is aangeschakeld en een oproep binnen komt, zal automatisch uitgaand bericht 2 (antwoordfunctie zonder inspreek möglichkheid) worden afgespeeld.
Bij het beluisteren van de berichten, za de interne stem aankondigen dat het geheugen vol is en zullenervoigens de berachten worden afgespeeld. Wis enkele of alle boodschappen na ze beluisterd te hebben om het geheugen terug vrij te makeen.
VIP code programmeren
De VIP-code is een 3 cijfer code die gebrukt worden om het toestel vanop afstand te bedieren. (Zie "9.3 Bediening vanop afstand") De standard waarde is "123".

1Open het menu.


2 Kies "ANTW. INSTEL" en bevestig.


3Kies "TOEGANGSCODE" en bevestig.


4 Voer de neue code in en bevestig.
Een uitgaand bericht (OGM) opnemen en afspelen
Er kann twee uitgaande berichten van 3 minuten worden opgenomen (OGM1 en OGM2).
-
Uitgaand bericht 1 (OGM1) voor de antwoordfunctie en de möglichkheid voor bellers om een bericht darüber teCTX.
-
Uitgaand bericht 2 (OGM2) voor de antwoordfunctie zonder dat de bellers een bericht acheter hunnen latent op het apparaat (alleen antevoorden).

Als er geen uitgaand bericht is opgenomen, zal er een vooraf opgenomen uitgaand bericht worden gezruikt.
| OK | 1Open het menu. |
| OK | 2Kies "ANTW. INSTEL" en bevestig. |
| OK | 3Kies "OGM INSTEL" en bevestig. |
| OK | • Selecteer "SPEEL OGM" om het uitgaande bericht af te spelelen en te beluis-teren. Selecteer "ANTW & OPN" voor uitgaand bericht 1 of "ENKEL BEANTW" voor uitgaand bericht 2 en bevestig. |
| OK | • Selecteer "NEEM OGM OP" om het uitgaande bericht op te nemen. Selecteer "ANTW & OPN" voor uitgaand bericht 1 of "ENKEL BEANTW" voor uitgaand bericht 2 en bevestig. De interne stem vraagt om na de toon uw bericht in te spreken. U(Int)kunt de opname stoppen door op de #toets te drukken. De opname zal worden afgespeeld. |
| OK | •Selecteer "WIS OGM" om het uitgaande bericht te wissen. Selecteer "ANTW & OPN" voor uitgaand bericht 1 of "ENKEL BEANTW" voor uitgaand bericht 2 en bevestig. Het vooraf opgenomen OGM worden afgespeeld. |
Eenuitgaand bericht selecteren (antwoordmodus)
De antwoordmodus instellen vanaf het basisstation:
| OK | 1Open het menu. |
| OK | 2Kies "ANTW. INSTEL" en bevestig. |
| OK | 3Kies "ANTW MODE" en bevestig. |
| OK | 4Selecteer "ANTW & OPN" voor uitgaand bericht 1 of "ENKEL BEANTW" voor uitgaand bericht 2 en bevestig. |
De dag instellen
Tijdens het afspelen van de berichten zult u de datum en dearend horen waarop de berachten zijn opgenomen. Dearend worden ingesteld door de interne klok (zie "6.8 Dearend instellen"), maar de datum moet apart worden ingesteld:
| OK | 1Open het menu. |
| OK | 2Kies "ANTW. INSTEL" en bevestig. |
| OK | 3Kies "DATUM INSTEL" en bevestig. |
| OK | 4Stel de datum in en bevestig. |
9.2 Werking
Wanner er een oproep binnenkomt en het antwoordapparaat is aangeschakeld, za na het aanl ingestelde beltonen, het antwoordapparaat automatisch de lijn nemen.
- Als uitgaand bericht 1 is geseleerd, zal deze worden afgespeeld. Na het bericht zal er een biep signala te horen zich en kan de opbeller een boodschap inspreken (van max. 3 minutes).
- Als uitgaand bericht 2 is geseleerd, za deze worden afgespeeld. Na de bieptoon zal de lijn automatisch verbroken worden! Er is geen möglichkheid om een boodschap in te spreken

Indien tijdens de opname 8 seconden lang niets worden gezegd, worden de verbinding automatisch verb broken!

Indien er te veel ruis aanwezig is kan het zich de opname nicht automatisch stopt. Druk dan op de Stop-toets '■' op de basis om de opname manueel te stoppen, of neem de lijn.
Meeluisterfunctie op basiseenheid en handset (Call screening)
Deze functie is handig als u alleen bepaalde oproepen wilt beantwoorden. Tijdens de inkomende oproep is het möglichk om de oproep via het basisstation en de handset te screenen om te horen wie er belt. Op het basisstation kunt u hetuitgaande bericht en de beller die een bericht achechterlaat, horen als het luidsprekervolume nicht is ingesteld op een minimaal niveau.

1 Druk op OK als "SCREEN?" verschijnt om de beller op de handset horen.
2Druk op de wis-toets om het screenen te stoppen.
Memoboolschap opnemen
Memoboodschappen können aanzien worden als een inkomende boodschap die later opgevraagd kan worden door de gebruiker. De maximale opname duur van een memo is 3 minutes.

1Open het menu.

/OK
2 Kies "ANTW. INSTEL" en bevestig.

OK
3Kies "MEMO OPN" en bevestig.

OK
4 De interne stem zal u vragen om de opname van de memo te starten na de pieptoon.

5Druk op de '-'-t'ets om de opname te stoppen.
Inkomende berichten en memo's aftspelen
Op het basisstation:

6 Druk kort op de play-toets om alle boodschappen en memo's wee ter te gehen.

7 Druk 2 seconden op de play-toets om enkel de neue boodschappen en memo's wee ter geven.
Voor elke boodschap zal de interne stem de dag en het uur van de binnengekomen boodschap weergeven.
Tijdens het afspelen, kan u:

- Druk 1 keer op de terugspoeltoets om maar het begin van de huidige boodschap te gaan.

Druk 2 keer op de terugspoeltoets om maar het vorige bericht te gaan.

Druk op de stop-toets om de weergave te stoppen.

Druk op de wis-toets om het huidige bericht te wissen

- Druk op de play/pauze-toets om de weergave te onderbreken te drukken.
Druk nogmaals op de play/pauze-toets om de weergave verder tezetten.

- Druk op de verderspoeltoets om maar het volgende bericht te gaan.

Nadat u alle berichten hebt beluisterd, za de interne stem u vragen om alle berichten te wissen.

- Druk op de wis-toets om te bevestigen. Nadat u op wissen hebt gedrukt, bevestigt de interne stem dat alle berachten zich gewist.

Druk op de stop-toets om te annuleren.
On the handset:





1Open het menu.
2Kies "BER AFSPELEN" en bevestig.
3 Het aantal neue berichten zal worden weergegeven, druk op de omlaagtoets om alle berichten te zien (nieuwe en oude berichten).
4Druk op de OK-toets om een bericht af te spelen.
5Na het afspelen, za de interne stem vragen om alle berichten te wissen door op de wis-toets te drukken.
9.3 Bediening vanop afstand
Het antwoordapparaat kan slechts vanop afstand bediend worden via een telefoon met druktoetsen (DTMF toonkiessystem). De bediening vanop afstand is menu gestuurd via de interne stem.
De bediening vanop afstand starten

1 Bel maar uw toestel.
Het antwoordapparaat neemt de oproep aan, u hoort de meldtekst en een biep.

2 Druk na de biep op het sterretje van uw toestel. Een stem zal vragen om de VIP code in te gehen.

3 Druk langzaam uw VIP-code in (standaard = "123").
- Indien de VIP-code incorrect is, zal het toestel dit melden en vragen om de code opnieuw in te gehen.

4 Indien de VIP-code correct is en er zich neue boodschappen, za het toestel automatisch het,aantal vermelden en de boodschappen weergeven. Wanner alle boodschappen zich weergegeven za het toestel vragen om op "5" te drukken om alle weergegeven boodschappen te wissen. Druk op "1" om het hoofdmenu wee ter geven.
- Indien er geen neue boodschappen zich zal het toestel dit ook vermelden en vragen om op "1" te drukken voor hoofdmenu.
Hoofdmenu:
1 Druk op "1" om het hoofdmenu te beluisteren.
2 Druk op "2" om alle berachten wee ter te geben.
3 Druk op "3" om{nieuwe berachten weer te geben.
4 Druk op "4" om terug te spoelen.
5 Druk op "5" om het bericht te verwijderen.
6 Druk op "6" om verderte spoelen.
7 Druk op "7" om antwoord in ofuit te schakelen.
8 Druk op "8" om het uitgaand bericht menu te beluisteren.
9 Druk op "9" om een neue VIP-code in te stellen.

Het is Nietoodzakelijk om het volledig menu te beluisteren alvorens een opdracht te gehen.
Uitgaand bericht menu
Druk op '8' voor het uitgaand bericht menu. Het toestel zal het volgende menu weergeven:
2 Druk op "2" om het uitgaand bericht weer te geben.
3 Druk op "3" om uitgaand bericht 1 op te nemen.
4 Druk op "4" om uitgaand bericht 2 op te nemen.
5 Druk op "5" om uitgaand bericht 1 te selecteren.
6 Druk op "6" om uitgaand bericht 2 te selecteren.
8 Druk op "8" om het uitgaand bericht menu opnieuw te beluisteren.
1 Druk op "1" om het hoofdmenu opnieuw te beluisteren.
VIP-code instellen
| * | 5 Het toestel zal u vragen om op ‘*’ te drukken om de VIP-code te wijzigen. Druk op ‘* |
| 4.15.6 | 6 Gebruik de toetsen om de nieuwe VIP-code in te gehen na de toon. |
| # | 7Druk op ‘’ tér confirmatie. |
| 1 | 8 Het toestel zal u vragen om “l” te drukken voor hoofdmenu. |
10 Probleemoplossing
| Symptom Mogelijk oorzaak | Oplossing | |
| Geen weergave Batterijen+zijn leeg Controller deplaatsing van debatterijen | ||
| Laad de batterijen op | ||
| Handset isuitgeschakeld Schakel de handset in | ||
| Geen toon Telefoonkabel is slecht aangesloten | Controller de aansluiting van de telefoonkabel | |
| De lijn is bezet door een andere handset | ||
| Het pictogram knippert | Handset is buiten bereik Breng | |
| Het basisstation heeft geen stroom | Controller de aansluiting van de stroomkabel bij het basisstation | |
| De handset is Niet aangemeld op het basisstation | Meld de handset aan bij het basisstation | |
| Basisstation of handset maar geen beltoon horen | Het beltoonvolume staat uit of is te laag | Pas het volume van de beltoon aan |
| De toon is goed, maar er is geen verbinding | De belmodus is fout De belmodus aanpassen (puls/toon) | |
| Niet möglichk om een gesprek�aar de binnencentrale (PABX) door te schakelen | De flashtijd is te kort of te lang | De flashtijd wijzigien |
| De telefoon reageert nicht op het indrukken van de toetsen | Gebruikersfout | Verwijder de batterijen enplaats ze wee terug |
11 Technische eigenschappen
Standaard
Aantal kanalen 120 duplexkanalen
Modulatie GFSK
Spraakcodering 32 Kbit/s
Emissievermogen 10mW (gemiddeld vermogen per kanaal)
Bereik maximaal 300m in open ruimten / 10-50 m binnenshuis
Aantal handsets Maximaal 5
Netspanning basisstation 230V / 50Hz / 7.5V gelijkstroom 300mA
Netspanning ladder 230V / 50Hz / 7,5V gelijkstroom 200mA
Batterijen van de handset 2 oplaadbare batterijen AAA, NiMh 1,2 V, 550mA
Autonomie van handset 200 ur in stand-by
Gesprekstijd van handset 10uur
Normale gebruiksomstandigheden +5^ tot +45^
100 of 250 ms
12 Garantie
12.1 Garantiepiode
Op de toestellen worden een garantie van 36 maanden verleend. De garantieperiode gaat in op de dag waarop het neue toestel worden gekocht. Er is geen garantie op standard of oplaadbare batterijen (type AA/AAA).
Kleine onderdelen of defecten die een verwaarloosbaar effect hebben op de werking of waarde van het toestel zichn Niet gedekt door de garantie. De garantie要去 worden bewezen door voorlegging van het originele aankoopbewijs of kopie waarop de datum van aankoop en het toesteltype staat.
12.2 Afwikkeling van garantieclaims
Een defect toestel moet, samen met een geldig aankoopbewijs en een ingevulde onderhoudskaart, worden teruggestuurd maar een erkende hersteldienst.
Als het toestelijdens de garantieperiode een defect vertoont, zal de hersteldienst eventuele defecten te wijten aan materiaal- of productiefouten gratis herstellen, door defecte toestellen of onderdelen van defecte toestellen ofwel te herstellen ofwel te verrangen. In het geval dat het toestel worden verrangen, kan de kleur en het model verschillend zijn van het oorspronkelijk gekochtte toestel. De oorspronkelijke aankoopdatum is bepalend voor het begin van de garantieperiode. De garantieperiode worden nicht verlangd als het toestel worden verrangen of hersteld door de hersteldienst.
12.3 Garantiebeperkingen
Schade of defecten te wijten aan onoordeelkundig gebruik of bediening en schade te wijten aan het gebruik van Niet-originele onderdelen of accessoires worden nicht gedekt door de garantie.
De garantie dekt geen schade te wijten aan externe factoren, zoals bliksem, water en brand, noch enige transportschade. Er kan geen garantie worden ingeroeopen als het serienummer op het toestel is gewijzigd, verwijderd of onleesbaar gemaakt. Garantieclaims zich ont geldig indien het toestel hersteld, gewijzigd of aangepast werk door de koper.
Dit toestel mag uitsluitend gebruikt worden met herlaadbare batterijen. Indien U de meegeleverde batterijen wenst te verrangen要去 U nagaan of de gebruekte batterijen wel geschickt en herlaadbaar zich. In GEEN enkel geval mogen Alkaline batterijen in de handsets gebruikt worden. Indien U Alkaline batterijen gebruikt en de handset op de basis plaatst, dan zullen deze batterijen opwarmen en möglichk exploderen. Eventuele schade die hierdoor ontstaat is nicht verhaalhaar op de fabrikant en tevens is de schade aan het toestel Niet gedekt door de garantievoorwaarden. Eventuele herstel Kosten zullen U aangerekend worden.
13 Afvoeren van het toestel (milieu)

Na afloop van de levenscylus van het product mag u het Niet met het normale huishoudelijkke afval weggooien, maar moet u het�en een inzamelpunt brengen voor recycling van elektrische en elektronische apparatuur. Dit worden aangeduid door het symbool op het product, in de handleiding en/of op de verpakking.
Sommige materialen waaruit het product is vervaardigd, hunnen worden hergebruikt als u ze maar een inzamelpunt brengt. Door onderdelen of grondstoffen van gebruekte producten te herzebruiken, levert u een belangrijke bijdrage aan de bescherming van het milieu. Wend u tot deplaatselijke overheid voor meer informatie over de inzamelpunten bij u in de buurt.
14 Reinigen
Reinig de telefoon met een vochtige doek of met een antistatische doek. Gebruik nooit reinigingsmiddelen of agressieve oplosmiddelen.
SimpelGids