CS3652LC - Screwdriver BLACK & DECKER - Free user manual and instructions
Find the device manual for free CS3652LC BLACK & DECKER in PDF.
Frequently Asked Questions - CS3652LC BLACK & DECKER
User questions about CS3652LC BLACK & DECKER
0 question about this device. Answer the ones you know or ask your own.
Ask a new question about this device
Download the instructions for your Screwdriver in PDF format for free! Find your manual CS3652LC - BLACK & DECKER and take your electronic device back in hand. On this page are published all the documents necessary for the use of your device. CS3652LC by BLACK & DECKER.
USER MANUAL CS3652LC BLACK & DECKER
text_image
BLACK+ DECKER™
text_image
BLACK+DECKER
text_image
BLACK & DECKER ① ② ③ ④ ⑤
text_image
A ⑥ ⑦
text_image
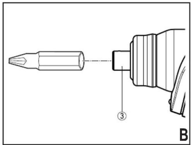
③ B
text_image
C ⑧ ⑦ ⑥
text_image
Technical diagram of a vehicle seat assembly with labeled parts ② and D
natural_image
Line drawing of a black-and-white handheld electric shaver with label (no text or symbols on the device itself)
natural_image
Technical line drawing of a mechanical assembly with a cylindrical component and a separate inset showing a shaft (no text or symbols)
natural_image
Line drawing of a black-and-decker handheld electric drill (no text or symbols on the device body)
natural_image
Technical line drawing of a mechanical component with two views, showing assembly and alignment (no text or symbols)
natural_image
Technical line drawing of a mechanical component with no visible text or symbols
natural_image
Technical line drawing of a mechanical device with arrows indicating motion or assembly (no text or symbols)Intended use
Your BLACK+DECKER screwdriver has been designed for screwdriving applications. This tool is intended for consumer use only.
Safety instructions
General power tool safety warnings

Warning! Read all safety warnings and all instructions. Failure to
follow the warnings and instructions listed below may result in electric shock, fire and/or serious injury.
Save all warnings and instructions for future reference. The term "power tool" in all of the warnings listed below refers to your mains operated (corded) power tool or battery operated (cordless) power tool.
1. Work area safety
a. Keep work area clean and well lit.
Cluttered or dark areas invite accidents.
b. Do not operate power tools in explosive atmospheres, such as in the presence of flammable liquids, gases or dust. Power tools create sparks which may ignite the dust or fumes.
c. Keep children and bystanders away while operating a power tool.
Distractions can cause you to lose control.
2. Electrical safety
a. Power tool plugs must match the outlet. Never modify the plug in any way. Do not use any adapter plugs with earthed (grounded) power tools. Unmodified plugs and matching outlets will reduce risk of electric shock.
b. Avoid body contact with earthed or grounded surfaces such as pipes, radiators, ranges and refrigerators.
There is an increased risk of electric shock if your body is earthed or grounded.
c. Do not expose power tools to rain or wet conditions. Water entering a power tool will increase the risk of electric shock.
d. Do not abuse the cord. Never use the cord for carrying, pulling or unplugging the power tool. Keep cord away from heat, oil, sharp edges or moving parts. Damaged or entangled cords increase the risk of electric shock.
e. When operating a power tool outdoors, use an extension cord suitable for outdoor use. Use of a cord suitable for outdoor use reduces the risk of electric shock.
f. If operating a power tool in a damp location is unavoidable, use a residual current device (RCD) protected supply. Use of an RCD reduces the risk of electric shock.
3. Personal safety
a. Stay alert, watch what you are doing and use common sense when operating a power tool. Do not use a power tool while you are tired or under the influence of drugs, alcohol or medication. A moment of inattention while operating power tools may result in serious personal injury.
b. Use personal protective equipment. Always wear eye protection. Protective equipment such as dust mask, non-skid safety shoes, hard hat, or hearing protection used for appropriate conditions will reduce personal injuries.
c. Prevent unintentional starting. Ensure the switch is in the off-position before connecting to power source and/or battery pack, picking up or carrying the tool. Carrying power tools with your finger on the switch or energising power tools that have the switch on invites accidents.
d. Remove any adjusting key or wrench before turning the power tool on. A wrench or a key left attached to a rotating part of the power tool may result in personal injury.
e. Do not overreach. Keep proper footing and balance at all times. This enables better control of the power tool in unexpected situations.
f. Dress properly. Do not wear loose clothing or jewellery. Keep your hair, clothing and gloves away from moving parts. Loose clothes, jewellery or long hair can be caught in moving parts.
g. If devices are provided for the connection of dust extraction and collection facilities, ensure these are connected and properly used. Use of dust collection can reduce dust-related hazards.
4. Power tool use and care
a. Do not force the power tool. Use the correct power tool for your application. The correct power tool will do the job better and safer at the rate for which it was designed.
b. Do not use the power tool if the switch does not turn it on and off. Any power tool that cannot be controlled with the switch is dangerous and must be repaired.
c. Disconnect the plug from the power source and/or the battery pack from the power tool before making any adjustments, changing accessories, or storing power tools. Such preventive safety measures reduce the risk of starting the power tool accidentally.
d. Store idle power tools out of the reach of children and do not allow persons unfamiliar with the power tool or these instructions to operate the power tool. Power tools are dangerous in the hands of untrained users.
e. Maintain power tools. Check for misalignment or binding of moving parts, breakage of parts and any other condition that may affect the power tools operation. If damaged, have the power tool repaired before use. Many accidents are caused by poorly maintained power tools.
f. Keep cutting tools sharp and clean.
Properly maintained cutting tools with sharp cutting edges are less likely to bind and are easier to control.
g. Use the power tool, accessories and tool bits etc. in accordance with these instructions, taking into account the working conditions and the work to be performed. Use of the power tool for operations different from those intended could result in a hazardous situation.
5. Battery tool use and care
a. Recharge only with the charger specified by the manufacturer. A charger that is suitable for one type of battery pack may create a risk of fire when used with another battery pack.
b. Use power tools only with specifically designated battery packs. Use of any other battery packs may create a risk of injury and fire.
c. When battery pack is not in use, keep it away from other metal objects, like paper clips, coins, keys, nails, screws, or other small metal objects, that can make a connection from one terminal to another. Shorting the battery terminals together may cause burns or a fire.
d. Under abusive conditions, liquid may be ejected from the battery; avoid contact. If contact accidentally occurs, flush with water. If liquid contacts eyes, additionally seek medical help. Liquid ejected from the battery may cause irritation or burns.
- Service
a. Have your power tool serviced by a qualified repair person using only identical replacement parts. This will ensure that the safety of the power tool is maintained.
Additional power tool safety warnings

Warning! Additional safety warnings for screwdrivers and impact wrenches
- Wear ear protectors with impact drills. Exposure to noise can cause hearing loss.
- Use auxiliary handles supplied with the tool. Loss of control can cause personal injury.
- Hold power tool by insulated gripping surfaces, when performing an operation where the fastener may contact hidden wiring. Fasteners contacting a "live" wire may make exposed metal parts of the power tool "live" and could give the operator an electric shock.
- Use clamps or another practical way to secure and support the workpiece to a stable platform. Holding the work by hand or against your body leaves it unstable and may lead to loss of control.
- The intended use is described in this instruction manual. The use of any accessory or attachment or performance of any operation with this tool other than those recommended in this instruction manual may present a risk of personal injury and/or damage to property.

Warning! Impact wrenches are not torque wrenches. Do not use this tool for tightening fasteners to specified torques. An independent, calibrated torque measurement device such as a torque wrench should be used when under tightened or over tightened fasteners can lead to the failure of the joint.
Safety of others
- This appliance is not intended for use by persons (including children) with reduced physical, sensory or mental capabilities, or lack of experience and knowledge, unless they have been given supervision or instruction concerning use of the appliance by a person responsible for their safety.
• Children should be supervised to ensure that they do not play with the appliance.
Residual risks
Additional residual risks may arise when using the tool which may not be included in the enclosed safety warnings. These risks can arise from misuse, prolonged use etc.
Even with the application of the relevant safety regulations and the implementation of safety devices, certain residual risks can not be avoided. These include:
- Injuries caused by touching any rotating/moving parts.
- Injuries caused when changing any parts, blades or accessories.
- Injuries caused by prolonged use of a tool. When using any tool for prolonged periods ensure you take regular breaks.
- Impairment of hearing.
- Health hazards caused by breathing dust developed when using your tool (example:- working with wood, especially oak, beech and MDF.)
Vibration
The declared vibration emission values stated in the technical data and the declaration of conformity have been measured in accordance with a standard test method provided by EN 60745 and may be used for comparing one tool with another. The declared vibration emission value may also be used in a preliminary assessment of exposure.
Warning! The vibration emission value during actual use of the power tool can differ from the declared value depending on the ways in which the tool is used. The vibration level may increase above the level stated.
When assessing vibration exposure to determine safety measures required by 2002/44/EC to protect persons regularly using power tools in employment, an estimation of vibration exposure should consider, the actual conditions of use and the way the tool is used, including taking account of all parts of the operating cycle such as the times when the tool is switched off and when it is running idle in addition to the trigger time.
Labels on tool
The following symbols are shown on the tool:

Warning! To reduce the risk of injury, the user must read the instruction manual.
Additional safety instructions for batteries and chargers
Batteries
- Never attempt to open for any reason.
- Do not expose the battery to water.
- Do not store in locations where the temperature may exceed 40 °C
- Charge only at ambient temperatures between 10 °C and 40 °C.
- Charge only using the charger provided with the tool.
- When disposing of batteries, follow the instructions given in the section "Protecting the environment".
Chargers
- Use your BLACK+DECKER charger only to charge the battery in the tool with which it was supplied. Other batteries could burst, causing personal injury and damage.
- Never attempt to charge non-rechargeable batteries.
- Have defective cords replaced immediately.
- Do not expose the charger to water.
- Do not open the charger.
- Do not probe the charger.

The charger is intended for indoor use only.

Read the instruction manual before use.

Fail safe isolating transformer. The mains supply is electrically separated from the transformer output.

The charger automatically shuts off if the ambient temperature becomes too high. As a consequence the charger will be inoperable. The unit must be disconnected from the mains supply and taken to an authorised service centre for repair.
Electrical safety

Your charger is double insulated; therefore no earth wire is required. Always check that the mains voltage corresponds to the voltage on the rating plate. Never attempt to replace the charger unit with a regular mains plug.
- If the supply cord is damaged, it must be replaced by the manufacturer or an authorised BLACK+DECKER Service Centre in order to avoid a hazard.
Warning! Never attempt to replace the charger unit with a regular mains plug.
Features
This tool includes some or all of the following features.
- On/off switch
- Forward/reverse button.
- Bit holder
- LED light
- Magnetic bit storage
Fig. A
- Charger
- Charger plug
- Charger connector
Assembly
Fitting and removing a drill bit or a screwdriver bit (fig. B)
This tool uses screwdriver bits and drill bits with a 6.35 mm (1/4") hexagonal shank.
- To fit a bit, insert the bit shaft into the bit holder (3).
- To remove a bit, pull the bit shaft out of the bit holder (3).
Note: The right angled attachment shown in fig. E-J may not be included with your tool.
Use
Warning! Let the tool work at its own pace. Do not overload.
- Before first use, the battery must be charged for at least 15 hours.
Charging the battery (fig. C)
- Insert the charger plug (7) into the charger connector (8).
- Plug in the charger (6).
- Leave the tool connected to the charger for 15 hours.
The charger may hum and become warm while charging; this is normal and does not indicate a problem.
Warning! Only use the charger provided to charge CS3652LC.
Warning! Do not charge the battery at ambient temperatures below 10 °C or above 40 °C .
Selecting the direction of rotation (fig. D)
For drilling and for tightening screws, use forward rotation. For loosening screws or removing a jammed drill bit, use reverse rotation.
- To select forward rotation, push the forward/reverse button (2) to the right.
- To select reverse rotation, push the forward/reverse button (2) to the left..
- To lock the tool, set the forward/reverse slider into the centre position.
Drilling/screwdriving
- Select forward or reverse rotation using the forward/reverse button (2).
- To switch the tool on, press the on/off switch (1).
- To switch the tool off, release the on/off switch (1).
LED light
The LED light (4) is activated automatically when the trigger is depressed. The LED will also illuminate when the trigger is depressed and the forward/reverse button (2) is in the locked off position (central position).
Hints for optimum use
Screwdriving
- Always use the correct type and size of screwdriver bit.
- If screws are difficult to tighten, try applying a small amount of washing liquid or soap as a lubricant.
- Use the spindle lock to loosen very tight screws or to firmly tighten screws.
- Always hold the tool and screwdriver bit in a straight line with the screw.
- When screwing in wood, it is recommended to drill a pilot hole with a depth equal to the length of the screw. A pilot hole guides the screw and prevents splintering or distortion of the wood. For the optimum size of the pilot hole, refer to the table below.
- When screwing in hardwood, also drill a clearance hole with a depth equal to half the length of the screw. For the optimum size of the clearance hole, refer to the table below.
| Screw size Pilot hole ∅ Pilot hole ∅ Clearance(softwood) (hardwood) hole |
| No. 6 (3.5 mm) 2.0 mm 2.5 mm 3.6 mm |
| No. 8 (4 mm) 2.5 mm 3.0 mm 4.5 mm |
| No. 10 (5 mm) 3.0 mm 3.5 mm 5.0 mm |
Drilling pilot holes
• Always apply a light pressure in a straight line with the drill bit.
- Just before the drill tip breaks through the other side of the workpiece, decrease pressure on the tool.
- Use a block of wood to back up workpieces that may splinter.
- Make an indentation using a centre punch at the centre of the hole to be drilled in order to improve accuracy.
Accessories
The performance of your tool depends on the accessory used. BLACK+DECKER and Piranha accessories are engineered to high quality standards and designed to enhance the performance of your tool. By using these accessories you will get the very best from your tool. This tool uses screwdriver bits with a 1/4" (6.35 mm) hexagonal shank. Piranha Super-lok accessories are designed for use with this tool.
Maintenance
Your BLACK+DECKER tool has been designed to operate over a long period of time with a minimum of maintenance. Continuous satisfactory operation depends upon proper tool care and regular cleaning.
Your charger does not require any maintenance apart from regular cleaning.
Warning! Before performing any maintenance on the tool, remove unplug the charger before cleaning it.
- Regularly clean the ventilation slots in
your tool and charger using a soft brush or dry cloth.
- Regularly clean the motor housing using a damp cloth. Do not use any abrasive or solvent-based cleaner.
- Regularly open the chuck and tap it to remove any dust from the interior.
Batteries

There are no user servicable parts inside.
- At the end of your products life return the whole unit to your service agent or to a local recycling station to have the battery recycled. Do not throw the unit out with household waste.
Technical data
| CS3652LC (H1) | |
| Voltage VDC | 3.6 |
| No-load speed min | -1180 |
| Hard stall torque Nm | 5.84 |
| Max. torque Nm | 5.5 |
| Bit holder mm | 6.35 (1/4") |
| Weight kg | 0.32 |
| Battery 906146** H1 |
| Voltage V 3.6Battery type Li-IonAHr rating 1.5 |
| Charger | 905450** H1 | |
| Voltage | V_AC | 230 |
| Approx. charge time | h | 15 |
| Weight | kg | 0.14 |
| Level of sound pressure according to EN 60745: |
| Sound pressure (LpA) 54 dB(A), uncertainty (K) 3 dB(A)Sound power (LWA) 65 dB(A), uncertainty (K) 3 dB(A) |
| Vibration total values (triax vector sum) according to EN 60745: |
| Screwdriving without impact (ah,IS) 0.3 m/s2, uncertainty (K) 1.5 m/s2 |
EC declaration of conformity MACHINERY DIRECTIVE

CS3652LC
Black & Decker declares that these products described under "technical data" are in compliance with: 2006/42/EC, EN 60745-1, EN 60745-2-2
These products also comply with Directive 2014/30/EU and 2011/65/EU. For more information, please contact Black & Decker at the following address or refer to the back of the manual.
The undersigned is responsible for compilation of the technical file and makes this declaration on behalf of Black & Decker.

text_image
R. DauveR. Laverick
Engineering Manager
Black & Decker Europe, 210 Bath Road, Slough,
Berkshire, SL1 3YD
United Kingdom
11.2015
Protecting the environment

Separate collection. This product must not be disposed of with normal household waste.
Should you find one day that your BLACK+DECKER product needs replacement, or if it is of no further use to you, do not dispose of it with household waste. Make this product available for separate collection.

Separate collection of used products and packaging allows materials to be recycled and used again. Reuse of recycled materials helps prevent environmental pollution and reduces the demand for raw materials.
Local regulations may provide for separate collection of electrical products from the household, at municipal waste sites or by the retailer when you purchase a new product.
BLACK+DECKER provides a facility for the collection and recycling of BLACK+DECKER products once they have reached the end of their working life. To take advantage of this service please return your product to any authorised repair agent who will collect them on our behalf.
You can check the location of your nearest authorised repair agent by contacting your local BLACK+DECKER office at the address indicated in this manual. Alternatively, a list of authorised BLACK+DECKER repair agents and full details of our after-sales service and contacts are available on the Internet at: www.2helpU.com.
Guarantee
Black + Decker is confident of the quality of its products and offers an outstanding guarantee. This guarantee statement is in addition to and in no way prejudices your statutory rights.
If a Black + Decker product becomes defective due to faulty materials, workmanship or lack of conformity, within 24 months from the date of purchase, BLACK+DECKER guarantees to replace defective parts, repair products subjected to fair wear and tear or replace such products to make sure of the minimum inconvenience to the customer unless:
- The product has been used for trade, professional or hire purposes.
- The product has been subjected to misuse or neglect.
- The product has sustained damage through foreign objects, substances or accidents.
- Repairs have been attempted by persons other than authorised repair agents or Black + Decker service staff.
To claim on the guarantee, you will need to submit proof of purchase to the seller or an authorised repair agent. You can check the location of your nearest authorised repair agent by contacting your local BLACK+DECKER office at the address indicated in this manual. Alternatively, a list of authorised BLACK+DECKER repair agents and full details of our aftersales service and contacts are available on the Internet at: www.2helpU.com
Usage prévu
Responsible technique
Black & Decker Europe, 210 Bath Road, Slough,
Berkshire, SL1 3YD
Royaume-Uni
11.2015
Director de Engenharia
Black & Decker Europe, 210 Bath Road, Slough,
Berkshire, SL1 3YD
Reino Unido
11.2015
Proteger o ambiente

210 Bath Road, Slough
Berkshire, SL1 3YD
ingiltere
11.2015
Çevrenin korunması

EasyManual