CSR3039U - Car stereo MT Logic - Free user manual and instructions
Find the device manual for free CSR3039U MT Logic in PDF.
Frequently Asked Questions - CSR3039U MT Logic
Download the instructions for your Car stereo in PDF format for free! Find your manual CSR3039U - MT Logic and take your electronic device back in hand. On this page are published all the documents necessary for the use of your device. CSR3039U by MT Logic.
USER MANUAL CSR3039U MT Logic
PRODOTTO LASER DI CLASSE 1 CLASS 1 LASER PRODUCT PRODUIT LASSER DE CLASSE 1 PRODUCT MIT LASER DER KLASSE 1

USB norm 1.1 of 2.0.
Installatie
N.B:
E) BEEP 2nd, BEEP ALL, BEEP OFF (10)
-> NO CLOCK -> FREQ -> PTY NONE
-> NO CLOCK -> FREQ. -> PTY NONE
CD/MP3-SPELER :
-> CD -> NO CLOCK -> FREQ -> PTY NONE
INVASIBLE LASER RADIATION WHEN OPEN AND INTERLOCK Failed OR DEFEATED. AVOID DIRECT EXPOSURE TO LASER BEAM.
DANGER
LASER SAFETY
This unit employs an optical laser light beam system in the CD mechanism, designed with built-in safeguards.
Do not attempt to disassemble, refer to qualified service personnel. Exposure to this invisible laser light beam may be harmful to the human eye.
THIS IS A CLASS-1 LASER PRODUCT, USE OF CONTROLS, OR ADJUSTMENTS OR PROCEDURES OTHER THAN THOSE SPECIFIED HEREIN, MAY RESULT IN HAZARDOUS LASER LIGHT BEAM EXPOSURE.
CONTENTS
Installation 27
Take out screw before installation... 27
DIN Front-Mount (Method A) 28
Installing the unit 28
Removing the unit 29
DIN Rear-Mount (Method B) 30
Using the detachable front panel .. 31
Wiring Connection 33
Operation 34
Location of keys 34
Switching on/off the unit 34
Faceplate release 34
Remote control Handset 35
Sound adjustment 36
Loudness 38
Display 38
Equalization 39
Liquid crystal display 39
Flashing LED 39
Reset function 39
Radio operation 39
Switching to radio mode 40
Selecting the frequency band .... 40
Selecting station 40
Automatic memory storing & program scanning 40
Station storing 40
RDS (radio data system) operation 40
CD operation 43
Switching to CD mode 43
Selecting tracks 43
Pausing playing 43
Previewing all tracks 43
Repeating the same track 43
Playing all tracks in random 43
Ejecting a disc 43
MP3 operation 44
Switching to CD (MP3) mode .... 44
Ejecting a disc 44
Selecting tracks in single step ... 44
Pausing playing 44
Previewing all tracks 44
Repeating the same track 44
Playing all tracks in random 44
Selecting tracks by AS/PS button ... 44
Display information 46
WMA operation 47
USB play operation 47
SD/MMC OPERATION. 47
Disc notes 47
Trouble shooting 49
N.B.:
Important
The USB port of this product is fully compatible with the USB 1.1 and 2.0 standard.
I f MP3 players connected to this port are not written in compliance with the official USB 1.1 or 2.0 standard it may occur that those MP3 players do not work on this port.
This is not a defective of this product. The MP3 player does not comply with the official USB 1.1 or 2.0 standard.
INSTALLATION
Notes:
- Choose the mounting location where the unit will not interfere with the normal driving function of the driver.
- Before finally installing the unit, connect the wiring temporarily and make sure it is all connected up properly and the unit and the system work properly.
- Use only the parts included with the unit to ensure proper installation. The use of unauthorized parts can cause malfunctions.
- Consult with your nearest dealer if installation requires the drilling of holes or other modifications of the vehicle.
- Install the unit where it does not get in the driver's way and cannot injure the passenger if there is a sudden stop, like an emergency stop.
- If installation angle exceeds 30^ from horizontal, the unit might not give its optimum performance.

- Avoid installing the unit where it would be subject to high temperature, such as from direct sunlight, or from hot air, from the heater, or where it would be subject to dust, dirt or excessive vibration.
DIN FRONT/REAR-MOUNT
This unit can be properly installed either from "Front" (conventional DIN Frontmount) or "Rear" (DIN Rear-mount installation, utilizing threaded screw holes at the sides of the unit chassis).
For details, refer to the following illustrated installation methods.
TAKE OUT SCREW BEFORE INSTALLATION
Before install the unit, please remove the two screws.

Take out screws before installation
INSTALLATION
DIN FRONT-MOUNT (Method A) Installation Opening
This unit can be installed in any dashboard having an opening as show below:

Installing the unit
Be sure you test all connections first, and then follow these steps to install the unit.
-
Make sure the ignition is turned off, and then disconnect the cable from the vehicle battery's negative (-) terminal.
-
Disconnect the wire harness and the antenna.
-
Press the release button on the front panel and remove the control panel (see the steps of "using the detachable front panel").
-
Lift the top of the outer trim ring then pull it out to remove it.
-
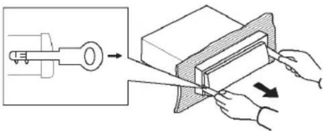
The two supplied keys release tabs inside the unit's sleeve so you can remove it. Insert the keys as far as they will go (with the notches facing up) into the appropriate slots at the middle left and right sides of the unit. Then slide the sleeve off the back of the unit.

- Mount the sleeve by inserting the sleeve into the opening of the dashboard and bend open the tabs located around the sleeve with a screwdriver. Not all tabs will be able to make contact, so examine which ones will be most effective. Bending open the appropriate tabs behind the dashboard to secure the sleeve in place.

INSTALLATION
- Reconnect the wire harness and the antenna and be careful not to pinch any wires or cables.
- Slide the unit into the sleeve until it locks into place.
- To further secure the unit, use the supplied metal strap to secure the back of the unit in place. Use the supplied hardware (Hex Nut (M5mm) and Spring Washer) to attach one end of the strap to the mounting bolt on the back of the unit. If necessary, bend the metal strap to fit your vehicle's mounting area. Then use the supplied hardware (Tapping Screw (5x25mm) and Plain Washer) to attach the other end of metal strap to a solid metal part of the vehicle under the dashboard. This strap also helps ensure proper electrical grounding of the unit.
Note: to install the short threading terminal of the mounting bolt to the back of the unit and the other long threading terminal to the dashboard.

- Reconnect the cable to the vehicle battery's negative (-) terminal. Then replace the outer trim ring and install the unit's front panel. (see the steps of "using the detachable front panel").
Removing the unit
- Make sure the ignition is turned off, then disconnect the cable from the vehicle battery's negative (-) terminal.
- Remove the metal strap attached the back of the unit (if attached).
- Press the release button to remove the front panel.
- Lift the top of the outer trim ring then pull it out to remove it.
- Insert both of the supplied keys into the slots at the middle left and right sides of the unit, then pull the unit out of the dashboard.

INSTALLATION
DIN REAR-MOUNT (Method B)
If your vehicle is a Nissan, Toyota, follow these mounting instructions. Use the screw holes marked T (Toyota), N (Nissan) located on both sides of the unit to fasten the unit to the factory radio mounting brackets supplied with your vehicle.

To fasten the unit to the factory radio mounting brackets.
Align the screw holes on the bracket with the screw holes on the unit, and then tighten the screws (5x5mm) on each side.
Note: the outer trim ring, sleeve and the metal strap are not used for method B installation.
USING THE DETACHABLE FRONT PANEL
To Detach the Front Panel
- Press the OPEN button, then the front panel will be folded down.

- To remove the front panel, lift it up at a little angle from horizontal position, then first pull out the right side and then pull out the left side.

- For safekeeping, store the front panel in the supplied protective case immediately after being removed.

USING THE DETACHABLE FRONT PANEL
To Install the Front Panel
- To install the front panel, first insert the left side into proper position then insert the right side into place.

- When the two sides fixed into place, push the front panel into main unit.

- Note that if the front panel fails to lock in position properly, pressing control button may not function and the display may be missing some segments. Press the OPEN button and then reinstall the front panel again.
Precautions when handling
- Do not drop the front panel.
- Do not put pressure on the display or control buttons when detaching or reinstalling the front panel.
- Do not touch the contacts on the front panel or on the main unit body. It may result in poor electrical contact.
- If any dirt or foreign substances adhered on the contacts, they can be removed with a clean and dry cloth.
- Do not expose the front panel to high temperatures or direct sunlight in anywhere.
- Keep away any volatile agents (e.g. benzene, thinner, or insecticides) from touching the surface of the front panel.
- Do not attempt to disassemble the front panel.
This car radio is equipped on the backside with the standard European ISO connector. If your car has been provided with the standard ISO connector cable you can connect to cable directly to connector A and B.
Connection for RCA line-out is available in connector C.
Full lay-out of all connectors is available in the wiring diagram on top of your car radio.
The full wiring diagram is also available on this sheet for easy reference.
Wiring connection
ISO Connector

Connector A
- MEMORY +12V
- AUTO ANTENNA OUTPUT
- +12V (TO IGNITION KEY)
- GROUND
Note: RED wire (connector A, no. 7) must be connected by car ignition key in order to avoid that car battery becomes weak when the car will be not used for long period.
Connector B
- REAR RIGHT SPEAKER (+)
- REAR RIGHT SPEAKER (-)
- FRONT RIGHT SPEAKER (+)
- FRONT RIGHT SPEAKER (-)
- FRONT LEFT SPEAKER (+)
- FRONT LEFT SPEAKER (-)
- REAR LEFT SPEAKER (+)
- REAR LEFT SPEAKER (-)
Connector C (RCA)
SWITHCHING ON/OFF THE UNIT
Switch on the unit by pressing any button (except OPEN button (7) and button (4)).
- FACEPLATE RELEASE
Press OPEN button (7) to fold down the removable faceplate.
OPERATION
Remote Control Handset

FUNCTION KEYS & CONTROL
- PWR = Power ON/OFF Button
- DSP (0) = Display Button (_ , - , + , 0 For MP3/WMA Operation)
- SEL = Sound mode
Select Button (Character Shift Right For MP3/WMA Operation)
- VOL

= Volume Up Button [Character Select (A, B ~ 8, 9, 0) For MP3/WMA Operation]
- VOL

= Volume Down Button [Character Select (A, B ~ 8, 9, 0) For MP3/WMA Operation]
- BND (LOU/ENT) = Band
Select Button (when pressed shortly) / Loudness
Button (when pressed long) (Enter Button For MP3/WMA Operation)
-
MOD (7) = Mode Button (S, T, U, 7 For MP3/WMA Operation)
-
TUNE/SEEK

(8) = Tune/Seek Down Button (V, W, X, 8 For MP3/WMA Operation)
- TUNE/SEEK

(9) = Tune/Seek Up Button (Y, Z, SPACE, 9 For MP3/WMA Operation)
10.AMS (D-AU
) = Automatic Memory Storing & Program Scanning Button (Mode Select Button For MP3/WMA Operation)
-
M1 - M6 = Preset Buttons (A~R, 1~6 For MP3/WMA Operation)
-
PAU = Pause Button (A, B, C, 1 For MP3/WMA Operation)
-
SCN
= Scanning Button (D, E, F, 2 For MP3/WMA Operation)
- RPT
= Repeat Button (G, H, I, 3 For MP3/WMA Operation)
- SHF = Shuffle Button (J, K, L, 4 For MP3/WMA Operation)
OPERATION
- SOUND ADJUSTMENT
Press SEL button (10) to select the desired adjustment mode.
The adjustment mode will change in the following order:

By rotating the AUDIO knob button (10) clockwise or counter-clockwise, it is possible to adjust the desired sound quality.
Press SEL Button (10) for several seconds, it is activated as cyclical mode of following functions for user's selection.

a) TA SEEK or TA ALARM
-TA SEEK mode:
When newly tuned station does not receive TP information for several seconds, the radio retunes to next station which has not the same station (PI) as the last station, but has the TP information.
When TP information gets lost at the current station for retune time which is set by RETUNE SHORT (30 sec.) or RETUNE LONG (90 sec.), the radio start to retune to next same PI station.
When same PI station does not catch in 1 cyclic search, the radio retunes to next station with TP information.
-TA ALARM mode:
When this mode is selected, any automatic retune mode is not activated. Only double beep sound (ALARM) is output.
When newly tuned station does not have TP information for several seconds, beeps come out.
When TP information gets lost at the current station for retune time, the beep sound is out-putted.
When newly tuned station has not RDS signal, "PI SEEK" is suppressed somewhat.
OPERATION
B) PI SOUND or PI MUTE
While AF switching is implemented in C201 station, AF can switch to 100 MHz, which is non genuine AF (where, different PI with same AF) in short "DIP".
If a car cruises that critical area back and forth, an oscillation phenomenon can be occurred, because the different PI code can be received from 100 MHz with "XXX" PI.
The car radio has special procedure to reduce even this kind of unavoidable situation however there is a limit to be escaped from this serious case perfectly.
In that serious case, 2 mode is selectable as follows:

PI SOUND mode:
When above different PI sound (DIP) is heard once in a while, the DIP's sound will be heard for a short time.
PI MUTE mode:
Under above same situation, a mute sound will be heard for a short time.
c) RETUNE L, RETUNE S mode
The initial time of automatic TA search or PI search mode is selected.
When PI information is not caught for retune time, the radio starts to retune to next same PI station. When same PI station does not catch 1 cyclic search, the radio goes to last station and waits for several minutes until PI code is received.
RETUNE L mode:
Selected as 90 seconds.
- RETUNE S mode:
Selected as 30 seconds.
OPERATION
The AF frequency (which has different PI or NO RDS signal with high field strength) is masked during checking PI when the unit searches AF. The unit doesn't search this AF (DIP) for few minutes. In the case of the AF of NO RDS signal with high field strength, if the real AF is wrongly masked as DIP by some interference, the unit hesitates to search real Afs. For this reason, the unit has the user option (MASK DPI) which doesn't mask the AF of NO RDS signal with high field strength. In MASK DPI mode, the wrong sound or long mute (according to PI SOUND or PI MUTE) can be heard from the AF station which has NO RDS signal and of which the field strength is higher than that of the currently tuning AF (station).
But, these phenomenon are rare and the user will hardly hear the wrong sound in whole Europe.
- MASK DPI mode:
Masked only the AF which has different PI.
- MASK ALL mode:
Masked the AF which has different PI and NO RDS signal with high field.
E) BEEP 2'ND, BEEP ALL, BEEP OFF (10)
The situation of beep sound is selected. The 3 mode is selected as also rotating AUDIO knob (10) clockwise or counter-clockwise.
- BEEP 2'nd mode:
The beep is only generated when all allowed double key is pressed long (1 sec). e.g.
When preset button (14) is pressed.
When BND/LOU button (13) is pressed.
When AS/PS button (18) is pressed.
BEEP ALL mode:
The beep is generated when every key is pressed.
- BEEP OFF mode:
The beep is disabled.
- LOUDNESS
Press BND/LOU button (13) for several seconds to reinforce the bass output. Press it for several seconds again to release this function.
DISPLAY
Press DSP button (15) to operate as the conversion of each display mode as follows:
- In case of receiving a RDS station In radio mode:
->PS->CT->FREQ.-->PTY->
In CD mode:
-> CD -> CT -> PS -> FREQ. -> PTY
->
OPERATION
- In case of no receiving CT or PTY information, the display shows as "NO CLOCK" or "NO PTY".
- In case of receiving a non RDS station
In radio mode:
->“NO CLOCK” -> FREQ. -> “NO PTY” ->
In CD mode:
-> CD -> CT -> FREQ. -> “NO PTY” ->
Each displaying time is several seconds, and come back to 1'st position after several seconds.
Notes:
- CT = clock time
- FREQ = frequency
- EQUALIZATION
Press EQ button (19) to turn on equalization function and to select desired audio mode. There are five kinds of mode as below:

- LIQUID CRYSTAL DISPLAY
Exhibit current frequency and activated functions on the display (8).
- FLASHING LED
If the front panel does not install in the main unit, the LED (12) will be flashing.
- RESET FUNCTION
-
RESET button (24) must be activated with either a ball point pen or thin metal object. The RESET button (24) is to be activated for the following reasons:
-
Initial installation of the unit when all wiring is completed.
- All the function buttons do not operate.
- Error symbol on the display.
Note: If press RESET button (24), the unit can't work yet, please use a cotton swab soaked in isopropyl alcohol to clean the socket on the back of the front panel.
OPERATION
RADIO OPERATION
- SWITCHING TO RADIO MODE
Press MOD button (6) shortly to select radio mode, the radio mode appears in the display together with the memory band and frequency.
- SELECTING THE FREQUENCY BAND
At radio mode, press BND/LOU button (13) shortly to select the desired band.
The reception band will change in the following order:

- SELECTING STATION
Press TUN/TRK button (17) or TUN/TRK button (16) shortly to activate automatic seek function.
Press for several seconds until "MANUAL" appears on the display, the manual tuning mode is selected.
If both buttons have not been pressed for several seconds, they will return to seek tuning mode and "AUTO" appears on the display.
AUTOMATIC MEMORY STORING & PROGRAM SCANNING
- Automatic Memory Storing
Press AS/PS button (18) for several seconds, the radio searches from the current frequency and checks the signal strength until one cycle search is finished. And then 6 strongest stations are stored into the corresponding preset number button.
- Program Scanning
Press AS/PS button (18) shortly to scan preset station. When the field strength level is more than the threshold level of stop level, the radio is holding at that preset number for several seconds with releasing mute, then searches again.
- STATION STORING
Press any one of the preset buttons (14) (1 to 6) to select a station which had been stored in the memory.
Press this button for several seconds (until 2ND beeps come out), current station is stored into the number button.
Press AF button (3) and release immediately to switch on or off RDS mode.
Whenever RDS is switched on, symbol “AF” appears on the display.
Program name is displayed on receiving a RDS station.
OPERATION
"AF" starts blinking if the broadcasting signal getting worse.
"ALARM" will be displayed when an emergency broadcasting is received, meanwhile sound output level will be adjusted to the preset output level automatically when the volume control is set at minimum.
- Regional Program Operation
Press AF button (3) for several seconds to switch on or off region mode.
Some broadcasting stations change their program from normal broadcasting to regional broadcasting for a certain time period. When region is on, the current listening program remains unchanged. When region is off, it allows the reception moves to the regional station.
- Using PTY to Select Program PTY button (1) is operated as follows:

While selecting PTY engagement, its selection is implemented by preset buttons as described in notes.
When PTY is selected, the radio starts to search corresponding PTY (1)
information, and stops if the corresponding PTY information is detected.
If corresponding PTY information is not existed any more, PTY engaging is automatically exit to normal mode.
Notes: When PTY mode is engaged, the PTY switch is shared as follows:

According to above 2 allotted group, the preset number is used for PTY selection as follows:
MUSIC group
-POP M,ROCK M
-EASY M, LIGHT M
- CLASSICS, OTHER M
- JAZZ, COUNTRY
- NATION M, OLDIES
- FOLK M, SPEECH group
- NEWS, AFFAIRS, INFO
- SPORT, EDUCATE, DRAMA
CULTURE, SCIENCE, VARIED
- WEATHER, FINANCE, CHILDREN
- SOCIAL, RELIGION, PHONE IN
- TRAVEL, LEISURE, DOCUMENT
OPERATION
- Listening to Traffic Announcement TA button (2) is operated as follows:
When pressed short, it is engaging whether TA mode on or off.
When TA mode is on and a traffic announcement is transmitted:
When the unit was in CD (MP3) mode, it will switch temporarily to radio mode.
Temporary switch over to an EON linked station when EON detects a traffic announcement on that other program. If the volume level was under the threshold point it will be raised to the threshold point.
But the user changed the volume level which was more than the threshold point (min. TA volume level), it will be set to the last level.
When TA mode is on, TA of individual segment is turned on.
When a TP station is received, TP of individual segment is turned on.
TA interruption function
The current traffic announcement is cancelled by pressing this key.
But the TA mode will not be off.
When pressed long, it is selected EON TA LOCAL/EON TA DISTANCE mode.
The purpose of this key is to reduce unwanted EON TA switching, which EON TA information was received from current station and the radio switched to that EON linked station, but no information could not be received because the EON linked station is located too far from that area. So the radio is switched back to current station again.
In above operation, a customer listen to a wrong program or mute sound for a while.
EON TA LOCAL mode
When the filed strength level of EON linked is less than threshold level, the radio does not switch that station, and a customer can hardly listen to any disturbances.
When EON TA LOCAL mode is selected, "EON TA LO" on numeric display is indicated for a few seconds.
EON TA DISTANCE mode
EON TA switch is tried to implemented by the information of current station.
When EON TA DISTANCE mode is selected, "EON TA DX" on numeric display is indicated for a few seconds.
The RDS data used are the PI, PS, AF, TP, TA, EON and PTY data.
PI: Program Identification Code
Code for identifying programs
PS: Program Service Name
Broadcast station name data expressed in alphanumeric characters
AF: Alternative Frequencies
Frequency list of broadcasting stations transmitting the same program
OPERATION
TP: Traffic Program Identification
Identification data for traffic information-broadcasting station
TA: Traffic Announcement
Identification
Identification data showing traffic information is being transmitted or not
EON: Enhanced Other Networks
Information
Broadcasting information on PI, AF, TP, TA, etc. relating to networks other than
the network used for current reception
PTY: Program Type Code
Contents of programs such as news, light music, sports etc.
CD OPERATION
- SWITCHING TO CD MODE
If there is no CD inserted in the driver:
Gently insert the CD with the printed side uppermost into the CD compartment until you feel some resistance. The CD is drawn into the driver automatically. CD playback begins.
If a CD is already inserted in the driver:
Keep pressing MOD button (6) shortly until the CD mode display appears.
- SELECTING TRACKS
Press TUN/TRK button (16) or TUN/TRK button (17) to move to the previous track or the following track. Track number shows on display.
Hold TUN/TRK button (16) or TUN/TRK button (17) to fast reverse or fast forward. CD play starts from when you release the button.
- PAUSING PLAYING
Press PAU button (20) to pause CD player. Press it again to resume play.
- PREVIEWING ALL TRACKS
Press SCN button (21) to play first several seconds of each track on the current disc. Press again to stop intro and listen to track.
- REPEATING THE SAME TRACK
Press RPT button (22) to continuously repeat the same track. Press it again to stop repeat.
- PLAYING ALL TRACKS IN RANDOM
Press SHF button (23) to play all tracks on CD in random order. Press again to cancel the function.
EJECTING A DISC
Press button (4) to stop CD playing and eject the disc from the disc slot (5).
OPERATION
MP3 OPERATION
- SWITCHING TO CD (MP3) MODE
If there is no MP3 disc inserted in the driver:
Gently insert the MP3 disc with the printed side uppermost into the disc slot (5) until you feel some resistance.
The MP3 disc is drawn into the driver automatically. The MP3 playback begins. If a MP3 disc is already inserted in the driver:
Keep pressing MOD button (6) shortly until the CD (MP3) mode display appears.
EJECTING A DISC
Press button (4) to stop MP3 playing and eject the disc from the disc slot (5).
- SELECTING TRACKS IN SINGLE STEP
Press TUN/TRK button (16) or TUN/TRK button (17) to move to the previous track or the following track. Track number shows on display.
Hold TUN/TRK button (16) or TUN/TRK button (17) to fast reverse or fast forward. CD play starts from when you release the button.
- PAUSING PLAYING
Press PAU button (20) to pause MP3 player. Press it again to resume play.
- PREVIEWING ALL TRACKS
Press SCN button (21) to play first several seconds of each track on the current disc. Press again to stop intro and listen to track.
- REPEATING THE SAME TRACK
Press RPT button (22) to continuously repeat the same track. Press it again to stop repeat.
- PLAYING ALL TRACKS IN RANDOM
Press SHF button (23) to play all tracks on MP3 disc in random order. Press again to cancel the function.
- SELECTING TRACKS BY AS/PS BUTTON (18)
AS/PS button (18) is assigned as Digital Audio Mode selection button in MP3 operation.
When pressed, it is activated as selecting each mode of Digital Audio.
"Searching track directly" =>
"Searching Directory or File Name">
"Navigation" from root by TUN/TRK
UP/DOWN buttons "Navigation" from current directory by TUN/TRK UP/DOWN buttons.
OPERATION
Searching Track Directly
Press AS/PS button (18) for one time.
It enters into "Searching track directly" in Digital Audio CD.
The unit searches the track selected by following direct numeric buttons:
M1-M6, MOD (7), TUN/TRK DOWN (8), TUN/TRK UP (9), DSP(0).
If selected three digits, the unit searches the tract at once. If selected one or two digits, the unit wait for ENT (BND/LOU) button for seconds. The unit searches the track after few seconds, even if the enter button is not pressed.
Searching Directory or File Name
Press AS/PS button (18) for two times.
It enters into "Searching Directory or File Name" in Digital Audio CD.
The unit searches files and directories that have the same character which is inputted by the user pressing the corresponding buttons listed on the Table 1 below.
Explain as follows:
- Use the corresponding buttons to select the characters A to Z, blank, 0 to 9, _, +.
- Press SEL button to confirm entry of each characters.
- Press BND/LOU (ENT) button to start the title search.
In case the selected title is a directory name, display will show (‘) , then
- Use the TUN/TRK UP/DOWN buttons to list all songs under this directory and select the title.
- Press BND/LOU (ENT) button to confirm and start the play.
- Repeat the above steps if the newly selected title is again a directory.
Searching From Root Directory
Press AS/PS button (18) for three times. The unit searches file or directory from root by TUN/TRK UP/DOWN buttons. (D-DIR icon turns on if the name is directory). Display will list all available directories and songs. Select the desired directory/songs by using TUN/TRK UP/DOWN buttons and BND/LOU (ENT) button to confirm. If the selected title is a song, it starts to play.
If the selected title is a directory name, display will show ( ' ), then
- Use the TUN/TRK UP/DOWN buttons to list all songs under this directory and select the title.
- Press BND/LOU (ENT) button to confirm and start the play.
- Repeat the above steps if the newly selected title is again a directory.
OPERATION
Searching From Current Directory
Press AS/PS button (18) for four times. The unit searches file or directory from current directory by TUN/TRK UP/DOWN buttons. (D-DIR icon turns on if the name is directory).
The current directory name is displayed for a second and the currently playing file name is displayed (selected). The user can select the directory or file in the directory by TUN/TRK UP/DOWN buttons. The selected file can be played by pressing BND/LOU (ENT) button.
DISPLAY INFORMATION
Press DSP button (15) to show following information, such as the clock, ID3 TAG (if available: song title, directory name, artist name, other contents...) and other information.
KEY Assigned IN Searching mode (Table 1)
| AS/PS Mode | Select |
| BND/LOU ENTER | |
| M1 A, B, C, | 1 |
| M2 D, E, F, | 2 |
| M3 G, H, I, 3 | |
| M4 J, K, L, 4 | |
| M5 M, N, O, | 5/Directory DOWN |
| M6 P, Q, R, | 6/Directory UP |
| MOD S, T, U, 7 | |
| TUN/TRK DOWN V, W, X, 8 | |
| TUN/TRK UP Y, Z, SPACE, 9 | |
| SEL CHARACTER SHIFT RIGHT | |
| DSP _, -, + | 0 |
| AUDIO ALL KNOB (A, B) | CHARACTERS SELECT - 8, 9, 0) |
AUDIO KNOB & TUN/TRK UP/DOWN buttons:
Searching file and directory during Navigation.
OPERATION
WMA OPERATION
The unit that can play the WMA disc and the operation is the same with MP3 operation described above.
USB PLAY OPERATION
In the front panel of the unit, there is an USB interface (25). You can connect an MP3 player or other device with the USB interface through this interface (25).
When you connect a player through the interface, the unit will search the MP3 files or WMA files in the player and start to play MP3 files or WMA files automatically.
When playing the MP3 files or WMA files in the device, the operation is the same with the MP3 operation described above.
SD/MMC OPERATION
The SD/MMC interface is on the housing of the unit (26). See below

When you insert a SD/MMC card in the SD/MMC interface, the unit will search the MP3 files or WMA files in the card and start to play MP3 files or WMA files automatically. The operation is the same with the MP3 operation described above. If in other mode, you can also press MOD button to select SD/MMC mode.
DISC NOTE
A. Notes on discs:
- Attempting to use non-standard shape discs (e.g. square, start, heart) may damage the unit. Be sure to use round shape CD discs only for this unit.
- Do not stick paper or tape etc., onto the label side or the recording side of any discs, as it may cause a malfunction.
- Dirt, dust, scratches and warping discs will cause misoperation.
OPERATION
B. Notes on CD-Rs (recordable CDs)/CD-RWs (rewritable CDs):
- Be sure to use discs with following marks only for the unit to play:



- The unit cannot play a CD-R and CD-RW that is not finalized.
(Pleaseserefertothemanualofyour
CD-R/CD-RW recorder or CD-R/ CD-RW software for more information on finalization process).
- Depending on the recording status, conditions of the disc and the equipment used for the recording, some CD-Rs/CD-RWs may not be played on this unit. (See *1)
*1: To have more reliable play back, please see following recommendations:
a. Use CD-RWs with speed 1x to 4x and write with speed 1x to 2x.
b. Use CD-Rs with speed 1x to 8x and write with speed 1x to 2x.
c. Do not play a CD-RW which has been written for more than 5 times.
C. Notes on MP3 files:
- The disc must be in the ISO9660 level 1 or level 2 format, or Joliet or Romeo in the expansion format.
- When naming a MP3 file, be sure the file name extension is“.MP3”.
- For a non-MP3 file, even though the file name extension is ".MP3", the unit cannot recognize it.
IMPORTANT
Note : Although this CD player can read CD-R, CD-RW and MP3 discs – in addition to normal CD’s – the playability of CD-R, CD-RW and MP3 discs may be affected by the type of software that was used to create the discs, as well as the quality and condition of the blank media you are using. 100% playability cannot be guaranteed. This is not an indication of a problem with the player.

Instructions on environment protection
Do not dispose of this product in the usual household garbage at the end of its life cycle; hand it over at a collection point for the recycling of electrical and electronic appliances. The symbol on the product, the instructions for use or the packing will inform about the methods for disposal.
The materials are recyclable as mentioned in its marking. By recycling, material recycling or other forms of re-utilization of old appliances, you are making an important contribution to protect our environment.
Please inquire at the community administration for the authorized disposal location.
TROUBLE SHOOTING
Before going through the checklist, check wiring connection. If any of the problems persist after checklist has been made, consult your nearest service dealer.
| Symptom | Cause | Solution |
| No power. | The car ignition switch is not on. | If the power supply is connected to the car accessory circuits, but the engine is not moving, switch the ignition key to "ACC". |
| The fuse is blown. | Replace the fuse. | |
| Disc cannot be loaded or ejected. | Presence of CD disc inside the player. | Remove the disc in the player, then put a new one. |
| Inserting the disc in reverse direction. | Insert the compact disc with the label facing upward. | |
| Compact disc is extremely dirty or defective disc. | Clean the disc or try to play a new one. | |
| Temperature inside the car is too high. | Cool off or until the ambient temperature return to normal. | |
| Condensation. | Leave the player off for an hour or so, then try again. | |
| No sound. | Volume is in minimum. | Adjust volume to a desired level. |
| Wiring is not properly connected. | Check wiring connection. | |
| Sound skips. | The installation angle is more than 30 degrees. | Adjust the installation angle less than 30 degrees. |
| The disc is extremely or defective disc. | Clean the compact disc, then try to play a new one. | |
| The operation keys do not work. | The built-in microcomputer is not operating properly due to noise. | Press the RESET button. Front panel is not properly fixed into its place. |
| The radio does not work. The radio station automatic selection does not work. | The antenna cable is not connected. | Insert the antenna cable firmly. |
| The signals are too weak. | Select a station manually. |
PRODOTTO LASER DI CLASSE 1 CLASS 1 LASER PRODUCT PRODUIT LASSER DE CLASSE 1 PRODUCT MIT LASER DER KLASSE 1

-> CD -> CT -> FREQ. -> "NO PTY" ->
PI: Program Identification Code
TP: Traffic Program Identification
TA: Traffic Announcement Identification
EON:Enhanced Other Networks Information
PTY: Program Type Code
PRODOTTO LASER DI CLASSE 1 CLASS 1 LASER PRODUCT PRODUIT LASSER DE CLASSE 1 PRODUCT MIT LASER DER KLASSE 1

RADIATION LASER INVISIBLE QUAND OUVERT OU A FIXAGE MANQUE EVITER UNE EXPOSITION DIRECTE AU FAISCEAU DE LUMIERE LASER
DANGER
SECURITE LASER
->“NO CLOCK” -> FREQ. -> “NO PTY” -> En mode CD : -> CD -> CT -> FREQ. -> “NO PTY” ->
PI: Program Identification Code
TP: Traffic Program Identification
TA: Traffic Announcement Identification
EON:Enhanced Other Networks Information
PTY: Program Type Code
EasyManual