X500 - Smartphone E-TEN - Free user manual and instructions
Find the device manual for free X500 E-TEN in PDF.
Download the instructions for your Smartphone in PDF format for free! Find your manual X500 - E-TEN and take your electronic device back in hand. On this page are published all the documents necessary for the use of your device. X500 by E-TEN.
USER MANUAL X500 E-TEN
GPS Pocket PC User Manual
Safety Instructions
Please Read Before Proceeding.
This product is not charged when shipped from the factory. When you use this product the first time, we recommend that you install the battery as illustrated and fully charge it for about 8 hours before use.
Before you install the SIM card, make sure that tap the ALL OFF Button in Wireless Manager to turn off your Pocket PC's mobile phone, Bluetooth, and wireless LAN functions. And press the "Power Button" of the Pocket PC to turn off the screen. Otherwise, abnormal disconnection problems will occur.
- When you are on a plane, in a medical facility or at a gas station where wireless communications devices are not allowed and must be turned off, please go to Wireless Manager and select the ALL OFF Button to turn off your Pocket PC's mobile phone, Bluetooth, and wireless LAN functions. By pressing the "Power Button" of the Pocket PC, you only turn off the display.
- In case the Pocket PC is damaged, send it back to the dealer for repair. Do not attempt to disassemble the Pocket PC on your own; otherwise the warranty will be void.
Where to Find Information
| For information on: | See this source: |
| Programs on your Pocket PC | This User's Guide and Pocket PC Help. To view Help, tap and then Help. |
| Additional programs that can be installed on the Pocket PC | The Pocket PC Getting Started CD. |
| Connecting to and synchronizing with a desktop computer | Check the user's guide that comes with this product or look for the online help relevant to synchronization tools on the desktop PC or the Pocket PC. |
| Up-to-date information on your Pocket PC | http://www.microsoft.com/windowsmobile/ |
This document lists the functions, specifications, and illustrations for reference only. The actual purchased product should be taken as the standard.
User Manual
SAFETY INSTRUCTIONS 2
WHERE TO FIND INFORMATION 2
1 Getting Started 1-1
PACKAGE CONTENT 1-1
EXTERNAL VIEWS. 1-2
Hardware Hotkey Functions 1-3
Rear Side 1-4
USING THE POCKET PC FOR THE FIRST TIME 1-5
Charging Power and Power Supply. 1-5
Re-installation or Replacing the Battery. 1-7
POWER ON AND OFF. 1-8
Sleep Mode. 1-8
Turn on the Screen 1-9
Restarting the Pocket PC 1-10
Reset. 1-11
Default Settings. 1-12
Clean Boot 1-13
2 Using the Pocket PC 2-1
START 2-1
Screen 2-1
Today Screen 2-3
Programs 2-7
System Application Programs 2-9
M-DESK. 2-11
ENTER INFORMATION ON YOUR POCKET PC 2-14
Enter Text Using the Input Panel. 2-14
Type with the Soft Keyboard 2-16
Use Letter Recognizer. 2-16
Use Block Recognizer. 2-16
Use Transcriber 2-17
SelectTypedText 2-17
Write on the Screen. 2-18
Write on the Screen. 2-18
Select Writing 2-19
Draw on the Screen. 2-20
Create a Drawing 2-20
Select a Drawing 2-21
Record a Message 2-21
Create a Recording 2-22
Voice Commander. 2-23
3 Voice Command Satellite Navigation 3-1
NAVIGATION DEVICE INSTALLATION. 3-1
GPS NAVIGATION SOFTWARE INSTALLATION 3-2
CONDITIONS FOR USING GPS CAR NAVIGATION 3-2
SATELLITE DATA UPDATE 3-5
LOCATION SMS. 3-8
GPS VIEWER 3-10
4 Using the Phone 4-1
INSTALLING AND REMOVING THE SIM CARD 4-2
USING THE PHONE 4-4
Adjusting the Phone Volume. 4-5
TURNING THE PHONE ON OR OFF AND MAKING CALLS. 4-6
4-8
Call from Contacts 4-9
Call from Speed Dial. 4-9
Call from the Call History. 4-10
CUSTOMIZE YOUR PHONE 4-11
Add Ringtone. 4-12
PHONE APPLICATION PROGRAMS 4-13
SIM Manager 4-13
Standard Display 4-13
Full-Screen Display. 4-14
Copy Phonebook Information 4-15
SMS Management. 4-16
SIM Tool Kit. 4-16
SMS Sender 4-17
Speed Dial. 4-18
Hot Key Switch. 4-18
Frequently Dialed Screen 4-19
Index Dial. 4-20
Call Filter. 4-21
5 Customize Your Pocket PC / 5-1
ADJUSTING SETTINGS 5-1
NOTIFICATIONS. 5-2
POWER PREFERENCE SETTINGS 5-3
BACKLIGHT 5-4
MICROPHONE 5-5
ADJUST VOLUME 5-6
SCENARIOS 5-7
QUICKLINK. 5-8
FIND AND ORGANIZE INFORMATION. 5-10
NAVIGATION BAR AND COMMAND BAR 5-11
POP-UP MENUS 5-12
REDEFINE HOT KEYS 5-13
6 Synchronization/ 6-1
WINDOWS VISTA PART 6-1
WINDOWS XP/2000/98 PART 6-3
INSTALLING AND USING ACTIVESYNC. 6-4
FAQ About Synchronization 6-6
USB SYNCHRONIZATION 6-6
SYNCHRONIZATION TOOL ON POCKET PC 6-9
SYNCHRONIZING USING BLUETOOTH 6-10
7 Connections 7-1
CONNECTING TO THE INTERNET. 7-1
Connection Wizard. 7-1
Setting the GPRS Connection. 7-3
Starting GPRS Connection. 7-5
Disconnecting GPRS. 7-6
X-4
USING BLUETOOTH. 7-7
Bluetooth Connection Wizard 7-7
Bluetooth Connection Setting. 7-9
Service. 7-10
Serial Port. 7-11
Bluetooth Headset 7-12
FTP Sharing 7-12
CSD TYPE 7-13
CONNECTING WITH A PERSONAL COMPUTER 7-14
WIRELESS LAN TRANSMISSION 7-14
8 Using Wireless LAN / 8-1
CONNECTING TO WIRELESS LAN 8-1
CONFIGURE YOUR WIRELESS NETWORK 8-3
WLAN Setup Scenarios 8-3
Configure Your Wireless Network (Reference for a normal network setup). 8-4
Configure Your Wireless Network (Reference for Proxy setup) 8-7
9 Sending and Receiving Messages / 9-1
E-MAILS AND SMS MESSAGES 9-2
Synchronizing E-mail Messages. 9-3
Connecting Directly to the Mail Server 9-4
E-mail Server Setup 9-5
Using E-mails and SMS 9-7
Direct Push Technology Alert. 9-10
Direct Push Technology Alert Settings. 9-10
WINDOWS LIVE™ MESSenger 9-12
Setting Up. 9-13
Working with Contacts. 9-14
Chatting with Contacts. 9-15
MMSMESSAGE 9-16
Create and Edit MMS 9-16
BIRTHDAY REMINDER. 9-18
10 Multimedia 10-1
USING CAMERA 10-1
Camera Mode. 10-2
Camera Mode Using Wizard. 10-3
Managing Pictures Shot by Continuous
Shutter. 10-4
Digital Video Mode. 10-5
Digital Video Mode Using Wizard 10-7
Speed Shooting Using the Hardware Hotkeys 10-8
MULTIMEDIA MANAGER. 10-9
Preview Multimedia Information 10-9
Slide Show Function. 10-10
Multimedia Manager Tools. 10-11
IMAGE MAKER. 10-12
IMAGE WIZARD 10-14
FM TUNER. 10-15
11 Companion Programs 11-1
CALENDAR: SCHEDULING APPOINTMENTS AND MEETINGS .... 11-2
Create an Appointment 11-3
Use the Summary Screen. 11-4
Create Meeting Requests. 11-4
Schedule a Meeting 11-5
CONTACTS: TRACKING FRIENDS AND COLLEAGUES 11-6
Create a Contact 11-7
Find a Contact 11-8
Use the Summary Screen. 11-9
TASKS: KEEPING A TO DO LIST 11-10
Create a Task. 11-11
Use the Summary Screen. 11-12
NOTES: CAPTURING THOUGHTS AND IDEAS 11-13
Create a Note 11-14
WORD MOBILE 11-15
EXCEL MOBILE 11-18
Tips for Working in Excel Mobile 11-20
POWERPOINT MOBILE 11-21
WINDOWS MEDIA PLAYER 11-22
INTERNET EXPLORER 11-24
Using Internet Explore. 11-24
Browse the Internet 11-25
View Mobile Favorites and Channels 11-26
The Mobile Favorites Folder 11-26
Favorite Links 11-27
Synchronize Mobile Favorites. 11-27
Create a Mobile Favorite 11-27
Save Pocket PC Memory 11-28
12 Maintaining the Pocket PC 12-1
BACKUP UTILITY 12-1
Storage Space. 12-1
Backup Files. 12-2
Wizard Mode. 12-2
Standard Mode 12-2
Advanced Settings Options. 12-3
Restore Files 12-5
Wizard Mode. 12-5
Standard Mode 12-6
ADDING OR REMOVING PROGRAMS 12-7
Add Programs Using Synchronization Tools 12-7
Add a Program Directly from the Internet 12-8
Add a Program to the Start Menu 12-9
Remove Programs 12-10
MANAGE MEMORY 12-11
ViewMemoryStatus. 12-11
Find Available Memory. 12-12
SYSTEM INFORMATION 12-15
13 Voice Commander 13-1
STARTING VOICE COMMANDER 13-2
VOICE COMMAND FORMAT 13-3
VOICE COMMANDER SETTINGS. 13-5
Contacts Settings Page 13-5
Application Settings Page 13-8
Music Settings Page 13-10
Advanced Settings Page 13-12
FAQ 13-13
14 Specifications 14-1
15 Regulation Notice and Safety Declaration / 15-1
SAR INFORMATION 15-1
HEALTH AND SAFETY INFORMATION. 15-2
16 FAQ / 16-1
1 Getting Started /
Package Content
Pocket PC, stylus, Battery, Getting Started CD, User Guide, AC adapter, USB cable, headset and Leather case.

Pocket PC
Stylus
Battery
Getting Started CD
User Guide
USB Cable
7 AC Adapter
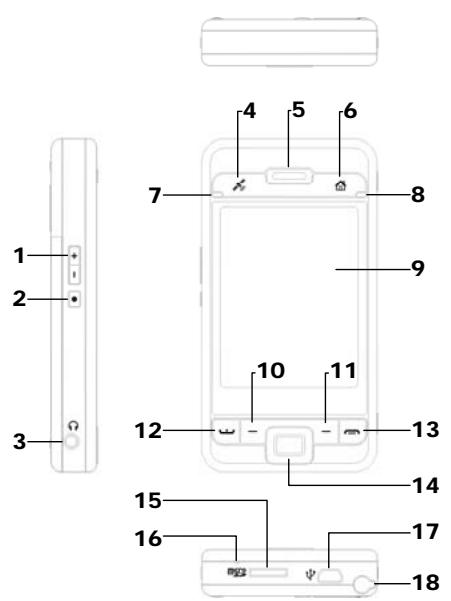
External Views



1 Volume control key
3 Earphone and microphone jack
5 Cell Phone speaker
7 WLAN Active LED (Orange)
Bluetooth Active LED (Blue, blinks once)
GPS Active LED (Blue, blinks twice)
9 Touch screen
11 Right Soft-Key
13 End button
15 MicroSD Slot
17 Mini USB port
19 Power button
21 Camera Shutter
23 Hidden antenna for Cell Phone
25 Back cover. Battery is inside.
1-2
2 Voice Commander
4 Hot key reserved for GPS AP
6 M-Desk hot key
8 Power Charging LED (Red) Cell phone Active LED (Green)
10 Left Soft-Key
12 Send button
14 Navigation button. Press the center of the button to set as launch key.
16 Microphone
18 Stylus holder. Slide the stylus out of the holder. This is a two-stage push-pull stylus.
20 Reset button
22 Built-in camera lens/ preview mirror
24 Speaker
Hardware Hotkey Functions

| Hardware Button | Short Press (Press once and release) | Long Press (Press for a few seconds and release) |
| 0 | Adjust volume Zoom in/out during camera mode | -- |
| 1 | Connect to Voice Commander | Connect to Notes |
| 2 | Hot key reserved for GPS AP | -- |
| 3 | Connect to M-Desk | -- |
| 4 | Connect to Phone/dial/renal/answer | Telephone hold |
| 5 | Left Soft-Key: Softkeys on left and right to operate function buttons at bottom of display. | -- |
| 6 | Right Soft-Key | -- |
| 7 | Hang up during call Disconnect during GPRS connection Skip to Today's screen while in other programs | Turn off phone if it is on Turn on phone when it is off |
| 8 | Power Button = open or close screen | -- |
| Power Button + Reset Button = Cold boot | -- | |
| 9 | Reset Button | -- |
| 10 | Camera or Camera Shutter | Video recorder |
Rear Side
1 Insert the SIM card into the SIM card slot with its golden contacts facing down. Follow the picture indicated on the Pocket PC.
3 Back cover
2 Main battery
4 Follow the direction in the illustration to install the main battery.
5 Main battery lock
- Installing the SIM Card



- Installing the Battery

Using the Pocket PC for the First Time
Charging Power and Power Supply
1Connect the AC adapter plug to any household power outlet.
Connect the other plug from the AC adapter to the USB port. The Pocket PC starts to charge automatically.
3 If you need to connect Pocket PC and desktop computer, you could connect the USB cable to the USB port. And then connect the other end of the USB cable to the USB port on the desktop computer. Your Pocket PC will also charge at the same time.

- Remove the back cover.
(If you are opening this product for the first time, the main battery and the Pocket PC are packed separately inside the product package.)
-
Install the main battery properly and lock the battery securely.
-
Please connect one side of the AC adapter plug to any household power outlet and connect the other side of plug from the AC adapter to the USB port. The Pocket PC will start to charge automatically.
- Cold Boot: Press and hold the "Power Button" with one hand, and use the stylus tip to press the "Reset Button" with the other hand. Release the "Power Button" and the "Reset Button" at the same time. Wait for the Pocket PC to restart and follow the instructions on the screen to complete screen alignment.
- It will take about 8 hours to fully charge the battery after the first time you open the package. Subsequent charging will only take about 3 hours. After charging, you can disconnect the AC adapter and carry the Pocket PC around portably. To maintain smooth operation, charge the power regularly.
- View the battery icon on the upper right corner to check the power usage condition.
- The LED indicator on the upper right of Pocket PC will display the charging and function usage status.
| Charging | Fully charged | Insufficient power |
| Red LED lights up | Red LED goes off | Red LED flashes |
| Green LED lights up | ||
| Phone is on | Caution or Warning | |
| Green LED flashes | Orange LED flashes |
- The LED indicator on the upper left of Pocket PC
| WLAN Active | Bluetooth Active | GPS Active |
| Orange LED flashes | Blue LED blinks once every 4 seconds | Blue LED blinks twice every 4 seconds |
Re-installation or Replacing the Battery
If the phone, GPRS or wireless LAN connection function is already activated, deactivate it first and then replace the battery.
- Slide and remove the back cover of Pocket PC.
- You may poke down to unlock the main battery lock in order to remove the battery.
- Replace the main battery and lock it properly. When you remove the main battery, your Pocket PC will enter the sleep mode.
- Slide the back cover into the groove, and reinstall the back cover.





Power On and Off

Sleep Mode
- Press the "Power Button" of the Pocket PC to enter the Sleep mode. At this time, the screen is turned off and all peripheral devices enter the power-saving mode. But if the phone is turned on, it is still in the call waiting mode.
- To turn on the screen later, just press the "Power Button."

Sleep mode settings

On battery power :

On external power :

- Tap Settings, the System tab, Power and then the Advanced tab to set the device to turn off automatically after waiting for a certain time period.
Turn on the Screen
This product is designed with a power-saving feature. If the screen is turned off, press the "Power Button" of the Pocket PC to turn it on.

Auto-adjust backlight by battery level
Auto-adjust backlight by idle time

If the screen is too dark and you cannot see clearly, set the proper brightness level for the backlight.
Tap, Settings, the System tab, Backlight and then the Backlight Level tab.

Using the Stylus to Touch the Screen
- Your Pocket PC is designed for graphics-based operation. Generally speaking, we usually "use the stylus to perform basic actions such as tap, drag, and tap and hold" on the touch screen. Other actions such as reset and cold boot will require the use of the stylus tip.
- Pull the stylus to full-length to make it easier to tap the screen during operation. When kept completely in the stylus holder, the stylus length shortens.
- Avoid heavily pressing on the touch screen with the stylus or your fingers.
Restarting the Pocket PC
Appropriate situation: If the Pocket PC is unable to maintain normal operation, has no response, or if the screen is frozen.
For your consideration, factoring into your safety and convenience, please refer to the following instructions in order:
| 1. Reset | Press the “Reset Button” of Pocket PC with the tip of the stylus. |
| 2. Default Settings procedures | If the touch screen is functional, please tap Programs, Utilities, and then Default Settings. |
| 3. Clean Boot | Hold the “Power Button” and press once on the “Reset Button” with the tip of the stylus, and release both buttons simultaneously. Next, continually hold the End Button until the system inquiry screen is displayed, then release the End Button. Answer the question(s). |
Reset
Reset method: Press the "Reset Button" of Pocket PC with the tip of the stylus.

Appropriate situation: If the Pocket PC is unable to maintain normal operation, has no response, or if the screen is frozen.
Result: In a moment, when Pocket PC automatically completes the system startup process, the last display will be the Today screen. This will retain the Microsoft Windows, factory pre-installed applications, user's input data, newly installed programs, and user custom settings.
Tap Programs, Utilities, and then Default Settings.

-
If this application is inadvertently accessed, please select the × to the upper right of the screen to exit, the system will not be affected.
-
If you are certain that you wish to perform this action, please select the data input block on the right, and enter the authorized code in the block to the left. Then tap the OK button.
Appropriate situation: If the Pocket PC is unable to maintain normal operation, but the touch screen is functional. Please refer to the instructions in this section to troubleshoot.
Result: This will retain only the Microsoft Windows, and factory pre-installed applications. Other settings such as user's input data, newly installed programs, and user custom settings will all be cleared.
Clean Boot
Cold boot method: Hold the "Power Button" of the Pocket PC with one hand while holding the stylus tip to push in the "Reset Button" with the other. Simultaneously release both the "Power Button" and "Reset Button".

Appropriate situation: If a previous reset has already been attempted and the Pocket PC is still unable to maintain normal operations, has no response, or if the screen is frozen.
Before executing the preceding "Cold boot method", please carefully consider the following instructions and then decide on the cold boot method.
1. After a cold boot is performed, if no buttons are pressed, when Pocket PC automatically completes the system startup process, the last display will be the Today screen. This is identical to the reset result.
2. If a previous reset has already been attempted but the Pocket PC is still unable to maintain normal operation, consider the following solution: After cold boot, hold the End Button on the bottom right of Pocket PC until the system inquiry screen is shown, and then release the End Button. Next, please read thoroughly through the instructions on cold booting before continuing carefully.
Perform cold boot and hold the End Button. Please refer to the following instructions before careful consideration.

Erase all data and load default?
The default is "No." If Yes or No was not selected, after a few seconds the system will automatically execute the default No.
If you long press Left Soft-Key for a few seconds to select “Yes,” then the system will erase all data and load default. After your Pocket PC restarts, follow the instructions on the screen to complete.

Caution!
- After performing a cold boot, the system will retain Microsoft Windows and pre-installed programs. If you answer "Yes" to the question displayed after a cold boot, other items such as the user's input data, newly installed programs and user settings will be lost.
- There are two ways to retain your data, loaded default and registry:
1 Perform a Reset.
Performing a Cold Boot, and answer “No” when the above question displays.
2 Using the Pocket PC /
Start
Screen
Tap, Settings, the System tab, and then Screen.
The first time you use or cold boot the pocket PC, the system will ask you to align the screen. Kindly continue to tap the center of each cross (+) that appears and follow the screen instructions to complete the operation. If you feel that the position is not quite accurate while tapping on the screen, you follow the help for this section to align the screen again.

Orientation:
Portrait (default)
Landscape (right-handed)
Landscape (left-handed)
2 Tap the Align Screen button to calibrate the screen. When Align Screen appears, use the stylus to tap the center of the cross (+) until the next cross appears, then follow the screen instructions to complete the operation. Finally, tap OK to exit.
3Text Size tab: For selecting the desired text size.
The following steps will bring you into the touch screen calibration mode. These steps provide a faster and more efficacious way to enter the touch screen calibration mode. And they also provide a method of getting into Screen program for when the touch screen dislocation is so severe that you completely cannot select or do anything using the stylus.
- Simultaneously press the Left Soft-Key on the bottom-left of the Pocket PC and the execution button in the center of the navigation pad.
- Release these two buttons at the same time, and you will enter the calibration screen.
Today Screen
When you turn on your Pocket PC for the first time each day (or after 4 hours of inactivity), you will see the "Today screen". You can also display it by tapping and then Today. On the "Today screen", you can see at a glance the important information for the day.

Start. Tap to switch to a program.
2 Tap to enable or disable the GPRS connection feature.
Antenna icon. Tap to turn the phone on or off.
Speaker icon. For adjusting volume.
Time. Tap to display the current date and time, and the upcoming appointments. Tap and hold the time area to select analog or digital clock display from the list.
Today screen. Displays important information for the day. Tap on any item to enter its relevant setup screen.
Quick Link. Tap to quick link to a program.
3 The icons mean you can tap to quick link to programs, such as Wireless Manager, Scenarios, Call Filter status, etc.
Tap to quick link to SpeedDial. Tap to quick link to Contacts.
The following table lists the icons that you may see on the Navigation Bar or the Command Bar. Kindly refer to the "Meaning" column for explanation or tap on the icon to access the instant message.
| Icon | Meaning (Located on the Navigation Bar at the top of the screen) |
| Speaker is on | |
| Ringer off | |
| Pending alarm | |
| Battery charging | |
| Battery level | |
| Low battery | |
| Battery power is very low | |
| Battery is fully charged | |
| No battery | |
| New instant message | |
| New e-mail or text message (SMS) | |
| New voice mail | |
| If there is not enough space on the screen to display all notification icons, tap this icon to view all icons. | |
| Active connection to computer | |
| Active Sync is synchronizing | |
| Sync error | |
| PowerPoint slide show | |
| Bluetooth | |
| Missing SIM card | |
| The phone is turned off. Flight mode in use. | |
| The phone is turned on. Signal strength. | |
| Y | Radio connected |
| Y! | No signal. No service. The device has not yet connected to a network. |
| Lost signal. The device is searching for a signal. | |
| Missed call | |
| Voice call in progress | |
| Data call in progress | |
| Calls are forwarded | |
| Call on hold | |
| Missed call | |
| Roaming | |
| GPRS not in use | |
| GPRS available | |
| GPRS connected | |
| Synchronize over GPRS in use | |
| EDGE available | |
| EDGE connected | |
| Synchronize over EDGE in use | |
| Wireless LAN Active | |
| Wireless LAN Data Calling | |
| Wireless LAN in use | |
| Icon | Meaning (Located on the Command Bar at the bottom of the screen) |
| General Mode. Set the scenario suitable for each environment. | |
| Meeting Mode. Set the scenario suitable for each environment. | |
| Outdoor Mode. Set the scenario suitable for each environment. | |
| Silent Mode. Set the scenario suitable for each environment. | |
Programs
You can switch from one program to another by selecting it from the menu. (You can customize which programs you see on this menu. For information, see "Adjusting Settings" section.) To access some programs, you'll need to tap Programs, and then the program name.
| Icon | Programs | Description |
| Games Group | Bubble Breaker, Solitaire | |
| Multimedia Group | Camera, FM Tuner, Image Maker, Image Wizard, Multimedia Manager | |
| Office Mobile Group | Excel Mobile, PowerPoint Mobile, Word Mobile | |
| Phone Group | Add Ring tone, Call Filter, MMS Message, Scenarios, SIM Manager, SMS Sender, Speed Dial | |
| Utilities Group | Backup Utility, Birthday Reminder, Bluetooth Manager, Default Settings, M-Desk, WLAN Utility | |
| Voice Commander Group | Voice Commander, Voice Commander Settings | |
| GPS Group | GPS Viewer, Location SMS, Satellite Data Update | |
| ActiveSync | Synchronize information between your Pocket PC and desktop computer. | |
| Calendar | Keep track of your appointments and create meeting requests. | |
| Contacts | Keep track of your friends and colleagues. | |
| Notes | Create handwritten or typed notes, drawings, and recordings. | |
| Tasks | Keep track of your tasks. | |
| Messaging | Send and receive e-mail messages. | |
| Internet Explorer | Browse Web and WAP sites, and download new programs and files from the Internet. | |
| Windows Live | MSN related programs. | |
| Windows Live Messenger | Send and receive instant messages with your MSN contacts. | |
| Calculator | Performs basic calculations. | |
| Pictures & Videos | Take, view, and edit pictures. | |
| Windows Media Player | Plays movies or sound files. | |
| File Explorer | Manages files or folders. | |
| Wireless Manager | Manage the mobile phone, Bluetooth, and wireless LAN functions. |
You can also switch to some programs by pressing a program button. Your Pocket PC has one or more program buttons located on the front or side of the Pocket PC. The icons on the buttons identify the programs they switch to. For more information, refer to "Redefine Hot Keys" section.
System Application Programs

Settings, the Personal tab
| Program | Description |
| Buttons | Set the hot key for Pocket PC hardware button. |
| Input | Set the details about the input method. |
| Lock | Set the access rights and password of Pocket PC. |
| Menu | Set the items displaying on the Start menu. |
| Owner Information | Input owner information. |
| Phone | Set the details about the phone. |
| Sounds & Notifications | Set the volume and notification method. |
| Today | Set the look of Today screen and display information. |

Settings, the System tab
| Program | Description |
| About | Display the important information about the Pocket PC. |
| Backlight | Set the details about the backlight and brightness. |
| Certificates | For network identification to prevent unauthorized access. |
| Clock & Alarms | Set the time and alarms. |
| Memory | View the memory usage, and the list of running programs, etc. |
| Microphone | Set the microphone volume. |
| Power | View the power usage condition, whether or not to power off after a waiting period. |
| Regional Settings | Set the region and information display formats such as date, time, etc. |
| Remove Programs | Remove programs that are no longer used. |
| Screen | Aligning the screen is helpful in determining the touch accuracy. You can select the portrait or landscape orientation. |
| System Information | View the system information. |

Settings, the Connections tab
| Program | Description |
| Beam | Set if receiving end will accept beam data automatically or not. |
| Connection Wizard | Select the appropriate country and carrier name. |
| Connections | Set the network connection. |
| CSD Type | Set Pocket PC to simulate a modem and access the Internet through the built-in GSM device. |
| Network Cards | Set the details about network cards. |
| USB to PC | Change the type of USB connection. |
M-Desk
Press the hot key on the upper part of the Pocket PC to link to
M-Desk.
Tap, Programs, Utilities, and then M-Desk.
You can categorize programs or even change the background picture on the panel according to your personal preferences. Categorizing, renaming, deleting or editing the text color of program names under M-Desk will not affect the default setting of the Pocket PC.

Tap Phone, PDA or other tabs to switch to other categories. Tap and hold the tab to display a pop-up menu that allows you to Rename, Move forward or Move back.
The program icon selected for this category. Tap to run this program.
3 Tap and hold program. A pop-up menu appears and allows you to Rename, Delete, Cut, or edit the text color of the program name.
Tap on empty space and the pop-up menu allows you to add New, Paste or Change ground.
Switch Scenario Enable or disable the speakerphone
Enable or disable the Bluetooth earphone function
6 Enter Categories Setup screen

System category screen
This category already has these programs that are automatically selected by the system which you cannot move or delete. All relevant information is updated automatically.
2If no storage card is installed, its icon changes to gray and will be marked with a red X.
Change screen orientation.
Categories Setup screen
Exit the Categories Setup screen.
2 Tap Phone, PDA or other tabs to select preferred programs. A maximum of 12 programs are allowed for each category.
3Icons for programs selected under this category.
4 Program selection area: Tap to check l the program name to confirm selection. Tap on l again to change it back to l to cancel selection. If it is already checked in other categories, the icon is in gray and you cannot select this item.
Tap Options and then Style Choose to change the background picture.

Choose Style screen
Exit Choose Style screen.
Viewing area.
View the previous or next picture.
4 Tap Options and then Classify Config to enter the Categories Setup screen.
Enter Information on Your Pocket PC
You have several options for entering new information:
- Use the input panel to enter typed text, either by using the soft keyboard or other input method.
- Write directly on the screen.
- Draw pictures on the screen.
- Speak into your Pocket PC microphone to record a message.
- Use synchronization tools to synchronize or copy information from your desktop computer to your Pocket PC. For more information, see Help on your desktop computer.
Enter Text Using the Input Panel
Use the input panel to enter information in any program on your Pocket PC. You can either type using the soft keyboard or write using Letter Recognizer, Block Recognizer, or Transcriber. In either case, the characters appear as typed text on the screen.
To show or hide the input panel, tap the Input Panel button. Tap the arrow next to the Input Panel button to see your choices.

Select an input method.
2 Tap to see your choices.
Input Panel button.

When you use the input panel, your Pocket PC anticipates the word you are typing or writing and displays it above the input panel. When you tap the displayed word, it is inserted into your text at the insertion point. The more you use your Pocket PC, the more words it learns to anticipate.

Tap here if this is the right word.

To change word suggestion options, such as the number of words
suggested at one time, tap Settings, the Personal tab, Input, and then the Word Completion tab.
Type with the Soft Keyboard
- Tap the arrow next to the Input Panel button and then Keyboard.
- On the soft keyboard that is displayed, tap the keys with your stylus.
Use Letter Recognizer
With Letter Recognizer you can write letters using the stylus just as you would on paper.
- Tap the arrow next to the Input Panel button and then Letter Recognizer.
- Write a letter in the box.
When you write a letter, it is converted to typed text that appears on the screen. For specific instructions on using Letter Recognizer, with Letter Recognizer open, tap the question mark next to the writing area.
Use Block Recognizer
With Block Recognizer you can input character strokes using the stylus that are similar to those used on other Pocket PCs.
- Tap the arrow next to the Input Panel button and then Block Recognizer.
- Write a letter in the box.
When you write a letter, it is converted to typed text that appears on the screen. For specific instructions on using Block Recognizer, with Block Recognizer open, tap the question mark next to the writing area.
2-16
Use Transcriber
With Transcriber you can write anywhere on the screen using the stylus just as you would on paper. Unlike Letter Recognizer and Block Recognizer, you can write a sentence or more of information. Then, pause and let Transcriber change the written characters to typed characters.
- Tap the arrow next to the Input Panel button and then Transcriber.
- Write anywhere on the screen.
For specific instructions on using Transcriber, with Transcriber open, tap the question mark in the lower right hand corner of the screen.
SelectTypedText
If you want to edit or format typed text, you must select it first. Drag the stylus across the text you want to select. You can cut, copy, and paste text by tapping and holding the selected words and then tapping an editing command on the pop-up menu, or by tapping the command on the Menu menu.
Write on the Screen
In any program that accepts writing, such as the Notes program, and in the Notes tab in Calendar, Contacts, and Tasks, you can use your stylus to write directly on the screen. Write the way you do on paper. You can edit and format what you've written and convert the information to text at a later time.
Write on the Screen
Tap Menu and then check Draw to switch to writing mode. This action displays lines on the screen to help you write.

Tap Menu and then check Draw. Use your stylus like a pen now.
Some programs that accept writing may not have the Draw function. See the documentation for that program to find out how to switch to writing mode.
Select Writing
If you want to edit or format writing, you must select it first.
- Tap and hold the stylus next to the text you want to select until the insertion point appears.
- Without lifting, drag the stylus across the text you want to select.
If you accidentally write on the screen, tap Menu, then Undo and try again. You can also select text by tapping Menu and then Draw to deselect it and then dragging the stylus across the screen.
You can cut, copy, and paste written text in the same way you work with typed text: tap and hold the selected words and then tap an editing command on the pop-up menu, or tap the command on the Menu menu.
Draw on the Screen
You can draw on the screen in the same way that you write on the screen. The difference between writing and drawing on the screen is how you select items and how they can be edited. For example, selected drawings can be resized, while writing cannot.
Create a Drawing
Cross three ruled lines on your first stroke. A drawing box appears. Subsequent strokes in or touching the drawing box become part of the drawing. Drawings that do not cross three ruled lines will be treated as writing.

The drawing box indicates the boundaries of the drawing.
2 Tap Menu and then check Draw.
You may want to change the zoom level so that you can more easily work on or view your drawing. Tap Menu, Zoom and then a zoom level.
Select a Drawing
If you want to edit or format a drawing, you must select it first. Tap and hold the stylus on the drawing until the selection handle appears. To select multiple drawings, tapping Menu and then Draw to deselect it and then drag to select the drawings you want.
You can cut, copy, and paste selected drawings by tapping and holding the selected drawing and then tapping an editing command on the pop-up menu, or by tapping the command on the Menu menu. To resize a drawing, make sure the Draw function is not selected, and drag a selection handle.
Record a Message
In any program where you can write or draw on the screen, you can also quickly capture thoughts, reminders, and phone numbers by recording a message. In Calendar, Tasks, and Contacts, you can include a recording in the Notes tab. Refer to "Voice Recording Format" section.
In the Notes program, you can either create a stand-alone recording or include a recording in a written note. If you want to include the recording in a note, open the note first. In the Inbox program, you can add a recording to an e-mail message.
Create a Recording
- Hold your Pocket PC's microphone near your mouth or other source of sound.
- Press and hold the Record hardware button on your Pocket PC until you hear a beep.
- While holding down the Record button, make your recording.
- To stop recording, release the Record button. Two beeps will sound. The new recording appears in the note list or as an embedded icon.
You can also make a recording by tapping the Record button on the Recording toolbar.
To play a recording, tap it in the list or tap its icon in the note.

Indicates an embedded recording.
2 Tap to begin recording.
Recording toolbar.
4 Tap Menu and then check View Recording Toolbar.
Voice Commander
By default, the system sets the button on the side of the Pocket PC as the "Voice Commander Button." Press this button to launch the Voice Commander. For details on how to use this function, please refer to the Voice Commander section.

3 Voice Command Satellite
Navigation /
Navigation Device Installation

Pocket PC
2 Car Charger (* optional): when Pocket PC is low on power, recharge by connecting one end to the car cigarette lighter/12 volt power outlet and the other end to the socket on base of Pocket PC.
Attention: The GPS signal receiver is built into the Pocket PC. If car windscreen has heat reflective metallic film, or Pocket PC is obstructed by objects, then the receptivity of the GPS will be adversely affected.
Voice Command Satellite Navigation
GPS Navigation Software Installation
Please follow your car navigation system operating manual's instructions on software installation in order to use the navigation function.
Conditions for Using GPS Car Navigation
By using this system you are agreeing to the following conditions:
- When using this device, please use with matching car mount. Affix device securely to the car mount. Please be aware that installation in the areas depicted below is forbidden and is strictly prohibited.

1Do not place where it will obstruct driver vision
Do not place over air bag
Do not place where it can not be securely attached
Do not place in path of activated air bag
- Please set navigation destination before driving. Do not operate this system while driving.
- Please use this system with care. If any harm results from careless use of this system, the responsibility for safe driving resides with the driver.
- GPS positioning is limited by weather and usage location (tall buildings, tunnels, underpasses, trees, bridges). Most GPS do not work indoors, nor can GPS signals penetrate buildings, car sun shades and heat reflective film with metallic content. Please install GPS outdoors with clear line of sight. Beneath the windscreen at the front of the car is a common choice, and the windscreen should be free of heat reflective film.
- The GPS system is built and operated by the U.S. Department of Defense which is also responsible for its maintenance and calibration. Any changes made by them may affect the operation and accuracy of the GPS system.
- Wireless devices (mobile phones, speed radar detectors) will all interfere with the satellite signal and cause unreliable signal reception.
- The GPS position fix is provided only for the driver's reference and should not affect actual driver behavior.
- The electronic map data provided in the navigation system is for normal reference only and not intended for high precision applications. The user should determine their exact location based on actual road conditions.
-
The route provided by the navigation system, the audio cues and intersection data are derived from recommended optimal route calculated using the electronic map data. This is provided for the driver's reference only, the driver should decide their chosen route according to actual road conditions.
-
When not in use, please do not leave the device inside the car. If exposed directly to sunlight, the battery may overheat and cause damage to this device. This may endanger the vehicle as well.
Satellite Data Update
Tap Programs, GPS, and then Satellite Data Update.
Login to the provider's server to download instant satellite data and enable the GPS function. Note: either of the following connections allows your Pocket PC to download the latest GPS data. If there is more than one connection available, the system will automatically select the best connection, in the following order:
- Synchronization connection: Connect your Pocket PC to a PC (Desktop or Notebook). Please note that your PC must be online.
- Wireless LAN connection.
- GPRS connection: Roaming mode cannot update GPS data automatically. If necessary, change to manual mode.

The system will update GPS data automatically based on a schedule. Follow these steps:
Check the automatic update checkbox.
2 Set the date.
Set the time.
The text shows the expiration date of the GPS data. On the due date, the system will pop up a warning message. Refer to the following instruction about the Today screen.
Voice Command Satellite Navigation

Tap the Download Button to update the GPS data manually. The figure on the left shows how to download using the synchronization connection.
Tap the Setting Button in the Satellite Data Update main screen to open the dialog in the left figure.
Check the expiration checkbox to activate the reminder function on the due date.
2 The default value is checked. The system will automatically update the data when online. Costs will be incurred when connecting over the GPRS, so consider carefully before activating this function.
After setting your Pocket PC to the following connection mode and activating the automatic update and Internet connection functions, the system will automatically download the latest GPS information periodically.
- Synchronization connection. Make sure that your Pocket PC is connected to the PC, and that the PC is online.
- Wireless LAN connection.
- GPRS connection.
3-6

When the GPS data has expired, the relevant message displays on the top of the screen.
The icon reminds you that your GPS data has expired.
2 Tap the Notification Button to open the message window.
3 Tap to close the message window.
Location SMS
Tap Programs, GPS, and then Location SMS.
You can utilize the GPS function offered by your Pocket PC, to send the matching location automatically found by this program and the necessary message to your contacts. This could be helpful in preventing kidnapping, reporting disastrous situations, calling for help in emergencies or locating an individual. In addition, we have formulated many SMS templates based on different situations for your convenience.

-
It is better to execute this program at a location with clear signal.
-
Tap to open the Contacts screen, if set up in advance, you can choose contacts directly.
You can directly enter mobile phone number in the To area. If there is more than one recipient, please use “;” to separate recipients.
3 You can directly enter your message in this area, such as landmarks, features or street names.
Automatically searches for GPS information.
5 Tap to allow you to select, add, edit, or delete your most used messages.
6 Tap to allow you to send SMS messages and report your location.

- Select in the main screen, once in the screen shown on the left, tap on any message and tap OK Button to select.
Further, by pressing and holding anywhere on the screen, together with the pop-up menu, you can add, edit or delete your most used messages. - The content of the message that your recipient views looks similar to what is shown on the left. Actual messages differ depending on the recipient's device.
GPS Viewer
Tap Programs, GPS, and then GPS Viewer.
You may use this Pocket PC to automatically search the GPS coordinates of your location and check if the GPS functions work properly.


-
Run this program in a location with good signal reception.
Greenwich Mean Time (GMT): After connecting to a satellite and obtaining the GMT, it will be displayed on the screen. Tap to set the satellite time as the system time.
Report GPS tracking information.
3 Tap to change the unit.
Switch to Satellite mode. -
Tap Satellite to switch to Satellite mode.
1 Red:Satellite detected (In View). Blue:Satellite data detected (Data Valid). Green:Tracking completed (Tracker).
2 Signal strength: The larger the figures, the stronger the signal.
3Satellite ID: The IDs expressed in numbers in this field correspond to the IDs on the earth image above.
Switch to Compass mode.
4 Using the Phone /
The Phone feature on the Pocket PC allows you to perform the following tasks:
Make and receive calls.
Quickly make calls or listen to voice mail without entering phone numbers using Contacts, Speed Dial, or your Call Log.
Check the Call Log to see who has called, whom you have called, add a new number to Contacts, and access notes taken while you were on a call.
Receive calls and easily take notes during the call.
Send SMS messages.
Customize how your phone rings.
To switch to the Phone function, press the button on the lower part of the Pocket PC or tap and then Phone.
Caution!
- To avoid distraction and affecting driving safety, never use your Pocket PC while driving an automobile or any other moving vehicle.
- Make sure that the SIM card is properly installed in your Pocket PC and the Phone is already turned on before you use the functions described in this section.
- When you are on a plane, in a medical facility or at a gas station where wireless communications devices are not allowed and must be turned off, please go to Wireless Manager and select the ALL OFF Button to turn off your Pocket PC's mobile phone, Bluetooth, and wireless LAN functions. By pressing the "Power Button" of the Pocket PC, you only turn off the display.
- The Phone function relies on the Pocket PC main battery for power. Maintain the main battery power level to assure call quality and the normal operation.
Installing and Removing the SIM Card
1 Insert the SIM card into the SIM card slot with its golden contacts facing down. Follow the picture indicated on the Pocket PC.
2 Main battery
3 Back cover
5 Main battery lock
4 Follow the direction in the picture to install the main battery.
- Installing the SIM Card



- Installing the Battery



- Tap the ALL OFF Button in Wireless Manager to turn off your Pocket PC's mobile phone, Bluetooth, and wireless LAN functions.
- Press the "Power Button" of the Pocket PC to turn off the screen.
- Remove the back cover, unlock the main battery lock and remove the battery.
- Insert the SIM card into the SIM card slot with the golden contacts facing down. Use according to the picture labelled on the Pocket PC. Or remove the SIM card horizontally.
- Reinstall the main battery and then lock the main battery lock.
- Slide the back cover into the groove, and reinstall the back cover.

Using the Phone
Microphone
2 Earphone
Phone Speaker
4 Phone Microphone (Bottom of Pocket PC)
| Combination Method | Operation | Answer or End a Call | Adjust Earphone Volume |
| Hold the Pocket PC manually for calls | Hold the Pocket PC and position the speaker close to your ear and the microphone close to your lips. | Press Send Button or End Button on the lower part of the Pocket PC. | While answering a call, push the volume control key on the side of the Pocket PC to test the microphone volume. |
| Install the external headset | Place the earphone in your ear and position the microphone to your lips. | Use the line control function. Press the button on the headset to answer or end the call. Except the Bluetooth headset, when the phone is ringing, hold down the button to reject the incoming call. | Use the knob on the headset to adjust the volume of the microphone during a call. |
Adjusting the Phone Volume

Tap on the top and adjust all programs' sound functions under. Adjust the phone sound volume under
-
When there is no call, you can push the volume control key on the side of the Pocket PC or use the stylus to tap the speaker icon Tap and then to adjust the ring volume of the incoming call.
-
Push the volume control key on the side of the Pocket PC or tap and then to adjust the phone volume. You can only do this during a call.
-
Vibration mode: The speaker icon
on the top changes to
- Mute mode: The speaker icon
on the top changes to
Here is how to adjust the proper volume:
- If earphones are used with the Pocket PC to make calls, set the volume according to actual personal needs.
- If earphones are not used with the Pocket PC and not held close to the ear for calls but similar to hands-free operation, it is recommended to set the sound volume for the top two levels.
- For holding the Pocket PC close to the ear directly for calls, it is recommended that you set the volume to the lower four levels. It is recommended not to use the top two levels because the volume is high and may affect your hearing.
Turn on or turn off the speakerphone:
- Enable the speakerphone: While answering a call, tap Speaker on to turn on.
- Disable the speakerphone: Tap Speaker off to turn off.
Turning the Phone On or Off and Making Calls

Adjustearphone volume
Rear side: The SIM card is located below the battery.
3 Send Button
4 End Button
- Open the Pocket PC back cover and remove the main battery.
- Install the SIM card properly. As shown in the direction on the Pocket PC, pay attention to the position of the cut corner on the SIM card when you insert it into the card slot. The golden contacts of the SIM card should face down.
- Reinstall the main bettery and the back cover properly.
- Turn on the phone: Tap the icon. When the message window appears, tap "Turn off flight mode," and input the PIN and wait for the phone to turn on. The icon changes to

- Dial: Press to enter the Phone screen. Use the stylus to tap the telephone number and then tap the Enter Button.
- Answer a call: Press .
- End a call: Press
- Turn off the phone: Tap the icon. When the message window appears, tap "Turn on flight mode."
The following table shows the icons that you may see on the Navigation Bar on the top of the screen.
| Signal Indicator | Description |
| ∅ | SIM card unavailable. |
| Yx | The phone is turned off. To turn it on, tap this icon. |
| ... | Network is searching or unavailable. |
| Y! | Phone connection unavailable or network error. To turn it off, tap this icon. |
| Yll | The phone is turned on and signal reception is normal. To turn it off, tap this icon. |
| Cll | Active call. To switch back from other programs, tap this icon. |
| C+ | Call forwarding active |
| ... | Calls are forwarded |
| ! | Missed call |
| A | Roaming mode |
Toolbar


Smart Dialing: Enter the portion you remember and the system will use the fuzzy comparison method to list the matching contacts at area on the figure.
Please refer to the keyboard shown on the screen to enter information including the phone number and letters.
2 Tap a contact to view contents.
3 Provides the relevant menu. For example, select Options to change the phone setup such as ring tone, vibration mode, PIN code, etc. Or select Send Text Message to send SMS message.
4. Hide Keyboard Button: Tap to expand the contacts display area, and then tap Keyboard Button to restore the keyboard.
⑤Speaker on Button: While answering a call, tap to enable the speakerphone.
Keypad Button: Tap to return to the keypad.
Call from Contacts
Phone numbers entered in Contacts can be used to quickly locate phone numbers and make calls.

- In the contact list, tap and hold the contact to display a pop-up menu.
- Tap Call Mobile or Call Work on the pop-up menu.
- Tap a contact to display the details.
Call from Speed Dial
On the Phone screen, tap Speed Dial Button to enter the following
screen.

Tap and hold on a certain contact. The pop-up menu provides the Delete and Edit options for phone setup.
2 Tap to redial this number. Remember that this code (for example, "2") you want to dial can also be dialed from the number area in the Phone screen by tapping on "2".
3 Tap Menu and then New to show the Contacts list. Tapping a Contacts name and number will add it to the Speed Dial list. A maximum of 99 numbers are allowed.
Tap Call History Button on the Phone screen to enter the following screen.



- Tap Menu and then Filter to list the categories. To search, tap By Caller and follow the screen instructions to complete the operation.
2 Tap this icon to radial this number immediately.
3 Tap and hold the phone number area and tap the option you need on the pop-up menu. For example, tap Call to redial this number, tap Save to Contacts to add this number to the Phonebook.
4 Tap Menu and then Delete All Calls to delete all call records. Or tap Call Timers to view the number of calls, call time and manage call records as shown in the figure on the left.
Customize Your Phone
Tap Menu, Options, and then the Phone, Services, Network, Skin, Appreciation software or Others tabs to modify the relevant service setup. Note that the setup values you can change here depend on the services provided by your telephone company.


Tap the Appreciation software tab.
Make sure that you have checked "SMS Zoom." When you receive an SMS, a large mail icon will appear on the upper right of the Today screen, and you can open your newly received message by tapping on this icon.
2 If you check "Call Filter" and "Scenarios," the representing icons will appear on the lower right of the Today screen.
Tap the Others tab.
GPRS Setting: You can set the option for GPRS connection.
2 Broadcast Channels: If your telephone company provides this service, you can activate it.
3Band: You can set the band for different regions.
Tap Menu, Options, and then the Phone tab.

You can set the ring type as ring, vibration or mute.
2 If you want to use a customized ring tone file, use the synchronization program on your desktop computer to copy the .wav ring tone file to the /Windows/Rings folder on the Pocket PC. You can then select this ring tone from the Ring tone list.
Set the key sound for dialing.
4 You can set a PIN (Personal Identity Number) to block unauthorized access to your phone. Your first PIN is provided by your phone service provider.
Add Ringtone
Tap, Programs, Phone, and then Add Ringtone.

- All of the music files stored in your Pocket PC or storage card will be listed, please select the new ringtones which you would like to add.
- Tap Add Ringtone Button, then you can enter the Phone tab for telephone environment settings and select your ringtone files from the Ring tone list.
Phone Application Programs
Caution!
Before you can use the functions described in the Phone Group. Make sure that the SIM card is properly installed in your Pocket PC and the Phone is already turned on.
SIM Manager
If your Pocket PC does not include this function, it means it is not supported and you can skip this chapter.
Tap, Programs, Phone, and then SIM Manager.
Standard Display
SIM Manager manages the SIM Phonebook and duplicates the
Phonebook entries.

SIM Phonebook
2Name or Pos.: Tap on the title of the columns, and when the button appears it is possible to sort.
3 Tap and hold a Phonebook entry to duplicate it to Contacts.
4 Contacts: The contact's mobile number will be displayed in this column. If none is available, then the office number will be displayed.
Tap and hold a Contacts entry to duplicate it to the SIM Phonebook.
Using the Phone
The following are the shared functions for standard screen or fullscreen display:
Menu Button: Provides the appropriate function table.
SMS Management: Enter the SMS management screen.
■ New SIM Contact: Add a new phonebook entry to the SIM card.
- Refresh: Tap to refresh the displayed contacts and SIM card information, after the Contacts are updated.
7 Standard Button: Provides Standard, SIM, Contacts three switching modes.
Full-Screen Display
When switching to fullscreen display, the fullscreen display for SIM card phonebook or Contacts will be as shown as per the illustration below. This will enable the phonebook contacts to be easier to read and more precise management can be conveniently performed.

- Tap and hold a Phonebook entry. Then, tap Dial on the pop-up menu to call this contact.
- Choose Send SMS from the list, to enter the preparation screen for sending SMS.
- Tap and hold a Phonebook entry to be duplicated. Then, tap Copy to Contacts on the pop-up menu to copy to Contacts.
The function descriptions of this section are for standard screen and fullscreen display. Copying phonebook information between the SIM card and Contacts is either by "select one, select multiple, or select all" methods. For precise management of your phonebook that can be conveniently performed.




1 Tap on the in the title to select all.
2 Tap on the in front of a phonebook data entry to select this singl entry.
3It is also possible to select multiple phonebook data entries.
In the SIM Phonebook area, tap and hold the selected phonebook data to select the function and copy to Contacts.
In the Contacts area, tap and hold the selected phonebook data to select the function and copy to SIM Phonebook.
Tap Menu and then SMS Management to enter the SMS management screen and to display the original SMS contents on the SIM card.

Double tap the number in the Pos. column to view the corresponding SMS contents.
2 Tap the SMS you want to delete. When it is highlighted, tap Del selected SMS Button to delete this message from the SIM card.
3 Return to the SIM Manager screen.
SIM Tool Kit
Tap, Programs, and then SimTKUI (SIM Tool Kit).

This screen is for reference only. The actual screen is based on the service items provided by your telecom company.
Tap any service item.
2 Select Button: Launch service item. Follow the screen or voice instructions.
Tap, Programs, Phone, and then SMS Sender.
Tap, Messaging, and then New.
Press to bring up the Phone screen. Tap Menu and then Send Text Message.
Enter the composing SMS screen in Messaging.

1 "Text Messages" means you are editing SMS.
2Input the mobile phone number.
3Input the messages you want to send.
Tap Menu and then My Text to select canned messages or to edit your Text Messages.
Tap to send SMS message.

Tap

Programs, Phone, and then Speed Dial.
Hot Key Switch

Tap the box according to the functions provided by the system.
2 Tap to switch between these functions: Frequency Dial Index Dial.
3 Tools Button: Provides the relevant menu. For example, select Settings to set the interface as Frequency Dial or Index Dial. Select Sound on/off to set the sound for tapping the screen.

Tap Tools and then Color and Text to enter the Setting screen shown on the left. You can set the text font, text color and button background color according to your personal preferences.
1Font
2Text color
Button background
Preview area

Frequency Dial screen
Tap any phone entry box to speed dial.
2 Tap and hold the box, then select appropriate command from the pop-up menu.
3 Sort according to the number of calls in descending order. The upper left corner has the most number of calls while the lower right corner has the least number.
4: Tap to view the previous or next page.
5 Tap to switch to the Frequency Dial screen as shown on the left.
Index Dial

Index Dial screen
Switch to the Index Dial screen as shown on the left.
2 Tap on any letters. The content displayed are the data created in Contacts. If you did not create any data in Contacts, the screen is blank.

0
The letter "F" appears on the upper left side of the screen (see left). This indicates that this page contains all address data that starts with "F". The English Address Book is arranged alphabetically using the First Name.
2 Tap any box to speed dial.
3: Tap to view the previous or next page.

Tap, Programs, Phone, and then Call Filter.


Tap Add New List Button to add a new Block List.
2 Tap and hold an entry in the list. Select from the pop-up menu to manage the list according to your needs.
3Tap Add New List to add a new Allow List. Tap and hold any entry in the list to display the pop-up menu.
4 Add New List Button
Call History Button: Blocked call records.
Options Button

Synchronize Button: Tap Options and then Synchronize to activate the functions for this button. The system will synchronize the names according to the current Contacts entries but without updating the phone numbers.

Find Button: Helps you find entries conveniently if there are lots of entries in the list.

About Button: Information about Call Filter.

Add to Block List Add to Allow List


Accept "Allow List" calls only
Accept all calls
Hang up "Block List" calls
Hang up all calls

Tap Add New List Button in the Call Filter screen to enter the screen shown on the left.
Input name and telephone number.
Add to Block List or Allow List.
3OK Button
4 Cancel Button
- Tap and hold a contact in the Contacts screen. Select Add to Call Filter from the pop-up menu to add a new entry to the Block List.
Tap Options Button in the Call Filter screen to enter the screen shown on the left.
Call tab: Set to accept or reject call.
History tab: Set the time for keeping the record.
Synchronize tab: Activate or deactivate the functions of Synchronize Button in the Call Filter screen.
Status tab: Set to activate or deactivate the Status icon on the lower right of the Today screen. If activated, the icons 88 or will show. Tap to view the filter status.
Tap the icon or on the lower right of the Today screen to display the Call Filter Status window.

Display Call Filter setting status.
- Tap to hide the Call Filter Status window.
5 Customize Your Pocket PC /
You can adjust the Pocket PC settings according to your personal preferences and install other programs.
Adjusting Settings
To see available options, tap Settings, then the Personal or System tab located at the bottom of the screen. The following utilities allow you to adjust the settings based on your personal work style.
Clock & Alarms, to change the time or to set alarms
- Menu, to customize what appears on the menu, and to enable a pop-up menu from the New button
Owner Information, to enter your contact information
Lock, to limit access to your Pocket PC
Power, to maximize battery life
Today, to customize the look and the information that is displayed on the Today screen
Notifications
Your Pocket PC reminds you in a variety of ways when you have something to do. For example, if you've set up an appointment in Calendar, a task with a due date in Tasks, or an alarm in Clock & Alarms, you'll be notified in any of the following ways:
A message box appears on the screen.
A sound, which you can specify, is played.
A light flashes on your Pocket PC.
The Pocket PC vibrates.
To choose reminder types and sounds for your Pocket PC, tap and then Settings. In the Personal tab, tap Sounds & Notifications. The options you choose here apply throughout the Pocket PC.
Power Preference Settings
Tap, Settings, the System tab, and then Power.
View the power usage condition or perform the relevant power management settings.

Main battery state : High power




Power icon
Check this item, so that when you accidentally press the hardware buttons on the Pocket PC, the Pocket PC will not exit the sleep mode. This will prevent unnecessary power consumption if a button is being pressed accidentally and not being discovered in time.
3Checking this item displays the power icon on the upper right side of the screen.
4 Advanced tab: Set the Pocket PC to turn off automatically after a period of inactivity.
Backlight

Tap, Settings, the System tab, and then Backlight.
- Battery Power or External Power tab: Set the relevant backlight functions.
- Backlight Level tab: Adjust the backlight level.
Microphone
| Profile | Microphone | Cause |
| * Voice Commander voice control | Turn the volume down and find the proper volume setting for better recognition of system. | Surrounding interference recorded when volume up. |
| Speech recording | Turn the volume up. | More distance from the lecturer more interference recorded. |
N^* Used for the version built in "Voice Commander."

RECORD Microphone Gain Adjustment


This document lists the functions, specifications, and illustrations for reference only. The actual purchased product should be taken as the standard.
Adjust Volume
Push the volume control key on the side of the Pocket PC. Or use the stylus to tap the icon on the top of the screen to adjust all program sound functions under Adjust the phone volume under

- Adjust volume: When set to On, use the stylus to tap and drag the slider up and down to adjust the volume. You can also push or on the side of the Pocket PC.
- Vibrate: Under Vibrate mode, the sound function of all programs will be replaced by vibration, including incoming call rings. The icon on the top changes to
- Mute: Under Off mode, the sound function of all programs will be turned off, including incoming call rings. The icon on the top changes to
Scenarios
Tap, Programs, Phone, and then Scenarios.


You can tap any Scenarios icon in the Today screen to enter Scenarios. After selecting a mode, this will become the Scenarios icon you selected.
Check this item to activate Scenarios.
2 Select an applicable mode.
3 Check this item to display the Scenarios mode icon in the Today screen.
4 Details Button: Set the relevant options for this mode, such as volume, backlight, etc.
Tap Details Button to enter the screen shown on the left. And then tap Settings Button to set the relevant options for this mode, such as volume, backlight, etc.
Quick Link
Tap. Settings, the Personal tab, Today, the Items tab, and then check Quick Link.


Items tab: Enter the Today setting screen with Quick Link Options.
2 Make sure that Quick Link is checked so that the Today screen can display this item.
Options Button: Check and select Quick Link to highlight it, and then tap Options to enter its settings screen.
4 Tap Move Up or Move Down to arrange the display order of these items in the Today screen.
Tap Options in the above screen to enter the screen shown on the left.
Use the scroll bar to view pages.
2 General tab: Program names that are checked will be displayed in the Today screen. Tap l again to deselect an item and it will not be displayed in the Today screen.
3 Advanced tab: Enter the Quick Link Advanced Settings screen.
4 About tab: Relevant information about Quick Link.
You can select a maximum of 27 icons. Items not supported by the system will not display.



Tap the Advanced tab to enter the screen shown on the left.
1 Set to enable or disable the use of the Big Icon.
2 Tap on arrowhead to select the number of lines for displaying Quick Link.
The icons of the programs you checked in the General tab are displayed in this area.
4 Tap an item in 3 area, and use the arrows here to arrange order in which the item will be displayed in the Today screen.
Description on the Today Screen
Tap this icon to link to Quick Link settings screen.
2 Your Quick Link settings. Tap the icon to quick link to this program.
Find and Organize Information
The Search feature on your Pocket PC helps you quickly locate
information.


-
Tap Programs, and then Search. Input the text you want to find and then select the data type. Tap on Search to start the search.
-
To find information that occupies a larger space, select Larger than 64 KB for Type.
Actually, you can use File Explorer to search for files and place these files into folders systematically. Just tap Programs, and then File
Explorer.

Tap to change folders.
2 Select the sort order for the list.
3 Tap the folder name to open folder.
4 Tap Menu and then New Folder to create a new folder.
- You can move files in File Explorer by tapping and holding the item you want to move, and then tapping Cut or Copy and Paste on the pop-up menu.
Navigation Bar and Command Bar
The navigation bar is located at the top of the screen. It displays the active program and current time, and allows you to switch to programs and close screens.
Use the command bar at the bottom of the screen to perform tasks in programs. The command bar includes menu names, buttons, and the Input Panel button. To create a new item in the current program, tap New. To see the name of a button, tap and hold the stylus on the button. Drag the stylus off the button so that the command is not carried out.

1 Tap to change volume or mute the Pocket PC.
2 Tap to select a program.
3 Tap to quickly select a program you have recently used.
4 Tap to see additional programs.
5 Tap to customize the Pocket PC.
Menu button.
Input panel button.
New button.
Pop-up menus
With pop-up menus, you can quickly choose an action for an item. For example, you can use the pop-up menu in the contact list to quickly delete a contact, make a copy of a contact, or send an e-mail message to a contact. The actions in the pop-up menus vary from program to program. To access a pop-up menu, tap and hold the stylus on the item name that you want to perform the action on. When the menu appears, lift the stylus, and tap the action you want to perform. Or tap anywhere outside the menu to close the menu without performing an action.

Tap and hold to display the pop-up menu.
Lift the stylus and tap the action you want.
3 Tap outside the menu to close it without performing an action.
Redefine Hot Keys
Tap Settings, the Personal tab, and then Buttons.


These hot keys can be redefined as launch keys for frequently used programs.
End Button and Send Button are exclusive phone functions so they cannot be redefined.
6 Synchronization /
Windows Vista Part
A PC with Windows Vista™ operating system can be used to enable connection and synchronize with your Pocket PC. The Windows Mobile® Device Center application can be used to manage your Pocket PC, and can provide Pocket PC access to other resources through the connected PC. The online services and application access can also keep the Pocket PC up-to-date with the connected PC. For example, if you make a modification to the Pocket PC, then this modification will be automatically applied to the appropriate information on the computer during the next synchronization, and vice versa. This way, the latest data can be ensured to be available no matter which computer is being accessed.
Important Installation Notice
Before you install Windows Mobile® Device Center, make sure that the USB cable on the Pocket PC is not connected to the personal computer. Connect the USB cable only after Windows Mobile® Device Center is installed.
-
Software installation: You could use the Getting Started CD or download Windows Mobile® Device Center from http://www.microsoft.com/downloads/ to install Windows Mobile® Device Center on the personal computer.
-
Hardware installation: The USB cable is a plug-and-play device. Use the USB cable to connect your Pocket PC to your personal computer.

- Using Windows Mobile Device Center
1 After installation is complete, the Setup Wizard helps you customize your synchronization settings.
Once you use the USB cable to connect the two devices properly, the Set Up a Partnership screen appears on the personal computer. Set it up according to your requirements. The green icon appears on the status bar of your personal computer to indicate that it is Connected.
Windows XP/2000/98 Part
A PC with Windows XP/2000/98 operating system can be used to enable connection and synchronize with your Pocket PC. Using Microsoft ActiveSync®, you can synchronize the information on your desktop computer with the information on your device. Synchronization compares the data on your device with your desktop computer and updates both computers with the most recent information. For example:
- Keep Pocket Outlook data up-to-date by synchronizing your Pocket PC with Microsoft Outlook data on your desktop computer.
Synchronize Microsoft Word and Microsoft Excel files between your Pocket PC and desktop computer. Your files are automatically converted to the correct format.
By default, ActiveSync does not automatically synchronize all types of information. Use ActiveSync options to turn synchronization on and off for specific information type.
With ActiveSync, you can also:
Back up and restore your Pocket PC data.
Copy (rather than synchronize) files between your device and desktop computer.
Control when synchronization occurs by selecting a synchronization mode. For example, you can synchronize continually while connected to your desktop computer or only when you choose the synchronize command.
Select which information types are synchronized and control how much data is synchronized. For example, you can choose how many weeks of past appointments you want synchronized.
Installing and Using ActiveSync
Important Installation Notice
Before you install ActiveSync, make sure that the USB cable on the Pocket PC is not connected to the personal computer. Connect the USB cable only after ActiveSync is installed.
- Installing ActiveSync: You could use the Getting Started CD or
download ActiveSync version 4.5 from
http://www.microsoft.com/downloads/ to install Microsoft ActiveSync
version 4.5 (or version above) on the personal computer. ActiveSync is
already installed on your Pocket PC.
- Hardware installation: The USB cable is a plug-and-play device. Use the
USB cable to connect your Pocket PC to your personal computer.

3. Using ActiveSync
After installation is complete, the ActiveSync Setup Wizard helps you customize your synchronization settings.
2Once you use the USB cable to connect the two devices properly, the Set Up a Partnership screen appears on the personal computer. Set it up according to your requirements. The green icon appears on the status bar of your personal computer to indicate that it is Connected.
3Click Explore on the Microsoft ActiveSync on the personal computer to access files in the Pocket PC. Just like using a personal computer, manage the files in the two devices.

Tap 7, Settings, the Connections tab, and then USB to PC.

- Factory setting defaults to checking the box.
- If you have followed the above installation and operation procedures and find that the connection between your Pocket PC and desktop PC still cannot be established, please uncheck the box shown on the left.
USB Synchronization
Before you start to synchronize, use the Pocket PC Getting Started CD or download tools from links to install synchronization tool on your personal computer. For more information on how to install, please refer to the Pocket PC Getting Started CD or online help. Synchronization tool is already installed on your Pocket PC.
ActiveSync synchronization settings:
- After installation is complete, the Setup Wizard will continue to guide you. Adjust the specifications according to your actual needs.
- Use the USB cable to connect the two devices properly and the Set Up a Partnership screen appears on the personal computer. Set it up according to your requirements.

1Click OK.
2 Click Next.
Check the items you want to synchronize.
4 Click Next.

Click Finish.

After installation is complete, the ActiveSync Setup Wizard helps you connect your Pocket PC to your desktop computer, set up a partnership so you can synchronize information between your Pocket PC and your desktop computer, and customize your synchronization settings. Your first synchronization process will automatically begin when you finish using the wizard.
The green icon appears on the status bar of the personal computer to indicate that it is Connected.
After your first synchronization, take a look at Calendar, Contacts, and Tasks on your Pocket PC. You'll notice that information you've stored in Microsoft Outlook on your desktop computer has been copied to your device, and you didn't have to type a word. Disconnect your Pocket PC from your computer and you're ready to go!
Synchronization Tool on Pocket PC
Once you have set up ActiveSync and completed the first synchronization process, you can initiate synchronization from your Pocket PC. To switch to ActiveSync on your Pocket PC, tap , and then tap ActiveSync.
For more information on how to use ActiveSync on your personal computer, run ActiveSync and refer to the ActiveSync online help. To learn more about the Pocket PC ActiveSync, switch to ActiveSync and tap and then Help. Just refer to the Help for more information.
After the synchronization is completed, tap Calendar, Contacts, and Tasks on the Pocket PC to view if the information saved in Microsoft Outlook on the personal computer is already copied to the Pocket PC.

On the Pocket PC site: Tap Programs and then ActiveSync.
View synchronization status.
View connection status.
3 Tap to connect and synchronize.
Tap to synchronize via Bluetooth or change synchronization settings.
Synchronizing using Bluetooth
Without using the USB cable to connect the two devices, you can still synchronize using Bluetooth. The greatest advantage is that you don't have to plug in and detach from the USB cable so often. This is especially useful for managing several Pocket PCs. For details on Bluetooth devices, refer to "Using Bluetooth" section.
7 Connections /
Connecting to the Internet
This section teaches you how to use GPRS wireless network connection. GPRS wireless networking is a convenient function for working at home or while traveling. You can use the Pocket PC to browse websites and read or send E-mails, SMS or MSN messages.
Make sure that your telecom company provides this service and apply for a SIM with GPRS function. If you already have a SIM card, all you need to do is apply for the GPRS function from your service provider. Current SIM cards can support GPRS networking functions.
Connection Wizard
Generally, you will only need to install the SIM card to your Pocket PC to simultaneously use the mobile phone functions. The system will automatically add the connection items for this SIM card. To verify: Tap

Settings, the Connections tab, Connections, and then "Manage
existing connections," the list will show the newly added network name.
If the system is unable to successfully add the connection to your SIM card, it is possible to use Connection Wizard.
Tap, Settings, the Connections tab, and then Connection Wizard.

- Select the country name from the list.
- Select the carrier name from the list.
- According to actual requirements, select the carrier name, and then tap Add Button or Edit Button. Or use the New Button to add the new network connection.
- Search Button: Detect the currently available telecommunication service. If it is found, use the Add Button to add the highlighted selection. If it is not found, the "New network" screen will be shown; please manually setup the network.
- Recovery Button: Restore to the original setup value.
- Tap Settings, the Connections tab, Connections, and then "Manage existing connections," the list will show the newly added network name.

Tap, Settings, the Connections tab, Connections, and then the Tasks tab.



-
As shown in the screen on the left tap "Add a new modem connection."
-
Enter the "Make New Connection" screen as shown in the screen on the left.
1 Input a new connection name for convenience in making connections in the future.
Select "Cellular Line (GPRS)."
3Lastly tap Next.


- Input the Access Point Name provided by your telecom company and tap Next.
- Input your personal information such as account number, and tap Finish.
Starting GPRS Connection




- Tap the or icon at the top of the screen and when a message window appears tap "Turn off flight mode" and input your PIN to turn on the Phone. The icon will change to while the icon changes to .
- Tap G, then tap Settings to link to Connections. You are ready to connect GPRS.
- Select "Manage existing connections" in Connections. Tap and hold on the newly created connection name, and then select Connect to finish GPRS connection.
- Input your account information in the Logon Network screen and tap to login to the network.
- After the connection is established, the icon will change to
- Now you can use the appropriate program to access the Internet, receive or send E-mails, etc.
Disconnecting GPRS

- Disconnect GPRS: Tap and the message window appears. Tap Disconnect.

- Turn off Phone: Tap and the message window appears. Tap "Turn on flight mode."
Using Bluetooth
Bluetooth is a short-distance wireless communication technology with an effective range under 10 meters (30 feet). When you enable Bluetooth function, the blue LED blinks once every 4 seconds.

Bluetooth Connection Wizard

Tap
Programs, Utilities, and then Bluetooth Manager.

Tap on any one of the icons on the left side of the Wizard screen, the system will ask you if you would like to activate Bluetooth. After activation, the LED indicator on the upper left will flash blue.
2 Tap here and the system will search for all nearby Bluetooth headsets.
3 Tap to configure your Bluetooth device.
4 Tap to enter the Bluetooth device pairing screen.

All nearby Bluetooth devices found by the system.
Tap on any one of the shortcut icons and you will be able to follow the on-screen instructions to pair with that particular device. Devices that have already been paired with are shown with a .
2 Tap on one of the icons which represent a Bluetooth headset, when a is shown, it means that you may use that particular Bluetooth headset.
Refresh Search Button: re-scan for all nearby Bluetooth devices.
4 Change viewing method.
Tap Bluetooth Manager Button in the Wizard Mode screen to enter this screen.
The system will search once again and add to the number of the devices that you may pair with.
Return to Bluetooth Wizard.
3 Tap to configure your Bluetooth device.

Tap Settings Button in the Bluetooth Wizard screen to display the Bluetooth Settings screen.

Tap the General tab
1. Bluetooth Status
Tap Open to enable Bluetooth function.
2 Tap Close to disable Bluetooth function. Make sure that you disable Bluetooth function when you need to save power or if you are in locations such as an airplane or hospital that ban the use of wireless devices.
2. Device Identify
Name: Other devices supporting Bluetooth can identify your Pocket PC by this name.
Address: This is the unique address of your Pocket PC.
3. Access
1 Check "Discoverable": Within an effective range of 10 meters (30 feet), all devices supporting Bluetooth can detect your Pocket PC and data transmission is performed with confirmation from the other party.
Uncheck "Discoverable": Your Pocket PC can transmit data to other devices but other devices cannot detect your Pocket PC.
Service

Tap the Service tab
Provide the settings about services of serial port, file transport and exchange vCard.
If you have Bluetooth GPS software, use the product as instructed and refer to the accompanied documentation and this section to register your Pocket PC as an effective serial port or search for other serial ports.


Tap the Serial Port tab
Register new serial port
- Tap Add to enter the Settings screen.
If you no longer need to use a registered serial port, tap this serial port under the "Name" column to highlight and then tap Delete to delete it.
- The figure on the left shows the settings screen for registering a new serial port.
Bluetooth Headset

Tap the Bluetooth Headset tab
-
Select a headset from the paired list.
-
Check "Use Headset."
FTP Sharing

Tap the FTP tab
Specify one of the folders on your Pocket PC as a shared directory.
CSD Type
Tap, Settings, the Connections tab, and then CSD Type.
You must first apply for Circuit-Switched Data (CSD) service from your telecom company before you can use this function. In short, this function is similar to the modem dial-up in a personal computer. By simulating the Pocket PC as a modem and connecting through the built-in GSM device, you can use the Pocket PC to access the web.

This figure is for reference only. The parameters shown in the screen will be based on the settings provided by your telecom company. The charge rate is regulated by your telecom company.
Connecting with a Personal Computer
For more information, refer to "Synchronization" section.
Wireless LAN Transmission
Tap the Wireless Manager icon on the lower right corner of the Today screen. For more information, refer to "Using Wireless LAN" section.

8 Using Wireless LAN /
Connecting to Wireless LAN
This section teaches you how to use the Pocket PC's built-in wireless LAN function to connect to the Internet. It is convenient for you to browse websites and send/receive E-mails through wireless networks at certain locations where wireless networking services are provided.
When you purchase credits for connecting to the Internet through a wireless LAN, you will be given the following information: an IP address, DNS name server address, Proxy server, port, and network key, etc. You need this information to setup and activate your connection. In some cases, you may need additional information to use a company's wireless connection, please confirm with the network administrator in your company.
If this is your first time using the wireless LAN function, firstly you should refer to the following "Configure Your Wireless Network" section for instructions for the necessary configuration settings. After you have completed the one-time configuration process, you only need to select the

icon in the Wireless Manager main menu for subsequent connections.
Select the icon on the bottom right of the Today screen.
Tap, Programs and then Wireless Manager.

This icon will show up on your screen whenever your Pocket PC has detected a usable wireless network and has connected to that network, indicating that your Pocket PC has successfully connected to the network hotspot (Access Point). At this point, the indicator on the upper left of your Pocket PC will flash orange.
2 Tap to enter the setup screen.
3 Tap to connect or disconnect to your wireless network, a × means that this function has been disabled.
When the screen shown on the left appears, please choose a wireless network that you can use, and then tap OK Button. Then, select Work, and tap Connect Button. The first time you use the wireless LAN function, your system will ask you to set the above mentioned settings, after that, your system will continually use the settings from your most recent successful connection.


Configure Your Wireless Network
WLAN Setup Scenarios
| Location | Select Networks | Proxy Connection | Network key or Access Point |
| Home | Settings, the Connections tab, Connections, the Advanced tab, Select Networks Button, and then select My Work Network from “Programs that automatically connect to the Internet should connect using:” menu | 1. Close Proxy connection2. Not required to set Proxy | 1. Authentication: Select Open2. Data Encryption: Select WEP to enable the entry bar regarding Network key |
| Office | Refer to the above and set as My Work Network | Settings, the Connections tab, Connections, the Tasks tab, select “Edit my proxy server,” and then check the Internet items to enable the entry bar about Proxy | Refer to the above and set the items for Network key |
| Café or restaurant | Refer to the above and set as My Work Network | 1. Close Proxy connection2. Not required to set Proxy | WLAN select different Access Point |
Configure Your Wireless Network
(Reference for a normal network setup)
You will need a correct IP address, DNS name server address, Proxy server, and connection port number to setup your connection. If you have purchased a wireless Internet service account, then the service desk at the location where you will be connecting will provide you with this information, or, you should obtain this information from the network administrator of
your company.


When your Pocket PC is unable to automatically detect or connect to a usable wireless network, please try to configure the network manually. Please refer to this section's settings instructions.
- Select the icon in the Wireless Manager main menu, a icon will display on the navigation bar.
- Then tap Settings, the Connections tab, Connections, and then the Advanced tab, the screen displays shown on the left.
- Select the Select Networks Button.


- As shown on the left, make sure that My Work Network is selected for both items, and finally tap ok to save and exit.
My Work Network is the WLAN connection method. As this option is from a choice of two, the next time you need to use the GPRS connection, you will have to refer to the above listed steps, select My ISP for the first item. - In the Wireless Manager main menu, select to enter the WLAN Utility screen.
- Then select the Configure Button to enter the WLAN setup screen.


-
Select name of a currently available network to enter the WLAN authorization setup screen.
-
Set accordingly to the rules and information provided by the hotspot location.
Authentication: Select Open
2 Data Encryption: Select WEP to enable the entry bar about Network key
Network key
Network index
- Tap and hold on the name of the network connection that you can currently use, then select Connect. When the ^ icon appears on the top of the screen, your wireless network has been successfully connected.
Configure Your Wireless Network
(Reference for Proxy setup)
To successfully configure your network, you will need the following information: a correct IP address, DNS name server address, Proxy server, and connection port number, etc. Please obtain the above listed information from your company's network administrator. If your company's networking environment doesn't need Proxy server settings, please close the proxy connection.
Tap, Settings, the Connections tab, Connections, and then the
Tasks tab.

When your Pocket PC fails to automatically detect or connect to a usable wireless network, please try using the manual method to configure your network settings. Please refer to the settings information in this section.
-
Select "Setup my proxy server" or "Edit my proxy server," as shown on the left.
-
In the Proxy Settings tab screen, make sure that the following items have been checked:
This network connects to the Internet
This network uses a proxy server to connect to the Internet
The above is applicable to an office environment that requires a Proxy setup.
For others that close the proxy connection, please do not check the box named "This network connects to the Internet" and skip the following procedures.
- Enter the name into the "Proxy server" field.
- Select the Advanced button and enter the advanced settings screen.

-
You can modify the settings by tapping the HTTP type.
-
Enter the number into the "Port" field. Finally, tap ok to save and exit.
9 Sending and Receiving Messages /
Tap and then Messaging.



Tap to select an account.
2 Tap to setup a new E-mail account.
3 Tap to select the highlighted account above.
4 Change the account settings. Or delete a message.
Functions of the Messaging screen:
1 Select the service and folder you want to display.
2Select the sort order for messages.
3 Tap to open a message.
4 Tap and hold to display a pop-up menu of actions.
5 Provides the relevant menu. For example, select Go To to switch to another account. Or select New to compose a message.
Tap to delete a message.
Sending and Receiving Messages
E-mails and SMS Messages
Refer to "Connecting to the Internet" section to learn how to connect the Pocket PC to the Internet and start using Messaging to send and receive E-mails and SMS messages.
This section explains the basic preparations and processing principles. If you have any questions, refer to online help about Pocket PC or synchronization.
Use Messaging to send and receive E-mails messages in either of these ways:
- Send and receive e-mail messages by connecting directly to an e-mail server through an Internet service provider (ISP) or a network.
- Synchronize e-mail messages with Microsoft Exchange or Microsoft Outlook on your desktop computer.
Inbox synchronization does not support synchronization with Microsoft Outlook Express.
Reference for using E-mail:
- Refer to "E-mail Server Setup" section.
- Refer to "Using E-mails and SMS".
Reference for using SMS:
- Refer to "Using E-mails and SMS" section.
- To send and receive SMS only, you only need to turn on the Phone (antenna icon on the Navigation Bar is). It is not necessary to connect GPRS to the network nor is it necessary to establish a new E-mail account and connection in Messaging.
Synchronizing E-mail Messages
If you want to synchronize e-mails with company or home usage, please refer to this section. E-mail messages can be synchronized as part of the general synchronization process. You will need to enable Inbox synchronization in synchronization tools. For information on enabling Inbox synchronization, see Help on the desktop computer.
During synchronization:
- Refer to "Connecting to the Internet" section. Select the partnership you want to establish under "Set Up a Partnership" and you can start to synchronize data. If you choose not to synchronize data, you can manually copy or move E-mails between the Pocket PC and a personal computer.
- E-mail messages in the "Outbox" folder on your Pocket PC are transferred to Exchange or Outlook, and then sent from those programs.
- Exchange or Outlook E-mail is supported.
- Mails in the Pocket PC Inbox folder will be transmitted to the personal computer and then sent out via Microsoft Outlook or Microsoft Exchange.
- If you delete mail in the Pocket PC, this mail will also be deleted from the personal computer the next time the two devices perform synchronization.
- SMS messages are not synchronized.
Connecting Directly to the Mail Server
For single-machine use, not combining office and home E-mails, please refer to "E-mail Server Setup" section.
You will receive messages directly from the mail server. This is irrelevant to personal computer use. You can work online or offline. When working online, you read and respond to messages while connected to the e-mail server. Messages are sent as soon as you tap Send, which saves space on your Pocket PC.
When working offline, once you've downloaded new message headers or partial messages, you can disconnect from the e-mail server and then decide which messages to download completely. The next time you connect, Inbox downloads the complete messages you've marked for retrieval and sends the messages you've composed.
Based on your preference, you can program the Pocket PC to receive mail for the last few days, receive subjects only or the entire mail, or just receive mail with file attachments smaller than a specified size. If you want to receive more or less mail, tap Menu, Tools and then Options to adjust the E-mail account settings according to your needs.
E-mail Server Setup
Refer to this section if you are preparing for single-machine use and not combining office and home E-mails. If you already have an E-mail account from your ISP or company network, you can use Messaging to send and receive mails and messages. To establish a new Messaging E-mail server on your Pocket PC, refer to the following sections.
- Obtain the following information from your ISP or company's network administrator for convenience in setting up the E-mail service.
E-mail address, account name and password
POP3 or IMAP4 server name for internal mail
SMTP server name for sending mail

- Setup a new E-mail account:
Tap, Messaging, and then select New E-mail account.

Is the source for your e-mail a corporate Exchange server or some other e-mail provider?

Typically, your Internet Service Provider (ISP), or other e-mail provider (POP/IMAP).


E-mail address
Enter e-mail address:
Try to get e-mail server settings from the Internet.
Privacy Statement

-
Select "Other" for the e-mail source.
-
Select "Other (POP/IMAP)" for the e-mail provider.
-
Follow the instructions on the screens to setup the E-mail account.
-
Refer to “Connecting to the Internet” section or “Using Wireless LAN” section to connect the Pocket PC to the Internet and you can start sending and receiving E-mails and SMS messages.
- Connecting to the E-mail server:
1 Tap Messaging, Menu, Go To, and then check "Other (POP/IMAP)".
2 Tap Menu and then Send/Receive.
Tap Menu, Tools and then Options to change the E-mail account.
Below is a brief description of the Messaging screen functions:

1 Select the service and folder you want to display.
2 Select the sort order for messages.
3 Tap to open a message.
4 Tap and hold to display a pop-up menu of actions.
Status bar
Tap to change the account settings.
7 Tap to delete a message.
Brief description on writing, sending, reading and replying (to) mail:
- Send and Receive Mail: Tap Menu and then New to compose a message and then tap Send to send it.

1 Tap To, Cc or Bcc to open the Contacts screen. As long as you have set up Contacts beforehand, you can just tap to select.
2 Tap the data area to input the E-mail adress, mobile phone number and subject directly. If there is more than one contact, use a semi-colon (;) to separate the addressees.
3POP/IMAP means to send E-mail, and Text Messages means to send an SMS message. Note that the same message cannot be sent as E-mail and SMS message at the same time.
Use the scroll bar to view the header.
Menu Button: Provides frequently-used functions for writing mail such as request return receipt, attach files to E-mail, select canned messages, edit canned messages or cancel mail.
⑥ Send Button: Send your messages.
- Read and Reply: Receive new mails by tapping Menu and then Send/Receive. Switch to the "Inbox" folder and tap to open. The following figure shows the open mail screen.

Besides reading the messages, provide frequently-used functions for replying to or forwarding.
- Change preference settings.
1 Set the Inbox Synchronization option in synchronization tools.
2 Tap Messaging, Menu, Tools, Options, and then the Accounts, Message ... tabs on the Pocket PC to set the appropriate options.
Direct Push Technology Alert
The Direct Push Technology alert function will enable you as a corporate user to never miss another e-mail, using the Pocket PC for the best business service. Through the synchronization feature, your Pocket PC can instantly and automatically receive important e-mails from Microsoft Exchange Server.
Direct Push Technology Alert Settings
The following description will explain how to setup the synchronization program on the Pocket PC end, and to directly synchronize the Pocket PC with Exchange Server. This way, your device under GPRS or wireless network connections will be able to receive in-coming e-mail alerts, and be able to instantly read the messages.
A reminder that if you selected the connection method to be wireless network, for power saving purposes when the Pocket PC enters sleep mode the connection will be broken. During this time you will not be able to receive instant e-mail. However, you will only need to press the "Power Button" to automatically complete the connection to the wireless network.

- Tap Programs, ActiveSync, Menu, and then Configure Sever.
If the Exchange Server synchronization has not been setup before, please select Add Server Source.
Tap to connect and synchronize.
2 Tap to modify the synchronization settings.




-
Obtain the server address, user name, network etc. from the company network administrator to successfully setup the server data.
-
Tap Menu and then Schedule. The Peak times and Off-peak times provide a As items arrive option, this is the direct push technology alert function.
Windows Live™ Messenger
To switch to Windows Live™ Messenger, tap Programs, and then tap Windows Live™ Messenger. Windows Live™ Messenger on your Pocket PC is an instant messaging program that lets you:
See who is online.
Send and receive instant messages.
Have instant message conversations with groups of contacts.
For more information on using Windows Live™ Messenger, tap and then Help.
To use Windows Live™ Messenger, you must have a Microsoft Passport™ account or a Microsoft Exchange e-mail account. You must have a Passport to use Windows Live™ Messenger Service. If you have a Hotmail® or MSN account, you already have a Passport. Once you have obtained either a Microsoft Passport or a Microsoft Exchange account, you are ready to set up your account.
Sign up for a Microsoft Passport account at http://www-password.com. Get a free Microsoft Hotmail e-mail address at http://www.hotmail.com.
Setting Up
The first time you use: Tap 4, Programs, and then Windows LiveTM Messenger.
On the Today screen, tap Messenger to display the Windows Live™ Messenger sign-in screen.
Before you can connect, you must enter Passport or Exchange account information.



Windows Live Messenger

Sign in as:
Online

Cancel
Sending and Receiving Messages
Working with Contacts
If you already use Windows Live™ Messenger on your desktop computer, your contacts will show up on your Pocket PC without being added again.
The Windows Live™ Messenger window shows all of your messenger contacts at a glance, divided into Online and Offline categories, or sorted by groups. From this view, while connected, you can chat, send an e-mail, block the contact from chatting with you, or delete contacts from your list using the pop-up menu.

Tap a contact to start a chat.
2 Provides the relevant menu. For example, select Add new contact to create a new MSN contact. Or select Sign out to quit from Windows LiveTM Messenger.
To see others online without being seen, tap Menu, Change status, and then select Appear Offline.
If you block a contact, you will appear offline but will remain on the blocked contact's list. To unblock a contact, tap Menu, Contact options, and then Unblock contact.
Tap a contact name to open a chat window.

View full chat.
Enter your message in the text entry area, and tap Send.
3 Return to the contacts list, and select a contact to chat with.
4 The contact you are chatting with.
5 Provides the relevant menu. For example, to invite another contact to a multi-user chat, select Options and then Add participant, and tap the contact you want to invite.
MMS Message
Tap, Messaging, and then MMS.
Tap, Programs, Phone, and then MMS Message.
The MMS Message mailbox is very similar to ordinary E-mail mailbox function. "Inbox" saves the MMS that you received while "Outbox" saves the MMS that you are going to send. "Sent" saves a backup copy of the MMS sent successfully. "Drafts" saves incompletely edited MMS messages.
Create and Edit MMS
How to compose a new MMS message:

- Tap, Messaging, and then MMS.


- Tap Menu and then New to add a new MMS.
Tap to change the MMS sort method.
2Select the folder types you want to display in the list.
3 Tap to manage your MMS mailbox.
4 Provides the relevant menu.
- The MMS template displays. You can edit freely.
Tap To button to select a phone number or E-mail address from your Contacts. You can tap the entry area to input the phone number or E-mail address also.
2 Tap to input the subject.
3 Tap the specified area to insert the picture/video file.
4 Tap the specified area to select the audio file.
Tap the specified area to edit text.
⑥ Provides the relevant menu.
7 Tap Send button to send the MMS messages.
Birthday Reminder
Tap, Programs, Utilities, and then Birthday Reminder.
Combines Contacts and this application, you may store birthdays and anniversary dates in the Contacts card first. When the day comes, a message will remind you to send a SMS, MMS, make a phone call or send an email to him/her and stay a warm connection forever.

9-18
- Using the main screen
A remark icon of a birthday or anniversary, tap the icon to show the details you stored.
2 Select the desired monthly calendar you want to view.
3 Tap here to set the corresponding features.
4 Tap here to add a new contact. - For adding a new contact, you may tap New on the main screen.
Use the scroll bar to scroll the pages.
2 Find the Birthday or Anniversary field and enter the data.


- For setting the corresponding features, you may tap Settings on the main screen.
1 Tap the check box to display a callback message for reminding.
The options of reminding methods. Remind you once: at 8:00 A.M. Remind you two times: at 8:00 A.M. and noon. Remind you three times: at 8:00 A.M., noon and 6:00 P.M.
3Select the desired background image of main screen.
4. When the reminding date you set comes, the Pocket PC phone will populate a message on the screen to remind you.
5. Tap the icon on the top of screen and tap Preview to enter the birthday or anniversary reminder settings screen.

- Moreover, you may tap the

or icons on the calendar
of main screen.
You may send a SMS, MMS, make a phone call or send an email to him/her after selected corresponding icons.
Show you that you ever sent greeting messages to this contact.
3Select one contact to be the message recipient.
10 Multimedia /
Using Camera
Tap, Programs, Multimedia, and then Camera.
- To take photos of scenery or of other people, turn the Pocket PC so the screen is facing you and when you are satisfied with the composition, press the button on the side of the Pocket PC.
- To take a picture of yourself, turn the Pocket PC around so that the preview mirror is facing you.
- Tap and then Messaging to send the picture as an attachment in an E-mail.

0 Shutter
Lens

Preview mirror
4 Adjust focus

Shooting Tips
To take a self-portrait, it is best to face into the light. For best photo results, avoid backlit or dark areas.
Camera Mode
You can use Camera to shoot pictures and videos. This section describes the Camera tools.

Exit Camera
2 Camera toolbar
Viewfinder
4 Open or close the toolbar
Switch between Camera and Digital Video modes
| Icon | Meaning |
| Photo mode: Normal, Timer, Continuous shutter, Portrait | |
| Activate “Timer” to select the fixed time for shooting a picture | |
| Activate “Continuous shutter” to select the number of pictures to be taken | |
| Choose landscape or portrait | |
| Enable or disable the flash function | |
| Display or hide the date | |
| Select file format | |
| Select resolution. The higher the resolution, the larger the picture files. | |
| Select scene | |
| Select storage path | |
| Enable or disable Wizard | |
| Select special effect | |
| Select picture frame | |
| Select Frequency |
Tap or to select Wizard. After you press the shutter button on the side of the Pocket PC, the Wizard will guide you through how to link to other programs conveniently. This section explains the Wizard tools.

Exit Camera
2 Photo-viewing area, retains the last photo just taken
Wizard toolbar
If "Continuous Shutter" is selected, it will directly open or use the last picture just taken when linking to other programs.
| Icon | Meaning |
| Return to Camera to continue taking pictures | |
| Delete current picture | |
| Connect to Messaging | |
| Connect to Multimedia Manager | |
| Connect to MMS Message | |
| Connect to Image Maker | |
| Connect to Image Wizard |
Tap to select "Continuous shutter" in the wizard mode. After you press the shutter button, you can preview all thumbnails just shot and delete the unnecessary one.

1Exit Camera
2 Tap the thumbnail that you want to delete
3 Tap on the toolbar to delete the unnecessary picture
Recording without entering the Camera screen: Directly press and hold the Recorder Button for a few seconds and then release to start recording. To finish recording, press the Recorder Button to stop.
Tap, Programs, Multimedia, and then Camera, DV Mode.
- Since only horizontal (landscape) mode is supported, please rotate your Pocket PC 90 degrees when recording.
- To shoot a video, turn the Pocket PC so the screen is facing you, press the
- Recorder Button on the side of the Pocket PC to start recording. To finish recording, press the Recorder Button again to stop.
- To shoot the footage of yourself, turn the Pocket PC around so that the preview mirror is facing you.

This section explains the Camera's digital video tools.
Exit Camera
2Digital Video Mode toolbar
Viewfinder
4 Open or close the toolbar
Switch between Camera and Digital Video modes
The recording format is 3GP, you can play back the video file on a personal computer.
| Icon | Meaning |
| Mc | Recording quality. The higher the resolution, the larger the file. |
| 3GP | Select file format |
| M2 | Select resolution. The higher the resolution, the larger the file. |
| A | Select scene |
| Enable or disable sound recording | |
| Select storage path | |
| N | Enable or disable Wizard |
| Select special effect | |
| 50Hz | Select Frequency |
Tap or to select Wizard. After you finish recording, the Wizard will guide you through how to link to other programs conveniently. This section explains the Wizard tools.

1Exit Camera
The photo viewing window stops at the first scene of the video you just recorded.
Wizard toolbar
| Icon | Meaning |
| Return to Camera and continue shooting videos | |
| Delete current video | |
| Connect to Messaging | |
| Connect to Multimedia Manager | |
| Connect to Windows Media |
Speed Shooting Using the Hardware Hotkeys

Capture Mode
Adjust Focus
Exit Camera
Switch between Camera and Video Recording modes
4 Open or close the toolbar
Camera Shutter/Video Recorder

Setting Mode/Wizard Mode

Use the Navigation Button to navigate up, down, left and right to select from the icons on the screen.
Press the middle button to execute selection.
Multimedia Manager
Tap, Programs, Multimedia, and then Multimedia Manager.
You can use Multimedia Manager to manage and view multimedia information such as pictures, music, videos, etc.
Preview Multimedia Information

1Select the folder you want to display.
2 Tap to change the order of the list.
Preview thumbnail. Set according to the multimedia information placed in the folder. If you are browsing pictures, tap a thumbnail to display the full picture. If you are browsing music or video, tap a thumbnail to play.
Tap and hold the thumbnail and when the pop-up menu appears, select the desired functions.
View Button: Select other types or auto-play pictures as a slideshow.
Tools Button: Create new folders, link to other usable programs and set the viewing method.
Show Type Button: Select to display as large or small picture and the number of pictures per row.
Tap to the upper directory.

0
2

123456
View Tool





Tap Multimedia Manager, View, and then SlideShow.
Double tap anywhere on the screen to exit the slideshow.
2 Playing the last picture while not in the slide show looping mode, tap the screen and then tap the icon to exit the slideshow.
Refer to the method described above to exit the slideshow and enter the screen shown on the left.
1Select the picture scale, rotation and view picture properties.
Link to other available programs.
3 Full-screen view. To exit full-screen mode, tap the screen and then tap the icon on the lower left corner of the screen.
View the previous or next picture.
Enlarge or shrink to the suitable screen size.
Zoom in or out.
Multimedia Manager Tools




Tap Multimedia Manager, Tools, and then Setting.
1 Slideshow tab: As shown on the left, this is the settings of the slideshow mode.
Association tab: Select the desired file type you want to open with Multimedia Manager.
3File Browse tab: Set the browsing method.
Tap Multimedia Manager, Tools, and then Delivery.
1 Tap thumbnail. The l in the upper left corner indicates that it is already selected.
2 Next: Select the program to link to. For example, if you select "Image Maker," you will go to Image Maker.
Image Maker
Tap, Programs, Multimedia, and then Image Maker.
Image Maker is used to create, edit and view pictures. Use it to view and edit the pictures you take. You can also use the relevant Image Maker commands and tools such as rotate, stretch, brightness, etc. to edit and process the graphics.

Drawing tool box.
2 Tap to utilize more drawing tools.
3 Drawing or image editing area. When the image file exceeds the viewing range of the editing area, tap the scroll button on the right or bottom of the screen.
4 File Button: Provides file management function such as opening and saving files.
Edit Button: Provides editing functions such as undo, copy and paste, etc.
Image Button: Provides special effects for pictures.
| Icon | Meaning of the Drawing Tool Box |
| □□ | Select foreground and background colors |
| ○ | Eraser |
| ▲ | Pick color |
| √ | Pencil for writing and drawing lines |
| Airbrush | Airbrush |
| Line | Line |
| Curve | Curve |
| Rectangle | Rectangle |
| Ellipse | Ellipse |
| Polygon | Polygon |
| Rounded rectangle | Rounded rectangle |
| A | Text |
| Select | Select |
| Fill with color | Fill with color |
| Magnifier | Magnifier |
| Brush | Brush |
| Icon | Meaning of the Drawing Toolbar |
| □ | New document |
| Open | Open |
| Save | Save |
Image Wizard
Tap, Programs, Multimedia, and then Image Wizard.
Image Wizard provides frames, icons, filters and simple drawing tools that you can use to process photos and pictures. Wizard will guide you to complete the process step-by-step. You can then choose to save the file or send it through E-mail or MMS Message.



10-14
Go to the next step.
Preview area
3 Select Background Picture: Select an existing photo or picture. For example, a photo you have taken.
Select Photo Frame Undo
Repeat
Furreturn.
Save
Return to the previous step.
Input a name for the file and select the file saving path.
Use system name and save to the specified path.
4 Send tab: Send through E-mail or MMS Message.
FM Tuner
Tap, Programs, Multimedia, and then FM Tuner.
This program is for listening to the radio with headset. The headset will improve radio quality with its built-in antenna.

Tool bar:
① Screen off: This function turns off the screen but leaves the program running. Turn on the power to activate the screen. When the Pocket PC enters sleep mode, the system will shut down the program.
② My Favorite: Manage My favorite radio station list.
③ Band: Change the band frequency. Use the fuction to change the local band rate when travelling overseas.
Show the selected band frequency.
Show the station frequency. Tap and edit the frequency to change the station. The marquee below shows the relevant information from the radio station.
4 The volume setting.
Show the My favorite station list. Tap an item from the list to listen to the station. Hold an item for a few seconds to save the current station.
⑥ Turn the sound on or off.
7 or: Seek to the first radio station.
or : Set the last or next frequency.


Set the station frequency.
Tap and edit the frequency to set a custom station.
Note: The frequency must be in the legal range.
2 Cancel.
OK.
4Delete the previous digit.
Tap the My Favorite Button in the main screen to set My favorite station.
Close and save the setting.
2 The default value is EUROPE. To change the setting, hold the desired tab for a few seconds.
My favorite station list.
Choose an empty item and tap the button in the tool bar to edit the station.
Tool bar:
+Add station
:Deletestation
: Edit station
: Set the position in the list
X: Close without saving
11 Companion Programs /
Microsoft® Pocket Outlook includes Calendar, Contacts, Tasks, Messaging, and Notes. You can use these programs individually or together. For example, e-mail addresses stored in Contacts can be used to address e-mail messages in Messaging.
Using synchronization tools, you can synchronize information in Microsoft Outlook or Microsoft Exchange on your desktop computer with your Pocket PC. You can also synchronize this information directly with a Microsoft Exchange server. Each time you synchronize, synchronization tools compare the changes you made on your Pocket PC and desktop computer or server and updates both computers with the latest information. For information on using synchronization tools, see Help on the desktop computer.
You can switch to any of these programs by tapping them on the menu.

Calendar: Scheduling Appointments and Meetings
Use Calendar to schedule appointments, including meetings and other events. You can check your appointments in one of several views (Agenda, Day, Week, Month, and Year) and easily switch views by using the View menu.

Tap to go to today.
2 Tap to display or edit the appointment details.
View menu.
Tap Menu and then New Appointment to create a new appointment.
You can customize the Calendar display, such as changing the first day of the week, by tapping Menu, Tools, and then Options.
Create an Appointment

Tap to return to the calendar (the appointment is saved automatically).
2 Tap to choose from predefined text.
3 Tap to choose from previously entered locations.
Tap to select a time.
Tap to select a date.
Notes is a good place for maps and directions.
- If you are in Day or Week view, tap the desired date and time for the appointment.
- Tap Menu and then New Appointment.
- Using the input panel, enter a description and a location. Tap first to select the field.
- If needed, tap the date and time to change them.
- Enter other desired information. You will need to hide the input panel to see all available fields.
- To add notes, tap the Notes tab. You can enter text, draw, or create a recording. For more information on creating notes, see “Notes: Capturing Thoughts and Ideas” section.
- When finished, tap ok to return to the calendar.
If you select Remind me in an appointment, your Pocket PC will remind you according to the options set in Settings, the Personal tab,
Sounds & Notifications.
Use the Summary Screen
When you tap an appointment in Calendar, a summary screen is displayed. To change the appointment, tap Edit.

Create Meeting Requests
You can use Calendar to set up meetings with users of Outlook or Pocket Outlook. The meeting request will be created automatically and sent either when you synchronize Inbox or when you connect to your e-mail server. Indicate how you want meeting requests sent by tapping Menu, Tools, and then Options.
Schedule a Meeting
- Create an appointment.
- In the appointment details, hide the input panel, and then tap Attendees.
- From the list of e-mail addresses you've entered in Contacts, select the meeting attendees.
The meeting notice is created automatically and placed in the Outbox folder.
For more information on sending and receiving meeting requests, see Calendar Help and Messaging Help on the Pocket PC.
Contacts: Tracking Friends and Colleagues
Contacts maintains a list of your friends and colleagues so that you can easily find the information you're looking for, whether you're at home or on the road.

Tap and enter part of a name to quickly find it in the list.
2 Tap to display the contact details.
3 Tap and hold to display a pop-up menu of actions.
This icon indicates that this particular contact entry is stored on your SIM card, so some of the information you will only be able to modify when the mobile phone is turned on.
5 Provides the relevant menu. For example, select Options to change the way information is displayed in the list.
6 Tap to create a new contact.
Create a Contact
- Tap New. And then select a contact type.
- Using the input panel, enter a name and other contact information. You will need to scroll down to see all available fields.
- To assign the contact to a category, scroll to and tap Categories and select a category from the list. In the contact list, you can display contacts by category.
- To add notes, tap the Notes tab. You can enter text, draw, or create a recording. For more information on creating notes, see “Notes: Capturing Thoughts and Ideas” section.
- When finished, tap ok to return to the contact list.

1 Tap to return to the contact list (the contact is saved automatically).
2 Tap to select a representative picture for this contact, when dialing, this picture will appear on your screen, making it easier to identify the contact which you are dialing to and adding a lot of fun.
Scroll to see more fields.
4 Notes is a good place for maps and directions.
Find a Contact
There are four ways to find a contact:
In the contact list, enter a contact name in the box under the navigation bar. To show all contacts again, clear text from the box or tap the button to the right of the box.
In the contact list, tap Menu, Filter and then select the type of contact that you want displayed. To show all contacts again, select All Contacts. To view a contact not assigned to a category, select No Categories.
To view the names of companies your contacts work for, in the contact list, tap Menu, View By and then Company. The number of contacts that work for that company will be displayed to the right of the company name.
Tap, Programs, and then Search, enter the contact name, select Contacts for the type, and then tap Search.
Use the Summary Screen
When you tap a contact in the contact list, a summary screen is displayed.

View contact details. All of the available contact information is listed, you can tap and use easily.
2 Provides the relevant menu. For example, select Edit to change the contact information. Or select Save to SIM or Save to Contacts to duplicate to Contacts or SIM phonebook.
3 Tap to view notes.
Tasks: Keeping a To Do List
Use Tasks to keep track of what you have to do.

Indicates high priority.
2 Tap to display or edit the task details.
3 Tap and hold to display a pop-up menu of actions.
4 Tap to change the status.
For example, tap Filter to select the category of tasks you want displayed in the list. Tap Sort By to select the sort order of the list. Or tap Options to change the way information is displayed in the list.
Create a Task
- Tap Menu and then New Task.
- Using the input panel, enter a description.
- You can enter a start date and due date or enter other information by first tapping the field. If the input panel is open, you will need to hide it to see all available fields.
- To assign the task to a category, tap Categories and select a category from the list. In the task list, you can display tasks by category.
- To add notes, tap the Notes tab. You can enter text, draw, or create a recording. For more information on creating notes, see "Notes: Capturing Thoughts and Ideas" section.
- When finished, tap ok to return to the task list.

Tap to return to the task list (the task is saved automatically).
2 Tap to choose from predefined subjects.
Notes is a good place for maps and drawings.
To quickly create a task with only a subject, check Show Tasks entry bar on the Options menu. Then, tap “Tap here to add a new task” and enter your task information.
Use the Summary Screen
When you tap a task in the task list, a summary screen is displayed. To change the task, tap Edit.

View task details.
2 Tap to show and hide additional summary information.
View notes.
4 Tap to change task.
Notes: Capturing Thoughts and Ideas
Quickly capture thoughts, reminders, ideas, drawings, and phone numbers with Notes. You can create a written note or a recording. You can also include a recording in a note. If a note is open when you create the recording, it will be included in the note as an icon. If the note list is displayed, it will be created as a stand-alone recording.

1 Tap to change the sort order of the list.
2 Tap to open a note or play a recording.
3 Tap and hold to display a pop-up menu of actions.
4 Tap to record.
5 Provides the relevant menu. For example, check View Recording Toolbar to show the Recording toolbar.
Tap to create a new item.
Create a Note
- Tap New.
- Create your note by writing, drawing, typing, and recording. For more information about using the input panel, writing and drawing on the screen, and creating recordings, see "Enter Information on Your Pocket PC."

1 Tap to return to the note list (the note is saved automatically).
2 Tap to show or hide the input panel.
3 Provides the relevant menu. For example, check View Recording Toolbar to add a recording to the note; or check Draw to write on the screen.
Word Mobile
Word Mobile works with Microsoft Word on your desktop computer to give you easy access to copies of your documents. You can create new documents on your Pocket PC, or you can copy documents from your desktop computer to your Pocket PC. Synchronize documents between your desktop computer and your Pocket PC so that you have the most up-to-date content in both locations.
Use Word Mobile to create documents, such as letters, meeting minutes, and trip reports. To create a new file, tap Office Mobile, Word Mobile, and then New. A blank document appears. Or, if you've selected a template for new documents in the Options dialog box, that template appears with appropriate text and formatting already provided. You can open only one document at a time; when you open a second document, you'll be asked to save the first. You can save a document you create or edit in a variety of formats, including Word Document (.doc), Document Template (.dot), Rich Text Format (.rtf), and Plain Text (.txt).
Word Mobile contains a list of the files stored on your Pocket PC. Tap a file in the list to open it. To delete, make copies of, and send files, tap and hold a file in the list. Then, select the appropriate action on the pop-up menu.

1 Select the type of folder you want displayed in the list.
2 Tap to change the sort order of the list.
3 Tap to open a document.
4 Tap and hold an item to see a pop-up menu of actions.
Tap to create a new document.
You can change the zoom magnification by tapping View and then Zoom.
Then select the percentage you want. Select a higher percentage to enter text and a lower one to see more of your document.
If you're opening a Word document created on a desktop computer, check
Wrap to Window on the View menu so that you can see the entire document.
Using the input panel, enter typed text into the document. For more information on entering typed text, see "Enter Information on Your Pocket PC."
To format existing text and to edit text, first select the text. You can select text as you do in a Word document, using your stylus instead of the mouse to drag through the text you want to select. You can search a document to find text by tapping Menu, Edit and then Find/Replace.

Tap to return to the document list (changes are saved automatically).
2 Tap and hold to see a pop-up menu of actions.
3Tap to format text.
4 Provides the relevant menu. For example, select Format to change formatting options.
⑤ Tap View and then check Toolbar to show the toolbar.
Excel Mobile
Excel Mobile works with Microsoft Excel on your desktop computer to give you easy access to copies of your workbooks. You can create new workbooks on your Pocket PC, or you can copy workbooks from your desktop computer to your Pocket PC. Synchronize workbooks between your desktop computer and your Pocket PC so that you have the most up-to-date content in both locations.
Use Excel Mobile to create workbooks, such as expense reports and mileage logs. To create a new file, tap Office Mobile, Excel Mobile, and then New. A blank workbook appears. Or, if you've selected a template for new workbooks in the Options dialog box, that template appears with appropriate text and formatting already provided. You can open only one workbook at a time; when you open a second workbook, you'll be asked to save the first.
Excel Mobile contains a list of the files stored on your Pocket PC. Tap a file in the list to open it. To delete, make copies of, and send files, tap and hold a file in the list. Then select the appropriate action from the pop-up menu.
Excel Mobile provides fundamental spreadsheet tools, such as formulas, functions, sorting, and filtering. To display the toolbar, tap View and then check Toolbar.


1 Cell contents appear here as you enter them.
2 Select cell contents for the resource of chart.
Insert Chart Button
AutoSum Button
⑤Zoom Button
Tap Format Chart Button to modify the relevant information, such as titles, scale, type and series.
Tips for Working in Excel Mobile
For more information on using Excel Mobile, tap and then Help. Note the following when working in large worksheets in Excel Mobile:
View in full-screen mode to see as much of your worksheet as possible. Tap View and then check Full Screen. To exit full-screen mode, tap View and then Full Screen to restore.
Show and hide window elements. Tap View, Show and then tap the elements you want to show or hide.
Freeze panes on a worksheet. First select the cell where you want to freeze panes. Tap View and then Freeze Panes. You might want to freeze the top and leftmost panes in a worksheet to keep row and column labels visible as you scroll through a sheet.
Split panes to view different areas of a large worksheet. Tap View and then Split. Then drag the split bar to where you want it. To remove the split, tap View and then Remove Split.
Show and hide rows and columns. To hide a row or column, select a cell in the row or column you want to hide. Then tap Menu, Format, then Row or Column, and then Hide. To show a hidden row or column, tap Menu, Format, then Row or Column, and then Unhide.
PowerPoint Mobile
View PowerPoint slides created in PowerPoint 97 and above versions on your desktop computer. The supported formats include .ppt and .pps files.

1 Select the type of folder you want displayed in the list.
2 Tap to change the sort order of the list.
3 Tap to open a file, and play the slides.
4 Tap to open the file you played last time.
5 Provides the relevant menu.

Tap on the lower left corner to open the menu. Tap End Show to quit.
Windows Media Player
Use Microsoft Windows Media Player for Pocket PC to play digital audio and video files that are stored on your Pocket PC or on a network. To switch to Windows Media Player for Pocket PC, tap and then

Windows Media.

Use full-screen to view video.
2 Display website. Find music or video to be played from website.
3 Return to the start of the current file or previous file.
4 Tap to play or pause.
5 Tap to skip to the next song.
Tap to adjust volume.
Audio/mute
3 Indicates the progress of the current track.
To enter the screen shown on the left, tap Menu and then Library.
1 Select Library.
2 Tap and hold the file or folder to be played, then tap Play or Queue Up.
3Menu Button: Tap Open File to play files that do not belong to the current library. Tap Update Library to update the file list.
Use Microsoft Windows Media Player on your desktop computer to copy digital audio and video files to your Pocket PC.
For more information about using Windows Media Player for Pocket PC, tap , and then tap Help.
Internet Explore
Using Internet Explore
Use Microsoft® Internet Explorer Mobile to view Web or WAP pages in either of these ways:
During synchronization with your desktop computer, download your favorite links and mobile favorites that are stored in the Mobile Favorites subfolder in Internet Explorer on the desktop computer.
Connect to an Internet service provider (ISP) or network and browse the Web. To do this, you'll need to create the connection first, as described in "Connect to the Internet".
When connected to an ISP or network, you can also download files and programs from the Internet or intranet.
To switch to Pocket Internet Explorer, tap and then Internet Explorer.
Refer to "Connecting to the Internet" section to connect the Pocket PC to the Internet and start browsing websites.
- Tap and then Internet Explorer.
- Input the site address into the address bar at the top of the screen and connect to this site.
- Use the scroll bar at the right side or bottom of the screen, or press the up or down button on the Pocket PC to view the contents of the entire website.

Input address here
2 Tap to launch
Back Button
4 Provides the relevant menu, such as. Favorites, Add to Favorites, Home, and Refresh.
Aside from keying in the address directly, you can also connect to websites using the following methods.
Tap the Favorites button, and then tap the favorite you want to view.
In the address bar, tap the arrow to choose from previously entered addresses.
To add a favorite link while using the Pocket PC, go to the page you want to add, tap and hold on the page, and tap Add to Favorites.

Tap the favorite you want to view.
2 Tap to add or delete a folder or favorite link.
- Tap the Favorites button to display your list of favorites.
- Tap the page you want to view.
You'll see the page that was downloaded the last time you synchronized with your desktop computer. If the page is not on your Pocket PC, the favorite will be dimmed. You will need to synchronize with your desktop computer again to download the page to your Pocket PC, or connect to the Internet to view the page.
The Mobile Favorites Folder
Only items stored in the Mobile Favorites subfolder in the Favorites folder in Internet Explorer on your desktop computer will be synchronized with your Pocket PC. This folder was created automatically when you installed synchronization tools.
Favorite Links
During synchronization, the list of favorite links in the Mobile Favorites folder on your desktop computer is synchronized with Pocket Internet Explorer on your Pocket PC. Both computers are updated with changes made to either list each time you synchronize. Unless you mark the favorite link as a mobile favorite, only the link will be downloaded to your Pocket PC, and you will need to connect to your ISP or network to view the content. For more information on synchronization, see Help on the desktop computer.
Synchronize Mobile Favorites
If you are using Microsoft Internet Explorer 5.0 or later on your desktop computer, you can download mobile favorites to your Pocket PC. Synchronizing mobile favorites downloads Web content to your Pocket PC so that you can view pages while you are disconnected from your ISP and desktop computer.
Use the Internet Explorer plug-in installed with synchronization tools to create mobile favorites quickly.
Create a Mobile Favorite
- In Internet Explorer on your desktop computer, click Tools and then Create Mobile Favorite.
- To change the link name, enter a new name in the Name box.
- Optionally, in Update, select a desired update schedule.
-
Click OK. Internet Explorer downloads the latest version of the page to your desktop computer.
-
Synchronize your Pocket PC and desktop computer. Mobile favorites that are stored in the Mobile Favorites folder in Internet Explorer are downloaded to your Pocket PC.
If you did not specify an update schedule in step 3, you will need to manually download content to keep the information updated on your desktop computer and Pocket PC. Before synchronizing with your Pocket PC, in Internet Explorer on your desktop computer, click Tools and then Synchronize. You will see the last time content was downloaded to the desktop computer, and you can manually download content if needed. You can add a button to the Internet Explorer toolbar for creating mobile favorites. In Internet Explorer on your desktop computer, click View, Toolbars, and then Customize.
Save Pocket PC Memory
Mobile favorites take up storage memory on your Pocket PC. To minimize the amount of memory used:
In the settings for the Favorites information type in synchronization tools options, turn off pictures and sounds, or stop some mobile favorites from being downloaded to the Pocket PC. For more information, see Help.
Limit the number of downloaded linked pages. In Internet Explorer on the desktop computer, right-click the mobile favorite you want to change and then Properties. In the Download tab, specify 0 or 1 for the number of linked pages you want to download.
12 Maintaining the Pocket PC /
Backup Utility
Tap, Programs, Utilities, and then Backup Utility.
Backup Utility is used to back up or restore files saved in the Pocket PC. You can back up personal data such as Calendar, Contacts, Tasks, Personal profile, Network settings, Messaging (E-mails and SMS), etc.
Storage Space
When making backups, you can choose the following storage spaces:
- My Documents: Data saved here may disappear when you perform a cold boot. It is recommended that you use this area only as temporary storage.
- External storage card
Wizard Mode

Tap Backup.
2 Tap Next Button and the Wizard will guide through the steps that follow.
Standard: Switch to the Standard mode.

Standard Mode
Backup your personal data to a storage space.

念 Tap the Backup tab.
Tap to check the items for backup.
2 Tap to select the storage space from the list.
3 Tap Backup Button to start the backup.
Advanced Button: Enter the Advanced settings screen.
Advanced Settings Options
Under the Backup Files screen, tap

Advanced Button to enter the
Advanced settings screen as shown below.




Check the options as required.
If you check this option, the Wizard will guide you through the steps to complete the operation the next time you open Backup Utility.
2 Cancel Button
3OK Button
If you checked "Auto backup files," tap to enter the screen shown on the left.
Select the backup option.
2 Select the site to backup to.
3 Pocket PC performs auto backup when the battery power is low.
4To backup regularly, tap to select "Auto Backup on schedule."


If you checked "Auto backup on schedule," tap to enter the screen shown on the left.
Backup frequency.
2 Tap the date button on the right of "Starting" to set the starting date.
3 Tap the time button on the right of "Starting" to set the starting time.
4 If you have selected "Weekly," tap the function button on the right of "Every" to set the day of the week to backup.
If you selected "Manage old backup files," tap to enter the screen shown on the left.
Tap the arrowhead to set the number of files.
2 Tap the files to be retained.
Restore Files

Caution!
- When restoring files, the system will delete all current data in the Pocket PC and replace it with the backup files.
- To make sure that files can be restored successfully, do not use the Pocket PC while performing restore.
- Restore cannot be stopped once it is started. Think carefully before proceeding.
- After restore completed, your Pocket PC will reboot.
Wizard Mode

Tap Restore.
2Tap Next Button and the Wizard will guide through the steps that follow.
Standard: Switch to the Standard mode.

Restore the backup personal data from a storage space.

Tap the Restore tab.
1Select "Latest" below "Restore From." Or select from the list.
2 Tap backup file name from the list under "File Name."
3Tap Restore Button to start restoring.
Adding or Removing Programs
Programs added to your Pocket PC at the factory are stored in ROM (read-only memory). You cannot remove this software, and you'll never accidentally lose ROM contents. All other programs and data files added to your Pocket PC after factory installation are stored in RAM (random access memory).
You can install any program created for your Pocket PC, as long as your Pocket PC has enough memory. The most popular place to find software for your Pocket PC is on the Pocket PC Web site (http://www.microsoft.com/windowsmobile/pocketpc/).
Add Programs Using Synchronization Tools
You'll need to install the appropriate software for your Pocket PC on your desktop computer before installing it on your Pocket PC.
- Determine your Pocket PC and processor type so that you know which version of the software to install. Tap and then Settings. On the System tab, tap About. In the Version tab, make a note of the information in Processor.
- Download the program to your desktop computer (or insert the CD or disk that contains the program into your desktop computer). You may see a single .xip, .exe, or *.zip file, a Setup.exe file, or several versions of files for different Pocket PC types and processors. Be sure to select the program designed for the Pocket PC and your Pocket PC processor type.
- Read any installation instructions, Read Me files, or documentation that comes with the program. Many programs provide special installation instructions.
-
Connect your Pocket PC and desktop computer.
-
Double-click the *.exe file.
1If the file is an installer, the installation wizard will begin. Follow the directions on the screen. Once the software has been installed on your desktop computer, the installer will automatically transfer the software to your Pocket PC.
2 If the file is not an installer, you will see an error message stating that the program is valid but it is designed for a different type of computer. You will need to move this file to your Pocket PC. If you cannot find any installation instructions for the program in the Read Me file or documentation, use synchronization tools Explore to copy the program file to the Program Files folder on your Pocket PC. For more information on copying files using synchronization tools, see Help.
Once installation is complete, tap Programs, and then the program icon to switch to it.
Add a Program Directly from the Internet
- Determine your Pocket PC and processor type so that you know which version of the software to install. Tap and then Settings. On the System tab, tap About. In the Version tab, make a note of the information in Processor.
- Download the program to your Pocket PC straight from the Internet using Pocket Internet Explorer. You may see a single .zip, .exe or *.zip file, a Setup.exe file, or several versions of files for different Pocket PC types and processors. Be sure to select the program designed for the Pocket PC and your Pocket PC processor type.
- Read any installation instructions, Read Me files, or documentation that comes with the program. Many programs provide special installation instructions.
- Tap the file, such as a .xip or .exe file. The installation wizard will begin. Follow the directions on the screen.

Tap 7. Settings, the Personal tab, and then Menu.

Check the box for the program.
If you do not see the program listed, you can either use File Explorer on the Pocket PC to move the program to the Start Menu folder, or use synchronization tools on the desktop computer to create a shortcut to the program and place the shortcut in the Start Menu folder.
Using File Explorer on the Pocket PC: Tap, Programs, File
Explorer, and locate the program (tap the folder list, labeled My Documents by default, and then My Device to see a list of all folders on the Pocket PC). Tap and hold the program and tap Cut on the pop-up menu. Open the Start Menu folder located in the Windows folder, tap and hold a blank area of the window, and tap Paste on the pop-up menu. The program will now appear on the menu.
Using synchronization tools on the desktop computer: Use the Explorer in synchronization tools to explore your Pocket PC files and locate the program. Right-click the program, and then click Create Shortcut. Move the shortcut to the Start Menu folder in the Windows folder. The shortcut now appears on the menu. For more information, see Help.
Remove Programs
Tap and then Settings. On the System tab, tap Remove Programs.

Tap a program name from the list under "Programs in storage memory" to highlight it and then tap Remove.
If the program does not appear in the list of installed programs, use File Explorer on your Pocket PC to locate the program, tap and hold the program, and then tap Delete on the pop-up menu.
Manage Memory
View Memory Status

Tap, Settings, the System tab, and then Memory.

C Tap the Main tab.
The status of Storage and Program memory.
2Find:Quick link to the Search program.

C Tap the Storage Card tab.

Current storage card memory status.
2 Tap to select the built-in or external storage card.


C Tap the Running Programs tab.
- Tap a program name in "Running Programs List" and when it is highlighted, tap Activate or Stop.
2Activate: Start running the program you selected.
Stop: Stop the program you selected.
Stop All: Stop all programs in the "Running Programs List."
Find Available Memory
Under certain circumstances such as insufficient memory, the Pocket PC cannot allocate memory automatically. Try to solve this problem through the following methods:
Tap, Programs, and then Search.

- To find files occupying larger amounts of memory, select "Larger than 64 KB" for type and tap Search.
- Then use File Explorer.




- Tap Programs, and then File Explorer. Use File Explorer to move the files you want to keep to external storage cards. Tap and hold the items to be moved, then tap Cut or Copy on the pop-up menu. Move to the storage card and then tap Paste.
- Use File Explorer to delete files that you no longer need.
Tap, Messaging, Menu, Tools, Options, and then the Storage tab.
Check "Store attachments on storage card" to save attached files from E-mails automatically in the storage card in future.
Tap, Internet Explorer, Menu, Tools, and then Options.
Tap Clear History and Delete Files to delete records of websites that you have browsed.
Maintaining the Pocket PC
Tap Programs, Notes/Word Mobile/Excel Mobile, Menu, and then Options.


- Enter the Notes file list screen.
-
Tap Menu and then Options.
-
Tap the "Save to" function button and select SDMMC from the list. This indicates that you are using your external storage card. Hereafter, new files will be automatically saved to this storage card.
Follw the same operation procedure for Notes in Word Mobile and Excel Mobile.
In addition, you can use the Rename/Move or Save As function provided by the program above to move or save files to the storage card.
System Information
Tap, Settings, the System tab, and then System Information.

Tap + or - to display or hide the system information.
13 Voice Commander /
Tap Programs and then Voice Commander.
Voice Commander is continuous voice recognition application software in the Pocket PC. Voice Commander allows the user to use their own voice to dial and control functions. Voice Commander has the following features:
- Fully voice-controlled system that allows the user to complete operations (such as dialing phone or running applications) quickly without using hands.
Uses Speaker-Independent (SI) recognition technology that allows the user to use the Pocket PC immediately without having to train or pre-record for the system. - Provides a Conversational UI for guiding beginners to issue voice commands through the conversational method. The user can then use commands easily without any practice.
- Provides the Voice tag and "digit model adaptation" function so that the user can customize personal settings and further increase recognition and convenience in usage.
The Voice Commander provided with this product does not need personal training or recording. You can use voice control to operate this Pocket PC immediately. Try calling out "Solitaire" to play. Tap the Voice Commander Button on the side of the Pocket PC and when the system prompts you to "Say Command," just say "Start Solitaire" and the Solitaire game screen will appear.
Starting Voice Commander
Here are two methods for running Voice Commander:
- Tap 1. Programs, Voice Commander, and then Voice Commander.
- Voice Commander Button. The system sets the button on the Pocket PC as the exclusive "Voice Commander" button. Just press this button to run Voice Commander.

Show the format of voice command.
Re-Start Button: Restart Voice Commander.
Menu Button: Settings: Setup Voice Commander. Help: About Voice Commander. Exit: Exit Voice Commander.


Tap, Settings, the Personal tab, and then Buttons to redefine the Voice Commander hot key or other hardware buttons.
Voice Command Format
Press the Voice Commander Button on the Pocket PC and enter the Voice Commander screen.
Voice Name dialing
Usage: Call
Example 1: Call Jennifer Lopez
Example 2: Call Jennifer Lopez at mobile
Voice Show Contact
Usage: Show
Example 1: Show Eric Clapton
Example 2: Show Eric Clapton at work
Voice Digit Dial
Usage: Digit Dial
Example: Digit Dial
(System: What number)
29109088
Start Application
Usage: Start
Example: Start Calendar
Voice Show Appointment
Usage: Today's/Tomorrow's/
This week's Appointment
Voice Play Music File
Usage: Play
Example 1: Play The Moment
Example 2: Play SHE album
Example 3: Play Music
Goodbye
Usage: Goodbye
Tips
- All the names in Contacts will automatically become recognizable contacts in the “Voice dialing” syntax. However, if the number of contacts exceeds 1000 entries, the system will not recognize the excessive entries. To add these entries to Voice Commander for recognition, tap Menu and then Settings or run Voice Commander Settings to check and add these contacts manually for voice recognition.
If your volume is too low or if your surroundings are so noisy that the system cannot recognize your voice, the system will prompt you "Please say again." Adjust the distance between yourself and your Pocket PC or reduce the noise and try again.
Tips
If the user has a heavy accent that may cause poor voice recognition, use any of the following methods to train the personal digital adapted model in order to increase recognition:
- Tap Menu, Setting, and then the Digit Training tab.
- Tap Voice Commander Settings and then the Digit Training tab.
Tips
- You can also tap Voice Commander, Menu, and then Exit to end Voice Commander.
If you open another program while using Voice Commander and it covers the Voice Commander screen, Voice Commander will terminate automatically.
Voice Commander Settings
There are two ways to run Voice Commander Settings:
Tap Programs, Voice Commander, and then Voice Commander Settings.
Tap Menu and then Settings while using Voice Commander.
Voice Commander Settings allows the user to personalize the Voice Commander settings, add and remove contacts or applications within the recognition range, record voice tags or play commands to prompt the user on how to say the correct command.
Contacts Settings Page
Tap Voice Commander Settings and then the Contacts tab. The setting page will list all the names and their status (whether or not it is selected, with or without voice tag) in Contacts.

1 Check box function
If a contact is checked, it can be identified normally. If unchecked, this indicates that it is not within the recognizable range. Please create a voice tag.
Lips icon: Voice tag is built.
3 Tap a contact name to highlight it for using with × buttons.
4 Play Button: Play the recorded voice tag for this contact and hear how it is pronounced.
Build Button: Record the voice tag for this contact again.
Delete Button: Delete the voice tag for this contact.
7 Contacts tab: Sets the voice commands for Contacts.
Application tab: Sets the voice commands for applications.
Digit Training tab: Sets the voice command for digital dialing.
Advanced Settings tab: Sets the length and sensitivity for digital dialing.
For example, record Alex Cooper in Contacts as Sweet Heart.
- Tap Alex Cooper.
- Tap Build Button.
- When you hear a beep, say the words "Sweet Heart" that you want to record.
- When you hear a second beep, say "Sweet Heart" again.
- After recording twice, the system will play the voice you just recorded to indicate that you have created a voice tag.
- At this time, a Lips icon appears to the right of your contact, Alex Cooper, to indicate that there is a voice tag created for this name. This is helpful in identifying which contacts already have voice tags.
- To create another voice tag, tap Build Button and repeat the steps above.
- Tap × Delete Button to remove the voice tag. The system will then restore the default voice for Alex Cooper.
Tips
- You can choose which Contacts are to be added to the recognizable range of the Voice Commander. By default, the system automatically adds all names within the recognizable range.
- If the number of Contacts exceeds 1000 entries, the system will not recognize the excessive entries. To add these contacts to Voice Commander for recognition, manually check the check boxes in front of the contact entries.
Application Settings Page
Tap Voice Commander Settings and then the Application tab and the Settings page will list the applications and settings installed by the Pocket PC on and then Programs (whether or not it is selected, with or without voice tag).
You can choose which applications are to be added to the recognizable range of the Voice Commander. By default, the system automatically adds all applications as recognizable targets in the < Application > syntax in "Voice open application." No matter when you install a new application, the system updates immediately and adds the new application within the recognizable range. This helps you save time spent in finding applications.

Check box function
If the application is checked, it can be identified normally. If unchecked, this indicates that it is not within the recognizable range. If the check box is gray and cannot be checked, this indicates that the item is unrecognizable. Build a voice tag to add a gray item into the recognizable range.
Lips icon: Voice tag is built.
3 Tapped application name is highlighted and can be used with × functions.
4 Play Button: Play the recorded voice tag for this application and hear how it is pronounced.
5 Build Button: Record the voice tag for this application again.
Delete Button: If there is a Lips icon, the voice tag for this application can be deleted and restored to the default system voice.
Application example: You want to record Windows Live™ Messengers as "Chat room."
- Tap Windows Live™ Messengers.
- Tap Build Button.
- When you hear a beep, say the words "Chat room" that you want to record.
- When you hear a second beep, say "Chat room" again.
- After recording twice, the system will play the voice you just recorded to indicate that you have created a voice tag.
- At this time, a Lips icon appears to the right of Windows Live™ Messengers to indicate that there is a voice tag created for this application name. This is helpful in identifying which applications already have voice tags.
- To create another voice tag, tap Build Button and repeat the steps above.
- Tap × Delete Button to remove the voice tag. The system will then restore the default voice for Windows Live™ Messengers.
Music Settings Page
Tap Voice Commander Settings and then the Music tab, the settings page will list the music files and configuration status of the specify folder in your Pocket PC or on your storage card.
If you add a new music file, the system will update in real-time, automatically adding the file to your recognizable range, saving you the time of searching for your music files.
The system will automatically activate all of the music files stored in the following folders:
- All folders on your storage card.
- The My Documents folder in your Pocket PC, or any folder that is inside the My Documents folder.
- If you want to transfer the files to your Pocket PC via the synchronization tools, then you must put the files in either the Playlists folder or the Music folder.

1 Check box function If the music file name is checked, it can be identified normally. If unchecked, this indicates that it is not within the recognizable range. If the check box is gray and cannot be checked, this indicates that the item is unrecognizable. Build a voice tag to add a gray item into the recognizable range.
Lips icon: Voice tag is built.
3 Tapped music file name is highlighted and can be used with functions.
Play Button: Play the recorded voice tag for this music file name and hear how it is pronounced.
Build Button: Record the voice tag for this music file name again.
Delete Button: If there is a Lips icon, the voice tag for this music file name can be deleted and restored to the default system voice.
Advanced Settings Page
The Sensitivity setting is for voice recognition. The "Length of phone number" setting specifies the maximum number of digits that can be entered as the phone number. These settings will improve recognition accuracy.

Sensitive: When you use this setting, the voice recognition system is not as strict while performing voice recognition tasks, in other words, under this setting the system will respond to your voice most of the time and you won't have many non-responsive situations. You should set the system to Sensitive when in continually noisy environments, for example when on a train or in a factory, etc.
Normal: Normal is the default setting and is best for the average environment.
Accurate: Under the Accurate setting, the system is more strict when performing voice pattern matching. Recognition errors are less likely to occur when you set the system to Accurate.
FAQ
Question: I want to make a call to my friend Andy Miller, but I'm tired of reading manuals. What do I need to know if I just want to make phone calls?
Answer: Make sure you have Andy Miller's name and phone number in the contact database. Press the Voice Commander Button, and say "Call Andy Miller." The system will guide you through it.
Question: I added a new contact but it is not recognized.
Answer:
- The system only recognizes English words and characters or digits. Any symbols or marks will be ignored. However you can still make a voice tag for these items.
- When the number of contacts exceeds 1,000 entries, the system will not recognize the excessive entries, until activated manually by the user.
- To have a look at the status of the contact's voice command attributes, please go to the Contacts setting page in Voice Commander Settings.
Question: I recorded a voice tag for my friend last month, but I forgot what I recorded. Do I need to redo the recording?
Answer: No! Just tap Voice Commander Settings, the Contacts tab, select the contact, and then tap Play Button.
Question: I performed digit training today, but I found that the accuracy is worse than before, what do I do now?
Answer: You can retry the digit training again in a “quiet” place. And if it still doesn’t help, disable the adapted model and use the default one. To disable the adapted model, tap Voice Commander Settings, the Digit Trainer tab, and then uncheck “Use adapted model.” Or just tap Remove All Button to remove the model. It will save you some memory this way.
Question: I accidentally activated Voice Commander, how can I abort it?
Answer: Say "Goodbye."
14 Specifications /
| Item | Description |
| Operating system | Windows Mobile® 6 Professional |
| Processor | Samsung SC3 2442, 400 MHz |
| Memory | 128 MB Flash ROM, 64 MB SDRAM |
| Display | 2.8", 240 x 320, 65,536 colors, TFT-LCD |
| Communication | ■ GSM/EDGE Quad-band 850/900/1800/1900 MHz ■ GPRS/EGPRS Class B, Multi-slot Class 10 ■ Bluetooth® v2.0 Class 2 + EDR ■ WiFi IEEE 802.11b/g |
| GPS | Built-in GPS module (SiRF Star III) TMC function supported * (* subject to change by region) |
| Expansion slot | MicroSD |
| Camera | Built-in 2.0 Mega Pixels Up to 1600 x 1200 Resolution |
| Interface/Audio | Built-in microphone and speaker External stereo headset jack |
| Interface/Data | USB Sync, headset jack |
| Power supply | Battery: 1530 mAh Li-Ion Polymer, rechargeable, replaceable AC Adapter: 100~240 VAC/50~60 Hz, 5V/1A DC |
| Environmental temperature | Daily operation: 0°C ~ 40°C; storage: -10°C ~ 50°C |
| Environmental humidity | 45% ~ 85% |
| Dimensions | 113 x 59.5 x 15.5 mm (LxWxH)146 g including battery |
| Optional accessories | Battery, Car charger, Bluetooth® Headset |
Design and specifications are subject to change without notice.
15 Regulation Notice and Safety Declaration
SAR Information
Read this manual carefully before using.
Warning: Reduced electromagnetic waves, please use properly.
GSM Head: 0.743mW / g (10g)
DCS Head: 0.441mW / g (10g)
CE WLAN Body: 0.127mW / g (10g)
Health and Safety Information
Electrical and Battery Safety
Use only the AC adapter provided with this product. Do not use similar items from other products. The provided AC adapter is for use with this product only. Do not use it for other electrical products.
- Follow the specifications of the battery manufacturer: Avoid charging the battery when the environmental temperature is higher than 45^ . Do not store or use the battery when the environmental temperature is higher than 50^ . Otherwise, battery expansion or leakage may occur.
- Do not attempt to disassemble, pound, pierce or damage the battery to avoid causing injury, danger or risk.
Application Environment Safety
- Do not directly expose the Pocket PC to any of the following environments: rapid changes of temperature, high temperature (such as direct exposure to sunlight or stoves), extremely low temperature, high pressure, areas with electrostatic discharge interference or dusty and humid places. Do not soak or wet the Pocket PC with water or any other liquid.
- Do not place the Pocket PC near electrical appliances (such as TVs, computers, scanners, disc players, faxes, hair dryers, etc.) that may generate electrostatic discharge interference.
- Never drop the Pocket PC nor subject it to strong impact.
- Do not use ordinary pen or any object with a sharp tip to tap the Pocket PC cover or screen (LCD panel) to avoid damaging and scratching the surfaces.
- Do not use corrosive or volatile liquids to wipe the Pocket PC. If necessary, use a soft cloth or tissue to wipe the Pocket PC.
Warranty Security
- In case the Pocket PC is damaged, kindly return it to your place of purchase. Do not attempt to disassemble this device on your own as this may void the warranty.
- If any hazards result from the failure of the user to comply with usage rules, we will not be held responsible for any resulting warranty claims.
Data Security
This company is not responsible for any data loss or damage to the Pocket PC due to improper use. Record important data in your notebook separately or use the USB accessories that come with this product to save important data to your computer or storage card.
Privacy Restrictions
- Some countries require full disclosure of recorded telephone conversations, and stipulate that you must inform the person with whom you are speaking that the conversation is being recorded. Always obey the relevant laws and regulations of your country when using the rewording feature of your Pocket PC Phone.
IMPORTANT SAFETY PRECAUTIONS
- When using this product, the safety precautions below must be taken to offset possible legal liabilities and damages.
Safety in airports, medical facilities, and inflammable environments
- When you are on a plane, in a medical facility or at a gas station where wireless communications devices are not allowed and must be turned off, please go to Wireless Manager and select the ALL OFF Button to turn off your Pocket PC's mobile phone, Bluetooth, and wireless LAN functions. By pressing the "Power Button" of the Pocket PC, you only turn off the display.
Safety In Aircrafts
- Due to the possible interference caused by this product to an aircraft's navigation system and its communications network, using this product on board an airplane is against the law in most country.
Interference With Medical Equipment Functions
This product may cause medical equipment to malfunction. The use of this device is forbidden in most hospitals and medical clinics.
Environment Restrictions
- Do not use this product in gas or refueling stations. The use of this product is also prohibited in fuel storehouse, chemical plants, and locations containing explosives.
Safety For Environments
- Do not use this product in gas station, fuel depots, chemical plants or where blasting operations are in progress, or in potentially explosive atmospheres such as fueling areas, below deck on boats, fuel or chemical transfer or storage facilities, and areas where the air contains chemicals or particles, such as grain, dust, or Mattel powders. Please be aware that Sparks in such areas could cause an explosion or fire resulting in badly injury or even death.
Explosive Atmospheres
- When in any area with a potentially explosive atmosphere or where flammable materials exist, the product should be turned off and user should obey all signs and instructions. Sparks in such areas could cause an explosion or resulting in bally injury or even death. Users are advised not to use the equipment at refueling points such as service or gas stations. Users are reminded of the need to observe restrictions on the use of radio equipment in fuel depots, chemical plants or where blasting operations are in progress. Areas with a potentially explosive atmosphere are often, but not always, clearly marked. These include fueling areas, below desk on boats, fuel or chemical transfer or storage facilities, and areas where the air contains chemicals or particles, such as grain, dust, or metal powders.
Nonionizing Radiation
- This product should be operated in the suggested normal condition only to ensure the radioactive performance and safety of the interference. As with other mobile radio transmitting equipments, user are advised that for satisfactory operation of the equipment and for the safety of personnel, it is recommended that no part of the human body be allowed to come too close to the antenna during operation of the equipment.
Road Safety
- Vehicle drivers in motion are not permitted to use telephone service with handheld devices, except in case of emergency. In some countries, using hand-free devices as an alternative is allowed.
16 FAQ/
1. What features does the Pocket PC have?
Answer:
Built-in 802.11b/g wireless networking module.
The built-in camera module's sensitization, filming quality are better than other brands of Pocket PC in the same class.
3 The latest Windows Mobile® 6 Professional operating system, with all its settings stored on a Flash ROM. You won't have to worry about losing your data even if the Pocket PC runs completely out of power. The extra-large Flash memory space is capable of storing a large amount of personal data and application programs.
2. How do I configure the wireless network? And how do I connect to the Internet?
Answer: Wireless Manager will assist you in managing your Bluetooth devices, GSM mobile devices, and your wireless networks.
When you purchase credit points for connection to the Internet via a wireless connection, you will be given an IP address, DNS name server address, Proxy server, connection port number, and network key information, you will need this information to successfully connect to the Internet. Sometimes corporate networks may need additional information, please contact your company's network administrator for details. If you are using your wireless network for the first time, please refer to the "Configure your Wireless Network" section and set the necessary configurations.
In general, you can activate the wireless connection by tapping the icon in Wireless Manager. When your Pocket PC detects and connects to a available wireless network, a icon will appear on the top of your screen, this means that your Pocket PC has successfully connected with a network hotspot (Access Point). At this time, the indicator on the upper left of your pocket PC will flash orange.
- My Pocket PC cannot boot. What should I do about it?
Answer:
Make sure the Pocket PC battery you use still has enough power.
Plug your Pocket PC into the charger, and make sure the red charging indicator lights up. Press the "Power Button."
3If you have done the above but your Pocket PC still cannot boot, proceed with the following step: Remove the Pocket PC back cover, and check the battery lock is in place. If not, the system cannot be started.
- My Pocket PC has a screen freeze or the system does not respond. What should I do about it?
Answer:
You may reset your Pocket PC. It means to re-start the whole system to release unnecessary resources so that the system can return to normal.
If you have reset your Pocket PC but it still cannot operate normally, the you need to carry out a cold boot to solve this problem.
How to carry out a cold boot: Press and hold the “Power Button” with one hand, and use the stylus tip to press the “Reset Button” with the other hand. Release the “Power Button” and the “Reset Button” at the same time. If you answer “Yes” to the question displayed after a cold boot. (Erase all data and load default?) The programs installed by yourself, self-made settings, and self-made data (e.g., “Contacts” and “Calendar”) will disappear. And return to their default settings.
As a result, we suggest you copy your data to the storage card. Data stored in the storage card will not vanish because of a cold boot. Or you can synchronize the data on your Pocket PC with your desktop computer.
- Why doesn't my Pocket PC make any sound?
Answer:
Tap the speaker icon on the top right of the screen, then select the volume control options, or adjust the volume of the incoming call sound.
2 Alternatively, you may use the volume control key to control the volume.
- Why does my Pocket PC screen automatically become dark?
Answer: Tap Settings, the System tab, Backlight, and then the Battery power or the External power tab. You may find that if you use battery power, the backlight automatically shuts down after 30 seconds by default; the external power shuts down after 1 minute by default. If you think these times are too short, you may extend them as needed.
- When I want to open a program or file, a warning message "Not enough memory" pops up. What should I do about it?
Answer: Because your Pocket PC's memory is shared by storage memory and program memory, the following methods are available. You may choose the one that works best for you.
1 Remove the programs you installed or that are not frequently used to release program memory space.
Delete data that is not used frequently or unnecessary to release storage memory space.
- The characters on the screen are too small to read. How can I enlarge them?
Answer: Tap Settings, the System tab, Screen, and then the Text size tab. You may adjust the text size as you wish. Also, you may select the landscape orientation in the General tab screen. Try and change them so that you can read more smoothly.
- The contact point of my stylus is not quite precise. What should I do about it?
Answer: Align the screen in place, and the touch screen can respond to the operation of your stylus more precisely. The following two ways will bring you into the touch screen calibration mode.
Tap, Settings, the System tab, Screen, and then Align Screen Button.
2 Simultaneously press the Left Soft-Key on the bottom-left of the Pocket PC and the round execution button in the center of the navigation pad.
- The hardware buttons of my Pocket PC doesn't make any response or calls a wrong program. What should I do about it?
Answer: Tap Settings, the Personal tab, and then Buttons. Check each button for correct setup.
- My Pocket PC's Activesync cannot be executed or make a connection. What should I do about it?
Answer:
1Make sure you have installed Activesync version 4.5 or above. You could use the Getting Started CD or download ActiveSync version 4.5 from http://www.microsoft.com/downloads/ to install Microsoft ActiveSync version 4.5 (or version above) on the personal computer. ActiveSync is already installed on your Pocket PC.
Make sure the charger as well as the USB cable provided along with the product are already connected up to your PC end.
3Make sure you are not executing another program that uses the same serial port you selected for operation during installation.
4 If your Activesync is still not working, remove and delete the old version of Activesync software at the PC end and install it once again.
- My PC uses Windows Vista™ operating system, how will it handle the Pocket PC connection?
Answer:
You could use the Getting Started CD or download Windows Mobile Device Center from http://www.microsoft.com/downloads/ to install Windows Mobile Device Center on the personal computer.
2Make sure that the included USB cable is properly connected to the PC port.
- My PC currently has Microsoft Outlook installed, will it work with the Pocket PC?
Answer: Refer to the download link which you can see in the companion CD. If your current Microsoft Outlook version is older than that, uninstall the older version, then install the Microsoft Outlook limited trial version. When the trial period is over, contact with Microsoft for more information on purchasing the retail version.

First Version: December 2006
Current Version: June 2007, Version 3
Number: 20070530
EasyManual