DHD1101X - Basket DE DIETRICH - Free user manual and instructions
Find the device manual for free DHD1101X DE DIETRICH in PDF.
Questions des utilisateurs sur DHD1101X DE DIETRICH
0 question sur cet appareil. Repondez a celles que vous connaissez ou posez la votre.
Poser une nouvelle question sur cet appareil
Download the instructions for your Basket in PDF format for free! Find your manual DHD1101X - DE DIETRICH and take your electronic device back in hand. On this page are published all the documents necessary for the use of your device. DHD1101X by DE DIETRICH.
USER MANUAL DHD1101X DE DIETRICH
EN The symbol on the product or on its packaging indicates that this product may not be treated as household waste. Instead it shall be handed over to the applicable collection point for the recycling of electrical and electronic equipment. By ensuring this product is disposed of correctly, you will help prevent potential negative consequences for the environment and human health, which could otherwise be caused by inappropriate waste handling of this product. For more detailed information about recycling of this product, please contact your local city office, your household waste disposal service or the shop where you purchased the product. This appliance is marked according to the European directive 2002/96/EC on waste electrical and electronic equipment (WEEE).
You have just purchased a DE DIETRICH range ventilation hood, and we thank you for your purchase.
You have just purchased a DE DIETRICH range ventilation hood, and we thank you for your purchase.
Our research and development teams have designed a new generation of appliances for you, which, because of their aesthetics, functionality, and technological evolution, are truly exceptional products representative of our design experience.
Your new DE DIETRICH range ventilation hood will harmoniously suit your kitchen and will perfectly combine ventilation performance and ease of use. We simply want to offer you an excellent product.
Within the DE DIETRICH product line you will find a wide range of ovens, microwave ovens, cookers, washing machines, and fitted refrigerators that can be freely coordinated with your new DE DIETRICH range ventilation hood.
Naturally, since our objective is the satisfaction of our clients towards our products, our customer service is at your total disposition to respond to any request and receive any useful suggestion (reference details at the end of the booklet).
Visit our web site www.dedietrich-ecromanager.com where you will find our latest innovations as well as all useful information.
DE DIETRICH
The new objects of value
Constantly seeking to improve our products, we reserve the right to modify their technical, functional, or aesthetic characteristics as they evolve.
Important: Before activating the appliance, read the installation and usage manual carefully to familiarise yourself more quickly with its operation.
1/ FOR THE ATTENTION OF THE USER 25
- Safety instructions 25
- Mounting the hood 26
- Description of the appliance 26
2 / HOOD INSTALLATION 27
- Remote motor installation 28
-Removal of the filter cartridge 29 - Mounting the carbon filter 29
- Electrical hook-up of the hood 29
3 / HOW THE HOOD WORKS 30
4 / CLEANING THE HOOD 31
5/OPERATIONAL ANOMALIES 32
6/ AFTER SALES SERVICE 32
Important: keep these instructions for use with the appliance. If the appliance should be sold or passed on to others, make sure that the instructions are passed on with it. Please take note of these suggestions before installing and using the appliance. They have been written for your personal safety and the safety of others.
The manufacturer cannot accept any liability for problems, damage, or fire caused on or by the appliance due to failure to follow the instructions in this manual.
- SAFETY INSTRUCTIONS
These hoods have been designed for personal use in the home. The appliance must be used by adults. Take care that children do not touch the appliance and do not use it as a toy. Make sure that children do not operate the controls.
-
Upon delivery of the appliance, remove the packing material yourself or have it removed immediately. Check the overall condition of the appliance. Note any observations on the delivery bill and keep a copy. Your appliance is designed for normal use in the home. It is not designed for commercial or industrial use, or for purposes other than those for which it was designed.
-
Do not ever modify, or attempt to modify, the design characteristics of this appliance. This could result in danger.
Repairs must be performed only by an authorised specialist.
Always disconnect the hood before carrying out cleaning or maintenance operations.
-
Adequately ventilate the area in case the hood is activated simultaneously with other appliances powered from non-electrical sources so that the hood does not ventilate these combustion fumes.
-
It is prohibited to cook food over open flames or operate gas hobs without pots or pans on them under the hood itself (the flames sucked into the hood might damage the appliance).
-
Deep frying under the appliance must be done under constant supervision as hot oils and fats may ignite.
Respect the guidelines for cleaning and replacement of the filters. Accumulated deposits of grease are a fire hazard.
- The use of combustible materials (wood, charcoal, etc...) on the hobs is not permitted.
Never use steam or high-pressure devices for cleaning your hood (regulations regarding electrical safety).
Constantly seeking to improve our products, we reserve the right to modify their technical, functional, or aesthetic characteristics as they evolve.
In order to find the notes regarding your appliance easily in the future, we advise you to collect them on the page "After sales service and customer relations". (This page also explains where to find them on your appliance).
Never use the cooker hood without grease filters.
The minimum distance between the cooker hood and the cook top must be 400~mm
Never put your hands in the field of action of the cooker hood extractable unit, during handling operations.
- MOUNTING THE HOOD
Installation must conform to the regulations in force regarding the ventilation of enclosed environments. In France, these regulations are container in the DTU 61.1 of the CSTB. In particular, discharged air must not be channelled into a conduit used for exhaust discharge or discharge from devices that operate with gas or other combustible materials. The use of unused conduits is not permissible without the approval of a qualified technician.
- DESCRIPTION OF THE APPLIANCE


A correct installation must be carried out for the good functioning of the downdraft.
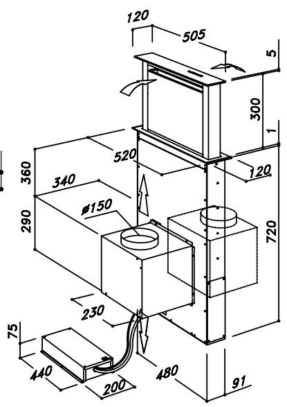
1) Make a rectangular hole in the rear part of the furniture's surface suitable for the dimensions of your hood (Fig. 1).
2) If a gas hob is utilised, the minimum distance from the rear edge of the cooking hob to the downdraft must be at least 50~mm . The DHD1101 model must be installed between two cooking hobs with a maximum of two gas rings each.
3) Before cutting the hole, check that there are no internal structural parts of the furniture or other elements in correspondence to the hood zone that could compromise the correct installation.
To permit the installation, verify that the overall dimensions of the hood including its motor are compatible with the furniture.
The motor is delivered already attached to the equipment so as to avoid any damage during transportation. The motor must be removed from the hood before starting installation operations.
4) Apply the glue to the lower part of the hood's edge (Fig. 2).
5) Insert the downdraft inside the furniture from the top.
6) The edge of the hood must be perfectly fixed to the upper surface of the kitchen furniture.
7) Fix the hood inside the furniture utilising the two supplied brackets (fig. 3).
8) Proceed with the assembly of the motor onto the body of the hood orientating the air outlet to the desired higher or lower position (Design 4).
The motor can be fitted in the front or rear part of the hood.
To install the motor in the rear part, proceed as follows: unscrew the plate situated in the rear part of the hood, screw the motor to the hood in place of the plate, correctly connect the motor cable and screw the plate back onto the front part of the hood. Attach the air extractor tube (not supplied). Connect the other end of the tube to the outside of the furniture for a filter installation or to the outside of the habitation for an extractor installation (Fig. 5).
Attention: To avoid damaging internal sliding components such as the electrical parts, do not make other holes in the product.
9) Position the metal box containing the electronic components in an easily accessible position for any eventual assistance intervention. Connect all electrical connectors to the hood.
10) Connect the hood to the electrical mains circuit.
11) Once the installation has been completed and the hood has been connected to the electrical mains circuit, start the extraction of the carriage (refer to the chapter about how the hood functions) and remove all protective material (Fig. 6 and Fig. 7).
UTILISATION
This product is intended to extract fumes, fats, and steam from cooking. It has been designed either in the suction or filter versions.
The air extractor tubes are not supplied as standard.
Version with exterior evacuation
The hood is equipped with an air outlet (Refer to the image below).to convey smoke outwards (the flue pipe and fixing flange are not supplied).

In filtering application that the stop valve doesn't permit the entrance of wind and exhausted air.
Filtering version
In the case an exhausting hole is not possible, the hood can be used in filtering version. For this mode charcoal filters are to be fitted inside the hood. Filtered air will be evacuated in the kitchen trough a duct that conveys the air on a side of the cabinet (Fig. 5).
- REMOTE MOTOR INSTALLATION
It is possible to install the motor in a remote position from the cooker hood, but it is necessary to order the DHK900 - 989580001 kit.
- REMOVAL OF THE FILTER CARTRIDGE
- MOUNTING THE CARBON FILTER
The cooker hood must be in the open position to install and remove its grease filters and charcoal filters. Push this key + to do so. Remove the front panel by simultaneously pulling on the upper part of each side (Fig. 8). The panel will rotate forwards to make it possible to access the grease filters (Fig. 9). Remove the grease filters to access the carbon filters (Fig. 9). The carbon filters should be changed according to the frequency of downdraft use and in any case, once every 6 months.
Warning: the stainless steel panel that protects the filters needs to be repositioned correctly. Incorrect positioning can cause the hood to stop completely.
- ELECTRICAL HOOK UP OF THE HOOD

USEFUL ADVICE:
We recommend fitting the electronic board at a height of at least 10~cm from the ground and at a suitable distance from all heat sources (e.g., the side of an oven or cook top).

This appliance is fitted with an H05 VVF 3 conductor, 0.75mm^2 (neutral, phase, and und) power cable. This can be hooked up to a 220 - 240 V mono-phase electrical net by way of a CE1 60083 regulation power socket that must remain accessible after allation, in conformity to installation regulations.
We decline all responsibility in case of accident caused by a lack of ground connection or incorrect ground connection. The fuse used must be 10 or 16 A. If the power cable is damaged, call the after-sales service to avoid any risk.
ELECTRIAL HOOK UP
This appliance conforms to the European Directives 2006/95/EC (Low Voltage Directive) and 2004/108/EC (Electromagnetic Compatibility).
When you install the appliance and carry out maintenance, it must be unplugged from the power source or the fuses must be disengaged or removed. Electrical hook up must be carried out before the appliance is installed in the cabinet.
Check that:
- The power source is sufficient.
- Power cords are in good condition.
- The diameter of the cables conforms to installation regulations.

Attention:
If the hood presents some form of anomaly, unplug the appliance or remove the fuse corresponding to the appliance's power line.

It is used to close the aspiration panel completely or to position it at intermediate heights at least cm 18 above the cooktop. While closing the aspiration panel keeps on working at the speed set up to the height of cm 18 from the cooktop. Below this height the aspiration function is automatically cut out.

It is used to extract the aspiration panel up to the maximum height of cm.
30 and to set automatically the first aspiration speed when reaching the height of cm 18 from the cooktop.
When pressing the button again after reaching this height, the aspiration motor speed can be increased.
If the aspiration panel is positioned at an intermediate height between cm 18 and cm 30, the aspiration panel can start raising again by pressing first ① and then + .

The different speed levels are indicated by blue leds.

It is working only if the position reached by the aspiration panel is higher than cm 18 from the cooktop. It is used to decrease the aspiration motor speed.

It is used to stop automatically the aspiration system and to close automatically the aspiration panel ten minutes it has been set.
Calibration of the hood
After installing the hood and connecting the equipment to the electrical mains circuit, press the red button positioned on the box of the electrical installation that is separated by the hood and start the self-calibration procedure of the product by carrying out the following instructions:
- Press the + key to activate the extraction of the filter unit.
- When the carriage has reached a height of 18 cms press the key to stop the carriage rising.
- Press the key and then the key within 2 seconds.
The hood carries out the calibration of the filter unit by shifting the carriage up and down by a few cms. During this phase the keys on the keypad flash.
When the calibration is finished, press the key so that the hood closes.
Then switch on the hood. When the carriage is completely raised, release the panel by lightly pulling on the sides, remove the PVC protection of the anti-grease filters and position the filters as indicated in Fig. 9.
Attention: The calibration must be carried out correctly because this contributes to your safety whilst using the equipment to avoid being crushed by the carriage during the descent phase.
OTHER FUNCTIONS:
After 30 hours of appliance operation, the pushbutton panel indicates saturation of the grease filters by the buttons flashing. To reset, press the timer button
After 4 hours of continuous operation from the last setting, the appliance turns off and closes automatically.
- When the front panel is removed for cleaning and maintenance operations, all the electronic aspiration and movement functions are locked.
- Anti pinching safety device: if anything is obstructing the closure operation of the downdraft, the operation will stop and the downdraft will move up again.
4/ CLEANING THE HOOD
EN
Careful maintenance helps guarantee proper operation and good results from an appliance over time

The hood must be unplugged from the electrical power source, both by unplugging appliance from the socket as well as de-activating the breaker, before removing the metal filters. After cleaning, you must replace the metal filters as outlined in the instruc-tions..
| MAINTENANCE | HOW TO PROCEED? | ACCESSORYPRODUCTS TO USE |
| External surfaces and accessories | Do not use metallic scrubbers, abrasive products, or hard brushes. | To clean the external surfaces of the hood and the light housing screen use only commercially available household detergents diluted in water. Then rinse with clean water and dry with a soft cloth. |
| Filter cartridge | After 30 hours' operation, the button pad will signal that the grease filter is saturated by flashing the 4 speed LEDs. Press the timer button to reset ⊥. | The grease filters can be washed by hand or in the dishwasher. These filters need to be cleaned on a regular basis because otherwise they may present a fire risk. Refit the grease filters and front panel, making sure that the panel is properly fitted at the sides so that it does not cause the downdraft to stop operating. |
| Carbon filter | In the recirculation mode, you must substitute the active carbon filter periodically. To remove the fibre panel you must first remove the anti-grease grill and pull the plastic knob on the panel itself, removing it from its housing. To replace the active carbon filter, do the reverse. Replace the used carbon filter on an average of every six months. |
| SYMPTOM | SOLUTION |
| The hood does not work... | Check that: · There is not a power outage. · A specific speed has actually been selected. · The red reset key positioned above the electrical installation box is pressed. · Check that the leads are well inserted into the nine-pole connector (too much pressure when making the connections could bend the contacts). |
| The hood has low output... | Check that: · The motor speed selected is sufficient for the quantity of fumes steam present. · The kitchen is ventilated well enough to allow for air intake. · The charcoal filter has not been used (filtering mode version). · The air outlet conduit is unobstructed and conforms to paragraph 2. |
| The cooker hood does not close again. | Check that: · There is not a power outage. · The single-pole contactor breaker switch has not tripped. |
6/ AFTER SALES SERVICE
EN
Any maintenance on your equipment should be undertaken by:
- either your dealer,
- or another qualified mechanic who is an authorized agent for the brand appliances.
When making an appointment, state the full reference of your equipment (model, type and serial number). This information appears on the manufacturer's nameplate attached to your equipment.
Gentile clientele,
EasyManual