OB5031 - Schalter IFM - Kostenlose Bedienungsanleitung
Finden Sie kostenlos die Bedienungsanleitung des Geräts OB5031 IFM als PDF.
Benutzerfragen zu OB5031 IFM
0 Frage zu diesem Gerät. Beantworten Sie die, die Sie kennen, oder stellen Sie Ihre eigene.
Eine neue Frage zu diesem Gerät stellen
Laden Sie die Anleitung für Ihr Schalter kostenlos im PDF-Format! Finden Sie Ihr Handbuch OB5031 - IFM und nehmen Sie Ihr elektronisches Gerät wieder in die Hand. Auf dieser Seite sind alle Dokumente veröffentlicht, die für die Verwendung Ihres Geräts notwendig sind. OB5031 von der Marke IFM.
BEDIENUNGSANLEITUNG OB5031 IFM
Schaltveränderer für Fiberoptik
Bestimmungsgemäß Verwendung 3
Bedien- und Anzeigeelemente 3
Montage
Adaptieren der Lichtleiter 4
Elektrischer Anschluß 4
Schaltschwelle einstellen 5, 6
Anschluβ 15
4
English
Intended use 7
Bestimmungsgemäß Verwendung
Der Schaltveränderer erfasst berührungslos Gegenstände und Materialien und meldet sie durch ein Schaltsignal.
- Nur für den Anschluß der ifm-Fiberoptiken Typ FE-50 und FT-50.
- Reich- und Tastweite je nach Fiberoptik.
Bedien- und Anzeigeelemente

Rote LED:
- zeigt den Einstellmodus an
- leuchtet bei Störung der Objekterfassung (Dejustage, Verschmutzung der Optik)
- blinkt Schnell bei Kurzschluß des Schaltausgangs
- blinkt langsam bei internet Störung
Gelbe LED:
leuchtet, wenn der Ausgang durchgeschaltet ist
Grüne LED:
leuchtet bei Betriebsbereitschaft
Taste: Start der automatischen Schaltschwelleneinstellung
Montage
Befestigen Sie das Gerät auf einer Normschiene oder mit Hilfe einer Montagehalterung.
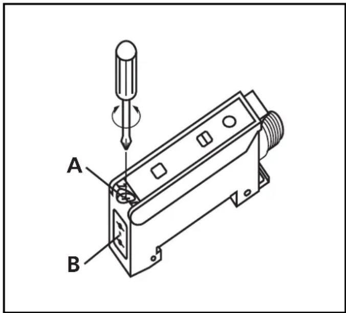
Adaptieren der Lichtleiter:
- Losen Sie die Schraube A.
- Schieben Sie die Lichtleiter in die Sensoröffnungen B bis zum Anschlag und halten Sie sie fest.
- Ziehen Sie die Schraube A an.


Liegen die Lichtleiter nicht an den internen Scheiben an, verringert sich die Reich- / Tastweite.
Elektrischer Anschluß

Schalten Sie die Anlage spannungsfrei und schreiben Sie das Gerät an (s. letzte Seite oder Typaufkleber).
- Adernfarben bei Kabelgeräten: BN = braun, BU = blau, BK = schwarz.
- Programmieren der Ausgangsfunktion durch Anschlußbelegung (s. Seite 15 oder Typaufkleber).
Schaltschwelle einstellen (1)
- Objekte bewegen sich durch den Erfassungsbereich der Optik
- Lichttaster-Optik (FT ...) und Einweg-Optik (FE ...)
Das Gerät erfaßt Eingangssignale verschiedener Intensität in beliebiger Reihenfolge und berechnet die optimale Schaltschwelle.
| 1 | Lassen Sie die Objekte durch den Erfassungsbereich der Optik laufen. Drücken Sie, bis rote LED blinkt. | → | LEDs gelb und grün blinken im Wechsel (= Gerät ist im Programmiermodus). |
| 2 | Drücken Sie 1 mal. | → | LEDs gelb und grün verlösen kurzzeitig, blinken dann wieder im Wechsel. |
| 3 | Drücken Sie 1 mal. | LEDs gelb und grün verlösen kurzzeitig, danach leuchtet die grüne LED (= das Gerät ist im Betriebszustand). |

Ist die Einstellung der Schaltschwelle nicht möglich (z. B. Hellsignal und Dunkelsignal sind annahernd gleich stark), blinkt die rote LED nach Schritt 3. Danach gibt das Gerät mit unveränderter Schaltschwelle in den Betriebsmodus über.
Schaltschwelle einstellen (2)
- Statische Objekte
- Lichttaster-Optik (FT ...) und Einweg-Optik (FE ...)
Das Gerät erfaßt Eingangssignale verschiedener Intensität in beliebiger
Reihenfolge und berechnet die optimale Schaltschwelle.
| 1 | Drücken Sie, bis rote LED blinkt. | LEDs gelb und grün, blinken im Wechsel (= Gerät ist im Programmiermodus). |
| 2 | Plazieren Sie das Objekt im Erfassungsbereich der Optik.* Drücken Sie 1 mal. | LEDs gelb und grün, verlösen kurzzeitig, blinken dann wieder im Wechsel. |
| 3 | Entfernen Sie das Objekt aus dem Erfassungsbereich der Optik.* Drücken Sie 1 mal. | LEDs gelb und grün verlösen kurzzeitig, danach leuchtet die grüne LED (= das Gerät ist im Betriebszustand). |
*Sie können auch in umgekehrter Reihenfolge vorgehen: Zuerst ohne Objekt messen, dann mit Objekt.

Ist die Einstellung der Schaltschwelle nicht möglich (z. B. Hellsignal und Dunkelsignal sind annahernd gleich stark), blinkt die rote LED nach Schritt 3. Danach gibt das Gerät mit unveränderter Schaltschwelle in den Betriebsmodus über.
Betrieb
Öffnen Sie den Gehäusedeckel nur zum Einstellen. Schließen Sieihn nach der Einstellung, um Schutzart IP 65 zu erhalten.
Prüfen Sie, ob das Gerät sicher Funktioniert.
EinfachAnleitung