DRH 914 JE - Kessel DE DIETRICH - Kostenlose Bedienungsanleitung
Finden Sie kostenlos die Bedienungsanleitung des Geräts DRH 914 JE DE DIETRICH als PDF.
Laden Sie die Anleitung für Ihr Kessel kostenlos im PDF-Format! Finden Sie Ihr Handbuch DRH 914 JE - DE DIETRICH und nehmen Sie Ihr elektronisches Gerät wieder in die Hand. Auf dieser Seite sind alle Dokumente veröffentlicht, die für die Verwendung Ihres Geräts notwendig sind. DRH 914 JE von der Marke DE DIETRICH.
BEDIENUNGSANLEITUNG DRH 914 JE DE DIETRICH
Bananan, aardappelen, uien en knoflook, indien nicht verpakt, mogen nicht in de koelkast bewaard worden.
Bevor Sie Ihr Gerät anschließend in Betriebnehmen,lesen Sieitte zuerst die Gebrauchsanleitung durch, die Sicherheitshinweise und wichtige Informationen enthalt.
Nur so können Sie das Gerät sicher und zuverlässig nutzen und werden viel Freude daran haben.
Folgende Zeichen werden Ohnen halten, sich in der Gebrauchsanleitung better zurecht zu finden.

Sicherheitsvorschriften
Die Warnungen mit thisem Symbol dienen Ihrer Sicherheit und der Ihres Gerätes

Wichtige Hinweise und Informationen

Umwelthinweise

Das Symbol auf dem Produkt oder seiner Verpackung weist daraufhin, dass these Product nicht als normaler Haushaltsabfall zu behandeln ist, sondern an einem Sammelpunkt für das Recycling von elektrischen und elektronischen Geräten abgegeben werden muss. Durch ihren Beitrag zum korrekten Entsorgen these Products schützen Sie die Umwelt und die Gesundheit ihrer Mitmenschen. Umwelt und Gesundheit werden durch falsches Entsorgengefahrend. Weitere Informationen über das Recycling these Products erhalten Sie von Ihr Hem Rathaus, Ihr Müllabfuhr oder dem Geschäft, in dem Sie das Produkt gekauft haben.
Inhalt
Sicherheitshinweise 54
Entsorgung 55
Gebrauch / Vor Inbetriebnahme 56
Inbetriebname 56
Temperaturregelung 56
Kühlabeilausstattung / Abstellregale 57
Türabsteller 57
Tipps/Energie-Einsparung 57
Richtiges Kühlen 58
Hinweise zum Einfrierten 58
Hinweise zur Lagerung gefroreiner Produkte 59
Erklärung der Symbole des Kuhlraums 59
Wartung / Abtauen 60
Wechsel der Gluhlampe 62
Wenn etwas nicht Funktioniert 62
Kundendienst und Ersatzteile / Technische Angabe 63
Installation/Aufstellung 63
Elektrischer Anschluss 64
Wechsel des Turanschlags beim Gefrierfach 65
Turanschlag wechseln 66
Einbau / Maßzeichnungen 67

Sicherheitshinweise
Bevor Sie Ihr neuen Kältegerät in Betrieb besteht.esen Sieitte diese Gebrauchsanweisung aufmerksam durch. Diese sind Sicherheitshinweise. Wir ersuchen Sie daher, die folgenden Punkte vor der Installation des Gerätes und seiner Inbetriebnahme aufmerksam durchzULEsen.
Es wird empfohlen, diese Gebrauchsanweisung gut aufzubewahren und bei einem eventuellen Verkauf des Gerätes dem neuen Besitzer auszuhändigen.
Benutzung im Haushalt
- Sollten Sie Ihr Gerät einmal weitergeben都会, vergessen Sieitte nicht, die Gebrauchsanleitungen dazuzulegen.
- Sie haben ein Gerät für den Haushalt erworben, und es sollte auch nur zur Lagerung von Lebensmitteln gebraucht werden.
Wartungen und Reparaturen (einschließlich Verbesserung und Austausch der Netzleitung) nur durch eine autorisierte Werkstatt durchfuhren lessen. Für Reparaturen dürfen nur Original-Ersatzteile benutzt werden, anderenfalls konnte Ihr Gerät beschädigt oder Sie selbst verletzt werden. - Vergewissern Sie sich, dass der Netzstecker des Gerätes nach der Installation frei zugänglich ist. Schalten Sie vor Wartungsarbeiten immer das Gerät ab undziehen Sie den Netzstecker aus der Steckdose.
- Es ist verboten, das Netzkabel zu verlangern!
-
Bitprufen, dass das Netzkabel nicht von der Geräterückseite eingeklemmt und beschädigt wird. Ein beschädigtes Netzkabel kann überhitzen und einen Brand verursachen.
-
Keine schweren Gegenstände bzw. das Gerät selbst auf das Netzkabel stellen. Kurzschluss- und Brandgefahr!
-
Den Netzstecker nie am Kabel aus der Steckdoseziehen, verbesserten wenn das Gerät aus der Nische gezogen wurde. Eine Beschädigung des
-Netzkabels kann Kurzschluss,Feuer und/oder Stromschlag verursachen. -
Ein beschädigtes Netzkabel muß durch eine qualifizierte Fachkraft oder vom Kundendienst ersetzt werden.
-
Den Netzstecker niemals in eine lockere oder beschädigte Steckdose stecken. Stromschlag und Brandgefahr!
-
Ohne die Abdeckblende der Innenbeleuchtung darf das Gerät nicht in Betrieb genommen werden!
Die Innewände sind kratzempfindlich, deshalb sollen den Sie beim Reinigen nie Eiskratzer oder andere spitze Gegenstände benutzen. - Achten Sie darauf, daß keine Flüssigkeiten mit dem Temperaturregler, bzw. der Beleuchtkarsmatur in Berührungkommen.
- Durch Eis können Sie sich Verletzungen zufügen, wenn Sie es unmittelbar nach dem Herausnahmen verstehen.
- Aufgetaute oder angetaute Produkte nicht erneut einfrierten. Solche Produkte sollenn Sie möglichst Schnell aufbrauchen.
- Beachen Sieitte bei Tiefkuhlkost die Hinweise zur Lagerzeit auf der Verpackung des Herstellers.
Keine Geräte mit elektrischem Antrieb bzw. Motor oder Chemikalien zum Beschleunigen des Abtauens anwenden!
Bewahren Sie keine bereits Töppe in unmittelbarer Höhe der Kunststoffe des Gerätes auf.
Lagern Sie keine entflammbaren Gase und Flüssigkeiten im Gerät, es besteht Explosionsgefahr. - Frieren Sie keine kohlensäurehaltigen Getränte ein - Explosionsgefasrt.
- Kontrollieren und reinigen Sieitte regelmäßigen Tauwasserablauf - einen Hinweis hierzu finden Sie auch im Innerendes Gerätes - sonst können im Falle einer Verstopfung das angesammelte Wasser zu einer vorzeitigen Funktionstörung des Gerätes führen.
Für die Sicherheit ihrer Kinder
- Ihr Kinder sollenn nicht mit den Klebebändern und Verpackungsmaterialien des Gerätes speilen, da Lebensgefahr durch Ersticken besteht!
Das Gerät sollte ausschließlich von Erwachsenen bedient werden. Achten Sie daraufuf, daß ihre Kinder mit dem Gerät oder dessen Bedienungselementen nicht playen. - Sollte das Gerät am Ende seine Lebensdauer außer Betrieb gesetzt werden, soziehen Sie den Netzstecker aus der Steckdose, trennen Sie das Anschlußkabel durch (möglichst nah am Gerät) und montieren Sie die Tür ab. Dadurch verhindern Sie, daß sich spielende Kinder selbst einsperren oder einen Stromschlag erleiden.
- Das Gerätarf von Kindern und Personen, deren physische, sensorische oder geistige Fähigkeiten sowie Mangel an Erfahrung und Kenntnissen einen sicheren Gebrauch des Gerätes ausschlieben, nur unter Aufsicht oder nach entsprechender Einweisung durch eine Person benutzt werden, die sicherstilt, dass sie sich den Gefahren des Gebrauchs bewusst sind.
Umweltnormen
Das Gerat darf nicht mit dem Hausmull oder Sperrmull entsorgt werden. Auskunft über Abholtermine oder Sammelplätze gibt die ortliche Gemeindeverwaltung an.
Entsorgung
Verpackungsmaterialien
Die mit dem Symbol gekennzeichneten Materialien sind recyclingfähig.
Samtliche Verpackungsmaterialien sind recycl-. clingfahig. In Deutschland konnen Sie die Verpackung an den Handler zurückgeben, bei dem Sie das Gerat gekauft haben.
Informationen fur Sicherheits-vorschriften von Isobutan
Warning
- Ihr Gerät enthalt im Kältekreislauf Isobutan (R 600a); bei diesen Stoff besteht Feuerund Explosionsgesehr.
- Belüftungsöffnungen der Geräteverkleidung oder des Aufbaus von Einbaumöbeln nicht verschreiben.
- Zum Beschleunigen der Abtauung keine anderen mechanischen Einrichtungen oder sonstige künstlichen Mittel als die vom Hersteller empfohlenen benutzen.
Kuhlkreislauf nicht beschädigen. - Keine elektrischen Geräte innerhalb des Lebensmittellagerräumes betreiben, die nicht vom Hersteller frei gegeben sind.

Gebrauch
Vor Inbetriebnahme
Man sollte mindestens 2 Std. warten, bevordas Gerät in Betrieb genommen wird, damit das Kältemittel zurückströmen kann.
- Bevor Sie das Gerät in Betriebnehmen, beseitigen Sie den typischen «Neugeruch» am besten durch Auswaschen der Innenteile mit
lauwarmem Wasser und einem neutralen Reinigungsmittel. Sorgfältig nachtrocknen.

Bitte keine Reinigungs- bzw. Scheuermittel verwenden, die das Gerat beschädigen konnten.
Das Gerät sowie Teile der Innenausstattung sind fürden Transport geschützt.
Alle Klebebänder sowie Polsterteile aus dem Geräteinnenraum entfern.
Inbetriebnahme
- Der Drehknopf für die Temperaturwahl ist im Kühlraum rechts.
- Den Stecker in die Steckdose einsetzen. Kühlschranktür öffnen und Thermostatknopf von der Stellung «O» (STOP) aus im Uhrzeigersinndreten.
Das Gerät ist eingeschaltet. Den Stillstand des Gerätes erhalten man durch Drehen des Thermostatknopfes auf das Symbol «O»

Temperaturregelung
Die richtige Einstellung erhält man, unter Berücksichtigung folgender, die Innentemperatur beeinflussender Faktoren:
- Baumtemperatur
- Häufigkeit des Türoffnens
- Menge der eingelagerten Lebensmittel,
- Aufstellung des Gerätes
Die Temperatur wird automatisch geregelt.
- Stellung "1" = wärmtste Innentemperatur
- Stellung "6" = kälteste Innentemperatur
-stellung "0" = Kuhlung aus
Die mittlere Einstellung ist meinstens die geeigneteste.
Abstellregale
- Zur Einlagerung von Lebensmittel-Packungen verschiedene Größe, sind die Abstellfläche hohenverstellbar.
- Dazu die Abstellfläche soweit nach vorneziehen, bis sie sich nach oben oder unter abschwenken und herausnehmer laßt.
- Das Einsetzen in eine andere Höheitte in umgekehrter Reihenfolge vornehmen.

Die Glasablage über der Gemüseschale und die Flascheablage müssen immer in der Stellung verbleiben, um eine korrekte Luftzirkulation zu gewährleisten.

Türabsteller
- Das mittlere Abstellregale der Innentür ist hohenverstellbar.
Das Abstellregal stufenweise in Pfeilrichtung drucken bis es frei wird; dann in der gewünschten Höhe wieder anbringen. - Zur betteren Reinigung kann die untere Ablage genommen werden.


Tipps

Energie-Einsparung
Das Gerät nicht in der Höhe von Herden, Heizkorpern oder anderen Wärmequellen aufstellen. Bei hoher Umgebungstemperatur lauft der Kompressor früiger und länger.itte im Abschnitt "Aufstellung" nachsehen.
- Tır nur so lange wie nötig geöffnet halten.
- Höchste Kälteeinstellung bei hoher Raumtemperatur und erheblicher Lebensmittelmenge kann fortdauernden
Kuhlschrank-Betrieb verursachen, damit kann sich eine Reif- oder Eisschicht an der hinteren Innwand bilden.
- In diesen Falle den Thermostatknopf auf wärmere Temperaturen stellen, damit das automatische Abtauen, mit folglich geringerem Stromverbrauch, gewährleistet werden kann.
- Keine warmen Speisen in das Gerät stellen. Warme Speisen erst abkühlen halten.
- Den Verflüssiger, das Metalgitter an der Geräterückseite, mit einem Staubsauger oder einer Bürste immer sauber halten.
Richtiges Kühlen
- Keine warmen Speisen oder dampfenden Flüssigkeiten in den Kühlschrank einstellen.
- Geruchverbreitende Lebensmittel müssen abgedeckt oder eingewickelt werden.
Die Lebensmittel müssen so eingelagert werden, dass die Kälte um sie frei zirkulieren kann.
Nachstehend einige praktische Ratschlage:
- Fleisch (alle Sorten) in Plastikfolie einpacken und auf die Glasplatte, die sich über der Gemüseschale befindet, legen. In dieser Lage kann das Fleisch langstens 1-2 Tage aufbewahrt werden.
Gekochtene Nahrungsmittel, kalte Platten, usw. zugedeckt aufbewahren.
Sie können auf jeder beliebige Ablage gelegt werden.
- Obst und Gemüse: nach vorherigem Säubern und Waschen in den Gemüseschalen) aufbewahren.
Butter und Kase: in speziellen Behältern aufbewahren oder in Alu- bzw. Plastikfolie einpacken, um den Kontakt mit der Luft zu vermeiden. - Milch in Flaschen: gut verschlossen in den Flaschenhalter der Innentür stellen.
Wenn Bananen, Kartoffeln, Zwiebeln und Knblauch nicht verpackt sind, sollen den sich nicht in den Kuhlschrank gegeben werden.
Hinweise zum Einfrierten
Im Folgenden finden Sie eine wertvolle Tipps für einen optimalen Gefriervorgang:
die maximale Menge an Lebensmitteln, die innerhalb von 24 Stunden eingefroren werden kann. ist auf dem Typsvchild angegeben;
der Gefriervorgang pauert 24 Stunden. Legen Sie während thesez Zeitaums keine weiteren einzufrierenden Lebensmittel in das Gefrierfach;
- frieren Sie ausschließlich frische und gründlich gewaschene Lebensmittel von sehr guter Qualität ein;
- teilen Sie die Lebensmittel in keinere Portionen ein, damit diese schnell und vollständig gefrierten und Sie später nur die Menge auftauen müssen, die Sie gerade benötigen;
- die einzufrierenden Lebensmittelportionen sollen den stets luftdicht in Aluminiumfolie
oder in lebensmitteltelechte Gefrierbeutel verpackt werden, um so weniger Luft wie möglich in der Verpackung zu haben;
achten Sie beim Hineinlagen von frischen, noch ungeborenen Lebensmitteln darauf, dass diese keinen Kontakt mit Gefriergut besteht, da these Sonst antauen kann;
- weniger fetthaltige Lebensmittellassen sich better lagern als fetthaltigere; Salz verkurzt die Lagerzeit von Lebensmitteln im Gefrierfach;
- werden Gefrierwurfel direkt nach der Entnahme aus dem Gefrierfach verwendet, können Sie zu Frostbrand auf der Haut führen;
- Es empfeihlt sich, das Einfrierdatum auf jeder einzelnen Packung zu notieren, um einen genauen Überblick über die Lagerzeit zu haben.
Hinweise zur Lagerung gefrorener Produkte
So erzielen Sie die besten Ergebnisse mit Ihrem Gerät:
- prufen Sie sorgfältig, dass die im Handel erworbenen gefrorenen Lebensmittel sachgerecht gelagert wurden;
achten Sie unbedingt darauf, die eingekauften gefrorenen Lebensmittel in der kürzest möglichen Zeit in ihren Gefrierschrank zu bringen; - öffnen Sie die Tur nicht zu halten, und让他们坐下来,或者让那些人坐在一起。
Abgetaute Lebensmittel verderben sehr Schnell und eignen sich nicht für ein erneutes Einfrieren.
Das Haltbarkeitsdatum auf der Tiefkuhlkestverpackung soll nicht über-schritten werden.

Erklärung der Symbole des Kuhlraums

Das nebenstehende Symbol gibt an, das in diesen Bereich des Kuhlraums die niedrigste Temperatur herrscht.
Kälster Bereich: weniger oder gleich +4°C
Fleisch, Geflügel, Fisch, Wurstwaren, Fertiggerichte, gemischte Salate, Gerichte und Sübspeisen auf der Grundlage von Eiem oder Sahne, frische Teigwaren, Kuchenteig, Pizzen/Quiches, frische Lebensmittel und Frischkäse, in Plastikbeuteln verpacktes Gemüse und im Allgemeineren sãmtliche frische Lebensmittel, die bis zu deren Haltbarkeitsdatum bei +4^ oder weniger aufzubewahrens sind.
Temperaturanzeiger

Einzustellender Thermostat

Korrekte Temperatur
Über den Temperaturanzeiger kann die Funktionseise Ihres Kühlschranks überprüft werden.
Sobald im k.ltesten Bereich des K.hlraums eine Temperatur von +4^ oder weniger herrscht, erscheint am Temperaturanzeiger das Symbol "OK".
Liegt die Temperatur .ber +4^ bleibt der Temperaturanzeiger schwarz. Demzufolge ist die Temperatur durch Einstellen des Thermostats auf einen niedrigeren Wert zubringen.
ACHTUNG: Die Türen des Kühlschranks sollen nie über langere Zeit offen gelassen werden, da dies zu einer Erh.hung der Innentemperatur führt. Für eine korrekte Temperaturmessung ist der Temperaturanzeiger innerhalb von 30 Sekunden abzulesen.

Vor jeder Reinigungsrarbeit immer den Netzstecker aus der Steckdoseziehen.

Dieses Gerät erhält im Kaltekreislauf Kohlenwasserstoff. Aus thisem Grund darf die Wartung und das Nachfüllen ausschließlich von autorisierten Fachpersonal durchgeführt werden.
Abtauen
Nach einer bestimmten Betriebszeit kann sich im Kuhlraum des Gerätes eine Reifbzw. Eischicht bilden.
These Reif- und Eisschicht wirkt isolerend, die Kälteabgabe wird dadurch erschwert, was zur erhöhten Temperatur der Kührläume führen kann und den Stromverbrauch ansteigen laßt. Eine dicke Reif- und Eisschicht kann daduzfuhrden daß sich die Tür des Gefrierfaches nur schwer öffnen laßt.
Der Temperaturregler unterbricht immer wieder den Kompressor - während dieser Zeit wird der Kuhlprozeß unterbrochen - die Innentemperatur steigt und somit erfolgt ein Abtauen.
Nach dem Abtauen aktiviert der Temperaturregler den Kuhlproze.
Das Wasser sammelt sich im
Sammelbehälter, lauft durch den
Tauwasserablauf über die
Tauwasserabführung in die Auffangschale
(auf dem Kompressor) und verdunstet Dort
durch die Wärme des Kompressors.

Kontrollieren und reinigen Sieitte den Tauwasserablauf regelmäßig, sonst können im Falle einer Verstopfung das angesammelte Wasser in die Isolierung gelangen und damit zu einer vorzeitigen Funktionstörungen des Gerätes führen.

Verwenden Sie beim Reinigen des Tauwasserablaufes das mitgelieferte und auch in der Abb. dargesteltere Reinigungsgerät. Bewahren Sie es am Tauwasserablauf auf.
Überzeugen Sie sich gelegentlich davon, daß der Tauwasserablauf nicht verstopt ist.
Ein typisches Beispiel für die Verstopfung der Tauwasserabführung besteht darin, daß in Papier verpackte Lebensmittel mit der Rückwand des Kühlbereiches in Berührung kommt und dört festfrierten. Beim Herausnahme des Lebensmittels kann das Papier in die Tauwasserabführung gelangen und dadurch einen Verstopfung verursichen.
Gehen Sie deshalbitte beim Einlegen von in Papier verpackte Lebensmittel aus den eben ernannten Grunden vorsichtig vor.

Bei voller Auslastung (z.B. bei Hitze) lauft der Kuhlschrank ununterbrochen, während dieser Zeit ist die Abtauvollautomatik unwirksam.
Nach dem Abtauen sind Reif- und Eisflecken auf der Rückseite des Kühlschranks nicht unüblich.
Bei diesen Typ besitz der Kuhlbereich eine Abtauvollautomatik. Damit entfällt ein Abtauen des Kuhlbereiches.
Das Gefrierfach kann mit einer Abtauvollautomatik nicht versehen werden, da das Gefriergut die Abtautemperatur nicht verträgt.
Hat sich eine Reif- und Eisschicht in geringerem.
Hat sich eine Reif- und Eisschicht gebildet, kann diese mit einem Kunststoffschaber entfernt werden, wenn sie nicht zu dick ist.
Hat sich eine dickere Reif- und Eisschicht gebildet, die nicht mehr mit dem Kunststoffschafer entfernt werden kann, muß das Gefrierfach abgetaut werden (i.d.R. 2-3 mal jährlich).
Nehmen Sie Ihr Gefriergut aus dem Gefrierfach und dem normalen Kuhlbereich heraus, wickeln Sie es in mehrere Lagen Zeitungspapier ein und lagern Sie es an einem kühlen Ort.
Ziehen Sie den Netzstecker aus der Steckdose und{lassen Sie sowohl die Tuf des Gefrierfaches,als auch die des normalen Kuhlbereiches geöffnet.
Lassen Sie das Tauwasser mit einem Lappen oder Schwamm aufsaugen.
Wischen Sie nach dem Abtauen alles gut trocken, und stecken Sie den Netzstecker wieder in die Steckdose. Nun können Sie die Lebensmittel zurücklagen.
Esistempfehlenswert,denTemperaturregler einpaastrundenlang in derhochsten Einstellung zu lassen,um die gewünschte Lagertemperatur zu erreichen.
Reinigung

Bitte keine Reinigungs- bzw.
Scheuermittel verwenden, die das Gerät beschädigen konnten.
Benutzen Sie nie
Metallgegenstände um das Gerät zu reinigen, da es beschädigt werden können.
Den Innenraum mit lauwarmem Wasser und einem neutralen Reinigungsmittel reinigen.Gut nachwaschen und sorgfältig trocknen.
Um einen sicheren Betrieb des Gerätes zu gerwahrleisten, einmal im Jahr den Sockel-Grill abbauen und die Luftkanäe mit einem Staubsauger reinigen. Dies begunstigt denugen Betrieb mit folglichcher Stromersparnis.
Stillstandszeiten
- Den Stecker aus der Steckdoseziehen. Alle Lebensmittel Herausnahmen und Gerät reinigen.
Die Tur offen setzen, um im Inneren eine gute Luftzirkulation zu gewährleisten und damit Geruchsbildung zu vermeiden.
Wechsel der Gluhlampe
Wenn die Gluhlampe defekt ist, können Sie diese keinicht selbst austauschen:
Ziehen Sie den Netzstecker.
Drehen Sie die Schraube der Abdeckung heraus undziehen Sie die Abdeckung in Pfeilrichtung ab.Jetzt konnen Sie die defekte Gluhlampe ersetzen. (Typ: Mignon 322, 230V,15W,Sockel E 14)
Setzen Sie die Abdeckung der Gluhlampe zusammen und schrauben Sie die Schraube wieder ein. Stecken Sie zum Schluß den Netzstecker in die Steckdose.
Eine defekte Innenbeleuchtung beeinträchtigt die Funktionsfähigkeit des Gerätes nicht.

Wenn etwas nicht Funktioniert
Falls das Gerät Stärungen aufweisen sollte, bevor Sie den Kundendienst verstandigen, überprüfen Sie zuerst folgenden:
| STÖRUNG | ABHILFE |
| Im Gerät wird es nicht kalt genug | Der Drehknopf auf kältere Temperatur drehen.Die Lebensmittel mussen so eingelagert werden, dass die Kälte um sie frei zirkulieren kann.Tür richtig schlieben.Die Umgebungstemperatur ist zu warm. |
| Gerät kühlt zu stark. | Der Drehknopf auf wärmere Temperatur drehen. |
| Der Kompressor lauft ständig | Der Drehknopf auf niedrigere Zahlen drehen.Die Umgebungstemperatur ist zu warm.Achten Sie daraufuf, dass diese Öffnungen nicht durch Sockelblenden oder Geschirr abgedeckt werden.Innerhalb der letzen 24 Std. wurden größere Mengen warmer Lebensmittel eingelagert.Tür nur so lange wie notig geöffnet setzen. |
| Wasser im Kühlschrank. | Die Ablauföffnung an der Rückwand im Geräteinnenraum ist verstopft.Mit einem nicht scharfkantigen Gegenstand reinigen.Manchmal sind sie charakterstisch für Kältegeräte. |
| Geräusche | Wenn Kältemittel in dünne Rohre einströmt, konnen Sie ein blubbernde oder platscherndes Geräusch horen.Immer wenn der Kompressor ein- oder ausschaltet, ist ein Klicken zu horen.Geräusche konnen durch das Instand setzen der Möbelstruktur entstehen. |
Kundendienst und Ersatzteile
Sollten Sie nach o.e. Prüfungen zu keinem Resultat kommt, so wenden Sie sichitte an unseren nachsten Kundendienst. Um ein rasches Beheben des Schadens zu ermöglich, ist es beim Anruf an den Kundendienst notwendig anzugegeben:
- Modellbezeichnung
Erzeugnis-Nummer (PNC)
Fertigungs-Nummer (S-No.)
Installation

Vor der Installation{sicherstellen, dass das Gerat nicht beschadigt ist. M ogliche Transportschaden sind dem Handler unverzuglich mitzuteilen.
- Wahlend das Gerät in Betrieb ist, werden der Verflüssiger und der Kompressor, die sich auf der Rückseite des Gerätes befinden, heiß. Aus Gründen der Sicherheit muss eine Mindestbelüftung gesichert sein. Siehe Aufstellungsanweisungen.
- Wichtig: Beschädigte Versorgungs-kabel mussen durch ein Spezialkabel bzw. einen Spezialsatz ersetzt werden, die beim Hersteller oder dem Kundendienststellen erhältlich sind.
Aufstellung
- Vor der Installation{sicherstellen, dass das Gerät nicht beschädigt ist. Mögliche Transportschäden sind dem Handler unverzüglich mitzuteilen.
Das Gerätarf nicht in unmittelbarer Nähe von Heizkörpern oder sonstigen Wärmequelle aufgestellt werden. - Ein Standort mit direkter Sonneneinstahrung solte vermieden werden.
- Eine ausreichende Luftzirkulation an der Geräterückseite muss gewährleistet sein.
- Für eine optimale Belüfung des Gerätes müssen die minimalen Lüftungsquerschnittet (Abb.) eingehalten werden.
Achtung: Die Ventilations - Öffnungen müssen immer saubergehalten werden.
These Angaben finden Sie auf dem Typschild links ander Innenseite des Gerätes. Damit Sie die Daten schnell bei der Hand haben, empfehlen wir, sie hier einzutragen.
Technische Angabe
Die technischen Angaben sind auf dem Typschild genannt, das auf der linken inneren Seite der Anlage liegt.
Ferner ist auch am hinteren Einbauschrankteil ein Luftungskamin mit folgenden Massen notwendig:
Tiefe: 50 mm
Breite: 540 mm

Die Klimaklasse finden Sie auf dem Typschild, das sich links im Innenaum des Gerätes befindet. Nachstehende Tabelle zeigt, welche Umgebungstemperatur welcher Klimaklasse zugeordnet ist:
| Klimaklasse | für Umgebungs-temperatur von |
| SN | +10 bis +32 °C |
| N | +16 bis +32 °C |
| ST | +16 bis +38 °C |
| T | +16 bis +43 °C |
Elektrischer Anschluss
Kontrollieren Sie vor der ersten Benutzung des Gerätes, ob die Netzspannung und -frequenz Ihres Hausanschlusses mit den auf dem Typenschild angegebenen Anschlusswerten übereinstimmen.
Das Gerät muss geerdet sein. Zu diesen Zweck ist der Netzkabelstecker mit einem Schutzkontakt ausgestattet. Falls die Steckdose Ihr's Hausanschlusses nicht geerdet sein sollte, lessen Sie das Gerätitte gemäß den geltenden Vorschriften erden, undzarvonem qualifizierten Elektriker.
Der Hersteller übernimmt keinerlei Haftung für Schäden oder Verletzungen, die durch Missachtung der oben genannten Sicherheitshinweise entstehen.
Das Gerät entspricht den EU-Richtlinien.

Wechsel des Turanschlags beim Gefrierfach
Nachdem Sie den Turanschlag drauben gewechselt haben, müssen Sie es auch beim Gefrierfach tun.
Gehen Sieitte in der Reihenfolge der nachstehenden Beschreibung und Abbildungen vor:
- Mit Hilfe eines Schraubenziehers drücken Sie die innere Zunge des unteren Scharnierträgers ein.
- Den unteren Scharnierträger zusammen mit der Gefrierfachtür auskippen und den Scharnierträgen entfern.
Den winkelförmigenAbdeckstopfen entfernen und auf gegenüberliegendeSeiteeinetzen. - Gefrierfachtür um 180^ drehen dann den unteren Scharnierträger auf den unteren Bolzen der Gefrierfachtür aufsetzen.
- Den oberen Bolzen der Gefrierfachtür in die freiö Öffnung einlagen dann den unteren Scharnierträger zusammen mit der Gefrierfachtür bis zur Einrastung eindrücken.
Sie können diesen Turrechsel auch von Fachleuten durchführten halten.
Benachrichtigen Sieitte die nachste Kundendienstelle.Die entstehenden Kosten sind von Ihnen zu übernehmen.





Türanschlag wechseln

Überprüfen Sie nach dem Turanschlagwechsel unbedingt, daß die Türmagnetdichtungen einwandfrei am Gehäuse anliegen und alle Schrauben kraftschlüssig angezogen sind.



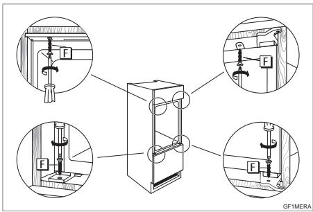
Einbau

MaBzeichnungen
Möbelschrank ausrichten

Geratetür abnehmen
Die nachfolgenden Montageschritte sind nur für Turanschlag rechts (Lieferzustand) dargestellt. Bei Turanschlag links,itte die nachfolgenden Montageschritte entsprechend auf der gegenüberliegenden Geräteseite ausführten.

1. Anpassungen vornehmen

- Fugenabdeckleisten (E) abschneiden.

- Fugenabdeckleisten (E) ankleben.

- Gerä einschieben.

- Gerat festschrauben.

6.Schraubenabdeckungen (L) anbringen.

- Dekorsatz anbringen.

8. Montage Turgriff

9. Geratetür einsetzen.

10. Geräte tür ausrichten (falls erforderlich).

Notice-Facile