Motalla - Rudergerät Skandika - Kostenlose Bedienungsanleitung
Finden Sie kostenlos die Bedienungsanleitung des Geräts Motalla Skandika als PDF.
| Eigenschaft | Details |
|---|---|
| Produkttyp | Rudergerät |
| Abmessungen | L nge: 210 cm, Breite: 60 cm, H he: 80 cm |
| Maximales Benutzergewicht | 150 kg |
| Widerstandssystem | Luftwiderstand |
| Anzeige | LCD-Bildschirm mit Zeit-, Distanz-, Kalorien- und Schlagzahlverfolgung |
| Materialien | Stahlrahmen, robuste Kunststoffsitze |
| Verwendung | Geeignet f r das Training zu Hause, verbessert Ausdauer und Muskelkraft |
| Wartung | Regelm ige berpr fung von Schrauben und Muttern, Schienen schmieren |
| Sicherheit | Auf ebenem Untergrund verwenden, maximales Gewicht nicht berschreiten |
| Garantie | 2 Jahre auf Teile |
| Im Lieferumfang enthaltenes Zubeh r | Bedienungsanleitung, Montagewerkzeuge |
Häufig gestellte Fragen - Motalla Skandika
Benutzerfragen zu Motalla Skandika
0 Frage zu diesem Gerät. Beantworten Sie die, die Sie kennen, oder stellen Sie Ihre eigene.
Eine neue Frage zu diesem Gerät stellen
Laden Sie die Anleitung für Ihr Rudergerät kostenlos im PDF-Format! Finden Sie Ihr Handbuch Motalla - Skandika und nehmen Sie Ihr elektronisches Gerät wieder in die Hand. Auf dieser Seite sind alle Dokumente veröffentlicht, die für die Verwendung Ihres Geräts notwendig sind. Motalla von der Marke Skandika.
BEDIENUNGSANLEITUNG Motalla Skandika
03 Sicherheitshinweise
04 Checkliste
05 Aufbauanleitung
08 Wassertank befüllen / entleeren
09 Transport & Lagerung
10 Computerbedienung
12 Verbindung zur Kinomap-App
13 Benutzung eines Brustgurtes
14 Teileliste
15 Explosionszeichnung
16 Aufwärmen und Abwärmen
16 Übungsanleitung
18 Reinigung und Pflege
18 Garantiebedingungen
| Ruder-garät | Importeur MAX Trader GmbH | ||||||
| Adresse Wilhelm-Beckmann-Str. 19, D-45307 Essen | |||||||
| Antikelnummer | Name SF-3040 | Motalla | |||||||
| CE | Klasse HB | ||||||
| Standard EN ISO 20957 | |||||||
| Warnhinweis:itte lessen Sie vor Gebrauch die Bedienungsanleitung | |||||||
| Produktionsdatum | |||||||
| 2022 | 4 | ||||||
| 1 2 3 4 5 6 7 9 10 11 | 12 | ||||||
| PO Nr.: | |||||||
| Max. Nutzergewicht | 150 kg | ||||||
Die Videos zum Auf- und Abbau sowie FAQ und die Anleitungen zum Downloaden findest Du auf unserer Skandika Service Seite. Für weitere Informationen kannst Du einfach unsere Website besuchen www.skandika.com

WARNING
Um die Verletzungsgefahr zu reduzieren, muss diese Anleitung vor dem Gebrauch vollständig gelesen und verstanden werden! Dieses Gerät ist ausschließlich für den Heimgebrauch in Übereinstimmung mit den Anweisungen in dieser Anleitung vorgesehen. Lesen Sie die Gebrauchsanleitung sorgfältig durch, bevor Sie das Gerät einsetzen und bewahren Sie die Gebrauchsanleitung für die weitere Nutzung auf.
WICHTIGESICHERHEITSHINWEISE
- Verwenden Sie das Gerät nur in geschlossenen Räumen!
- Stellen Sie das Gerät zum Gebrauch auf eine feste und ebene Bodenfläche. Benutzten Sie einen Bodenschutz, um Spuren durch die Gerätefüße zu vermeiden.
- Bauen Sie das Gerät nur wie in dieser Anleitung angegeben zusammen. Das Gerätarf nicht verändert werden.
- Wischen Sie eventuellen Schweiß nach Trainingsende mit einem weichen, saugfähigen Tuch ab. Verwenden Sie keine aggressiven Lösungsmittel oder harte Bürsten.
- Benutzen Sie das Gerät nur in trockener, temperierter Umgebung. Lagern Sie das Gerät nicht in extrem kalter, heißer oder feuchter Umgebung.
- Reinigung und Benutzer-Wartung)durfen nicht von Kindern ohne Beaufsichtigung durchgefuhrt werden.
- Bevor Sie mit einem Trainingsprogramm beginnen, kontaktieren Sie ihren Arzt um Herauszufinden, ob medizinische oder physische Gegebenheiten existieren, die einem Training mit diesen Gerät entgegenstehen bzw. die ihre Gesundheit oder Sicherheit gefährden konnten. Der Ratschlag Ihres Arztes ist unbedingt notwendig, wenn Sie Medikamente einnehmen, die ihre Herzfrequenz, ihren Blutdruck oder ihren Cholesterinspiegel beeinflussen.
- Ihr Gesundheit kann durch falsches oder übermäßig Training beeinträchtigt werden. Kontaktieren Sie immer einen Arzt, bevor Sie ein Trainingsprogramm beginnen. Sollten Sie Schwindel, Übelkeit, Brutschmerzen oder andere unnormale Symptome feststellen, STOPPEN Siesofar das Training und konsultieren Sie einen Arzt.
- Halten Sie Kinder und Tiere fern von diesen Gerät. Dieses Gerät ist ausschließlich für den Gebrauch durch Erwachene geeignet.
- Lassen Sie Kinder niemals unbeaufsichtigt allein in einem Raum mit dem Gerät.
- Bevor Sie das Gerät benutzen, prüfen Sie alle Schrauben und Muttern auf korrekten Sitz. Das Sicherheitsniveau des Gerätes kann nur gehalten werden, wenn es in regelmäßigen Abständen auf Schäden bzw. Anzeichen von Abnutzung untersucht wird.
-
Benutzen Sie das Gerät niemals, wenn es beschädigt ist.
-
Platzieren Sie keine Objekte oder Finger im Bewegungsbereich beweglicher Teile des Gerätes.
- Vor dem Training mit dem Gerät sollenten Sie sich immer sorgfältig aufwärmen, z. B. mit Dehnungsübungen.
- Steigern Sie das Tempo und die Trainingsdauer nur allmählich.
- Das Gerät der Klasse HB darf immer nur von einer Person benutzt werden (max. Gewichtsbelastung = 150 kg).
- Benutzen Sie das Gerät nicht direkt nach Mahlzeiten oder Geträngen. Verwenden Sie das Gerät niemals unter dem Einfluss von Drogen, Alkohol oder Medikamenten, die Desorientierung verursachen.
- Dieses Gerät ist nicht für therapeutische oder gewerbliche Zwecke geeignet und darauf nur in der in dieser Anleitung beschriebenen Art und Weise benutzt werden.
- Legen Sie jeglichen Schmuck, Uhren oder andere Gegenstände wie Handy, Schlüssel oder Messer beiseite, bevor Sie auf thisem Gerät trainieren. Es besteht Unfall- bzw. Verletzungsgefahr!
- Im Falle von Störungen reparieren Sie das Gerät nicht selbst. Lassen Sie Reparaturen nur von autorisierten Servicestellenden durchführren. Es dürfen nur Original-Ersatzteile verwendet werden.
21.itte trainieren Sie mit einem Freibereich von 2 Metern um das Gerät.
22. Tragen Sie immer Trainingskleidung und Schuhe, die für ein Fitnessstraining geeignet sind, wenn Sie auf dem Gerät

trainieren. Die Kleidung muss so beschaffen sein, dass diese nicht aufgrund ihrer Form (z. B. Länge) während des Trainings irgendwo hangen bleiben kann. Die Schuhe sollenn passend zum Trainingsgerät gewählt werden, grundsätzlich dem Fuß einen festen Halt geben und eine rutschfeste Sohle besitzen.
Grundsätzlich sollen den Sie vor der Aufnahme eines Trainings ihren Arzt konsultieren. Er kann Ohnen konkrete Angaben machen, welche Belastungsintensität für Sie geeignet ist und Ohnen Tipps zum Training und zur Ernährung geben. Dies ist insbesondere wichtig für Menschen über 35 Jahre oder für Menschen mit bestehenden Gesundheitsproblemen.
| Abb. | Bezeichnung Menge | |
| A | Gerätebasis 1 | |
| B | Laufschiene 1 | |
| C | Vorderer Standfuß 1 | |
| D | Hinterer Standfuß 1 | |
| E | Rollsitz 1 | |
| F | Computerhalterung 1 | |
| G | Computer 1 | |
| H | Stopper 2 | |
| I | Siphonpumper | 1 |
| J | Keinteileset | 1 Set |
| K | Anleitung | 1 |
| L | Fußstütze | 1 Set |
SCHRITT1
- Entnehmen Sie das Gerät dem Karton und legen Sie alle Teile übersichtlich ausgebriet auf den Boden.
- Befestigen Sie den hinteren Standfuß (D) mit 4 Schrauben M8×15 (1) an der Laufschiene (B).
- Schrauben Sie einen Stopper (H) wie dargestellt in die Laufschiene (B).
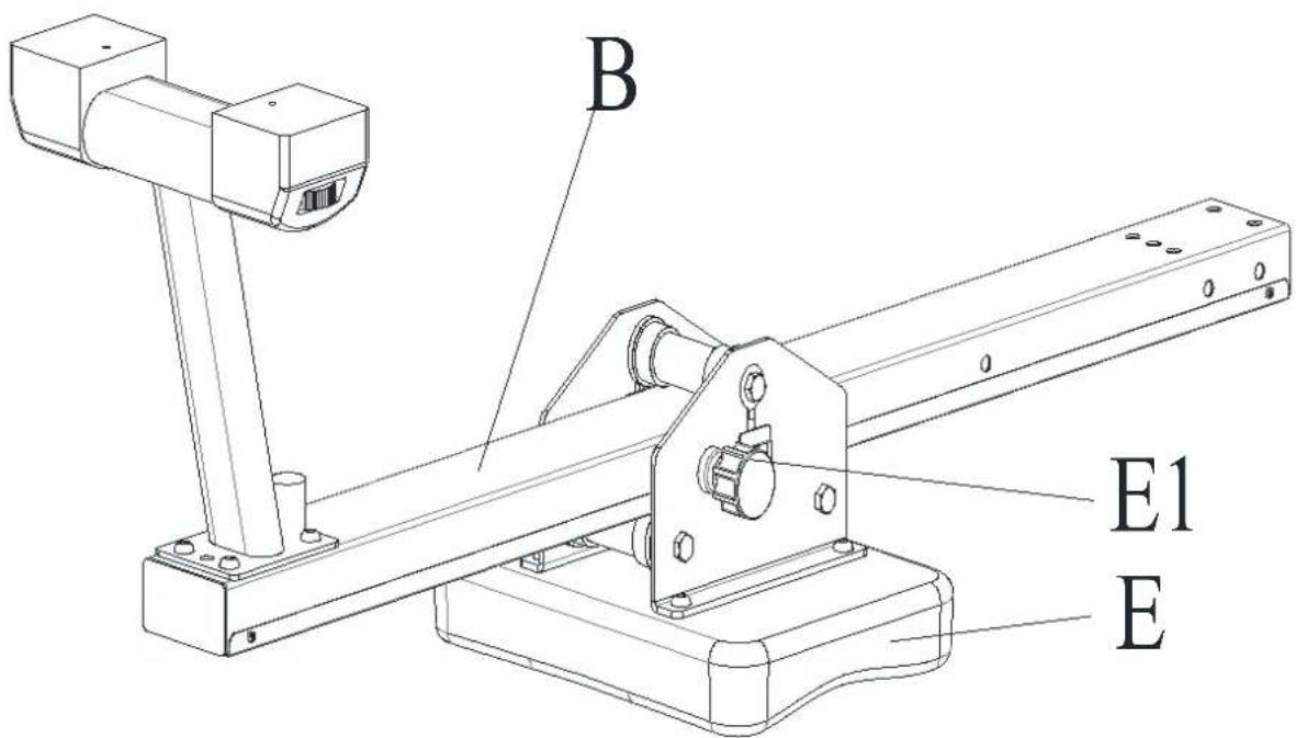
- Schieben Sie den Sitz (E) auf die Laufschiene (B). Hinweis: Ziehen Sie den Sicherungsstift (E1) hersaus und drehen Sieihn in die UNLOCK-Position, bevor Sie den Sitz auf die Laufschiene (B) schieren. Dadurch kann der Sitz frei gleiten. Achten Sie beim Zusammenbau daraufuf, dass der Pfeil auf dem Sitz nach vorne in Richtung des Wassertanks zeigt.


SCHRITT 2
Befestigen Sie den vorderen Standfuß (C) mit 4 Schrauben M8 × 45 (2) und 4 Muttern M8 (3) an der Gerätebasis (A).

SCHRITT 3
Verbinden Sie die beiden Geräteile wie abgebildet mit den Schrauben M8 x15 (4) und befestigen Sie den zweiten Stopper (H) an der Laufschiene.

SCHRITT 4
- Verbinden Sie die Kabel (b-2) mit dem Computer (G) und befestigen Sie die Computerhalterung (F) vorschüt mit den Schrauben (a) am Gerät.
- Der Computer (G) und die Tablet-Halterung (g) werden nun mit den Schrauben (c) montiert.
- Verbinden Sie die Kabelenden (b-1) und (b-2).
- Montieren Sie die beiden Fußstützen (L) mit den Muttern (d1/d2) auf beiden Seiten der Stange (N).
Hinweis: Die Tablet-Halterung (g) besitz eine Schnur mit Halteklammer, in der Sie Ihr Tablet oder Smartphone fixieren können. Die Halterung unterstützt Geräte mit Displaygroßen bis ca. 10 Zoll (25,4 cm).

Stellen Sie sicher, dass alle Verbindungen korrekt festgezogen sind, bevor Sie das Gerät benutzen.
WASSERTANK BEFULLEN / ENTLEEREN
- Entfernen Sie den Verschlussstopfen (M) der Tankoberseite.
- Abb. A zeigt, wie der Tank mit Wasser befüllt wird. Benutzen Sie die mitgelieferte Siphonpumper (I), sowie einen Eimer mit Wasser, um den Tank zu befüllen. Die Pumpe wird damit in den Eimer mit Wasser platziert und der flexible Schlauch muss in den Wassertank führen. Idealerweise steht der Eimer mit Wasser hoher als der Wassertank des Gerätes. Achten Sie auf die Füllmenge, welche an der Tankseitenwand durch die Füllstandsanzeige angezeigt wird.
- Abb. B zeigt, wie der Tank entleert wird. Stellen Sie einen Eimer in direkter Naez zum Wassertank auf und benutzen Sie die mitgelieferte Siphonpumpe (I), um Wasser vom Tank in den Eimer zu pumpen.
- Setzen Sie den Verschlussstopfen (M) wieder in die Tankoberseite ein. Sollte Wasser danebengelaufen sein, wischen Sie these'seitte weg.
HINWEISE:
- Der Tank darf mit Leitungswasser oder destilliertem Wasser befüllt werden. Geben Sie ggf. eine Wasserbehandlungstablette hinzu. Benutzen Sie niemals Chlor oder Chlorbleiche - dies konnte den Tank beschädigen und zur Annullierung der Garantie führen.
Abhängig von der Umgebung des Aufstellortes und der Benutzungshäufigkeit sollen das Wasser regelmäßig getauscht werden, spätestens jedoch alle 6 Monate bzw. bei Anzeichen von Verfärbungen, Bakterien oder Algen etc. Verwenden Sie nach Möglichkeit destilliertes Wasser! - Setzen Sie den Tank niemals direktem Sonnenlicht aus und entleeren Sie hin bei längerer Nichtbenutzung.
Zum Sauberhalten des Wassers eignen sich handelsübliche Wasserreinigungstabletten. Eine Tablette ist ausreichend für den maximal gefüllten Wassertank. Verrühren Sie das Wasser nach Hinzugabe einer Tablette gut. Geben Sie etwa 2-3 Monate eine Tablette in den Tank.
Das Wasser aus dem Tank ist nicht fur den Verzehr geeignet. Nach der Entleerung schuitten Sie das Wasser weg.
Das Wasserniveau
In Abb. A ist die Füllstandsanzeige dargestellt. Sie dürfen den Tank bis maximal zur Füllstufe 6 (ca. 14 Liter) fällen. Überfüllen Sie niemals den Tank darüber hinaus! Dies führt zum Ausfall der Garantie.
- Der Widerstand beim Rudern hangt vom Füllstand des Tanks ab. Füllstufe 1 bedeutet den gingsten Widerstand beim Rudern, Stufe 6 ist der höchste Widerstand.


TRANSPORT & LAGERUNG
Um das Gerät zu bewegen, schieben Sie den Sitz (E) nach vorn und haben Sie den hinteren Standfuw wie darge-stellt an, bis die Transportrollen vorn den Boden berühren. So konnen Sie das Gerät einfach von Ort zu Ort rollen.
ACHTUNG! Bewegliche Teile wie z. B. der Sitz (E) konnten durch Verrutschen Verletzungen verursachen.
Berühren Sie nicht die Laufschiene (B), wenn Sie das Gerät bewegen oder auf ihm trainieren!


Das Gerät sollte nur in sauberer, trockener und temperierter Umgebung gelagert werden. Entleeren Sie den Tank und entnehmer Sie die Batterien, wenn Sie das Gerät für 1 Monat oder länger nicht benutzen.

COMPUTERBEDIENUNG
BATTERIEN:
Der Computer benötigt 2 AA-Batterien (mitgeliefert). Bei Batteriewechsel gehen alle Einstellungen verloren. Wenn es ein Anzeigeproblem gibt, wechseln Sie zuerst die Batterien.
Wechseln Sie immer alle beside Batterien gleichzeitig aus und mischen Sie keine verschiedene Batterietypen. Nutzen Sie nur neue Batterien und nicht eine alte und neue zusammen. Entsorgen Sie Batterien immer gemäß den geltenden, gesetzlichen Bestimmungen.
Tastenfunktionen:
RECOVERY: Startet die Herzerholungsratenmessung nach einem Training zur Bestimmung der Herzerholungsrate.
RESET: Einfacher Druck kehrt zurück ins Hauptmenu oder setzt bei der Eingabe von Vorgaben den Wert auf 0. Halten und Drücken für ca. 3 Sekunden führt zum Reset aller Funktionswerte.
START/STOP: Startet oder beendet ein Training.
ENTER: Bestätigt eine Auswahl oder einen Vorgabewert. Während des Trainings kann mit dieser Taste eine andere Funktion dargestellt werden.
PFEILTASTEN: Mit diesen beiden Tasten konnen Sie Auswahlen treffen oder Funktionswerte einstellen.
FUNKTIONEN
TIME: Trainingszeit. Sie können mit den Pfeiltasten in 1-Minuten-Schritten eine Vorgabezeit einstellen (1min ~ 99 min).
TIME / 500M: Anzeige der durchschnittlichen Zeit für 500 Meter Rudern.
SPM: Ruderschlage je Minute (Schlagfrequenz).
DISTANCE: Ruderistanz. Sie können mit den Pfeiltasten in 100-Meter-Schritten eine Vorgabadistanz einstellen (0 99.900m)
STROKES: Anzeige der Schlagzahl (Ruderschlage).
CALORIES: Zeigt den ca.-Kalorienverbrauch an. Sie konnen mit den Pfeiltasten in 50er-Schritten eine Vorgabekalorienzahl einstellen (~5.000 kcal).
PULSE: Der Computer zeigt während des Trainings die Pulsfrequenz des Benutzers an (hierfür muss ein passender SKANDIKA Brustgurt angelegt werden - dieser ist im Lieferumfang enthalten). Es ist eine Pulsvorgabe von 90 bis 200 Pulsschlagen je Minute möglich (H.R.C.) - bei Erreichen der eingestillten Herzfrequenz wird der Computer ein entsprechendes, akustisches Signal ausgegeben.
A+: Zeigt die durchschnittlichen Werte der Zeit, Kalorien und der Pulsfrequenz.
BEDIENUNG DES COMPUTERS
Nach dem Einlagen der Batterien leuchten für ca. 2 Sekunden alle Anzeigen im Display auf. Anschließlich wechselt der Computer automatisch in die Modusauswahl, wo Sie zwischen „QUICK START" (manueller Modus), „TARGET GOALS" (Zielwerttraining) oder „RACE" (Rennmodus) wahren können. Wahlen Sie den gewünschten Modus mit den Pfeiltasten aus und bestätigen Sie mit ENTER. Mocht den Si pater einen neuen Modus wahlen, halten Sie die RESET-Taste ca. 3 Sekunden lang gedrückt, danach konnen Sie mit den Pfeiltasten einen neuen Modus wahlen.
QUICK START (manueller Modus)
Sie konnen im manuellen Modus direkt mit dem Training beginnen (_,START" drücken). Die Funktionswerte verändern sich mit dem Trainingsfortschnitt. Möchten Sie das Training beenden, drücken Sie „STOP".
TARGET GOALS
Hier konnen Sie vor dem Training Zielwerte für bestimmte Funktionen (Zeit / Distanz / Kalorien / Puls) vorgegeben. Nach Auswahl von des Modus blinkt die Trainingszeit (TIME). Sie konnen mit den Pfeiltasten und ENTER eine Vorgabezeit einstellen oder einfach ENTER drücken, um zur nachsten Vorgabemglichkeit zu gelangen. So konnen Sie entweder die Zeit, die Distanz, die Kalorien oder den Puls vorgegeben. Drucken Sie START, um mit dem Training zu beginnen. Nach Ablauf der Vorgabe oder bei Druck auf STOP wird das Training beendet.
Rennmodus (RACE)
Nach Auswahl des Modus wahlen Sieitte mit den Pfeiltastene eine Rennvariante (siehe folgende Tabelle) von L1... bis L15 aus. Drucken Sie ENTER, um dann eine Distan einzustellen. AbschlieBend drucken Sie START/ STOP, um mit dem Rennen zu beginnen. Das Display zeigt nun den Benutzer und einen virtuellen Gegner an (U = Benutzer; PC = Computer)- je nachdem, wer zuerst das Ziel erreicht, bewirkt einen Stopp des Programms. Mit ENTER konnen Sie während des Rennens durch verschiedene Anzeigen schalten. Im Rennprogramm kann nur die Distan vorgegeben werden, die Zeit/500m ist je nach gewähller Stufe vorgegeben:
| L1 8 | 00 |
| L2 7 | 30 |
| L3 7 | 00 |
| L4 6 | 30 |
| L5 6 | 00 |
| L6 5 | 30 |
| L7 5 | 00 |
| L8 4 | 30 |
| L9 4 | 00 |
| L10 3 | 30 |
Am Ende wird "PC WIN" (Computer hat das Rennen gewonnen) oder "USER WIN" (Benutzer hat gewonnen) angezeigt. Durch Druck auf START konnen Sie das Rennen noch einmal durchlaufen. RESET beendet den Rennmodus.
RECOVERY (Herzerholungsratenmessung):
Mit dieser Spezialfunktion ist es möglich, die Herzerholungsrate nach einem Training zu ermitteln, welche ein Indikator für die sportliche und körperliche Verfassung des Trainierenden ist. Je better die Herzerholungsrate (also je schneller sich die Herzfrequenz wieder auf den Normalpuls erholt), umso „fitter" ist der Sportler.
Um diese Funktion nutzen zu konnen, mussen Sie einen zusätzlichen Brustgurt tragen. Der Computer ist ausgestattet mit einem eingebauten Empfänger für die drahtlose Pulsfrequency Übertragung mittels eines SKANDIKA Brustgurtes (Frequenz: 5,3 kHz, Brustgurt im Lieferumfang enthalten). Empfohlene Reichweite: 100 - 150 cm. Beachten Sie die Anleitung des Brustgurtes.
Nachdem Sie das Training abgeschlossen haben, behalten Sieitte den Brustgurt an und drucken Sie auf „RECOVERY". Warten Sie 60 Sekunden, während der Computer fortlaufend ihren Puls misst. Nach Ablauf der Zeit wird ihre bewertete Herzerholungsrate auf dem Computer angezeigt mit einer Skala von 1.0 (F1.0) bis 6.0 (F6.0), wobei 1.0 sehr gut ist und 6.0 = ungenugend. Verbessern Sie ihre Rate durch regelmäßiges Training am besten auf 1.0! Drucken Sie erneut auf „RECOVERY", um die Herzerholungsratenmessung zu verlassen.
KINOMAP
Die kostenlose Kinomap App verhilft Ichn zu einem kraftvollen Training, das Spaß macht! Wahlen Sie eines von den Videos der Kinomap und legen Sie los. Ihr Position wird immer auf der Karte dargestellt. Laden Sie die Kinomap App im App Store oder Play Store herunter (dazu einfach den QR-Code einscannen) oder suchen Sie nach Kinomap.
Installieren und öffnen Sie die App und melden Sie sich an bzw. registrierten Sie sich. Schalten Sie Bluetooth ein. Fügen Sie nun das Trainingsgerät wie folgt hinzu:








3. Rudergerät

4. Skandika auswahlen

5. Das Gerät auswahlen
Tippen Sie nun auf OK und kehren Sie zum Hauptmenu darüber. Sie können nun einen Kurs auswahlen (je nach Art Ihres KinoMap-Kontos). Drücken Sie auf Start und beginnen Sie mit dem Training!

Benutzung eines Brustgurtes
Der Computer ist ausgestattet mit einem eingebauten Empfänger für die drahtlose Pulsfrequency-Übertragung mittels des SKANDIKA Brustgurtes (Frequenz: 5,3 kHz, Brustgurt im Lieferumfang enthalten). Empfohlene Reichweite: 100 - 150 cm.
Möchten Sie ihre Pulsfrequenz durch den Brustgurt übermitteltn halten, gehen Sie wie folgt vor:
- Stellen Sie sich, dass die korrekte Batterie (Knopfelle Typ CR-2032, 3V) im Brustgurt (Transmitter) eingelegt ist. Batteriewechsel: Entfernen Sie (ggf. mit Hilfe eines Geldstückes) die Abdeckung auf der Rückseite des Transmitters. Entnehmen Sie die Batterie und legen die neue Batterie mit dem Plus-Zeichen (+) nach oben ein. Versichert Sie sich, dass der Dichtungsring korrekt platziert ist. Setzen Sie nun die Abdeckung wieder auf.
- Feuchten Sie die Elektroden an der Rückseite des Transmitters leicht an! Dies erhöht die Kontaktsensibilität und ermöglicht eine bessere Funk-Übertragung an den Empfänger.
- Legen Sie den Brustgurt so an, dass die Elektroden auf der Innenseite direkt an der Brust anliegen. Sie konnen den Brustgurt mit Hilfe des Elastikbandes auf eine angenehme Weite einstellen. Die Elektroden müssen darauf aber Kontakt zu ihrer Brust haben, um eine Pulsfrequenz messen zu konnen.
- Der 5,3 kHz-Brustgurt communiziert mit dem im Computer verbauten Empfänger. Es kann u.U. bis zu einer Minute dauern, ehe die korrekte Pulsfrequency übertragen und angezeigt wird.
Sicherheitshinweis:
Beim Tragen eines Herzschrittmachers verwenden Sie den Brustgurt nicht, bevor Sie mit dem Hersteller des Herzschrittmachers und/oder mit ihrem Arzt Rücksprache gehalten haben.
Batterie-Entsorgung:
Batterien gehören nicht in den Hausmull. Als Verbraucher sind Sie gesetzlich verpflichtet, gebraachte Batterien zurückzugegeben. Sie konnen ihre alten Batterien bei den öffentlichen Sammelstellen in ihrer Gemeinde oder überall Dort abgeben, wo Batterien der betreffenden Art verkauft werden.
| Teil Nr. | Bezeichnung Spezifikation | Menge | |
| 1 | Hauptrahmen 1 | ||
| 2 | Computerstütze 1 | ||
| 3 | Computerhalterung 1 | ||
| 4 | Computerbefestigungsplatte 1 | ||
| 5 | Vordere Abdeckung 282.5*129*ø1.5 1 | ||
| 6 | Hintere Abdeckung 861*129*ø1.5 1 | ||
| 7 | Befestigung für Wassertank | 277.5*129*ø1.5 | 1 |
| 8 | Vorderer Standfuß | 1 | |
| 9 | Tankbefestigung | 1 | |
| 10 | Laufschiene | 40*80*1050 | 1 |
| 11 | Linke Sitzbefestigung | 1 | |
| 12 | Sitzstütze | Assembly | 1 |
| 13 | Obere Sitzbefestigung | ø1.5 | 1 |
| 14 | Hinterer Standfuß | ø3 | 2 |
| 15 | Oberer Tankdeckel | ø518*100 | 1 |
| 16 | Tankabdeckung unter | ø518*100 | 1 |
| 17 | Schaufelrad | ø462*124 | 1 |
| 18 | Dichtungsring | ø501*7 | 1 |
| 19 | Gummi | ø40*7 | 1 |
| 20 | Stopfen | ø31.3*10.4 | 1 |
| 21 | Welle | ø18*ø10.2*13 | 2 |
| 22 | Welle 2 | 110*98*12 | 1 |
| 23 | Gummischeibe | ø60*ø45*30 | 1 |
| 24 | Gummidichtigung | ø60*ø45*Ø2 2 | |
| 25 | Rolle | ø95*ø82*32 | 1 |
| 26 | Kleines Rad | ø51*ø38*32 | 2 |
| 27 | Linke Gurtbandbefestigung Sitz | 108*60*50 | 1 |
| 28 | Rechte Gurtbandbefestigung Sitz | 54*39*35 | 1 |
| 29 | Lenkerbefestigung | 54*39*35 | 2 |
| 30 | Griffrohr | 40*25*390 | 2 |
| 31 | PVC-Griffhülse | ø29*ø23*187 | 2 |
| 32 | Rückzugsvorrichtung | ø110*220 | 1 |
| 33 | Obere Lagerabdeckung | ø20.5*3 | 1 |
| 34 | Abpumpvorrichtung | 570 | 2 |
| 35 | PVC-Gehäuse 5 | ø16*ø10.2*4.5 | 1 |
| 36 | TC-Rahmen Öldichtung | ø20*ø40*8 | 2 |
| 37 | Linke Fußstüzte | 305*125*85 | 2 |
| 38 | Rechte Fußstüzte | 305*125*85 | 1 |
| 39 | Rolleø42*ø33*91.4*80.8 1 | ||
| 40 | Rolle 2 | ø38*ø33*91.4*82 | 1 |
| 41 | Rollenhülse | ø12*ø8.2*77 | 1 |
| 42 | Vorderfußhülse (links) | 40*80 | 2 |
| 43 | Vorderes Fußpolster (rechts) | 40*80 | 1 |
| 44 | Hintere verstelltbare Fußmanschette | 40*80 | 2 |
| 45 | Sitz | PU320*260*52 | 1 |
| 46 | Kissen | ø25*32*M8 | 2 |
| 47 | Fußriemen 50*500 2 | ||
| 48 | Endkappe | 25*25*1.5 | 2 |
| 49 | Endkappe | 40*80 | 1 |
| Teil Nr. | Bezeichnung Spezifikation | Menge | |
| 50 | Schraube | Ø38*67*M16*1.5 | 1 |
| 51 | Kabelverbindung 12 Ø14.5*Ø12*12 | 1 | |
| 52 | EVA-Polster | 90*25*Ø2 | 1 |
| 53 | Fußpolster | Ø52*43*M8 | 2 |
| 54 | Fixierpin | Ø8*40 | 1 |
| 55 | Randstreifen | 1046*38.7*Ø2 | 2 |
| 56 | Verständungsrohr | 20*10*1.5*370 | 1 |
| 57 | Wellenhülse | Ø18*Ø14*Ø10*10 | 2 |
| 58 | Lager | 608 | 6 |
| 59 | Schraube | M8×15×S5 | 16 |
| 60 | Schraube | M10×60×15×S6 | 1 |
| 61 | Schraube | M10×65×15×S6 | 5 |
| 62 | Schraube | M8×125×20×S14 | 3 |
| 63 | Schraube | M8×120×20×S14 | 20 |
| 64 | Schraube | M6×15×S5 | 10 |
| 65 | Schraube | M6×15×S5 | 4 |
| 66 | Schraube | M8×20×S5 | 1 |
| 67 | Schraube | M3×17ר6 | 12 |
| 68 | Schraube | ST4.2×16ר7 | 7 |
| 69 | Schraube | M4×6ר7 | 9 |
| 70 | Nylonmutter M8 | 7 | |
| 71 | Nylonmutter M3 | 12 | |
| 72 | Nylonmutter | M10 | |
| 73 | Nylonmutter | M6 | |
| 74 | Unterlegscheibe | d8ר16×1.5 | |
| 75 | Ring | M6*25 | |
| 76 | Computer | TZ-8139 | |
| 77 | Tablet-Halterung | 1 | |
| 78 | Computerkabel | 1 | |
| 79 | Sensorkabel | 400 | |
| 80 | Inbusschlüssel S5 | S5 | |
| 81 | Inbusschlüssel S4 | S4 | |
| 82 | Kombi-Werkzeug | 13 14 17 | |
| 83 | Wasseraufbereitungsmitel | 1 | |
| 84 | Brustgurt | 5.3 kHz |

AUFWÄRMEN und ABWÄRMEN
Ein erfolgreiches Trainingsprogramm besteht aus einer Aufwärmfphase, einer Trainingsphase und dem Abkühlen (Abwärmen). Die Trainingshäufigkeit sollte für Anfänger bei 2- bis 3-mal die Woche angesetzt werden, immer mit mindestens einem Tag Pause zwischen den Trainingsseinheiten. Nach einigen Monaten kann die Häufigkeit auf 4- bis 5-mal wöchentlich gesteigert werden.
AUFWÄRMEN
Die Phase verbessert den Blutfluss und hilft der Muskulatur, richtig zu arbeiten. Durch Aufwärmen wird das Risiko eines Krampfes oder von Muskelverletzungen reduziert. Es ist empfehlenswert, eine Dehnungsübungen auszuführen, wie unter beschrieben. Jede Dehnung sollte fur ca. 30 Sekunden gehalten werden, bzw.solete keine Gewalt oder zu starker Druck ausgeübt werden -treten Schmerzen auf, horen Sie auf! Aufwärmbungen konnen auch Gehen, Joggen, Hampelmänner, Seilsprungübungen oder das Laufen auf der Stelle beinhalten.
STRETCHING
Die Muskulatur kann einfacher gedehn werden, wenn sie warm ist. Dies reduziert das Verletzungsrisiko. Nicht nachfedern!

Seitbeugen

Vorwärtsbeugen

Oberschenkel Innenseiten


Oberschenkel
Denken Sie daran, immer zuerst ihren Arzt zu kontaktieren, bevor Sie mit einem Trainingsprogramm beginnen.
ABWÄRMEN
These Phase dient dazu, Ihr kardiovaskulares System und ihre Muskeln wieder zu entspannen. Sie konnen z. B. das Tempo reduzieren und für 5 weitere Minuten trainieren. Wiederholen Sie dann die Dehnungsübungen aus der Aufwärmfphase - denken Sie wieder daran, keine Gewalt oder zu starken Druck bei der Dehnung auszuuben.
Ubungsanleitung
Rudern ist eine sehr effektive Art des Trainings. Es stärkt das Herz und den Kreislauf sowie alle große Muskelgruppen: Den Rucken, den Bauch, die Arme, Schultern, Gesäß und Beine. Um die Lebensdauer des Bandes zu verlangern, führen Sie die Handgriffe nach jeder Benutzung darüber in die Ausgangsposition.
Rudergrundzüge
- Setzen Sie sich auf den Sitz und legen Sie ihre Füge auf die Fußstützen und fixieren Sie diese mit dem Klett-verschluss. Umgreifen Sie die Griffe.
- Nehmen Sie die Startposition ein, lehnen Sie sich mit ausgestreckten Armen nach vorne und winkeln Sie ], die Beine an (siehe Fig. 1).
- Stoßen Sie sich nach hinten. Rücken und Beine werden damit gleichzeitig gestreckt (Fig. 2).
- Führn Sie diese Bewegung aus, bis Sie leicht nach hinten lehnen. In dieser Phase sollen den Ellbogen nach außen zeigen (Fig. 3). Nehmen Sie wieder die Haltung unter Punkt 2) ein und wiederholen Sie den Ablauf.

Trainingszeit
Rudern ist eine sehr anstrengende Betätigung und darum empfeht es sich, mit einem kurzen und einfachen Programm anzufangen und sich langsam zu steigern. Beginnen Sie mit 5 Minuten und steigern Sie die Trainingszeit entsprechend ihrer körperlichen Fitness. Gündüz ist eine Dauer von 15 bis 20 Minuten, aber halten Sie sich Zeit, um Ihr Ziel zu erreichen. Trainieren Sie jeder zweiten Tag, 3 Mal die Woche. Dadurch hat Ihr Körper genug Zeit, sich zwischen den Trainingsseinheiten zu erholen.
Nur mit den Armen rudern
Mit dieser Übung stärken Sie die Arm- und Schultermuskulatur sowie den Rücken und den Bauch. Setzen Sie sich wie in Fig. 4 gezeigt mit geraden Beinen hin, lehnen Sie sich nach vorne und umfassen Sie die Griffe. Lehnen Sie nun den Oberkörper ruhig und gleichmäßig nach hinten bis kurz nach der aufrechten Position (Fig. 6) undziehen Sie damit die Griffe in Richtung Oberkörper. Kehren Sie wieder in die Ausgangsposition zurück und wiederholen Sie die Übung.

Nur mit den Beinen rudern
Mit dieser Übung stärken Sie vor allem die Bein- und Rückenmuskulatur. Mit geradem Rücken und ausgestreckten Armen winkeln Sie die Beine ab, bis Sie die Griffe wie in Fig. 7 in der Ausgangsposition erreichen. Strecken Sie nun die Beine durch und bringen Sie so ihren Körper nach halten, wobei die Arme und der Rücken gerade bleiben.

Reinigung und Pflege
- Bevor Sie das Gerät reinigen, vergewissern Sie sich, dass das Gerät ausgeschaltet ist.
Das Gerät reinigen Sie nur mit einem leicht angefeuchteten Tuch. Verwenden Sie keinesfalls Bürsten, scharfe Reinigungsmittel, Benzin, Verdünner oder Alkohol. Reiben Sie das Gerät mit einem sauberen, weichen Tuch trocken. - Benutzen Sie das Gerät erst wieder, wenn es vollig getrocknet ist.
GARANTIEBEDINGUNGEN
Für unsere Geräte leisten wir Garantie gemäß nachstehenden Bedingungen:
- Wir beheben kosten nach Maßgabe der folgenden Bedingungen (Nummern 2-5) Schäden oder Mängel am Gerät, die nachweislich auf einen Fabrikationsfehler beruhen, wenn Sie uns unverzüglich nach Feststellung und innerhalb von 24 Monaten nach Lieferung an den Endabnehmer gemeldet werden. Die Garantie erstreckt sich nicht auf leicht zerbrechliche Teile, wie z. B. Glas oder Kunststoff. Eine Garantiepflicht wird nicht ausgelost: durch geringfugige Abweichungen der Soll-Beschaffenheit, die für Wert und Gebrauchstauglichkeit des Gerätes unerheblich sind; durch Schäden aus chemischen und elektronchemischen Einwirkungen; durch Eindringen von Wasser sowie allgemein durch Schäden hoherer Gewalt.
- Die Garantieleistung erfolgt in der Weise, dass mangelhafte Teile nach unserer Wahl unentgeltlich instand gesetzt oder durch einwandfrei Teile ersetzt werden. Die Kosten für Material und Arbeitszeit werden von uns getragen. Instandsetzungen am Aufstellungsort konnen nicht verlangt werden. Der Kaufbeleg mit Kauf- und/oder Lieferdatum ist vorzulegen. Ersetzte Teile gehin in unser Eigentum über.
- Der Garantieanspruch erlischt, wenn Reparaturen oder Eingriffe von Personen vorgenommen werden, die hierzu von uns nicht ermächtigt sind oder wenn unsere Geräte mit Ergänzungs- oder Zubehörteilen versehen werden, die nicht auf unsere Geräte abgestimmt sind. Ferner wenn das Gerät durch den Einfluss hóherer
Gewalt oder durch Umwelterinflüsse beschädigt oder zerstört ist, bei Schäden, die durch unsachgemäße Behandlung - insbesondere Nichtbeachtung der Betriebsanleitung - oder Wartung aufgetreten sind oder falls das Gerät mechanische Beschädigungen irgendwelcher Art aufweist. Der Kundendienst kann Sie nach Telefonischer Rücksprache zur Reparatur bzw. zum Tausch von Teilen, welche Sie zugesandt besteht, ermächtigen. In thisem Fall erlischt der Garantieanspruch selbstverständlich nicht.
- Garantieleistungen bewirken weder eine Veränderung der Garantiefrist noch setzen sie eine neue Garantiefrist in Gang.
- Weitergehende oder andere Ansprüche, insbesondere auf Ersatz außerhalb des Gerätes entstandener Schäden, sind - sowie eine Haftung nicht zwingend gesetzlich angeordnet ist - ausgeschlossen.
- Unsere Garantiebedingungen, welche die Voraussetzungen und den Umfang unserer Geschäftsbedingungen beinhalten, setzen die vertraglichen Gewährleistungsverpflichtungen des Verkäufers unberührt.
- Verschleiße unterliegen nicht den Garantiebedingungen.
- Der Garantieanspruch erlischt bei nicht bestimmungs-gemäßem Gebrauch, insbesondere in Fitness-Studios, Rehabilitationszentren und Hotels. Selfest wenn die meisten unserer Geräte qualitat für den professionen Einsatz geeignet sind, erfordert dies gesonderter gemeinsamer Vereinbarungen.
HINWEISE ZUM UMWELTSCHUTZ

Das Symbol des durchgestriichen Mülleimers auf Batterien oder Akkumulatoren besagt, dass diese am Ende ihrer Lebensdauer nicht im Hausmüll entsorgt werden dürfen. Sofern Batterien oder Akkumulatoren Quecksilber (Hg), Cadmium (Cd) oder Blei (Pb) enthalten, finden Sie das jeweilige chemische Zeichen unterhalb des Symbols des durchgestriichen Mülleimers. Sie sind gesetzlich verpflichtet, alte Batterien und Akkumulatoren nach Gebrauch zurückzugeben. Sie können this Kostenfrei im Handelsgeschäft oder bei einer anderen Sammelstelle in Ihrer Näre tun. Adressen geeigneter Sammelstellen konnen Sie von ihrer Stadt- oder Kommunalverwaltung erhalten. Batterien konnen Stoffe enthalten, die schädlich für die Umwelt und die menschliche Gesundheit sind. Besondere Vorsicht ist aufgrund der besonderen Risiken beim Umgang mit lithiumhaltigen Batterien geboten. Durch die getrennte Sammlung und Verwertung von alten Batterien und Akkumulatoren sollen negative Auswirkungen auf die Umwelt und die menschliche Gesundheit vermieden werden.itte vermeiden Sie die Entstehung von Abfallen aus alten Batterien soweit wie möglich, z. B. indem sie Batterien mit längerer Lebensdauer oder aufladbare Batterien bevorzugen.itte vermeiden Sie die Vermüllung des öffentlichen Raums, indem sie
Batterien oder batteriehaltige Elektro- und Elektronikgeräte nicht achtlos liegenlassen.itte prufen Sie Mochlichkeiten, eine Batterie anstatt der Entsorgung einer Wiederverwendung zuzufahren, beispelsweise durch die Rekonditionierung oder die Instandsetzung der Batterie.
Im Zuge ständiger Produktverbesserungen behalten wir uns technische und gestalterische Änderungen vor.
Für Ersatzteile kontaktieren Sieitte folgende E-Mail-Adresse: service@skandika.de
Der Service erfolgt durch: MAX Trader GmbH, Wilhelm-Beckmann-Straße 19, 45307 Essen, Deutschland
Contents
| Ruder-gerät | Importeur MAX Trader | GmbH | |||||||||
| Adresse Wilhelm-Beckmann | ann-Str. 19, D-45307 Essen | ||||||||||
| Antikelimummer | Name SF-3040 | Metalla | |||||||||||
| CE | Klasse HB | ||||||||||
| Standard EN ISO 20957 | |||||||||||
| Warnhinweis:itte lesen Sie vor Gebrauch die Bedienungsanleitung | |||||||||||
| Produktionsdatum | |||||||||||
| 2022 | 4 | ||||||||||
| 1 | 2 | 3 | 4 | 5 | 6 | 7 | 8 | 9 | 10 | 11 | |
| PO Nr.: | |||||||||||
| Max. Nutzergewicht | 150 kg | ||||||||||
| Ruder-garät | Importeur MAX Trader GmbH | |||||||||
| Adresse Wilhelm-Beckmann-Str. 19, D-45307 Essen | ||||||||||
| Antikelnummer | Name | SF-3040 | Motalla | ||||||||||
| CE | Klasse HB | |||||||||
| Standard EN ISO 20957 | ||||||||||
| Warnhinweis:itte lessen Sie vor Gebrauch die Bedienungsanleitung | ||||||||||
| Produktionsdatum | ||||||||||
| 2022 | 4 | |||||||||
| 1 | 2 | 3 | 4 | 5 | 6 | 7 | 8 | 9 | 10 | |
| PO Nr.: | ||||||||||
| Max. Nutzergewicht | 150 kg | |||||||||
TRANSPORT ET STOCKAGE
Vertrieb & Service durch / Sales & Service by
Wilhelm-Beckmann-Straße 19
45307 Essen
Germany
EinfachAnleitung