SWITEL BSW 220 - Überwachungskamera

BSW 220 - Überwachungskamera SWITEL - Kostenlose Bedienungsanleitung

Finden Sie kostenlos die Bedienungsanleitung des Geräts BSW 220 SWITEL als PDF.

📄 58 Seiten Deutsch DE 💬 KI-Frage 10 Fragen ⚙️ Technik
Notice SWITEL BSW 220 - page 39
Handbuch anzeigen : Français FR Deutsch DE English EN Español ES Italiano IT
Technische Merkmale Überwachungskamera SWITEL BSW 220, HD-Auflösung, Nachtsicht, Bewegungserkennung.
Verwendung Ideal für die Innen- und Außenüberwachung, kompatibel mit mobilen Apps für den Fernzugriff.
Wartung und Reparatur Regelmäßige Überprüfung der Funktion und Firmware-Aktualisierung, Reinigung des Objektivs empfohlen.
Sicherheit Datenverschlüsselung, Konfigurationsoptionen für Sicherheitsalarme, sicherer Zugriff per Passwort.
Allgemeine Informationen Einfache Installation, technischer Support verfügbar, Herstellergarantie inklusive.

Häufig gestellte Fragen - BSW 220 SWITEL

Wie verbinde ich die SWITEL BSW 220 Kamera mit meinem Wi-Fi-Netzwerk?
Um Ihre Kamera zu verbinden, laden Sie die SWITEL-App herunter, erstellen Sie ein Konto und folgen Sie den Anweisungen, um ein neues Gerät hinzuzuffcgen, indem Sie den QR-Code auf der Kamera scannen.
Was tun, wenn die Kamera keine Verbindung zum Wi-Fi herstellt?
berprfen Sie, ob Ihr Wi-Fi-Passwort korrekt ist, ob die Kamera in Reichweite des Routers ist, und versuchen Sie, die Kamera und den Router neu zu starten.
Wie kann ich die Aufnahmen der Kamera ansehen?
Die Aufnahmen knnen ber die SWITEL-App angesehen werden. Greifen Sie auf den Aufnahmereiter zu, um die gespeicherten Videos anzusehen.
Die Kamera lsst sich nicht einschalten, was tun?
berprfen Sie, ob die Kamera richtig angeschlossen ist und die Stromversorgung funktioniert. Wenn das Problem weiterhin besteht, versuchen Sie, die Kamera zurckzusetzen.
Wie setze ich die SWITEL BSW 220 Kamera zurck?
Um die Kamera zurckzusetzen, halten Sie die Reset-Taste etwa 10 Sekunden lang gedrckt, bis die Anzeige blinkt.
Funktioniert die Kamera auch nachts?
Ja, die SWITEL BSW 220 ist mit Nachtsicht ausgestattet, die sich automatisch einschaltet, wenn die Beleuchtung gering ist.
Kann ich die Kamera im Auenbereich verwenden?
Ja, die SWITEL BSW 220 ist fcr den Auenbereich mit Wetterschutz konzipiert. Achten Sie darauf, die Installationsspezifikationen einzuhalten.
Wie ndere ich die Benachrichtigungseinstellungen der Kamera?
Die Benachrichtigungseinstellungen knnen in der SWITEL-App unter 'Einstellungen' und dann 'Benachrichtigungen' gendert werden.
Nimmt die Kamera kontinuierlich auf?
Die SWITEL BSW 220 kann so konfiguriert werden, dass sie kontinuierlich aufnimmt oder nur bei Bewegungserkennung, je nach Ihren Vorlieben.
Was tun, wenn ich mein App-Passwort vergessen habe?
Verwenden Sie die Option 'Passwort vergessen?' auf dem Anmeldebildschirm der App, um Ihr Passwort zurckzusetzen.

Benutzerfragen zu BSW 220 SWITEL

0 Frage zu diesem Gerät. Beantworten Sie die, die Sie kennen, oder stellen Sie Ihre eigene.

Eine neue Frage zu diesem Gerät stellen

L'email reste privé : il sert seulement à vous prévenir si quelqu'un répond à votre question.

Noch keine Fragen. Stellen Sie die erste.

Laden Sie die Anleitung für Ihr Überwachungskamera kostenlos im PDF-Format! Finden Sie Ihr Handbuch BSW 220 - SWITEL und nehmen Sie Ihr elektronisches Gerät wieder in die Hand. Auf dieser Seite sind alle Dokumente veröffentlicht, die für die Verwendung Ihres Geräts notwendig sind. BSW 220 von der Marke SWITEL.

BEDIENUNGSANLEITUNG BSW 220 SWITEL

iSmart-CAM ist eine drahtlose Netzwerkkamera. Über Drahtlostechnologie kann sie eine Verbindung zu ihrem Smartphone oder Tablet herstellen und per Smartphone oder Tablet jederzeit und überall alles überwachen, was Ohnen wichtig ist.

Figures and Quick Guide / Figures et Guide d'utilisation rapide / Figuras y guía / Abbildungen und Schnellanleitung / Figure e Guida rapida

Product Layout / Description du produit / Esquema del produit / Produktübersicht / Struttura del prodotto

Camera / Caméra / Camara / Kamera / Telecamera

SWITEL BSW 220 - Camera / Caméra / Camara / Kamera / Telecamera - 1

SWITEL BSW 220 - Camera / Caméra / Camara / Kamera / Telecamera - 2

SWITEL BSW 220 - Camera / Caméra / Camara / Kamera / Telecamera - 3

EN

1.Light sensor
2.Microphone
3.Camera lens
4. Infrared LEDs
5.Speaker
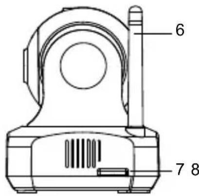
6.Antenna
7.Micro SD Card slot
8.Power adapter socket
9. Reset button
10.Power/Status LED

FR

1.Lichtsensor
2.Mikrofon
3.Kameraobjektiv
4.Infrarot-LEDs
5.Lautsprecher
6.Antenne
7. MicroSD-Kartensteckplatz
8.Netzteilanschluss
9. Rücksetztaste
10.Betriebsanzeige/Status-LED

IT

,iSmart-CAM"-App herunterladen/

wahlen Sie ,iSmart-CAM XX : XX : XX...

"Kennwort ist ,12345678" /

,iSmart-CAM"-App ausführren /

Ihr Smartphone oder Tablet mit der Kamera verbinden

1.1 Schalten Sie WLAN an Ihrrem Smartphone oder Tablet ein.
1.2 Wahlen Sie „iSmart-CAM XX: XX: XX...“ unter WLAN-Netzwerke und geben Sie das Kennwort ein. Das Standardkennwort lautet „,12345678". Siehe Abb. 1.

Hinweis: Falls Sie „iSmart-CAM_XXXXXXXX" unter WLAN-Netzwerke nicht finden konnen und die LED an der Kamera nicht blinkt, befolgen Sieitte Schritt 3.4 dieser Bedienungsanleitung zum Rücksetzen der Kamera.

1.3 Führn Sie die App iSmart-CAM an Ihrhem Smartphone oder Tablet aus.

Der Willkommensbildschirm wird angezeigt. Siehe Abb. 2.

1.4 Eine Internetverbindung einrichten

Die Kamera sucks nach verfügbaren WLAN-Netzwerken (SSID). Wahlen Sie den Name des WLAN-Netzwerks (SSID), mit dem Sie die Kamera verbinden möchten, und geben Sie das Kennwort Ihr's WLAN-Routers ein, falls erforderlich. Damit ist die erstmalige Einrichtung abgeschlossen. Siehe Abb. 3.

Hinweis 1: Sobald Sie die Interneteinrichtung abgeschlossen haben, wird die LED an der Kamera nach etwa 1 Minute grün.

2: Die WLAN-SSID ist der Name des Drahtlosnetzwerks.
3: Falls die Kamera das WLAN-Netzwerk, mit dem Sie sie verbinden möchten, nicht finden kann, stellen Sieitte sicher, dass sich Kamera und WLAN-Router innerhalb der Unterstützungen Reichweite zueinander befinden.
4: Falls Sie das SSID-Kennwort falsch eingeben, gibt die Kamera zwei Signtõne aus und wird anschliebend automatisch auf den Werksstandard rückgesetzt.itte schlieben Sie die App und befolgen Sie Schritt 1.1 in der Bedienungsanleitung zur erneuten Einrichtung der Kamera.
5: Wenn Sie die Interneteinrichtung abgeschlossen haben, die Betrieb/Status-LED aber weiterhin orange leuchtet, prüfen Sieitte, ob der WLAN-Router richtig Funktioniert; stellen Sie außerdem sicher, dass sich Kamera und WLAN-Router innerhalb der Unterstützung Reichweite zueinander befinden.
6: Vergewissern Sie sich, dass Ihr Mobiltelefon mit dem WLAN-Zugangspunkt/-Router verbunden ist, den Sie nach der Einrichtung zugewiesen haben.

2 Echtzeitvideo ansehen

2.1 Wahlen Sie das Kamerasymbol in der Kameraliste zur Anzeige des Videos von der Kamera.
2.2 Berühren Sie den Bildanzeigebereich des Bildschirms, wischen Sie zum Schwenken/Neigen über den Bildschirm. Siehe Abb. 4.

2.3 Berühren Sie den Bildanzeigebereich des Bildschirms und bewegen Sie zwei Finger zum digitalen Zoomen auseinander. Siehe Abb. 5.

3 Kamera zu anderen Smartphones oder Tablets hinzufugen

3.1 Kamera im LAN hinzufügen (Mobiletelefon und Kamera müssen mit demselben WLAN-Router verbunden sein)

  1. Laden Sie die App iSmart-CAM herunter.
  2. Schalten Sie die WLAN-Funktion Ihres Smartphones oder Tablets ein und tippen Sie am Bildschirm zur Auswahl auf den WLAN-Router, mit dem ihre Kamera verbunden ist.
  3. Führn Sie die App iSmart-CAM an Ihr hem Smartphone oder Tablet aus.
  4. Tippen Sie zum Hinzufügen einer Kamera auf das Symbol „Kamera hinzufügen". Siehe Abb. 6.
  5. Wahlen Sie durch Tippen auf den Bildschirm, welche Kamera Sie zur „Liste verfügbarer Kameras“ hinzufugen möchten. Siehe Abb. 7.
  6. Geben Sie das Kennwort für die Kamera ein. Das Standardkennwort lautet „admin".
  7. Tippen Sie auf das Kamerasymbol in der Kameraliste zur Anzeige des Videos von der Kamera.

Hinweis: Wenn Sie das Kennwort falsch eingeben, tippen Sieitte erneut auf das Kamerasymbol und geben Sie das richtige Kennwort ein.

3.2 Kamera über externe Einrichtung hinzufugen (Mobilgerät und Kamera müssen mit demselben WLAN-Router verbunden sein)

  1. Laden Sie die App iSmart-CAM herunter.
    2.itte stellen Sie safer, dass Ihr Smartphone oder Tablet uber einen WLAN-Router oder ein mobiles 3G/4G-Netzwerk eine Verbindung zur Kamera herstellen kann.
  2. Führn Sie die App iSmart-CAM aus.
  3. Tippen Sie auf das Symbol „Kamera hinzufügen". Siehe Abb. 6.
  4. Rufen Sie durch Antippen des Symbols „Externale Kamera hinzufugen“ den Bildschirm „Eine Kamera hinzufugen“ auf. Siehe Abb. 8.
  5. Geben Sie Benutzerkennung und Kennwort der Kamera ein, die Sie hinzufügen möchten.

Hinweis 1: Tippen Sie am Echtzeitvideobildschirm zum Beziehen der Benutzerkennung auf das Symbol i (Informationen). Die Benutzerkennung ist 20 Zeichen lang.

2: Das Standardkennwort lautet „admin“.
3: Wenn Sie das Kennwort falsch eingeben, tippen Sieitte erneut auf das Kamerasymbol und geben Sie das richtige Kennwort ein.

  1. Tippen Sie auf das Kamerasymbol in der Kameraliste zur Anzeige des Videos von der Kamera.

3.3 Weitere Kameras hinzufugen (mehrere Kameras)

Befolgen Sie Schritt 1.1 in der Bedienungsanleitung zum Abschluss der erstmaligen Einrichtung jeder Kamera.

Hinweis: Es konnen bis zu 10 Kameras hinzugefügt werden.

3.4 Kamera auf werkseitigen Standard rücksetzen (siehe Abb. 9)

Halten Sie die Reset-Taste (mit Hilfe eines kleinen Gegenstands bzw. einer Nadel) 5 bis 10 Sekunden gedrückt, nachdem die Kamera mindestens 1 Minute lang eingeschaltet war.

Die Kamera gibt 3 Signaltone aus, die Rücksetzung dauert etwa 1 Minute. Die LED beginnnt dunkelorange zu blinken.

Hinweis 1: Falls Sie keinen Signalon horen, ist die Rücksetzung fehlgeschlagen.itte schalten Sie die Kamera wieder ein und drucken Sie erneut die Reset-Taste.

2: Falls Sie ihren WLAN-Router ersetzen und das Kamerakennwort vergessen, muss die Kamera auf den werkseitigen Standard rückgesetzt werden.

Bitte beachten Sie zur erneuten Einrichtung der Kamera 3.3 bezüglich der erstmaligen Einrichtung in der Bedienungsanleitung.

4 Betriebsmodus

4.1 Echtzeitvideo ansehen. Siehe Abb. 10.

  1. Kameraname
  2. Datum's- und Zeitanzeige
  3. Online-Anzahl/Auflösung/Bildwiederholfrequency
  4. Informationen:

Tippen Sie zum Beziehen von Informationen über die Kamera auf das Symbol

SWITEL BSW 220 - Echtzeitvideo ansehen. Siehe Abb. 10. - 1

. Siehe Abb. 11.

  1. Aufnahme:

Tippen Sie auf das Symbol zum Starten der Aufnahme, wenn eine SD-Karte eingesteckt ist.

  1. Audio ein/aus und Gegensprechfunktion:

Durch Antippen des Symbols konnen Sie den Ton ein-/ausschalten oder die Gegensprechfungtion der Kamera nutzen.

SWITEL BSW 220 - Echtzeitvideo ansehen. Siehe Abb. 10. - 2

: Audio ein

:Gegensprechfunktion

: Stumm

  1. Schnappschuss:

Tippen Sie zum Speichern eines Schnappschusses der Kamera auf Ihr Smartphone oder Tablet auf das Symbol.

  1. Fotoordner:

Tippen Sie zur Anzeige aller Fotos, die Sie aufgenommen haben, auf das Symbol.

  1. Sicherheit ein/aus

SWITEL BSW 220 - Echtzeitvideo ansehen. Siehe Abb. 10. - 3

: Sicherheit ein. Zum Aktivieren des Alarmsystems drücken. Die Kamera gibt einen kurzen Signalon aus. Alle Sensoralarme arbeiten wie vorab eingestellt.

SWITEL BSW 220 - Echtzeitvideo ansehen. Siehe Abb. 10. - 4

: Sicherheit aus. Zum Deaktivieren des Alarmsystems noch einmal drücken. Die Kamera gibt einen langen Signalon aus. Alle Alarmsensoren werden ausgeschaltet.

  1. Sirene ein/aus

SWITEL BSW 220 - Echtzeitvideo ansehen. Siehe Abb. 10. - 5

: Sirene ein.

: Sirene aus.

SWITEL BSW 220 - Echtzeitvideo ansehen. Siehe Abb. 10. - 6

4.2 Kameraeinstellungen

Tippen Sie zum Aufrufen des Bildschirms mit den Kameraeinstellungen auf das Symbol. Siehe Abb. 12.

Hinweis: Aus Sicherheits- und Verwaltungsründen konnen die Funktionen „Kamerakennwort" und „SD-Karte sicher entfernen" nicht eingestellt werden, wenn Mobilgerät und Kamera nicht mit demselben WLAN-Router verbunden sind.

4.2.1 Namen ändern: Ändern Sie den Kameranamen. Siehe Abb. 13.

4.2.2 Kennwort ändern: Ändern Sie das Kamerakennwort. Das Standardkamerakennwort lautet „admin“. Siehe Abb. 14.

SWITEL BSW 220 - Kennwort ändern: Ändern Sie das Kamerakennwort. Das Standardkamerakennwort lautet „admin“. Siehe Abb. 14. - 1

Zum Schutz Ihrer Privatsphäre sollen den Sie das Kamerakennwort unbedingt regelmäßigändern.

4.2.3 Löschen: Kamera aus Kameraliste Löschen.

4.2.4 Ereignisbetrachter: Ereignisprotokolle betrachten.

4.2.5 Drahtloseinrichtung: Unterstützung Ethernet-Kabelanschluss.

4.2.6 Bewegungserkennung (siehe Abb. 15):

a. Bewegungserkennung aktivieren/deaktivieren.
b. Ein Bewegungserkennungsereignis kann die Alarmfunktion per Push-Benachrichtigung und die Bewegungsaufnahme auslösen.

Hinweis: Die Bewegungsaufnahme ist nur möglich, wenn eine microSD-Karte in der Kamera eingesteckt ist.itte deaktivieren Sie zum Entfernen der Speicherkarte zunachst die Bewegungserkennung.

c. Berühren Sie den Bildanzeigebereich des Bildschirms, wischen Sie dann zum Kennzeichnen des Bewegungserkennungsbereichs über den Bildschirm.
d. Das Interval zwischen den Prüfungen beträgt 1 Minute.

4.2.7 Stimmerkennung (VOX) (siehe Abb. 16):

a. iSmart-CAM unterstützt Stimmerkennung und Alarmfunktionen per Push-Benachrichtigung. Wenn der Ton von der Kamera den eingestallen Pegel erreicht, sendet die Kamera eine Alarmmeldung an Ihr Smartphone oder Tablet; zichem kann die Kamera automatisch eine vorab aufgezeichnete Stimme oder Melodie wiedergeben.
b. Durch Antippen des Empfindlichkeitsreglers können Sie die Empfindlichkeit anpassen oder die VOX-Funktion deaktivieren. Ist eine hohe Empfindlichkeit eingestellt, erkennt das Kameramikrofon leisere Gerausche.
c. Tippen Sie zum Starten der Aufnahme einer Stimme oder Melodie auf das Symbol Stimmrekorder; diese kann anschließend über die Kamera wiedergegeben werden, wenn VOX ausgelöst wird. Tippen Sie zum Beenden der Aufnahme auf das Stoppen-Symbol. Die maximale Aufnahmezeit beträgt 10 Sekunden. Der Stimmrekorder ist nur Funktionstüchtig, wenn eine microSD-Karte in der Kamera eingesteckt ist.
d. Das Intervall zwischen den VOx-Prüfungen beträgt 1 Minute.

4.2.8 Aufnahme:

Tippen Sie zum Aktivieren der HD-720p-Aufnahme auf das Symbol, durch erneutes Antippen deaktivieren Sie die Aufnahme.

  • *Hinweis 1: Die Aufnahme ist nur möglich, wenn eine microSD-Karte in der Kamera eingesteckt ist.

2:Das System unterstützt microSD-Karten mit einer maximalen Kapazität von 32 GB.

3: Eine 1-GB-Speicherkarte kann etwas 2 Stunden VGA-Video oder 1 Stunde HD-Video aufzeichnen. Neue Bilder überschreiben alte Bilder, sobald die Karte voll ist.

4: Falls die Bewegungserkennung nicht aktiviert ist, zeitnet die Kamera kontinuierlich auf.

5: So geben Sie eine Aufnahmedatei wieder

  • Stecken Sie die microSD-Karte in einen SD-Kartenadapter.
  • Schlieben Sie den Kartenadapter an einen Computer an.
  • Geben Sie die Aufnahmedatei über einen Medienplayer, wie z. B. VLC, wieder.

SWITEL BSW 220 - Aufnahme: - 1

Entfernen Sie die Speicherkarte nicht bei aktiver Aufnahme; andernfalls wird die Aufnahme beschädigt.

4.2.9 Aufnahmeeinstellungen:

Wahlen Sie die Auflösung der Aufnahmedateien: VGA (640 x 360) oder HD (1280 x 720)

4.2.10 Videowiedergabe:

Geben Sie Aufnahmedateien direkt am Smartphone oder Tablet wieder.

4.2.11 SD-Karte sicher auswerfen:

Tippen Sie auf these Symbol, bevor Sie die SD-Karte entnehmer. Achten Sie daraufauf, zuvor die Bewegungs- bzw. kontinuierliche Aufnahme zu stoppen.

4.2.12 Videoeinstellungen (siehe Abb. 17):

a. Umkehren: Tippen Sie zum Umkehrn des Videobildes auf das Umkehrn-Symbol, wenn die Kamera an der Decke montiert ist.
b. Spiegeln: Zum Spiegeln oder Umkehren des Bildes.
c. Videoauflösung: Die Anzahl anzeigbarer Einzelpunkte je Ausrichtung, d. h. HD (1280 x 720) / VGA (640 x 360) / QVGA (320 x 180).
d. Bitrate: Die Anzahl der in der Telekommunikation übertragenen Bits pro Sekunde. Je higher die Rate,esto groBer die Bandbreitenauslastung.

e. Bildwiederholfrequency: Die Frequenz, bei der die Kamera Einzelbilder produziert. Jehigher die Bildwiederholffrequency,desto reibungsloser die Videowiedergabe; allerdings erfordert dies mehr Rechenleistung und Systembandbreite. Die Bildwiederholfrequency variiert je nach Netzwerkbedingungen, Mobiltelefonleistung, Bildauflosung und Objekt situation.
f. Netzfrequenz: Die Frequenz ihrer Stromversorgung. Sie können diese auf 50Hz oder 60Hz einstehen.

Hinweis 1: Zur externen Anzeige einer Kamera außerhalb Ihres Heim- oder Büronetzwerks muss die Kamera für einen besseren Zugriff auf die QVGA-Auflösung eingestellt werden.

SWITEL BSW 220 - Videoeinstellungen (siehe Abb. 17): - 1

Wenn Sie als Auflösung HD oder VGA wahlen, kann die Videostreamingqualität aufgrund unzureichender Netzwerkbandbreite beeinträchtigt werden.

4.2.13 IoT-Sensoreinstellung:itte beachten Sie zur Einstellung der IoT-Sensoren die Sensoreinstellungsanleitung des jeweiligen Sensors.

Problemlösung

Die Kamera lässt sich über WLAN-Router oder 3G/4G-Mobilfunknetze mit Smartphones oder Tablets verbinden.

  • Achten Sie darauf, dass der Netzteilstecker bis zum Anschlag eingesteckt wird.
  • Vergewissern Sie sich, dass die Kamera eingeschaltet ist und die Betriebsanzeige-/Status-LED grün leuchtet.
  • Sorgen Sie davon, dass sich die Kamera in Reichweite des WLAN-Routers befindet.
  • Achten Sie darauf, dass das Smartphone/Tablet per WLAN oder 3G/4GMobilfunkverbindung mit dem Internet verbunden ist.

Videostreaming ist langsam oder ruckelt

  • Falls sich ein Mikrowellengerät in der Höhe der Kamera oder des WLAN-Routers befindet, stellen Sie die Mikrowelle an eine andere Stelle oder schalten sie ab.
  • Sorgen Sie davon, dass sich die Kamera in Reichweite des WLAN-Routers befindet.
  • Die Geschwindigkeit des Videostreams hangt in erster Linie von der Verbindungsgeschwindigkeit ab.
  • Die Internetgeschwindigkeit (ob per WLAN oder 3G/4G-Mobilfunknetz) wirkt sich stark auf die Leistung des Gerätes aus. Je schneller und stabiler die Verbindung,estochneller kann die Kamera Videodaten übertragen.
  • Reduzieren Sie Videoauflösung, Bitrate und Bildfrequenz.
  • Es gibt drei hauptsächliche Breitband-Internetanbindungen: DSL, Kabel und Glasfaser. Wenn Sie eine DSL-Verbindung nutzen, stellen Sie die Videoauflösungitte auf QVGA ein.
  • Wenn Sie das Kamerabild außerhalb Ihres Heim- oder Firmennetzwerks abrufen möchten, muss die Kamera auf QVGA-Auflösung eingestellt werden.

Pflege und Wartung

  • Lassen Sie Kamera und Zubehör nicht in Kinderhände gelangen.
  • Fingerabdrücke und Schmutz an der Linsenoberfläche können sich erheblich auf die Kameraleistung auswirken. Achten Sie daraufuf, die Linsenoberfläche nicht mit ihren Fingern zu berühren.
  • Sollete die Linse schmutzig werden, beseitigen Sie Schmutz und Staub mit einem Druckluftreiniger oder einem weichen, trockenen Tuch.
  • Halten Sie die Kamera trocken. Niederschlag, Feuchtigkeit und andere Flüssigkeiten mit Mineralien halten elektronische Schaltkreise korrodieren.
  • Verwenden oder lagern Sie das Produkt nicht an staubigen, schmutzigen Orten.
  • Bewahren Sie das Produkt nicht an bereits Orten auf. Hohe Temperatoren können die Lebenszeit elektronischer Geräte verkurzen und bestimmte Kunststoffe verformen oder schmelzen halten.
  • Bewahren Sie das Produkt nicht an sehr kalten Orten auf. Wenn sich das System erwartet (auf normale Betriebstempo) kann sich Feuchtigkeit im Inneren des Gehäuses bilden und die elektronische Schaltkreise beschädigen.
  • Versuchen Sie nicht, das Gehäuse zu öffnen. Unsachgemäß Handhabung des Gerätes kann das System beschädigen.
  • Lassen Sie das Gerät nicht fallen, setzen Sie es keinen starken Erschüttterungen aus.
  • Betreiben Sie das Produkt nur mit dem mitgelieferten oder als Zubehör bereitgestelltten Netzteil.
  • Überlasten Sie Steckdosen oder Verlängerungskabel nicht, da dies Brand- und Stromschlaggefahr bergen kann.

Sicherheitstipps befolgen

So vermeiden Sie (lebensgefährliche) Verletzungen in Verbindung mit den Kabeln der Kamera, Achten Sie daraufuf, dass sich die Kabel von Kamera und Netzteil immer außerhalb der Reichweite des Babys befinden (mindestens 1 Meter entfernt). Hinweis: Dies ist auch dann zu beachten, wenn Ihr Baby noch nicht stehen oder sich bewegen kann.

SWITEL BSW 220 - Sicherheitstipps befolgen - 1

  • Verwenden Sie niemals Verlängerungskabel in Verbindung mit Netzeilenen. Verwenden Sie nur die mitgelieferten Netzeile.

Service-Hotline

Bei technischen Problemen wenden Sie sich an unsere Service-Hotline.

Schweiz: Tel. 0900 00 1675 (Kosten national, Swisscom bei Drucklegung:

CHF 2,60/min). Bei Garantieansprüchen wenden Sie sich an ihren Fachhändler.

EuP2

Netzteil

Beim energiaeffizienten Netzteil (Input 100-240 VAC, Output 5.9 VDC, 1.97 A) beträgt die Nulllast ca. 0.06 W. Die durchschnittliche Effizienz beträgt ca. 77,5%. Die maximale Leistungsaufnahme beträgt ca. 11 W.

Garantie

SWITEL-Geräte werden nach den modernsten Produktionsverfahren hergestellt und geprüft. Ausgesuchte Materialien und hoch entwickelte Technologien sorgen für einwandfrei Funktion und lange Lebensdauer. Die Garantie gilt nicht für die in den Produkten verwendeten Batterien, Akkus oder Akkupacks. Die Garantiezeit beträgt 24 Monate, gerechnet vom Tage des Kaufs. Innerhalb der Garantiezeit werden alle Mängel, die auf Materialoder

Herstellungsfehler zurückzuführen sind, kostenlos beseitigt. Der Garantieanspruch erlischt bei Eingriffen durch den Käfer oder durch Dritte. Schaden, die durch unsachgemäß Behandlung oder Bedienung, natürliche Abnutzung, durch falsches Aufstellen oder Aufbewahren, durch unsachgemäß Anschluss oder Installation sowie durch höhere Gewalt oder sonstige äußere Einflüsse entstehen, fallen nicht unter die Garantieleistung. Wir behalten uns vor, bei Reklamationen die defekten Teile auszubessern, zu ersetzen oder das Gerät auszutauschen. Ausgetauschte Teile oder ausgetauschte Geräte gehen in unser Eigentum über. Schadenersatzansprüche

sind ausgeschlossen, soweit sie nicht auf Vorsatz oder grober Fahrlässigkeit des Herstellers beruhen. Sollte Ihr Gerät dennoch einen Defekt innerhalb der Garantiezeit aufweisen, wenden Sie sichitte unter Vorlage ihrer Kaufquittung

ausschließlich an das Geschäft, in dem Sie Ihr SWITEL-Gerät gekauft haben. Alle Gewährleistungsansprüche nach diesen Bestimmungen sind ausschließlich gegenüber ihrem Fachhändler geltend zu machen. Nach Ablauf von zwei Jahren nach Kauf und Übergabe unserer Produkte konnen Gewährleistungsrechte nicht mehr geltend gemacht werden.

Konformitätserklarung

Dieses Gerät erfüllt die Anforderungen der Richtlinie 1999/5/EG über Funkanlagen und Telekommunikationsendeinrichtungen und die gegenseitige Anerkennung ihrer Konformität. Die Konformität mit der o. a. Richtlinie wird durch das CEZeichen auf dem Gerät bestätigt. Für die komplette Konformitäserklarung nutzen Sieitte den kostenlosten Download von unserer Website www.switel.com.

Handbuch-Assistent
Powered by Anthropic
Warten auf Ihre Nachricht
Produktinformationen

Marke : SWITEL

Modell : BSW 220

Kategorie : Überwachungskamera