Economic 60 - Heizung WANDERS - Kostenlose Bedienungsanleitung
Finden Sie kostenlos die Bedienungsanleitung des Geräts Economic 60 WANDERS als PDF.
Häufig gestellte Fragen - Economic 60 WANDERS
Benutzerfragen zu Economic 60 WANDERS
0 Frage zu diesem Gerät. Beantworten Sie die, die Sie kennen, oder stellen Sie Ihre eigene.
Eine neue Frage zu diesem Gerät stellen
Laden Sie die Anleitung für Ihr Heizung kostenlos im PDF-Format! Finden Sie Ihr Handbuch Economic 60 - WANDERS und nehmen Sie Ihr elektronisches Gerät wieder in die Hand. Auf dieser Seite sind alle Dokumente veröffentlicht, die für die Verwendung Ihres Geräts notwendig sind. Economic 60 von der Marke WANDERS.
BEDIENUNGSANLEITUNG Economic 60 WANDERS
D Gebrauchsanweisung und Montage Vorschriften Economic 46

wanders
fires & stoves
200802
NL
Geachte klant,
Technische tekeningen 60
Technische gegevens Economic
Technische gegevens
Gebrauchsanweisung und Installationsvorschriften Economic
Sehr geehrter Kunde,
Herzlichen Glückwunsch zum Kauf Ihr's Holzofens, der eine komfortable Wärmequelle ist die Ihnen jahrelang Freue machen wird.
Der Economic hat eine eingebaute Sparklappe, die den Zug im Schornstein regelt, und zwei stufenlose Ventilatoren, die die Heizleistung steigern.
Bei der Entwicklung these Holzofens haben wir besonders auf Gebrauchsfreundlichkeit, Betriebssicherheit und Design gehet. Der Economic ist in unserer eigenen Fabrik in Netterden entwickelt, hergestellt und großteils handgemacht. Bei der Produktion wurden nur die besten Materiale, die den europäischen Normen entsprechen, eingesetzt. Damit gewährleisten wir eine lange Lebensdauer these Holzofens.
Im ersten Teil dieser Gebrauchsanweisung geben wir Ihnen Tipps und Hinweise für die richtige und sichere Art ihren Holzofen zu benützen. Im zweiten Teil befinden sich die Installationsvorschriften sowie auch die technischen Angaben diesen Economic Ofens. Diese sind vor Allem für den Installateur wichtig.
Vor Gebrauch Ihres Holzofens bitten wir Sie die Gebrauchsanweisung sorgfältig zu lessen und sie dann gut zu bewahren. Ihr Installateur braucht vielleicht diese Anleitung für die jährliche Wartung Ihres Ofens.
Wir wünschen Ohnen viel Wärme mit ihrem Kauf.
Das WANDERS Team
INHALT
Ihr Economic auf einen Blick 49
Montage 49
Den Ofen anmachen 49
Das erste mal Heizen 50
Heizmaterial: Holz und Braunkohle 50
Die optimale Art zu Heizen 51
Schornstein und Rauchkanal 51
Wartung 52
Brandschutz 52
Garantie 52
Montagevorschriften Economic
Technische Zeichnungen
Ihr Economic auf einen Blick

Eine der Economic Modelle
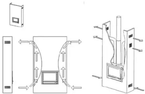
Der Economic ist eine Kombination von Komfort und effiziente Wärmeabgabe. Der Ofen besteht aus einem Aussenmantel und einem Innenwerk. Demzufolge erwartt 70% der Wärme schnell ihre Wohnfläche durch Konvektion. Die überigen 30% der Wärme wird durch Strahlung der Glasoberfläche erzeugt. Durch die eingebaute Rauchgasehrplatte werden die Rauchgase im Innenwerk rundgeleitet, was zusätzliche Wärme zur Folge hat. Die 1 oder 2 eingebauten Ventilatoren, die einigermasen hörbar sind, steigern den Ertrag与其 ofens. Sie saugen kalte Luft wird im unteren Teil des Ofens an. Durch die Rückseite wird die Luft nach oben geführt und dann an der Vorderseite wieder ausgeblasen. Die Rotationsgeschwindigkeit der Ventilatoren ist manuell einstellbar.
Der Ofen hat eine automatische Thermostatklappe. Diese regelt die Luftzufahr zum Holzofen durch den Aschetresor. Sie öffnen die Klappe vollständig beim anzünden. Bei Erwärung des Ofens schliesst sich die Klappe automatisch. So wird Übererhitzung mit möglichchem Schaden am Ofen auf ein Minimum beschränkt, falls die übrigen Luftöffnungen verschlossen bleiben. Denken Sie daran, den Aschetresor regelmässig zu leeren damit die Luftzufahr optimal bleibt.
Montage
Im Allgemeinen kummert sich der Handler, wo Sie den Ofen gekauft haben, auch um die Installation. Wenn das nicht der Fall ist, beachten Sie, dass die Installation von einem anerkannten Installateur gemacht wird. Ein anerkanter Installateur kann Ihnen auch den korrekten Rat geben, über den Rauchabzugskanal an welchen der Ofen angeschlossen werden muss. Der Anschluss der Holzöfen durch Unbefugte, ist verboten. In dem Fall konnen wir Ihnen die gute Funktion des Economic Ofens nicht garantieren.
Bei der Installation müssen Sie auch auf die Brandschutzvorrichtung achten. Sie Seite 55.
Dieser Holzofen ist als Zusatzheizung geeignet und kein Ersatz für ihre Zentralheizung.
Ihren Ofen im Herbst oder Ende Winter anmachen
Wenn die Außen- und Raumtemperatur nicht viel verschieden sind, ist einGreater Kaminabzug eine richtige Herausforderung. Fruh im Herbst oder Ende des Winters konnen Sie für einenugen Abzug sorgen, indem Sie weniger Holz verbrennen und alle Luftungsöffnungen maximal offen halten. Viel Luftzufahr fordert eine schnelle Erwärnung und regt einenugen Abzug an. Mit weniger Holz heizen verhindert, dass der Rauch wieder in den Raum stromen kann
Den Ofen anmachen
Der Ofen wird beim Anzünden und Befeuern sehr heiss und brauchtwenigstens 2 Stunden zum Auskühlen. Fassen Sie den Ofen deshalbitte nicht ungesichert an während der Befeuerung und zwei Stunden danach. Bedieren Sie den Ofen immer mit einem Handschuh, sonst konnen Sie sich schwere Verbrennungen zuziehen.

Das Öffnen der Tür

Bedienung des Schüttelrosts (A). Knopf zur bedienung des Thermostats (B)
Öffnen Sie die Ofentür und legen Sie eine Papierknäuel oder Feueranzünder in den Ofen und eine Holzspäne oder Braunkohlebriketts oben drauf. Öffnen Sie die automatische Thermostatklappe maximal (S. Foto). Öffnen Sie den Schüttelrost mit dem Schüttelschieber und halten Sie die ersten fünf bis zehn Minuten den Aschetresor offen, damit zusätzlich Luft zugeführrt wird. Zünden Sie die Holzspäne oder Braunkohlebriketts an und öffnen Sie die Tur auf einen Spalt, damit zusätzlich Luft zugeführrt wird. Nach einigen Minuten schliessen Sie die Tur. Wenn die Späne gut brennen, konnen Sie zusätzlichen Brennstoff nachlegen und den Aschetresor wieder schliessen. Legen Sie nicht mehr als drei Holzscheite zur gleichen Zeit in den Ofen. Wenn der Ofen richtig brennt, regelt er die weitere Luftzufuhr selbst. Achten Sie daraufuf, dass immer ausreichend ventiliert wird, wenn Sie den Holzofen brennen.
Achten Sie auf Fingerabrickse
Achten Sie daraufuf, dass Sie die Scheiben des Ofens nicht mit den Fingern berühren. Fingerabrücke brennen in das Glas und können danach nicht mehr entfern't werden.
Es ist verboten, mit flüssigen Stoffen, so wie Benzin und Spiritus, den Ofen anzumachen. Vermeiden Sie, dass im gleichen Raum in welchem der Ofen stehen, eine Abzughaube an ist. Berühren Sie während des Heizens nie die lackierten Teile des Ofens.
Das erstemal Heizen
Wenn Sie den Economic das erste Mal in Gebrauch gehmen, muss der Ofen „eingebrannt" werden. Das Gerät ist mit einer hitzebeständigen Lacksricht versehen, die bei Temperatren die hoher sind als 400^ Celsius, in den Ofen einbrennen. Das geschieht
Verfürbung von Wänden, Decken und Roste
Durch Heizen des Ofens, können Wände, Decken und Roste sich verfürben. Das kommt daher, dass Staubteilchen im Konvektionsmantel verbrennen. Das ist ein natürlicher Vorgang, wofür WANDERS nicht verantwortlich ist. Um Verfürbung zu minimalisieren, verweisen wir Sie auf den Rat der von der Branche der Kaminöfen gegeben wird. Ihr Installateur kann Sie damit beraten.
die erstenpeerMale,wenSiedersteerpmale heizen,wenn die Temperaturen auf mehr als 600^ Celsius steigen.AuBerdemkanndeses"Einbrennen" einen unangenehmen Geruch mit sich bringen,der aber unschadlichist.Wir raten Ihnen,den Ofen die ersten 4 bis 6Mal mindestens 6Stundenmit nicht zuvi Heizmaterial brennen zu lassen.Wahrend des Heizens muss gut geluftet werden.Vermeiden sie,dass,whrend sie heizen,imselben Raum eine Abzughaube an ist; Eine Abzugshaubezieht Verbrennungsluft,die der Ofen braucht,weg.
Während des Einbrennens kann sich ein Belag auf Scheiben und Ofentür bilden. Dieser Belag kann ganz einfach mit einem feuchten Tuch abgewischt werden, wenn der Ofen wieder kalt ist. Sie können auch spezielles Reinigungsmittel für keramische Kochplatten benützen. Berühren sie die Scheiben, ach dem Reinigen, nicht mehr. Fingerabdrücke brennen in das Glas und{lassen sich nicht mehr entfern.
Neubauwohnung oder vor kurzem renoviert?
Warten sie sechs Wochen mit heizen in einer Neubauwohnung die vor kurzem fertig gestellt wurde, oder einem Raum der stark renoviert wurde. In den Wänden und Decken befinden sich noch Gase, Weichmacher und Feuchtigkeit von den Stuck- und Malerarbeiten. Durch die warmen Luftströme können sich die vielen Staubteilchen im Raum verfarben und sich auf Wände und Decken festsetzen. Auch die noch vorhandene Feuchtigkeit in Wänden und Decken erwartt sich und kann gelbe Flecken verursachen.
Heizmaterial: Holz und Braunkohle
| Holzart | Trocknungsszeit | ||
| Kiefer, | Pappel | 1 | Jahr |
| Linde, Weide, | Tanne, Birke, Esche, Erle | 1,5 Jahr | |
| Obstäume, | Buche | 2 | Jahr |
| Eiche | 2,5 | Jahr | |
Der Economic kann mit Holz und Braunkohle beheizt werden. Legen sie nie mehr als 3 - 4Kg Heizmaterial in den Ofen. Benützen Sie immer sauberes, gehacktes Holz
das genügd trocken ist. Die Trocknungszeiten sehen Sie in der Tabelle oben. Feuchtes Holz brennt schlecht und erzeugt übermöig viel Rauch. Dadurch konnen die Scheiben des Ofens vom Russ schwarz werden. Russ kann sich auch im Rauchabzugkanal festsetzen, was die Möglichkeit auf einen Schornsteinbrand erhöht.
Was tun wenn es einen Schornsteinbrand gibt?
Bei einem Schornsteinbrand müssen sie sofort das Ventil im Schornstein und alle andere Luftzuführkanale schlieben. Die Feuerwehr anrufen. Nach dem Löschen muss der Schornstein und der Ofen von ihrem Installateur überprüft und neu zugelassen werden.
Frisches feuchtes Holz enthalt noch ungebärn 50% Feuchtigkeit. Nach einer Trockungszeit von einem Jahr, enthalt gespaltetes Holz noch 20% Feuchtigkeit. Nach zwei Jahren Trocknung ist der Feuchtigkeitsgehalt auf 12 bis 15% gesunden. Trockenes Holz gibt eine ähnliche Flamme und so gut wie kein Rauch ab. Wahrend des Verbrennens kann man das Holz prasseln horen. Feuchtes Holz erzeugt ein zischendes Gerausch, viel Rauch und eine petite Flamme. Die Freude am Heizen und die Nutzleistung werden stark beeinträchtigt.
Gebrauchen sie in Ihr dem Ofen keine Holzblöcke die Paraffin enthalten. Wenn die Ofentür geschlossen ist schmilzt das Paraffin zu schnell aus den Holzblöcken. Die verschmutzten Rauchgase die dadurch entstehen, bilden einen Niederschlag auf der Scheibe der Ofentür, brennen ins Glas und können dann nicht mehr entfern werden.
Gebrauchen sie kein gestrichenes, imprägniertes, verleimtes oder anderweitig bearbeitetes Holz. Die Rauchgase sind sehr schädlich für das Milieu und konnen ihren Ofen antasten. Es ist auch verboten darin Plastik oder anderen Abfall, wegen der giftingene Rauchentwicklung, zu verbrennen.
Holzarten und Lagerung
Alle Arten sauberes, gespaltetes und trockenes Holz konnen als Heizmaterial gebraucht werden. Harte Holzarten, sowie Eiche, Buche und Birke brennen langsam, geben viel Wärme ab und bilden weniger Holzkohle. Weichere Holzarten, sowie Kiefer, Tanne und Pappel erzeugen mehr Flammen aber weniger Wärme und weniger Holzkohle. Holz wird am Besten an einer windigen Stelle, aber gut vom Regen geschützt, gelagert. So trocknet das Holz auf natürliche Art. Stapeln Sie die Holzblöcke auf einer alten Palette oder auf einem Rost. So kann das Holz auch von unter trocknen und bleiben die untersten Holzblöcke trocken.
Die optimale Art zu Heizen
Die Öfen von WANDERS sind so entworen, dass sie die beste Nutzleistung erzeugen. Ein gut beheizter Holzofen kann eine Nutzleistung von etwa 75% erreichen. Dadurch verbrauchen Sie weniger Holz um genauso viel Wärme zu erzeugen. Darüber hinaus, verursacht ein gut beheizter Öfen weniger Verschmutzung durch Rauch. Hier eine Tipps für viel Freude am Heizen:
- Heizen sie ihren Ofen immer mit geschlossener Tur. Dadurch liegt die Nutzleistung 8- bis 10-mal hoher. Wenn die Ofentur auf ist, saugt der Kamin mehr Luft, als für eine gute Verbrennung notig ist, an. Die relativ kalte Luft kuhl't auch das Feuer. Gleichzeitig wird auch Feuerschaden durch heraussprühende Funken, vor allem bei Nadelholz, vermieden.
- Wenn Sie Braunkohle verwenden, müssen Sie jeder Morgen die Ascherrückstände in den Aschetresor schütteln und dden Schüttelrost geöffnet halten. So wird die Verbrennungsluft für die Kohle durch die untere Seite geführt. Hierdurch enstehen eine optimale Verfeuerung der Kohle.
- Legen sie nie mehr als 3 Holzsche auf das Feuer. Viel Heizmaterial verhindert eine effiziente Verbrennung und belastetURNotig das Milieu.
- Legen Sie nicht mehr als 3 Holzsche oder 4 Braunkohlebriketts zur gleichen Zeit auf das Feuer. Viel Brennstoff gleichzeitig erschwert effiziente Verfeuerunung und belastet die Umwelt unnötig
- Lüften Sie gut den Raum wenn sie heizen. Ein prasselndes Holzfeuer hat einen minimalen Verbrauch von 25 Kubikmeter Luft pro Stunde. Machen Sie nie eine Abzugshaube an, wenn im gleichen Raum ein Ofen brennt.
Vorsicht bei windstillem und nebligem Wetter. Bei windstillem Wetter gibt es beinahe keinen Zug um Kamin. Weil Rauch schwerer ist als Luft, ist es möglich, dass der Rauch in den Raum strömt. Bei Nebel kühlt kann der Rauch aus dem Schornstein sehr}schnell abkühlen und fallen und damit in der Umgebung hinterlich sein. - Löschen Sie nie das Feuer mit Wasser, sondern lasen es von selbst ausgehen. Die Materiale im Ofen können sich sonst durch den plottlichen Temperaturunterschied verformen oder reifen.
Schornstein und Rauchkanal
Der Schornstein ist der wichtige Teil Ihres Holzofens; Der korrekte Schornstein verhindert dass Rauch in den Raum strömt, sich ein Belag auf der Scheibe bildet und schlechte Verbrennung. Bevor Sie den Ofen montieren, muss Ihr Handler oder ein anerkanter Schornsteinfeger den Schornsteinkanal über die ganze Länge kontrollieren ob er mindestens einen Durchmesser von 150 Millimeter hat und ob der Kanal sauber, glatt und dicht ist.
Schornstein mit gutem Zug
Warme Luft will steigen. Auf diesen Prinzip Funktioniert jeder Schornstein. Was darauf hilt, ist dass der Wind auch noch die Luft von der Schornsteinausmündung „weg saugt".
Manchmal kann aber ein Fallwind die umgekehrte Wirkung haben und die Luft in den Schornstein blasen. So kann auch eine relativ schwere Nebelluft den gute Zug im Schornstein hemmen. Auch ein zu länger Rauchkanal mit rauer Oberfläche und zuvielen Biegungen ergibt diese Wirkung. Bei einem natürlich schlechten Zug kann Sie der Installateur über den Gebrauch eines Ventilators im Rauchkanal aufklären
Wartung
Kleine Wartung
- Wir raten Ihnen, eine zwei bis drei Zentimeter dicke Schicht Asche liegen zu halten. Dies gewährt einen Schutz für die Feuerstelle.
- Reinigen sie den Ofen an der Außennde mit einem feuchten, nicht fusselndem, Tuch. Benutzen Sie keine beisiende Putz- oder Scheuermittel.
- Reinigen Sie den kalten Scheiben mit einem Putzmittel für Keramikkochplatten. Berühren sie dann das gereinigte Glas nicht mehr mit ihren Fingern. Fingerabrücke brennen ins Glas.
Schmieren Sie ab und zu die Scharniere der Ofentur.
Benutzten sie keine beizenden Putz- und Scheuermittel im ihren Ofen zu pflegen.
Außer Gebrauchnahme
Schlieben Sie die Tur und Luftzufuhr im Sommer
- Legen Sie Feuchtigkeitsabsorbierendes Salz in den Ofen, wenn dieser in einem feuchten Raum liegt.
Jährliche Wartung
- Mit Bezug auf Brandschutz und eventuell einer Brandschutzversicherung, müssen Sie den Schornstein jährlich durch einen anerkannten Schornsteinfeger fegen halten.
- Lassen sie jährlich den Rauchgasabzug und die Verbrennungsluftzuführ des doppelwandigen Rauchkanalsystems auf Undurchlüssigkeit prufen.
- Lassen Sie jährlich das gesamte Kanalsystem, einschliesslich der Durchfuhr durch das Dach oder der Fassade und deren Ausmündungen kontrollieren.
- Lassen Sie jährlich die Funktion der Schieber und/oder Klappen kontrollieren.
- Lassen sie jährlich all Dichtungen von Turen und Glasscheiben auf Verschleiberscheinungen prufen.
Brandschutz
Mit einem Holzofen von WANDERS haben Sie eine bequeme und sichere Wärmequelle im Haus. Der Brandschutz fängt schon bei der korrekten Montage und einem gut Funktionierendem Rauchgasabzug an. Ihr Installaturmussich deshalbandie Montagevorschriften, sowie auf Seite 54 und folgende Seiten beschrieben, halten. Für sicheres Heizen sind auch folgende Punkte wichtig:
- Beheizen Sie den Ofen soviel wie möglich mit geschlossener Tur. Dadurch wird die Nutzleistung erhöht und es ist auch better für das Milieu.
- Verhindern Sie, dass keine Kinder oder hilfsbedürftige Personen in die Höhe des Ofenskommen und setzen Sie sie nicht allein wenn der Ofen brennt. Gebrauchen Sie eventuell einen Kaminvorsatz.
- Giessen oder legen Sie keine brennbaren material in den Ofen. Dadurch kann der Ofen unwiderruflich beschädigt werden.
- Wenn der Boden um den Ofen herum aus brenbarem Material ist, benutzen Sie dann eine feuerfeste Bodenplatte. Die Bodenplatte muss mindestens eine große von:
-an der Vorderseite der Tur: 50~cm ab Außenseite des Ofens
- an den Seiten der Tur: 30 cm Außenseite des ab Ofens
-
Bringen Sie keine brennbare Materialie, zum Beispiel Gardinen, Holzgegenstände (Schränke, Gemälde) in der Höhe des Ofens oder des Rauchkanals an. Halten sie mindestens einen Abstand von 80 Zentimeter gemessen ab der Außenseite des Ofens und des Kamins, ein.
-
Bekleiden Sie nie den Kamin mit brennbarem Material (z.B. Tapete).
- Beachten Sie die Punkte die unter dem Abschnitt „Optimale Art des Heizens" auf Seite 51 beschrieben sind.
- Lassen Sie den Ofen nur durch einen anerkannten Installateur mit originalen Ersatzteilen reparieren.
Garantie
Auf ihren Economic gibt Ohnen WANDERS Metaalproducten B.V. in Netterden ein Jahr Garantie ab Kaufdatum, vorausgesetzt dass der Ofen korrekt installiert und gemäß den Anweisungen in dieser Gebrauchsanweisung benutz wurde. Unter diese Garantie fallen alle Mangel die auf Material- oder Konstruktionsfehler zurückzuführen sind. In diesen Fälle erhalten Sie gratis neue Ersatzteile. Der Arbeitslohn und andere Kosten fallen nicht unter die Garantie. Fehlerhafte
Teile konnen Sie franco an WANDERS Metaalproducten B.V. Amtweg 4, 7077 AL Netterden (Holland) schicken.
Vor Montage des Ofens müssen Sie kontrollieren ob das Gerät keine sightbaren Schäden aufweist. In dem Fall müssen Sie das Gerät nicht akzeptieren, müssen aber mit ihren Lieferanten Kontakt aufnehmen.
Nicht unter die Garantie fallen: Störungen die durch nicht sachgemäßen Gebrauch entstanden sind; nicht strikte Befolgung der Installations- und Bedienungsvorschriften; Montage durch einen nicht von WANDERS anerkannten Installateur, Vernachlässigung des Ofens und bei einem Wechsel des Besitzers. Die Garantie verfällt auch, wenn verkehrtes Heizmaterial benutzt wurde.
Für folgenden Zubehor gilt eine Garantiefrist von 1 Jahr: alle gusseisernen und vermiculit Teile, das elektrische Zubehor, und der Lack.
Wanders ist nicht verantwortlich für eventuelle Risse im Feinputz und Verfährungen der Wände, Decken und/oder Roste nach Heizen des Ofens. Verfährungen können entstehen weil Staubteilchen im Konvektionsmantel verbrennen. Um eventuelle Risse im Feinputz und Verfährungen zu minimisieren, verweisen Sie auf den Rat der von der Branche für Kaminöfen gegeben wird. Ihr Installateur kann Sie darüber informieren.
Reklamationen werden erst dann behandelt, wenn die Verkaufsfirma, der Installateur eine Reklamation, zusammen mit einer Kopie des Kassenzettels mit Kaufdatum, eingereicht hat. Reparaturen berechtigen nicht zu einer Veränderung der Garantie. Alle Folgeschäden sind ausgeschlossen.
Montagevorschriften Economic
| Allgemeine | Anweisungen | 54 | ||
| Vorbereitung | 54 | |||
| Installation | 55 | |||
| Reparaturen | 57 | |||
| Technische | Angaben | Economic | 58 |
Allgemeine Anweisungen
Der Economic ist gemäß der internationalen Norm EN 13240 und außer dem gemäß einer zusätzlichen Norm für optimes milieu-freundliches Heizen bezüglich Rauchgas Ausstoss (Art. 15a B-Vg des BmfWA) geprüft. Der Ofen kann an einen Rauchkanal mit mehreren Öfen angeschlossen werden. Das Rohr des Rauchgasabzugs hat einen Durchmesser von 150 Millimeter.
Der Ofenarf nur durch einen anerkannten Installateur und gemäß den unten beschriebenen Installationsvorschriften montiert werden. Dabei müssen auch die nationalen und örtlichen Gesetze und Vorschriften für Installation und Gebrauch von Holzöfen beachtet werden. WANDERS bietet keine Garantie bei unvollständig oder nicht korrekt angeschlossen oder installiertem Economic.
Der Ofenarf nicht montiert werden in:
- Allgemein zugangliche Galerien und Gänge
- Treppenhäuser, außer in Gebäuden mit nur zwei Stockwerken
- In Räumen, in welchen leicht entflammbare oder explosive Stoffe verarbeitet werden.
- In Räumen in welchen sich eine Abzughaube oder ein mechanisches Absaugsystem befindet, außer dann wenn die Luftzuführ direkt von außen geholt wird sodass die Verbrennung ohne Gefahr geschehen kann.
Vorbereitung
Der Rauchabzugskanal
Bevor Sie den Ofen installieren, raten wir Ihnen die Busentlufungsroste montieren, damit Risse und Verfarbunden des Zierpfasters vermieden werden. Beachten Sie während der Installation des Ofens folgende Punkte:
- Wenn der Ofen an einen schon bestehenden Rauchabzug angeschlossen werden soll, dann muss
dieser erst durch einen anerkannten Schornsteinfeger fachkundig gefegt und kontrolliert werden. Eventuell vorhandene Ventile müssen halten.
- Der Rauchgasabzug des Ofens muss ohne Umwege direkt an den Rauchgaszugskanal angeschlossen werden.
- Der Unterdruck im Rauchabzugskanal muss mindestens 12 Pa oder 0,12 mbar detragen.
- Der Rauchabzugskanal muss immer in 1 ausmüssen. Siehe unterstehende Skizzen und Tabellen.
- Der Schornsteinkanal muss bei der Montage sauber und ohne Behinderung einen Durchmesser von 150 mm haben.
Eventuelle Biegungen im Rauchabzugskanal)derrn nicht mehr als 45 Grad betragen. - Sie müssen sicherenstellen, dass der Rauchabzugskanal die Rauchgase gut genug und auf sichere Weise abziehen kann.
- Für die Berechnung des Rauchgasabzugkanals finden Sie die Werte unter den Technischen Angaben auf Seite 55.
Montieren Sie die Busenentlüftungsroste, damit Risse und Verfarbungen des Zierpflasters vermieden werden.


Dachneige x großer als 23^

Dachneige x kleiner als 23^
Brandschutzvorrichtung
Im Zusammenhang mit Brandschutz ist es wichtig, dass Sie die unter erwähnten Vorschriften beachten, bevör der Ofen montiert wird.
-
Wenn der Fußboden um den Ofen herum aus brennbarem Material ist, dann müssen Sie eine feuerfeste Bodenplatte benutzten. Die Bodenplatte muss mindestens eine Grösse haben:
-
an der Seite der Tür: 50 cm ab der Außenseite des Ofens
-
an den Seiten: 30 cm ab der Außenseite des Ofens
-
Halten Sie mindestens 80~cm Abstand zwischen Ofen und brennbaren Materialen ein. Denken Sie darauf an Gardinen, Gegenstände aus Holz (Schränke und Gemälde) und Glasgegenstände. Halten sie den gleichen Abstand vom Rauchabzugskanal ein
-
Holzerne Konstruktion die innerhalb des 80 cm Bereichs des Ofens sind, müssen mit feuerfestem Material verkleidet werden.
-
Wenn der Rauchgasabzug durch die Decke und/oder das Dach führt welche aus brennbarem Material bestehen, müssen diese rundum +80 cm mit feuerfestem Material bekleidet werden. Achten sie hierbei auf Zwischenbalken und eventuell elektrische Leitungen.
-
Schützen sie alle brennbare Materiale die sich in einem Strahl von 80 Zentimeter der Ofentür befinden Nehmen Sie dazu feuERfeste Materiale.
- Bekleiden sie den Kamin nie mit brennbarem Material (wie z.B. Tapete)
- Die Wand hinter dem Kamin muss aus feuerfestem Material sein oder muss damit isoliert werden. Das Isolationsmaterial muss eine Temperatur von 700 Grad Celsius vertragen konnen und eine Dichte von, 80Kg / m^3 haben. Angaben über Isolationsmaterial finden Sie in der Tabelle auf Seite 59.
- Vermeiden Sie Wärmedurchschlag bei der Montage. Die Wärme die der Ofen ausstrahlt kann durch die Wandziehen. Dies kann)sogar Brand auf der anderen Seite der Wand verursachen. Verhindern Sie dies!
Installation
Der Economic ist gemäß der internationalen Norm EN 13240 und außer dem gemäß einer zusätzlichen Norm für optimes milieu-freundliches Heizen bezüglich Rauchgas Ausstöß (Art. 15a B-Vg des BmfWA) geprüft. Der Ofen kann an einen Rauchkanal mit mehreren Öfen angeschlossen werden.
Zufuhr von Verbrennungsluft
DemOfenmussimmergenugendfrischeVerbrennungsluft zugeführrt werden. Wennotig,machen Sie eine zusätzliche Öffnung fur Luftzufuhr so nah wie möglich bei dem Ofen.Dadurch vermeiden Sie Zugluft.Eine zusätzliche Luftzufuhr ist unbedingt erforderlich wenn:
- Der Raum ein System zur Wärmerückgewinnung hat
- Der Raum ein zentrales Absaugsystem hat
- Eine Abzughaube sich im gleichen Raum befindet
Die Öffnung der Luftzufuhr muss zu schlieben sein, wenn sie durch eine feuerbeständige Wand führt. Wenn mehrere Öfen im gleichen Raum stehen, müssen genügend Lüftungsöffnungen anwesend sein, sodass sorgloses Heizen gewährleistet wird.
Elektrizität
Für die Ventilatoren brauchen Sie einen 230V Stromanschluss. Der Anschluss muss vorschrifsmässig nach den geltenden Sicherheitsnormen und von einem anerkannten Installeur angeschlossen werden. Achten Sie darauf, dass in, auf oder durch den Kamin keine elektrische Leitungen gelegt sind. Durch die Wärmeabgabe vom Ofen konnen Elektroteile schmelzen und dadurch konnen gefährliche Situationen entstehen. Sie müssen den Ofen immer an eine Schutzkontaktsteckdose anschliessen. Das Gerät muss auch während eventueller Wartungsarbeiten vom Strom abgeschlossen werden konnen.
Front- und Eckmodell anschliessen
- Befolgen Sie zuerst die Anleitungen im vorigen Kapitel „Vorbereitungen".
- Entfernen Sie eventuell die Klappe aus bestehendem Ofen.
- Isolieren Sie den Ofen zwischen Wand und Aussenmantel mit unbrennbarem Material (S. Tabelle auf S. 59 für die Isolationsmaterialien).
- Achten Sie darauf, dass der Anschluss nach aussen luftdicht ist. In einem bestehenden Kanal konnen Sie eventuell ein Rohr mit einem Durchmesser von 150mm ziehen. Dieses Rohr montieren Sie an den Ofen.
- Entfernen Sie den Rohrmund vom Ofen (Figur 1).
- Stellen Sie den Ofen in die Öffnung; beachten Sie eventuelle Stromkabel.

Figur 1 Rohrmund vom Ofen entfernen


Figur 2 Bringen Sie die Sparklappen und Schieber an
Figur 3 Legen Sie die Rauchgasehrplatte in den Ofen

Figur 4 Foto Stelle Typenschild
- Schliessen Sie das Rohr an den Rohrmund an. Montieren Sie danach den Rohrmund in den Ofen zurück.
- Montieren Sie die Sparklappe. Und bringen Sie den Schieber zur Turhin die Aussparung an der Vorderseite des Ofens an. Hängen Sie die Klappe in die Scharnierhaken (Figur 2)
- Setzen Sie die Rauchgasehrplatte auf die Stützen unter der Sparklappe (Figur 3)
- Montieren Sie die beigelieferten Abdeckleisten an Seiten- und Oberteile.
- Stecken Sie den Stecker in eine Schutzkontaktsteck-dose.
- Ersetzen Sie eventuell das Typenschild mit einem in Ihrer Sprache (Figur 4)
Achten Sie darauf, dass der Stromkabel während der Installation ungeschädigt bleibt.
Der Ofen darf ausschliesslich an eine
Schutzkontaktsteeckdose angeschlossen werden.
Reparaturen

Figur 5 Die Classcheibe der Tur ersetzen
Ersetzen der Glasscheibe der Ofentür
- Offnen Sie die Ofentür
- Entfernen Sie die vier Schrauben (S. Figur 5)
- Entfernen Sie die Glasstreifen an der Innenseite des Ofens.
Vorsicht! Das Glas ist scharf.

Figur 6 Die Seitenglasscheibe ersetzen
Ventilatoren und/oder Sicherungen ersetzen

Figur 7 Enfernen Sie die 2 Schrauben unten links und rechts
- Achten Sie daraufuf, dass der Strom abgeschaltet ist.
- Enfernen Sie die zwei Schrauben unter links undrecht.
- Hebien Sie dieGPCe Ventilatoreinheit heraus. Beachten Sie daraufen den Kabel.
- Ersetzen Sie die Vorderplatte der Ventilatoreinheit.
- Holen Sie den Ventilator heraus oder ersetzen Sie die Sicherung im Regler. Sie gelangen zum Regler indem Sie diesen von der Front lüssen.
Technische Angaben Economic
Technische Angaben
| Tür | Verschluss | Ba | I/II |
| Nominales | Leistung* | 7 | kW |
| Rohrdurchmesser | Verbrennungsgase | 150 | mm |
| Maximale Füllung mit Holz | 3 kg | ||
| Maximale Füllung mit Braunkohle | 3 kg | ||
| Inhalt | Brennkammer | 0,08 | m3 |
| Oberfläche Boden der Brennkammer | 0,2 m2 |
*nominate Wärme von 7 KW wird mit einem Schornsteinzug von 0,12 mbar
Heizmaterial
Holzscheite 30 × 10 cm
Braunkohl
| Max. | Einlagen | 3 | Stück | 4 |
| Primäre | Luftklappe | max. | max. | |
| Sekundäre | Lüftungsöffnung | max. | max. | |
| Brennzeit Heizmaterial | ungebung 1 Stunde | ungefehr 1 Stunde | ||
Stuck
Rauchgaswerte gemäß DIN 4705, DIN 18895 Teil 2
| Mit geschlossener | Tür | Holz | |
| Rauchgasmenge | 4,2 | g/s | |
| Rauchgastemperatur | 330 | °C | |
| Vordruck | 0,12 | mbar | |
| Nutzleistung | 78,7 | % | |
| CO op 13% O2 | 0,06 | % | |
| Feinstaub | 30 | mg/m3 | |
| Prüfungsinstitut 1625 . Prüfnorm EN13229 . Prüfungsgutachten nr. RRF-400169 | |||
Richtwerte für den Inhalt des zu wärmenden Raums:
Nicht alle Räume entsprechen den heutigen Vorschriften betreffend Isolation. Für den Inhalt des zu wärmdenden Raums konnen folgende DIN 18893 Werte erwähnrt werden.
Bei gänstigen Umständen: berechnet gemäß DIN 4701
Bei weniger günstigen Umständen 115 m3
Bei ungunstigen Umständen:
75 m3
Für eine kurzfristige Behezung, mit einer Unterbrechung von mehr als 8 Stunden, kann man für den zu wärmdenden Inhalt 25% weniger rechnen.
Tabelle fur Isolation bei Wanddicke
| Dicke Wand | der Isolation | Konvections- | ||
| 10 cm | ||||
| Schutz der Wand | Rückseite | |||
| Wände aus brennbaren Baumaterial | X | X8 | ||
| Tragewände aus Stahl X X | Seite 8 cm | |||
| Einbaumöbel gegen de Ofen | X | X | ||
| Einbaumöbel an der Wand hinter den Ofen | X | X | ||
| Unterseite | ||||
| Übrige Wände | X | |||
| Wanddicke < 10 cm | X | |||
| Wanddicke > 10 cm (kann gemauerte Wand sein) | ||||
Die Tabelle zeigt an, welche Isolationsdicke gewählt werden muss bei welcher Wanddicke um vor Einbauöfen zu schützen.
Tabelle Isolationsmaterial: NB nur das was im gefärbten Gebiet stehen ist erlaubs
| Isolation | Verpackt | Wärmeleitung | Höchste Gebr-auchs Temp. | Dichte | |||||
| nr | Artikel | nr | Form | nr | verpackt | nr | °C | nr | Kg/m3 |
| 10 | Mineralwolle | 01 | Bahren | 01 | Matten genählt | 10 | 100 | 02 | 20 |
| 11 | Glaswolle | 02 | Lose Wolle | Matten vernährt | 12 | 120 | 03 | 30 | |
| 12 | Steinwolle | 03 | Wolle | 02 | Matten vernährt | 14 | 140 | 04 | 40 |
| 13 | Schlacke | Granulat | G. Krumme 2 | 16 | 160 | 05 | 50 | ||
| 04 | Filz | 06 | 60 | ||||||
| 05 | Lamellenmatte | 10 | Splitter | 07 | 70 | ||||
| Vernähte | G. Krumme | 1 | 08 | ||||||
| 06 | Matten | 11 | Platten | 09 | 90 | ||||
| 07 | Platten | G. Krumme 2 | 10 | 100 | |||||
| 08 | Schalen | 72 | 720 | 11 | 110 | ||||
| 09 | Segmente | 20 | Platten | 74 | 740 | 12 | 120 | ||
| 10 | Geflochten | G. Krumme 1 | 76 | 760 | 13 | 130 | |||
| 21 | Platten | 18 | |||||||
| G. Krumme | 2 | ||||||||
| 99 | Übrige | 99 | Einzeln | 99 | 99 | ||||
Suchen Sie sich in der Tabelle das Isolationsmaterial aus. NB: Gruppe 99 ist NICTZ zugelassen.
Technische tekeningen / Technical drawings Dessins techniques / Technische Zeichnungen










Type of appliance / Geräte Typ Type de l'appareil / Tipo di apparecchio Aparelho modelo / Type apparaat
Serial number / Seriennummer
Nr. de série /Numero di matricola
Serie no / Serienummer
Date of purchase / Kaufdatum
Date de lachat / Data di acquisito
Data da aquisicao / Aankoop datum
Name / Name / Nom / Nome / Nome / Naam
EinfachAnleitung