HDRCX270E - Camcorder SONY - Kostenlose Bedienungsanleitung
Finden Sie kostenlos die Bedienungsanleitung des Geräts HDRCX270E SONY als PDF.
Häufig gestellte Fragen - HDRCX270E SONY
Benutzerfragen zu HDRCX270E SONY
0 Frage zu diesem Gerät. Beantworten Sie die, die Sie kennen, oder stellen Sie Ihre eigene.
Eine neue Frage zu diesem Gerät stellen
Laden Sie die Anleitung für Ihr Camcorder kostenlos im PDF-Format! Finden Sie Ihr Handbuch HDRCX270E - SONY und nehmen Sie Ihr elektronisches Gerät wieder in die Hand. Auf dieser Seite sind alle Dokumente veröffentlicht, die für die Verwendung Ihres Geräts notwendig sind. HDRCX270E von der Marke SONY.
BEDIENUNGSANLEITUNG HDRCX270E SONY
Zusätzliche Informationen zu dieser Produkt und Antwerten zu halten gestellen Fragen können Sie auf unserer Kunden-Support-Website finden.
Gedruckt auf Papier mit 70% oder mehr Recyclinganteil.
Gedrukt op 70% of huger kringleooppapier.
Stamputo su carta riciclata al 70% o piu.
Bundesamt fur Eich- und Vermessungswesen
Canada
Die Grundlagendaten wurden mit Genehmigung der zustaendigen Behoerden entnommen.
Grande-Bretagne
Topografische Grundlage: Bundesamt für Landestopographie.
États-Unis
Bitte lessen Sie theses Handbuch vor der Inbetriebnahme des Gerats sorgfältig durch und bewahren Sie es zur künftigen Referenz auf.
WARNING
Um Feuerergefahr und die Gefahr eines elektrischen Schlags zu verringn, setzen Sie das Gerät weder Regen noch Feuchtigkeit aus.
Schützen Sie Akkus und Batterien vor übermäßiger Hitze, wie z. B. direktem Sonnenlicht, Feuer o. Ä.
ACHTUNG
Akku
Bei unsachgemäßem Gebrauch des Akkus kann er explodieren oder es besteht Feuergefahr oder die Gefahr von Verzuzungen. Beachten Sieitte die folgenden Hinweise.
Zerlegen Sie den Akku nicht.
- Setzen Sie den Akku keinen Stößen, Schlagen usw. aus, quetschen Sieihn nicht, setzen Sieihn nicht fallen und achten Sie daraufuf, nicht versehentlich auf den Akku zu treten.
- Halten Sie Gegenstände aus Metall von den Akkuanschlüssen fern. Es kann sonst zu einem Kurzschluss kommt.
- Setzen Sie den Akku keinen Temperaturen über 60^ aus, wie sie z. B. bei direkter Sonneneinstrahlung oder in einem in der Sonne geparkten Auto auftreten können.
Zünden Sie den Akku nicht an und werfen Sie ihn nicht ins Feuer.
- Berühren Sie beschädigte oder auslaufende Lithium-Ionen-Akkus nicht.
- Laden Sie den Akku unbedingt mit einem Originalalladegerät von Sony oder einem Gerät mit Ladefunktion.
- Halten Sie den Akku von kleinen Kindern fern.
- Schützen Sie den Akku vor Feuchtigkeit.
Tauschen Sie den Akku nur gegen den gleichen oder einen vergleichbaren Akkutyp aus, der von Sony empfohlen wird. - Entsorgen Sie verbrauchte Akkus unverzüglich wie in den Anweisungen erläutert.
Ersetzen Sie die Batterie bzw. den Akku ausschließlich durch eine Batterie bzw. einen Akku des angegebenen Typs. Andernfalls besteht Feuer- oder Verletzungsgefahr.
Netzteil
Verwenden Sie das Netzteil nicht, wenn nur weniger Platz vorhanden ist, z.B. zwischen einer Wand und Möbelstücken.
Schlieben Sie das Netzteil an eine nahe gelegene Netzsteckdose an. Trennen Sie das Netzteil umgehend von der Netzsteckdose, wenn es beim Betrieb des Camcorders zu einer Fehlfunktion kommt.
Auch wenn der Camcorder ausgeschaltet ist, wird er immer noch mit Netzstrom versorgt, solange er über ein Netzteil an eine Netzsteckdose angeschlossen ist.
Hinweis zum Netzkabel
Das Netzkabel wurde speziell für diesen Camcorder entwickelt und darauf nicht für andere elektrische Geräte verwendet werden.
Ein zu großer Schalldruck von Ohrhörern oder Kopfhörern kann zu Hörverlusten führen.
FÜR Kunden IN EUROPA
CE
Hiermit erklart Sony Corporation, dass sich das Gerät digitale HD-Videokamera HDR-CX260VE/CX580VE/PJ260VE/PJ580VE/ XR260VE in Übereinstimmung mit den grundlegenden Anforderungen und den übrigen einschädigigen Bestimmungen der Richtlinie 1999/5/EG befindet. Weitere Informationen erhältlich unter: http://www.compliance.sony.de/
Hinweis für Kunden in Ländern, in denen EU-Richtlinien gelten
Der Hersteller把这些 Products ist
Sony Corporation, 1-7-1 Konan
Minato-ku Tokyo, 108-0075, Japan.
Autorisierter Vertreiter für EMV und Produktionsicherheit ist die Sony Deutschland GmbH, Hedelfinger Strasse 61, 70327 Stuttgart, Deutschland. Für Fragen im Zusammenhang mit Kundendienst oder Garantie wenden Sie sichitte an die in den separates Kundendienst- oder Garantieunterlagen genommen Adressen.
Achtung
Die elektromagnetischen Felder bei den speziellen Frenzen konnen Bild und Ton diesen Gerätes beeinflussen.
Dieses Produkt wurde geprüft und erfüllt die Auflagen der EMV-Vorschriften für den Gebrauch von Verbindungskabeln, die kürzer als 3m sind.
Hinweis
Wenne eine Datenübertragung aufgrund statischer oder elektromagnetischer Storeinflüsse abbricht (fehlschlågt), starten Sie die entsprechende Anwendung neu, oder entfern den Sie das USB-Kabel, und schlieben Sie es wieder an.

Entsorgung von bebrauchten elektrischen und elektronischen Geräten (anzuwenden in den Ländern der Europäischen Union und anderen europäischen Ländern mit einem separaten Sammelsystem für diese Geräte)
Das Symbol auf dem Produkt oder seiner Verpackung weist daraufhin, dass these Produkt nicht als normaler Haushaltsabfall zu behandeln ist, sondern an einer Annahmestelle für das Recycling von elektrischen und elektronischen Geräten abgegeben werden muss. Durch ihren Beitrag zum korrekten Entsorgen these Produkte schützen Sie die Umwelt und die Gesundheit ihrer Mitmenschen. Umwelt und Gesundheit werden durch falsches Entsorgen gefährdet. Materialrecycling hilft, den Verbrauch von Rohstoffen zu verringern. Weitere Informationen zum Recycling thesees Produkts erhalten Sie bei Ihrer Gemeindeverwaltung, den kommunalen Entsorgungsbetrieben oder dem Geschäft, in dem Sie das Produkt gekauft haben.

Entsorgung von gebrauchten Batterien und Akkus (anzuwenden in den Ländern der Europäischen Union und anderen europäischen Ländern mit einem separates Sammelsystem für diese Produkte)
Das Symbol auf der Batterie/dem Akku oder der Verpackung weist daraufhin, dass diese nicht als normaler Haushaltsabfall zu behandeln sind. Ein zusätzliches chemisches Symbol Pb (Blei) oder Hg (Quecksilber) unter der durchgestrichen Mulltonne bedeutet, dass die Batterie/der Akku einen Anteil von mehr als 0,0005% Quecksilber oder 0,004% Blei enthalt.
DE
Durch ihren Beitrag zum korrekten Entsorgen dieser Batterien/Akkus schützen Sie die Umwelt und die Gesundheit ihrer Mitmenschen. Umwelt und Gesundheit werden durch falsches Entsorgen gefährdet. Materialrecycling hilft, den Verbrauch von Rohstoffen zu verringn.
Bei Produkten, die auf Grund ihrer Sicherheit, der Funktionalität oder als Sicherung vor Datenverlust eine ständige Verbindung zur eingebauten Batterie benötigen, sollte die Batterie nur durch qualifiziertes Servicepersonal ausgetauscht werden.
Um sicherzustellen, dass die Batterie korrekt entsorgt wird, geben Sie das Produkt zwecks Entsorgung an einer Annahmestelle für das Recycling von elektrischen und elektronischen Geräten ab. Für alle anderen Batterien entnehmer Sie die Batterieitte entsprechend dem Kapitel über die sichere Entfernung der Batterie. Geben Sie die Batterie an einer Annahmestelle für das Recycling von Batterien/Akkus ab.
Weitere Informationen über das Recycling这些东西 Produktions oder der Batterie erhalten Sie von ihrer Gemeinde, den kommunalen Entsorgungsbetrieben oder dem Geschäft, in dem Sie das Produkt gekauft haben.
Für Kunden in Deutschland
Entsorgungshinweis:itte werfen Sie nur entladene Batterien in die Sammelboxen beim Handel oder den Kommunen. Entladen sind Batterien in der Regel dann, wenn das Gerat abschaltet und signalisiert „Batterie leer" oder nach längerer Gebrauchsdauer der Batterien „nicht mehr einwandfrei Funktioniert". Um sicherzugehen, kleben Sie die Batteriepole z.B. mit einem Klebestreifen ab oder geben Sie die Batterien einzeln in einen Plastikbeutel.
Informationen zur Spracheinstellung
- Zur Veranschaulichung der Bedienung des Camcorders sind die Bildschirmmenus in der jeweiligen Landessprache angegeben. Aändern Sie gegebenenfalls die Sprache für die Bildschirmmenus, bevor Sie den Camcorder verwenden (S. 21).
Hinweise zur Aufnahme
- Machen Sie vor der eigenen Aufnahme eine Probeaufnahme, um sicherzugehen, dass Bild und Ton ohne Probleme aufgenommen werden.
- Wenn es aufgrund einer Fehlfunktion des Camcorders, der Aufnahmemedien usw. zu Störungen bei der Aufnahme oder Wiedergabe kommt, besteht kein Anspruch auf Schadenersatz für die nicht erfolgte oder beschädigte Aufnahme.
- Das Farbfernsehsystem hangt vom jeweiligen Land oder der Region ab. Um ihre Aufnahmen auf einem Fernsehschirm wiedergeben zu können, benötigen Sie ein PAL-Fernsehgerät.
- Fernsehsendungen,这部电影, Videoaufnahmen und andere Material konnen urheberrechtlich geschützt sein. Das unberechtigte Aufzeichn solchen Materials verstört unter Umständen gegen das Urheberrecht.
Verwendungshinweise
- Vermeiden Sie die nachfolgend aufgeführten Punkte. Andernfalls kann das Aufnahmemedium beschädigt werden, aufgezeichnete Bilder können nicht mehr abgespielt werden oder verloren geben und weitere Fehlfunktionen können auftreten.
- Auswerfen der Speicherkarte, solange die Zugriffsanzeige (S. 24) leuchtet oder blinkt
-
Entfernen des Akkus oder Netzteils aus dem Camcorder oder Mechanische Schläge oder Erschütterungen beim Camcorder, solange die Anzeigen (Film)/(Foto) (S. 26) oder die Zugriffsanzeige (S. 24) leuchten oder blinken
-
Verwenden Sie den Camcorder nicht in sehr lauten Bereichen (HDR-PJ600E/PJ600VE/ XR260E/XR260VE).
-
Wenn der Camcorder über einen USB-Anschluss mit anderen Geräten verbunden und der Camcorder eingeschaltet ist, klappen Sie den LCD-Bildschirmträger nicht zu. Andernfalls können die aufgenommenen Bilddaten verloren gehen.
- Beachten Sie bei der Nutzung des Camcorders geltende regionale Vorschriften.
LCD-Bildschirmträger
- Der LCD-Bildschirm wird unter Einsatz von Hochprazisionstechnologie hergestellt, so dass der Anteil der effektiven Bildpunkte bei über 99.99% liegt. Dennoch konnen schwarze Punkte und/oder helle Lichtpunkte (weiß, rot, blau oder grün) permanent auf dem LCD-Bildschirm zu sehen sein. Diese Punkte gehen auf das Herstellungsvergfahren zurück und haben keinen Einfluss auf die Aufnahmequalität.

Weiße, rote, blaue oder grüne
Punkte
Informationen zu diesen Handbuch, den Abbildungen und Bildschirmmenus
Die im vorliegenden Handbuch zur Veranschaulichung enthaltenen Beisipelabbildungen wurden mit einer digitalen Standbildkamera aufgenommen und sehen davon möglicherweise etwas anders aus als die tatsächlichen Anzeigen auf dem Camcorder. Außendem sind die Abbildungen des Camcorders und seiner Bildschirmanzeigen zum besseren Verständnis überzeichnet oder vereinfacht dargestellt.
- Design und Spezifikationen des Camcorders und des Zubehörns unterliegen unangekündigen Änderungen.
- In thisen Handbuch werden der interne Speicher (HDR-CX260E/CX260VE/CX270E/ CX580E/CX580VE/PJ260E/PJ260VE/ PJ580E/PJ580VE), die Festplatte (HDR- PJ600E/PJ600VE/XR260E/XR260VE) und die Speicherkarte als „Aufnahmemedium" bezeichnet.
- In thisem Handbuch wird eine DVD, die in High Definition-Bildqualität (HD) aufgenommen wurde, als AVCHD-Aufnahmedisc bezeichnet.
- Falls bezüglich der Spezifikation modelleigene Unterschiede bestehen, wird die jeweilige Modellbezeichnung in thisem Handbuch explizit angegeben. Überprüfen Sie die Modellbezeichnung Ihr's Camcorders auf seiner Unterseite.
- In thisem Handbuch verwendete Illustrationen basieren auf dem Modell HDR-CX580VE, wenn nicht anders angegeben wird.
| Aufnahmeme-dium | Kapazität des internen Aufnahmeme-diums | Projek-tor | |
| HDR-CX250E/CX570E | Nur Speicherkarte | - | - |
| HDR-CX260E/CX260VE* | Interner Speicher + Speicherkarte | 16 GB | - |
| HDR-CX270E/CX580E/CX580VE* | 32 GB | - | |
| HDR-PJ260E/PJ260VE* | 16 GB | ✓ | |
| HDR-PJ580E/PJ580VE* | 32 GB | ✓ | |
| HDR-PJ600E/PJ600VE* | Interne Festplatte+ Speicherkarte | 220 GB | ✓ |
| HDR-XR260E/XR260VE* | 160 GB | - |
Mit einem * gekennzeichene Modelle sind mit GPS ausgestattet.
Weiterfuhrende Informationen über den Camcorder ("Handycam" Benutzeranleitung)
Das „Handycam“ Benutzeranleitung ist ein Online-Handbuch. Sie finden dort ausfuhrliche Anleitungen zu den zahlreichen Funktionen des Camcorders.

1 Rufen Sie die Support-Seite von Sony auf.
http://www.sony.net/SonyInfo/ Support/
2 Wahlen Sie Ihr Land oder ihre Region aus.
3 Suchen Sie die Modellbezeichnung Ihres Camcorders auf der Support-Section.
Die Modellbezeichnung Ihres Camcorders finden Sie auf seiner Unterseite.
Inhalt
Bitte lesen 2
Weiterfuhrende Informationen über den Camcorder ("Handycam" Benutzeranleitung) 6
Teile und Bedienelemente 10
Vorbereitungen
Mitgelieferte Teile 16
Laden des Akkus 17
Laden des Akkus über einen Computer 18
Laden des Akkus im Ausland 20
Einschalten des Geräts und Einstellen von Datum und Uhrzeit 21
Wechseln der Sprache 21
Vorbereitung des Aufnahmembedums 23
Auswahlen eines Aufnahmemediums (HDR-CX260E/CX260VE/CX270E/ CX580E/CX580VE/PJ260E/PJ260VE/PJ580E/PJ580VE/PJ600E/PJ600VE/ XR260E/XR260VE) 23
Einsetzen einer Speicherkarte 24
Aufnahme/Wiedergabe
Aufnahme 26
Aufnahme von Filmen 26
Aufnahme von Fotos 26
Zoomen 30
Wiedergabe 31
Wiedergeben von Filmen und Fotos von einer Karte (HDR-CX260VE/ CX580VE/PJ260VE/PJ580VE/PJ600VE/XR260VE) 32
Bedientasten während der Wiedergabe 34
Erweiterte Funktionen
Aufnehmen von Personen mit richtiger Scharfe 36
Aufnahme des ausgewählten Motifs mit der richtigen Scharfe (Gesichtspriorität) 36
Aufnehmen mit klareren Stimmen (Klarere Stimme) 36
Automatische Aufnahme eines Lachelns (Auslös. bei Lacheln) 37
Aufnehmen von Filmen in verschiedenen Situationen 37
Automatische Auswahld der fur die Aufnahmesituation geeigneten Einstellung (Intelligente Automatik) 37
Aufnahmen von Filmen bei schwachem Licht (Videoleuchte)
(HDR-CX570E/CX580E/CX580VE/PJ580E/PJ580VE) 38
Aufnehmen von Bildern mit der ausgewählten Bildqualität 39
Auswahlen der Bildqualität von Filmen (Aufnahmemodus) 39
Ändern der Bildqualität von Fotos 40
Aufzeichnung von Informationen zu ihrer Position (GPS) (HDR-CX260VE/CX580VE/ PJ260VE/PJ580VE/PJ600VE/XR260VE) 40
Abruf einer Landkarte mit der Umgebung ihrer actuellen Position (Prioritätsmodus der Triangulation) 41
Überprüfen des Triangulationsstatus 42
Abspielen eines Auszugs ihrer Filme (Highlights-Wiedergabe). 44
Speichern der Highlights-Wiedergabe in HD-Bildqualität (Szenario Speich.) 45
Kovertieren des Daten formats auf STD-Bildqualität (Highlights-Film) 46
Bildwiedergabe auf einem Fernsehgerät 47
Wiedergabe von 5,1-Kanal-Raumklang (HDR-CX570E/CX580E/CX580VE/ PJ260E/PJ260VE/PJ580E/PJ580VE/PJ600E/PJ600VE/XR260E/XR260VE) 48
Verwendend des eingebauten Projektors (HDR-PJ260E/PJ260VE/PJ580E/PJ580VE/ PJ600E/PJ600VE) 50
Bearbeiten
Bearbeitern am Camcorder 52
Löschen von Filmen und Fotos 52
Teilen eines Films 53
Aufzeichnen von Fotos aus einem Film (HDR-CX260E/CX260VE/CX270E/ CX580E/CX580VE/PJ260E/PJ260VE/PJ580E/PJ580VE/PJ600E/PJ600VE/ XR260E/XR260VE) 53
Speichern von Filmen und Fotos mit einem Computer
Nützliche verfügbare Funktionen bei Anschluss des Camcorders an einen Computer 55
Unter Windows 55
Unter Mac 55
Vorbereitung des Computers (Windows) 56
Schritt 1 Überprüfung des Computersystems 56
Schritt 2 Installieren der integrierten Software „PlayMemories Home" .56
Starten der Software,PlayMemories Home" 60
Herunterladen der zum Camcorder zugehörgen Software 60
Installieren von Software für einen Mac 60
Speichern von Bildern mit einem externen Gerät
Anleitung zur Erstellung von Discs 61
Geräte, auf denen die erstellte Disc abgespielt werden kann 62
Erstellen einer Disc mit einem DVD-Brenner bzw. -Recorder 63
Erstellen einer Disc mit DVDirect Express 63
Erstellen einer Disc in High Definition-Bildqualität (HD) mit einem DVD-Brenner 64
Erstellen einer Disc in Standard Definition-Bild Qualität (STD) mit einem Recorder oder ähnlichen Gerät 65
Speichern von Bildern mit einer externen Medieneinheit 66
Einstellen des Camcorders
Verwendend der Menus 69
Menülisten 71
Sonstiges/Index
Fehlersuche 75
Anzeige der Selfstdiagnose/Warnanzeigen 77
Aufnahmedauer von Filmen/Anzahl der aufnehmbaren Fotos 79
Voraussichtliche Aufnahme- und Wiedergabedauer bei den einzelnen Akkus 79
Voraussichtliche Aufnahmedauer bei Filmen 80
Voraussichtliche Anzahl aufnehmbarer Fotos 84
Umgang mit dem Camcorder 85
Technische Daten 91
ENDBENUTZER-LIZENZVEREINBARUNG ZU DEN KARTENDATEN FÜR VIDEOKAMERAPRODUKTE (HDR-CX260VE/CX580VE/PJ260VE/PJ580VE/PJ600VE/ XR260VE) 95
Bildschirmanzeigen 99
Index 101
Teile und Bedienelemente
Auf den in Klammern () angegebenen Seiten finden Sie weitere Informationen.
HDR-CX250E/CX260E/CX260VE/ CX270E

HDR-CX570E/CX580E/CX580VE/ PJ580E/PJ580VE


HDR-PJ260E/PJ260VE

HDR-PJ600E/PJ600VE

HDR-XR260E/XR260VE
1 Zubehorschuh (HDR-CX570E/CX580E/ CX580VE/PJ580E/PJ580VE/PJ600E/ PJ600VE)
2 Objektiv (G-Objektiv)
3 Blitz (HDR-CX570E/CX580E/CX580VE/ PJ580E/PJ580VE/PJ600E/PJ600VE)/ Videoleuchte (HDR-CX570E/CX580E/ CX580VE/PJ580E/PJ580VE)
4 Eingebautes Mikrofon
Fernbedienungssensor/Infrarotstrahler (HDR-PJ260E/PJ260VE/PJ580E/PJ580VE/ PJ600E/PJ600VE)
6 Kameraaufnahmeange (73) (HDR-CX570E/CX580E/CX580VE/PJ580E/ PJ580VE/PJ600E/PJ600VE) Die Kameraaufnahmeange leuchtet während der Aufnahme rot. Die Anzeige blinkt, wenn die verbleibende Aufnahmekapazität auf dem Aufnahmemedium gering oder der Akkuschwach ist.
HDR-CX570E/CX580E/CX580VE/ PJ260E/PJ260VE/PJ580E/PJ580VE/ PJ600E/PJ600VE/XR260E/XR260VE


HDR-CX250E/CX260E/CX260VE/ CX270E

HDR-CX250E/CX260E/CX260VE/ CX270E/CX570E/CX580E/CX580VE/ XR260E/XR260VE
HDR-PJ260E/PJ260VE/PJ580E/PJ580VE/ PJ600E/PJ600VE

1 LCD-Bildschirm/Berührungsbildschirm (21, 22)
Wenn Sie den LCD-Bildschirmträger um 180 Grad drehen, konnen Sie den LCD-Bildschirmträger mit nach außen weisendem LCD-Bildschirm zuklappen. Dies ist besonderss bei der Wiedergabe nützlich.
2 Lautsprecher (HDR-CX570E/CX580E/ CX580VE/PJ260E/PJ260VE/PJ580E/ PJ580VE/PJ600E/PJ600VE/XR260E/ XR260VE)
3 Projektorlinse (50) (HDR-PJ260E/ PJ260VE/PJ580E/PJ580VE/PJ600E/ PJ600VE)
4 PROJECTOR FOCUS-Hebel (50) (HDRPJ260E/PJ260VE/PJ580E/PJ580VE/ PJ600E/PJ600VE)
GPS-Antenne (HDR-CX260VE/CX580VE/ PJ260VE/PJ580VE/PJ600VE/XR260VE) Im LCD-Bildschirmträger befindet sich eine GPS-Antenne.
HDR-CX250E/CX260E/CX260VE/ CX270E

HDR-CX570E/CX580E/CX580VE/ PJ260E/PJ260VE/PJ580E/PJ580VE

HDR-PJ600E/PJ600VE/XR260E/
XR260VE

1 Taste (Bilder-Ansicht)
2 Taste POWER
3 Taste LIGHT (Videoleuchte) (38) (HDR-CX570E/CX580E/CX580VE/PJ580E/ PJ580VE)
4 Taste PROJECTOR (50) (HDR-PJ260E/ PJ260VE/PJ580E/PJ580VE/PJ600E/ PJ600VE)
5 Taste MODE
6 Anzeigen (Film)/ (to) (26, 26)
7 Taste RESET
Drücken Sie mit einem spitzen Gegenstand auf RESET.
Drücken Sie RESET, um alle Einstellungen, einschließlich der Uhrzeit, zu initialisieren.
Buchse (Kopfhorer) (HDR-CX570E/ CX580E/CX580VE/PJ260E/PJ260VE/ PJ580E/PJ580VE/PJ600E/PJ600VE/ XR260E/XR260VE)
Buchse (Mikrofon) (PLUG IN POWER)
10 Buchse HDMI OUT (47)
11 Buchse (USB) (63, 67)
12 Lautsprecher (HDR-CX250E/CX260E/ CX260VE/CX270E)
HDR-CX250E/CX260E/CX260VE/ CX270E

HDR-CX570E/CX580E/CX580VE/ PJ260E/PJ260VE/PJ580E/PJ580VE


HDR-PJ600E/PJ600VE/XR260E/
XR260VE
1 Motorzoom-Hebel (30)
2 Taste PHOTO (26)
3 Ladeanzeige CHG (17)
4 Akku (17)
5 Taste START/STOP (26)
6 Buchse DC IN (17)
7 A/V-Fernbedienungsanschluss (47)
8Griffband
9 Eingebautes USB-Kabel (18)
10 Zugriffsanzeige fur Speicherkarte (24)
11 Stativhalterung Bringen Sie hier ein Stativ an (gesondert erhältlich: Die Schraubearf nicht länger als 5,5mm sein).
12 Speicherkarteneinschub (24)
13 Akkulosehebel BATT (19)

Befestigung des Griffbandes
Anbringen der Gegenlichtblende (HDR-CX570E/CX580E/CX580VE/PJ580E/PJ580VE/PJ600E/PJ600VE)
Richten Sie die Gegenlichtblende richtig am Camcorder aus (1) und drehen Sie dann den Befestigungsring der Gegenlichtblende in Pfeilrichtung (2).
- Richten Sie bei der Anbringung der Gegenlichtblende den Öffnungsbereich der Gegenlichtblende sorgfältig an dem Blitzausgabebereich des Camcorders aus.

Befestigungsring
- Um die Gegenlichtblende abzunehmen, drehen Sie den Befestigungsring der Gegenlichtblende in die dem Pfeil entgegengesetzte Richtung.
- Nehmen Sie die Gegenlichtblende ab, wenn Sie den Camcorder mit der mitgelieferten Fernbedienung bedieren.
Drahtlose Fernbedienung (HDRPJ260E/PJ260VE/PJ580E/PJ580VE/ PJ600E/PJ600VE)
Die drahtlose Fernbedienung ist bei der Verwendung des Projektors hilfreich.

1 Taste DATA CODE (73)
Wenn Sie diese Tastes während der Wiedergabe drucken, werden Datum und Uhrzeit, Kameraeinstellungen sowie Koordinaten (HDR-CX260VE/CX580VE/ PJ260VE/PJ580VE/PJ600VE/XR260VE) der Aufnahmen angezeigt.
2 Taste PHOTO (26)
Das Bild, bei dem Sie diese Taste drücken, wird als Standbild aufgezeichnet.
3 Tasten SCAN/SLOW (34)
4 Tasten /Vorheriges/Nachstes) (34)
5 Taste PLAY
6 Taste STOP
Taste DISPLAY (27)
8 Sender
9 Taste START/STOP (26)
10 Motorzoomtasten
11 Taste PAUSE
12 Taste VISUAL INDEX (31)
Zeigt während der Wiedergabe einen Indexbildschirm an.
13 Tasten / / / ENTER
Wenn Sie eine dieser Tasten drücken, erscheint ein hellblauer Rahmen auf dem LCD-Bildschirm. Wahlen Sie mit / / die gewünschte Taste oder Option aus und drücken Sie anschließend ENTER, um die Auswahl zu bestätigen.
Vorbereitungen
Mitgelieferte Teile
Die Zahlen in Klammern () geben die Anzahl des mitgelieferten Teils an.
Camcorder (1)
Netzteil (1)

Netzkabel (1)

HDMI-Kabel (1)

USB-Verbindungskabel (1)

Das USB-Verbindungskabel ist ausschließlich für die Verwendung mit diesen Camcorder bestimmt. Verwenden Sie diese Kabel, wenn das eingebaute USB-Kabel des Camcorders (S.18) für den Anschluss zu kurz ist.

Gegenlichtblende (nur bei HDR-CX570E/CX580E/ CX580VE/PJ580E/PJ580VE/PJ600E/PJ600VE) (1)

Drahtlose Fernbedienung (nur bei HDR-PJ260E/PJ260VE/ PJ580E/PJ580VE/PJ600E/PJ600VE) (1)

Akku NP-FV50 (1)

"Bedienungsanleitung" (dieses Handbuch) (1)
Hinweise
Die Software,PlayMemories Home" (LiteVersion) und die Hilfe,PlayMemoriesHome"-Hilfetext sind auf thisem Camcorder vorinstalliert (S. 56, S. 60).
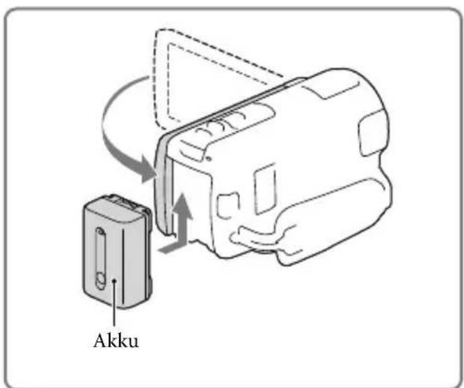
Laden des Akkus
1 Klappen Sie den LCD-Bildschirm zu und setzen Sie den Akku ein.
2 Schlieben Sie das Netzteil (1) und das Netzkabel (2) an den Camcorder und an eine Netzsteckdose an.
Die Ladeanzeige CHG leuchtet auf.
Die Ladeanzeige CHG erlischt, sobald der Akku vollständig geladen ist. Trennen Sie das Netzteil von der Buchse DC IN des Camcorders.


Hinweise
- Dieser Camcorder arbeitet ausschließlich mit „InfoLITHIUM“-Akkus der Serie V.
Laden des Akkus über einen Computer
Schalten Sie den Camcorder aus und schlieben Sie ihn mit dem eingebauten USB-Kabel an einen eingeschalteten Computer an.

Aufladen des Akkus mit dem eingebauten USB-Kabel von einer Netzsteckdose
Sie können den Akku laden, indem Sie das eingebaute USB-Kabel über ein USB-Ladegerät/Netzteil des Typs AC-UD10 (gesondert erhältlich) mit einer Netzsteckdose verbinden. Der Camcorder kann nicht mit einer (gesondert erhältlichen) tragbaren Stromversorgungseinheit des Typs CP-AH2R, CP-AL oder AC-UP100 von Sony geladen werden.
Ladedauer
Ungefährte Dauer (Minuten) beim vollständigen Laden eines vollständig entladenen Akkus.
| Akku | Ladedauer | |
| Netzteil | Eingebautes USB-Kabel* (bei Verwendung eines Computers) | |
| NP-FV50 (mitgeliefert) 155 280 | ||
| NP-FV70 195 545 | ||
| NP-FV100 390 1.000 | ||
Die jeweils in der Tabelle angegebene Ladedauer gilt, wenn der Camcorder bei einer Temperatur von 25^ geladen wird. Für das Laden des Akkus wird ein Temperaturbereich zwischen 10^ und 30^ empfohlen.
* Be der angegebenen Ladedauer wurde das USB-Verbindungskabel nicht verwendet.
Klappen Sie den LCD-Bildschirm zu.
Verschieben Sie den Akkulosehebel BATT
(1) undnehmenSieden Akku dann heraus
(2).

Verwenden einer Netzsteckdose als Stromquelle
Stellen Sie die gleichen Verbindungen her, wie sie für das Laden des Akkus verwendet werden. In diesen Fall wird der Akku nicht entladen, wenn er am Camcorder angebracht ist.
Hinweise zum Akku
- Wenn Sie den Akku abnehmer oder das Netzteil loseen wollen, schalten Sie den Camcorder aus und vergewissern Sie sich, dass die Anzeigen (Film)/(Foto) (S. 26, 26) sowie die Zugriffsanzeige (S. 24) nicht mehr leuchten.
-
In den folgenden Fälle blinkt die Ladeanzeige CHG während des Ladevorgangs: - Der Akku wurde nicht richtig angebracht.
-
Der Akku ist beschädigt.
Die Temperatur des Akkus ist niedrig.
Entfernen Sie den Akku aus dem Camcorder und bringen Sieihn an einen warmen Ort.
Die Temperatur des Akkus ist hoch.
Entfernen Sie den Akku aus dem Camcorder und bringen Sieihn an einen kühlen Ort.
- Wenn Sie eine Videoleuche (gesondert erhältlich) anbringen, empfehl't es sich, den Akku NP-FV70 oder NP-FV100 (HDR-CX570E/CX580E/CX580VE/PI580E/PI580VE/PI600E/PI600VE) zu verwenden.
Die Verwendung des Akkus NP-FV30 mit dem Camcorder wird nicht empfohlen, weil die Aufnahmeund die Wiedergabedauer dann kurz sind. - Um den Akku zu schonen, ist der Camcorder standardmäßig so eingestellt, dass er sich nach etwa 2 Minuten automatisch ausschaltet, wenn er nicht bedient wird ([Eco-Modus] S. 74).
Hinweise zum Netzteil
- Schließen Sie das Netzteil an eine gut zugängliche Netzsteckdose an. Trennen Sie das Netzteil umgehend von der Netzsteckdose, wenn es beim Betrieb des Camcorders zu einer Fehlfunktion kommt.
- Platzieren Sie das Netzteil während des Betriebs nicht an Orten, an denen keine ausreichende Luftzuführ gewährleistet ist (z. B. zwischen einer Wand und einem Möbelstück).
- Schlieben Sie den Gleichstromstecker des Netzteils bzw. den Akkukontakt nicht mit einem Metallgegenstand kurz. Andernfalls kann es zu einer Fehlfunktion kommt.
- Halten Sie zum Lösen des Netzteils vom Camcorder den Camcorder fest undziehen Sie am Gleichstromstecker.
#
- Aufnahmedauer, Wiedergabedauer (79)
- Akkurestladungsanzeige (27)
Laden des Akkus im Ausland (20)
Laden des Akkus im Ausland
Mithilfe des mit dem Camcorder gelieferten Netzteils konnen Sie den Akku in allen Ländern/Regionen laden, die eine Stromversorgung mit 100V - 240V Wechselstrom und 50Hz / 60Hz anbieten. Verwenden Sie keinen elektronischen Spannungswandler.
Einschalten des Geräts und Einstellen von Datum und Uhrzeit
1 Klappen Sie den LCD-Bildschirm des Camcorders auf und schalten Sieihn ein.
- Sie können den Camcorder auch einschalten, indem Sie auf POWER drücken (S. 13).
2 Wahlen Sie die gewünschte Sprache und danach [Näch] aus.
3 Wahlen Sie die gewünschte geografische Region mit und anschließend [Nach] aus.
4 Stellen Sie [Sommerzeit] ein und wahlen Sie das Datumssformat, das Datum und die Uhrzeit aus.
- Wenn Sie [Sommerzeit] auf [Ein] setzen, wird die Uhr um 1 Stunde vorgestellt.
- Stellen Sie bei der Auswahl des Datum und Uhrzeit den Wert mit /in.
- Mit der Auswahl von OK wird die Einstellung des Datum und der Uhrzeit abgeschlossen.




Wechseln der Sprache
Sie können die Sprache für die Bildschirmmenus wechseln, so dass diese in der gewünschten Sprache angezeigt werden.
Wahlen Sie [MENU] → [Installation] → [Allgemeine Einstg.] → [Language Setting] → und die gewünschte Sprache aus.
Klappen Sie den LCD-Bildschirm zu oder drücken Sie auf die Taste POWER (S. 13).
Einstellen des LCD-Bildschirmträgerwinkels
Klappen Sie zuerst den LCD-Bildschirmträger um 90 Grad zum Camcorder (①) auf und stellen Sie danach den Winkel (②) ein.
② 90 Grad (max.)

② 180 Grad (max.)
① 90 Grad zum Camcorder
Ausschalten des Pieptons
Wahlen Sie [MENU] [Installation] [Allgemeine Einstg.] [Piepton] [Aus] aus.
Hinweise
-
Aufnahmedatum, Uhrzeit, Aufnahmeeinstellungen und Koordinaten (HDR-CX260VE/CX580VE/ PJ260VE/PJ580VE/PJ600VE/XR260VE) werden automatisch auf dem Aufnahmemedium aufgezeichnet. Sie werden während der Aufnahme nicht angezeigt. Sie können sie bei der Wiedergabe jedoch über [Datocode] anzeigen halten. Um sie anzuzeigen, wahren Sie [MENU] → [Installation] → [Wiedergabe-Einstlg.] → [Datocode] → [Datum/Zeit].
-
Sobald die Uhrzeit eingestellt ist, wird sie automatisch angepasst, wenn [Autom. Uhreinstlg] und [Autom. Ber.einstlg] auf [Ein] gesetzt sind. Je nach dem Land bzw. der Region, das bzw. die für den Camcorder ausgewählt ist, wird die Uhrzeit möglicherweise nicht automatisch auf die richtige Uhrzeit umgestellt. Setzen Sie in thisem Fall [Autom. Uhreinstlg] und [Autom. Ber.einstlg] auf [Aus] (HDR-CX260VE/CX580VE/PJ260VE/PJ580VE/PJ600VE/XR260VE).
#
- [LCD-Einschaltung] (S. 73)
- Erneute Einstellung des Datum und der Uhrzeit: [Datum/Zeiteinstlg.] (S. 74)
- Kalibrierung des Berührungsbildschirms: [Kalibrierung] (S. 89)
Vorbereitung des Aufnahmemediums
Auf dem Bildschirm des Camcorders wird das verwendbare Aufnahmemedium in Form folgender Symbole angezeigt.
| Standardaufnahmemedium Alternatives Aufnahmemedium | |
| HDR-CX250E/CX570E | Speicherkarte |
| HDR-CX260E/ | Internet Speicher Speicherkarte |
| CX260VE/CX270E/ | |
| CX580E/CX580VE/ | |
| PJ260E/PJ260VE/ | |
| PJ580E/PJ580VE | |
| HDR-PJ600E/PJ600VE/ | Interne Festplatte Speicherkarte |
| XR260E/XR260VE | |
Hinweise
- Es können keine entsprechenden Aufnahmemedien für这部电影 und Fotos ausgewählt werden.
Auswahlen eines Aufnahmemediums (HDR-CX260E/CX260VE/CX270E/ CX580E/CX580VE/PJ260E/PJ260VE/PJ580E/PJ580VE/PJ600E/PJ600VE/ XR260E/XR260VE)
Wahlen Sie [MEN] installation] Medien-Einstlg.] [MedienAusbahl] und das gewünschte Medium aus.

Einsetzen einer Speicherkarte
Öffnen Sie die Abdeckung und schieren Sie die Speicherkarte ein, bis sie mit einem Klick einrastet.
- Der Bildschirm [Bilddatenbank-Datei wirdVBorbereitet. Bittwarten.] wird angezeigt, wenn Sie eine neue Speicherkarte einsetzen. Warten Sie, bis der Bildschirm wieder ausgebrendt wird.

Richten Sie die Einkerbung beim Einschieben der Speicherkarte wie in der Abbildung dargestellt aus.
Auswerfen der Speicherkarte
Öffnen Sie die Abdeckung und drücken Sie einmal leicht auf die Speicherkarte.
Hinweise
- Damit die Speicherkarte auf jeder Fall ordnungsgemäß Funktioniert, wird empfohlen, sie vor der ersten Verwendung mit dem Camcorder zu formatieren (S. 73). Durch die Formatierung der Speicherkarte werden alle darauf gespeicherten Daten gelöscht und konnen nicht wiederhergestellt werden. Sichern Sie wichtige Daten zuvor auf dem PC oder einem anderen Speichermedium.
- Wenn [Es konnte keine neue Bilddatenbankdaten erstellt werden. Mochlicherweise ist nicht genug freier Speicherplatz vorhanden.] angezeigt wird, formatieren Sie die Speicherkarte (S. 73).
- Achten Sie auf die richtige Ausrichtung der Speicherkarte. Wenn Sie die Speicherkarte falsch herum einsetzen, können die Speicherkarte, der Speicherkarten-Einschub oder die Bilddaten beschädigt werden.
- Achten Sie beim Einsetzen und Auswerfen der Speicherkarte daraufuf, dass die Speicherkarte nicht herausspringt und herunterfällt.
Für diesen Camcorder geeignete Speicherkartentypen
| SD-Ge-schwindig-keitsklasse | Kapazität (nachgewi-esen) | Bezeichnung in thism Handbuch | ||
| "Memory Stick PRO Duo" (Mark2) | SONY | -32 GB | "Memory Stick PRO Duo" | |
| "Memory Stick PRO-HG Duo" | ||||
| SD-Speicherkarte | ||||
| SDHC-Speicherkarte | Klasse 4 oder Schneller | 64 GB SD-Karte | ||
| SDXC-Speicherkarte | ||||
- Der ordnungsgemäß Betrieb kann nicht für alle Speicherkarten garantiert werden.
Hinweise
- Eine MultiMediaCard kann nicht in Verbindung mit diesen Camcorder verwendet werden.
- Filme, die auf SDXC-Speicherkarten aufgezeichnet wurden, können nicht in Computer oder AV-Geräte, die das exFAT*-Dateisystem nicht unterstützen, importiert oder Dort abgeschpielt werden, indem der Camcorder mit dem USB-Kabel an diese Geräte angeschlossen wird. Vergewissern Sie sich vorab, dass das exFAT-System von den angeschlossenen Geräten unterstützt wird. Wenn Sie ein Gerät anschließen, von dem das exFAT-System nicht unterstützt wird, und der Formatierungsbildschirm angezeigt wird, führen Sie keine Formatierung vor. Andernfalls gehen samsliche Daten verloren.
* Bei exFAT handelt es sich um ein Dateisystem, das fur SDXC-Speicherkarten verwendet wird.

Medium fur Aufnahme/Wiedergabe/Bearbeitung: Bildschirmanzeigen während der Aufnahme (99)
- Aufnahmedauer von Filmen/Anzahl der aufnehmbaren Fotos (79)
Aufnahme/Wiedergabe
Aufnahme
Standardmäßig werden Filme und Fotos auf folgenden Medien aufgezeichnet. Filme werden in High Definition-Bildqualität (HD) aufgezeichnet.
HDR-CX250E/CX570E: Speicherkarte
HDR-CX260E/CX260VE/CX270E/CX580E/CX580VE/PJ260E/PJ260VE/PJ580E/PJ580VE/
PJ600E/PJ600VE/XR260E/XR260VE: Internes Aufnahmemedium
Aufnehmen von Filmen
1 Klappen Sie den LCD-Bildschirm auf und drücken Sie auf MODE, so dass die Anzeige (Film) aufleuchtet.

2 Starten Sie mit START/STOP die Aufnahme.
Zum Beendener Aufnahme drucken Sie erneut START/STOP.
- Sie konnen während einer Filmaufnahme Fotos aufzeichnen, indem Sie auf PHOTO drücken (Dual-Aufzeichnung).

Aufnehmen von Fotos
1 Klappen Sie den LCD-Bildschirm auf und drücken Sie auf MODE, so dass die Anzeige (Foto) aufleuchtet.

2 Drücken Sie leicht auf PHOTO, um den Fokus einzustellen, und drücken Sie die Taste dann ganz nach unter.
- Wenn der Fokus richtig eingestellt ist, erscheint die AE/AF-Speicheranzeige auf dem LCD-Bildschirm.

Anzeigen von Elementen auf dem LCD-Bildschirm
Elemente verschwinden vom LCD-Bildschirm, wenn der Camcorder nach seiner
Einschaltung ein paar Sekunden lang nicht bedient wurde oder wenn Sie zwischen den Filmbzw. Fotoaufnahmemodi umschalten.
Berühren Sie den LCD-Bildschirm an einer beliebigen Stelle außer den Tasten, um Informationen zu Symbolen anzuzeigen, die für die Aufnahme nützliche Funktionen haben.
Bildschirmanzeigen während der Aufnahme
Nachfolgend werden Symbole beschreiben, die sowohl für die Film- als auch für die Fotoaufnahme angezeigt werden. Einzelheiten enthalt die Seite in ( ).

1 Taste Zoom (W: Weitwinkel/T: Telebereich), Taste START/STOP (im Filmaufnahme demodus), Taste PHOTO (im Fotoaufnahme demodus)
2 Taste MENU (69)
3 Status, der von der intelligenten Automatik erkannt wird (37)
4 Aufnahmestatus ([STBY]/[AUFNAHME])
5 AE/AF-Speicher (Belichtungsautomatik/automatische Fokussierung) (27)
GPS-Triangulationsstatus*1 (41)
Fokusnachführung (36)
Zoom, Akkurestladungsanzeige
9 Zähler (Stunde: Minute: Sekunde), Aufzeichnung eines Fotos, Aufzeichnung/Wiedergabe/Bearbeitung eines Mediums (99)
10 Taste fur die Aufhebung der Fokusnachführung (36)
Intelligente-Automatik-Taste (37)
12 Tonmodus (72), Tonpegelanzeige (72)^2
[13] Ungefähre Anzahl der aufnehmaren Fotos, Bildformat (16:9 oder 4:3), Fotoformat (L/M/S)
14 Geschätzte Restaufnahmedauer, Bildqualität der Aufnahme (HD/STD), Bildrate (50p / 50i / 25p^*3) und Aufnahmemodus (PS/FX/FH/HQ/LP) (39)
15 Bildanzeigetaste (31)
Meine Taste (Sie können ihre Lieblingsfunktionen Symbolen zuweisen, die in thise Bereich angezeigt werden) (72)
1 HDR-CX260VE/CX580VE/PJ260VE/PJ580VE/PJ600VE/XR260VE
2 HDR-CX570E/CX580E/CX580VE/PJ260E/PJ260VE/PJ580E/PJ580VE/PJ600E/PJ600VE/XR260E/XR260VE
*3 HDR-CX570E/CX580E/CX580VE/PJ580E/PJ580VE/PJ600E/PJ600VE
Aufnehmen im Spiegelmodus
Klappen Sie den LCD-Bildschirmträger um 90 Grad zum Camcorder auf (1) und drehen Sieihn um 180 Grad zur Objektivseite hin (2).
Auf dem LCD-Bildschirm erscheint das Bild als Spiegelbild, aufgenommen wird es jederch normal.

Wenn runde weiß Punkte auf Fotos zu sehen sind (HDR-CX570E/CX580E/ CX580VE/PJ580E/PJ580VE/PJ600E/PJ600VE)
These werden durch Schwebeteilchen (Staub, Pollen usw.) in der Höhe des Objektivs verursacht. Wenn diese durch den Blitz des Camcorders angeleucht werden, erschinen sie als runde weiß Punkte im Bild.
Zum Verringern der runden weiß Punkte leuchten Sie den Raum gut aus und nehmen Sie das Motiv ohne Blitz auf.

Hinweise
- Wenn Sie den LCD-Bildschirm bei einer Filmaufnahme zuklappen, wird die Aufnahme gestopt.
Die maximale kontinuierliche Aufnahmedauer für Filme beträgt etwa 13 Stunden. - Überschreitet die Höhe einer Filmdatei 2 GB, wird automatisch eine neue Filmdatei erstellt.
- Der Blitz Funktioniert nicht, wenn die Anzeige (Film) leuchtet (HDR-CX570E/CX580E/CX580VE/PJ580E/PJ580VE/PJ600E/PJ600VE).
Die im Folgenden genommen Umstände bedeuten, dass trotz der Beendigung der eigentlichen Aufnahme immer noch Daten auf das Aufnahmemedium geschrieben werden. In thisem Fall darauf der Camcorder keinen Stößen oder Erschütterungen ausgesetzt werden, und der Akku oder das Netzteil damit entfernt werden.
Die Zugriffsanzeige (S. 24) leuchtet oder blinkt
Das Mediensymbol oben rechts im LCD-Bildschirm blinkt
- Wenn die Bildrate auf [25p] gesetzt ist, können Sie keine Fotos aufnehmen, solange sich der Camcorder im Filmaufnahme demodus befindet (HDR-CX570E/CX580E/CX580VE/PJ580E/PJ580VE/PJ600E/ PJ600VE).
- Auf dem LCD-Bildschirm des Camcorders konnen Aufnahmen bildschirmfullend angezeigt werden (Vollpixelanzeige). Wenn die Aufnahmen jedoch auf einem Fernsehgerät wiedergegeben werden, das nicht mit der Vollpixelanzeige kompatibel ist, werden die Bildränder oben, unter, rechts und links möglicherweise abgeschritten. Es empfeht sich, für die Aufnahme [Hilfsrahen] auf [Ein] zu stellen und den äußerten Rahmen von [Hilfsrahen] (S. 72) zur Orientierung zu verwenden.
#
- Aufnahmedauer, Anzahl der aufnehmbaren Fotos (S. 79)
[Medien-Ausb Wahl] (S. 23) - [Blitz] (HDR-CX570E/CX580E/CX580VE/PJ580E/PJ580VE/PJ600E/PJ600VE) (S. 72)
- Dauerhaftes Anzeigen von Elementen auf dem LCD-Bildschirm: [Anzeige-Einstellung] (S. 72)
- Änderung der Bildgroße: [Bildgroße] (S. 40)
- Aufnahmedauer, verbleibende Aufnahmekapazität [Medien-Infos] (p. 73)
Zoomen
Verschieben Sie den MotorzoomHebel, um das Bild zu vergroßern oder zu verkleinern.
W (Weitwinkel): Größerer Blickwinkel
T (Telebereich): Nahaufnahme
-
Mit Extended Zoom konnen Bilder wie folgt vergroßert werden:
-
Bei HDR-CX250E/CX260E/CX260VE/ CX270E/PJ260E/PJ260VE/XR260E/XR260VE: Bis zu 55-fache Vergroßerung des Originals
-
Bei HDR-CX570E/CX580E/CX580VE/ PJ580E/PJ580VE/PJ600E/PJ600VE: Bis zu 20-fache Vergroßerung des Originals
-
Verschieben Sie den Motorzoom-Hebel für einen langsamen Zoom nuricht. Für einen Schnellenen Zoom verschieben Sie den Hebel weiter.

Hinweise
- Lassen Sie den Finger unbedingt auf dem Motorzoom-Hebel. Andernfalls wird das Betriebsgeräusch des Motorzoom-Hebers möglicherweise mit aufgezeichnet.
- Mit der Taste auf dem LCD-Bildschirm konnen Sie die Zoomgeschwindigkeit nicht ändern.
- Der Mindestabstand zwischen Camcorder und Motiv, der für eine scharfe Fokussierung erforderlich ist, liegt im Weitwinkelbereich bei etwa 1 cm und im Telebereich bei etwa 80~cm .
-
Mit dem optischen Zoom konnen Sie Bilder vergroßern, es sei dessen, [SteadyShot] ist auf [Aktiv] gesetzt. Die unter genannten Vergroßerungen sind möglich.
-
Bei HDR-CX250E/CX260E/CX260VE/CX270E/PJ260E/PJ260VE/XR260E/XR260VE: Bis zu 30-fache Vergroßerung des Originals
- Bei HDR-CX570E/CX580E/CX580VE/PJ580E/PJ580VE/PJ600E/PJ600VE: Bis zu 12-fache Vergroßerung des Originals
告
- Weiteres Zoomen: [Digitalzoom] (S. 71)
Wiedergabe
Sie können aufgezeichnete Bilder nach Datum und Uhrzeit (Ereignis-Ansicht) bzw. Position (Kartenansicht) (HDR-CX260VE/CX580VE/PJ260VE/PJ580VE/PJ600VE/XR260VE) der Aufzeichnung suchen.
1 Klappen Sie den LCD-Bildschirm auf und drücken Sie auf die Taste am Camcorder, um in den Wiedergabemodus zu gelangen.
- Sie können den Wiedergabemodus durch Auswahr von auf dem LCD-Bildschirm aufrufen (S. 27).
2 Berühren Sie und das gewünschte Ereignis in die Mitte (1) zu verschieben und anschließend auszuwahlen (2).
- Der Camcorder zeigt die aufgezeichneten Bilder auf Basis von Datum und Uhrzeit automatisch als Ereignis an.
3 Wahlen Sie das Bild aus.
- Der Camcorder gibt Bilder vom ausgewählten Bild bis zum letzten Bild des Ereignisses wieder.



Bildschirmanzeige in der Ereignis-Ansicht


- Verkleinerte Bilder der Originalaufnahmen, von denen mehrere gleichzeitig auf einem Indexbildschirm angezeigt werden konnen, werden als „Miniaturbilder“ bezeichnet.
Hinweise
- Damit keine Bilddaten verloren gehen, sollen den von allen aufgezeichneten Bilddaten von Zeit zu Zeit eine Sicherungskopie auf externen Speichermedien anfertigen. (S. 61)
- Standardmäßig ist ein geschützter Demofilm voraufgezeichnet (HDR-CX260E/CX260VE/CX270E/ CX580E/CX580VE/PJ260E/PJ260VE/PJ580E/PJ580VE/PJ600E/PJ600VE/XR260E/XR260VE).
Wiedergeben von Filmen und Fotos von einer Karte (HDR-CX260VE/ CX580VE/PJ260VE/PJ580VE/PJ600VE/XR260VE)
1 Schalten Sie in die Kartenansicht, indem Sie [Karte-Ansicht] berühren.

2 Wahlen Sie die Aufnahmeposition aus.
- Berühren Sie die Richtung auf der Landkarte, in die geblattert werden soll. Die Karte wird so lange geblättert, bis Sie diese Stelle nicht mehr berühren.
- Wenn Sie den Kartenmaßstab mit dem Motorzoom-Hebeländern,ändern sich auch die Gruppen der Miniaturbilder.

3 Wahlen Sie das gewünschte Bild aus.

Wenn Sie die Kartendaten zum ersten Mal verwenden
Sie werden in einer Meldung gefragt, ob Sie mit den Bedingungen der Lizenzvereinbarung für die Kartendaten einverstanden sind. Wenn Sie mit den Bedingungen der Lizenzvereinbarung (S. 95) einverstanden sind, können Sie die Kartendaten nutzen, indem Sie [Ja] auf dem Bildschirm berühren.
Wenn Sie jedoch [Nein] berühren, ist keine Verwendung der Kartendaten möglich. Wenn Sie jedoch erneut versuchen möchten, die Kartendaten zu nutzen, wird diese Meldung wieder auf dem Bildschirm angezeigt und Sie können die Kartendaten verwenden, sobald Sie [Ja] berühren.
Bildschirmanzeigen in der Kartenansicht


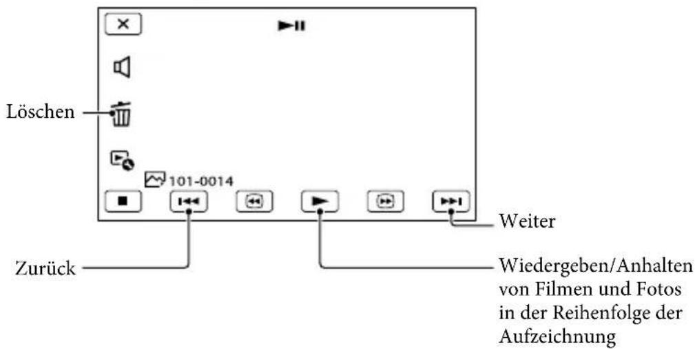
Bedientasten während der Wiedergabe
Elemente verschwinden vom LCD-Bildschirm, wenn der Camcorder ein paar Sekunden lang nicht bedient wird. Um die Elemente erneut anzuzeigen, berühren Sie den LCD-Bildschirm.
Während der Filmwiedergabe

Während der Fotowiedergabe
Die Bedientasten bei der Anzeige von Fotos wechseln je nach Einstellung der Taste zum Wechsel des Bildtyps (S. 32).
(Film/Foto) (Standardeingstellung)

Foto)

- Wenn Sie während der Wiedergabe wiederholt auswahlen, werden die Filme mit bis zu etwa 5-facher 10-facher 30-facher 60-facher Geschwindigkeit abgespielt.
Wahlen Sie im Pausemodus / aus, um den Film langsamer wiedergeben zu halten. - Wahlen Sie zur Wiederholdung der Diaschau [Dia-Show Einstein.] aus.
Wiedergabe von Bildern mit anderen Geräten
- Die mit dem Camcorder aufgenommenen Bilder konnen möglicherweise mit anderen Geräten nicht ordnungsgemäß wiedergegeben werden. Ebenso kann es vorkommen, dass die mit anderen Geräten aufgenommenen Bilder nicht ordnungsgemäß mit dem Camcorder wiedergegeben werden konnen.
- Filme in Standardbildqualität (STD), die auf SD-Speicherkarten aufgezeichnet wurden, können nicht mit AV-Geräten anderer Hersteller abgespielt werden.
Erweiterte Funktionen
Aufnehmen von Personen mit richtiger Scharfe
Aufnehmer des ausgewählten Motivs mit der richtigen Scharfe (Gesichtspriorität)
Ihr Camcorder kann ein von Ihnen ausgewähltes Gesicht verfolgen und automatisch den Fokus, die Belichtigung und den Hautton des Gesichts einstellen. Berühren Sie eines der anvisierten Gesichter.



Doppellinie angezeigt.
Hinweise
- Je nach Lichtverhältnissen und Frisur wird das Motiv, das Sie berühren, möglichcherweise nicht erkannt.
- Legen Sie für [Gesichtserkennung] einen anderen Wert fest als [Aus] ([Auto] ist die Standardeinstellung).
Aufnehmen anderer Motive außer Personen (Fokusnachführung)
Berühren Sie das Motiv, welches Sie aufnehmen möchten.
Der Camcorder stelt den Fokus automatisch ein.



Aufnehmen mit klareren Stimmen (Klarere Stimme)
Der Camcorder erkennt das Gesicht einer Person und nimmt deren Stimme klarer
Auswahl aufhebenEs wird in den Nidie Standardeinstellung.)
1 Wahlen Sie MENiKamera/Mikrofon] [Mikrofon]→ [Klarere Stimme] aus.
2 Wahlen Sie das gewünschte Element aus.

Hinweise
- Wenn Sie [Aus] auswahlen, erscheint auf dem LCD-Bildschirm.
- [Klarere Stimme] Funktioniert nicht, wenn ein externes Mikrofon am Camcorder angebracht ist.
- Wollen Sie den Ton klar und ohne Störungen aufnehmen, z. B. bei einem Konzert, stellen Sie [Klarere Stimme] auf [Aus].
[Gesichtserkennung] (S.71)
Automatische Aufnahme eines Lächelns (Auslös. bei Lächeln)
Es wird automatisch ein Foto aufgenommen, wenn der Camcorder während einer Filmaufnahme das Lächeln einer Person erkennt (S. 71). ([Dual-Aufzeihn.] ist die Standardeinstellung.)

Der Camcorder erkennt ein Gesicht.
Hinweise
- Wenn die Bildrate und der Aufnahmehodemus auf [50i]/[Höchste Quali. FX] oder [50p]/[50p-Qualität PS] gesetzt sind, können Sie die Funktion „Auslösung bei Lächeln" bei der Filmaufnahme nicht verwenden. Außendem kann die Funktion „Auslösung bei Lächeln" nicht verwendet werden, wenn die Bildrate auf [25p] gestellt ist (HDR-CX570E/CX580E/CX580VE/PJ580E/PJ580VE/PJ600E/PJ600VE).
- Je nach Aufnahmebedingungen, Motiv und Camcordereinstellungen wird möglicherweise kein Lächeln erkannt.
[Laehlerk.empfindlk.] (S.71)
Aufnehmen von Filmen in verschiedenen Situationen
Automatische Auswahl der für die Aufnahmesituation geeigneten Einstellung (Intelligente Automatik)
Der Camcorder zeichnet Filme nach Auswahl der fur die Motive oder die Situation am besten geeigneten Einstellung automatisch auf. ([Ein] ist die Standardeinstellung.) Wenn der Camcorder ein Motiv erkennt, werden die Symbole angezeigt, die den erkannten Bedingungen entsprechen. Wahlen Sie [Ein] OK unten rechts auf dem Aufnahmebildschirm von Filmen oder Fotos aus.

Gesichtserkennung:
Der Camcorder erkennt Gesichter und stellt Fokus, Farbe und Belichtigung ein. (Portrait), Baby)
Szenenerkennung:
Der Camcorder wahl't je nach Szene automatisch die effektivste Einstellung. (Gegenlicht), (Landschaft), (Nachtszene), (Scheinwerfer), (Wenig Licht), (Makro)
Bildverwacklungserkennung:
Der Camcorder erkennt eine eventuelle Bildverwacklung undGLEicht diese bestmoglich aus.
大 (BeimGehen),(Stativ)
Tonerkennung:
Der Camcorder erkennt und unterrückt Windgeräutsche, so dass die Stimme einer Person oder Umgebungsgeräutsche klara aufgenommen werden konnen.
=, Automat. WindGR)
Um die intelligente Automatik aufzuheiten, wahlen Sie [AUTO] [Aus] aus.
Aufnehmen von Bildern mit großerer Helligkeit als bei der Aufnahme mit der intelligenten Automatik
Wahlen Sie [Manuelle Einstlg.] [Low Lux] aus.
Hinweise
- Je nach Aufnahmebedingungen kann es vorkommen, dass der Camcorder die erwartete Szene oder das erwartete Motiv nicht erKENnt.
Aufnehmen von Filmen bei schwachem Licht (Videoleuchte) (HDR-CX570E/CX580E/CX580VE/PJ580E/ PJ580VE)
Betätigen Sie LIGHT.

Bei jeder Betätigung der Taste LIGHT
ändert sich die Anzeige wie folgt.
Aus (keine Anzeige) Auto (E AUTO) Ein (E) ...
Hinweise
- Halten Sie einen Abstand von ca. 0,3m bis 1,5m zwischen dem Camcorder und dem Motiv ein.
Die Videoleuche erzeugt ein starkes Licht.
Daherarf die Videoleuche nicht aus nachster
Nae auf die Augen gerichtet werden.
Die Videoleuche verbraucht sehr viel Akkustrom. - Wenn Sie Fotos aufnehmen, schaltet sich die Videoleuche aus und Funktioniert als Blitz.

[Licht-Helligkeit] (S. 72)
Aufnehmen von Bildern mit der ausgewählten Bildqualität
Auswahlen der Bildqualität von Filmen (Aufnahmemodus)
Bei der Aufnahme von Filmen in High Definition-Bildqualität (HD) können Sie den Aufnahmemodus wechseln und die gewünschte Filmqualität auswahlen. Die Aufnahmedauer (S. 80) oder der Typ der Medieneinheit, auf die die Bilder kopiert werden konnen, konnen sich je nach ausgewähltem Aufnahmemodusändern. ([Standard H] ist die Standardeinstellung.)
Hinweise
- [50p-Qualität PS] kann nur eingestellt werden, wenn [Bildfrequenz] auf [50p] eingestellt ist.
1 Wahlen Sie [Bildqualität/GröBe] → [AUFN-Modus] aus.
2 Wahlen Sie den gewünschten Aufnahmehodemus aus.

- wird auf dem Symbol eines Mediums angezeigt, wenn ein Film, der im ausgewählten Aufnahmemodus aufgezeichnet wurde, nicht auf diesen Medium kopiert werden kann.
Aufnahmehodemus und Medieneinheiten, auf die Bilder kopiert werden konnen
| Medientypen | Aufnahmemodus | ||
| PS*1 | FX | FH/HQ/LP | |
| Auf thisem Camcorder | |||
| Internes Aufnahmemedium*2 | ✓ | ✓ | ✓ |
| Speicherkarte | ✓ | ✓ | ✓ |
| Auf externen Geräten | |||
| Externe Medien (USB-Speichereinheiten) | ✓ | ✓ | ✓ |
| Blu-ray-Discs | ✓ | ✓ | ✓ |
| AVCHD-Aufnahmediscs | - | - | ✓ |
^1 [50p-Qualität fskann nur eingestellt werden, wenn [Bildfrequenz] auf [50p] gesetzt ist. ^2 HDR-CX260E/CX260VE/CX270E/CX580E/ CX580VE/PJ260E/PJ260VE/PJ580E/PJ580VE/ PJ600E/PJ600VE/XR260E/XR260VE
Informationen zur Bildqualität
Bildqualität und Bitrate können für jeder Aufzeichungsmodus wie folgt eingestellt werden. (,M^ beispisseweise in 24M^ steht fur Mbps" Fur这部电影 in High Definition-Bildqualität (HD):
[50p-Qualitat PS 920 × 1080/50p Qualitat, AVC HD 28M (PS)
- [Hochste Quali. FX]: 1920 × 1080/50i oder 1920 × 1080/25p1 Qualität, AVC HD 24M (FX)
[Hohe Qualitat FH]: 1920× 1080 / 50i oder 1920× 1080 / 25p^1 Qualitat,AVC HD 17M (FH)
- [Standard HQ]: 1440 × 1080 / 50i Qualität, AVC HD 9M (HQ)*2
[Langzeit 440× 1080 / 50i Qualitat,AVC HD 5M (LP)
Für Filme in Standard Definition-Bildqualität (STD):
[Standard standardqualität, STD 9M (HQ)*3
1 HDR-CX570E/CX580E/CX580VE/PJ580E/PJ580VE/PJ600E/PJ600VE
2 Standardeinstellung
*3 Die Standardbildqualität (STD) ist fest auf diesen Wert eingestellt.

[Bildfrequency] (S.72)
- Aufnahmen von Filmen in Standard Definition-Bildqualität (STD): [HDE/STDellung] (S.72)
Anleitung zur Erstellung von Discs (S. 61)
Ändern der Bildqualität von Fotos
Die Anzahl der aufnehmbaren Fotos hangt von der ausgewählten Bildgroße ab.
1 Wahlen Sie [Bildqualität/GröBe] → [ Bildgroße] aus.
2 Wahlen Sie die gewünschte Bildgroße aus.

Hinweise
Die mit dieser Einstellung ausgewählte Bildgroße ist wirsam für Fotos, die mit der Dual-Aufzeinungsfunktion (S.26) aufgenommen werden.

Anzahl der aufnehmbaren Fotos (S. 84)
Aufzeichnung von Informationen zu ihrer Position (GPS)
(HDR-CX260VE/CX580VE/ PJ260VE/PJ580VE/PJ600VE/ XR260VE)
Wenn Sie die GPS-Funktion (Global Positioning System) nutzen, stehen die nachfolgenden Funktionen zur Verfügung.
- Aufzeichnung von Positionsdaten auf Filmen oder Fotos ([Ein] ist die Standardeinstellung.)

Wiedergabe von Filmen und Fotos durch deren Suche auf einer Landkarte (Kartenansicht, S. 32)

— Anzeige einer Landkarte mit der Umgebung Ihrer aktuellen Position


GPS Triangulationsstatus

Triangulationsmessungen Keine Aufzeichnung der Positionsdaten möglich

Bilder werden mit den zuvor abgerufenen Positionsdaten registriert.
Wenn Sie keine Aufzeichnung der Positionsdaten wünschen
Wahlen Sie [MENU] [Installation] [Allgemeine Einstlg.] [GPS-Einstellung] [Aus] aus.
Hinweise
- Es kann eine Weile dauern, bis der Camcorder mit der Triangulation beginnt.
- Verwenden Sie die GPS-Funktion im Freien und im offenen Gelda, da die Funksignale dort am besten empfangen werden konnen.
- Auf der Karte ist Norden immer oben.
Abruf einer Landkarte mit der Umgebung ihrer aktuellen Position (Prioritätsmodus der Triangulation)
These Funktion ist auf Reisen nutzlich, da Sie eine Landkarte mit ihrer aktuellen Position aufrufen konnen. Da der Camcorder zur Suche von Satelliten andere Funktionen deaktiviert, kann der Abruf von Triangulationsdaten Vorrang haben.
Wahlen Sie Installation] [Allgemeine Einstlg.] [Ihre Position] aus.
Eine (rote) Markierung ihrer aktuellen Position

Zeigt die Triangulationsdaten an (S. 42)
Hinweise
- Wenn Sie eine andere Stelle auf dem Bildschirm auswahlen, wird das Gebiet mit dieser Stelle in der Mitte der Karte angezeigt. Wahlen Sie aus, um ihre aktuelle Position wieder in die Bildmitte zu rücken.
- Wenn der Camcorder keine aktuellen Positionsdaten abrufen kann, wird der Bildschirm mit den Triangulationsdaten angezeigt (S. 42).
- Wenn die zuvor abgerufenen Positionsdaten ungültig sind, wird die Markierung nicht angezeigt.
Um den Bildschirm mit der aktuellen Position zu schlieben, wahren Sie aus.
Überprüfen des Triangulationsstatus
Der Camcorder zeigt den Status des GPS-Signalempfangs an, wenn Sie die Triangulationsdaten nicht abrufen konnen.
1 Zeigen Sie ihre aktuelle Position an (S. 41).
Wenn ihre aktuelle Position auf dem LCD-Bildschirm angezeigt wird, müssen Sie diesen Vorgang nicht fortsetzen.
2
Wahlen Sie aus.



Triangulationsanzeige Positionsdaten, die vorher abgerufen wurden.
Um den Bildschirm mit den Triangulationsdaten zu schlieben, wahlen Sie × aus.
Informationen zur Satellitenkarte und zur Triangulationsanzeige
Die Mitte der Satellitenkarte zeigt.
Ohre aktuelle Position an.Mit den
Satellensymbolen () ,die auf der
Satellitenkarte erschinen, konnen Sie die Richtung (Nord, Sud, Ost, West) der Satellten uberprüfen.
Wenn der Camcorder ihre Position erfolgreich durch Triangulation bestimmt hat, wechselt die Farbe der Triangulationsanzeige auf Grün.
Überprüfen der GPS-Satellitensymbole bzw. der Triangulationsanzeige
Die Farbe der GPS-Satellitensymbole und der Triangulationsanzeige ändert sich je nach dem aktuellen Status der Triangulation.
| GPS-Satellitensymbole/Triangulationsanzeige | Zustand |
| ●/■(Schwarz) | Kein Signal, aber die Umlaufbahndaten des Satelliten sind verfügbar. |
| ●/(Grau) | Ein Teil der Satellitenum-laufbahndaten wurde abgerufen. |
| ●/(Braun) | Ungefähr die Hälfte der Satellitenumlaufbahndaten wurde abgerufen. |
| ○/(Ocker) | Der größte Teil der Satel-litenumlaufbahndaten wurde abgerufen. |
| ○/(Grün) | Die Triangulation ist beendet und der Satellit wird aktuell verwendet. |
Wenn ihre aktuelle Position nicht abgerufen werden kann
Es erscheint eine Anzeige, die Ihnen die erneute Triangulation ihrer Position erhöglich. Befolgen Sie in thisem Fall die Anweisungen, die auf dem LCD-Bildschirm angezeigt werden.
Tipps für einen besseren Empfang
-
Verwenden Sie die GPS-Funktion im Freien und im offenen Gelände. Im „Handycam“ Benutzieranleitung finds Sie ausfuhrliche Informationen zu Positionen oder Situationen, die den Empfang von Funksignalen unwilling machen.
-
Drehen Sie den LCD-Bildschirmträger so, dass die GPS-Antenne auf den Himmel gerichtet ist. Bedecken Sie die GPS-Antenne nicht mit der Hand.

- Wahlen Sie [Ohre Position] im Menu aus, um den Prioritätsmodus der Triangulation (S. 41) zu verwenden.
- Verwenden Sie die GPS Assist-Daten. Wenn Sie mithilfe der integrierten Software „PlayMemories Home“ GPS-Assist-Daten aus dem Computer in den Camcorder importieren, kann die Dauer bis zur Ermittlung ihrer Positionsdaten durch den Camcorder verkürzt werden. Schließen Sie den Camcorder an einen Computer an, der mit dem Internet verbunden ist. Die GPS-Assist-Daten werden automatisch aktualisiert.
Hinweise
-
In folgenden Situationen entspricht ihre tatsächliche Position möglicherweise nicht der aktuellen Position des Camcorders, die auf der Landkarte angezeigt wird. Die ermittelte Position kann bis zu einzel hundert Meter von der tatsächlichen Position abweichen.
-
Wenn der Camcorder GPS-Signale empfängt, die von den umgebenden Gebäuden reflektiert werden
Wenn das GPS-Signal zu schwach ist -
In folgenden Fälle kann es vorkommen, dass die GPS-Assist-Daten nicht ordnungsgemäß Funktionieren:
-
Wenn die GPS-Assist-Daten etwa 30 Tage oder länger nicht mehr aktualisiert wurden
- Wenn Datum und Uhrzeit am Camorder nicht richtig eingestellt sind
-
Wenn Sie mit dem Camcorder einen weiten Weg zurückgelegt haben
-
Wenn Sie einen Mac-Computer verwenden, können Sie keine GPS-Assist Daten importieren.
Abspielen eines Auszugs Ihrer这部电影
(Highlights-Wiedergabe)
Sie können sich an einem Auszug von Filmen und Fotos in High Definition-Bild Qualität (HD), vergleichbar mit einem Kurzfilm, erfreuen.
1 Betätigen Sie (S. 31).
2 Zeigen Sie das gewünschte Ereignis in der Mitte der Ereignis-Ansicht an und wahlen Sie [Highlights] aus.


3 Wahlen Sie nach Abschluss der Highlights-Wiedergabe die gewünschte Funktion aus.

A: Der Camcorder spiel die Szenender Highlights-Wiedergabe erneut ab.
B: Sie können die Szenen der Highlights-Wiedergabe in Standard Definition-Bildqualität (STD) speichern und freigeben (Hochladen ins Internet usw.).
C: Sie können die Einstellungen für die Highlights-Wiedergabeändern.
Ändern der Einstellungen für die Highlights-Wiedergabe
Sie können die Einstellungen für die Highlights-Wiedergabe durch Auswahr von [Highlight-Einstellung] auf dem Bildschirm nach Abschluss der Highlights-Wiedergabeändern.
Sie konnen die Einstellung auch ändern, indem Sie [Highlight-Einstellung] auswahlen während der Camcorder Highlight-Szenen abspiel.
- [Wiedergabe-Bereich] Sie können den Wiedergabebereich (Anfangs- und Enddatum) der Highlights-Wiedergabe einstehen.
[Stil] Sie konnen einen Stil für die Highlights-Wiedergabe auswahlen.
[Musik] Sie können Musik auswahlen. -
[Tonmischung] Die Musik wird gemeinsam mit dem Originalton abgespielt.
[Dauer] Sie konnen die Länge des Highlights-Wiedergabesegments festlegen. -
[Highlights-Stelle] Sie können die Stellen in einem Film oder Fotos festlegen, die in einer Highlights-Wiedergabe verwendet werden. Spieler Sie den gewünschten Film ab und fühlen Sie aus. Oder geben Sie das gewünschte Foto wieder und fühlen Sie OK aus. Jerscheint auf dem für die Highlights-Wiedergabe verwendenten Film oder Foto. Um die Stellen zu loschen, fühlen Sie → [Alle Stellen loschen] aus.
Hinweise
Die Szenen der Highlights-Wiedergabe sind bei jeder Auswahl der Highlights-Wiedergabe anders.
- Sobald die Highlights-Wiedergabe gestopt wird, wird die Einstellung [Wiedergabe-Bereich] aufgehoben.
- Werde die Highlights-Wiedergabe von der Kartenansicht aus gestartet, kann [Highlights-Stelle] nicht eingestellt werden. Wenn jeder die Highlights-Wiedergabe von der Ereignis-Ansicht aus gestartet wurde und [Highlights-Stelle] gesetzt wird, kann der Punkt auch auf der Kartenansicht wirsam werden (HDR-CX260VE/CX580VE/PJ260VE/PJ580VE/PJ600VE/XR260VE).
- Der für die Highlights-Wiedergabe verwendete Ton wird in 2-Kanal-Stereoton umgewandelt (HDR-CX570E/CX580E/CX580VE/PJ260E/PJ260VE/PJ580E/PJ580VE/PJ600E/PJ600VE/XR260E/XR260VE).
- Wenn Sie den Camcorder an ein externes Gerät wie beispielsweise ein Fernsehgerät anschließen und die Highlights-Wiedergabe oder ein Highlight-Szenario abspielen, werden die Bilder nicht im LCD-Bildschirm des Camcorders angezeigt.
Speichern der HighlightsWiedergabe in HD-Bildqualitat (Szenario Speich.)
Sie können ihre Lieblings-Highlights-Wiedergabe als „Szenario" mit High Definition-Bild Qualität (HD) speichern. Es können bis zu 8 Szenarien gespeichert werden. Diese Szenarien können nur auf dem Camcorder wiedergegeben werden.
1 Wahlen Sie nach Beendigung einer Highlights-Wiedergabe [Wiederholen] auf dem Bildschirm aus.
2 Sobald die Highlights- Wiedergabe erneut beginnt, wahlen Sie [s] scenario Speich.] aus.

Wiedergabe eines gespeicherten Szenarios
Wahlen Sie [MENU]→[Wiederg.- Funktion]→[Szenario], danach das gewünschte Szenario und anschließend OK aus.

Um ein gespeichertes Szenario zu loschen, wahlen Sie während der Wiedergabe des Szenarios [Lösch.]/[Alle Lösch.] aus.
Kovertieren des Datenformats auf STD-Bildqualität (Highlights-Film)
Sie können das Datenformat von Highlights-Wiedergaben oder Highlight-Szenarios auf die Standard Definition-Bildqualität (STD)ändern und sie als einen „Highlights-Film" speichern. Highlights-Filme können für die Erstellung von DVDs verwendet oder ins Internet hochgeladen werden.
1 Wenn die Highlights-Wiedergabe oder die Wiedergabe des Highlights-Szenarios beendet ist, wahlen Sie auf dem Bildschirm [Speichern und Freigeben] aus.
2 Wahlen Sie die gewünschte Funktion aus, wenn das Element gespeichert wurde.

A: Mit der Auswahl von [Freigeben] können Sie den Highlights-Film mit der integrierten Software „PlayMemories Home" (S. 60) in das Internet hochladen oder DVDs mit dem „DVDirect Express" DVD-Brenner (S. 63) erstellen.
B: Der Camcorder spiel den gespeicherten Highlights-Film ab.
Wiedergabe eines Highlights-Filmes
Wahlen Sie [MENU] → [Wiederg.- Funktion] → [Highlights-Film] und anschließend den Highlights-Film aus.
Um einen Highlights-Film zu loschen, wahlen Sie während der Wiedergabe des HighlightsFilms aus.
Bildwiedergabe auf einem Fernsehgerät
Das Anschlussverfahren und die Bildqualität bei der Anzeige auf dem Fernsehschirm hangen vom Typ des angeschlossenen Fernsehgeräts und den verwendeten Anschlüssen ab.


1 Wenn das Fernsehgerät keine HDMI-Eingangsbuchse hat, verwenden Sie das A/V-Verbindungskabel für den Anschluss.
^2 HDR-CX250E/CX260E/CX260VE/CX270E
^3 HDR-CX570E/CX580E/CX580VE/PJ260E/ PJ260VE/PJ580E/PJ580VE/PJ600E/PJ600VE/ XR260E/XR260VE
4 HDR-CX250E/CX260E/CX260VE/CX270E/ CX570E/CX580E/CX580VE/PJ260E/PJ260VE/ PJ580E/PJ580VE
*5 HDR-PJ600E/PJ600VE/XR260E/XR260VE
1 Stellen Sie am Fernsehgerät als Eingang die für den Anschluss verwendete Buchse ein.
2 Schlieben Sie den Camcorder an ein Fernsehgerat an.
3 Spieler Sie einen Film oder ein Foto auf dem Camcorder ab (S. 31).
Hinweise
- Schlagen Sie dazu auch in der Bedienungsanleitung zum Fernsehgerät nach.
- Verwenden Sie das mitgelieferte Netzteil als Stromquelle (S. 19).
- Filme, die in Standard Definition-Bildqualität (STD) aufgenommen wurden, werden auch auf einem HD-Fernsehgerät in Standard Definition-Bildqualität (STD) wiedergegeben.
- Wenn Sie这部电影 in Standard Definition-Bildqualität (STD) auf einem 4:3-Fernsehgerät abspielen, das nicht mit dem 16:9-Signal kompatibel ist, stellen Sie [Breitmodus] auf [4:3], um这部电影 im Bildformat 4:3 aufzunehmen.
- Wenn Sie den Camcorder mit mehreren Kabeltypen für die Ausgabe von Bildern an ein Fernsehgerät anschließen, hat der HDMI-Ausgang Vorrang.
- Der Camcorder unterstützenkeine S-Video-Ausbabe.
Wiedergabe von 5,1-Kanal-Raumklang (HDR-CX570E/CX580E/
CX580VE/PJ260E/PJ260VE/PJ580E/PJ580VE/
PJ600E/PJ600VE/XR260E/XR260VE)
Mit dem eingebauten Mikrofon kann Dolby Digital 5,1-Kanal-Raumklang aufgenommen werden. Beim Wiedergeben von Filmen auf einem Gerät, das 5,1-Kanal-Raumklang unterstützt, erzielen Sie so eine besonderss naturgetreue Tonwiedergabe.
DOLBY
DIGITAL S.1 CREATOR

Eingebautes Mikrofon
Hinweise
- Bei der Wiedergabe von 5,1-Kanal-Ton mit den Laufsprechern des Camcorders wird der 5,1-Kanal-Ton für die Ausgabe automatisch in das 2-Kanal-Format konvertiert.
- Für die Wiedergabe des 5,1-Kanal-Raumklangs von Filmaufnahmen in High Definition-Qualität (HD) mit 5,1-Kanal-Ton benötigen Sie ein Gerät, das mit 5,1-Kanal-Raumklang kompatibel ist.
- Wenn Sie den Camcorder über das mitgelieferte HDMI-Kabel anschlieben, wird der Ton von mit High Definition-Bildqualität (HD) und 5,1-Kanal-Ton aufgenommenen Filmen automatisch mit 5,1-Kanal-Ton ausgegeben. Der Ton von Filmen in Standard Definition-Bildqualität (STD) wird in 2-Kanal-Ton konvertiert.

- [Tonmodus] (S. 72)
Informationen zu HDMI-Kabeln
- Verwenden Sie ein HDMI-Kabel mit HDMI-Logo.
- Verwenden Sie ein Kabel mit einem HDMI-Ministecker an einem Ende (für den Camcorder) und einem für das Fernsehgerät geeigneten Stecker am anderen Ende.
- Bilder mit Urheberrechtsschutzcodierung werden über die Buchse HDMI OUT am Camcorder nicht ausgegeben.
- Unter Umständen Funktionieren eine Fernsehgeräte bei dieser Verbindung nicht ordnungsgemäß (beispielsweise kein Ton oder kein Bild).
- Verbinden Sie die Buchse HDMI OUT am Camcorder nicht mit der Buchse HDMI OUT an einem externen Gerät, da es andernfalls zu einer Fehlfunktion kommt kann.
Die HDMI-Schnittstelle (High Definition Multimedia Interface) ermöglicht die Übertragung von Video- und Audiosignalen. Über die Buchse HDMI OUT werden Bilder in hoher Qualität und digitale Tonsignale ausgegeben.
Bei einem monauralen Fernsehgerät (das Fernsehgerät verfügbar nur über eine Audioeingangsbuchse)
Verbinden Sie den gelben Stecker des A/V-Verbindungskabels mit der Videeingangsbuchse und den weiß (linker Kanal) oder roten Stecker (rechte Kanal) mit der Audioeingangsbuchse am Fernsehgerät oder Videorecorder.
Beim Anschluss an das Fernsehgerät über einen Videorecorder
Schlieben Sie den Camcorder über das A/V-Verbindungskabel an den LINE IN-Eingang am Videorecoder an. Stellen Sie den Eingangswahlschalter des Videorecorders auf LINE (VIDEO 1, VIDEO 2 usw.).

- Einstellung des vom Fernsehgerät untersitzen Bildformats: [TV-Typ] (S. 73)
Wenn Ihr Fernsehgerät/ Videorecorder über einen 21-poligen Adapter (EUROCONNECTOR) verfügbar
Verwenden Sie zum Anzeigen von Wiedergabebildern einen 21-poligen Adapter (gesondert erhältlich).

Verwenden von „BRAVIA“ Sync
Sie können die Wiedergabe über die Fernbedienung Ihres Fernsehgerats steuern, wenn Sie den Camcorder über ein HDMI-Kabel an ein „BRAVIA“ Sync-kompatibles
Fernsehgerat anschließen, das ab 2008 auf den Markt gekommen ist.
Das Menu des Camcorders kann durch Drucken der Taste SYNC MENU auf der Fernbedienung Ihres Fernsehgeräts bedient werden. Sie können Bildschirme des Camcorders, wie die Ereignis-Ansicht, anzeigen und ausgewählte这部电影 abspielen bzw. ausgewählte Fotos aufrufen, indem Sie die Aufwärts-/Abwärts-/Links-/Rechts-/Eingabetasten der Fernbedienung Ihres Fernsehgeräts drucken.
- Manche Funktionen konnen Sie mit der Fernbedienung möglicherweise nicht ausführren.
- Stellen Sie [STRG FÜR HDMI] auf [Ein].
- Stellen Sie auch das Fernsehgerät entsprechend ein. Einzelheiten dazu schlagen Sieitte in der Bedienungsanleitung zum Fernsehgerät nach.
Die Bedienung von „BRAVIA“ Sync variiert je nach BRAVIA-Modell. Einzelheiten dazu schlagen Sieitte in der Bedienungsanleitung zum Fernsehgerät nach. - Wenn Sie das Fernsehgerät ausschalten, wird der Camcorder ebenfalls ausgeschaltet.
Informationen über „Photo TV HD"
Dieser Camcorder ist mit dem Standard „Photo TV HD“ kompatibel. „Photo TV HD“ erfolglicht eine detailgenaue,otohnliche Darstellung feiner Strukturund Farben.
Durch den Anschluss von Photo TV HD-kompatiblen Geräten von Sony über ein HDMI-Kabel*, eröffnet sich Ohnen eine neue Welt mit Fotos in atemberaubender HD-Qualität.
- Das Fernsehgerät wechselt bei der Anzeige von Fotos automatisch in den richtigen Modus.
Verwendendes eingebauten Projektors (HDR-PJ260E/ PJ260VE/PJ580E/PJ580VE/ PJ600E/PJ600VE)
Sie können eine ebene Fläche, z. B. eine Wand, als Bildschirm für die Betrachtung aufgenommener Bilder mit dem eingebauten Projektor verwenden.

Hinweise
- Während ein Bild projiziert wird, schaltet sich der LCD-Bildschirm aus. Verwenden Sie den Motorzoom-Hebel bzw. die Taste PHOTO oder die drahtlose Fernbedienung für die Bedienung des Camcorders.
1 Richten Sie die Projektorlinse auf die Fläche, z. B. eine Wand, und drücken Sie anschließend auf PROJECTOR.

2 Wenn der Anleitungsbildschirm entscheid, wahlen Sie [Projizieren] aus.

- Dieser Bildschirm erscheint, wenn Sie den eingebauten Projektor das ersten Mal verwenden.
3 Stellen Sie das projizierte Bild mit dem PROJECTOR FOCUS-Hebel scharf.
PROJECTOR FOCUS-Hebel

Das projizierte Bild wird großer, wenn der Abstand zwischen Camcorder und reflektierender Oberflache großer wird.
- Es wird empfohlen, den Camcorder mindestens 0.5m von der Flache entfernt aufzustellen, auf die die Bilder projiziert werden sollen.
4 Wahlen Sie das gewünschte Bild durch die entsprechende Verschiebung des Motorzoom-Hebels aus und drücken Sie dann auf PHOTO, um die Wiedergabe zu starten.

Taste PHOTO
- Verwenden Sie den Motorzoom-Hebel, um den auf dem LCD-Bildschirm erscheinenden Auswahrscheinen zu verschiben und drücken Sie für die Wiedergabe des eingerahmen Elementes die Taste PHOTO.
- Einzelheiten zur Wiedergabe finden Sie auf Seite 31.
- Bei Verwendung der drahtlosen Fernbedienung benutzen Sie / / , um den Auswahrscheinen zu verschiben und drücken Sie auf ENTER, um die Wiedergabe des eingerahmen Elementes zu starten.
- Um den Projektor auszuschalten, drücken Sie auf PROJECTOR.
Hinweise
- Beachten Sie bei der Verwendung des Projektors unbedingt die folgenden Punkte.
-Richten Sie die projizierten Bilder nicht auf die Augen. - Berühren Sie keinesfalls die Projektorlinse.
- Der LCD-Bildschirm und die Projektlinse erhitzen sich während des Betriebs.
Durch die Verwendung des Projektors verfügbar sich die Lebensdauer des Akkus. - Wahlend der Verwendung des Projektors stehende folgenden Funktionen nicht zur Verfügung.
-Kartenfunktion (HDR-PJ260VE/PJ580VE/ PJ600VE)
-Ausgabe der Highlights-Wiedergabe an ein Gerät wie beispielsweise einen Fernseher
-Bedienung des Camcorders mit zugeklapptem LCD-Bildschirm
-Einige anderen Funktionen
Bearbeiten
Bearbeitern am Camcorder
Hinweise
- Einige grundlegende Funktionen können direkt am Camcorder durchgeführt werden. Wenn Sie erweiterte Bearbeitungsfunktionen durchführten möchten, installieren Sie „Erweiterte Funktion“ für die integrierte Software „PlayMemories Home".
- Einmal gelösche Bilder können nicht wiederhergestellt werden. Erstellen Sie vorab eine Sicherungskopie wichtiger这部电影 und Fotos.
- Nehmen Sie beim Löschen oder Teilen von Bildern nicht den Akku ab bzw. trennen Sie nicht das Netzteil vom Camcorder. Andernfalls kann das Aufnahmemedium beschädigt werden.
- Solange Bilder auf der Speicherkarte gelöscht oder geteilt werden, damit die Karte nicht ausgeworfen werden.
- Wenn Sie Filme oder Fotoslöschen oder teilen, die in gespeicherten Szenarios (S. 45) enthalten sind, werden die Szenarios ebenfalls gelöscht.
Löschen von Filmen und Fotos
1 Wahlen Sie MENu Bearbeiten/ Kopieren] [Loschen] aus.
2 Wahlen Sie [Mehrere Bilder] und anschließend den Typ des zu loschenden Bildes aus.

3 Fügen Sie Häkchen zu den zu Löschenden Fotos hinzu und wahlen Sie OK aus.

Löschen aller Filme bzw. Fotos eines ausgewählten Datum auf einmal
1 Wahlen Sie im Schritt 2 [Alle im Ereignis] aus.
2 Wahlen Sie das Datum der Bilder, die Sie losechen möchten, mit aus und betätigten Sie danach OK.

Löschen eines Filmteils
Sie konnen einen Film teilen und Teile loschen.
百
- Aufheben des Schutzes: [Schützen] (S. 73)
- [Formatieren] (S. 73)
Teilen eines Films
1 Wahlen Sie [Teilen] auf dem Filmwiedergabebildschirm aus.

2 Wahlen Sie mit die Stelle aus, an der Sie den Film in Szenen teilen möchten, und betätigten Sie anschließend OK.

A: Wechseln zum Anfang des ausgewählten Films.
B: Damit kann die Trennstelle genauer eingestellt werden.
Hinweise
- Zwischen der Stelle, die Sie auswahlen, und dem tatsächlichen Teilungspunkt kann eine geringfugige Differenz aufreten, da der Camcorder die Teilung etwa in Halbsekundenschritten vornimmt.
- Einige grundlegende Funktionen können direkt am Camcorder durchgeführt werden. Wenn Sie erweiterte Bearbeitungsfunktionen durchführten möchten, verwenden Sie die integrierte Software „PlayMemories Home".
Aufzeichnen von Fotos aus einem Film (HDR-CX260E/CX260VE/CX270E/CX580E/ CX580VE/PJ260E/PJ260VE/PJ580E/PJ580VE/ PJ600E/PJ600VE/XR260E/XR260VE)
Sie können Bilder aus Filmen aufzeichnen, die im internen Aufnahmemedium aufgenommen sind.
1 Wahlen Sie [Fotoaufzeichnung] aus. Dieses Symbol erscheint auf dem Wiedergabebildschirm eines Filmes.

2 Wahlen Sie mit die Stelle aus, an der Sie ein Bild aufzeichnen möchten, und betätigten Sie anschließend OK.

A: Wechseln zum Anfang des ausgewählten Films.
B: Damit kann die Aufzeinungsstelle genauer eingestellt werden.
Wenn der Film mit einer der folgenden Bildqualitätstufen aufgenommen wurde, wird die Bildgroße wie unter angegeben eingestellt.
High Definition-Bildqualitat (HD): 2,1 M (16:9)
- Breitbildformat (16:9) mit Standard Definition-Bildqualität (STD): 0,2 M (16:9)
4:3-Bildformat bei Standard Definition-Bildqualität (STD): 0,3 M (4:3)
Informationen über Aufnahmedatum und -uhrzeit der aufgezeichneten Fotos
- Aufnahmedatum und -ahrzeit der gespeicherten Fotos entsprechen Aufnahmedatum und -ahrzeit der这部电影.
- Wenn die这部电影, aus denen Sie Fotos aufzeichnen, keinen Datencode aufweisen, werden Datum und Uhrzeit der Aufzeichnung der Fotos aus den Filmen als Aufnahmedatum und -uhrzeit gespeichert.
Speichern von Filmen und Fotos mit einem Computer
Nützliche verfügbare Funktionen bei Anschluss des Camcorders an einen Computer
Unter Windows
Die integrierte Software „PlayMemories Home" (Lite-Version) erhögt den Import von Bildern aus dem Camcorder auf einen Computer und deren bequeme Wiedergabe auf dem Computer.

- Verwenden Sie das USB-Verbindungskabel, wenn das eingebaute USB-Kabel des Camcorders für den Anschluss an den Computer zu kurz ist.
Verwendend des Upgrades „Erweiterte Funktion" für die Software „PlayMemories Home"
Auf einem mit dem Internet verbundenen Computer konnen Sie das Upgrade „Erweiterte Funktion" herunterlagen, mit dem verschiedene erweiterte Funktionen möglich sind.

Unter Mac
Die integrierte Software „PlayMemories Home" wird von Mac-Computern nicht unterstützt. Nutzen Sie für den Import von Bildern vom Camcorder auf einen Mac und deren Wiedergabe die geeignete Software auf dem Mac. Einzelheiten finden Sie unter der folgenden URL: http://www.sony.co.jp/imsoft/Mac/
Vorbereitung des Computers (Windows)
Schritt 1 Überprüfung des Computersystems
| Betriebssystem*1 |
| Microsoft Windows XP SP3*/Windows Vista SP2*/Windows 7 SP1 |
| Zentraleinheit*4 |
| Intel Core Duo 1,66 GHz oder schneller bzw. Intel Core 2 Duo 1,66 GHz oder schneller (Intel Core 2 Duo 2,26 GHz oder schneller ist bei der Verarbeitung von FX- oder FH-Filmen erforderlich, und Intel Core 2 Duo 2,40 GHz oder schneller bei der Verarbeitung von PS-Filmen.)Für folgende Aktionen ist jeder Intel Pentium III mit 1 GHz oder schneller ausreichend:- Importieren der这部电影 und Fotos auf den Computer-Erstellung von Blu-ray-Discs/AVCHD-Aufnahmediscs/DVD-Videos (Intel Core Duo mit mindestens 1,66 GHz ist für die Erstellung eines DVD-Videos erforderlich, das durch die Konvertierung der High Definition-Bild Qualität (HD) in Standard Definition-Bild Qualität (STD) entstehen.)- Ausschließlich Verarbeitung von Filmen in Standard Definition-Bild Qualität (STD) |
| Speicher |
| Windows XP: Minestens 512 MB(minestens 1 GB empfohlen)Windows Vista/Windows 7: Minestens 1 GB |
| Festplatte |
| Für die Installation erforderlichesDatenträgevolumen: Ca. 500 MB (bei der Erstellung von Aufnahmediscs im AVCHD-Format sind möglicherweise 10 GB oder mehr erforderlich. Bei der Erstellung von Blu-ray-Discs können bis zu 50 GB erforderlichsein.) |
| Anzeige |
| Mindestens 1.024 × 768 Punkte |
Sonstiges
USB-Port (muss als Standard bereitgestellt werden, Hi-Speed USB (USB 2.0-kompatibel)), Blu-ray-Disc/DVD-Brenner. Als Festplattendateisystem wird NTFS oder exFAT empfohlen.
^※ Standardinstallation erforderlich. Bei aufgerüsteten Betriebssystemen oder in Multi-Boot-Umgebungen kann der ordnungsgemäß Betrieb nicht garantiert werden.
^264 -Bit Editionen und Starter (Edition) werden nicht unterstützt. Windows Image Mastering API (IMAPI) Ver.2.0 oder hoher ist erforderlich, um Funktionen wie beispelsweise die Disc-Erstellung nutzen zu konnen.
^3 Starter (Edition) wird nicht Unterstützung.
^*1 Ein Schnellerer Prozessor wird empfohlen.
Hinweise
- Der ordnungsgemäß Betrieb kann nicht in allen Computerumgebungen garantiert werden.
Schritt 2 Installieren der integrierten Software „PlayMemories Home"
1 Schalten Sie den Computer ein.
- Melden Sie sich für die Installation mit Administratorrechten an.
- Schließen Sie vor der Installation der Software alle Anwendungen, die gerade auf dem Computer ausgeführrt werden.
2 Schlieben Sie den Camcorder über das eingebaute USB-Kabel an den Computer an und wahlen Sie dann [USB-Anschluss] auf dem LCD-Bildschirm des Camcorders aus.

- Unter Windows 7: Das Fenster „Device Stage" wird eingebrendet.
- Unter Windows XP/Windows Vista: Der Assistant für die automatische Wiedergabe wird angezeigt.
3 Unter Windows 7: Wahlen Sie [PlayMemories Home] im Fenster Device Stage aus. Unter Windows XP/Windows Vista: Wahlen Sie [Computer] (unter Windows XP, [Arbeitsplatz]) [PMHOME] [PMHOME.EXE] aus.
4 Befolgen Sie die Anweisungen auf dem Computerbildschirm, um die Installation fortzusetzen.
Nach Abschluss der Installation wird „PlayMemories Home" gestartet.
- Ist die Software „PlayMemories Home" bereits auf Ihr Computer installiert, registrierten Sie ihren Camcorder mit der Software „PlayMemories Home". Danach sind die mit dem Camcorder nutzbaren Funktionen verfügbar.
-
Ist die Software „PMB (Picture Motion Browser)" auf dem Computer installiert, wird sie durch die Software „PlayMemories Home" überschreiben. In thisem Fall konnen Sie eine Funktionen, die mit der Software „PMB" verfügbar waren, mit dieser Software „PlayMemories Home" nicht nutzen.
-
Auf dem Computerbildschirm erscheinen Anleitungen für die Installation des Upgrades „Erweiterte Funktion". Befolgen Sie die Anweisungen und installieren Sie die Erweiterungsdateien.
- Für die Installation des Upgrades „Erweiterte Funktion“ muss der Computer mit dem Internet verbunden sein. Wenn Sie die Datei nicht beim ersten Start der Software „PlayMemories Home" installiert haben, werden die Anleitungen erneut eingebrendet, sobald Sie eine Funktion der Software auswahlen, die nur verwendet werden kann, wenn das Upgrade „Erweiterte Funktion" installiert ist.
Ausfuhrliche Informationen über PlayMemories Home" konnen Sie uber die Auswahl von (PlayMemories Home"-Hilfetext) in der Software abrufen bzw. finden Sie auf der Support-Sections für PlayMemories Home (http://www.sony.co.jp/pmh-se/).
Hinweise
- Achten Sie bei der Installation der Software „PlayMemories Home" darauf, dass [USB-LUN-Einstlg.] auf [Multi] festgelegt ist.
- Wenn „Device Stage" bei Verwendung von Windows 7 nicht gestartet wird, klichen Sie auf [Start] und führen Sie anschließend einen Doppelklick auf das Symbol für diesen Camcorder aus das Symbol des Mediums, auf dem die gewünschten Bilder gespeichert sind [PMHOME.EXE].
Die ordnungsgemäß Funktion kann nicht garantiert werden, wenn Sie mit einer anderen Software als der integrierten Software „PlayMemories Home" Videodaten aus dem Camcorderlesen bzw. diese dorthin schreiben. Erfragen Sie die Kompatibilität der von Ihnen verwendeten Software beim jeweiligen Softwarehersteller.
Trennen der Verbindung zwischen Camcorder und Computer
1 Klichen Sie unter rechts auf dem Desktop des Computers auf das Symbol [USB-Massenspeichergerät entfernen].

2 Wahlen Sie [Ja] auf dem Bildschirm des Camcorders aus.
3 Losen Sie das USB-Kabel.
- Unter Windows 7 kann es vorkommen, dass das Symbol nicht auf dem Desktop des Computers angezeigt wird. In diesen Fall konnen Sie die Verbindung zwischen dem Camcorder und dem Computer trennen, ohne die oben beschrieben Schritte auszuführen.
Hinweise
- Versuchen Sie nicht, das interne Aufnahmemedium des Camcorders mithilfe eines Computers zu formatieren. Andernfalls Funktioniert der Camcorder möglichereise nicht mehr ordnungsgemäß.
- Legen Sie keine AVCHD-Aufnahmediscs, die mit der integrierten Software „PlayMemories Home" erstellt wurden, in DVD-Player oder -Recorder ein, da der AVCHD-Standard von diesen Geräten nicht unterstützt wird. Andernfalls kann es vorkommen, dass Sie die Disc nicht mehr aus diesen Geräten entnahme. können.
-
Dieser Camcorder zeitnet HD-Material (High Definition) im AVCHD-Format auf. Mithilfe der beiliegenden PC-Software kann High Definition-Material auf DVD-Medien kopiert werden. DVD-Medien mit AVCHD-Material)dürfen jedoch nicht in DVD-Playern oder -Recordern verwendet werden, da ein DVDPlayer/-Recorder das Speichermedium unter Umständen nicht mehr auswirft oder seinen Inhalt ohne Warnung löscht.
-
Wenn Sie vom Computer aus auf den Camcorder zugreifen, verwenden Sie die integrierte Software „PlayMemories Home". Die Dateien oder Ordner auf dem Camcorder)dürfen nicht über den Computer geändert werden. Andernfalls konnen die Dateien beschädigt werden oder sie halten sich nicht mehr wiedergeben.
- Der ordnungsgemäß Betrieb kann nicht garantiert werden, wenn Sie die Daten auf dem Camcorder über den Computer steuern.
- Der Camcorder teilt eine Bilddatei, die 2 GB überschreiben, automatisch und speichert die Teile als separate Dateien. Auch wenn alle Bilddateien auf einem Computer als separate Dateien angezeigt werden, werden sie von der Import- und der Wiedergabefunktion des Camcorders oder der Software „PlayMemories Home" richtig verarbeitet.
- Verwenden Sie beim Importieren länger Filme oder bearerbeiteter Bilder vom Camcorder auf einen Computer die integrierte Software „PlayMemories Home". Wenn Sie eine andere Software verwenden, werden die Bilder möglicherweise nicht richtig importiert.
- Gehen Sie zum Löschen von Bilddateien wie in den Schritten auf Seite 52 beschrieben vor.
Erstellen einer Blu-ray-Disc
Sie können eine Blu-ray-Disc mit einem Film in High Definition-Bildqualität (HD) besteht, der zuvor auf einem Computer importiert wurde.
Wenn Sie eine Blu-ray-Disc erstellen möchten, muss die „BD-Zusatz-Software" installiert sein.
Rufen Sie zur Installation der Software die folgende URL auf: http://support.d-imaging.sony.co.jp/ BDUW/
- Der Computer muss die Erstellung von Blu-ray-Discs unterstützen.
- Für die Erstellung von Blu-ray-Discs können BD-R-Medien (nicht wiederbeschreiben) und BD-RE-Medien (wiederbeschreiben) verwendet werden. Bei beiden Disc-Typekonnaen nach der Disc-Erstellung keine weiteren Inhalte hinzugefügt werden.
Um eine Blu-ray-Disc abzuspielen, die mit einem Film erstellt wurde, der mit der Bildqualität [50p-Qualität ] aufgezeichnet wurde, benötigen Sie ein Gerät, das mit dem Format AVCHD Ver. 2,0 kompatibel ist.
Starten der Software "PlayMemories Home"
1 Doppelklicken Sie auf das Symbol „PlayMemories Home" auf dem Computerbildschirm.

Die Software „PlayMemories Home“ wird gestartet.
2 Doppelklichen Sie auf dem Computerbildschirm auf das Direktaufrufsymbol „PlayMemories Home“-Hilfetext", wenn Sie Informationen zur Verwendung von „PlayMemories Home" wünschen.

- Wenn das Symbol nicht auf dem Computerbildschirm angezeigt wird, klichen Sie auf [Start] → [Alle Programme] → [PlayMemories Home] → die gewünschte Option.
Herunterladen der zum Camcorder zugehörgen Software
Installieren von Software für einen Mac
Einzelheiten zur Software für Mac
Computer finden Sie unter der folgenden
URL:
- Wenn Ihr Camcorder am Computer angeschlossen ist, können Sie die oben genannte URL durch Anklicken von [FOR_MAC URLs] in [PMHOME] aufrufen. Legen Sie für den Anschluss des Camcorders an den Computer [USB-LUN-Einstlg.] auf [Multi] fest.
Hinweise
Die Software, die mit dem Camcorder verwendet werden kann, hangt von den entsprechenden Ländern bzw. Regionen ab.
Speichern von Bildern mit einem externen Gerät
Anleitung zur Erstellung von Discs
Sie können这部电影 in High Definition-Bildqualität (HD) mit einem externen Gerät speichern. Wahlen Sie je nach Gerät die geeignete Methode aus.
Externe Geräte Anschlusskabel Seite
| DVDDirect Express DVD-Brenner Speichern von Bildern auf einer DVD in High Definition-Bild Qualität (HD). | Eingebautes USB-Kabel des DVDirect Express | 63 |
| DVD-Brenner, andere Modelle als DVDirect ExpressSpeichern von Bildern auf einer DVD in High Definition-Bild Qualität (HD) oder in Standard Definition-Bild Qualität (STD). | Eingebautes USB-Kabel | 64 |
| Festplattenrecorder usw. Speichern von Bildern auf einer DVD in Standard Definition-Bild Qualität (STD). | A/V-Verbindungskabel (mitgeliefert) | 65 |
| Externe Medieneinheit Speichern von Bildern auf einer externen Medieneinheit mit High Definition-Bild Qualität (HD). | USB-Adappterkabel VMC-UAM1 (gesondert erhältlich) | 66 |
Filme, die in Standard Definition-Bildqualität (STD) aufgenommen wurden
Schlieben Sie den Camcorder über das A/V-Verbindungskabel an ein externes Gerät an, auf dem Bilder gespeichert werden.
Hinweise
- Beim Kopieren oder Erstellen von Discs muss der Demofilm gelöscht werden. Andernfalls Funktioniert der Camcorder möglicherweise nicht ordnungsgemäß. Ein gelöschter Demofilm kann jedoch nicht wiederhergestellt werden (HDR-CX260E/CX260VE/CX270E/CX580E/CX580VE/PJ260E/PJ260VE/PI580E/PI580VE/PI600E/PI600VE/XR260E/XR260VE).
- Je nach ausgewählter Einstellung von [AUFN-Modus] bei der Aufnahme eines Filmes, kann es u. U. eine Dis-/typen oder Medieneinheiten geben, auf die der Film nicht gespeichert werden kann.
#
- Überspielen auf einen Computer: integrierte Software „PlayMemories Home" (S. 60)
Geräte, auf denen die erstellte Disc abgespielt werden kann
DVD mit High Definition-Bildqualität (HD)
Abspielgeräte für das AVCHD-Format, beispisse ein Sony Blu-ray-Disc-Player oder eine PlayStation® 3.
DVD mit Standard Definition-Bildqualität (STD)
Handelsübliche DVD-Abspielgeräte wie beispielsweise ein DVD-Player.
Hinweise
Die AVCHD-Aufnahmedisc kann nur mit Geräten abgespielt werden, die mit dem AVCHD-Format kompatibel sind.
- Discs mit Bildern, die in High Definition-Bildqualität (HD) aufgenommen wurden, sollenn nicht in Verbindung mit DVD-Playern bzw. -Recordern verwendet werden. Da DVD-Player/-Recorder nicht mit dem AVCHD-Format kompatibel sind, werden solche Discs von einem DVD-Player/-Recorder möglicherweise nicht mehr ausgeworfen.
- Achten Sie darauf, dass ihre PlayStation®3 immer die aktuellste Version der Systemsoftware für PlayStation®3 aufweist. Die PlayStation®3 ist möglicherweise nicht in allen Ländern/Regionen erhältlich.
Erstellen einer Disc mit einem DVD-Brenner bzw. - Recorder
Hinweise
- Schlieben Sie den Camcorder für diese Funktion über das mitgelieferte Netzteil an eine Netzsteckdose an (S. 19).
Schlagen Sieitteauch in der Bedienungsanleitungzumangeschlossenen Gerat nach.
DVD-Brenner von Sony sind möglicherweise nicht in allen Ländern/Regionen erhältlich.
Erstellen einer Disc mit DVDirect Express
Verbinden Sie den Camcorder mit dem USB-Kabel, das mit dem DVD Direct Express mitgeliefert wurde, mit dem „DVDDirect Express“ DVD-Brenner (gesondert erhältlich).
1 Verbinden Sie den DVDirect Express über das USB-Kabel des DVDirect Express mit der Buchse (USB) des Camcorders.

2 Legen Sie eine unbenutzte Disc in den DVDirect Express ein und schließen Sie das Disc-Fach.
3 Drucken Sie DISC BURN) am DVDirect Express.
Nun konnen这部电影, die noch nicht auf eine Disc gespeichert wurden, auf die Disc gespeichert werden.
Wahlen Sie nach Abschluss des Vorgangs aus.
Durchführung der [DISC-BRENN-OPT.]
Sie können auch eine Disc mit Standard Definition-Bildqualität (STD) besteht.
1 Wahlen Sie [DISC-BRENN-OPT.] im Schritt 3 offen.
2 Wahlen Sie das Aufnahmemedium aus, das die Filme enthalt, die gespeichert werden sollen (HDR-CX260E/CX260VE/ CX270E/CX580E/CX580VE/PJ260E/ PJ260VE/PJ580E/PJ580VE/PJ600E/ PJ600VE/XR260E/XR260VE).
3 Wahlen Sie die Bildqualität der Disc aus, die erstellt werden soll.
4 Fugen Sie Håkchen ✓ zu den Bildern hinzu, die kopiert werden sollen, und betätigen Sie dann OK.
![SONY HDRCX270E - Durchführung der [DISC-BRENN-OPT.] - 1](/content/2026/02/400352/images/0c7e70d90e53d86d2e4591774a3cd7323c37c516a33af4e584109ded6f706e77.jpg)
- Betätigen Sie nach Abschluss des Vorgangs × .
Wiedergeben einer Disc im DVDirect Express
1 Um这部电影 von einer im DVDirect Express befindlichen Disc auf dem Fernsehbildschirm wiederzugeben, schreiben Sie den DVDirect Express an die Buchse (USB) des Camcorders an und verbinden Sie den Camcorder mit dem Fernsehgerat (S. 47).
2 Legen Sie eine bespielte Disc in den DVDirect Express ein.
3 Drucken Sie die Wiedergabetaste am DVDirect Express.
- Betätigen Sie nach Abschluss des Vorgangs
Hinweise
- Filme in High Definition-(HD) bzw. Standard Definition-(STD) Bildqualität werden auf separaten Discs gespeichert.
- Wenn die Gesamtspeichergrobe der mit DISC BURN auf Disc zu brennenden Filme die Speicherkapazitat der Disc überschreitet, wird das Erstellen der Disc beendet, sobald die Disc voll ist. Der letzte Film wird daher möglicherweise nicht vollständig auf der Disc aufgezeichnet.
-
Beim Erstellen einer Disc)dürfen Sie Folgendes nicht tun.
-
den Camcorder ausschalten
-das USB-Kabel oder das Netzteil losen
den Camcorder oder den DVDirect Express Stößen oder Erschütterungen aussetzen -
die Speicherkarte aus dem Camcorder auswerfen
-
Wenn Sie beim Erstellen einer Disc so viele Filme kopieren, bis die Disc voll ist, dauert das Erstellen der Disc zwischen 20 und 60 Minuten. Je nach Aufnahmemodus oder Anzahl der Szenen kann der Vorgang auch länger nauern.
Erstellen einer Disc in High Definition-Bildqualität (HD) mit einem DVD-Brenner
Verwenden Sie das eingebaute USB-Kabel, um den Camcorder an einen DVD-Brenner von Sony außer dem DVD Express (gesondert erhältlich) usw. anzuschreiben, der mit Filmen in High Definition-Bildqualität (HD) kompatibel ist.
1 Verbinden Sie einen DVD-Brenner mit dem Camcorder über das eingebaute USB-Kabel.

2 Wahlen Sie [USB-Anschluss] auf dem Bildschirm des Camcorders aus.
- Wenn der Bildschirm [USB-Ausbahl] nicht erscheint, wahren Sie [MENJ]→ [Installation]→ [Verbindung]→ [USB-Anschluss] aus.
3 Starten Sie die Filmaufnahme am angeschlossenen Gerät.
- Betätigen Sie nach Abschluss des Vorgangs
Erstellen einer Disc in Standard Definition-Bildqualität (STD) mit einem Recorder oder ähnlichen Gerät
Verbinden Sie den Camcorder mit einem Recorder, einem DVD-Brenner von Sony oder einem ähnlichen Gerät außer DVDDirect Express mit dem A/V-Verbindungskabel. Sie konnen Bilder, die auf dem Camcorder wiedergegeben werden, auf eine Disc oder Videokassette kopieren.
1 Legen Sie das Aufnahmemedium in das Aufnahmegerät (Recorder usw.) ein.
- Wenn das Aufnahmegerät über einen Eingangswahlschalter verfügt, stellen Sie diesen auf den entsprechenden Eingang ein.
2 Verbinden Sie den Camcorder mit dem A/V-Verbindungskabel mit dem Aufnahmegerät.

Signalfluss
- HDR-CX250E/CX260E/CX260VE/CX270E/ CX570E/CX580E/CX580VE/PJ260E/PJ260VE/ PJ580E/PJ580VE
** HDR-PJ600E/PJ600VE/XR260E/XR260VE
- Schließen Sie den Camcorder an die Eingangsbuchsen des Aufnahmegerats an.
3 Starten Sie am Camcorder die Wiedergabe und am Aufnahmegerät die Aufnahme.
4 Wenn das Überspielen abgeschlossen ist, stoppen Sie das Aufnahmegerät und dann den Camcorder.
Hinweise
- Auf einen mit einem HDMI-Kabel angeschlossenen Recorder konnen Sie keine Bilder kopieren.
Da die Daten beim Kopieren analog übertragen werden, kann sich die Bildqualität verschlechtern. - Filme in High Definition-Bildqualität (HD) werden in Standard Definition-Bildqualität (STD) kopiert.
- Wenn der Anschluss an ein Monogerät erfolgt, verbinden Sie den gelben Stecker des A/V-Verbindungskabels mit der Videeingangsbuchse und den weiten (linker Kanal) oder roten Stecker (rechte Kanal) mit der Audioeingangsbuchse am Gerät.
#
- Kopieren von Datum und Uhrzeit: [Datencode] (S. 73)
- Verwenden eines Anzeigegerats mit 4:3-Bildformat: [TV-Typ] (S.73)
Speichern von Bildern mit einer externen Medieneinheit
Sie können这部电影 und Fotos auf externen Medieneinheiten (USB-Speichergeräten) speichern, z. B. auf einem externen Festplattenlaufwerk. Die folgenden Funktionen sind verfügbar, nachdem Sie Ihr Bilder auf einer externen Medieneinheit gespeichert haben.
- Sie können den Camcorder mit der externen Medieneinheit verbinden und anschließend auf der externen Medieneinheit gespeicherte Bilder wiedergeben (S. 67).
- Sie können ihren Computer mit der externen Medieneinheit verbinden und Bilder mit der integrierten Software „PlayMemories Home" auf den Computer importieren (S. 60).
Hinweise
- Bei diesen Vorgang benötigen Sie das USB-Adapterkabel VMC-UAM1 (gesondert erhältlich).
- Schlieben Sie das Netzteil und das Netzkabel an die Buchse DC IN des Camcorders und an eine Netzsteckdose an.
- Schlagen Sieitte auch in der Bedienungsanleitung zu der externen Medieneinheit nach.
1 Verbinden Sie den Camcorder über ein USB-Adapterkabel (gesondert erhältlich) mit der externen Medieneinheit.

- Solange [Bilddatenbank-Datei wirdVBorbereitet.itte warten.]auf dem LCDBildschirm angezeigt wird,darf das USBKabel nicht abgezogen werden.
- Wenn [Bilddatenb.Dat. Rep.] auf dem Camcorder-Bildschirm angezeigt wird, betätigten Sie OK.
2 Wahlen Sie [Kopieren.] auf dem Bildschirm des Camcorders aus.
![SONY HDRCX270E - Wahlen Sie [Kopieren.] auf dem Bildschirm des Camcorders aus. - 1](/content/2026/02/400352/images/6536f281388d29811969f23473545374e8a9fcd3f568595179944e7f60fb2c14.jpg)
HDR-CX250E/CX570E
Film und Fotos, die auf der (in den Camcorder eingesetzten) Speicherkarte gespeichert sind und die noch nicht auf einer externen Medieneinheit gespeichert wurden, konnen jetzt auf der angeschlossenen Medieneinheit gespeichert werden.
HDR-CX260E/CX260VE/CX270E/ CX580E/CX580VE/PJ260E/PJ260VE/ PJ580E/PJ580VE/PJ600E/PJ600VE/ XR260E/XR260VE
Film und Fotos, die auf einem der unter [Medien-Auswahl] ausgewählten Aufnahmedien des Camcorders gespeichert sind und noch nicht auf einer externen Medieneinheit
gespeichert wurden, konnen jetzt auf der angeschlossenen Medieneinheit gespeichert werden.
- Dieser Vorgang ist nur möglich, wenn neu aufgenommene Bilder auf dem Camcorder befinden.
Um die externe Medieneinheit zu trennen, betätigen Sie während sich der Camcorder im
Wiedergabebereitschaftsmodus (Ereignis-Ansicht oder Ereignisindex wird angezeigt).
Wiedergeben von Bildern der externen Medieneinheit auf dem Camcorder
Wahlen Sie [Wiedergeben, ohne zu kopieren.] im Schritt 2 und das anzuzeugende Bild aus.
- Sie können sich die Bilder auch auf einem Fernsehgerät ansehen, das an den Camcorder angeschlossen ist (S. 47).
- Sobald eine externe Medieneinheit angeschlossen wird, wird im Bildschirm der Ereignis-Ansicht das Symbol eingeblendent.

Löschen von Bildern in einer externen Medieneinheit
1 Wahlen Sie [Wiedergeben, ohne zu kopieren.] im Schritt 2 oben.
2 Wahlen Sie [Bearbeiten/ Kopieren] [Löschen] aus und befolgen Sie anschließend die Anweisungen, die auf dem LCD-Bildschirm erschinen, um Bilder zulösen.
Speichern von ausgewählten Bildern im Camcorder auf der externen Medieneinheit
1 Wahlen Sie [Wiedergeben, ohne zu kopieren.] im Schritt 2.
2 Wahlen Sie [Bearbeiten/Kopieren] [Kopieren] aus und befolgen Sie anschließend die Anweisungen, die auf dem LCD-Bildschirm erschinen, um Bilder zu speichern.
- Wenn Sie Bilder kopieren möchten, die bisher noch nicht kopiert wurden, wahren Sie MENU → [Bearbeiten/Kopieren] → [Direktkopie] aus während der Camcorder mit der externen Medieneinheit verbunden ist.
Wiedergeben von Filmen mit High Definition-Bildqualität (HD) auf dem Computer
Wahlen Sie in der Software „PlayMemories Home" (S. 60) das Laufwerk aus, welches die angeschlossene externe Medieneinheit reprasentiert, und spielten Sie die这部电影 ab.
Hinweise
Die folgenden Geräte bzw. Einheiten können nicht als externe Medieneinheiten verwendet werden.
- Medieneinheiten mit einer Kapazität von über 2 TB
- gewöhnliche Disc-Laufwerke wie ein CD-oder DVD-Laufwerk
- Medieneinheiten, die über einen USB-Hub angeschlossen sind
-
Medieneinheiten mit einem integrierten USB-Hub
-Kartenleser -
Externe Medieneinheiten mit einer Codefunktion können möglicherweise nicht verwendet werden.
-
Für den Camcorder steht ein FAT-Dateisystem zur Verfügung. Wenn das Speichermedium der externen Einheit für das NTFS-Dateisystem oder ein ähnliches System formatiert wurde, muss es vor der Verwendung mit dem Camcorder formatiert werden. Wenn die externe Medieneinheit an den Camcorder angeschlossen wird, erscheint der Formatbildschirm. Vergewissern Sie sich vor der Formatierung der externen Medieneinheit mit dem Camcorder, dass sie keine wichtigen Daten enthalt.
- Selfest wenn ein Gerät die genannten Voraussetzungen für die Verwendung erfüllt, kann für den ordnungsgemäßen Betrieb keine Garantie übernommen werden.
- Auf der jeweiligen Support-Website von Sony für Ihr Land bzw. ihre Region finden Sie ähnliche Informationen zu den verfügbaren externen Medieneinheiten.
-
Im Folgenden finden Sie eine Auflistung der jeweiligen Anzahl an Szenen, die auf der externen Medieneinheit gespeichert werden konnen. Selfest wenn die externe Medieneinheit über frei Speicherkapazität verfügbar, kann nicht mehr als die folgende Anzahl an Szenen gespeichert werden.
-
Film mit High Definition-Bildqualität (HD): Max. 3.999
- Filme mit Standard Definition-Bildqualität (STD): Max. 9.999
-
Fotos: Max. 40,000
-
Wenn Ihr Camcorder die externe Medieneinheit nicht erkennt, versuchen Sie folgende Schritte.
-
Schlieben Sie das USB-Adapterkabel erneut an den Camcorder an.
-
Wenn die externe Medieneinheit über ein Netzkabel verfügbar, steken Sie these in die Netzsteckdose.
-
Je nach Art der aufgenommenen Bilder kann die Anzahl der möglichen Szenen auch geringer ausfallen.
- Bilder konnen nicht von der externen Medieneinheit in das interne Aufnahmemedium des Camcorders kopiert werden.
Einstellen des Camcorders
Verwendend der Menüs
Der Camcorder bietet in den 6 Menukategorien zahlreiche Menüoptionen.

Aufnahme-Modus (Optionen für die Auswahl eines Aufnahmemodus) → S. 71

Kamera/Mikrofon (Optionen für individuelle Aufnahmen) → S. 71

Bildqualität/Gröbe (Optionen für die Einrichtung der Bildqualität oder -große) → S.72

Wiederg.-Funktion (Optionen für die Wiedergabe) → S. 72

Bearbeiten/Kopieren (Optionen für die Bearbeitung von Bildern, z. B. Kopieren oder Schützen) → S. 73

Installation (Weitere Optionen) S.73

Wahlen Sie

Wahlen Sie eine Kategorie aus.

Wahlen Sie die gewünschte Menüoption aus.



Hinweise
- Wahlen Sie × aus, um die Einstellung des Menüs abzuschlieben oder zum vorherigen Menübildschirm zurückzukehren.
Die Menüs [Kamera/Mikrofon] und [Installation] verfügbar über Unterkategorien. Wahlen Sie die Unterkategorie aus, so dass der LCD-Bildschirm die Liste der Menüs in der ausgewählten Unterkategorie anziegt.

Unterkategoriesymbole
Wenn eine Menüoption nicht ausgewählt werden kann
Abgeblendete Menüoptionen oder Einstellungen stehen nicht zur Verfügung. Wenn Sie eine abgeblendete Menüoption auswahlen, zeigt der Camcorder den Grund an, warum Sie diese Menüoption nicht auswahlen können oder gibt Hinweise, unter welchen Bedingungen Sie die Menüoption einstellen können.


Aufnahme-Modus
Film Nimmt Filme auf.
Foto .Nimmt Fotos auf.
Zlupen-AUFN. Nimmt Zeitlupenfilme auf.
Golfszene. Teilt zwei Sekunden einer schellen Bewegung in Einzelbilder, die dann als Film und Fotos aufgezeichnet werden. Halten Sie während der Aufnahme das Motiv in dem weiß Rahmen in der Mitte des Bildschirms.

Kamera/Mikrofon
Manuelle Einstlg.
Weißabgleich.... Stellt die Farbbalance auf die Helligkeit der Aufnahmeumgebung ein.
Punkt-Mess./Fokus....Stellt gleichzeitig Helligkeit und Fokus für das ausgewählte Motiv ein.
Punkt-Messung. Stellt die Helligkeit von Bildern auf ein Motiv ein, das Sie auf dem Bildschirm berühren.
Punkt-Fokus. Stellt den Fokus auf ein Motiv ein, das Sie auf dem Bildschirm berühren.
Belichtung Stellt die Helligkeit von Filmen und Fotos ein. Wenn Sie [Manuell] auswahlen, wird die Helligkeit (Belichtung) mit + /einggestellt.
Fokus. Stellt den Fokus manuell ein. Wenn Sie [Manuell] auswahlen, wahren Sie danach aus, um den Fokus auf ein nahes Motiv einzustellen, bzw. um den Fokus auf ein entferntes Motiv einzustellen.
Low Lux .Nimmt bei schwachem Licht Bilder mit hellen Farben auf.
Kamera-Einstlg.
Szenenwahl. Wählt je nach Art der Szene (z.B. Nacht- oder Strandszene) die richtige Aufnahmeeinstellung aus.
Cinematone* ... Stellt die Farbe des Films bei der Aufnahme so ein, dass die Atmosphare eines Spielfilms entstehen.
Blende . Blendet Szenen ein oder aus.
Selbstausloser ... Stellt den Selfstausloser ein, wenn sich der Camcorder im Fotoaufnahme demodus befindet.
Tele-Makro .Fokussiert auf ein Motiv vor einem unscharfen Hintergrund.
SteadyShot ........ Legt bei der Filmaufnahme die Funktion SteadyShot fest. Wird diese Einstellung geändert,ändert sich die Einstellung für den Extended Zoom ebenfalls entsprechend.
SteadyShot .........Legt bei der Fotoaufnahme die Funktion SteadyShot fest.
Digitalzoom .........Legt den maximalen Wert fur den digitalen Zoom fest.
Konverterlinse*2.......Legt den Typ eines angebrachten Konverterobjektivs (gesondert erhaltlich) fest.
Autom. Gegenlicht ... Stellt die Belichtung für Gegenlichtaufnahmen automatisch ein.
Gesicht
Gesichtserkennung ....Erkennt automatisch Gesichter.
Auslós. bei Lächeln .......Macht automatisch eine Aufnahme, sobald ein Lächeln erkannt wird.
Lächelerk.empfindlk. ...Legt die Lächelerkennungsempfindlichkeit für die Auslösung bei Lächeln fest.

Blitz^*1
Blitz. Legt bei Fotoaufnahmen fest, wie der Blitz aktiviert wird.
Blitz-Intensity Legt die Helligkeit des Blitzes fest.
Rote-Augen-Reduz. ....Verhindert den Rote-Augen-Effekt bei Aufnahmen mit Blitz.

Mikrofon
Klarere Stimme....Erkennt Gesichter von Personen und nimmt die dazugehörige Stimme klar auf.
Integr. Zoom-Mikro ....... Nimmt je nach Zoomposition这部电影 mit entsprechenden realitätsnahem Ton auf.
Automat. WindGR ....Erkennt die Aufnahmebedingungen und vermindert Windgeräusche.
Tonmodus® .........Legt das Tonformat der Aufnahme fest (5,1-Kanal-Raumklang/2-Kanal-Stereo).
Mikro-Referenzpegel ...Stellt den Mikrofonpegel für die Aufnahme ein.

Aufnahme-Hilfe
Meine Taste Weist Funktionen benutzerdefinierten Tasten (Meine Taste) zu.
Hilfsrahmen. Zeigt Rahmen zur Orientierung an, um sicherzustellen, dass das Motiv waagerecht oder senkrecht ausgerichtet ist.
Anzeige-Einstellung ....Legt fest, wie lange Symbole oder Anzeigen auf dem LCD-Bildschirm zu führen sind.
Zebra* Zeigt ein Zebramuster als Hilfsmittel zur Einstellung der Helligkeit an.
Kantenanhebung*1 ....Zeigt auf dem Bildschirm ein Bild mit verstärkten Umrissen an.
Licht-Helligkeit*3 ....Stellt die Helligkeit der Videoleuchte ein.
Tonpegelanzeige*2 ....Zeigt die Tonpegelmessung wahrend der Aufnahme auf dem LCDBildschirm an.

Bildqualität/GröBe
AUFN-Modus .........Legt den Filmaufnahmehodemus fest.
Bildfrequenz .........Legt die Bildfrequenz fur die Filmaufnahme fest.
HDF/Entwicklung .......Legt die Bildqualität für die Aufnahme (High Definition-Bildqualität (HD) oder Standard Definition-Bildqualität (STD)) fest.
Breitmodus Legt bei der Aufnahme von Filmen in Standard Definition-Bildqualität (STD) das Bildseitenverhältnis fest.
x.v.Color. Nimmt einen großeren Farbbereich auf. Stellen Sie diese Option ein, wenn Sie Bilder auf einem Fernsehgerat betrachten, das mit x.v.Color kompatibel ist.
BildgroBe .........Legt das Fotoformat fest.

Wiederg.-Funktion
Ereignis-Ansicht Startet die Wiedergabe von Bildern von der Ereignis-Ansicht aus. Karte-Ansicht*4 Startet die Wiedergabe von Bildern von der Kartenansicht aus.
Highlights-Film.... Startet die Wiedergabe von Highlights-Wiedergabeszenen oder Highlight-Szenarios mit Standard Definition-Bildqualität (STD).
Szenario.... Startet die Wiedergabe der Szenarios, die durch die HighlightsWiedergabe gespeichert wurden.
Löschen Löscht Filme oder Fotos.
Schützen. Schützt Filme oder Fotos, um ein versehentliches Löschen zu verhindern.
Kopieren*5 .... Kopiert Bilder.
Direktkopie . Kopiert Bilder, die im Camcorder gespeichert sind, auf eine externe Medieneinheit.

Installation
Medien-Einstlg.
Medien-Auswahl*5 ...Wahltden Typ des Aufnahmemediums aus (S. 23).
Medien-Infos Zeigt Information über das Aufnahmemedium an.
Formatieren ...Löscht und formatiert alle Daten auf dem Aufnahmemedium.
Bilddatenb.Dat. Rep. ....Repariert die Bilddatenbankdatei auf dem Aufnahmemedium (S. 77).
Dateinummer ......... Legt fest, wie die Dateinummer Fotos zugeordnet wird.
Wiedergabe-Einstlg.
Datencode. Zeigt Informationen an, die automatisch zum Zeitpunkt der Aufnahme aufgezeichnet wurden.
Lautstärkeeinstg. ....Stellt die Lautstärke des Wiedergabetons ein (S. 34).
Verbindung
TV-Typ . Konvertiert das Signal je nach angeschlossenem Fernsehgerät (S. 47).
HDMI-Auflösung....Wahl't die Bildauflösung fur die Ausgabe, wenn Sie den Camcorder uber ein HDMI-Kabel an ein Fernsehgerat angeschlossen haben.
STRG FÜR HDMI. Legt fest, ob die Fernbedienung des Fernsehgeräts verwendet werden soll, wenn der Camcorder an ein „BRAVIA“ Sync-kompatibles Fernsehgerät mit dem HDMI-Kabel angeschlossen wird.
USB-Anschluss. Wahlen Sie diese Option, wenn beim Anschluss des Camcorders über USB an eine externe Einheit keine Anleitungen auf dem LCD-Bildschirm erschienen.
USB-Anschl.-Einst. .......Legt den Verbindungsmodus fest, wenn der Camcorder an einen Computer oder ein USB-Gerat angeschlossen wird.
USB-LUN-Einstlg. Richtet den Camcorder für eine verbesserte Kompatibilität einer USB-Verbindung ein, indem einzelne USB-Funktionen eingeschränkt werden.
Disc Brennen.Speichert Bilder, die noch nicht auf eine Disc gespeichert wurden.
Allgemeine Einstlg.
Piepton .........Legt fest, ob der Camcorder Bestätigungssignale ausgibt.
LCD-Helligkeit ....Stellt die Helligkeit des LCD-Bildschirms ein.
Ohre Position*4 .Zeigt die aktuelle Position auf einer Landkarte an.
GPS-Einstellung*4 Empfängt das GPS-Signal.
AUFNAHME-
Anzeige* Schaltet die Aufnahmelampe an der Vorderseite des Camcorders aus.
Fernbedienung*6 .........Legt fest, dass die drahtlose Fernbedienung verwendet werden soll.
LCD-Einschaltung ....... Stellt die Stromversorgung so ein, dass sie automatisch beim Aufklappen des LCD-Bildschirms eingeschaltet wird.
Language Setting .........L egt die Anzeigesprache fest (S. 21).
Kalibrierung .Kalibriert den Beruhrungsbildschirm.
Fallsensor* Aktiviert bzw.deaktiviert den Fallsensor.
Akku-Info. Zeigt die verbleibende Restladung des Akkus durch eine ungebährte Zeitangabe an.
Eco-Modus.... Stellt den LCD-Bildschirm und die Stromversorgung so ein, dass sie automatisch abgeschalte werden.
Demo-Modus .... Stellt die Wiedergabe des Demofilms über die Funktionen des Camcorders ein.
Uhr-Einstellungen
Datum/Zeiteinstlg. ....Stellt das Datum und die Uhrzeit ein.
Gebietseinstellung ... Stellt die Zeitverschreibung ein, ohne die Uhr anhalten zu müssen (S. 21).
Autom. Uhrreinstlg*4 .... Stellt die Uhr automatisch durch Abruf der Zeitdaten vom GPS-System ein.
Autom. Ber.einstlg*.... Korrigiert automatisch Zeitunterschiede durch Abruf der aktuellen Positionsdaten vom GPS-System.
1 HDR-CX570E/CX580E/CX580VE/PJ580E/PJ580VE/PJ600E/PJ600VE
2 HDR-CX570E/CX580E/CX580VE/PJ260E/PJ260VE/PJ580E/PJ580VE/PJ600E/PJ600VE/XR260E/XR260VE
3 HDR-CX570E/CX580E/CX580VE/PJ580E/PJ580VE
4 HDR-CX260VE/CX580VE/PJ260VE/PJ580VE/PJ600VE/XR260VE
5 HDR-CX260E/CX260VE/CX270E/CX580E/CX580VE/PJ260E/PJ260VE/PJ580E/PJ580VE/PJ600E/ PJ600VE/XR260E/XR260VE
6 HDR-PJ260E/PJ260VE/PJ580E/PJ580VE/PJ600E/PJ600VE
*7 HDR-PJ600E/PJ600VE/XR260E/XR260VE
Sonstiges/Index
Fehlersuche
Wenn an Ihrem Camcorder Störungen auftreten, führen Sie folgende Schritte aus.
① Überprüfen Sie die Beste (S. 75 bis 78) und entsprechenden Sie ihren Camcorder.
② Trennen Sie die Stromquelle, schreiben Sie sie nach etwa 1 Minute wieder an und schalten Sie den Camcorder ein.
③ Drücken Sie mit einem spitzen Gegenstand auf RESET (S. 13) und schalten Sie den Camcorder ein. Wenn Sie RESET drücken, werden alle Einstellungen, einschließlich der Uhrzeit, zurückgesetzt.
Wenden Sie sich an ihren Sony- Handler oder den lokalen autorisierten Sony-Kundendienst.
-
Bei einigen Problemen muss der Camcorder unter Umständen initialisiert werden oder das interne Aufnahmemedium (HDR-CX260E/ CX260VE/CX270E/CX580E/CX580VE/ PJ260E/PJ260VE/PJ580E/PJ580VE) (Internet Speicher oder das interne Festplattenlaufwerk HDR-PJ600E/PJ600VE/XR260E/XR260VE) des Camcorders muss ausgetauscht werden. In thisem Fall werden die Daten im internen Speicher gelöscht. Sichern Sie dazu die Daten im internen Speicher auf ein andere Speichermedium (Sicherungskopie), bevor Sie den Camcorder zur Reparatur einschicken. Für den Verlust von Daten im internen Speicher übernehmen wir keine Haftung.
-
Im Rahmen einer Reparatur mussen wir unter Umständen einen kleinen Teil der Daten im internen Speicher überprüfen, um das Problem eingrenzen zu konnen. Ihr Sony-Handler fertigt von diesen Daten jedoch keine Kopie an und behält sie auch nicht.
- Im „Handycam“ Benutzeranleitung (S. 6) finden Sie ausfuhrliche Informationen zu den Symptomen des Camcorders und in der „PlayMemories Home“-Hilfetext (S. 60) Informationen zum Anschlossen des Camcorders an einen Computer.
Der Camcorder lässt sich nicht einschalten.
- Bringen Sie einen geladenen Akku am Camcorder an (S. 17).
- Der Stecker des Netzteils wurde aus der Netzsteckdose gezogen. Stecken Sie den Stecker in die Netzsteckdose (S. 19).
Der Camcorder Funktioniert nicht, obwohl er eingeschaltet ist.
- Nach dem Einsatz dauert es einzel Sekunden, bis der Camcorder aufnahmebereit ist. Dies ist keine Fehlfunktion.
- Losen Sie das Netzteil von der Netzsteckdose odernehmen Sie den Akku ab und schlieben Sie das Netzteil bzw. den Akku nach etwa 1 Minute wieder an. Wenn die Funktionen immer noch nicht ausgeführrt werden können, drücken Sie mit einem spitzen Gegenstand RESET. (Wenn Sie RESET drücken (S. 13), werden alle Einstellungen, einschließlich der Uhrzeit, zurückgesetzt.)
Die Temperatur des Camcorders ist sehr hoch. Schalten Sie den Camcorder aus und halten Sie ein eine Weile an einem kühlen Ort liegen.
Die Temperatur des Camcorders ist sehr niedrig. Bedieren Sie den eingeschalteten Camcorder nicht. Schalten Sie den Camcorder aus und bringen Sieihn an einen warmen Ort. Lassen Sie den Camcorder eine Weile dort und schalten Sieihn dann wieder ein.
Der Camcorder erwartt sich.
- Der Camcorder erwartt sich während des Betriebs. Dies ist keine Fehlfunktion.
Der Camcorder schaltet sich abrupt aus.
- Verwenden Sie das Netzteil (S. 19).
- Wenn Sie den Camcorder etwa 2 Minuten lang nicht bedieren, schaltet er sich standardmäßig automatisch aus. Ändern Sie die Einstellung von [Eco-Modus] (S.74) oder schalten Sie das Gerät wieder ein.
Laden Sie den Akku (S. 17).
Sie drücken START/STOP oder PHOTO, es erfolgt jedoch keine Aufnahme.
- Der Wiedergabebildschirm wird angezeigt. Drücken Sie MODE, so dass die Anzeige (Film) oder (Foto) aufleuchtet (S. 26).
- Der Camcorder zeichnet das soeben aufgenommene Bild auf dem Aufnahmemedium auf. In dieser Zeit ist keine neue Aufnahme möglich.
- Das Aufnahmemedium ist voll. Löschen Sienicht benötigte Bilder (S. 52).
Die Gesamtzahl an Filmszenen oder Fotos übersteigt die Aufnahmekapazität des Camcorders (S. 80, 84). Löschen Sie nicht benötigte Bilder (S. 52).
Der Camcorder stoppt den Betrieb.
Die Temperatur des Camcorders ist sehr hoch. Schalten Sie den Camcorder aus und setzen Sie ein eine Weile an einem kühlen Ort liegen.
Die Temperatur des Camcorders ist sehr niedrig. Schalten Sie den Camcorder aus und bringen Sieihn an einen warmen Ort. Lassen Sie den Camcorder eine Weile dont und schalten Sieihn dann wieder ein.
"PlayMemories Home" kann nicht installiert werden.
- Überprüfen Sie die Computerumgebung bzw. Installationsschritte, die für die Installation von „PlayMemories Home" erforderlich sind.
"PlayMemories Home" Funktioniert nicht ordnungsgemäß. - Beenden Sie „PlayMemories Home" und starten Sie den Computer erneut.
Der Camcorder wird nicht vom Computer erkannt.
- Trennen Sie mit Ausnahme der Tastatur, Maus und des Camcorders alle Geräte, die über die USB-Buchse an den Computer angeschlossen sind.
- Ziehen Sie das eingebaute USB-Kabel von Computer und Camcorder ab, starten Sie den Computer erneut und verbinden Sie dann Computer und Camcorder wieder in der richtigen Reihenfolge.
- Wenn sowohl das eingebaute USB-Kabel als auch die USB-Buchse des Camcorders gleichzeitig an die externen Geräte angeschlossen sind, trennen Sie das Element, das nicht mit einem Computer verbunden ist.
Anzeige der Selfstandiagnose/ Warnanzeigen
Wenn Anzeigen auf dem LCD-Bildschirm erschieren, sehen Sieitte in der folgenden Aufstellung nach.
Wenn sich das Problem auch nach einigen Versuchen nicht beheben lässt, wenden Sie sich an ihren Sony-Handler oder den lokalen autorisierten Sony-Kundendienst. Teilen Sie Ihrem Ansprechpartner)samtliche Nummern des Fehlercodes mit, der mit C oder E beginnt.
Wenn bestimmte Warnanzeigen auf dem Bildschirm angezeigt werden, ist eine Melodie zu horen.

C:04:□□
- Der verwendete Akku ist kein „InfoLITHIUM“-Akku (Serie V). Verwenden Sie einen „InfoLITHIUM“-Akku (Serie V) (S. 17).
- Stecken Sie den Gleichstromstecker des Netzeils fest in die Buchse DC IN am Camcorder (S. 17).
C:06:□□
- Der Akku hat sich erhitzt. Tauschen Sie den Akku aus oder bringen Sieihn an einen kühlen Ort.
C:13: / C:32:
- Trennen Sie den Camcorder von der Stromquelle. Schlieben Sie die Stromquelle wieder an und bedienen Sie den Camcorder.
E:□□:□□
- Führer Sie die Schritte ab ② auf Seite 75 aus.

Die interne Festplatte des Camcorders ist voll.
- Möglicherweise ist an der internen Festplatte des Camcorders ein Fehler aufgetreten.
#
- Der Akku ist fast leer.
#
- Der Akku hat sich erhitzt. Tauschen Sie den Akku aus oder bringen Sieihn an einen kühlen Ort.
#
- Es ist keine Speicherkarte eingesetzt (S. 24).
- Wenn die Anzeige blinkt, reicht der frei Speicherplatz nicht für die Aufnahme von Bildern aus. Löschen Sie nicht benötigte Bilder (S. 52) oder formatieren Sie die Speicherkarte, sobald Sie die Bilder auf anderen Medien gespeichert haben (S. 73).
- Möglicherweise ist die Bilddatenbankdatei beschädigt. Überprüfen Sie die Datenbankdatei durch Auswahr von [MENU] → [Installation] → [Medien-Einstlg.] → [Bilddatenb.Dat. Rep.] → Aufnahmemedium (HDR-CX260E/CX260VE/CX270E/CX580E/ CX580VE/PJ260E/PJ260VE/PJ580E/PJ580VE/ PJ600E/PJ600VE/XR260E/XR260VE).
3
Die Speicherkarte ist beschädigt.
- Formatieren Sie die Speicherkarte mit dem Camcorder (S. 73).
[2]
- Es ist eine nicht kompatible Speicherkarte eingesetzt (S. 24).
#
Die Speicherkarte ist schreibgeschützt.
- Der Zugriff auf die Speicherkarte wurde auf einem anderen Gerä eingeschränkt.
5
- Am Blitz liegt ein Problem vor.
()
Die vorhandene Lichtmenge ist nicht ausreichend, so dass es leicht zu Bildverwacklungen kommt kann. Verwenden Sie den Blitz.
- Sie halten den Camcorder nicht ruhig genom, so dass es leicht zu Bildverwacklungenkommen kann. Halten Sie den Camcorder bei der Aufnahme fest mit beiden Händen. Beachten Sie jedoch, dass die Warnanzeige zu Kameraerschütterungen nicht ausgebrendet wird.
#
Die Fallsensorfunktion (S. 74) ist aktiviert und hat erkannt, dass der Camcorder heruntergefallen ist. Der Camcorder versucht deshalb die interne Festplatte zu schützen. Als Folge ist eventuell keine Aufnahme bzw. Wiedergabe möglich.
Die Fallsensorfunktion garantiert den Schutz der internen Festplatte nicht unter allen möglichen Situationen. Achten Sie bei der Verwendung des Camcorders auf einen festen Stand.
#
Das Aufnahmemedium ist voll.
- Während der Verarbeitung konnen keine Fotos aufgenommen werden. Warten Sie eine Weile und starten Sie dann die Aufnahme.
- Wenn [AFN-Modus] auf [Hochste Quali. FX] oder [50p-Qualität Gesetzt ist, können Sie während der Filmaufnahme keine Fotos machen. Außen dem können keine Fotos aufgenommen werden, wenn [Bildfrequenz] auf [25p] (HDR-CX570E/ CX580E/CX580VE/PJ580E/PJ580VE/PJ600E/ PJ600VE) gesetzt ist und sich der Camcorder im Bereitschaftsmodus für die Filmaufnahme befindet.
Aufnahmedauer von Filmen/Anzahl der aufnehmbaren Fotos
"HD" steht für High Definition-Bildqualität und STD' für Standard-Bildqualität.
Voraussichtliche Aufnahmeund Wiedergabedauer bei deneinzelnen Akkus
Aufnahmedauer
Ungefähre verfügbar Zeit bei voll aufgeladenem Akku.
HDR-CX250E/CX260E/CX260VE/ CX270E
(Einheit: Minute)
| Akku | Fortlaufende Aufnahmedauer | Typische Aufnahmedauer |
| Bildqualität HD STD HD STD | ||
| NP-FV50 (mitgeliefert) | 145 155 70 75 | |
| NP-FV70 300 325 150 160 | ||
| NP-FV100 600 650 300 325 | ||
HDR-CX570E/CX580E/CX580VE/ PJ580E/PJ580VE
(Einheit: Minute)
| Akku | Fortlaufende Aufnahmedauer | Typische Aufnahmedauer |
| Bildqualität HD STD HD STD | ||
| NP-FV50 (mitgeliefert) | 120 130 60 65 | |
| NP-FV70 250 270 125 135 | ||
| NP-FV100 500 535 250 265 | ||
HDR-PJ260E/PJ260VE
(Einheit: Minute)
| Akku | Fortlaufende Aufnahmedauer | Typische Aufnahmedauer |
| Bildqualität HD STD HD STD | ||
| NP-FV50 (mitgeliefert) | 140 150 70 75 | |
| NP-FV70 290 315 145 155 | ||
| NP-FV100 580 625 290 310 | ||
HDR-PJ600E/PJ600VE
(Einheit: Minute)
HDR-XR260E/XR260VE
| Akku | Fortlaufende Aufnahmedauer | Typische Aufnahmedauer |
| Bildqualität HD STD HD STD | ||
| NP-FV50 (mitgeliefert) | 95 100 45 50 | |
| NP-FV70 195 215 95 105 | ||
| NP-FV100 395 430 195 215 | ||
(Einheit: Minute)
| Akku | Fortlaufende Aufnahmedauer | Typische Aufnahmedauer |
| Bildqualität HD STD HD STD | ||
| NP-FV50 (mitgeliefert) | 105 115 50 55 | |
| NP-FV70 220 240 110 120 | ||
| NP-FV100 440 485 220 240 | ||
-
Bei den Angaben der Aufnahmedauer wird davon ausgegangen, dass der Camcordermente in High Definition-Bildqualität (HD) mit der Einstellung [Standard H] für [AFN-Modus] aufnimmt.
Die typische Aufnahmedauer zeigt die Zeit an, die bei wiederholtem Starten/Stoppen der Aufnahme, dem Wechsel der MODE-Anzeige und der Nutzung der Zoomfunktion zur Verfügung liegt.
Die angegebenen Werte fur die Dauer gelten, wenn der Camcorder bei 25^ verwendet wird. 10^ bis 30^ wird empfohlen. -
Wenn der Camcorder bei niedrigen Temperaturen betrieben wird, verkürzens sich Aufnahme- und Wiedergabedauer entsprechend.
- Je nach Einsatzbedingungen beim Betrieb des Camcorders konnen sich Aufnahme- und Wiedergabedauer verkurzen.
Wiedergabedauer
Ungefähre verfügbar Zeit bei voll aufgeladenem Akku.
HDR-CX250E/CX260E/CX260VE/ CX270E
| (Einheit: Minute) | |
| Akku | |
| Bildqualität HD STD | |
| NP-FV50 | 225 240 |
| (mitgeliefert) | |
| NP-FV70 465 490 | |
| NP-FV100 925 980 | |
HDR-CX570E/CX580E/CX580VE/ PJ580E/PJ580VE
| (Einheit: Minute) | |
| Akku | |
| Bildqualität HD STD | |
| NP-FV50 | 150 165 |
| (mitgeliefert) | |
| NP-FV70 315 345 | |
| NP-FV100 625 680 | |
HDR-PJ260E/PJ260VE
| (Einheit: Minute) | |
| Akkeru | |
| Bildqualität HD STD | |
| NP-FV50 | 165 180 |
| (mitgeliefert) | |
| NP-FV70 345 375 | |
| NP-FV100 680 745 |
HDR-PJ600E/PJ600VE
(Einheit: Minute)
HDR-XR260E/XR260VE
| Akku | |
| Bildqualität HD STD | |
| NP-FV50 | 115 125 |
| (mitgeliefert) | |
| NP-FV70 240 260 | |
| NP-FV100 485 515 | |
(Einheit: Minute)
| Akku | |
| Bildqualität HD STD | |
| NP-FV50 | 125 135 |
| (mitgeliefert) | |
| NP-FV70 260 280 | |
| NP-FV100 515 555 | |
Voraussichtliche Aufnahmedauer bei Filmen
Internes Aufnahmemedium (HDR-CX260E/CX260VE/CX270E/CX580E/CX580VE/PJ260E/PJ260VE/PJ580E/PJ580VE/PJ600E/PJ600VE/XR260E/XR260VE)
HDR-CX260E/CX260VE
High Definition-Bildqualität (HD) in Stunden (h) und Minuten (min)
| Aufnahmehodemus | Aufnahmedauer | |
| HDR-CX260E | HDR-CX260VE | |
| [50p-Qualität | 1 h 15 min | 1 h |
| PS] | (1 h 15 min) | (1 h) |
| [Höchste | 1 h 30 min | 1 h 15 min |
| Quali. FX] | (1 h 30 min) | (1 h 15 min) |
| [Hohe Qualität | 2 h 5 min | 1 h 40 min |
| FH] | (2 h 5 min) | (1 h 40 min) |
| [Standard HQ] | 3 h 45 min | 3 h |
| (2 h 50 min) | (2 h 15 min) | |
| Aufnahmemodus | Aufnahmedauer | |
| HDR-CX260E | HDR-CX260VE | |
| [Langzeit LP] | 6 h 30 min | 5 h 15 min |
| (5 h 20 min) | (4 h 20 min) | |
| Standard Definition-Bildqualität (STD) in Stunden (h)und Minuten (min) | ||
| Aufnahmemodus | Aufnahmedauer | |
| HDR-CX260E | HDR-CX260VE | |
| [Standard HQ] | 3 h 55 min | 3 h 10 min |
| (3 h 35 min) | (2 h 55 min) | |
HDR-CX270E
High Definition-Bildqualität (HD) in Stunden (h) und Minuten (min)
| Aufnahmehodem Aufnahmedauer | |
| [50p-Qualität PS] | 2 h 35 min (2 h 35 min) |
| [Höchste Quali. FX] | 3 h 5 min (3 h 5 min) |
| [Hohe Qualität FH] | 4 h 15 min (4 h 15 min) |
| [Standard HQ] | 7 h 30 min (5 h 40 min) |
| [Langzeit LP] | 13 h 15 min (10 h 50 min) |
Standard Definition-Bildqualität (STD) in Stunden (h) und Minuten (min)
| Aufnahmemodus Aufnahmedauer | |
| [Standard HQ] | 7 h 55 min (7 h 15 min) |
HDR-CX580E/CX580VE/PJ580E/
PJ580VE
High Definition-Bildqualität (HD) in Stunden (h) und Minuten (min)
| Aufnahmehemodus | Aufnahmedauer | |
| HDR-CX580E/ PJ580E | HDR-CX580VE/ PJ580VE | |
| [50p-Qualität] | 2 h 35 min | 2 h 20 min |
| [PS] | (2 h 35 min) | (2 h 20 min) |
| [Höchste Quali. FX] | 3 h 5 min | 2 h 45 min |
| (3 h 5 min) | (2 h 45 min) | |
| [Hohe Qualität] | 4 h 10 min | 3 h 45 min |
| (4 h 10 min) | (3 h 45 min) | |
| [Standard HQ] | 7 h 25 min | 6 h 40 min |
| (5 h 35 min) | (5 h 5 min) | |
| [Langzeit LP](5,1-Kanalton)* | 12 h 45 min | 11 h 35 min |
| (10 h 30 min) | (9 h 30 min) | |
| [Langzeit LP](2-Kanalton)* | 13 h 15 min | 11 h 55 min |
| (10 h 50 min) | (9 h 45 min) | |
Standard Definition-Bildqualität (STD) in Stunden (h) und Minuten (min)
| Aufnahmehedus | Aufnahmedauer | |
| HDR-CX580E/ PJ580E | HDR-CX580VE/ PJ580VE | |
| [Standard HQ (5,1-Kanalion)* | 7 h 40 min (7 h 5 min) | 6 h 55 min (6 h 20 min) |
| [Standard HQ] (2-Kanalion)* | 7 h 55 min (7 h 15 min) | 7 h 5 min (6 h 35 min) |
HDR-PJ260E/PJ260VE
High Definition-Bildqualität (HD) in Stunden (h) und Minuten (min)
| Aufnahmehodemus | Aufnahmedauer | |
| HDR-PJ260E | HDR-PJ260VE | |
| [50p-Qualität] | 1 h 15 min | 1 h |
| (1 h 15 min) | (1 h) | |
| [Höchste Quali. FX] | 1 h 30 min | 1 h 10 min |
| (1 h 30 min) | (1 h 10 min) | |
| [Hohe Qualität] | 2 h 5 min | 1 h 40 min |
| (2 h 5 min) | (1 h 40 min) | |
| [Standard] | 3 h 40 min | 2 h 55 min |
| (2 h 45 min) | (2 h 15 min) | |
| [Langzeit LP](5,1-Kanalton)* | 6 h 20 min | 5 h 5 min |
| (5 h 10 min) | (4 h 10 min) | |
| [Langzeit LP](2-Kanalton)* | 6 h 30 min | 5 h 15 min |
| (5 h 20 min) | (4 h 20 min) | |
Standard Definition-Bildqualität (STD) in Stunden (h) und Minuten (min)
| Aufnahmehedus | Aufnahmedauer | |
| HDR-PJ260E | HDR-PJ260VE | |
| [Standard HQ(5,1-Kanalton)* | 3 h 45 min(3 h 30 min) | 3 h 5 min(2 h 50 min) |
| [Standard HQ](2-Kanalton)* | 3 h 55 min(3 h 35 min) | 3 h 10 min(2 h 55 min) |
HDR-PJ600E/PJ600VE
High Definition-Bildqualität (HD) in Stunden (h) und Minuten (min)
| Aufnahmehodemus | Aufnahmedauer | |
| HDR-PJ600E | HDR-PJ600VE | |
| [50p-Qualität] | 18 h 10 min | 17 h 50 min |
| [PS] | (18 h 10 min) | (17 h 50 min) |
| [Höchste Quali. FX] | 21 h 30 min | 21 h 10 min |
| (21 h 30 min) | (21 h 10 min) | |
| [Hohe Qualität] | 29 h 10 min | 28 h 50 min |
| [FH] | (29 h 10 min) | (28 h 50 min) |
| [Standard HQ] | 51 h 20 min | 50 h 40 min |
| (39 h) | (38 h 30 min) | |
| [Langzeit LP] | 88 h 40 min | 87 h 30 min |
| (5,1-Kanalton)* | (72 h 50 min) | (71 h 50 min) |
| [Langzeit LP] | 91 h 50 min | 90 h 30 min |
| (2-Kanalton)* | (75 h) | (74 h) |
Standard Definition-Bildqualität (STD) in Stunden (h) und Minuten (min)
| Aufnahmehedus | Aufnahmedauer | |
| HDR-PJ600E | HDR-PJ600VE | |
| [Standard HQ(5,1-Kanalion)* | 53 h 10 min(49 h) | 52 h 30 min(48 h 20 min) |
| [Standard HQ](2-Kanalion)* | 54 h 40 min(50 h 20 min) | 54 h(49 h 40 min) |
HDR-XR260E/XR260VE
High Definition-Bildqualität (HD) in Stunden (h) und Minuten (min)
| Aufnahmehodem | Aufnahmedauer | |
| HDR-XR260E | HDR-XR260VE | |
| [50p-Qualität | 13 h 10 min | 13 h |
| PS] | (13 h 10 min) | (13 h) |
| [Höchste | 15 h 30 min | 15 h 20 min |
| Quali. FX] | (15 h 30 min) | (15 h 20 min) |
| [Hohe Qualität | 21 h 10 min | 20 h 50 min |
| FH] | (21 h 10 min) | (20 h 50 min) |
| [Standard HQ] | 37 h 20 min | 36 h 40 min |
| (28 h 20 min) | (27 h 50 min) | |
| [Langzeit LP] | 64 h 30 min | 63 h 10 min |
| (5,1-Kanalton)* | (53 h) | (52 h) |
| [Langzeit LP] | 66 h 40 min | 65 h 30 min |
| (2-Kanalton)* | (54 h 30 min) | (53 h 30 min) |
Standard Definition-Bildqualität (STD) in Stunden (h) und Minuten (min)
| Aufnahmehodemus | Aufnahmedauer | |
| HDR-XR260E | HDR-XR260VE | |
| [Standard HQ(5,1-Kanalion)* | 38 h 40 min(35 h 30 min) | 37 h 50 min(34 h 50 min) |
| [Standard HQ](2-Kanalion)* | 39 h 50 min(36 h 30 min) | 39 h(35 h 50 min) |
-
Sie können mit [Tonmodus] (HDR-CX570E/ CX580E/CX580VE/PJ260E/PJ260VE/PJ580E/ PJ580VE/PJ600E/PJ600VE/XR260E/XR260VE) (S. 72) das Tonformat der Aufnahme wechseln.
-
Bei Filmen in High Definition-Bildqualität (HD) können Filme mit maximal 3.999 Szenen aufgenommen werden, und bei Filmen in Standard Definition-Bildqualität (STD) mit maximal 9.999 Szenen.
Die maximale kontinuierliche Aufnahmedauer für这部电影 beträgt etwa 13 Stunden. - Wenn Sie die in der Tabelle angegebene maximale Aufnahmedauer voll ausschöpfen möchten, müssen Sie den Demofilm auf dem Camcorderlöschen (HDR-CX260E/CX260VE/ CX270E/CX580E/CX580VE/PJ260E/PJ260VE/ PJ580E/PJ580VE/PJ600E/PJ600VE/XR260E/ XR260VE).
- Mit dem Format VBR (Variable Bit Rate) passt der Camcorder die Bildqualität automatisch an die Aufnahmeszene an. Durch diese Technologie ergeben sich Schwankungen hinsichtlich der Aufnahmedauer beim Medium.这部电影 mit schnell bewegten und komplexen Bildern werden mit einer hohener Bitrate aufgenommen, wodurch sich die Gesamtaufnahmedauer verringert.
Hinweise
Die in Klammern () angegebene Zahl ist die Mindestaufnahmedauer.
Speicherkarte
HDR-CX250E/CX260E/CX260VE/ CX270E
High Definition-Bildqualität (HD)
(Einheit: Minute)
| 2GB 4GB 8GB 16GB 32 GB | |||||
| PS | 9(9) | 15(15) | 35(35) | 75(75) | 150(150) |
| FX | 10(10) | 20(20) | 40(40) | 90(90) | 180(180) |
| FH | 10(10) | 25(25) | 60(60) | 120(120) | 245(245) |
| HQ | 25(15) | 50(40) | 105(80) | 215(165) | 440(330) |
| LP | 45(35) | 90(75) | 185(155) | 380(310) | 770(630) |
Standard Definition-Bildqualität (STD)
(Einheit: Minute)
| 2 GB 4 GB 8 GB 16 GB 32 GB | |||||
| HQ | 25 | 55 | 110 | 225 | 460 |
| (25) | (50) | (100) | (210) | (420) | |
HDR-CX570E/CX580E/CX580VE/ PJ260E/PJ260VE/PJ580E/PJ580VE/ PJ600E/PJ600VE/XR260E/XR260VE
High Definition-Bildqualität (HD)
(Einheit: Minute)
Standard Definition-Bildqualität (STD)
| 2 GB 4 GB 8 GB 16 GB 32 GB | |||||
| PS | 8(8) | 15(15) | 35(35) | 75(75) | 150(150) |
| FX | 10(10) | 20(20) | 40(40) | 85(85) | 180(180) |
| FH | 10(10) | 25(25) | 60(60) | 120(120) | 245(245) |
| HQ | 25(15) | 50(35) | 105(80) | 210(160) | 430(325) |
| LP 5,1-Kanalton* | 40(35) | 85(70) | 180(150) | 370(300) | 740(610) |
| LP-2-Kanalton* | 45(35) | 90(75) | 185(155) | 380(310) | 770(630) |
(Einheit: Minute)
| 2 GB 4 GB 8 GB 16 GB 32 GB | |||||
| HQ5,1-Kanalion* | 25(20) | 50(50) | 110(100) | 220(205) | 445(410) |
| HQ-2-Kanalion* | 25(25) | 55(50) | 110(100) | 225(210) | 460(420) |
- Sie können mit [Tonmodus] (HDR-CX570E/ CX580E/CX580VE/PJ260E/PJ260VE/PJ580E/ PJ580VE/PJ600E/PJ600VE/XR260E/XR260VE) (S. 72) das Tonformat der Aufnahme wechseln.
- Bei Verwendung einer Sony-Speicherkarte.
Hinweise
Die Aufnahmedauer kann je nach Aufnahme- und Motivbedingungen sowie den Einstellungen für [AUFN-Modus] und [Bildfrequenz] (S. 72) variieren.
Die in Klammern ( ) angegebene Zahl ist die Mindestaufnahmedauer.
Voraussichtliche Anzahl aufnehmbarer Fotos
Internes Aufnahmemedium (HDR-CX260E/CX260VE/CX270E/CX580E/CX580VE/PJ260E/PJ260VE/PJ580E/PJ580VE/PJ600E/PJ600VE/XR260E/XR260VE)
Sie konnen bis zu 40.000 Fotos aufnehmen.
Speicherkarte
| 16:9 8,9M*1 | 16:9 20,4M*2 | |
| 2 GB 470 230 | ||
| 4 GB 940 465 | ||
| 8 GB 1900 940 | ||
| 16 GB 3800 1850 | ||
| 32 GB 7700 3800 | ||
1 HDR-CX250E/CX260E/CX260VE/CX270E/PJ260E/PJ260VE/XR260E/XR260VE
^2 HDR-CX570E/CX580E/CX580VE/PJ580E/PJ580VE/PJ600E/PJ600VE
- Bei Verwendung einer Sony-Speicherkarte.
Die angezeigte Anzahl aufnehmbarer Fotos auf der Speicherkarte bezieht sich auf die maximale Bildgroße des Camcorders. Die tatsächliche Anzahl aufnehmbarer Fotos wird während der Aufnahme auf dem LCD-Bildschirm angezeigt (S. 99).
Die Anzahl der aufnehmbaren Fotos auf der Speicherkarte kann je nach Aufnahmebedingungen variieren.
Hinweise
Die den angegebenen Werten entsprechende Auflösung der Standbildner wird durch die neuartige ClearVid-Pixelmatrix von Sony und das Bildverarbeitungssystem BIONZ von Sony erzielt.
Informationen über Bitrate und Aufnahmepixel
-
Bitrate, Pixel und Bildformat{jedes Aufnahmemodus fur Filme (Film und Audio, etc.)
-
High Definition-Bildqualität (HD):
PS: Max. 28 Mbps 1.920 × 1.080 Pixel/16:9
FX: Max. 24 Mbps 1.920 × 1.080 Pixel/16:9
FH: Ca. 17 Mbps (Durchschnitt)
1.920× 1.080 Pixel/16:9
HQ: Ca. 9 Mbps (Durchschnitt)
1.440× 1.080 Pixel/16:9
LP: Ca. 5 Mbps (Durchschnitt)
1.440× 1.080 Pixel/16:9
- Standard Definition-Bildqualität (STD):
HQ: Ca. 9 Mbps (Durchschnitt)
720× 576 Pixel/16:9,4:3
-
Fotoaufnahmepixel und Bildformat.
-
Fotoaufnahmemodus, Dual-Aufzeinung: HDR-CX250E/CX260E/CX260VE/CX270E/ PJ260E/PJ260VE/XR260E/XR260VE:
3.984× 2.240 Punkte/16:9
3.008× 2.256 Punkte/4:3
2.816× 1.584 Punkte/16:9
2.112× 1.584 Punkte/4:3
1.920× 1.080 Punkte/16:9
640× 480 Punkte/4:3
HDR-CX570E/CX580E/CX580VE/PJ580E/ PJ580VE/PJ600E/PJ600VE:
6.016× 3.384 Punkte/16:9
4.512× 3.384 Punkte/4:3
4.224× 2.376 Punkte/16:9
2.592× 1.944 Punkte/4:3
1.920× 1.080 Punkte/16:9
640× 480 Punkte/4:3
Aufzeichnen von Fotos aus einem Film:
1.920× 1.080 Punkte/16:9
640× 360 Punkte/16:9
640× 480 Punkte/4:3
Umgang mit dem Camcorder
Betrieb und Pflege
- Der Camcorder ist nicht staub-, spritzwasseroder wassergeschützt.
- Halten Sie den Camcorder nicht an den folgenden Teilen und auch nicht an den Buchsenabdeckungen.
Schuhabdeckung (HDR-CX570E/
CX580E/CX580VE/
PJ580E/PJ580VE/
PJ600E/PJ600VE)
Gegenlichtblende (HDR-CX570E/
CX580E/CX580VE/
PJ580E/PJ580VE/
PJ600E/PJ600VE)


LCD-Bildschirm Akku


Eingebautes USB-Kabel

- Richten Sie den Camcorder nicht auf die Sonne. Andernfalls kann es zu Fehlfunktionen am Camcorder kommt. Nehmen Sie die Sonne nur bei mäßiger Helligkeit, wie z. B. in der Dämmerung, auf.
-
Beachten Sie bei der Nutzung des Camcorders geltende regionale Vorschriften.
Lagern und verwenden Sie den Camcorder und das Zubehör nicht an folgenden Orten: -
Orte mit extrem hohen oder niedrigen Temperaturen oder hoher Feuchtigkeit. Setzen Sie den Camcorder und das Zubehörnie Temperaturen von über 60^ aus, wie sie z.B.in direktem Sonnenlicht, in der Nähevon Heizungen oder in einem in der Sonnegeparkten Auto auftreten konnen. Andernfalls kann es zu Fehlfunktionenkommen oder Teile konnen sich verformen.
- In der Nähe von starken Magnetfeldern oder Mechanischen Erschütterungen. Andernfalls kann es am Camcorder zu Fehlfunktionenkommen.
In der Nähe von starken Radiowellen oder Strahlung. Andernfalls kann der Camcorder möglicherweise nicht richtig aufnehmen. - In der Höhe von Tuner-Geräten, z. B. Fernsehgeräten oder Radios. Andernfalls kann es zu Interferenzenkommen.
- An Sandsträden oder in staubiger Umgebung. Wenn Sand oder Staub in den Camcorder gelangt, kann es zu Fehlfunktionenkommen. In manchen Fälle kann das Gerät irreparabel beschädigt werden.
-
In Fensternähe oder im Freien, wo der LCD-Bildschirm oder das Objektiv direktem Sonnenlicht ausgesetzt ist. Andernfalls wird der LCD-Bildschirm beschädigt.
-
Betreiben Sie den Camcorder an 6,8 V/7,2 V Gleichstrom (Akku) oder 8,4 V Gleichstrom (Netzteil).
- Verwenden Sie für den Betrieb mit Gleich- oder Netzstrom das in dieser Bedienungsanleitung empfohlene Zubehor.
Schützen Sie den Camcorder vor Nasse, wie z. B. von Regen oder Meerwasser.
Wenn der Camcorder nass wird, kann es zu Fehlfunktionenkommen. In manchen Fällen kann das Geräirreparabel beschädigt werden.
-
Sollten Fremdkörper oder Flüssigkeiten in das Gehäuse gelangen, trennen Sie den Camcorder von der Netzsteckdose und halten Sieihn von Ihr dem Sony-Händler überprüfen, bevor Sie他们在acerbenutzern.
-
Gehen Sie sorgsam mit dem Gerät um, zerlegen und modifizieren Sie es nicht und schützen Sie es vor Stößen, halten Sie es nicht fallen und treten Sie nicht darauf.itte behandeln Sie das Objektiv mit besonderer Sorgfalt.
- Achten Sie darauf, dass der LCD-Bildschirm zugeklappt ist, wenn Sie den Camcorder nicht benutzen.
- Wickeln Sie den Camcorder während des Betriebs nicht in ein Tuch o. Ä. ein. Andernfalls kann sich im Inneren des Geräts ein Wärnestau bilden.
- Ziehen Sie zum Lösen des Netzkabels immer am Stecker und nicht am Kabel.
- Achten Sie darauf, das Netzkabel nicht zu beschädigen. Stellen Sie beispelssweise keine schweren Gegenstände darauf.
- Verformte oder beschädigte Akkus)dürfen nicht verwendet werden.
- Halten Sie die Metallkontakte sauber.
- Wenn die Batterieflüssigkeit ausgelaufen ist, ergreifen Sie folgende Maßnahmen:
Wenden Sie sich an den lokalen autorisierten Sony-Kundendienst.
- Waschen Sie die Flüssigkeit ab, falls sie mit der Haut in Berührung gekommen ist.
- Wenn die Flüssigkeit in ihre Augen gelangt ist, waschen Sie sie mit viel Wasser aus und konsultieren Sie einen Arzt.
Informationen über den Fallsensor (HDR-PJ600E/PJ600VE/XR260E/ XR260VE)
- Damit beim Herunterfallen des Geräts die interne Festplatte gegen Stöße geschützt ist, hat der Camcorder eine Fallsensorfunktion (S.74). Wenn das Gerät herunterfällt oder unter Schwerelosingigkeit, kann das Gerausch, das bei Aktivierung dieser Funktion durch den Camcorder hörbar ist, ebenfalls aufgezeichnet werden. Erfasst der Fallsensor wiederholt einen Sturz, kann eventuell die Aufnahme bzw. Wiedergabe angehalten werden.
Hinweis zur Verwendung des Camcorders in groBen Hohen (HDRPJ600E/PJ600VE/XR260E/XR260VE)
- Der Camcorder darf in Bereichen mit niedrigem Druck, z. B. in einer Höhe über 5.000m über NN, nicht eingeschaltet werden. Andernfalls kann die interne Festplatte des Camcorders beschädigt werden.
Wenn Sie den Camcorder lange Zeit nicht benutzen
- Damit der Camcorder möglichst lange in einem optimalen Zustand bleibt, schalten Sie ihn etwas einmal im Monat ein und nehmen Sie Bilder auf und setzen Sie sie wiedergeben.
- Entladen Sie den Akku vollständig, bevor Sieihn aufbewahren.
Hinweis zur Temperatur von Camcorder/Akku
- Wenn der Camcorder oder Akku sehr heißt oder kalt wird, ist die Aufnahme oder Wiedergabe mit dem Camcorder aufgrund der Schutzfunktionen des Camcorders, die in solchen Fälle aktiviert werden, unter Umständen nicht mehr möglich. In dieser Fall erscheint eine Anzeige auf dem LCD-Bildschirm.
Hinweise zum Laden über das USB-Kabel
- Der ordnungsgemäß Betrieb kann nicht bei allen Computern garantiert werden.
-
Wenn Sie den Camcorder an einen Laptop anschließen, der selbst nicht an eine Stromquelle angeschlossen ist, entländt sich der Akku des Laptops während diesen Vorgangs. Vermeiden Sie eine derartige Verbindung zwischen Camcorder und Computer.
-
Der ordnungsgemäß Ladevorgang kann bei Computern, die selbst zusammengestellt oder baulich in irgendeiner Form verändert wurden, sowie bei einem USB-Hub nicht gewährleistet werden. Je nach USB-Gerät, das in Verbindung mit dem Camcorder genutzt wird, kann es vorkommen, dass der Camcorder nicht ordnungsgemäß Funktioniert.
Feuchtigkeitskondensation
Wird der Camcorder direkt von einem kalten an einen warmen Ort gebracht, kann sich im Gerät Feuchtigkeit niederschlagen. Dies kann zu einer Fehlfunktion des Camcorders führen.
- Wenn sich Feuchtigkeit niedergeschlagen hat Schalten Sie den Camcorder aus und warten Sie etwas 1 Stunde.
-
Hinweis zur Feuchtigkeitskondensation Feuchtigkeit kann sich niederschlagen, wenn der Camcorder von einem kalten an einen warmen Ort gebracht wird (oder umgekehrt) oder wenn Sie den Camcorder in folgenden Situationen benutzen:
-
Sie bringen den Camcorder von einer Skipiste in einen beheizten Raum.
-
Sie bringen den Camcorder von einem klimatisierten Auto oder Raum in die Hitze draußen.
-Sie benutzen den Camcorder nach einem Gewitter oder Regen.
-Sie benutzen den Camcorder an einem bereits und feuchten Ort. -
So verhindern Sie Feuchtigkeitskondensation Wenn Sie den Camcorder von einem kalten an einen warmen Ort bringen, stecken Sieihn in eine Plastiktüe und verschreiben Sie diese sorgfältig. Nehmen Sie den Camcorder aus der Tüte heraus, sobald die Lufttemperatur in der Tüte der Umgebungstemperatur entspricht. Das dauert etwa 1 Stunde.
Wenn der Camcorder mit einem Computer oder sonstigem Zubehör verbunden ist
- Versuchen Sie nicht, das Aufnahmemedium des Camcorders mithilfe eines Computers zu formatieren. Anderfalls Funktioniert der Camcorder möglichereise nicht mehr ordnungsgemäß.
- Wenn Sie den Camcorder über Datenübertragungskabel an ein anderes Gerät anschließen, achten Sie darauf, den Stecker richtig einzustecken. Wenn Sie den Stecker mit Gewalt einstecken, wird der Anschluss beschädigt und es kann zu einer Fehlfunktion des Camcorders kommt.
- Wenn der Camcorder über einen USB-Anschluss mit anderen Geräten verbunden und der Camcorder eingeschaltet ist, klappen Sie den LCD-Bildschirmträger nicht zu. Andernfalls können die aufgenommenen Bilddaten verloren gehen.
Hinweise zu optionalem Zubehör
- Es wird empfohlen, ausschließlich Originalzubehör von Sony zu verwenden.
- Das Originalzubehör von Sony ist möglicherweise nicht in allen Ländern/Regionen erhältlich.
Zubehörschuh (HDR-CX570E/ CX580E/CX580VE/PJ580E/PJ580VE/ PJ600E/PJ600VE)
-
Der Zubehörschuh versorgt Zubehör, wie z. B. eine Videoleuche, ein Blitzlicht oder ein Mikrofon (gesondert erhältlich), mit Strom. Das Zubehör wird beim Auf- und Zuklappen des LCD-Bildschirms des Camcorders ein- bzw. ausgeschaltet. Weitere Informationen finden Sie in der mitgelieferten Bedienungsanleitung zum jeweiligen Zubehör.
-
Der Zubehörschuh ist mit einer Sicherheitseinrichtung ausgestattet, mit der sich das angebrachte Zubehör sichere befestigenlässt. Zum Anschreiben von Zubehör drücken Sie diese nach unten, schieren es bis zum Anschlag hinein undziehen die Schraube an. Zum Abnehmer von Zubehör loseN Sie die Schraube, drucken das Zubehor nach unterundziehen es heraus.
- Wenn beim Aufnehmen von Filmen ein externer Blitz (gesondert erhältlich) am Zubehörschuh angebracht ist, schalten Sie den externen Blitzitte aus, da das Geräusch beim Laden des Blitzes sonst möglicherweise mit aufgenommen wird.
- Ein externen Blitz (gesondert erhältlich) und den eingebauten Blitz können Sie nicht gleichzeitig verwenden.
- Wenn ein externes Mikrofon (gesondert erhältlich) angeschlossen ist, hat es Vorrang vor dem eingebauten Mikrofon.
Hinweise zur drahtlosen Fernbedienung (HDR-PJ260E/ PJ260VE/PJ580E/PJ580VE/PJ600E/ PJ600VE)
- Entfernen Sie das Isolierblatt, bevor Sie die drahtlose Fernbedienung verwenden.

- Richten Sie die drahtlose Fernbedienung zum Bedienen des Camcorders auf den Fernbedienungssensor (S. 11).
-
Werden innerhalb eines bestimmten Zeitraums keine Befehle über die drahtlose Fernbedienung gesendet, wird der hellblaue Rahmen ausgeblendent. Wenn Sie eine der Tasten / / / oder ENTER erneut drücken, erscheint der Rahmen an der Position, an der er zuletzt angezeigt wurde.
-
Nicht alle Tasten auf dem LCD-Bildschirm halten sich mit / / / .
So tauschen Sie die Batterie in der drahtlosen Fernbedienung aus
① Halten Sie die Lasche gedrückt, greifen Sie mit dem Fingernagel in die Öffnung undziehen Sie die Batteriehalterung hersus.
② Legen Sie eine neue Batterie mit der Seite + nach oben ein.
③ Schieber den Sie die Batteriehalterung wieder in die drahtlose Fernbedienung hinein, bis sie mit einem Klicken einrastet.

- Wenn die Lithiumbatterie schwacher wird, verringgert sich die Reichweite der drahtlosen Fernbedienung oder die drahtlose Fernbedienung Funktioniert nicht mehr richtig. Tauschen Sie die Batterie in thisem Fall gegen eine Lithiumbatterie des Typs CR2025 von Sony aus. Bei Verwendung einer anderen Batterie besteht Brand- oder Explosionsgefahr.
LCD-Bildschirm
- Drücken Sie nicht zu stark auf den LCD-Bildschirm. Andernfalls konnen Farbunregelmäßigkeiten und andere Schäden auftreten.
- Wenn Sie den Camcorder in einer kalten Umgebung benutzen, kann ein Storbild auf dem LCD-Bildschirm zu sehen sein. Dies ist keine Fehlfunktion.
- Beim Betrieb des Camcorders kann sich die Rückseite des LCD-Bildschirms erwärmen. Dies ist keine Fehlfunktion.
So reinigen Sie den LCD-Bildschirm
- Zum Entfernen von Fingerabdrücken oder Staub auf dem LCD-Bildschirm empfehtt es sich, ein weiches Tuch zu verwenden.
Reinigen der Projektorlinse (HDRPJ260E/PJ260VE/PJ580E/PJ580VE/ PJ600E/PJ600VE)
- Wischen Sie die Linse vorsichtig mit einem weichen Tuch wie z. B. einem Reinigungstuch oder Glasreinigungstuch ab.
- Hartnäckige Verschmutzungen setzen sich eventuell mit einem weichen Tuch wie z. B. einem Reinigungstuch oder Glasreinigungstuch entfernen, das mit Wasser angefeucht wurde.
- Verwenden Sie keine Lösungsmittel wie Alkohol, Benzin oder Verdünnungsmittel, kein säure- oder alkalihaltiges Reinigungsmittel, kein Scheuermittel und kein chemisches Reinigungstuch, da die Linsenoberfläche dadurch beschädigt wird.
Einstellung des Berührungsbildschirms ([Kalibrierung])
Es kann vorkommen, dass die Tasten auf dem Berührungsbildschirm nicht richtig Funktionieren. Gehen Sie in thisem Fall wie unter erlautert vor. Es empfeht sich, den Camcorder für diese Funktion mit dem mitgelieferten Netzteil an eine Netzsteckdose anzuschreiben.
① [Installation] [Allgemeine Einstlg.] [Kalibrierung].
![SONY HDRCX270E - Einstellung des Berührungsbildschirms ([Kalibrierung]) - 1](/content/2026/02/400352/images/fe1c2d9ceb3c7e3de0c4e033526e406e0aa65c7686e8b8585f01a8657d1f4998.jpg)
② Berühren Sie, 3 -mal mit der Ecke einer Speicherkarte o. Å.
Berü hren Sie [Abbrechen], um die Kalibrierung zu beenden.
Hinweise
- Wenn Sie nicht auf die richtige Stelle gedrückt haben, versuchen Sie die Kalibrierung nochmals.
- Verwenden Sie für die Kalibrierung keinenspitzen Gegenstand. Andernfalls kann der LCD-Bildschirm beschädigt werden.
- Sie können den LCD-Bildschirm nicht kalibrieren, wenn er gedreht oder nach außen weisend zugeklappt wurde.
Pflege des Gehäuses
- Wenn das Gehäuse des Camcorders verschmutzt ist, reinigen Sie es mit einem weichen Tuch, das Sie leicht mit Wasser angefeucht haben. Wischen Sie das Gehäuse anschließend mit einem weichen Tuch trocken.
-
Vermeiden Sie Folgendes, damit das Gehäuse nicht beschädigt wird:
-
Verwenden Sie keine Chemikalien wie Verdünner, Benzin, Alkohol, keine chemisch imprägnierten Reinigungstücher, keine Repellents (Insektanabwehrmittel), keine Insektizide und keine Sonnenschutzmittel
- Berühren Sie den Camcorder nicht mit den offen genannten Substanzen an den Händen
- Achten Sie darauf, dass das Gehäuse nicht langere Zeit mit Gummi- oder Vinylmaterialien in Berührung kommt
Pflege und Aufbewährung des Objektivs
-
Wischen Sie die Objektivlinse in folgenden Fällen mit einem weichen Tuch sauber:
-
Wenn sich Fingerabricks auf der Objektivlinse befinden
-In heifer oder feuchter Umgebung - Wenn das Objektiv in salzhaltiger Umgebung, wie z. B. am Meer, verwendet wird
Bewahren Sie das Objektiv an einem Ort mit gutter Luftzirkulation und möglichst weniger Staub oder Schmutz auf.
- Damit sich kein Schimmel bilden kann, reinigen Sie das Objektiv regelmäßig wie oben beschrieben.
Laden des worksiteig installierten Akkus
Der Camcorder ist mit einem werkseitig installierten Akku ausgestattet, der davon sorgt, dass Datum, Uhrzeit und andere Einstellungen gespeichert bleiben, auch wenn der LCD-Bildschirm zugeklappt wird. Der werkseitig installierte Akku wird immer geladen, solange der Camcorder über das Netzteil an eine Netzsteckdose angeschlossen oder der Akku am Camcorder angebracht ist. Nach etwa 3 Monaten ist er vollständig entladen, wenn Sie den Camcorder in dieser Zeit gar nicht verwendet haben. Laden Sie den werkseitig installierten Akku, bevor Sie den Camcorder verwenden. Aber auch wenn der werkseitig installierte Akku nicht geladen ist, ist der Camcorder-Betrieb problemlos möglich, solange Sie nicht das Datum aufnehmen wollen.
So laden Sie den werkseitig installierten Akku
Schlieben Sie den Camcorder mit dem mitgelieferten Netzteil an eine Netzsteckdose an und halten Sieihn ausgeschaltet (LCD-Bildschirm zugeklappt) mehr als 24 Stunden stehen.
Hinweis zum Entsorgen/Weitergebendes Camcorders (HDR-CX260E/ CX260VE/CX270E/CX580E/CX580VE/ PJ260E/PJ260VE/PJ580E/PJ580VE/ PJ600E/PJ600VE/XR260E/XR260VE)
Selbst wenn Sie alle Filme und Standbilderrölsen oder die Funktion [Formatieren] (S. 73) ausfuhren, sind die Daten auf dem internen Aufnahmemedium unter Umständen immer noch teilweise vorhanden. Wenn Sie den Camcorder an jemand anderen weitergeben, empfeht es sich davon, dass Sie [MENU] → [Installation] → [Medien-Einstlg.] → [Formatieren] → [Leeren] auswahlen, um eine Wiederherstellung ihrer Daten unwilling zu machen. Bei der Entsorgung des Camcorders empfeht es sich außerdem, das Gehäuse des Camcorders zu zerstären.
Hinweis zum Entsorgen/Weitergebend der Speicherkarte
Selbst wenn Sie die Daten auf der Speicherkartelöschen oder die Speicherkarte mit dem Camcorder oder einem Computer formatieren, sind möglicherweise immer noch Daten auf der Speicherkartevorhanden. Wenn Sie die Speicherkarte an demand anderen weitergeben, sollen Sie die Daten mithilfeiner entsprechenden Software zum Löschen von Daten auf einem Computer vollständiglöschen. Bei der Entsorgung der Speicherkarte empfieht es sich außerdem, das Gehäuse der Speicherkarte zu zerstären.
Technische Daten
System
Signalformat: PAL-Farbe, CCIR-Normen HDTV 1080/50i-, 1080/50p-Spezifikation
Filmaufnahmeformat: HD:MPEG-4AVC/H.264AVCHD-Format Ver.2,0 kompatibel STD:MPEG2-PS
Audioaufnahmesystem:
HDR-CX250E/CX260E/CX260VE/CX270E
Dolby Digital-2-Kanalton
Dolby Digital Stereo Creator
HDR-CX570E/CX580E/CX580VE/PJ260E/
PJ260VE/PJ580E/PJ580VE/PJ600E/PJ600VE/
XR260E/XR260VE
Dolby Digital 2 Kanäle/5,1 Kanäle
Dolby Digital 5.1 Creator
Fotodateiformat: Kompatibel mit DCF Ver.2,0 Kompatibel mit Exif Ver.2,3 Kompatibel mit MPF Baseline
Aufnahmemedien (Film/Foto):
Internet Speicher
HDR-CX260E/CX260VE/PJ260E/PJ260VE: 16 GB
HDR-CX270E/CX580E/CX580VE/PJ580E/ PJ580VE: 32 GB
Festplatte
HDR-XR260E/XR260VE: 160 GB
HDR-PJ600E/PJ600VE: 220 GB
"Memory Stick PRO Duo"
SD-Karte (Klasse 4 oder schneller)
Dem Benutzer zur Verfugung stehende Kapazität
HDR-CX260VE/PJ260VE: Ca. 12,8 GB*1
HDR-CX260E/PJ260E: Ca. 15,8 GB*2
HDR-CX580VE/PJ580VE: Ca. 28,8 GB*1
HDR-CX270E/CX580E/PJ580E: Ca. 31,8 GB*2
HDR-XR260VE: Ca. 156 GB*1
HDR-XR260E: Ca. 159 GB*2
HDR-PJ600VE: Ca. 216 GB*1
HDR-PJ600E: Ca. 219 GB*2
^*1 1 GB entspricht 1 Milliarde Bytes, 2,8 GB werden für die vorinstallierte Karte und ein weiterer Teil für Datenverwaltungsfunktionen verwendet. Nur der vorinstallierte Demo-Film kann gelöscht werden.
*2 1 GB entspricht 1 Milliarde Bytes, wovon ein Teil für die Systemverwaltung und/oder Anwendungsdateien genutzt wird. Nur der vorinstallierte Demo-Film kann gelöscht werden.
Bildwandler: HDR-CX250E/CX260E/CX260VE/CX270E/ PJ260E/PJ260VE/XR260E/XR260VE: 4,6 mm (Typ 1/3,91) CMOS-Sensor Aufnahmepixel (Foto, 16:9): Max.8,9 Megapixel (3984× 2240)^1 Insgesamt: Ca.5430000 Pixel Effektiv (Film, 16:9)^2 : Ca.2230000 Pixel Effektiv (Foto, 16:9): Ca.2230000 Pixel Effektiv (Foto, 4:3): Ca.1670000 Pixel
HDR-CX570E/CX580E/CX580VE/PJ580E/ PJ580VE/PJ600E/PJ600VE: 4,6 mm (Typ 1/3,91) CMOS-Sensor
Aufnahmepixel (Foto, 16:9): Max. 20,4 Megapixel (6016× 3384)^*
Insgesamt: Ca. 5430000 Pixel
Effektiv (Film, 16:9)*2:
Ca. 5020000 Pixel
Effektiv (Foto, 16:9):
Ca. 5020000 Pixel
Effektiv (Foto, 4:3):
Ca. 3760000 Pixel
Objektiv: G-Objektiv
HDR-CX250E/CX260E/CX260VE/CX270E/PJ260E/PJ260VE/XR260E/XR260VE: 30 × (Optisch) ^2 , 55 × (Erweitert) ^3 , 350 × (Digital)
Filterdurchmesser (HDR-PJ260E/PJ260VE/XR260E/XR260VE): 37 ~mm F1,8 ~ 3,4
Brennweite: f = 2,1mm 63,0mm
Dies entsprache bei einer 35-mm-Kleinbildkamera Bei Filmen*2: 29,8mm 894mm (16:9)
Bei Fotos: 29,8mm 894mm (16:9)
HDR-CX570E/CX580E/CX580VE/PJ580E/ PJ580VE/PJ600E/PJ600VE: 12× Optisch*2, 20× (Erweitert)*3, 160× Digital)
Filterdurchmesser: 30mm
F1,8\~3,4
Brennweite:
f = 2,9mm 34,8mm
Dies entsprache bei einer
35-mm-Kleinbildkamera
Bei Filmen*2: 26,8 mm 321,6 mm (16:9)
Bei Fotos: 26,8mm 321,6mm (16:9)
Farbtemperatur: [Auto], [Ein-Tasten-Druck], [Innen] (3200 K), [Außen] (5800 K)
Mindestbeleuchtungsstärke
6 lx (Lux) (in der Standardeinstellung, Verschlusszeit 1/50 Sekunde)
3 lx (Lux) ([Low Lux] ist auf [Ein] gestellt, Verschlusszeit 1/25 Sekunde)
1 Die den angegebenen Werten entsprechende Auflösung der Standbilder wird durch die neuartige Pixelmatrix des ClearVid und des Bildverarbeitungssystems (BIONZ) von Sony erzielt.
^2 [SteadyShot] ist auf [Standard] oder [Aus] gestellt.
^*3 [SteadyShot] ist auf [Aktiv] gestellt.
Ein-/Ausgangsanschlüsse
A/V-Fernbedienungsanschluss: Video- und Audio-Ausgangsbuchsen
HDMI OUT-Buchse: HDMI mini-Anschluss
USB-Buchse: mini-AB/Typ A (eingebautes USB) (nur Ausgang)
Kopfhörerbuchse (HDR-CX570E/CX580E/ CX580VE/PJ260E/PJ260VE/PJ580E/ PJ580VE/PJ600E/PJ600VE/XR260E/ XR260VE): Stereo-Minibuchse ( 3,5mm)
MIC-Eingangsbuchse: Stereo-Minibuchse ( 3,5mm)
LCD-Bildschirm
Bild: 7,5 cm (Typ 3,0, Bildformat 16:9)
Gesamtzahl der Pixel:
HDR-CX250E/CX260E/CX260VE/CX270E/ PJ260E/PJ260VE/XR260E/XR260VE: 230400 (960× 240)
HDR-CX570E/CX580E/CX580VE/PJ580E/ PJ580VE/PJ600E/PJ600VE:921600 (1920× 480)
Projektor (HDR-PJ260E/PJ260VE/PJ580E/ PJ580VE/PJ600E/PJ600VE)
Projektnystyp: DLP
Lichtquelle: LED (R/G/B)
Fokus: Manuell
Projektionsabstand: Mindestens 0,5m
Kontrastverhältnis: 1500:1
Auflösung (Ausgabe): nHD (640× 360)
Fortlaufende Projektaionsdauer (bei Verwendung des mitgelieferten Akkus):
HDR-PJ260E/PJ260VE:Ca.1h30min
HDR-PJ580E/PJ580VE: Ca. 1 h 25 min
HDR-PJ600E/PJ600VE: Ca. 1 h 10 min
Allgemeines
Betriebsspannung: 6,8 V/7,2 V Gleichstrom (Akku) 8,4 V Gleichstrom (Netzteil)
USB-Ladevorgang: 5 V Gleichstrom, 500mA / 1,5A
Durchschnittliche Leistungsaufnahme:
Während Kameraaufnahme mit dem LCD-Bildschirm bei normaler Helligkeit:
HDR-CX250E/CX260E/CX260VE/CX270E:
HD:2,6 W STD:2,4 W
HDR-CX570E/CX580E/CX580VE/PJ580E/ PJ580VE:
HD:3,1 W STD:2,9 W
HDR-PJ260E/PJ260VE:
HD: 2,7 W STD: 2,5 W
HDR-PJ600E/PJ600VE:
HD:3,9 W STD:3,6 W
HDR-XR260E/XR260VE:
HD:3,5 W STD:3,2 W
Betriebstemperatur: 0^ bis 40^
Lagertemperature: -20^ bis +60^
Abmessungen (Naherungswerte):
HDR-CX250E/CX260E/CX260VE/CX270E:
52,5mm× 55mm× 112,5mm(B / H / T)
einschließlich vorstehender Teile
52,5mm× 55mm× 122,5mm (B / H / T)
einschließlich vorstehender Teile und mit angebrachten Akku, der im Lieferumfang enthalten ist
HDR-XR260E/XR260VE:
59,5mm× 66mm× 117,5mm (B / H / T)
einschließlich vorstehender Teile
59,5mm× 66mm× 128mm(B / H / T)
einschließlich vorstehender Teile und mit angebrachten Akku, der im Lieferumfang enthalten ist
HDR-PJ260E/PJ260VE:
58,5mm× 64,5mm× 116,5mm (B / H / T)
einschließlich vorstehender Teile
58,5mm× 64,5mm× 128mm(B / H / T)
einschließlich vorstehender Teile und mit angebrachten Akku, der im Lieferumfang enthalten ist
HDR-CX570E/CX580E/CX580VE:
54,5mm× 64,5mm× 116,5mm(B / H / T)
einschließlich vorstehender Teile
90mm× 82mm× 151,5mm (B / H / T)
einschließlich vorstehender Teile und angebrachter Gegenlichtblende sowie mit angebrachtem Akku, der im Lieferumfang enthalten ist
HDR-PJ580E/PJ580VE:
58,5mm× 64,5mm× 116,5mm(B / H / T)
einschließlich vorstehender Teile
90mm× 82mm× 151,5mm (B / H / T) einschließlich vorstehender Teile und angebrachter Gegenlichtblende sowie mit angebrachte Akku, der im Lieferumfang enthalten ist
HDR-PJ600E/PJ600VE:
64mm× 66mm× 117,5mm(B / H / T)
einschließlich vorstehender Teile
90mm× 82mm× 151,5mm (B / H / T)
einschließlich vorstehender Teile und angebrachter Gegenlichtblende sowie mit angebrachten Akku, der im Lieferumfang enthalten ist
Gewicht (Naherungswerte):
HDR-CX250E/CX260E/CX270E:
200 g nur Hauptgerät
250g mit Akku, der im Lieferumfang enthalten ist
HDR-CX260VE:
205 g nur Hauptgerät
255 g mit Akku, der im Lieferumfang enthalten ist
HDR-XR260E/XR260VE:
355 g nur Hauptgerät
405g mit Akku, der im Lieferumfang enthalten ist
HDR-PJ260E/PJ260VE:
320 g nur Hauptgerät
370g mit Akku, der im Lieferumfang enthalten ist
HDR-CX570E:
315 g nur Hauptgerät
395 g mit mitgelieferter Gegenlichtblende und
Akku, der im Lieferumfang enthalten ist
HDR-CX580E/CX580VE:
320 g nur Hauptgerät
400g mit mitgelieferter Gegenlichtblende und
Akku, der im Lieferumfang enthalten ist
HDR-PJ580E:
340 g nur Hauptgerät
420g mit mitgelieferter Gegenlichtblende und
Akku, der im Lieferumfang enthalten ist HDR-PJ580VE:
345 g nur Hauptgerät
425g mit mitgelieferter Gegenlichtblende und Akku, der im Lieferumfang enthalten ist HDR-PJ600E:
400 g nur Hauptgerät
480g mit mitgelieferter Gegenlichtblende und Akku, der im Lieferumfang enthalten ist HDR-PJ600VE:
405 g nur Hauptgerät
485g mit mitgelieferter Gegenlichtblende und Akku, der im Lieferumfang enthalten ist
Netzteil AC-L200C/AC-L200D
Betriebsspannung: 100V - 240V Wechselstrom, 50Hz / 60Hz
Stromaufnahme: 0,35 A - 0,18 A
Leistungsaufnahme: 18 W
Ausgangsspannung: 8,4 V Gleichstrom*
Betriebstemperatur: 0^ bis 40^
Lagertemperatur: -20^ bis +60^
Abmessungen (Naherungswerte): 48mm×
29mm× 81mm (B / H / T) ohne vorstehende Teile
Gewicht (Naherungswerte): 170 g ohne Netzkabel
- Weitere technische Daten finden Sie auf dem Aufkleber am Netzteil.
Akku NP-FV50
Maximale Ausgangsspannung: 8,4 V Gleichstrom
Ausgangsspannung: 6,8 V Gleichstrom
Maximale Lodespannung: 8,4 V Gleichstrom
Maximaler Ladestrom: 2,1 A
Kapazität
Design und Spezifikationen des Camcorders und des Zubehörs unterliegen unangekündigten
Änderungen.
- Hergestellt unter Lizenz von Dolby Laboratories.
Hinweise zu den Markenzeichen
Handycam und Handycam sind eingetragene Markenzeichen der Sony Corporation.
- "AVCHD", "AVCHD Progressive" und die Schriftzüge, "AVCHD" und, "AVCHD Progressive" sind Markenzeichen der Panasonic Corporation und der Sony Corporation.
Memory Stick", Memory Stick Duo", Memory Stick PRO Duo", Memory Stick PRO DUO", Memory Stick PRO-HG Duo", Memory Stick PRO-HGDuo", MagicGate", MagicGate Memory Stick" und, MagicGate Memory Stick Duo" sind Markenzeichen oder eingetragene Markenzeichen der Sony Corporation.
"InfoLITHIUM" ist ein Markenzeichen der Sony Corporation.
"X.v. Colour" ist ein Markenzeichen der Sony Corporation.
-BIONZ"ist ein Markenzeichen der Sony Corporation.
- S-master ist ein eingetragenes Markenzeichen der Sony Corporation.
"BRAVIA" ist ein Markenzeichen der Sony Corporation.
"DVDirect" ist ein Markenzeichen der Sony Corporation.
- Blu-ray Disc^TM und Blu - ray^TM sind Markenzeichen der Blu-ray Disc Association.
- Dolby und das double-D-Symbol sind Markenzeichen von Dolby Laboratories.
- HDMI, das HDMI-Logo und High-Definition Multimedia Interface sind Markenzeichen oder eingetragene Markenzeichen der HDMI Licensing LLC in den USA und anderen Ländern.
- Microsoft, Windows, Windows Vista und DirectX sind Markenzeichen oder eingetragene Markenzeichen der Microsoft Corporation in den USA und/oder anderen Ländern.
Mac und Mac OS sind eingetragene Markenzeichen der Apple Inc. in den USA und anderen Ländern.
- Intel, Intel Core und Pentium sind Markenzeichen oder eingetragene Markenzeichen der Intel Corporation oder ihrer Tochtergesellschaften in den USA und anderen Ländern.
PlayStation und sind eingetragene Markenzeichen der Sony Computer Entertainment Inc.
- Adobe, das Adobe-Logo und Adobe Acrobat sind Markenzeichen oder eingetragene Markenzeichen der Adobe Systems Incorporated in den USA und/oder anderen Ländern.
- NAVTEQ und das NAVTEQ Maps-Logo sind in den USA und anderen Ländern Markenzeichen von NAVTEQ.
- Das SDXC-Logo ist ein Markenzeichen der SD-3C, LLC.
-,MultiMediaCard"ist ein Markenzeichen der MultiMediaCard Association.
Alle anderen in thisem Dokument erwähnten Produktnamen konnen Markenzeichen oder eingetragene Markenzeichen der jeweiligen Eigentümer sein. In thisem Handbuch sind die Markenzeichen und eingetragenen Markenzeichen nicht überall ausdrücklich durch TM und gekennzeichnet.

Nutzen Sie außer dem die vielfältigen
Möglichkeiten der PlayStation 3, indem Sie die
entspruchende Anwendung für PlayStation 3 aus
PlayStation Store herunterlagen (falls verfügbar.)
Damit Sie die Anwendung für PlayStation 3 nutzen können, müssen Sie über ein PlayStation Network-Konto verfügen und die Anwendung herunterlagen. Erhältlich in Regionen, in denen PlayStation Store angeboten wird.
ENDBENUTZER-LI-ZENZVEREINBARUNG ZU DEN KARTEND-ATEN FÜRVIDEOKAMERAPRODUKTE
(HDR-CX260VE/CX580VE/ PJ260VE/PJ580VE/PJ600VE/ XR260VE)
DIE FOLGENDE VEREINBARUNG IST VOR DER VERWENDUNG DIESER SOFTWARE GRUNDLICH DURCHZULESEN!
WICHTIG - GRUNDLICH DURCHLESEN: Diese Endbenutzer-Lizenzvereinbarung (LIZENZ) ist eine rechtswirksame Vereinbarung zwischen Ihnen und der Sony Corporation (SONY), dem Lizenzgeber der in ihrer Videokamera (PRODUKT) enthaltenen Kartendaten. Solche Kartendaten, einschließlich späterer Aktualisierungen und Upgrades, werden in dieser Vereinbarung als SOFTWARE bezeichnet. Diese LIZENZ gilt nur für die SOFTWARE. Sie)dürfen die SOFTWARE nur in Verbindung mit der Nutzung des PRODUKTS verwenden.Durch Betatigung der Taste "ICH STIMME ZU" auf dem Bildschirm des PRODUKTS in Verbindung mit dieser Lizenz erklaren Sie sich an die Bedingungen dieser LIZENZ gebunden. Wenn Sie den Bedingungen dieser LIZENZ nicht zustimmen, ist SONY nicht bereit, Ihnen die SOFTWARE zu lizenzieren. In einem solchen Fall ist die SOFTWARE nicht verfügbar und Sie dürfen die SOFTWARE nicht verwenden.
SOFTWARELIZENZ
Die SOFTWARE ist durch Urheberschutzgesetze und internationale Abkommen über den Urheberschutz sowie andere Gesetze und Abkommen zum Schutz des geistigen Eigentums geschützt. Die SOFTWARE wird lizenziert, nicht verkauft.
LIZENZERTEILUNG
These LIZENZ räumt Ihnen folgende, nicht exclusive. Rechte ein:
SOFTWARE: Sie)dürfen die SOFTWARE auf einer Einheit des PRODUKTS verwenden.
Nutzung: Sie können die SOFTWARE für ihren eigenen Gebrauch nutzen.
BESCHREIBUNG ANDERER REchte UND EINSCHRÄNKUNGEN
Einschrankungen: Sie durfen keinen Teil der SOFTWARE in irgendeiner Form für einen anderen als den ausdrücklich in dieser LIZENZ erlaubten Zweck übertragen oder verteilen. Sie durfen die SOFTWARE nur mit dem PRODUKT und nicht mit anderen Geräten, Systemen oder Anwendungen nutzen. Außer dies wird anders in dieser LIZENZ angegeben, durfen Sie die SOFTWARE nicht getrennt von dem PRODUKT (ganz oder teilweise, einschließlich, aber nicht beschränkt auf Reproduktionen, Ausgaben oder Auszüge oder sonstige derartige Arbeiten in jeglicher Form) für Vermietungs- oder Leasingzwecke, equal ob mit oder ohne Lizenzgebühr, nutzen bzw. Dritten eine solche Nutzung gestatten. Einige Rechtssysteme erlauben die Einschränkung solcher Rechte nicht. In thisem Fall, gelten die obigen Einschränkungen möglicherweise nicht für Sie.
Beschränkung hinsichtlich Rückentwicklung (Reverse Engineering), Dekompilierung und Disassemblierung. Sie können die SOFTWARE (i) nicht aus dem PRODUKT auslesen, sie (ii) weiter ganz noch teilweise reproductieren, kopieren, modifizieren, portieren, übersetzen oder Arbeiten erstellen, die aus ihr abgeleitet sind oder (iii) die SOFTWARE durch irgendwelche Mittel, ganz oder teilweise für irgend einen Zweck zurückentwickeln, dekompilieren oder disassemblieren. Einige Rechtssysteme erlauben die Beschänkung solcher Rechte nicht. In thisem Fall, gelten die obigen Beschänkungen möglicherweise nicht für Sie.
Markenzeichen und Copyright-Vermerke: Sie darüber Markenzeichen oder Copyright-Vermerke zur SOFTWARE nicht entfern, verändern, verbergen oder unleserlich machen.
Datendateien: Die SOFTWARE kann automatisch Datendateien für die Verwendung in der SOFTWARE erstellen. Alle diese Datendateien werden als Teil der SOFTWARE angesehen.
SOFTWARE-Übertragung: Sie darüber alle ihre Rechte unter dieser LIZENZ nur als Teil eines Verkaufs oder einer Übertragung des PRODUKTS dauerhaft übertragen, vorausgesetzt Sie behalten keine Kopien der SOFTWARE, übertragen die gesamte SOFTWARE (einschließlich aller Kopien (nur wenn das Kopieren unter dem Abschnitt „Beschränkung bezüglich Rückentwicklung (Reverse Engineering), Dekompilierung und Disassemblierung"...))、oder zulässig ist), Komponententeile, Medien und Druckmaterial, aller Versionen und Upgrades der SOFTWARE und dieser LIZENZ) und der Empfänger stimmt den Bedingungen dieser LIZENZ zu.
Kündigung: Unbeschadet anderer Rechte kann SONY diese LIZENZ kündigen, wenn Sie die Bedingungen dieser LIZENZ nicht erfüllen. In einem solchen Fall, dürfen Sie die SOFTWARE und alle ihre Komponententeile
nicht weiter nutzen. Die Bestimmungen in den Abschnitten „COPYRIGHT“, „HOCHRISKANTE AKTIVITÄTEX“, „AUSSCHLUSS DER GEWÄHRLEISTUNG IN BEZUG Auf DIE SOFTWARE“, „HAFTUNGSBESCHRÄNKUNG“, „EXPORTVERBOT“, „TRENNBARKEIT“ und „GELTENDES RECHT UND GERICHTSBARKEIT“, im Paragraph „Geheimhaltung“这点es Abschnitts und dieser Paragraph dieser LIZENZ gelten auch nach Ablauf oder Kündigung dieser LIZENZ weiter.
Verschwiedenheitspflicht: Sie stimmen zu, dass Sie die in der SOFTWARE enthaltenen Informationen, die nicht öffentlich besteht sind, für sich behalten und solche Informationen nicht ohne vorherige Zustimmung von SONY anderen offenbaren.
COPYRIGHT
Alle Eigentums- und Urheberrechte an der SOFTWARE (einschließlich, aber nicht beschränkt auf Kartendaten, Bilder, Fotos, Animation, Video, Audio, Music, Text und Applets, die in der SOFTWARE enthalten sind) und an den Kopien der SOFTWARE liegen bei SONY, SONYs Lizenzgebern und Lieferanten und deren entsprechenden Tochtergesellschaften (solche Lizenzgeber und Lieferanten für SONY werden zusammen mit ihren entsprechenden Tochtergesellschaften nachfolgend gemeinsam „SONYs Lizenzgeber" genannot). Alle Rechte, die nicht explizit unter dieser LIZENZ gewährt werden, sind SONY oder SONYs Lizenzgebern vorbehalten.
HOCHRISKANTE AKTIVITÄTEN
Die SOFTWARE ist nicht fehlertolerant und nicht für die Nutzung in gefährlichen Umgebungen entwickelt, hergestellt oder gedacht, die einen störungsfreien Betrieb erfordern, z. B. beim Betrieb von Nuklearanlagen, Flugnavigations- oder Kommunikationssystemen, Flugsicherungssystemen, lebenserhaltenden Maschinen oder Waffenkontrollsystemen, bei denen ein Versagen der SOFTWARE zu Todesfallen, Verletzungen oder schweren Sach- und Umweltschäden führen könnte („Hochriskante Aktivitäten“). SONY, seine Tochtergesellschaften, deren entsprechende Lieferanten sowie SONYs Lizenzgeber schreiben insbesondere jegliche ausrückliche oder konkludente Garantie für die Eignung für hochriskante Aktivitäten aus.
AUSSCHLUSS DER GEWÄHRLEISTUNG IN BEZUG AUF DIE SOFTWARE
Sie erkennen ausdrücklich an und stimmen zu, dass Sie die SOFTWARE auf eigene Gefahr nutzen. Die SOFTWARE wird entsprechend dem aktuellen Entwicklungstand und ohne jegliche Gewährleistung bereitgestellt und SONY, seine Tochtergesellschaften und deren entsprechende Lieferanten sowie SONYs Lizenzgeber (in thisem
Abschnitt werden SONY, seine Tochtergesellschaften und deren entsprechende Lieferanten sowie SONYs Lizenzgeber gemeinsam als „SONY" bezeichnet) SCHLIESSEN ALLE AUSDRÜCKLICHEN UND STILLSCHWEIGENDEN GARANTIEN UND BEDINGUNGEN AUS, DIE SICH AUFGRUND VON GESETZEN ODER ANDERWEITIGEN BESTIMMUNGEN ERGEBEN, EINSCHLIESSLICH, ABER NICT BESCHRÄNKT AUF STILLSCHWEIGENDE GARANTIEN UND BESTIMMUNGEN BEZÜGLICH QUALITÄT, NICTVERLETZUNG VON SCHUTZRECHTEN, HANDELSTAUGLICHKEIT UND EIGNUNG FÜR EINEN BESTIMMTEN ZWECK. SONY GARANTIERT NICT, DASS DIE IN DER SOFTWARE ENTHALTEN FUNKTIONEN IHRE ANFORDERUNGEN ERFÜLLEN ODER DASS DER BETRIEB DER SOFTWARE NICT UNDERBROCHEN WIRD ODER FEHLERFREI IST. SONY GARANTIERT NICT BZW. MACHT KEINE ZUSICHERUNGEN IN BEZUG AUF NUTZUNG, UNMÖGLICHKEIT DER NUTZUNG ODER ERGEBNISSE DER NUTZUNG DER SOFTWARE SOWIE HINSICHTLICH IHRER RICHTIGKEIT, GENAUGKEIT, ZUVERLÄSSIGKEIT ODER SONSTIGER EIGENSCHAFTEN. MANCHE RECHTSSYSTEME ERLAUBEN DEN AUSSCHLUSS VON STILLSCHWEIGENDEN GARANTIEN NICT; IN SOLCHEN FALLEN GELTERN DIE OBEN GENANNTEN AUSSCHLUSSE FÜR SIE EVENTUELL NICT.
Sie verstehen ausdrücklich, dass die Daten in der SOFTWARE wegen des Zeitablaufs, veränderter Umstände, verwendeter Quellen und der Art der Erfassung von umfangreichen geografischen Daten ungenaue oder unvollständige Informationen enthalten konnen, die jeweils zu falschen Ergebnissen führen konnen.
HAFTUNGSBESCHRÄNKUNG
IN DIESEM ABSCHNITT WERDEN, SOWEIT ES GESETZLICH ZULÄSSIG IST, SONY, SEINE TOchterGESELLSCHAFTEN, SEINE UND DEREN ENTSPRECHENDEN LIEFERANTEN SOWIE SONYS LIZENZGEBER GEMEINSAM ALS „SONY“ BEZEICHNET. SONY HAFTET WEDER FÜR ANSPRÜCHE, FORDERUNGEN UND KLAGEN, UNABHÄNGIG VON DER ART DES GRUNDES FÜR DEN ANSPRUCH, DIE FORDERUNG ODER KLAGE, MIT DENEN EIN UNMITTELBARER ODER MITTELBARER VERLUST ODER SCHADENSERSATZ GELTEND GEMACHT WIRD, DER AUS DER NUTZUNG ODER DEM BESITZ DER SOFTWARE RESULTIERT; NOCH FÜR ENTGANGENEN GEWINN, ERTRAG, VERTRäge ODER EINSPARUNGEN ODER JEGLICHE ANDERE UNMITTELBARE UND MITTELBARE, NEBEN-, FOLGE- ODER SONDERSCHÄDEN, DIE SICH AUS DER NUTZUNG ODER UNMÖGLICHKEIT
DER NUTZUNG DER SOFTWARE, EINEN MANGEL IN DER SOFTWARE ODER DIE VERLETZUNG DER BEDINGUNGEN ERGEBEN, SEI ES IN EINER KLAGE WEGEN VERTRAG ODER UNERLAUBTER HANDLUNG ODER AUFGRUND EINER GEWAHRLEISTUNG, AUCH WENN SONY AUF DIE MOGLICHKEIT SOLCHER SCHÄDEN HINGEWIESEN WURDE, AUSSER IM FALL EINER GROBEN FAHRLÄSSIGKEIT ODER EINES VORSATZES SEITENS SONY ODER BEI TOD ODER VERLETZUNG UND BEI SCHÄDEN AUFGRUND DER MANGELHAFTIGKEIT DES PRODUKTS. IN JEDEM FALL, MIT AUSNAHME DER OBEN GENANNTEN AUSNAHMEN, IST DIE GESAMTHAFTUNG VON SONY UTER JEDER BESTIMMUNG DIESER LIZENZ AUF DEN BETRAG BEGRENZT, DER ZUORDNUNGsfähIG TATSACHLICH FÜR DIE SOFTWARE BEZAHLT WURDE. MANCHE RECHTSSYSTEME ERLAUBEN DEN AUSSCHLUSS ODER DIE BESCHRANKUNG VON FOLGE-ODER NEBENSCHÄDEN NICT, SO DASS DER OBIGE AUSSCHLUSS ODER DIE OBIGE BESCHRANKUNG EVENTUELL NICTH AUF SIE ZUTRIFFT.
EXPORTVERBOT
SIE ERKENNEN AN, DASS DIE NUTZUNG DER SOFTWARE IN MANCHEN
LANDERN, REGIONEN, BEREICHEN ODER EINRICHTUNGEN ODER DIE AUSFUHR DER PRODUKTE AUS DEM LAND, IN DEM SOLCHE PRODUKTE ZUM VERKAUF BESTIMMT SIND, BESCHRANKT ODER VERBOTEN SEIN KANN. SIE WILLIGEN EIN, DASS SIE DIE SOFTWARE IN ÜBEREINSTIMMUNG MIT GELTenden GESETZEN, VERORDNUNGEN, RICHTLINIEN UND VORSCHRIFTEN DER ENTSPRECHENDEN LANDER, REGIONEN, BEREICHE UND EINRICHTUNGEN NUTZEN BZW. DIE PRODUKTE ENTSPRECHEND EXPORTIEREN WERDEN.
TRENNBARKEIT
Wenn ein Teil dieser LIZENZ als ungültig oder nicht durchsetzbar betrachtet wird, bleiben die anderen Teile gültig.
GELTENDES RECHT UND GERICHTSBARKEIT
These LIZENZ unterliegt den Gesetzen von Japan, ohne dass kollisionsrechtliche Bestimmungen oder das Übereinkommen der Vereinten Nationen über Verträge über den internationalen Warenkauf, das ausdrücklich ausgeschlossen wird, wirsam werden. Jede Streitigkeit, die sich aus dieser LIZENZ ergibt, unterliegt dem ausdrucklichen Gerichtsstand des Amtsgerichtes Tokio und die Parteien stimmen hiermit dem Gerichtsstand und der Zuständigkeit这点 Gerichts zu. DIE PARTEIEN VERZICHTEM HIERMIT Auf EIN
SCHWURGERICHTSVERFAHREN IM HINBLICK AUF ALLE ANGELEGENHEITEN, DIE SICH AUS DER ODER IM ZUSAMMENHANG MIT DIESER LIZENZ ERGEBEN. MANCHE RECHTSSYSTEME ERLAUBEN DEN AUSSCHLUSS DES RECHTS AUF EIN SCHWURGERICHTSVERFAHREN NICT; IN SOLCHEN FALLEN GILT DER OBEN GENANNTE AUSSCHLUSS FÜR SIE EVENTUELL NICT.
GESAMTE VEREINBARUNG
These Bedingungen stellen die gesamte Vereinbarung zwischen SONY und Ihnen bezüglich des Gegenstandes dieser Vereinbarung dar und ersetzen in ihrer VollständigkeitSAMTliche vorher getroffenen schriftlichen oder mündlichen Vereinbarungen zwischen den Parteien in Bezug auf den Gegenstand.
STAATLICHE ENDBENUTZER
Wenn die SOFTWARE von oder für die Regelung der Vereinigten Staaten oder eine andere Körperschaft erworben wird, die Rechte ähnlich derer anstrebt oder geltend macht, die üblicherweise von der Regelung der Vereinigten Staaten geltend gemacht werden, stellt die SOFTWARE einen „kommerziellen Gegenstand“ dar, so wie dieser Begriff in 48 C.F.R. (FAR) 2.101 definiert wird, und wird in Übereinstimmung mit dieser LIZENZ lizenziert und diese SOFTWARE, die geliefert oder anderweitig bereitgestellt wird, ist mit dem „Verwendungshinweis“ zu kennzeichnen bzw. zu versehen, wie er durch SONY und/oder seine Tochergesellschaften bestimmt wird und muss in Übereinstimmung mit thisem Hinweis behandelt werden.
Copyright und Markenzeichen
1993-2011 NAVTEQ
©2012 ZENRIN CO., LTD.
Australien
Bundesamt fur Eich- und Vermessungswesen
Kanada
Kroatien, Estland, Lettland, Litauen, Moldawien, Polen, Slowenien und Ukraine
EuroGeographic
Frankreich
Die Grundlagendaten wurden mit Genehmigung der zustaendigen Behoerden entnommen.
Großbritannien
Topografische Grundlage: Bundesamt für Landestopographie.
Vereinigte Staaten
Die folgenden Anzeigen erscheinen, wenn Sie die Einstellungen ändern. Beachten Sie bezüglich der Anzeigen, die während der Aufnahme oder Wiedergabe erscheinen, auch die Seiten 27 und 34.

Links
| Anzeige Bedeutung | |
| MENU | Taste MENU (69) |
| Selbstauslöseraufnahme (71) | |
| XIII | GPS-Triangulationsstatus (41) |
| Videoleuchte | |
| 4:3 | Breitmodus (72) |
| W | Blende (71) |
| OFF | [Gesichtserkennung] auf [Aus] eingestellt (71) |
| OFF | [Auslös. bei Lächeln] auf [Aus] eingestellt (71) |
| Manuelles Fokussieren (71) | |
| Szenenwahl (71) | |
| Weißabgleich (71) | |
| SteadyShot aus (71) | |
| Tele-Makro (71) | |
| COLOR | x.v.Color (72) |
| DW | Koverterlinse (71) |
| Ziel (74) | |
| Intelligente Automatik (Gesichtserkennung/ Szenenerkennung/Bild- verwacklungserkennung/ Tonerkennung) (37) | |
| Fall sensor ausgeschaltet | |
| Fallsensor aktiviert |
Mitte
| Anzeige Bedeutung | |
| Dia-Show Einstein. | |
| Warnung (77) | |
| Wiedergabemodus (34) | |
Rechts
| Anzeige Bedeutung | |
| 50i HQ | Bildqualität der Aufnahme (HD/STD), Bildrate (50p/50i/25p) und Aufnahmemodus (PS/FX/FH/HQ/LP) (39) |
| 60Min. | Akkurestladung |
| Medium für Aufnahme/Wiedergabe/Bearbeitung (23) | |
| 0:00:00 Zähler (Stunden:Minutes:Sekunden) | |
| 00Min Geschäftzte | Restaufnahmedauer |
| 16:9 8,9M 20,4M | Fotoformat (40) |
| 9999 Anzahl der aufnehmbaren Fotos und Fotoformat | |
| 9999 Wiedergabeordner | |
| 101 | Derzeit abgespielter Film bzw. aktuelles Foto/Anzahl der insgesamt aufgenommenen Filme oder Fotos |
| Verbindung zur externen Medieneinheit (67) | |
Unten
| Anzeige Bedeutung | |
| Mikro-Referenzpegel niedrig (72) | |
| [Automat. WindGR] auf [Aus] eingestellt (72) | |
| [Klarere Stimme] auf [Aus] eingestellt (36) | |
| Integr. Zoom-Mikro (72) | |
| Tonmodus (72) | |
| Low Lux (71) | |
| Punkt-Mess./Fokus (71)/Punkt-Messung (71)/ Belichtung (71) | |
| Intelligente Automatik (37) | |
| Datendateiname | |
| Schützen (73) | |
| Blitz (72)/Rote-Augen-Reduz. (72) |
Die Anzeigen und ihre Position konnen sich von der tatsächlichen Anzeige unterscheiden
- Je nach Camcorder-Modell werden bestimmte Anzeigen möglicherweise nicht angezeigt.
Index
Numerische Einträge
5,1-Kanal-Raumklang 48
A
A/V-Verbindungskabel 47
Abspielen von Discs 62
Abspielen von Szenarios 46
Akku 17
Anschluss 47
Anzahl der aufnehmbaren Fotos 84
Anzeige der Selfstdiagnose 77
Anzeigen von Elementen auf dem LCD-Bildschirm 27
AUFN-Modus 39
Aufnahme 26
Aufnahme- und Wiedergabedauer. 79
Aufnahmedauer von Filmen 79,80
Aufnahmemedium 23
Auslos. bei Lacheln 37
AVCHD-Aufnahmedisc 6,39
B
Bearbeiten 52
Bedientasten 34
Berührungsbildschirm 27
BildgroBe 40
Bildschirmanzeigen 27,99
"BRAVIA" Sync 49
C
Computer. 56
C
Datencode 22
Datum/Zeit 22
Direktkopie 68
DISC-BRENN-OPT. 63
Disc-Recorder 65
Drahtlose Fernbedienung ...15, 88
Dual-Aufzeihnung 26
DVD .61
DVD-Brenner 64
DVDirect Express 63
E
Eingebautes USB-Kabel 18
Einschalten 21
Einstellen von Datum und Uhrzeit 21
Ereignis-Ansicht 31
Erstellen von Discs 61, 63
Erweiterte Funktion 55
External Medieneinheit 66
F
Fallsensor 86
Fehlersuche 75
Fernsehgerat 47
Feuchtigkeitskondensation.87
FH 39
Filmc 26
Fokusnachführung 36
Fotoaufzeichnung 53
Fotos 26
FX 39
G
Gegenlichtblende 14
Gesichtsprioritat 36
GPS 40
Griffband 14
H
"Handycam Benutzieranleitung 6
HDMI-Kabel 47
Highlight-Einstellung 44
Highlights-Film 46
Highlights-Wiedergabe. 44
Hinweise zum Umgang mit dem Camcorder 85
HQ 39
13
Ohre Position 41
Installieren 56, 60
Intelligente Automatik 37
K
Kalibrierung 89
Kartenansicht 32
Klarere Stimme 36
L
Laden des Akkus. 17
Laden des Akkus über einen Computer. 18
LCD-Bildschirm 27
Löschen 52
LP 39
M
Mac 60
Medien-Ausb Wahl 23
Medien-Einstlg. 23
Mitgelieferte Teile 16
N
Netzsteckdose. 19
P
Pflege 85
Piepton 22
"PlayMemories Home 16,55,56
Prioritätsmodus der Triangulation 41
Projektor 50
PS 39
R
Reparatur 75
RESET 13
S
SD-Karte 25
Sommerzeit 21
Speicherkarte 24
Speichern von Bildern mit einer externen Medieneinheit 66
Spiegelmodus 28
Sprache 5
Starten von PlayMemories Home 60
Stativ. 14
Szenario Speich. 45
T
Technische Daten 91
Teilen 53
Triangulation 41
U
Uberspielen 61
USB 18,56
USB-Adapterkabel 66
USB-Anschluss 64
USB-Verbindungskabel 16
V
VBR. 83
Videoleuche 38
Vollständige Auffladung 18
W
Warnanzeigen 77
Wiedergabe 31
Windgeräusch 72
Windows 56
Z
Zoom 30
Zubehorschuh 11,87
Lees dit eerst
Technische gegevens 86
LICENTIEOVEREENKOMST VOOR DE EINDGEBRUiker VOOR KAARTGEGEVENS VOOR VIDEOCAMERA/RECORDER-PRODUCTEN (HDR-CX260VE/CX580VE/PJ260VE/ PJ580VE/PJ600VE/XR260VE) 90
(Tegenlicht), (Landschap),
(Nachtscene) (Spotlight), Duister, Macro
Bveiligen Beveiligt films en Foto's gegen wissen.
Scherpstellen: Handmatig
Bereik: 0,5m ofmeer
Contrastverholding: 1500:1
BESCHRIJVING VAN ANDERE RECHTEN EN BEPERKINGEN
ZEER RISICOVOLLE ACTIVITEITEN
Bundesamt fur Eich- und Vermessungswesen
Canada
Die Grundlagendaten wurden mit Genehmigung der zustaendigen Behoerden entnommen.
Groot-Brittannié
Topografische Grundlage: Bundesamt für Landestopographie.
Verenigde Staten
Technische gegevens 86
Presa HDMI OUT: connettore HDMI mini
Bundesamt fur Eich- und Vermessungswesen
Canada
Die Grundlagendaten wurden mit Genehmigung der zustaendigen Behoerden entnommen.
Gran Bretagna
Topografische Grundlage: © Bundesamt für Landestopographie.
EinfachAnleitung