TEC 350 - DJ-Ausrüstung Skytec - Kostenlose Bedienungsanleitung
Finden Sie kostenlos die Bedienungsanleitung des Geräts TEC 350 Skytec als PDF.
Benutzerfragen zu TEC 350 Skytec
0 Frage zu diesem Gerät. Beantworten Sie die, die Sie kennen, oder stellen Sie Ihre eigene.
Eine neue Frage zu diesem Gerät stellen
Laden Sie die Anleitung für Ihr DJ-Ausrüstung kostenlos im PDF-Format! Finden Sie Ihr Handbuch TEC 350 - Skytec und nehmen Sie Ihr elektronisches Gerät wieder in die Hand. Auf dieser Seite sind alle Dokumente veröffentlicht, die für die Verwendung Ihres Geräts notwendig sind. TEC 350 von der Marke Skytec.
BEDIENUNGSANLEITUNG TEC 350 Skytec
Rear Panel / Achterzijde / Arrière/Rückseite / Bagside


NL
Herzlichen Glückwunsch zum Kauf these SkyTec Mischpults.
Bitte lesen Sie diese Anleitung sorgfältig vor der Inbetriebnahme durch.
Sicherheitsvorschriften:
- Bedienungsanleitung vor Inbetriebnahme sorgfältig durchlesen.
- Für spätere Bezugnahme aufbewahren.
- Originalverpackung fur späteren Transport aufbewahren.
- Nur für Innengebrauch.
- Niemals das Gehäuse öffnen; Reparaturen nur von einem Fachmann ausführten halten.
- Beim Abziehen des Steckers immer am Steckerziehen, niemals an der Netzschnur.
- Stecker niemals mit nassen Händen anfassen.
- Sollten Stecker und/oder Netzschnur, sowie der Kabelingang zum Gerät beschädigt sein, müssen diese durch einen Fachmann ersetzt werden.
- Wenn das Gerät sichtbare Schäden aufweist, damit es NICHT an eine Steckdose angeschlossen und NICHT eingeschaltet werden. Benachrichtigen sie in thisem Fall SkyTronic BV.
- Das Gerät nur eine geerdete 230V AC/50Hz Netzsteckdose mit 10-16A Leistung anschließen.
- Nicht in der Höhe von Wärmequellen aufstellen.
- Bei Unwetter sowie Nichtgebrauch das Netzgerät aus der Steckdoseziehen.
- Nach längerem Nichtgebrauch kann sich Kondenswasser im Gehäuse gebildet haben. Lassen Sie das Gerät erst auf Raumtemperaturkommen.
- Vor Kindern schützen.
- Vor dem Einsatz alle Kanalschieberegler, sowie den Master Lautstärkeregler ganz herunterfahren.
Die Schieberegler vorsichtig behandeln. Eine zu schnelle Veränderung kann die Lautsprecher beschädigen, weil der Versteller überforderdert ist. - Den Verstärker nicht überfordern (Clipping). Wenn die Clip LEDs am Verstärker aufleuchten, ist die Lautstärke zu hoch eingestellt. Sofort die Lautstärke auf einen niedrigern Pegel einstellen.
- Den Veränder immer zuletzt einschalten und zuerst ausschalten.
Keine Reinigungssprays fur die Schieberegler verwenden. Die Rückstände verursachen Schmierund Staubansammlungen in den Reglern. Im Problemfall einen Fachmann Fragen.
Allgemeine Beschreibung
Das professionelle Stereomischpult TEC350 verfügbar über fünf unabhängig regelbare Eingangskanäle, wovon zwei weitere besonders für Mikrofone geeignet sind. Der MASTER Ausgang ermittelcht durch den Schieberegler mit LED VU-Meter eine prazise Einstellung des Signalpegels zum Endvermögt der eingebaute Stereokopfhörerverträger kann auf jeder beliebigen Eingangskanal, sowie den MASTER Ausgang geschaltet werden und besitz einen eigenen Lautstärkeregler. Das TEC 350 Mischpult enthalt ein stabiles 230V Netzteil. Das Gerät kann sowohl eingebaut als auch freistehend benutzt werden. Das Mischpult darf nur an eine geerdete Netzsteckdose angeschlossen und Drinnen benutzt werden. Versuchen Sie nicht, Reparaturen selbst vorzunehmen (mit Ausnahme des Auswechseln vom Crossfader); Reparaturen dürfen nur von einem spezialisierten technischen Dienst vorgenommen werden.
Anschlüsse und Einstellungen
Mikrofonkanal,MIC
Der Eingang these Mono Mikrofonkanals (6) befindet sich in der linken oberen Ecke der Frontplatte und besteht aus einem Klinken/XLR Universalverbinder. S. hierzu die Abbildung für die verschiedene Anschlussmöglichkeiten. Der Pegel des Mikrofons wird mit dem Schieberegler MIC (7) eingestellt. Der TALKOVER Schalter (8) dient zum Vermindern der Lautstärke der Kanäle A bis D, damit das Mikrofonsignal nicht übertört wird.
Kanäle 1 bis 3
These three stereokanäe sind identisch. Die Eingänge dieren zum Anschluss eines CD Spieler oder eines Plattenspielers mit MD Tonkopf. Die dazugehörigen Cinch Verbinder (21) befinden sich auf der Rückseite. Jeder Canal besitzt einen 2-Band Klangregler (3&4), sowie einen Wahlschalter für CD oder Plattenspieler (2).
Kanal 4
Dieser Kanal besitz einen Stereo Line Eingang (19) (CD, Kassettenrekorder oder ein anderes Mischpult), sowie einen Mono Eingang für ein zusätzliches Mikrofon mit 6,3mm Klinkenverbinder (20).
Crossfader
Dieser Schieberegler erhögt ein schnelles Überblenden von einem Kanal zum anderen. Beispiel: Stellen Sie den linken ASSIGN Knopf (11) auf Kanal A und den rechten ASSIGN Knopf auf Kanal D. Schieber Den nun den Crossfader (12) ganz nach links und Sie horen nur die Musik von Kanal A. Schieber Den Regler ganz nach rechts, horen Sie nur Kanal D. Sie konnen die ASSIGN Knopfe auf jeder beliebige Kanalkombination einstellen. Die Schieberegler der beiden betreffenden Kanale,müssen naturlich hochgefahren sein.
MASTERteil
Mit dem MASTER Schieberegler (10) wird der gesamte Ausgangspiegel zum Endversteller eingestellt. Der Pegel wird deutlich auf der Stereo LED Leiter (9) angezeigt. Stellen Sie den Pegel so ein, dass die roten LEDs nur kurz aufleuchten, um Verzerrung zu vermeiden. Der Cinch Verbinder zum Endversteller befindet sich auf der Rückseite und ist mit MASTER (18) gekennzeichnet. Der danebenliegende Stereo Cinch Verbinder mit der Bezeichnung,REC' (17) dient zum Anschluss des Ausgangssignals an einen Kassettenrekorder oder ein Tonband.
Kopfhörer
Schlieben Sie einen Stereokopfhörer mit 6,3mm Klinkenverbinder (15) an. Mit dem Drehregler (13) konnen Sie einen der fünf Eingangskanäle oder den MASTER Ausgang wahren. Die Lautstärke wird mit dem LEVEL Drehregler (14) eingestellt.
Einschalten
Nach Anschluss der Musikquellen und des Endverstärkers an das Mischpult müssen alle Schieberegler in die unterste Stellung gebracht werden. Erst dann dürfen das Mischpult und der Endverstärker eingeschaltet werden.
Auswechseln des crossfaders
Durch den intensiven Gebrauch diesen Schiebereglers muss er von Zeit zu Zeit ausgewechselt werden. Entfern den Sie die beiden kleinen Schrauben auf der Platte des Crossfaders mit einem passenden Kreuzschlitzschraubendreher und holen Sie den Crossfader vorsichtig hersaus. Ziehen Sie den Verbinder vom Crossfader ab und stecken Sieihn auf den neuen Crossfader. Er kann nur in eine Richtung eingesteckt werden. Stecken Sie den Crossfader zurück ins Mischpult undziehen Sie die beiden Schrauben wieder fest.
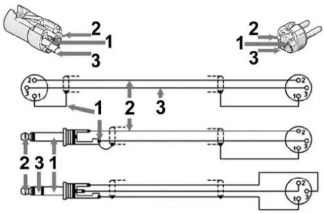
Anschlussmöglichkeiten des kombinierten mikrofoneingangs
Der XLR Eingang kann auch asymmetrisch benutzt werden. Hierzu den mittleren Stift met der Masse verbinden.

1 = Masse (Erde)
2= Signal +
3= Signal -
FUNKTIONEN
Vorderseite
- POWER Ein/Ausschalter
- INPUT SELECTOR (4x) Eingangssignalwahlschalter für beiden Kanäle
- TREBLE (4x) Hoher Klangregler für beiden Kanäle
- BASS (4x) Tiefer Klangregler fur beiden Kanäle
5.CHANNEL (4x) Schieberegler fur die Lautstärke beider Kanale - MIC Kombinierte 6,3mm/ XLR Buchse zum Anschluss eines Mikrofons
- MIC LEVEL Regler für die Lautstärke des Mikrofons
- TALK OVER Übersprechdämpfung
- VU-METER Zeigt die Ausgangssignalstärke an
- MASTER Lautstärkeregler des Ausgangssignals
- ASSIGN Kanalwahl fur die Crossfaderfungtion
- CROSSFADER Schieberegler zum schellen Wechseln zwischen beiden Kanalen
- CUE SELECT Wahlschalter zur Wiedergabe der Kanäle über den Kopfhörer
- PFL LEVEL Mikrofonlautstärkeregler
- HEADPHONES 6.3mm Klinkenbuchse für den Kopfhörer
RÜCKSEITE
- EARTH Erdanschluss fur den Masseleiter der Platterspieler.
- REC Cinch Anschluss für einen Recorder
- MASTER Cinch Anschluss zum Veränder
19/21 CHANNEL PHONO & LINE Cinch Anschlisse für ein PHONO oder LINE Gerät (CD
Spielerr,
Tuner
usw.)
fur
die
Kanäle
- MIC 6.3mm Klinkenbuchse für ein Mikrofon
Repairien Sie das Gerät niemals selbst und nehmen Sie niemals eigennächting Veränderungen am Gerät vor. Sie verlieren dadurch den Garantieanspruch. Der Garantieanspruch verfallt ebenfalls bei Unfallen und Schäden in jeglicher Form, die durch unsachgemäß Gebrauch und Nichtbeachtung der Warnungen und Sicherheitshinweise in dieser Anleitung entstanden sind. SkyTronic BV ist in keinem Fall verantwortlich für persönliche Schäden in Folge von Nichtbeachtung der Sicherheitsvorschriften und Warnungen. Dies gilt auch fur Folgeschäden jeglicher Form.
DK
Hovedtelefon sektion
Der kan tikkobles en stereo hovedtelefon med 6.3mm stereo jackstik (15). Reguleringen umiidelbart over, bestemmer lydstyrken i hovedtelefonen, og med drejeomskifteren (13) vaelges den kanal der onskes aflyttet (monitor valg) (14).
EinfachAnleitung