TV 5553RF - Fernseher Magnum - Kostenlose Bedienungsanleitung
Finden Sie kostenlos die Bedienungsanleitung des Geräts TV 5553RF Magnum als PDF.
Questions des utilisateurs sur TV 5553RF Magnum
0 question sur cet appareil. Repondez a celles que vous connaissez ou posez la votre.
Poser une nouvelle question sur cet appareil
Laden Sie die Anleitung für Ihr Fernseher kostenlos im PDF-Format! Finden Sie Ihr Handbuch TV 5553RF - Magnum und nehmen Sie Ihr elektronisches Gerät wieder in die Hand. Auf dieser Seite sind alle Dokumente veröffentlicht, die für die Verwendung Ihres Geräts notwendig sind. TV 5553RF von der Marke Magnum.
BEDIENUNGSANLEITUNG TV 5553RF Magnum
Rec. Manuelle
Rec.Auto
Rec.Auto
Commence par
P0
Système
URO.
Recherche
ARRET
Rec. Manuelle
Rec.Auto
- Zenderinstellungen 40
7.1. Automatisch zenders zoeken 40
7.2.Zendersbekijken 40
7.3.Zendernaam ingeven 41
7.4.Zendersomwisselen 41
7.5.Zenderswissen 42
7.6. Handmatig zenders zoeken 42
7.7. Handmatige fijnafstemming 43
- Beeld en geluid 44
8.1 BEELDKWALITEIT INSTELLEN

8.2 GELUID INSTELLEN

12. TECHNISCHE GEGEVENS
Elektrische gegevens
Netspanning 230V 50Hz
- Sicherheitshinweise 53
- Bedienelemente 55
- Vorbereitung 58
3.1.Lieferumfang 58
3.2. Einlagen der Batterien 58
3.3.Aufstellen des Gerates 58
3.4.Antennenkabel anschlieBen 58
3.5.Netzanschluss 58 - Geräte anschlieben 59
- Ein- und ausschalten 61
5.1. Ein-/Ausschalter 61
5.2.Fernseher einschalten 61
5.3. Erstes Einsatzen 61
5.4. Fernseher ausschalten 61 - Grundbedienung 62
6.1.Bildschirmenu 62
6.2.Wichtige fonctionen 62 - Sendereinstellungen 64
7.1.Automatische Sendersuche 64
7.2. Sender ansehen 64
7.3. Sendernamen eingeben 65
7.4. Sender umsortieren 65
7.5. Sender loschen 66
7.6. Manuelle Sendersuche 66
7.7. Manuelle Feinabstimmung 67 - Bild und Ton 68
8.1. Bildqualität einstellen 68
8.2. Ton einstellen 68
8.3. Stereo / Mono / Zweikanalton 69 - Sonderfunktionen 70
9.1. Kindersicherung 70
9.2. Ausschalten über Timer 71
9.3.Sprache 71 - Videotext / Fastext 72
- Problemlösungen 74
- Technische Daten 75
Herzlichen Glückwunsch
Großer Bildschirm für brillante Bilder, einwandfreier Stereoton und eine einfache Bedienung; so wird der Fernsehabend zum Genus.
Auf 100 Programmplätzen können Sie ihre Sender speichern. Für die erstige Einstellung hilft ihren der automatische Sonderzuschlag, der schnell und sicher alle empfangbaren Sender findet und speichert.
Alle Einstellungen konnen Sie bequem mit der Fernbedienung und dem Bildschirmenu vornehmen.
Für den Anschluss weiterer Geräte stehen Ohnen zwei Scart einschlüsse und ein Audio-Videoanschluss zur Verfugung.
Viel Spaß mit Ihr dem neuen Fernsehgerät!
1. SICHERHEITSHINWEISE
Allgemeine Hinweise
- Bevor Sie das Fernsehgerat anschließen,lesen Sieitte die Sicherheitschinweise und die Bedienungsanleitung aufmerksam durch. Nur so nutzen Sie alle Funktionen sicher und zuverlassignig.
- Bewahren Sie die Bedienungsanleitung möglichst beim Gerät auf, damit Sie darin nachschlagen konnen.
- Verpackungsmaterial ist kein Kinderspielzeug. Kinder dürfen nicht mit den Kunststoffbeuteln playen. Es besteht Erstickungsgefahr.
- Lassen Sie Kinder niemals unbeaufsichtigt elektrische Geräte benutzen.
- Achten Sie daraufuf, dass Kinder niemals Fremdkörper in die Lüftungsschlitze oder Löscher in der Rückwand stecken.
Umgebungsbedingungen
- Schützen Sie das Gerät vor Feuchtigkeit, Tropf- oder Spritzwasser: es besteht die Gefahr eines elektrischen Schlages. Stellen Sie zum Beispiel keine Vasen oder Blumentöffe auf das Gerät.
V ermeiden Sie das Eindringen von Fremdkörpern und Flüssigkeiten in das Gerät. - Schützen Sie das Gerät vor Hitze: es besteht Brandgefahr. Bedecken Sie nicht die Lüftungsschlitze. Wenn Sie das Gerät in einem Regal aufstellen, halten Sie an den Seiten einen Abstand von mindestens 10 cm, oben und hinteren einen Abstand von mindestens 20 cm ein. Stellen Sie kein offenes Feuer, zum Beispiel brennende Kerzen, auf das Gerät.
- Stellen Sie das Gerät so auf, dass kein direktes Sonnenlicht darauf fällt.
- Beachten Sie beim Aufstellen das hohe Gewicht des Gerätes. Stellen Sie safer, dass der Untergrund das Gewicht auch tragen kann. Wenn Sie das Gerät in ein Regal stellen, achten Sie besoin der Tragfähigkeit der Regalböden auch darauf, dass das Regal nicht umkippen kann.
- Stellen Sie das Fernsehgerät nichtiben Geräten auf, die Magnetfelder erzeugen, wie beispielsweise HiFi-Lautsprecher oder Elektromotoren, da sonst die Farbwiedergabe beeinträchtigt werden und es zu Farbflecken kommt kann.
Netzanschluss
SchlieBen Sie das Gerät nur an eine geerdete Steckdose (230V~ 50Hz) an.
- Achten Sie beim Aufstellen des Gerätes darauf, dass das Stromkabel oder andere Kabel nicht eingeklemmt oder gequetscht werden.
Ziehen Sie bei Gewitter den Netzstecker.
- Um den Netzstecker aus der Steckdose zuziehen, immer am Stecker, nie am Kabelziehen.
Antennenanschluss
-itte benutzen Sie nur ein spezielles, doppelt abgeschirmtes Antennenkabel, um den Antennenanschluss herzustellen. Sonst kann es zu Beeintrachtigungen bzw. Störungen der Bildqualitat kommt.
Störungen
- Ziehen Sie bei Beschädigungen des Netzanschlusskabels oder des Gerätes(sofort den Netzstecker aus der Steckdose.
- Versuchen Sie auf keinen Fall, das Gerät selbst zu öffnen und/oder zu reparieren.
Kopfhorer
- Das zu laute Horen von Musik oder Fernsehton über einen Kopfhörer kann zu Schädigungen am Gehör führn.
Reinigung und Pflege
V or der Reinigungziehen Sie den Netzstecker aus der Steckdose.
- Für die Reinigung verwenden Sie nur ein leicht angefeuchtetes, weiches Tuch. Verwenden Sie keine scharfen oder scheuernden Reinigungsmittel.
Batterien
- Batterien können beim Verschlucken lebensgefährlich sein. Bewahren Sie deshalb Batterien und Fernbedienung für Kleinkinder unerreichbar auf. Werde eine Batterie verschlukt, solle sofort medizinische Hilfe in Anspruch genommen werden.
Die beiliegenden Batterien durren nicht geladen oder mit anderen Mitteln reactiviert, nicht auseinander-genommen, ins Feuer geworfen oder kurzgeschlossen werden. - Nehmen Sie verbrauchte Batterien immer sofort aus der Fernbedienung hers, da diese auslaufen und somit Schaden verursachen konnen.
- Ersetzen Sie immer jeweils beiden Batterien.
- Benutzen Sie keine verschiedene Batterie-Typen, -Marken oder welche mit entsprechender Kapazität.
Umweltschutz
- V erbrauchte Batterien müssen sichgerecht entsorgt werden. Zu dieserm Zweck stehen im batterievertreibenden Handel sowie bei den communalen Sammelstellen entsprechende Behälter zur Batterie-Entsorgung bereit.

2. BEDIENELEMENTE

- V Video-Eingang (AV2)
- R L Stereo-Audio-Eingänge (AV2)
- Kopfhöreranschluss: Bei Zweikanalton konnen Sie über Kopfhörerausgang und Lautsprecher verschiedene Tonkanäle horen. (Einstellung im Menu TON unter KOPFHÖRER)
-
-
- Lautstärke leiser/lauter
-
-
- P + Programme umschalten
- Bereitschaftsleuche und Infrarotssensor für die Fernbedienung
- Eio/Ausschalter
- Lautsprecher

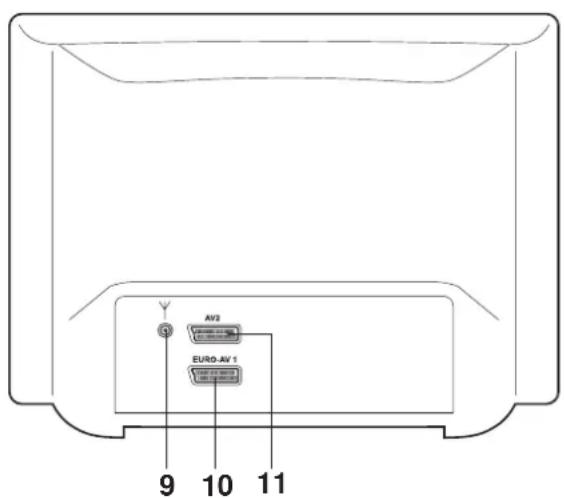
- Antennenanschluss 75 Ohm
- EURO-AV1 Euro-AV/SCART-Buchse (RGB, S-Video) Kanal: AV1
- AV2 SCART-Buchse Kanal: AV2

- Infrarotsender
- Feinseher auf Standby schalten
3.0...9 Zifferntasten: Programme / Videotextseiten aufrufen - 16:9 Bildformat zwischen 4:3 und 16:9 wechseln
- PP Bild- und Tonvoreinstellungen aufrufen: BENUTZER, KINO, MUSIK, SPORT
- Zwischen zwei Programmen hin- und herschalten
- P+ Programm aufwarts / im Menu blättern /{nachste Videotextseite aufrufen
- V+ Lautstärke erhöhen / Menüpunkte aufrufen / Einstellungen im Menu vornehmen
- P-Programm zurück / im Menu blättern / vorherige Videotextseite aufrufen
- AV Wahltaste für die Wiedergabe von angeschlossenen Geräten (AV1, AV2)
- EXIT Hauptmenü verlassen / zurück zum vorherigen Menü
- gelbe Taste Das Menu TON direkt aufrufen / im Menu EINSTELLUNG: Sender verschiben
- blae Taste Das Menu BILD direkt aufrufen / im Menu EINSTELLUNG: Sender markieren und ansehen
- /weiBe Taste Videotext: Übersichtsseite 100 aufrufen / im Menu EINSTELLUNG: Automatischen Sendersuchlauf aufrufen / im Menu TON: Menu KOPFHÖRER aufrufen
- Uhrzeit einblenden / Videotext: Unterstellen direkt aufrufen
- Videotext: verborgene Videotextseiten aufrufen (z.B. Quizlösungen)
- x Videotext vorrübergehend in den Hintergrund legen
- Videotext vergroßern
- Videotext: automatisches Blättern stoppen/fortsetzen
- Videotext: Fernsehbild und Videotext mischen
- Videotext ein- und ausschalten
- rote Taste Das Menu EINSTELLUNG (Sendereinstellungen) direkt aufrufen / im Menu EIN-STELLUNG: Sender Löschen / Fastext-Taste
- grüne Taste Das Menu Anderes MEN (Sprache, Ausschalttimer) direkt aufrufen / im Menu EINSTELLUNG: Manuelle Sendereinstellungen vornehmen / Fastext-Taste 24. TV aus dem Menu oder Videotext zum Fernsehbild umschalten
- MENU Hauptmenu aufrufen oder verlassen / zurück zum vorherigen Menu
- V- Lautstärke verringern / Menupunkte aufrufen / Einstellungen im Menu vornehmen
- S/M/D Umschalten: Stereo/Mono; bei Zweikanalton: Dual I /Dual II
- Stummschaltung ein/aus
- i Programmplatz, Sendername und Toneinstellung anzeigen
3. VORBEREITUNG
3.1 LIEFERUMFANG
Vergewissern Sie sich beim Auspacken, dass folgende Teile mitgeliefert wurden:
Fernsehgerat
Fernbedienung (inkl. Batterien)
Bedienungsanleitung und Garantie
3.2 EINLEGEN DER BATTERIEN
Sie benötigen zwei Microzellen Typ AAA 1,5 Volt.
1. Offnen Sie das Batteriefach auf der Rückseite der Fernbedienung und legen Sie die mitgelieferten Batterien ein.
Wichtig! Beachen Sie die Polarität.
2. Schlieben Sie das Batteriefach wieder.
3.3 AUFSTELLEN DES GERÄTES
Stellen Sie Ihr Fernsehgerät auf eine stabile, ebene Oberfläche. Achten Sie darauf, dass der Untergrund das Gewicht des Fernsehers tragen kann.
Setzen Sie das Gerät keiner extremen Hitze oder Feuchtigkeit aus.
Achten Sie auf eine ausreichende Belüfung des Geräts von allen Seiten. Bei Einbau in eine Schrankwand müssen an den Seiten mindestens 10 cm, oben und hinten mindestens 20 cm Platz zur Belüfung frei bleiben.
3.4 ANTENNENKABEL ANSCHLIEBEN

Wichtig!
Schlieben Sie das Antennenkabel an, bevor Sie den Netzstecker in die Steckdose stecken.
Für optimale störungsfreie Bildqualität verwenden Sie ein fehlerfreies, doppelt geschirmtes 75 Ohm-Antennenkabel.
Steen Sie den Stecker des Antennenkabels in die Buchse an der Rückseite des Fernsehers.
3.5 NETZANSCHLUSS
Das Fernsehgerat ist fur Wechselstrom 230V 50Hz ausgelegt.
Schlieben Sie das Gerät mit dem Netzanschlusskabel an eine gut zugängliche Steckdose an.
4. GERÄTE ANSCHLIEN
Das Fernsehgerat ist mit einer Reihe von Anschlüssen ausgestattet, an denen zahlreiche Geräte (z.B. Videorecorder, DVD-Player) angeschlossen werden können.
Wichtig! Achten Sie darauf, dass der Fernseher und die anzuschliebenden Geräte ausgeschaltet sind, bevor Sie sie anschließen.
Beachten Sie die Anleitungen der Geräte, die Sie anschließen möchten.
SCART-Anschlüsse AV1, AV2
Über die SCART-Anschlüsse auf der Rückseite wird Bild und Ton in sehr gutter Qualität übertragen.
Sie können dort Geräte wie zum Beispiel Videorecorder, DVD-Player, Satellitenempfänger, Sielekonsolen oder Pay-TV-Decoder anschließen.
Für die optimale Bildwiedergabe (RGB) schlieben Sie Geräte mit hochwertigen Bildsignalen (z. B. Spielkonsolen oder DVD-Player) mit einem vollbelegten Scartkabel an die Scartbuchse AV1 an.
Beide SCART-Anschlusses konnen als Ein- und Ausgabe genutzt werden.
Videorecorder, DVD-Player usw. über Scart anschließen

- Verbinden Sie die Hausantenne oder den Kabelanschluss direkt mit dem Videorecorder.
- Verbinden Sie den Videorecorder über ein Scartkabel mit einer Scartbuchse des Fernsehers.
- Mit einem Antennenkabel den Videorecorder mit der Antennenbuchse des Fernsehers verbinden.
In diesen Fall führen Sie das Videobild auf AV1 oder 2. Das hangt davon ab, welche Scartbuchse am Fernseher verwendet wird.
- S-Videogeräte konnen über ein Scart/S-Videokabel an den Scartanschluss AV1 angeschlossen werden.
- Über die Scartbuchsen können Sie auch andere Geräte wie z.B. DVD-Player, Spielekonsolen oder Decoder anschließen.
Videorecorder nur über Antenne anschlieben

- Verbinden Sie die Hausantenne oder den Kabelanschluss direkt mit dem Videorecorder.
- Mit einem Antennenkabel den Videorecorder mit der Antennenbuchse des Fernsehers verbinden.
In diesen Fall führen Sie das Videobild nicht auf AV. Stellen Sie einen noch nicht belegten Programmplatz für den Videorecorder ein. Bei laufendem Videorecorder stellen Sie die richtige Frequenz mithilfe der Manuelien Sendersuche ein (siehe "Manuelle Sendersuche" auf Seite 66.). Beachten Sie auch die Anleitung des Videorecorders.
Hinweis: Eine bessere Bildqualität erhalten Sie bei einem Anschluss über ein Scartkabel.
Geräte über Audio/ Videobuchsen anschließen



Camcorder besitzen keinen Scartanschluss. Deshalb werden diese Geräte an die Audio-Video-Eingänge des Fernsehers angeschlossen. Sie können natürlich auch andere Abspielgeräte über diese Buchsen anschließen. Die Wiedergabe erfolgt über den AV2.
Satelliten- und Videogeräte

5. EIN- UND AUSSCHALTEN
5.1 EIN-/AUSSCHALTER

Drücken Sie auf den Ein-/Ausschalter, um den Fernseher in Bereitschaft (Standby) zu bringen. Das Lämpchen in der Mitte leuchtet rot auf.
5.2 FERNSEHER EINSCHALTEN
Um den Fernseher aus der Bereitschaft (Standby) einzuschalten, drücken Sie:
- entweder eine Zifferntaste auf der Fernbedienung oder
- eine der Tasten P+- am Fernseher oder
- die Tasten P + / P - auf der Fernbedienung
5.3 ERSTES EINSCHALTEN
Beim ersten Einsatz öffnet sich automatisch das Menu mit den Sprachen, das Sie dann zur automatischen Sendersuche führt.

Drucken Sie die grüne Taste. Das Fenster Anderes MENU erscheint.
Wahlen Sie mit den Tasten P + / P Sprache.
Mit den Tasten V + / V wahlen Sie eine Sprache aus.
Gehen Sie zurück zum HAUPTMENU mit den Tasten MENU oder EXIT. Oder verlassen Sie das Menu ganz mit der Taste TV.
Stellen Sie nun die Sender ein, siehe "Automatische Sendersuche" auf Seite 64.
5.4 FERNSEHER AUSSCHALTEN
Um den Fernseher auszuschalten, drücken Sie die Taste auf der Fernbedienung. Bild und Ton werden abgeschaltet. Der Fernseher bleibt jedoch in Bereitschaft (Standby), damit Sieihn mit der Fernbedienung wieder einschalten können.
Da das Gerät in thisem Modus noch etwas Strom verbraucht, schalten Sie es mit dem Ein-/Ausschalter am Gerät aus, wenn Sie es langere Zeit (z.B. in der Nacht) nicht benutzen.
Abschaltautomatik:
Das Gerät schaltet automatisch auf Standby, wenn es 5 Minuten lang kein Signal empfangen hat, also z.B. nach Sendeschluss. Auf dem Bildschirm erscheint die Anzeige KEIN SIGNAL und die Zeit wird heruntergebnztählt. Diese Abschaltautomatik Funktioniert nicht bei den AV-Kanalen.
6. GRUNDBEDIENUNG
Alle wichtigen Einstellungen des Fernsehgerätes konnen Sie bequem im Bildschirmenu vornehmen. Um das Menu aufrufen zu konnen, benötigen Sie die Fernbedienung.
6.1 BILDSCHIRMMENU
So benutzen Sie das Menu:
| HAUPTMENÜ |
| BILD |
| TON |
| ANDERES MENÜ |
| KINDERSICHERUNG |
| EINSTELLUNG |
- Rufen Sie das HAUPTMENU auf, indem Sie die Taste MENU drükken.
- Wahlen Sie mit den Tasten P+ oder P- einen Menupunkt aus.
- Mit den Tasten V_+ oder V- rufen Sie den Menupunkt auf. Ein Unter-. menu oder Einstellungsmoglichkeiten erschinen.
- Im Untermenü wahlen Sie die Menüpunkte wiederum mit den Tasten P + / P und rufen diese mit V + / V auf.
- Nehmen Sie die Einstellungen mit den Tasten V+ oder V- vor.
- Zum Speichern markieren Sie den Menüpunkt Speichern und drücken V+ oder V-.
- Kehren Sie zum vorherigen Menu zurück oder verlassen Sie das Hauptmenu, indem Sie die Tasten MENU oder EXIT drucken.
- Sie können das Menusofar verlassen, indem Sie die Taste TV drucken. Mit TV wechseln Sie zum zuletzt eingestellen Fernsehprogramm.
Schnellanwahl
Sie konnen die Menüpunkte des Hauptmenü auch direkt über die 4 farbigen Tasten aufrufen.
rote Taste: EINSTELLUNG (Sendereinstellungen)
grüne Taste: ANDERES MENU (Sprache, Ausschalttimer)
gelbe Taste:TON
blaue Taste: BILD
6.2 WICHTIGE FUNKTIONEN
EinProgrammaufrufen
Um einen Programmplatz aufzurufen, haben Sie folgende Möglichkeiten:
- Drucken Sie die Tasten P + / P - an der Fernbedienung oder am Fernseher.
- Geben Sie mit den Zifferntasten an der Fernbedienung eine Programmnummer ein. Bei zweistelligen Programmnummern drücken Sie zügig hintereinander beiden Ziffern.
- Drücken Sie einmal die rote Taste. Eine Beste der Programme erscheint auf dem Bildschirm. Bewegen Sie die Markierung mit den Tasten P + / P in der Beste auf und ab. Mit den Tasten V + / V blättern Sie jeweils 10 Nummern weiter oder darüber. Um das markierte Programm zu sehen, drücken Sie die blaue Taste. Um das Fenster wieder zu schreiben, drücken Sie die Taste TV.
- Mit der Taste sshalten Sie zwischen dem aktuellen und dem zuletzt gesehenen Programm beliebig oft hin und her.
Programminformationen einblenden
Drücken Sie die Taste i um folgende Informationen einzublenden: den Programmplatz, den Sendernamen und den Ton-Modus (Mono, Stereo, Zweikanalton).
Lautstärke regeln
- Drücken Sie die Tasten V+ oder V- an der Fernbedienung oder eine der Lautstärketasten am Fernseher, um die Lautstärke einzustellen.
- Um den Ton ganz abzuschalten, drücken Sie die Taste um den Ton wieder einzuschalten, drücken Sie erneut die Taste oder V+ .
Hinweis:
These Einstellungen beeinflussen nur die Lautsprecher, jedoch nicht den Kopfhörer.
Uhrzeit einblenden
Drücken Sie die Taste die Uhrzeit ein- und wieder auszublenden.
Bildformat anpassen
Mit der Taste 16:9 konnen Sie zwischen den Formaten 4:3 und 16:9 umschalten.
4:3 entspricht dem Fernsehbildschirm. Die meisten Fernsehsendungen werden in thisem Format gesendet.
Manche Fernsehfilme werden im Format 16:9, einem gängigen Breitbartfeldformat, ausgestrahlt. Dies ist in Fernsehprogramm-Zeitschriften oft extra ausgewiesen.
Bild-/ Ton-Voreinstellungen
Durch Drücken der Taste PP an der Fernbedienung wahlen Sie zwischen vier verschiedene Voreinstellungen für Bild und Ton: BENUTZER, KINO, MUSIK und SPORT.
Mit BENUTZER rufen Sie ihre eigenen Voreinstellungen auf, die Sie in den Menü BILD und TON gespeichert haben.
Durch Drucken der Taste PP werden alle nicht gespeicherten, von Ihnen vorgenommen Veränderungen für Bild und Ton gelöscht.
Wenn Sie den Fernseher einschalten, nach dem er mit dem Ein-/Ausschalter ganz ausgeschelt war, ist ihre Voreinstellung BENUTZER aktiv.
Stereo / Mono / Zweikanalton
- Wird eine Sendung in Stereo empfangen, können Sie mit der Taste S/M/D zwischen STEREO und MONO wahlen. Oben rechts im Bild wird kurz eingebrendet, welche Einstellung gewählt wurde.
- Wird eine Sendung in Mono empfangen, können Sie hier nicht umschalten. Oben rechts im Bild wird keine Angabe über den Ton eingeblendent.
- Einige Sendungen werden in Zweikanalton ausgestraht, das heißt z.B. in zwei verschiedenen Sprachen. Bei diesen Sendungen können Sie zwischen den beiden Kanalen DUAL I und DUAL II wahlen.
Hinweis:
These Einstellungen beeinflussen nur die Lautsprecher, jedoch nicht den Kopfhörer.
Kopfhöreranschluss
An der rechten Seite des Fernsehers konnen Sie einen Kopfhörer anschlieben. Im Menu Kopfhörer werden die Ton-Einstellungen für den Kopfhörer unabhängig von den Laatsprecher-Einstellungen vorgenommen. So kann der Ton für die Kopfhörer lauter gestellt werden als für die Laatsprecher oder Sie konnen bei Zweikanalton gleichzeitige Sprache über die Laatsprecher und die andere über die Kopfhörer wiedergeben. (siehe "Kopfhörer" auf Seite 69.)
Externe Geräte
Statt eines Programmes des Fernsehers konnen Sie Filme oder Sendungen von externen Geräten, wie ein dem Satellitenempfänger, Videorecorder oder Camcorder anschauen.
Hinweis: Fernseher und das externe Gerät müssen eingeschaltet sein.
- Drucken Sie so oft die Taste AV, bis das Bild von dem gewünschten Anschluss angezeigt wird.
7. SENDEREINSTELLUNGEN
7.1 AUTOMATISCHE SENDERSUCHE
Der Fernseher kann automatisch alle verfügbar Sonderuchen und sie den Programmplätzen zuordnen.
EINSTELLUNG
0 048MHz
1 055MHz
2 062MHz
3 126 MHz
4 133 MHz
5 140 MHz
6 147 MHz
7 154MHz
8 161MHz
9 168 MHz
Auswahlen Man. Eins.
Verschieben Auto Prog.
Löschen
Auto Prog.
Zuerst P1
System EURO.
Suchlauf AUS
- Drücken Sie die rote Taste. Das Fenster EINSTELLUNG erscheint.
- Aktivieren Sie Auto Prog. mit der weißen Taste das Fenster Auto Prog. erscheidt.
- Markieren Sie mit den Tasten P + / P Zuerst und wahlen Sie mit den Tasten V + /V - , bei welchem Programmplatz der erste Sender gespeichert werden soll. Wollen Sie z.B. die auf den Programmplatzzen 1-10 gespeicherten Programme behalten, geben Sie hier P11 ein.
- In der Zeile System ist keine andere Einstellung möglich.
- Markieren Sie mit den Tasten P + / P Suchlauf. Drucken Sie die Taste V+ , um die Sueche vorwarts zu starten, oder V- , um die Sueche ruckwarts zu starten.
- Die Sender werden jetzt gesucht. Wenn ein Sender gespeichert wird, wird dieser kurz auf dem Bildschirm angezeigt, bevor der Suchlauf fortgesetzt wird.
- Nach erfolgreichem Suchlauf wird wieder das Menu EINSTEL-LUNG eingebrendet. Hier sehen Sie die Liste mit den Programmplatzen und den Frenquenzen (in MHz) der gefundenen Sender.Jetzt konnen Sie die Sender umsortieren oder loschen und Sendernamen eingeben.
Hinweis: Drucken Sie MENU, um den Suchlauf abzubrechen.
7.2 SENDER ANSEHEN
EINSTELLUNG
0 048MHz
1 055MHz
2 062 MHz
3 126MHz
4 133 MHz
5 140MHz
6 147 MHz
7 154 MHz
8 161 MHz
9 168 MHz
Auswahlen Man. Eins.
Verschieben Auto Prog.
Löschen
- Wahlen Sie das Menu EINSTELLUNG. Das darüber hende Fenster erscheint.
- Bewegen Sie die Markierung mit den Tasten P + / P in der Liste auf und ab. Mit den Tasten V+/V- blättern Sie jeweils 10 Nummern weiter oder darüber.
- Um das markierte Programm zu sehen, drücken Sie die blaue Taste.
7.3 SENDERNAMEN EINGEBEN
Zu jedem Sender konnen Sie einen Name aus bis zu f芮 Zeichen eingeben. Dserr Name erscheint, wenn Sie den Sender wechseIn oder die Taste drucken.
EINSTELLUNG
| 0 | 048 MHz | - - - - - |
| 1 | 055 MHz | - - - - - |
| 2 | 062 MHz | - - - - - |
| 3 | 126 MHz | - - - - - |
| 4 | 133 MHz | - - - - - |
| 5 | 140 MHz | - - - - - |
| 6 | 147 MHz | - - - - - |
| 7 | 154 MHz | - - - - - |
| 8 | 161 MHz | - - - - - |
| 9 | 168 MHz | - - - - - |
| □ Auswählen □ Man. Eins | ||
| □ Verschieben □ Auto Prog | ||
| □ Löschen | ||
Man. Eins.
| Program | P 30 |
| Name | |
| System | EURO. |
| Suchlauf | 335 MHz |
| Fein | |
| Speichern |
- Drucken Sie die rote Taste. Das Fenster EINSTELLUNG erscheint.
- Mit den Tasten P + / P und V + / V wahlen Sie den Sender aus.
- Drücken Sie dann die grüne Taste. Das Menu Man. Eins. erscheint.
- Mit den Tasten P_+ oder P- gehen Sie auf Name.
- Drucken Sie V+. Der erstige Strich blinkt.
- Mit den Tasten P+ oder P- konnen Sie jetzt ein Zeichen auswahlen.
- Mit der Taste V+ wechseln Sie zur nachsten Position. Wahlen Sie auch hier mit den Tasten P+ oder P- ein Zeichen aus.
- Wenn Sie den Sendernamen fertig eingegeben haben, drücken Sie so oft die Taste V_+ , bis keine Position mehr blinkt.
- Bewegen Sie jetzt die Markierung mit + oder P- auf Speichern und drucken V+ oder V-. Es erscheint kurz GESPEICH.
- Gehen Sie mit der Taste MENU oder EXIT zurück zur Programm-liste im Menu EINSTELLUNG. Oder drücken Sie die Taste TV, um das Menu ganz zu verlassen.
7.4 SENDER UMSORTIEREN
Sie konnen die Programmplätze der Sender leicht ändern.
EINSTELLUNG
| 0 | 048 MHz | |
| 1 | 055 MHz | |
| 2 | 062 MHz | |
| 3 | 126 MHz | |
| 4 | 133 MHz | |
| 5 | 140 MHz | |
| 6 | 147 MHz | |
| 7 | 154 MHz | |
| 8 | 161 MHz | |
| 9 | 168 MHz | |
| □ Auswählen □ Man. Eins | ||
| □ Verschieben □ Auto Prog | ||
| □ Löschen | ||
- Drucken Sie die rote Taste. Das Fenster EINSTELLUNG erscheint.
- Mit den Tasten P + / P- und V + / V- markieren Sie den Sender, den Sie auf einen anderen Programmplatz verschieben möchten.
- Drücken Sie dann die blaue Taste. Der gewählte Sender ist jetzt gelb markiert und im Hintergrund zu sehen.
- Wahlen Sie nun den gewünschten neuen Programmplatz mit den Tasten P + / P- und V + / V- an.
- Drucken Sie die gelbe Taste.
- Der Sender ist nun auf dem neuen Programmplatz gespeichert. Der alte Sender auf thisem Platz wird einen Programmplatz verschieden.
7.5 SENDER LÖSCHEN
Sie konnen uninteressante oder doppelte Sender von einem Programmplatz loschen.

- Drucken Sie die rote Taste. Das Fenster EINSTELLUNG erscheint.
- Mit den Tasten P + / P und V + / V markieren Sie den Sender, den Sie loschen möchten.
- Wenn Sie den Sender zuerst ansehen möchten, drücken Sie die blaue Taste.
- Drücken Sie dann die rote Taste. Der gewählte Sender ist gelöscht. Die nachfolgenden Sender rutschen einen Programmplatz hoch.
7.6 MANUELLE SENDERSUCHE
Sie konnen einzelnse Sender manuell einstellen.

- Drucken Sie die rote Taste. Das Fenster EINSTELLUNG erscheint.
- Markieren Sie mit den Tasten P + / P und V + / V den Programmplatz, auf dem der Sender gespeichert werden soll.
- Drücken Sie die grüne Taste. Das Menu Man. Eins. erscheint.
- Markieren Sie mit den Tasten P + / P Suchlauf. Drucken Sie die Taste V+ , um die Sueche vorwarts zu starten. Drucken Sie die Taste V- , um die Sueche ruckwarts zu starten.
- Wenn ein Sender gefunden wurde, wird dieser auf dem Bildschirm angezeigt und die Frequenz (in MHz) eingeblendet. Um den Suchlauf fortzusetzen, drücken Sie erneut V+ bzw. V-.
- Um den Sender zu speichern, markieren Sie Speichern und drücken V+ oder V-. Es erscheint kurz GESPEICH.
- Gehen Sie mit der Taste MENU oder EXIT zurück zur Programm-liste im Menu EINSTELLUNG. Oder drücken Sie die Taste TV, um das Menu ganz zu verlassen.
7.7 MANUELLE FEINABSTIMMUNG
Normalerweise werden die Sender automatisch richtig abgestimmt. Bei schlechten Empfangsbedingungen kann es darauf aber zu Problemen kommt. In diesen Fall konnen Sie den Sender manuell abstammen.

- Drucken Sie die rote Taste. Das Fenster EINSTELLUNG erscheint.
- Markieren Sie mit den Tasten P + / P - und V_+ / V - den Sender, den Sie manuell abstimmen wollen.
- Drücken Sie die grüne Taste. Das Menu Man. Eins. erscheint.
- Markieren Sie mit den Tasten P + / P -Fein.
- Drücken Sie die Tasten V+ und V- , bis der Sender klar zu sehen und zu horen ist. In der mittleren Einstellung werden zwei keine Balken dargestellt.
- Um den Sender zu speichern, markieren Sie mit den Tasten P + / PSpeichern und drucken V+ oder V-. Es erscheint kurz GESPEICH.
- Gehen Sie mit der Taste MENU oder EXIT zurück zur Programm-liste im Menu EINSTELLUNG. Oder drücken Sie die Taste TV, um das Menu ganz zu verlassen.
8. BILD UND TON
Durch Drücken der Taste PP an der Fernbedienung wahlen Sie zwischen vier verschiedene Voreinstellungen für Bild und Ton: BENUTZER, KINO, MUSIK und SPORT.
KINO, MUSIK und SPORT sind Voreinstellungen, die Sie nicht verändern konnen.
Mit BENUTZER rufen Sie ihre eigenen Voreinstellungen auf, die Sie in den Menüß BILD und TON gespeichert haben.
Wenn Sie den Fernseher einschalten, nach dem er mit dem Ein-/Ausschalter ganz ausgeschelt war, ist ihre Voreinstellung BENUTZER aktiv.
Wenn Sie die Menus BILD und TON verlassen, ohne ihre Einstellungen zu speichern, bleiben diese zunachst aktiv, gehen aber beim Ausschalten oder durch Drucken der Taste PP verloren.
8.1 BILDQUALITÄT EINSTELLEN

- Wahlen Sie einen Sender.
- Drucken Sie die blaue Taste. Das Fenster BILD erscheint.
- Wahlen Sie mit den Tasten P + / P - den Punkt aus, den Sie einstellen möchten.
- Drücken Sie die Tasten V+ / V- , bis das Bild ihren Vorstellungen entspricht. Die Einstellungen werden in Statusbalken grafisch dargestellt.
- Wenn Sie alle Einstellungen gemacht haben, wahlen Sie mit den Tasten P + / P- Speichern.
- Zum Speichern drücken Sie V+ oder V-. Es erscheint kurz GESPEICH.
- Gehen Sie zurück zum HAUPTMENU mit den Tasten MENU oder EXIT. Oder verlassen Sie das Menu ganz mit der Taste TV.
8.2 TON EINSTELLEN

- Wahlen Sie einen Sender.
- Drucken Sie die gelbe Taste. Das Fenster TON erscheint.
- Wahlen Sie mit den Tasten P + / P - den Punkt aus, den Sie einstellen möchten.
- Drücken Sie die Tasten V + / V - , bis der Ton ihren Vorstellungen entspricht.
Unter Loudness können Sie die Tonintensität verstärken, indem Sie EIN wahlen.
Unter Ton Effect regeln sie den Raumklang mit den Einstellungen AUS, EIN, PANorama oder 3D-PANorama.
- Wahlen Sie mit den Tasten P + / P- Speichern.
- Zum Speichern drucken Sie V+ oder V-. Es erscheidt kurz GESPEICH.
- Gehen Sie darüber zum HAUPTMENU mit den Tasten MENU oder EXIT. Oder verlassen Sie das Menu ganz mit der Taste TV.
Kopfhörer
Die Toneinstellungen des Kopfhörers können und müssen unabhängig von den Toneinstellungen der Laufsprecher gewählt werden. So kann der Ton für die Kopfhörer lauter gestellt werden als für die Lautsprecher oder Sie können bei Zweikanalton gleichzeitige Sprache über die Lautsprecher und die andere über die Kopfhörer wiedergeben.

- Wahlen Sie einen Sender.
- Drücken Sie die gelbe Taste. Das Fenster TON entscheidt.
- Aktivieren Sie mit der weißen Taste das Menu KOPFHÖRER.
- Wahlen Sie mit den Tasten P + / P - einen Punkt aus, den Sie einstell- len möchten.
- Drucken Sie die Tasten V + / V_- , bis der Ton ihren Vorstellungen entspricht.
- Wahlen Sie Speichern und sichern Sie die Kopfhörereinstellung mit einer Taste V + / V Es erscheint kurz GESPEICH.
- Gehen Sie darüber zum Menu TON mit den Tasten MENU oder EXIT. Oder verlassen Sie das Menu ganz mit der Taste TV.
Hinweis: Beim Kopfhörer lässt sich der Ton nicht von Stereo auf Mono umschalten.
Zweikanalton: Wenn eine Sendung in Zweikanalton ausgestraht wird, konnen Sie unter TON zwischen Dual I und Dual II wahren. Z.B. konnen Sie für den Kopfhörer Dual II einstellen und gleichzeitig den ersten Kanal (Dual I) über die Laufsprecher horen.
8.3 STereo / MONO / ZWEIKANALTON
- Wird eine Sendung in Stereo empfangen, können Sie mit der Taste S/M/D zwischen Stereo und Mono wahlen. Oben rechts im Bild wird kurz eingebrendet, welche Einstellung gewählt wurde.
- Wird eine Sendung in Mono empfangen, können Sie hier nichts umschalten. Oben rechts im Bild wird keine Angabe über den Ton eingebrendet.
- Einige Sendungen werden in Zweikanalton ausgestraht, das heißt z.B. in zwei verschiedene Sprachen. Bei diesen Sendungen können Sie zwischen den beiden Kanalen Dual I und Dual II wahlen.
9. SONDERFUNKTIONEN
9.1 KINDERSICHERUNG
Um zu verhindern, dass Kinder unbeaufsichtigt fernsehen konnen, konnen Sie die Kindersicherung einschalten. Bei eingeschalteter Kindersicherung erscheint beim Einsatzen kein Fernsehbild. Nur nach Eingabe eines Geheimcodes ist es möglich fernzusehen.
Im Lieferzustand ist dieser Code auf 1234 voreingestellt. Geben Sie möglichst schnell einen eigenen Code ein.
Neuen Geheimcode eingeben


- Drucken Sie die Taste MENU.
- Markieren Sie im HAUPTMENü den Punkt KINDERSICHERUNG und drücken V+ oder V-. Das Fenster KINDERSICHERUNG erscheint.
- Geben Sie den alten Code ein (im Lieferzustand 1234).
- Markieren Sie im neuen Fenster die Zeile Neuer Geheimcode und drucken V+ oder V- . Statt XXXX sehen Sie nun ____.
- Geben Sie den neuen Code ein. Es erscheint Bestätigen ____.
- Geben Sie den neuen Code noch ein zweites Mal ein. Der neue Code ist gespeichert.
- Mit den Tasten EXIT oder MENU gehen Sie zurück zum HAUPT-MENU. Mit TV verlassen Sie das Menu ganz.
Kindersicherung ein-/ausschalten


- Drucken Sie die Taste MENU.
- Markieren Sie im HAUPTMENü den Punkt KINDERSICHERUNG und drücken V+ oder V-. Das Fenster KINDERSICHERUNG erscheint.
- Geben Sie den Code ein (im Lieferzustand 1234).
- Markieren Sie die Zeile Kindersicherung.
- Mit der Taste V+ oder V- schalten Sie die Kindersicherung EIN oder AUS.
Beim nachsten Einsatzen ist diese Einstellung wirksam.
Fernsehen mit Kindersicherung

Wenn die Kindersicherung auf EIN geschalteit ist, erscheint beim Einschalten des Fersehers das Fenster KINDERSICHERUNG.
- Geben Sie ihren Geheimcode mit den Zifferntasten ein. Das Fernsehbild erscheint.
Geheimcode vergessen
Sollten Sie ihren Geheimcode einmal vergessen haben, geben Sie anstelle des Codes sehr schnell hintereinander den fülfstelligen Code 23086 ein.
Nach der Eingabe these Codes wird der Geheimcode automatisch wieder auf den Lieferzustand (1234) zurückgesetzt und die Kindersicherung ausgeschelt.
Tipp: Um zu verhindern, dass Unbefugte diese Informationen lesen, sollen den Sie die eine Anleitung getrennt von Ihrem Fernsehgerat aufbewahren.
9.2 AUSSCHALTEN ÜBER TIMER
Mit der Ausschalten-Funktion konnen Sie eine Zeit zwischen 15 und 180 Minuten festlegen, nach der das Fernsehgerät automatisch ausgeschaltet wird.

- Drücken Sie die grüne Taste. Das Fenster Anderes MENU erscheint.
- Wahlen Sie mit den Tasten P + / P -Ausschalten.
- Mit den Tasten V + / V wahlen Sie eine Zeit zwischen 15 und 180 Minuten in 15-Minuten-Schritten. Mit V+ beginnen Sie bei 15 Minuten. Mit V- beginnen Sie bei 180 Minuten.
- Verlassen Sie die Einstellung mit der Taste TV.
Die letzten 60 Sekunden vor dem Ausschalten erscheidt eine Anzeige, in der die Sekunden heruntergebnigt werden.
9.3 SPRACHE
Wenn notwendig, passen Sie die Menusprache an ihre Bedürfnisse an. Sie haben die Auswahl zwischen 12 verschiedene Sprachen.

- Drücken Sie die grüne Taste. Das Fenster Anderes MENU erscheint.
- Wahlen Sie mit den Tasten P + / P Sprache.
- Mit den Tasten V_+ / V wahlen Sie eine Sprache aus.
- Gehen Sie zurück zum HAUPTMENU mit den Tasten MENU oder EXIT. Oder verlassen Sie das Menu ganz mit der Taste TV.
10. VIDEOTEXT / FASTEXT
Was bedeutet Videotext?
Videotext ist ein kostenloser Informationsdienst der Sender. Er wird mit dem Fernsehsignal übertragen und erfordert deshalb gute Empfangsbedingungen. Nicht alle Sender bieten Videotext.
Da die Sender den Videotext stetig Seite für Seite übertragen, entstehen bei normalen Geräten Wartezeiten, bis die angeforderte Seite erscheint.
Ihr neues Fernsehgerat speichert 7 Videotext-Seiten und ermöglich Ihnen so einen schellen Zugriff. Sobald Sie auf einen Sender umschalten, werden die Videotextteiten des Senders in den Speicher geladen. Dies dauert eine Sekunden. Es sind dann 7 Videotextteiten gespeichert. Bei einem Seitenwechsel wird der Speicher neu geladen.
Videotextinformationen sind gewöhnlich in Bereiche, Themen und Seiten unterteilt. Es gibt Themen, die über mehrere Seiten reichen (2/3 = zweite Seite von drei) und solche, die versteckte Information enthalten (Quizantwerten, VPS-Zeiten etc.).
Hinweis: Im Videotextmodus stehen die Bildschirmmen's nicht zur Verfugung. Kontrast, Helligkeit und Farbe können ebenfalls nicht verändert werden. Die Lautstärkeregelung ist jedoch weiterhin verfügbar.
Was bedeutet Fastext?
Fastext ist eine Erweiterung des herkommlichen Videotextes. Bei fast allen Videotextseiten sind am unteren Bildschirmrand farbige Textfelder (rot, grün, gelb und blau) dargestellt.
Mit den farbigen Tasten auf ihrer Fernbedienung konnen Sie direkt zu den Themen/Seiten springen, die auf den farbigen Feldern angezeigt werden.

Videotext an/aus
Mit der Taste blenden Sie den Videotext ein. Die Übersichtsseite 100 erscheidt auf dem Bildschirm.
Zum Ausblenden des Videotextes drucken Sie die Taste ge der Taste TV.
Farbige Tasten
Am unteren Bildschirmrand werden ein rotes Feld - und ein grüne Feld + eingeblendent: Wenn Sie nun die entsprechende farbige Taste auf Ihrer Fernbedienung drücken, werden die vorige (-) oder die{nachste (+) ) Seite sofort aufgerufen, ohne dass Sie warten müssen.
Seiten aufrufen
Die aktuelle dreistellige Seitennummer finden Sie in der oberen linken Bildecke (z. B. P100 für Seite 100). Die Seitennummer immer 3-stellig mit den Zifferntasten eintippen. Es dauert meinheit eine Sekunden, wenn die gesuchte Seite noch nicht in den Seitenspeicher eingelesen ist.
Mit den Tasten P+ oder P- konnen Sie auch Seitenweise blättern.
Index-Seite aufrufen
Die Index- oder Übersichtsseite (Seite 100) rufen Sie direkt mit der weiten Taste auf.
Automatisches Blättern verhindern
Das automatische Weiterblättern unterbinden Sie mit der Taste
In der obersten Zeile links wird STOP angezeigt.
Um das Weiterblättern wieder freizugegeben, drucken Sie erneut die Taste.
Untergeordnete Seiten aufrufen
Besteht eine Seite aus mehreren untergeordneten Seiten (z. B. 1/4 = erstige von vier), können Sie gezielt auf eine Unterseite zugreifen.
- Drucken Sie dazu die Taste ben links erscheint:
- Geben Sie mit den Zifferntasten die gewünschte Unterseite ein, z.B. für die zweite Unterseite 0002 oder blättern Sie mit der roten Taste darüber und mit der grünen vor.
- Drücken Sie die Taste, wenn Sie alle Unterheiten gesehen haben und eine andere Seite aufrufen sollen.
Darstellungsgroße
Um die Videotextseiten vergroßern zu können, drücken Sie die Taste
1 x=2 groBe Darstellung, oberer Teil der Seite
2 x groBe Darstellung, unterer Teil der Seite
- 3 x̅ = ∑zurück zur normalen Darstellung, komplette Seite (Standard)
? Versteckte Information
Auf Videotextseiten mit Spielena oder Ratseln konnen sich versteckte Lösungen befinden. Drucken Sie die Taste im die Lösung anzuzeigen.
Fernsehbild im Videotext-Modus einblenden
Drücken Sie bei eingeschalteten Videotext die Taste x
Das Fernsehgerat schaltet in den Fernsehmodus zusammen. Dabei bleibt in der linken oberen Ecke ein kleines Anzeigefeld. Da Sie sich nach wie vor im Videotext-Modus befinden, offen Eingaben per Fernbedienung Videotext-Funktionen aus (z. B. Seiten wahlen oder weiterblättern).
Geben Sie die gewünschte Seitenzahl mit Hilfe der Zifferntasten ein. Wahrend ihre Videotextseite gesucht wird, sehen Sie zwei blinkende Sternchen in dem Anzeigefeld. Sobald die Seite gefunden wurde, bleibt die Zahl in der linken oberen Ecke stehen.
Drucken Sie dann die Taste und die Videotextseite wieder aufzurufen.
Fernsehbild und Videotext gemeinsam darstellen
Bei eingeschaltetem Videotext Taste drucken.
Sie sehen nun Fernsehbild und Videotext gemischt.
erneut drucken, um die Videotextseite wieder allein darzustellen.
11. PROBLEMLOSUNGEN
Sollte Ihr Fernsehgerat Probleme bereiten, gehen Sieitte erst diese Checkliste durch. Vielleicht ist es nur ein kleines Problem, das Sie selbst beheben konnen.
Wichtig!
Auf keinen Fall sollen den Sie versuchen, das Gerat selbstständig zu reparieren.
| Fehler Mögliche Ursache/ Maßnahmen | |
| Kein Bild, kein Ton | Ist das Gerät mit dem Netz verbunden? |
| Ist der Ein-/Ausschalter eingeschaltet? | |
| Wurden Bild und Ton im Menu ausgeschaltet? | |
| Ist das Antennenkabel in Ordnung und richtig einge- steckt? | |
| Gibt es einen Senderausfall? | |
| Schlechetes Bild | Prüfen Sie die Antennenausrichtung. |
| Prüfen Sie den Zustand und die Anschlüsse des Anten- nenkabels. | |
| Störungen durch anderes, nicht ausreichend entstörtes Elektrogerät. | |
| Bei gleichzeitigem Anschluss von zwei externen Geräten eines ausstecken. | |
| Schlechetes Bild bei einzel- nen Sendern oder gutes Bild und schlechter Ton | Prüfen Sie die Feinabstimmung des Fernsehkanals. |
| Fernbedienung funktioniert nicht. | Prüfen Sie die Batterien. |
| Richten Sie die Fernbedienung:NO auf den Sensor auf der Gerätevorderseite. | |
| Farbflecken im Bild | Die Bildröhre muss entmagnetisiert werden. Dazu schal- ten Sie das Gerät am Hauptschalter aus. Überprüfen Sie die Umgebung des Gerätes auf Magnetfelder erzeugende Störquellen (z. B. HiFi-Boxen oder Elektromotoren) |
| Ton nur auf einem Kanal Überprüfen Sie im Menu TON die Balanceregelung. | |
| Fernseher schaltet sich aus. | Wurde auf dem aktivierten Programm kein Sender emp- fangen? War der Timer aktiviert? |
| Fernseher schaltet auf AV- Kanal um | Wird eine DVD oder ein Videofilum auf einem angeschlos- semen Gerät abgespielt? |
| Gerät reagiert nicht auf Tastendrücke. Videotext rollt. | Schalten Sie das Gerät mit dem Ein/Ausschalter aus und wieder ein. |
| Geheimcode für die Kinder- sicherung vergessen. | Gehen Sie anstelle des Codeschnell hintereinander den fünfstelligen Code 23086 ein. |
12. TECHNISCHE DATEN
Elektrische Daten
Netzspannung 230V 50Hz
Leistungsaufnahme maximal 70 W
Bildschirm
Bildschirmdiagonale 55 cm
Sichtbare Diagonale 51 cm
Seitenverhältnis 4:3
Ton
Tonendstufe 2× 7 Watt
Empfang
Programspeicherplätze 100 + AV2
Empfangskanäle VHF Band I Kanal 2 - 4 VHF Band III Kanal 5 - 12 UHF Kanal 21 - 69 S Kanal S1-S41
Senderempfang PAL BG / NTSC PLAYBACK
Anschlüsse
1 x Euro-AV/SCART-Buchse (Ein- und Ausgang) (RGB, S-Video)
1 x SCART-Buchse (Ein- und Ausgang)
Audio-Videoeingang (3 x Cinch)
Antennenanschluss: Koaxial, 75 Ohm
Stereo-Kopfhöreranschluss für 3,5 mm Klinkenstecker
Zubehör
IR-Fernbedienung (inkl. Batterien)
Bedienungsanleitung und Garantie
Technische Änderungen vorbehalten.

MAGNUM
EinfachAnleitung