VDL150RGML - Effektmaschine HQ Power - Kostenlose Bedienungsanleitung
Finden Sie kostenlos die Bedienungsanleitung des Geräts VDL150RGML HQ Power als PDF.
Benutzerfragen zu VDL150RGML HQ Power
0 Frage zu diesem Gerät. Beantworten Sie die, die Sie kennen, oder stellen Sie Ihre eigene.
Eine neue Frage zu diesem Gerät stellen
Laden Sie die Anleitung für Ihr Effektmaschine kostenlos im PDF-Format! Finden Sie Ihr Handbuch VDL150RGML - HQ Power und nehmen Sie Ihr elektronisches Gerät wieder in die Hand. Auf dieser Seite sind alle Dokumente veröffentlicht, die für die Verwendung Ihres Geräts notwendig sind. VDL150RGML von der Marke HQ Power.
BEDIENUNGSANLEITUNG VDL150RGML HQ Power
BEDIENUNGSPANLEITUNG 21

CE

USER MANUAL
1. Introduction
BEDIENUNGSA\NLEITUNG
1. Einführung
An alle Einwohner der Europäischen Union
Wichtige Umweltinformationen überlieses Produkt

Dieses Symbol auf dem Produktcoder der Verpackung zeigt an, dass die Entsorgung theses Produktes nach seinem Lebenszyklus der Umwelt Schaden zufugen kann. Entsorgen Sie die Einheit (oder verwendeten Batterien) nicht als unsortinges Hausmull; die Einheit oder verwendenten Batterien müssen von einer spezialisierten Firma zwecks Recycling entsorgt werden. These Einheit muss an den
Handler oder ein örtliches Recycling-Unternehmen returniert werden.
Respektieren Sie die örtlichen Umweltvorschriften.
Falls Zweifel bestehen, wenden Sie sich für Entsorgungsrichtlinien an ihre örtliche Behörde.
Vielen Dank, dass Sie sich für Velleman entschieden haben! Lesen Sie diese Bedienungsanleitung vor Inbetriebnahme sorgfältig durch. Überprüfen Sie, ob Transportschäden vorliegen. Sollte dies der Fall sein, verwenden Sie das Gerät nicht und wenden Sie sich an ihren Handler.
2. Sicherheitshin weise
| A! | Halten Sie Kinder und Unbefugte vom Gerät fern. |
| Verwenden Sie das Gerät nur im Innenbereich. Schützen Sie das Gerät vor Regen und Räuchte. Setzen Sie das Gerät keiner Flüssigkeit wie z.B. Tropf- oder Spritzwasser, aus. Stelle m Sie keine mit Flüssigkeit befüllten Gegenstände auf das Gerät. | |
| Seien Sie während der Installation des Gerätessehr vorsichtig: das Berühren von unter Spannung stehenden Laitungen können zu lebensgefällrlichen elektrischem Schlägen führen. | |
| Stromschlaggefahr beim Offnen des Gehäuses. Das Berühren von unter Spannung stehenden Leitungen konnte zu lebensgefällrlichen elektrischen Schlägen führem. Versuchen Sie nie, selbst das Gerät zu Offnen oder demontieren. Die Reparatio narf nur von einer Fachkraft durchgeführt werden. | |
| Berühren Sie cas Gehäuse während des Betriebs nicht, Denn da s Gehäuse heizt auf. | |
| Seien Sie vorsichtig wenn derL. aser eingeschaltet ist. Blichen Sie niemals direkt oder indirectk (Reflexion) in dem Laserstrahl. R.chten Sie den Laserstrahl NIE direkt oder über |
VDL150RGML
| eine reflektierte Oberfläche auf Menschen oder Tiere, um Augenschäden oder Hautverbrennungen zu vermeiden. Richten Sie den Laserstrahl NIE auf Explosivstoffe. Halten Sie Kind er und Unbefugte vom Gerät fern. | ||
| Es gibt keine zu wartenden Teile. Bestellen Sie eventuelle Ersatzteile bei Ihrem Fachhändler. | ||
| DER Iffeil zeigt die Laseröffnung an. Nicht DEM STRAH L AUSSETZEN - ÖFFIUNG MIT LASERSTRAHL | ||
| SICHTBARER LASERSTRAHL | ||
| SETZEN SIE SICH KEINEM LASERSTRAHL AUS | ||
| Max. Leistung: Wellenlänge: | 100mW 650nm (rot) | 50mW 532nm (grün) |
| KLASSE 3B LASERGERÄT IEC60825-1 : 2007 | ||
- Tren den Sie das Gerät bei Nichtbenutzung und vor jeder Reinigung vom Netz. Fassen Sie dazu den Netzstecker an der Griffläche an undziehen Sie nie an der Netzleitung.
- Vergewissern Sie sich, dass die anzuschliebende Netzspannung nicht hoher ist als die Netzspannung beschrieben in dieser Bedeutungsanleitung.
- Acht en Sie darauf, dass die Netzleitung nicht gequetscht werden kann. Bei Beschädigungen soll eine Fachkraft das Kabel ersetzen.
- Das Gerät bei Temperaturschwankungen nicht sofort einschalten. Schützen Sie das Gerät vor Beschädigung, indem Sie es ausgeschaltet.lassen bis es die Zim m ertemperatur erreicht hat.
3. All gemeine Richtlinien
Siehe Vdleman® Servi e- und Qualitätsgarantie am Ende dieser Bedienungsanleitung.
| Schützen Sie das Gerät vor Regen und Feuchte. |
| Schützen Sie das Gerät vor extremen Temperaturen und Staub. |
| Vermeiden Sie Erschüttungen. Vermeiden Sie rohe Gewalt während der Installation und Bedienung des Gerätes. |
- Nehmen Sie das Gerät erst in Betrieb, nach dem Sie sich mit seinen Funktionen vertraut gemacht haben. Lassen Sie das Gerät nicht von Personen bedieren, de sich nicht mit dem Gerät auskennen. Meist ist
die Beschädigung des Gerätes das Ergebnis von unfachmännischer Bedienung.
- Eigenmächtige Veränderungen sind aus Sicherheitsgründen verboten. Bei Schäden verursacht durch eigenmächtige Änderungen erlischt der Garantieanspruch.
- Verwenden Sie das Gerät nur für Anwendungen beschreiben in dieser Bedienungsanleitung Jede andere Verwendung ist mit Gefahren wie Kurzschluss, Brandwunden, elektrischem Schlag, usw. verbunden. Dies kann zu Schäden am Produkt führen und dafür sorgen, dass der Garantieanspruch erlischt.
- Bei Schäden, die durch Nichtbeachtung der Bedienungsanleitung verursacht werden, erlischt der Garantieanspruch. Für darauf resultierende Folgeschäden übernimmt der Hersteller keine Haftung.
Mechanischer Verschleib faltt nicht unter den Garantieanspruch.
Das Gerät eignet sich nicht für permanenten Betrieb: eine regelmäßige Pause verlangert die Lebensdauer.
4. Beschreibung
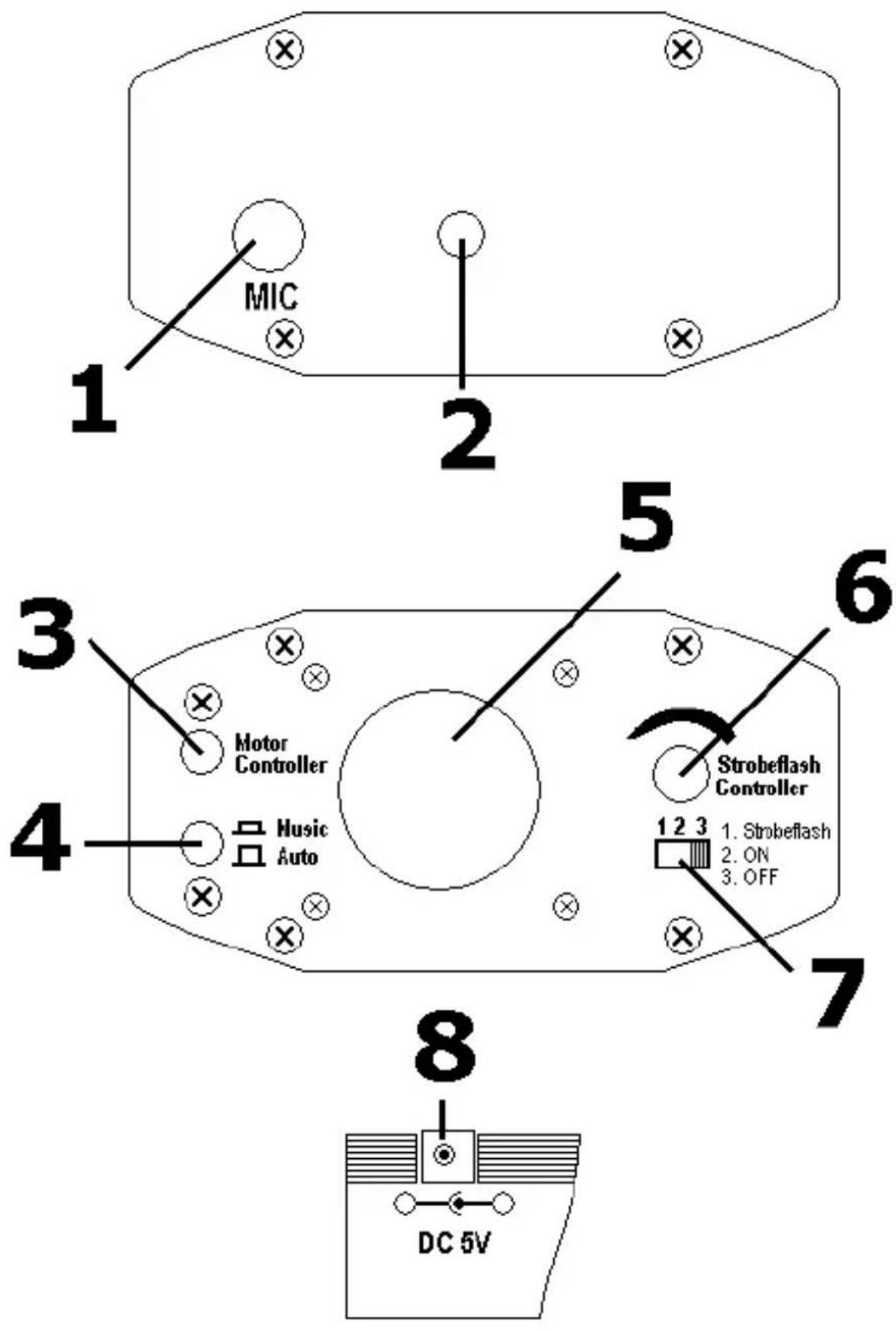
Siehe Abbildungen, Seite 2 dieser Bedienungsanleitung.
| 1 Mikrofon 5 Lüfter | |||
| 2 Laser-Öffnung 6 | Einstellknopf für die Geschwindigkeit des Stroboskops | ||
| 3 | Einstellknopf für die Geschwindigkeit des Motors | 7 | Funktionsschalter |
| 4 | Taste um den Modus auszuwahlen | 8 | 5 Vdc-Eingang |
5. Anwendung
Siehe Abbildungen, Seite 2 dieser Bedienungsanleitung.
Installation
- Installieren Sie das Gerät am gewünschten Ort. Hängen Sieihn mit dem Montagebügel auf oder befestigen Sieihn am mitgelieferten Stativ (Befestigen Sie das Stativ an der Unterseite des Gerätes).
Einschalten
- Stecken Sie den DC-Stecker des mitgelieferten Netzteils in den 5Vdc-Eingang.
- Beachten Sie dass, das Gerät ausgeschaltet ist ([7] + Sicherheits Schlüssel, vgl. Bild auf ersten Seite) und verbinden Sie das Gerät mit dem Netz.
Effekte
- Drehen Sie den Sicherheitsschlüssel und schalten Sie das Gerät ein, indem Sie den Funktionsschalter [7] für einen normalen Betrieb auf die
VDL150RGML
mittlere Position stellen. Drehen Sie den Sicherheits Schlüssel vollig nach links für den Stroboskop-Effekt.
- Verwenden Sie Taste [4] um zwischen den automatischen Modus oder den musikgesteuerten Modus zu wahren.
- Um die Geschwindigkeit des Lichteffektes im automatischen Modus zuändern, verwenden Sie den Einstellknopf für die Geschwindigkeit des Motors [3].
Ausschalten
- Ist der Stroboskopeffekt ausgewählt, dann ändern Sie die Geschwindigkeit mit Einstellknopf [6].
- Schalten Sie das Gerät mit dem Funktionsschalter [7] und den Sicherheitsschlüssel aus.
Bemerkung
Schalten Sie das Gerät nach 2 Stunden ununterbrochenen Gebrauch aus, so dass es abkühlen kann.
6. Reinigung und Wartung
- Trennen Sie das Gerät vom Netz ehe Sie mit den Servicearbeiten anfangen. Lassen Sie das Gerät abkühlen.
- Alle verwendeten Schrauben müssen fest angespannt werden und)dürfen keine Rostspuren zeigen.
Das Gehäuse, die Linsen, die Montagebügel und der Montageort (z.B. Decke oder Gebinde) dürfen nicht angepasst werden, z.B. bohren Sie keine zusätzlichen Löscher in Montagebügel, verändern Sie die Anschlüsse nicht, usw. - Mechanisch bewegende Teile dürfen keine Spuren von Abnutzung aufweisen.
- Sorgen Sie davon, dass die Netzkabel nicht beschadigt sind. Lassen Sie das Gerät von einer Fachkraft installmenten.
- Verwenden Sie zur Reinigung ein feuchtes, fusselfreies Tuch.
Verwenden Sie auf keinen Fall Alkohol oder irgendwelche Lösungsmittel.
7. Technische Daten
| Stromversorgung 110-2 | 40 Vac 50-60 Hz - 5 Vdc |
| Laserklasse | 3B |
| Leistung Laser grün: 300 mW (532 nm) | |
| rot: 100 mW (660 nm) | |
| Abmessungen 120 x 90 | x 50 mm |
| Gewicht | 320 g |
VDL150RGML
Verwenden Sie diesen Gerät nur mit originellen Zubehörteilen. Velleman NV übernimmt keine Haftung für Schaden oder Verletzungen bei (falscher) Anwendung these Gerätes. Für mehr Informationen zu dieser Produkt und die neueste Version dieser Bedienungsanleitung, siehe www.velleman.eu. Alle Änderungen ohne vorherige Ankündigung vorbehalten.
URHEBERRECHT
Velleman NV besitz das Urheberrecht für diese Bedienungsanleitung. Alle weltweiten Rechte vorbehalten. Ohne vorherige schriftliche Genehmigung des Urhebers ist es nicht gestattet, diese Bedienungsanleitung ganz oder in Teilen zu reproduzieren, zu kopieren, zu übersetzen, zu bearbeiten oder zu speichern.
EN
Velleman® Service- und Qualitätsgarantie
Seit der Gründung in 1972 hat Velleman® sehr viel Erfahrung als Verteiler in der Elektronikwelt in über 85 Ländern aufgebaut.
Alle Produkte entsprechen den strengen
Qualitätsforderungen und gesetzlichen Anforderungen in der EU. Um die Qualität zu gewährleisten werden unsere Produkte regelmäßiger einer zusätzlichen Qualitätskontrolle unterworfen, sowohl von unserer eigenen
Qualitätsabteilung als auch von externen spezialisierten Organisationen. Sollen,riotz aller Vorsichtsmaßnahmen, Probleme auftreten, behmen Sieitte die Garantie in Anspruch (siehe Garantiebedingungen).
Allgemeine Garantiebedingungen in Bezug auf Konsumgüter (für die Europäische Union):
- Alle Produkte haben für Material- oder Herstellungsfehlerine Garantieperiode von 24 Monaten ab Verkaufsdatum.
- Wenn die Klage berechtigt ist und falls eine kostenlose Reparatur oder ein Austausch des Gerätes unwilling ist, oder wenn die Kosten darauf unverhältnismäßig sind, kann Velleman® sich darüber entscheiden, diese Produkte durch ein gleiches Produkt zu ersetzen oder die Kaufsumme ganz oder teilweise zureckuzuzahlen. In thisem Fall erhalten Sie ein Ersatzprodukt oder eine Rückzahlung im Werte von 100% der Kaufsumme im Falle eines Defektes bis zu 1 Jahr nach Kauf oder Lieferung, oder Sie bereits ein Ersatzprodukt im Werte von 50% der Kaufsumme oder eine Rückzahlung im Werte von 50% im Falle eines Defektes im zweiten Jahr.
- Von der Garantie ausgeschlossen sind:
- alle direkten oder indirekten Schäden, die nach Lieferung am Gerät und durch das Gerät verursacht werden (z.B. Oxidation, Stöße, Fall, Staub, Schmutz, Feuchtigkeit, ...), sowie auch der Inhalt (z.B. Datenverlust), Entscheidigung für eventuellen Gewinnausfall.
- Verbrauchsgüter, Teile oder Zubehörteile, die durch normalen Gebrauch dem Verschleiß ausgesetzt sind, wie
z.B. Batterien (nicht nur aufladbare, sondern auch nicht aufladbare, eingebaute oder ersetzbare), Lampen, Gummiteile, Treibriemen, usw. (unbeschränkte Beste). - Schaden verursacht durch Brandschaden,
Wasserschaden, Blitz, Unfälle, Naturkatastrophen, usw. - Schäden verursacht durch absichtliche, nachlüssige oder unsachgemäß Anwendung, schlechte Wartung, zweckentfremdete Anwendung oder Nichtbeachtung von Benutzerhinweisen in der Bedienungsanleitung.
- Schaden infolge einer kommerziellen, professionellen oder kollektiven Anwendung des Gerätes (bei gewerbllicher Anwendung wird die Garantiepiode auf 6 Monate darübergeführrt).
- Schäden verursacht durch eine unsachgemeine Verpackung und unsachgemeinen Transport des Gerätes.
- alle Schäden verursacht durch unauthorisierte Änderungen, Reparaturen oder Modifikationen, die von einem Dritten ohne Erlaubnis von Velleman® vorgenommen werden.
- Im Fall einer Reparatur, wenden Sie sich an ihren Velleman®-Verteiler. Legen Sie das Produktordnungsgemäß verpackt (vorzugseise die Originalverpackung) und mit dem Original-Kaufbeleg vor. Fugen Sie eine deutliche Fehlerbeschreibung hinzu.
- Hinweis: Um Kosten und Zeit zu sparen,lesen Sie die Bedienungsanleitung nochmals und überprüfen Sie, ob es keinen auf de Hand liegenden Grund gibt, ehe Sie das Gerät zur Reparatur zusückschicken. Stellt sich bei der Überprüfung des Gerätes hereaus, dass kein Geräteschaden vorliegt, konnte dem Kunden eine Untersuchungspauschale berechnet.
- Für Reparaturen nach Ablauf der Garantiefrist werden Transportkosten berechnet.
- JedekommenzielleGarantieladsttheseRechte unberuht.
Die oben stehende Aufzahlung kann eventuell angepasst werden gemäß der Art des Produktes (siehe Bedienungsanleitung des Gerätes).
Made in PRC
EinfachAnleitung