BIOLINE 2400 - Gartenhäcksler ATIKA - Kostenlose Bedienungsanleitung
Finden Sie kostenlos die Bedienungsanleitung des Geräts BIOLINE 2400 ATIKA als PDF.
Benutzerfragen zu BIOLINE 2400 ATIKA
0 Frage zu diesem Gerät. Beantworten Sie die, die Sie kennen, oder stellen Sie Ihre eigene.
Eine neue Frage zu diesem Gerät stellen
Laden Sie die Anleitung für Ihr Gartenhäcksler kostenlos im PDF-Format! Finden Sie Ihr Handbuch BIOLINE 2400 - ATIKA und nehmen Sie Ihr elektronisches Gerät wieder in die Hand. Auf dieser Seite sind alle Dokumente veröffentlicht, die für die Verwendung Ihres Geräts notwendig sind. BIOLINE 2400 von der Marke ATIKA.
BEDIENUNGSANLEITUNG BIOLINE 2400 ATIKA
Bedienungsanleitung und Ersatzteile für Gartenhäcksler BioLine
GB
Warning! Vor Inbetriebnahmelesen Sie die Bedienungsanleitung!
Werkzeug lauft nach!
Vor Arbeiten am Schneidwerk Steckerziehen!
Achtung Gefahr! Laufendes Schneidwerkzeug!
Schutzhandschuheragen!
Wear protection gloves!
Porter des gants de protection!
Vor Feuchtigkeit schützen!
Augenschutz traben! Gehorschutz traben!
Wear eye protection ! Wear ear protection !
Ogen beschemen! Gehoorbescherming dragen!
Sie haben mit dem Kauf these Gartenhackslers ein hochwertiges, leistungsstarkes Gerät erworben.
Bitte beachten Sie die nachfolgenden Punkte sorgfältig, damit das Gerät Ihnen bei jahrelangem Einsatz treue Dienste leistet.

Sie)durfen das Gerät nicht in Betrieb behmen,bevor Sie diese Bedienungsanleitung gelesen,alle angegebenen Hinweise beachtet und das Gerät wie beschreiben montiert haben.
Bestimmungsgemäßer Gebrauch
Die Häcksler sind nur für die private Nutzung im Haus- und Hobbygarten geeignet.
Als Häcksler für den privaten Haus- und Hobbygarten werden solche Geräte angesehen, die nicht in öffentlichen Anlagen, Parks, Sportstätten sowie in der Land- und Forstwirtschaft eingesetzt werden.
Inhalt
- Zusammenbauanleitung.. S. 8
- Sicherheitshinweise S. 16
- Inbetriebnahme.. S. 16
- Das Häckseln. S. 17
5.Wartung und Pflege. S.17 - Wenden der Messer. S. 17
- Betriebsstörungen S. 18
- Garantiebestimmungen S. 18
- Technische Daten.. S. 19
- Ersatzteile S. 36

EG-Konformitätserklarung
entspruchend der EG-Richtlinie 98/37/EG
Wir ATIKA GmbH & Co. KG
Schinkelstraße 97
D-59227 Ahlen
erklärern in alleiniger Verantwortung, daß die Produkte
auf die sich diese Erklärung bezieht, den einschlagigen grundlegenden Sicherheits- und
Gesundheitsanforderungen der EG-Richtlinie 98/37/EG, sowie den Anforderungen der
anderen einschlagigen EG-Richtlinien
89/336/EWG, 73/23/EWG und 2000/14/EG.
entsprechen.
Gemessener Schalleistungspegel L WA 105 dB (A) und
garantierer Schalleistungspegel L WA 106 dB (A).
Ahlen, 14.01.2003

We ATIKA GmbH & Co. KG
Schinkelstraße 97
D-59227 Ahlen
Nous ATIKA GmbH & Co. KG
Schinkelstraße 97
D-59227 Ahlen
D Für die Verbindung des Trichters (a) mit dem Gehäuseoberteil (b) Trichter drehen bis alle Lochpositionen übereinstimmen und mit den drei beigefugten Einwegschrauben (390130 - M 5 x 12) verschrauben. Sonst keine Haftung !!
D For die Verbinding des Aufsteckrohres (a) mit dem Gehäuseoberteil (b) Aufsteckrohr drehen bis alle Lochpositionen übereinstimmmen und mit den drei beigefugten Einwegschrauben (390130 - M 5 x 12) verschrauben. Sonst keine Haftung !!
GB To connect the extension tube (a)) to the enclosure top (b) turn extension tube until all hole positions are aligned and bolt in place with the three enclosed one-way bolts (390130 - M 5 x 12). Otherwise no liability!!
F Pour
2. Sicherheitshinweise
Gerät mit Sicherheitsabschaltung
Die angebrachte Sicherheitsabschaltung mit automatischer Motorbremse dient ihrer Sicherheit. Sie verhindert, daß sich bei geöffnetem Gerät der Motor einschalten laßt, und daß Sie mit der Hand in das rotierende Messerwerk gelangen können.
Reparaturen an elektrischen Teilen der Maschine sowie an der Sicherheitsabschaltung haben durch den Hersteller bzw. von ihm benannte Firmen zu erfolgen.

Beachten Sie folgende Sicherheitshinweise, um sich selbst und andere vor möglichen Verletzungen zu schätzen.
- Der Bedienende ist im Arbeitsbereich der Maschine gegenüber Dritten verantwortlich.
- Jugendliche unter 16 Jahren dürfen das Gerät nicht bedieren.
- Kinder vom Gerät fernhalten.
- Tragen Sie beim Arbeitsen Schutzbrille, Arbeitshandschuhe und Gehorschutz.
- Ausführung der Anschlußleitung nach IEC 60245 (H 07 RN-F) mit spritzwassergeschützter Gummisteckvorrichtung. Querschnitt mindestens 3 × 1,5 ~mm^2 .
- Benutzen Sie niemals defekte Anschluß-leitungen.
- Schlieben Sie das Gerät über Fehlerstromschaftschafter an.
- Bei Wartungs- und Reinigungsrarbeiten, Transport und Verlassen des Gerätes Motor ausschalten und Netzstecker aus der Steckdoseziehen.
- Das Gerät nur für die unter Punkt 4 "Das Häckslen" aufgeführten Arbeiten verwenden.
- Das Gerät nicht ohne Einfülltrichter betreiben.
Defekte bzw. beschädigte Teile am Gerät unverzüglich austauschen. - Das Gerät bzw. Teile des Gerätes nicht verändern.
- Niemals in die Einfüll- oder Auswurföffnung bei laufendem Gerät greifen.
- Vor Einschalten des Motors das Geräts schreiben.
-
Das Gerät nicht mit Wasser abspritzen. (Gefahrenquelle elektrischer Strom).
-
Gerät nicht im Regen stehenlassen oder bei Regen arbeiten und nur an einem trockenen Ort aufbewahren.
- Um Verletzungsgefahr für die Finger auszuschreiben, bei Montage- und Reinigungsarbeiten das Messerwerk (z. B. mittels Holzkeil, siehe Abb. Seite 17) festhalten und Schutzhandschuhe/TRagen.
3. Inbetriebnahme
- Vergewissern Sie sich, daß das Gerät komplett und vorschäftsmäßig montiert ist.
- Stellen Sie den Häcksler zum Gebrauch auf waagerechten und festen Untergrund (Kipp-gefahr).
- Schließen Sie das Gerät an die entspruchende und vorschäftsmäßige Steckdose an.
-
Verwenden Sie Verlängerungskabel mit ausreichendem Querschnitt
-
Kabellänge 25 m: Querschnitt mindestens 1,5 ~mm^2
- Kabellänge über 25 m: Querschnitt mindestens 2,5 ~mm^2
- Absicherung:
- 1100 W, 1200 W: 10 A
- 1300 W, 1400 W, 1500 W, 1600 W, 1700 W : 10 A träge
- 1800 W, 1900 W, 2000 W: 16 A
- 2100 W, 2200 W, 2300 W 2400 W: 16 A träge
- Prufen Sie vor jedem Gebrauch
- Anschlußleitungen auf defekte Stellen (Risse, Schnitte o. dgl.)
- ob alle Schrauben fest angezogen sind
Unbedingt beachten:
Vor Inbetriebnahme das Gehäuse-Oberteil schreiben und verschrauben.
Ein- und Ausschalten

4. Das Häckseln
Was kann ich häckseln?
Ja:
- organische Abfälle aus Haushalt und Garten z. B. Hecken- und Baumschnitt, verblühte Blumen, Kuchenabfälle
Nein:
- Glas, Metallteile, Kunststoffe, Plastiktüten, Steine, Stoffabfälle, Wurzeln mit Erdreich, Speise-, Fisch- und Fleischabfälle
Besondere Hinweise zum Häckseln:
Häckseln Sie die Åste, Zweige und Hölzer kurz nach dem Schneiden
-这意味着 Häckselgut wird bei Austrocknung sehr hart, der maximal zu verarbeitende Astdurchmesser wird hierdurch geringer.
Entfernen Sie Seitentriebe bei stärker verzweigten Åsten.
Verarbeiten von stark Wasserhaltigen, zum Verkleben neigenden Garten- bzw. Kuchen-abfallen
- diese abwechselnd mit holzigem Häcksel-gut zerkleinern, um eine Verstopfung im Gerät zu vermeiden.
Beachten Sie, daß der ihrem Gerät entsprechende maximal zu verarbeitende Astdurchmesser eingehalten wird (s. Seite 19).
Das Messerwerkzieht das Häckselgut weltgehend selbständig ein.
Vermeiden Sie ein Überlasten und Blockieren des Motors bei stärkeren Åsten durch öfteres zurückziehen des Astes.
Beim Überlasten des Gerätes schaltet der mit einem Motorschutzschalter ausgestattete Drehschalter selbständig ab
- schalten Sie den Häcksler nach ca. 5 min. erneut ein
- lätt sich das Gerät nach dieser Wartezeit nicht einschalten, sehen Sie unter Punkt 7 „Betriebsstörungen" nach.
5. Wartung und Pflege
Bei Wartungsarbeiten unbedingt Schutzhand-schuhe,tragen.
Der Gartenhacksler ist weltgehend wartungsfrei. Zur Welterhaltung und einer langen Lebensdauer Nachstehendes beachten:
- nach dem Häckseln das Gerätinnen und außen reinigen.

- Blanke Metallteile nach jedem Gebrauch zum Schutz gegen Korrosion mit einem umweltschonenden, biologisch abbaubaren Sprühol beholdeln.
Achten Sie darauf,
- daß vor dem Schließen des Gerätes Verunreinigungen aus dem Gewinde in der Gehäusewanne entfernt werden; durch Verunreinigungen blockiert das Gewinde und das Gehäuseoberteil schließt nicht richtig → Motor lauft nicht an
- daß bei Reinigungsrarbeiten keine Verunreinigungen in das Gewinde in der Gehäusewanne gelangen (Gewinde abdecken)
- daß beim Verschließen die Schraube gerade in die Gehäusewanne gedreht wird.
6. Wenden der Messer
Verminderte Schnittleistung:
- eine Messerschneide stumpf
Einsatz der unbenutzten Schneide durch Wenden

-
beside Messerschneiden stumpf
neuer Messersatz (Bestell-Nr. 384547) -
Betriebsstörungen
| Störung | mögliche Ursache | Beseitigung |
| Motor lauft nicht an | - Netzspannung fehl't - Anschlußkabel defekt - Gehäuseoberteil nicht richtig verschlossen (Sicherheitsab-abschaltung ist ausgelöst) | - Absicherung überprüfen - überprüfen setzen (Elektrofachmann) - Gehäuseoberteil richtig verschreiben und verschrauben, evtl. Verunreinigungen entfernen |
| Motor brummrt, lauft aber nicht an | - Messerwerk blockiert - Kondensator defekt | - Gerät abschalten, Netzsteckerziehen und Gerät voninnen reinigen - Gerät zur Reparatur an Hersteller bzw. an von ihm benannte Firma |
| Gerät lauft an, blockiert jedoch bei geringer Belastung und schaltet über Motorschutzschalter ab | Verländerungskabel zu lang oder zu kleiner Querschnitt. Steckdose zuweit vom Hauptanschluss entfernt und zu kleiner Querschnitt der Anschlußleitung. | Verländerungskabel mindesten 1,5 mm2, maximal 25 m lang. Bei längerem Kabel Querschnitt mindestens 2,5 mm2. |
8. Garantie
- Wir übernehmen zwei Jahr Garantie ab Lieferung des Gerätes vom Lager des Handlers, und bzw. für Mängel, die durch Material- bzw.. Fabrikationsfehler aufgetreten sind.
- Für Schäden, die durch unsachgemäß Behandlung oder unzureichende Verpackung beim Rücktransport der Geräte bzw. Nichtbeachtung der Bedienungsanleitung entstehen, sind Garantiansprüche ausgeschlossen.
- Fehlerhafte Teile sind unserem Werk porto- bzw. frachtfrei einzuschicken. Die Entscheidung auf kostenlose Ersatzteillieferung obliegt uns.
- Anfallende Garantiearbeiten werden von uns ausgeführrt. Es besteht unserer ausrücklichen Genehmigung, die Behebung des Schadens von einer anderen Firma vornehmen zu halten.
- Die Garantie erstreckt sich nicht auf den normalen Verschleiß von Messern, Messerbefestigungsteilen, Gegenmessern und Laufrädern.
- Nur bei Verwendung von Original-Ersatzteilen leisten wir Garantie.
- Änderungen, die dem technischen Fortschritt dieren, behalten wir uns vor.
Netzimpedanz
Bei umgünstigen Netzbedingungen kann es während des Einschaltvorganges des Gerätes zu kurzzeitigen Spanningsabsenkungen kommt, die andere Geräte beeinträchtigen können (z. B. Flackern einer Lampe).
Es sind keine Störungen zu erwarten, wenn die in der Tabelle angegebenen maximalen Netzimpedanzen eingehalten werden.
| Leistungsaufnahme P1 (W) | Netzimpedanz Zmax(Ω) |
| 1300 – 1400 | 0,36 |
| 1600 – 1700 | 0,35 |
| 1800 – 2000 | 0,25 |
| 2200 – 2400 | 0,24 |
- Technische Daten
| Modell | 1100 | 1200 | 1300 | 1400 | 1500 | 1600 | 1700 | 1800 |
| Typ | AH 207AH 208 | AH 215AH 216 | AH 200AH 209 | AH 213AH 214 | AH 238AH 235 | AH 201AH 210 | AH 225AH 226 | AH 202AH 211 |
| Motor | Wechselstrommotor 230 V, 50 Hz, S 6 = 40% ED, mit automatischer Motorbremse | |||||||
| Motorleistung P1 | 1100 W | 1200 W | 1300 W | 1400 W | 1500 W | 1600 W | 1700 W | 1800 W |
| Motorleistung P2 | siehe Typenschild | |||||||
| Stromaufnahme I | 5,3 A | 5,8 A | 6,3 A | 6,6 A | 7,0 A | 7,5 A | 7,9 A | 8,6 A |
| Drehzahl N ca. | 2800 min-1 | 2800 min-1 | 2800 min-1 | 2800 min-1 | 2800 min-1 | 2800 min-1 | 2800 min-1 | 2800 min-1 |
| Ein-/ Ausschalter | mit integriertem Motorschutzschalter und elektrischer Sicherheitsabschaltung | |||||||
| Gewicht | siehe Typenschild | |||||||
| Schaldruckpegelam Arbeitsplatz | 87dB (A) | 87dB (A) | 87dB (A) | 87dB (A) | 88dB (A) | 88dB (A) | 88dB (A) | 89dB (A) |
| Schalleistungs-pegel gemessen/garantiert | 105/ 106dB (A) | 105/ 106dB (A) | 105/ 106dB (A) | 105/ 106dB (A) | 105/ 106dB (A) | 105/ 106dB (A) | 105/ 106dB (A) | 105/ 106dB (A) |
| max. zuverarbeitenderAstdurchmesser * | Ø 2,0cm | Ø 2,0cm | Ø 2,5cm | Ø 2,5cm | Ø 3,0cm | Ø 3,0cm | Ø 3,0cm | Ø 3,5cm |
| Modell | 1900 | 2000 | 2000 | 2100 | 2200 | 2300 | 2300 | 2400 |
| Typ | AH 239AH 236 | AH 222AH 227 | AH 224AH 240 | AH 241AH 242 | AH 203AH 212 | - AH 229 | AH 223AH 228 | AH 250AH 251 |
| Motor | Wechselstrommotor 230 V, 50 Hz, S 6 = 40% ED, mit automatischer Motorbremse | |||||||
| Motorleistung P1 | 1900 W | 2000 W | 2000 W | 2100 W | 2200 W | 2300 W | 2300 W | 2400 W |
| Motorleistung P2 | siehe Typenschild | |||||||
| Stromaufnahme I | 9 A | 9,3 A | 9,3 A | 9,5 A | 10,1 A | 10,5 A | 10,5 A | 10,5 A |
| Drehzahl N ca. | 2800 min-1 | 2800 min-1 | 2800 min-1 | 2800 min-1 | 2800 min-1 | 2800 min-1 | 2800 min-1 | 2800 min-1 |
| Ein-/ Ausschalter | mit integriertem Motorschutzschalter und elektrischer Sicherheits Abschaltung | |||||||
| Gewicht | siehe Typenschild | |||||||
| Schaldruckpegelam Arbeitsplatz | 89dB (A) | 89dB (A) | 89dB (A) | 88dB (A) | 88dB (A) | 88dB (A) | 88dB (A) | 88dB (A) |
| Schalleistungs-pegel gemessen/garantiert | 105/ 106dB (A) | 105/ 106dB (A) | 105/ 106dB (A) | 105/ 106dB (A) | 105/ 106dB (A) | 105/ 106dB (A) | 99/ 106dB (A) | 105/ 106dB (A) |
| max. zuverarbeitenderAstdurchmesser * | Ø 3,5cm | Ø 3,5cm | Ø 3,5cm | Ø 4,0cm | Ø 4,0cm | Ø 4,0cm | Ø 4,0cm | Ø 4,0cm |
- gilt nur für frischen Holzschnitt

A

B

C

D

E
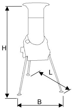
Abmessungen:
| Länge | Breite | Höhe | |
| A | 67 cm | 57 cm | 102 cm |
| B | 70 cm | 59 cm | 102 cm |
| C | 72 cm | 60 cm | 95 cm |
| D | 72 cm | 60 cm | 160 cm |
| E | 72 cm | 60 cm | 135 cm |
Er in elk geval op letten:
Entnahmen Sie die Ersatzteile der Zeichnung und Ende.
Ersatzteile bestellen:
- Bezugsquelle ist der Hersteller
-
erforderliche Angaben bei der Bestellung:
-
Farbe des Gerätes (nur bei Gehauseteilen)
- Ersatzteil-Nr.
- gewünschte Stückzahl
Gartenhacksler-Modell - Bezeichnung des Gartenhäckslers
Beispiel: saftgrün, 384761,1, Modell 1100, BioLine
GB 10. Spare parts
Schinkelstraße 97, D-59227 Ahlen • Postfach 21 64, D-59209 Ahlen
Telefon 0 23 82 / 8 92-0 • Telefax 0 23 82 / 8 18 12
E-mail: info@atika.de Internet: www.atika.de
EinfachAnleitung