KH 3106 ENERGY STATION PC 7 - Ladestation TRONIC - Kostenlose Bedienungsanleitung
Finden Sie kostenlos die Bedienungsanleitung des Geräts KH 3106 ENERGY STATION PC 7 TRONIC als PDF.
Benutzerfragen zu KH 3106 ENERGY STATION PC 7 TRONIC
0 Frage zu diesem Gerät. Beantworten Sie die, die Sie kennen, oder stellen Sie Ihre eigene.
Eine neue Frage zu diesem Gerät stellen
Laden Sie die Anleitung für Ihr Ladestation kostenlos im PDF-Format! Finden Sie Ihr Handbuch KH 3106 ENERGY STATION PC 7 - TRONIC und nehmen Sie Ihr elektronisches Gerät wieder in die Hand. Auf dieser Seite sind alle Dokumente veröffentlicht, die für die Verwendung Ihres Geräts notwendig sind. KH 3106 ENERGY STATION PC 7 von der Marke TRONIC.
BEDIENUNGSANLEITUNG KH 3106 ENERGY STATION PC 7 TRONIC
- Verwendungszweck S. 5
- Technische Daten S. 5
- Laden S. 6
- Ausgabe für 1A S. 8
- Ausgang für 10A S. 10
- Wenn's nicht Funktioniert...? S. 11
- Schraubanschlüsse S.12
- Sicherungen S.13
- Reinigung und Pflege S. 14
- Aufbewahren S. 14
- Entsorgen S. 14
F
I'apparecchio S.34
11. Entsorgen S. 34
E
Dieses Produkt ist vorgesehen
- zur mobilen Stromversorgung von Kleinspannungsgeräten.
- nur für den tatsächlichen Gebrauch.
Esistnichtvorgesehen:
- nicht für Einsatzzwecke, bei denen ein Stromausfall zu Schäden führen kann, z.B. in der Medizintechnik, Luft- oder Raumfahr t usw.
- nicht zur Verwendung in gewerblichen oder industriellen Bereichen.
2. Technische Daten
Energiestation
Akku Gel-Batterie : 12V----/7Ah
Kleinspann.buchen: 3V = /4,5V = /6V =
(DC Output) 9V=/12V=un-stabilisiert / 1 A
KFZ-Steckdose : 12V=10A
(DC 12V/max. 10 A)
Schraubanschlüsse : 12V----/10A für
max. 2 min.
Netz-Ladeadapter
Stromversorgung : 230V~/50Hz
Lade-Ausgang : 12V=0,5A
Ladezeit :etta 15
Stunden bei
leerem Akku
Schutzklasse II
Sicherheitshinweise
Um Lebensgefahr durch elektrischen Schlag zu vermeiden:
- Setzen Sie das Gerät und sein Zubehör nur in trockenen Räumen ein, niemals in feuchten Bereichen.
- Wenn der Netz-Ladeadapter nicht Funktioniert oder beschädigt ist, verwenden Sie diesen auf keinen Fall weiter.
Der Netz-Ladeadapter kann nicht repariert werden - davon Sieihn vom Kundendienst oder Fachhandel ersetzen.
Um Brandgefahr durch elektrischen Kurzschluss zu vermeiden:
- Achten Sie sorgfältig darauf, dass die Schraubanschlüsse niemals kurzgeschlossen werden können, z.B. durch lose Kabel. Funktionsbedingt sind diese Anschlüsse nicht abgesichert - es können also sehr hohe Strome fließen (über 15 A).
- Offnen Sie niemals das Gehäuse der Energiestation.
- Verwenden Sie nur die mitgelieferten Anschlusskabel. Andere sind möglicherweise nicht sicher genug.
- Setzen Sie die Energiestation nicht irgendwelcher Wärmezufuhr aus, z.B. Sonneneinstrahlung, Hezung...
- Lassen Sie Kinder nicht unbeaufsichtigt mit dem Gerät speiten.

3. Laden
Bevor Sie das Gerät verwenden: Über-zeugen Sie sich, dass Energiestation, Anschlusskabel und Netz-Ladeadapter in einwandfreiem Zustand sind.
Gefahr!
Verwenden Sie kein beschädigtes Anschlusskabel. Kurzschlussgefahr!
a) Inbetriebnahme - erst aufladen!
Die Energiestation wird mit nur gering geladenem Akku ausgeliefert.
Laden Sie sie vor dem ersten Gebrauch erst auf, wie unter b) oder c) beschreiben.
Vorsicht! Der Akku verliert erheblich an Kapazität, wenn Sie die Energie-station ohne vollständiges Aufladen verwenden!
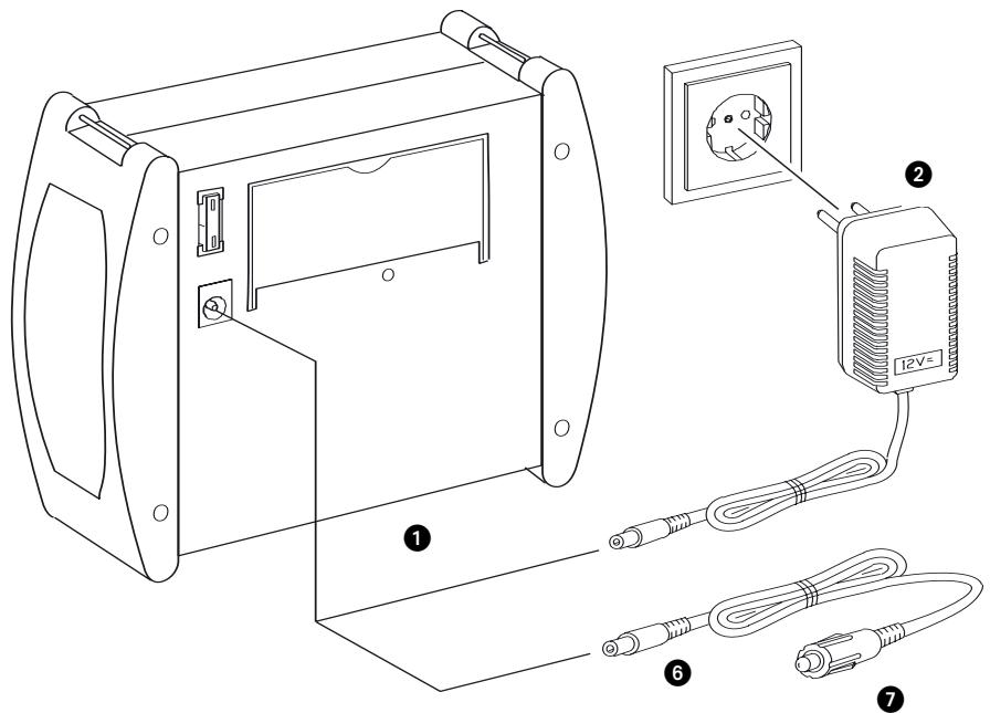
b) Aufladen über die Steckdose
Die Ladezeit bei einem vollständig ent-ladenen Akku beträgt etwa 15 Stunden:
1 Stecken Sie den Geräte-Steckervom Netz-Ladeadapter hinten in die Ladbuchse am Gerät.
2 Stecken Sie den Netz-Ladeadapter in die Steckdose.
Schalten Sie den Hauptschalter vorne in die Stellung, "CHA" (charge = Engl., Laden). Die Energiestation wird nun aufgeladen.
4 Solange die Energiestation auflädt, leuchtet die rote LED „Laden".
5 Wenn der Akku nahezu geladen ist, beginnt die grüne LED "Voll" leicht aufzuleuchten. Sobald diese richtig leuchtet, entfern den Sie den Netz-Ladeadapter wieder.


c) Aufladen über Bordspannung
Sie können die Energiestation auch vom 12V Bordspannungsnetz eines KFZ oder Sportboot aufladen halten:
6 Stecken Sie vom 12V-Bordkabel erst den Geräte-Stecker in die Ladebuchse hinter am Gerät,
7 Stecken Sie danach dann erst den Zigarettenanzünder-Stecker in die KFZ-Steckdose.
Gefahr!
These Reihenfolge ist wichtig, um einen Kurzschluss bei versehentlichem Berühren des Geräte-Steckers mit der Fahrzeugmasse zu verhindern!
Hinweis: Ein Ladevorgang kommt nur zustande, wenn die Ladespannung hoher ist als die des Akkus. Bei einem stehenden Fahrzeug ist das oft nicht der Fall. Geladen werden kann dazu in der Regel nur bei laufendem Motor.

4. Ausgabe für 1A
Vorsicht! Bevor Sie irgendwelche Anschlussarbeiten vornehmen, schalten Sie sowohl Ihr Gerät, als auch die Energiestation aus...
(Der Hauptschalter muss in der Stellung „OFF“ stehen (Mittelstellung ))
So beugen Sie vor, dass bei Anschlussfehlem Schäden entstehen.

a) Gerät anschließen
Für die Stromversorgung von Geräten mit einer Stromaufnahme bis max. 1 A stehen insgesamt 5 Anschlussbuchsen zur Verfugung:
1 Stecken Sie das Adapterkabel...
2 in die Anschlussbuchse, welche der benöttigen Spannung für Ihr Gerät entspricht.
3 Wahlen Sie dann aus dem Set den passenden Stecker für Ihr Gerät.
Vorsicht! Bevor Sie Ihr Gerät an die Energiestation anschließen, stellen Sie erst, sicher, dass „Plus“ und „Minus“ nicht vertauscht ist. Sonst kann Ihr Gerät beschädigt werden.
4 Stecken Sie den gewählten Stecker
... und die Steckeraufnahme so zusammen, dass Plus und Minus der Kennzeichnung an der Buchse von Ihr Gemärk entspricht (Abb. rechts).

Wenn die Markierungen am Stecker und an der Steckeraufnahme ...
⑥ auf derselben Seite sind, ist an den Steckern Plus oben (innen) und Minus unten (außen).
auf gegenüber liegenden Seiten sind, ist an den Steckern Plus unter (außen) und Minus oben (innen).

SchlieBen Sie Ihr Gerät mit der richtigen Steckerbelegung an die Energierstation an.
- Stellen Sie den Hauptschalter auf „ON“. Ihr Gerät wird nun stromversorgt.
- Eine grüne LED „Voll“ leuchtet, sobald der Hauptschalter eingeschaltet ist und genügend Energie zur Verfügung besteht.
- Eine rote LED „Leer“ leuchtet, sobald der Hauptschalter eingeschaltet ist – aber der Akku fast leer ist.
Vorsicht! Laden Sie den Akku erst auf, wenn die rote LED „Leer“ leuchtet. Anderfalls kommt es zu einer Tiefentladung, wodurch Akkus üblicherweise erheblich an Ladekapazität verlieren.
Tipp: Wenn Sie die richtige Steckerbelegung für Ihr Gerät herausgefunden haben:
Fixieren Sie den Stecker mit etwas Isolierband an der Steckeraufnahme.
- So haben Sie beim nachsten Mal sofort ein „passendes“ Kabel für Ihr Gerät zur Verfügung.
b) Gerät entfernen
Wenn Sie die Stromversorgung für Ihr Gerät durch die Energiestation wieder beenden wollen, ...
schalten Sie das Gerät aus...
- Stellen Sie dann an der Energiestation den Hauptschalter auf „OFF" (Mittelstellung).
Damit verhindern Sie, dass noch Strom fliebt, während der Stecker gezogen wird. Empfindliche Geräte reagieren darauf auf manchmal mit Störungen.
- Ziehen Sie jetzt die Stecker vom Adapterkabel sowohl am Gerät als auch an der Energiestation.
c) Wenn's nicht Funktioniert...?
Wenn nach dem Einsatzen keine der beiden LEDs leuchtet, ist eventuell eine der Sicherungen an der Energiestation durchgebrannt. In dem Kapitel 8 ist das Wechseln der Sicherungen{naher beschrieben.
Wenn nach dem Einsatzen bzw eine LED an der Energiestation leuchtet - Ihr Gerät aber nicht Funktioniert:
- schalten Sie die Energiestation soit aus.
- Überprüfen Sie dann erst, ob das Kabel richtig angeschlossen ist – und „Plus“ und „Minus“ nicht vertauscht sind. Wenn nicht, überprüfen Sie auch die Sicherung an Ihrtem Gerät, wie in dessen Anleistung beschrieben.

5. Ausgang für 10 A
Für die Stromversorgung von Geräten bis max. 10 A steht ein Ausgang als KFZ-Steckdose zur Verfugung für sogenannte „Zigarettenanzünder-Stecker".
Dies konnen beispielsweise sein...
Kuhlboxen,
- Autostaubsauger,
- kleine tragbare TV-Geräte usw. ...
Berücksichtigten Sie, dass der Akku bei 10 A Last nach spätestens 45 min. erschöpf ist - je nach Ladezustand auch bereits sehr viel mehr.
Kuhlboxen haben eine Stromaufnahme von üblicherweise 3 - 4 A pro Stunde. Dies entspricht bei einer Kapazität des Akkus von 7 Ah also knapp 2 Stunden Betriebszeit.
Nach thisem Rechenbeispiel konnen Sie somit die Betriebszeit für Ihr Gerät in etwa abschätzen.
Vorsicht! Bevor Sie irgendwelche Anschlussarbeiten vornehmen, schalten Sie sowohl Ihr Gerät, als auch die Energiestation aus...
(Der Hauptschalter muss in der Stellung „OFF“ stehen (Mittelstellung ))
So beugen Sie vor, dass bei Anschlussfehlern Schäden entstehen.

a) Gerät anschließen
Vorsicht! Bevor Sie Ihr Gerät an die Energiestation anschließen, stellen Sie zuerst sicher, dass „Plus“ und „Minus“ nicht vertauscht ist. Sonst kann Ihr Gerät beschädigt werden.
1 Bei dem mitgelieferten Kabel ist der Geräte-Stecker so angeschlossen, dass Plusinnen und Minus außen anliegt, wie gezeichnet.
- Verwenden Sie theses Kabel, wenn die Buchse an Ihrem Gerät so gekennzeichnet ist:

- Verwenden Sie diese Kabel nicht, wenn die Buchse an Ihrem Gerät so gekennzeichnet ist:

Bei Geräten mit fest angeschlossnem
Kabel mit KFZ-Stecker ist „Plus" und „Minus" richtig gegolt.
1 Stecken Sie den Geräte-Stecker von dem mitgelieferten Kabel in die Buchse an Ihrtem Gerät.
2 Stecken Sie den KFZ-Stecker ...
3 ... in die KFZ-Steckdose an der Energiestation.
Wenn Sie Ihr Gerät an die Energiestation angeschlossen haben ...
4 stellen Sie den Hauptschalter auf "ON" - Ihr Gerät wird nun strom-versorgt.
Eine grüne LED „Voll“ leuchtet, sobald der Hauptschalter eingeschaltet ist und genügend Energie zur Verfügung besteht.
Eine rote LED „Leer“ leuchtet, sobald der Hauptschalter eingeschaltet ist – aber der Akku fast leer ist.
Vorsicht! Laden Sie den Akku erst auf, wenn die rote LED „Leer“ leuchtet. Andernfalls kommt es zu einer Tiefentladung, wodurch Akkus üblicherweise erheblich an Ladekapazität verlieren.
b) Gerät entfernen
Wenn Sie die Stromversorgung für Ihr Gerät durch die Energiestation wieder beenden wollen:
Schalten Sie erst das Gerät aus.
- Stellen Sie dann an der Energiestation den Hauptschalter auf „OFF" (Mittelstellung).
Damit verhindern Sie, dass noch Strom fliebt, während der Stecker gezogen wird. Empfindliche Geräte reagieren darauf auf manchmal mit Störungen.
- Nunziehen Sie die Stecker sowohl am Gerät als auch an der Energiestation.
6. Wenn's nicht Funktioniert...?
Wenn nach dem Einsatz keine der beiden LEDs leuchtet, ist eventuell eine der Sicherungen an der Energiestation durchgebrannt. In dem Kapitel 8 ist das Wechseln der Sicherungen naher beschrieben.
Wenn nach dem Einsatzen bzw eine LED an der Energiestation leuchtet - Ihr Gerät aber nicht Funktioniert:
- schalten Sie die Energiestation soit aus.
- Überprüfen Sie dann erst, ob das Kabel richtig angeschlossen ist – und „Plus“ und „Minus“ nicht vertauscht sind. Wenn nicht, überprüfen Sie auch die Sicherung an Ihr Gemär, wie in dessen Anleistung beschrieben.
7. Schraubanschluss
These sind vorgesehen für den Einsatz von 12V-Geräten, die beim Einsatz einen hohen Anlaufstrom benötigen, ansonsten aber nicht mehr als 10 A pro Stunde verbrauchen.

Geräte mit einem hohen Anlaufstrom können beispielsweise sein ...
- 12V-Staubsauger
- 12V-Bohrmaschinen
- 12V-Fernsehgeräte usw.
These mogenzarimBetriebnichtmehr als10Abenotigen-nochochlostbeim EinsatzenofoftdieSicherungaus.
In thisem Fall konnen solche Geräte dann nicht an der mit 10 A abgesicherten KFZ-Steckdose betrieben werden.
Betreiben Sie sie nur über die hier beschriebenen Schraubklemmen.
a) Schrauben oder stecken?
Die Schraubklemmen sind von innen hohl, um Dort sog. „Bananenstecker“ hinein stecken zu konnen.
Sind solche an Ihr gemäßekabel:
- Stecken Sie dieseststattanzuschrauben von oben indie Schraubklemmen hinein!
Gefahr!
Hier können extrem hohe Ströme fließen, die)sogar dicke Kabel zum Gluhen bringen können! These hohen Ströme sind allerdings erforderlich, um manche Geräte starten zu können. Die Schraubanschlüsse sind davon...
- nicht über eine Sicherung und
- nicht über den Hauptschalter ... geführt - es liegt dauernd Spannung an! Achten Sie dazu unbedingt darauf, dass an den Schraubklemen niemals ein Kurzschluss entsteht!
b) Geräte mit festem Kabel
Wenn das Kabel fest verbunden ist mit dem Gerät, schreiben Sie einfach ...
die „Plus“-Ader (meistens rot) and die rote Schraubklemme an
2 und die „Minus“-Ader (meistens schwarz oder blau) an die schwarze Schraubklemme an.
Drehen Sie hierzu die Kunststoff-Kappe an den Schraubklemmen lose.
Klemmen Sie beim wieder zudrehen die blanken Adern darunter ein.
c) Geräte mit losem Kabel
Wenn das Kabel nicht fest verbunden ist mit dem Gerät, sondern über einen blanken Geräte-Stecker verfügt ...
- stecken Sie erst den Geräte-Stecker in die Buchse am Gerät.
SchlieBen Sie dann die Adern an den Schraubklemmen an
Mit dieser Reihenfolge verhindern Sie die Gefahr eines Kurzschlusses, falls der blanke Stecker versehentlich metallisch leitende Gegenstände berührt.

8. Sicherungen
Wenn nach dem Einsatz keine LED leuchtet, ist eventuell eine der beiden Sicherungen durchgebrannt - entweder
- die Flach-Sicherung halten oder
- die Rund-Sicherung vorne.
Wenn nach dem Einsatzen bzw eine LED leuchtet - trotzdem aber über das Zigarettenanzünder-Kabel kein Strom fliebt, ist eventuell ...
die Kabel-Sicherung im Zigarettenanzünder-Stecker durchgebrannt.
Gefahr!
Schalten Sie erst den Hauptschalter auf „OFF". Ziehen Sie alle Kabel von der Energiestation, bevor Sie irgendwelche Sicherungen wechseln.
Damit verhindern Sie, dass Ihnen im Fehlerfall die neue Sicherung beim Einsetzen zwischen den Fingern verglüht - Verletzungsgefahr!

Gefahr!
Sicherungen sind wichtige Schutz-einrichtungen, um Schäden zu verhindern. Machen Sie diese niemals unwirksam, also ...
- Ersetzen Sie Sicherungen immer nur durch den selbst Wert, niemals durch „stärkere".
- Überbrücken Sie niemals die Sicherungen - Brandgefahr!.
a) Rund-Sicherung wechseln:
- Drehen Sie vorne die Kappe von der Rund-Sicherung auf. Setzen Sie eine neue Sicherung mit „2 A (T2A 250V)" ein.
b) Flach-Sicherung wechseln:
3 Ziehen Sie am Gerät hinten die Flach-Sicherung herself (z.B. mit einer Spitzange). Setzen Sie eine neue Sicherung mit „10 A (C 10)" ein.
c) Kabel-Sicherung wechseln:
Drehen Sie am KFZ-Stecker die Kappe von der Kabel-Sicherung auf. Setzen Sie eine neue Sicherung mit "1 A (T1A 250V)" ein.
Wenn bei angeschlossen Gerät die Sicherung gleich wieder durchbrennt:
- Ihr Gerät belastet die Energiestation mit einer zu hohen Stromaufnahme.
Ihr Gerät ist defekt.
9. Reinigung und Pflege
Gefahr!
Öffnen Sie niemals das Gehäuse! Es befinden sich keinerlei Bedienelemente darin. Bei geöffnetem Gehäuse besteht Brandgefahr durch hohe Kurzschluss-Ströme.
Bevor Sie das Gerät reinigen, ....
- schalten Sie den Hauptschalter erst in die Stellung „OFF“, ...
- ziehen Sie alle Kabelverbindungen zwischen Energiestation und eventuell daran angeschlossenen Geräten.
- Wenn Sie den Netz-Ladeadapter reinigen wollen, ziehen Sie diesen erst aus der Steckdose und aus der Ladebuchse.
Gefahr!
- Tauchen Sie auf keinen Fall Geräteile in Wasser oder andere Flüssigkeiten! Hierdurch kann die Energiestation schwer beschädigt werden - beim Netz-Ladeadapter besteht)sagar Lebensgefahr durch elektrischen Schlag.
- Reinigen Sie alle Flächen und Kabel better mit einem leicht angefeuchteten Spültuch. Trocknen Sie das Gerät auf jeder Fall gut ab, bevor Sie es erneut verwenden.
- Verwenden Sie keine Reinigungso-oder Lösemittel. Diese können zu Schäden am Gerät führen, insbesondere an der Beschriffung.

10. Aufbewahren
Wenn Sie ihre Energiestation für mehrere Tage oder Wochen wegstellen:
- Laden Sie sie wegen der tatsächlichen Selfentladung von Akkus noch einmal vollständig auf.
Laden Sie das Gerät spätestens nach 6 Monaten auf, wenn es Sie über länger Zeit unbenutzt lagern sollen. So verhindern.Sie eine Tiefentladung des Akkus.
Schalten Sie den Hauptschalter erst in die Stellung „OFF". - Ziehen Sie alle Kabelverbindungen zwischen Energiestation und eventuell davon angeschlossenen Geräten.
- Verstauen Sie die Kabel und Stecker in den Seitenfächern am Gerät.
SchlieBen Sie zum Schluss alle Deckel.
Lagern Sie das Gerät an einem trockenen Ort.
11. Entsorgen
In der Energiestation ist ein Blei-Gel Akku eingebaut, der nicht über den Hausmull entsorgt werden darf (Alt-BatterieVerordnung).
- Geben Sie die EnergiestationDMAH der eine darauf vorgeseheneRücknahmestelle zur Entsorgungzurück.
In den sonstigen Geräteileinen sind keinerlei Materialien enthalten, für die es zum Zeitpunkt der Anleitungserstellung (August 2003) irgendwelche besonderen Entsorgungsvorschriften gibt.
Fragen Sie ggf. Ihr Gemeindebehörde, wenn sich die gesetzliche Situation zwischenheitlich geändert haben sollente.

Station d'énergie Tronic KH 3106
2. Technische gegevens
Energiestation
Accu gel-batterij: : 12V---/7Ah
c) Als het nicht fonctioneert...?
6. Als het nicht functioneert...?
Konformitätserklarung
Wir, Kompernaß Handelsgesellschaft mbH, Burgstr. 21, D-44867 Bochum, Germany, erklärten hiermit für diese Produkte die Übereinstimmung mit folgenden
EU-Richtlinien:
EU-Niederspanningsrichtlinie 73/23/EWG:
EN 60335-1
EN 61558-1
EN 61558-2-6
EU Richlinie zur elektromagnetischen Verträglichkeit 89/336/EWG:
EN 55014-1
EN 55014-2
EN 61000-3-2
EN 61000-3-3
Type: KH 3106 BFP DK

Hans Kompernaß
- Geschäftsführer -
F
Certificat de conformite
Me, Kompernaß Handelsgesellschaft mbH, Burgstr. 21,
Vi, Kompernaß Handelsgesellschaft mbH, Burgstr. 21, DE
44867 Bochum, Tyskland forklarar harned attenna pro
My, Kompernaß Handelsgesellschaft mbH, Burgstr. 21,
D-44867 Bochum, Germany, timto prohlasujeme, ze tento
We, Kompernaß Handelsgesellschaft mbH, Burgstr. 21,
Sollte Ihr Gerät wider Erwarten eine Funktionstörung haben, muss es im vom Hersteller autorisierten Fachhandel oder durch erfahrenes Fachpersonal repariert werden. Wenden Sie sich dazu an unseren Kundenservice. Entnehmer Sie die Adresseitte dem beigefügten Garantiezettel.
EinfachAnleitung