DRD727JE - Kessel DE DIETRICH - Kostenlose Bedienungsanleitung
Finden Sie kostenlos die Bedienungsanleitung des Geräts DRD727JE DE DIETRICH als PDF.
Laden Sie die Anleitung für Ihr Kessel kostenlos im PDF-Format! Finden Sie Ihr Handbuch DRD727JE - DE DIETRICH und nehmen Sie Ihr elektronisches Gerät wieder in die Hand. Auf dieser Seite sind alle Dokumente veröffentlicht, die für die Verwendung Ihres Geräts notwendig sind. DRD727JE von der Marke DE DIETRICH.
BEDIENUNGSANLEITUNG DRD727JE DE DIETRICH
RéFRIGÉRATEUR-CONGÉLATEUR KÜHL- GEFRIERSCHRANK TWEEDEURS-KOELKAST FRIGORIFERO-CONGELATORE DRD727JE
De Dietrich


Chère cliente, cher client,
iWARNUNGEN UNDWICHTIGE HINWEISE
Es ist sehr wichtig, daß diese Bedienungsanleitung mit dem betreffenden Gerät aufbewahrt wird. Sollte与此 des Geät verkauft bzw. einer anderen Person gegeben werden, so ist es nötig, die Anleitung beizufügen, damit der neue Besitzer über den Betrieb des Gerätes bzw. die entsprechenden Warnungen.
Sollte these Gerät mit Magnet-Türverschluß als Ersatz für ein altes Gerät dieren, das noch mit einem Schnappschoß ausgerüstet ist, so machen Sieitte desses Schoß unbrauchbar, bevor Sie das Gerät beiseite stellen oder zum Müll geben. Sie verhindern damit, daß spielende Kinder sich selbst einsperren und damit in Lebensgefahr kommt.
These Warningungen wurden zu Ihr dem Schutz anderer erarbeitet. Wir bitten Sie dazu, diese aufmerksam zulesen, bevor das Gerät in Betrieb genommen wird.
Sicherheit
- Dieses Gerät wurde hergestellt, um von Erwachsenen benutzt zu werden. Es ist unbedingt darauf zu achten, daß Kinder es nicht anfassen oder es als Spielzeug verwenden.
- Es ist gefährlich, die Eigenschaften theses Gerätes zu ändern.
- Vor der inneren bzw. äußeren Reinigung des Gerätes sowie beim Auswechseln der Glühlampe (bei damit ausgestatteten Geräten) das Gerät spanningslos machen.
- Eis aus dem Gefrier- bzw. Frosterfach nicht sofort essen, es konnte Kälte-Brandwunden verursachen.
- Dieses Gerät ist schwer. Beim Versetzenitte darauf auf achten!
- Beachten Sie, dan während der Bewegung des Gerätes der Kältemittelkreislauf nicht beschädigt wird.
Das Gerätarf nicht in unmittelbarer Höhe von Heizkörpersn oder Gasherden aufgestellt werden. - Ein Standort mit direkter Sonneneinstrahlung sollte vermieden werden.
- Eine ausreichende Luftzirkulation an der Geräterückseite muß gewährleistet sein. Jegliche Beschädigung des Kühlkreislaufes ist zu vermeiden.
- NUR FÜR GEFRIERSCHRÄNKE (Einbaugeräte ausgenommen): ein optimaler Aufstellungssort ist der Keller.
- Keine Elektrogeräte (z.B. Eismaschinen) in das Gerät stellen.
Störungen - Kundendienst
- Sollte die Installation des Gerätes eine Änderung der elektrischen Hausinstallation verlangen, so darf diese nur von Elektro-Fachkräften durchgeführt werden.
Eventuelle Reparaturen dürfen nur von einem Kundendienst oder sonstigen autorisierten Stellen durchgeführt werden.
- Es ist wichtig, daß nur Original-Ersatzteile verwendet werden.
- Dieses Gerät enthalt im Kältekreislauf Kohlenwasserstoff. Aus thisem Grund dar die Wartung und das Nachfiillen ausschließlich von autorisiertem Fachpersonal durchgeführt werden.
- Benutzen Sie nie Metallgegenstände um das Gerät zu reinigen, da es beschädigt werden können.
- Tritt eine Störung oder ein Defekt ein, versuchen Sie nicht, das Gerät selbst zu reparieren. Elektrogeräte dürfen nur von Elektro-Fachkräften repariert werden, da durch unsachgemäß Reparaturen erhebliche Folgeschäden entstehen können. Wenden Sie sichitte an die{nachste Kundendienstelle.
Aufstellung
- Sich vergewissern, daß das Gerät nach der Installation nicht auf dem Netzkabel stehen.
Wichtig: Beschädigte Versorgungskabel müssen durch ein Spezialkabel bzw. einen Spezialsatz ersetzt werden, die beim Hersteller oder den Kundendienst erhältlich sind. - Wahlrend das Gerät in Betrieb ist, werden der Verflüssiger und der Kompressor, die sich auf der Rückseite des Gerätes befinden, heiß. Es ist darauf zuachten, dass die Luft um das Gerät frei zirkulieren kann, damit die Wärme abgeführt werden kann. Eine ungenügende Luftzirkulation kann einen unregelmässigen Betrieb bzw. Schäden am Gerät verursachen. Achten Sie auf die Installationsanweisungen.
-
Teile, die heißt werden (z.B. Kompressorgeläuse, Verflüssiger und zugehörige Rohre), sollen nicht frei zugänglich sein. Wo es auch immer möglich ist, soll das Gerät mit der Rückseite gegen eine Wand gestellt werden.
-
Wahlrend des Transports kann es vorkommen, daß das im Motorkompressor enthaltene Öl in den Kältekreislauf abläuft. Man sollen mindestens 2 Std. warten, bevor das Gerät in Betrieb genommen wird, damit das Öl in den Kompressor zurückströmen
Gebrauch
Die Haushaltskuhl- und Gefriergeräte sind nur zur Einlagerung bzw. zum Einfrieren von Nahrungsmitteln bestimmt.
Die Beste Leistung erzielt man bei Raumtemperaturen von +18^ bis +43^ (Klasse T); +18^ bis +38^ (Klasse ST); +16^ bis +32^ (Klasse N); +10^ bis +32^ (Klasse SN); die Geräteklasse ist auf dem Typschild angegeben.
Zu beachten: Wird diesen Gerätes bei anderen Umgebungstemperaturen betrieben als den in der entsprechenden Klimaklasse angegebenen Werten, sind folgende Hinweise zu beachten: sinkt die Umgebungstemperatur unter den angegebenen Mindestwert ab, könnte die Lagertemperatur im Gefrierabteil nicht mehr garantiert sein; es wird Daher empfohlen, die eingelagerten Lebensmittel so rasch als möglich zu verbrauchen.
- Einaufgetautes Produkt darf nicht wieder eingefroren werden.
- Für das Aufbewahrenszw. das Einfrieren der Lebensmittel sind die Anweisungen des Herstellers zu befolgen.
- In allen Kuhl- und Gefriergeräten bedecken sich im Laufe der Zeit alle kältefuhrenden Teile mit einer Reif bzw. Eissicht. Diese Schicht wird je nach Modell automatisch oder mit der Hand abgetaut.
Die Reifsicht niemals mit Metallgegenständen abkratzen, das Gerät könnte beschädigt werden. Dazu nur einen Plastikschaber verwenden. - Zum Lösener festgefrorenen Eisschalen keine scharfkantigen oder spitzn Gegenstände benutzen.
- Es sollen den keine kohlensäurehaltigen Getränke in das Gefrier- bzw. Frosterfach eingestellt werden, sie konnten platzen.

Umweltnormen
Dieses Gerät enthalt im Kühlkreislauf und in der Isolierung kein ozonschädigendes Gas. Das Gerätarf nicht mit dem Hausmüll entsorgt werden. Eine Beschädigung des Kältemittelkreislaufs, insbesondere des Wärmetauschers auf der Rückseite des Gerätes, mußverhindert werden. Auskunft über Abholtermine oder Sammelplätze gibt die örtliche Gemeindeverwaltung an. Die in dieser Gerät verwendenten und mit dem Symbol gekennzeichneten Materialien,sind recyclingfähig.
Entsorgung von Altgeräten
Das Symbol auf dem Produkt oder seiner Verpackung weist daraufhin, dass diese Produkte nicht als normaler Haushaltsabfall zu behandeln ist, sondern an einem Sammelpunkt für das Recycling von elektrischen und elektronischen Geräten abgegeben werden muss. Durch ihren Beitrag zum korrekten Entsorgen thesese Produkte schützen Sie die Umwelt und die Gesundheit ihrer Mitmenschen. Umwelt und Gesundheit werden durch falsches Entsorgen gefährdet. Weitere Informationen über das Recycling thesese Produkte erhalten Sie von Ihrrem Rathaus, Ihrer Müllabfuhr oder dem Geschäft, in dem Sie das Produkt gekauft haben.
HINWEISE ZUR VERPACKUNGSENTSORGUNG
Verpackungen und Packhilfsmittel unserer Elektro-Groβgeräte sind mit Ausnahme von Holzwerkstoffen recyclingfähig und sollen grundsätzlich der Wiederverwertung zugeführrt werden. Wir empfehlen Ohnen:
- Papier-, Pappe- und Wellpappeverpackungen sollen in die entsprechenden Sammelbehälter gegeben werden.
- Kunststoffverpackungsteile sollenen ebenfls in die darauf vorgesehenen Sammelbehälter gegeben werden. Solange solche in Ihrw Gehngebiet noch nicht vorhanden sind, konnen Sie diese Materialien zum Hausmull geben.
Als Packhilfsmittel sind bei uns nur recyclungfähige Kunststoffe zugelassen, z.B.:
In den Beispielen steht

PE

PP

PS
PE für Polyäthylen ^** 02 = ^ PE-HD; 04 = ^ PE-LD
PP für Polypropylen
PS für Polystyrol
BESTANDTEILE AUS PLASTIK
Zur einfacheren Entsorgung und/oder Recycling ist ein Großteil der Materialien these Gerätes gekennzeichnet, um ihre Identifizierung zu erhögbaren.

PS

SAN

ABS
INHALT
Warningen und wichtige Hinweise 16
Hinweis zur Verpackungsentsorgung 18
Gebrauch - Reinigung der Innenteile - Inbetriebnahme - Temperaturregelung - Richtig kühlen 19
Gebrauch - Lebensmittelschutz 20
Gebrauch - Einfrieren von frischen Lebensmittel - Aufbewährung der Tiefkuhlkost
Eiswurfelbereitung - Auftauen - Hohenverstellbare Abstellregale - Hohenverstellung
der Innentürablagen 21
Tips - Tips fur das Kuhlen - Tips fur das Einfrieren - Tips fur Tiefkuhlkost - Gefrierkalender 22
Wartung - Regelmäßige Reinigung - Stillstandzeiten - Innenbeleuchting - Abtauen 23
Störungen 24
Technische Daten - Installation - Aufstellung - Transportsicherungen - Elektrischer Anschluß 25
Installation-Turanschlagwechsel 26
Installation - Montageanleitungen fur den integrierten Einbau 27
Allgemeine Garantiebestimmungen 30
Reinigung der Innenteile
Bevor Sie das Gerät in Betrieb besteht, beseitigen Sie den typischen «Neugeruch» am besten durch Auswaschen der Innenteile mit lauwarmem Wasser und einem neutralen Reinigungsmittel Sorgfällig nachtrocknen.

- Bitekeine Reinigungsbzw.Scheuermittel fenden, die das Gerat beschadigen konnten.
Inbetriebnahme
Den Stecker in die Steckdose einsetzen. Kuhl-schranktur öffnen und Thermostatknopf von der Stellung «O» (STOP) aus im Uhrzeigersinn drehen. Das Gerät ist eingeschaltet. Den Stillstand des Gerätes erhalten man durch Drehen des Thermostatknopfas auf das Symbol «O».
Temperaturregelung
Die Temperatur wird automatisch geregelt und kann erhöht werden (wärmer) durch Drehen des Thermostatknopfes auf niedrigere Einstellungen oder verringgert (kälter) durch das Drehen auf höhere Zahlen. Die richtige Einstellung erhält man, unter Berücksichtigung folgender, die Innentemperatur beeinflussender Faktoren:
- Raumtemperatur,
- Häufigkeit des Türoeffnens,
- Menge der eingelagerten Lebensmittel,
Aufstellung des Gerätes.
Die mittlere Einstellung ist meinstens die geeignetste.

Wichtig
Höchste Kälteeinstellung bei hoher Raumtemperatur und erheblicher Lebensmittelmenge kann fortdauernden Kühlschrank-Betrieb verursachen, damit kann sich eine Reif- oder Eisschicht an der hinteren Innewand bilden. In this dem Falle den Thermostatknopf auf wärmere Temperaturen stellen, damit das automatische Abtauen, mit folglich geringerem Stromverbrauch, gewährleistet werden kann.
Hinweise zum richtigen Kühlen von Lebensmitteln und Geträngen
Um die besten Leistungen des Kühlschranks zu erreichen, beachten Sieitte folgenden:
- Keine warmen Speisen oder dampfenden Flüssigkeiten in den Kühlschrank einstellen.
- Geruchverbreitende Lebensmittel mösen abgedeckt oder eingewickelt werden.
Die Lebensmittel mussen so eingelagert werden, daß die Kälte um sie frei zirkulieren kann.
LEBENSMITTELSCHUTZ
Erklärung der Symbole des Kühlraums

Das darüber hält, das in dieser Bereich des Kühraums die niedrigste Temperatur herrscht.
Kälsterer Bereich: weniger oder gleich +4^
Fleisch, Geflügel, Fisch, Wurstwaren, Fertigerichte, gemischte Salate, Gerichte und Sübspeisen auf der Grundlage von Eiern oder Sahne, frische Teigwaren, Kuchenteig, Pizzen/Quiches, frische Lebensmittel und Frischkase, in Plastikbeuteln verpacktes Gemüse und im Allgemeineren samsliche frische Lebensmittel, die bis zu deren Haltbarkeitsdatum bei +4^ oder weniger aufzubewahrens sind.
Temperaturanzeiger
Einzustellender Thermostat

Korrekte Temperatur

Die Funktionsweise Ihres Kuhlschranks kann über den Temperaturanzeiger überprüft werden.
Sobald im kältesten Bereich des Kühlraums eine Temperatur von +4^ oder weniger herrscht, erscheint am Temperaturanzeiger das Symbol "OK".
Liegt die Temperatur über +4^ , bleibt der Temperaturanzeiger schwarz. Demzufolge ist die Temperatur durch Einstellen des Thermostats auf einen niedrigeren Wert zu bringen.
ACHTUNG: Die Türen des Kühlschranks sollenn nie über länger Zeit offen gelassen werden, da dies zu einer Erhöhung der Innentemperatur führt. Für eine korrekte Temperaturmessung ist der Temperaturanzeiger innerhalb von 30 Sekunden abzULEsen.
Einfrieren von frischen Lebensmitteln
Das 4 Sterne-Gefrierfach eignet sich zur langfristigen Einlagerung von Tiefkuhlkost sowie zum Einfrierten frischer Kost.
Für das Einfrieren von Lebensmitteln ist es nicht nötig, die Thermostatinstellung zu ändern.
Wünscht man aber ein rasches Einfrieren, so muß der Thermostatknopf auf die höchste Stellung gedreht werden. Sollte jedoch bei dieser Einstellung die Temperatur im Kühlaum unter 0^ führen, so muß eine niedrigere Reglerstellung gewählt werden.
Aufbewährung der Tiefkuhlkost
Das Gefrierfach eignet sich zur langfristigen Einlagerung von Tiefkuhlkost.
Nach einem längeren Stillstand oder bei der ersten Inbetriebnahme des Gerätes muß vor der Einlagerung der Tiefkuhlkost die höchste Stellung des Thermostatkopfes gewählt werden. Nach ca. 2 Std. kann dieser auf eine mittlere Stellung zurückgedreht werden.

Wichtig
Im Falle einer Stromunterbrechung während der Lagerung von Tiefkuhlkost bzw. von eingefrorenen Lebensmitteln soll die Tur des Gefrierfaches nicht geöffnet werden. Die Tiefkuhlkost verdirbt nicht, wenn es sich um eine kurze Unterbrechung handelt (bis 6-8 Std.) und das Gerät voll ist. Wenn das nicht der Fall ist, ist es nötig, die tiefgefrorenen Lebensmittel innerhalb kurzer Zeit zu verbrauchen (eine Temperaturerhöhung der Tiefkuhlkost verkürzt die Aufbewährungsdauer).
Hohenverstellbare Abstellregale
Der Abstand zwischen den verschiedene Abstellregalen kann je nach Wunsch geändert werden. Dazu die Regale Herausnahmen und auf das gewünschte Niveau einsetzen. Zur betteren Raumnutzung können die vorderen Halbteile der Ablagen auf die rückwärftigen hinaufgelegt werden.
Hohenverstellung der Abstellregale
Zur Einlagerung von Lebensmittel-Packungen verschiedener Höhe, sind die Abstellregale der Innentür hohenverstellbar.
Hierzu wie folgt vorgehen: das Abstellregal stufenweise in Pfeilrichtung drucken bis es frei wird; dann in der gewünschten Höhe wieder anbringen.
Eiswürfelbereitung
Das Gerät hat eine oder mehrere Eiwürfelschalen, welche mit Wasser aufgefüllt in das Gefrierfach gestellt werden.
Bitte zur Entnahme der Eiwurfelschalen keine Metallgegenstände benutzen!
Auftauen
Die eingefrorenen oder tiefgekühnten Lebensmittel sollenn vor dem Gebrauch aufgetaat werden, indem man sie am besten im Kuhlabteil oder je nach der zur Verfugung stehenden Zeit bei Raumtemperatur auftaut. Kleine Stücke konnen eingefroren gekocht werden. Selfstverständlich verlangert sich damit die Kochzeit.


Tips für das Kühlen
Nachstehend einige praktische Ratschlage:
Fleisch (alle Sorten) in Plastikfolie einpacken und auf die Glasplatte, die sich über der Gemüseschale (über den Gemüseschalen) befindet, legen.
In dieser Lage kann das Fleisch langstens 1-2 Tage aufbewahrt werden.
Gekochte Nahrungsmittel, kalte Platten, usw. zugedeckt aufbewahren. Sie konnen auf jedem beliebigen Rost gelegt werden.
Obst und Gemüse: nach vorherigem Säubern und Waschen in der Gemüseschale (in den Gemüseschalen) aufbewahren.
Butter und Käse: in speziellen Behältern aufbewahren oder in Alu- bzw. Plastikfolie einpacken, um den Kontakt mit der Luft zu vermeiden.
Milch in Flaschen: gut verschlossen auf die Konsol der Innentür stellen.
Wenn Bananen, Kartoffeln, Zwiebeln und Knoblauch nicht verpackt sind, sollen sie nicht in den Kühlschrank gegeben werden.
Tips für das Einfrieren
Für ein einwandfreies Einfrieren der Lebensmittel geben wir folgende Ratschlage:
- Das Gefriervermögen des Gefrierabteils (in 24 Std.) kann auf dem Typenschild abgelesen werden.
- Der Gefriervorgang dauert ca. 24 Stunden. In dieser Zeit sollte keine zusätzliche Ware in das Gefrierabteil eingelegt werden.
- Nur erstklassige, frische und gut gesäuberte Produkte einfrieren.
Die Nahrungsmittel vor dem Einfrieren in keine Portionen einteilen, damit der Gefriervorgang beschleunigt wird; dies ermöglich das spätere Auftauen von kleineren Portionen.
Die Lebensmittel in Alu- oder Polyäthylenfolien luftdicht verpacken.
Gefrierkalender
Die Symbole zeigen unterschiedliche Arten von Tiefkuhlgut.
Die Zahlen geben für die jeweilige Art von Tiefkühlgut die Lagerzeit in Monaten an. Ob der obere oder derunte Wert der angegebenen Lagerzeiten gultig ist, hangt von der Qualität der Lebensmittel und deren Vorbehandlung vor dem Einfrieren ab.
- Es soll vermieden werden, daß die einzufrierenden Lebensmittel mit den bereits eingefrorenen in Berührung kommt, um eine Wärmeübertragung an diese zu verhindern.
- Es ist zu beachten, daß mageres Fleisch better und länger haltbar ist. Fetthaltiges Fleisch hat eine geringere Lagerzeit. Ferner reduziert Salz die Haltbarkeitsdauer.
- Speiseeis, direkt aus dem Gefrierfach genommen, kann Kälte-Brandwunden verursachen.
- Es ist empfehlenswert, auf der Verpackung das Einfrierdatum zu notieren, damit die Aufbewahrungszeit eingehalten werden kann.
- Es sollen den keine kohlensäurehaltigen Getränke in das Gefrierfach eingestellt werden, da sie explodieren können.
Tips für Tiefkühlkost
Um optimale Leistungen des Gerätes zu erhalten, sich vergewissern,
- daß die Tiefkuhlkost beim Verkaufen gut aufbewahrt wurde
- daß der Transport vom Verkäufer zum Verbraucher in kurzer Zeit erfolgt.
- Tür so weniger wie möglich öffnen und nicht offen halten.
- Einmal aufgetaute Lebensmittel verderben schnell und können kein ein zweites Mal eingefroren werden.
- Das Haltbarkeitsdatum auf der Tiefkuhlkestverpackung sollte nicht übersritten werden.
***
3|@电3|6|@设|9|网心|12|网
Vor jeder Reinigungsrarbeit immer den Netzstecker aus der Steckdoseziehen.
Achtung: Dieses Gerät enthalt im Kältekreislauf Kohlenwasserstoff. Aus thisem Grund darf die Wartung und das Nachfiillen ausschließlich von autorisiertem Fachpersonal durchgeführt werden.
Stillstandszeiten
Bei längerem Stillstand des Gerätes, müssen Sie folgendermaßen vorgehen:
den Stecker aus der Steckdoseziehen;
- alle Lebensmittel herausnehmer;
Gerat abtauen, Innenraum und Zubehörteile reinigen;
- die Türen offen setzen, um im Innern eine gute Luftzirkulation zu gewährleisten und damit Geruchsbildung zu vermeiden.
Innenbeleuchting
Die Innenbeleuchtungslampe im Kühlabteil ist durch folgende Arbeitssschritte zugänglich:
- Losen Sie die Befestigungsschraube der Lampenabdeckung.
- Heben Sie den beweglichen Teil ab, indem Sie wie in der Abbildung gezeigt darauf drücken.
Sollte sich die Beleuchtung beim Öffnen der Türe nicht einschalten, ist zu überprüfen, ob die Glübbirne fest eingeschraubt ist; wenn die Störung dennoch bestehen bleibt, die defekte Glübbirne durch eine neue Birne gleicher Leistung ersetzen.
Die maximale Leistung ist am Leuchtkörper angegeben.
Abtauen
Die sich auf dem Verdampfer des Kühlschrakes bildende Reifschicht taut Jedesmal in den Stillstand-zeiten des Motorkompressors von selbst ab. Das Tauwasser lauft durch eine Rinne in eine Plastikschale auf der Rückseite des Gerätes (über dem Kompressor) und verdunstet Dort.
Wir empfehlen, das in der Mitte der Abtauuwasserrinne des Kuhlraumes befindliche Ablaufloch für das Abtauwasser regelmäß zu reinigen, um zu vermeiden, daß das Abtauwasser auf die eingelagerten Lebensmittel tropf. Verwenden Sie den darauf vorgesehenen Reiniger,der sich schon im Ablaufloch befindet.
Regelmäßige Reinigung
Benutzen Sie nie Metallgegenstände um das Gerät zu reinigen, da es beschädigt werden können. Den Innenraum mit lauwarmem Wasser und Natron reinigen.
Gut nachwaschen und sorgfältig trocknen.
Den Kondensator und den Motorkompressor mit einer Bürste oder einem Staubsauger reinigen. Dies begunstigt den gute Betrieb mit folglicher Stromersparnis


Die sich im Gefrierfach bildende Reifschicht soll, sobald diese eine Stärke von 4 mm erreicht hat, mit einem Plastikschaber abgekratzt werden. Wahrend这点es Vorganges ist es nicht nötig, das Gerät auszuschalten und die Nahrungsmittel herauszunehmen.
Wenn sich jedoch eine dicke Eisschicht bildet, muß man vollkommen abtauen. Um ein vollständiges Abtauen durchzuführen, gehen man wie folgt vor:
- Den Thermostatknopf auf «O» einstellen oder den Stecker aus der Steckdose Herausziehen.
- Die eventuell im Frosterfach liegenden Lebensmittel Herausnahmen, sie in Zeitungspapier einwickeln und sehr kuhl aufbewahren.
- Tur offen lessen.
- Nach beendeten Abtauproße das Gefrierteil gut nachtrocknen.
- Den Thermostatknopf wieder in die gewünschte Stellung drehen bzw. den Stecker wieder einstecken.
- Nachdem das Gerät für 2-3 Std. in Betrieb genommen wurde, können tiefgefrore Nebensmittel darin zurückgelegt

Achtung
Benutzen Sie niemals Metallgegenstände, um die Reitschicht abzukratzen, damit eine Beschädigungen des Gerätes vermieden werden kann.
Benutzen Sie kein mechanisches oder andes Mittel für einen schnellen Abtauprozeß mit Ausnahme der vom Hersteller empfohlenen.
Ein Temperaturanstieg der Tiefkuhlkost während des Abtaens konnte die Aufbewahrungsduer verkurzen.
STÖRUNGEN
Falls das Gerät Störungen aufweisen sollene, überprüfen Sie zuerst folgenden:
- Steckt der Netzstecker in der Steckdose?
- Befindet sich der Hauptschalter der elektrischen Anlage in der richtigen Stellung?
- Ist die Stromzufuhr unterbrochen?
- Befindet sich der Thermostatkopf in richtiger Stellung?
- Wasserpfütze auf dem Boden des Kühlfaches:
- Abtauuwasserloch verstopt? (siehe Abschnitt "Abtauen")
Sollten Sie nach o.e. Prüfungen zu keinem Resultatkommen, so wenden Sie sichitte an unseren nachsten Kundendienst.
Um ein rasches Beheben des Schadens zu erhögbehen, ist es beim Anruf an den Kundendienst notwendig, die Modell- und Seriennummer anzugegeben, die Sie dem Garantieschein oder dem Typenschild (- linke Seite - unter) entnehmen können.
Die Technische Daten können Sie auf dem Typschild feststellen. Das Typschild befindet sich links unter an der Seitewand.
INSTALLATION
Aufstellung
Das Gerät sollte nicht in der Höhe von Wärmequellen wie Heizkörpern oder Öfen aufgestellt und vor direkter Sonneneinstrahlungs geschützt werden.
Für den Einbauitte den entsprchenden Abschnitt durchlesen.
Transportsicherungen
Ihr Gerät ist mit Transportsicherung versehen, die die Ablage während des Transportes sichern.
Entfernen Sie diese wie folgt:
Ablage hinten hochheiten, in Pfeilrichtung ziehen bis sich die Ablage lost und die Sicherungen entfern.
Elektrischer Anschluß
Bevor Sie den Stecker in die Steckdose einstecken, überprüfen Sieitte, daß die auf dem Typenschild des Gerätes angegebene Spannung sowie Frequenz mit dem Anschlußwert des Houses übereinstimmen. Eine Abweichung von ±6% von der Nominalspannung ist zulässig. Für die Anpassung des Gerätes an andere Spannungen muß ein Spartransformator angemessener Leistung vorgeschaltet werden.
Das Gerät muß unbedingt vorschrifsmäßig geerdet werden. Zu diesen Zweck ist der Stecker des Speisekabels mit dem darauf vorgesehenen Kontakt versehen. Sollte die Netzleitung im Haus nicht mit einer Erdleitung versehen sein, so muß das Gerät an eine getrennte Erdleitung vorschrifsmäßig und unter Hinzuziehung eines Fachmanns angeschlossen werden.
Die Erzeugerfirma lehtne每一Verantwortung ab, falls these Unfallverhütungsvorschrift nicht beachtet wird.
C E Dieses Gerät entspricht der folgende EWG Richtlinie:
- 87/308 EWG vom 2.6.87 (Deutschland-Ausführung) bzw. der ÖVE-Richtlinie Nr. F 61/84 (Österreich-Ausführung) bezüglich Funkentstörung.
- 73/23 EWG vom 19/02/73 (Niederspannung) und folgende Änderungen;
- 89/336 EWG vom 03/05/89 (Elektromagnetische Verträglichkeit) und folgende Änderungen.

Es muß möglich sein, das Gerät vom Netz zu trennenn; Nach der Installation muß die SteckdoseDMAher zugänglich bleiben.

Anweisungen für den integrierten Einbau Turanschlagwechsel

Das Gerät wird mit Turanschlag von rechts oder links gefelfert. Falls einen gegenüberliegenden Turanschlag erfordert wird; gehen Sie wie folgt vor bevor Sie das Gerät einbauen.
- Obere Scharnierstift abschrauben und Kunststoffeil entfernen.
- Obere Tur abnehmen.
- Mittlere Scharnier und die Winkeln abschrauben und auf gegenüberliegende Seite wieder anschrauben.
- Obere Tur wieder einsetzen. Oberen Scharnierstift mit den Kunststoffeil und auf gegenüberliegende Seite wieder anmontieren.


- Untere Scharnierstift abschrauben und Kunststoffeil entfernen und auf gegenüberliegende Seite wieder anmontieren.

Montageanleitung für den integrierten Einbau
NischenmaBe
Höhe (1) 1580 mm
Tiefe (2) 550 mm
Breite (3) 560 mm
Aus Gründen der Sicherheit muß eine Mindestbelüftung gesichert sein, wie aus der Abb.hervorgelt.
Achtung: Die Ventilations - Öffnungen mussenimmer saubergehalten werden.
Ferner ist auch am hinteren Einbauschrankteil ein Luftungskamin mit filgenden Massen notwendig:
Tiefe 50 mm
Breite 540 mm
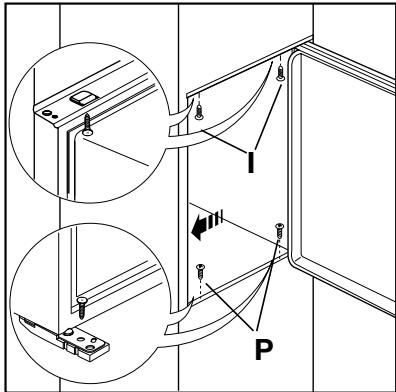
Gerät in die Nische einschieben, bis die Anschlagleiste (1) oben am Möbel anliegt und die vordere Kante des Scharniers mit der Türoeffnungsside bündig an der Nischenseitenwand ansteht (2).
Gerät mit den 4 beiliegenden Schrauben befestigen.
Fugenabdeckprofiloben um die Winkeldicke ausschneiden und zwischen Gerät und Möbelseitenwand eindrücken.





In die Befestigungs- und Scharnierlocher beiliegende Abdeckkappen (C-D) eindrücken.
Belüttungsgitter (B) und Scharnierabdeckung (E) aufstecken.
Die Teile Ha, Hb, Hc, Hd abnehmen, wie in der Abb. gezeigt wird.
Die Schiene (Ha) auf der Innenseite der Mobeltür, oben und unter auflegen (siehe Abb.) und die Position der äußeren Bohrlicher anzeichnen. Nachdem die Löscher gebohr wurden, die Schiene mit den mitgelieferten Schrauben befestigen.
Die Abdeckung (Hc) in die Schiene (Ha) eindrücken, bis sie einrastet.
Gerätetur und Möbeltür auf ca. 90^ öffnen. Den Winkel (Hb) in der Schiene (Ha) einsetzen. Gerätetur und Möbeltür zusammenhalten und die Bohrlocher anzeichnen (siehe Abb.).





Die Winkeleisen entfern und 8 mm vom äusseren Rand der Tur mit dem Nagel (K) kennzeichnen.
Den Winkel wieder auf der Schiene anbringen und mit den mitgelieferten Schrauben befestigen.
Für eine allfällig notwendige Ausrichtung der Möbeltür, den Spielraum der Langlocher nutzen.
Nach Beendigung der Arbeiten den einwandfrei Verschluß der Gerätetur überprüfen.
Die Abdeckung (Hd) in die Schiene (Hb) eindrücken, bis sie einrastet.
Das Gerät ist mit 2 Winkeln (G) ausgestattet. Diese sind zur Seitenlichen Befestigung des Gerätes am Möbel zu verwenden (Siehe Abb.). Abdeckung (H) aufklipsen.
Vergewissern Sie sich nach Ausführung des Anschlagwechsels der Turen, daß alle Schrauben fest angezogen sind und überprüfen Sie auch, ob die Magnetdichtung am Möbel perfect anliegt. Bei einer niedrigen Raumtemperatur (z.B. im Winter) kann es vorkommen, dass die Dichtung nicht perfect am Schrank haftet. Die Wiederherstellung der Dichtung erfolgt automatisch nach gewisser Zeit. Wollen Sie aber diesen Prozess beschleunige, so genögt es die Dichtung mit einem Fön zu erwärmen.




ALLGEMEINE GARANTIEBESTIMMUNGEN
- Wir beheben unentgeltlich nach Maßgabe folgender Bedingungen Mängel am Gerät, die nachweislich auf einem Material- oder Herstellungsehrer berufen, sofern diese Mängel uns unverzüglich nach Feststellung und innerhalb 24 Monate (bei gewerblicher Nutzung oder gleichzusetzender Beanspruchung innerhalb von 12 Monaten) nach Lieferung an den Erstendabnehmer gemeldet wurden. Bei Mängel, die sich innerhalb von 6 Monaten ab Lieferung zeigen, wird ein Material- bzw. Herstellungsehrer vermutet.
- Teile, die einer betriebsbedingten Abnutzung unterliegen, sind ebenso von der Garantie ausgeschlossen wie leicht zerbrechliche Teile. Geringfugige Sollabweichungen in der Beschaffenheit des Gerätes, die für die Wert- und Gebrauchstauglichkeit unerheblich sind oder Schäden aus chemischen, elektrochemischen Einwirkungen von Wasser, anormale Umwelt- und sachfremde Betriebsbedingungen oder sonstige Einwirkungen/Berührungen von ungeeigneten Stoffen lösen keine Garantiepflicht aus. Nicht unter die Garantiepflicht fallen Schäden und Mängel, die durch eine nicht fachgerechte Installation und Montage, Fehlgebrauch, mangelnde Pflege oder Nichtbeachtung von Bedienungs- und Montagehinweisen darüberzuführen sind. Das Fehlen, die Veränderung oder Beschädigung des Typenschildes, Reparaturversuche oder Eingriffe seitens eines nicht autorisierten Kundendienstes oder nicht autorisierten Personen, sowie der Einbau von nicht Originalen Entsatz-, Zubehör- und Ergänzungsteilen, durch die, ein Defekt verursacht wurde, führen bereits zu einem Verlust der Garantie.
- Mangelhafte Teile werden nach unserer Wahl unentgeltlich ersetzt oder Instand gesetzt. Ersetzte Teile gehen in unser Eigentum über. Instandsetzungen vor Ort können nur für stationär betriebene Geräte verlangt werden. Geräte, die zumutbar transportiert werden konnen und für die Garantieleistungen unter Bezugnahme dieser Garantie beansprucht wird, sind der nachstgelegen den Kundendienstelle zu übergeben oder einzusenden. Der Kaufbeleg mit Kauf oder Lieferdatum ist für die Inanspruchnahme dieser Garantie vorzulegen.
- Sofern die Nachbesserung von uns abgeleht wird oder fehlschlägt, wird innerhalb der oben genannten Garantiezeit auf Wunsch des Endabnehmers kostenfrei gleichwertiger Ersatz gefeliefert. Im Falle einer Ersatzlieferung behalten wir uns die Geltendmachung einer angemessenen Nutzungsrechnung für die bisherige Nutzungszeit vor.
- Garantieleistungen setzen keine neue Garantiefrist in Lauf, noch bewirken sie eine Verlängerung der Garantie. Die Garantiefrist für eingebaute Ersatzteile endet mit der Garantiefrist für das komplette Gerät.
- Weitergehende Ansprüche, insbesondere auf Ersatz außerhalb des Gerätes entstandener Schäden sind ausgeschlossen, sofern eine Haftung nicht zwingend gesetzlich angeordnet ist. Die Gewährleistungspflicht des Verkäufers aus dem Kaufvertrag mit dem Endabnehmer bleibt von diesen Garantiebedingungen unberührt.
ANSCHRIFTEN
De Dietrich
Frankfurter Str. 168
D-63263 Neu-Iserburg
Fax. 06102-372674
mailto: dedietrich@fagor-hausgeraete.de
Servicepartner in Deutschland Servicetelefon:
0800/3246726
Ersatzteilbestellungen:
01805/324673
Servicepartner in Osterreich:
SEISER-SERVICE GmbH,
Am Heumarkt 9
A-1030 Wien,
Servicetel.: 01/7131250
iWAARSCHUWINGEN EN BELANGRIJKE ADVIEZEN
Storing - Technische gegevens 39
Bewaar nicht-luchtdicht verpakte bananen,
aardappelen, uien of knoflook nicht in de koelkast.
Notice-Facile