DRD727JE - Ketel DE DIETRICH - Gratis gebruiksaanwijzing en handleiding
Vind de handleiding van het apparaat gratis DRD727JE DE DIETRICH in PDF-formaat.
Download de handleiding voor uw Ketel in PDF-formaat gratis! Vind uw handleiding DRD727JE - DE DIETRICH en neem uw elektronisch apparaat weer in handen. Op deze pagina staan alle documenten die nodig zijn voor het gebruik van uw apparaat. DRD727JE van het merk DE DIETRICH.
GEBRUIKSAANWIJZING DRD727JE DE DIETRICH
Het is uiterst belangrijk dat het bij het apparaat behorende instructieboekje bewaard blijft. Zou het apparaat door u aan iemand anders gegeven of verkocht worden, of zou het apparaat in hetuis van waaruit u verhuist acheterblijven, dan dient de neue gebruik(st)er over het instructieboekje en de daarin opgenomen waarschuwingen te konnen beschikken.
Indien dit apparaat in deplaats van een oud model met haak- of veersluiting opgesteld worden, dan is het raadzaam de sluiting van het oude apparaat, dat terzijde gezet worden, onbruikbaar te make. Hiermee worden voorkomen dat spelende kinderen zich erin opsluiten, hetgeen levensgevaarlijk is.
Deze waarschuwingen zijn bedoeld voor uw en andermanseiligheid. U worden geacht ze gelezen te hebben, alvorens u het apparaat installeert en/of in gebruik neemt.
Algemene veiligheid
- Dit apparaat is bedoeld en gemaakt voor het gebruik door volwassenen. Het is gevaarlijk om kinderen het apparaat te lien bedieren of als spelregulated te lien gebruiken.
- Het is gevaarlijk om, in welke vorm dan ook, dit apparaat of de eigenschappen waarvan te veranderen.
- Neem vór u aan onderhouds- of schoonmaakwerkzaamheden begint.altijd de stekkeruit het stopcontact.
- Dit apparaat is zwaar. Wees voorzichtig bij het tillen.
- Het direct vanuit een vriesvak, vriesgedeelte of vriezer consumeren van ijslolly's en dergelijkke, kan verbranding van de mondhuid tot gevolg hebben;
Heel goed oppassen,ijdens het verplaatsen, dat de delen van het koelcircuit Niet zodanig worden beschadigd, dat de koelvloeistof maar buiten zou+kennen lekken. - Plaats het apparaat Niet in de nabijheid van een centrale verwarming of een gascornuis.
- Vermijd een installmentieplaats metrechtstreekse zoninval.
- Zorg dat er voldoende lucht aan dechterkant van het apparaat kan circuleren. Vermijd schade aan de koelkringloop.
- Alleén voor diepvrieskasten (uit gezonderd ingebouwde): het apparaat kan zeer goed in de kelder geplaatst worden.
- Plaats elektrische apparaten (bijv. ijsmachines) nooit in het apparaat.
Onderhoud / Reparatie
- Een eventueleoodzakelijkwijziging aan de elektrische huisinstallatie ten behoeve van de installmentie van dit apparaat, mag uitsluitend door een daartoe bevoegd personuuitgevoerd worden.
-
Laat inspectie- en/of herstelwerkzaamheden uitvoeren door een erkend servicecentrum en LAST geen andere dan originele reserveonderdelenplaatsen.
-
Tracht, in geval van storing of een defect, dit apparaat Niet zich te repareren. Reparations welke door niedeskundige personen uitgevoerd worden, kuren tot schade of een ernstigere storing leiden. Raadpleeg hetplaatselijke servicecentrum en vraag algtd om originele reserveonderdelen.
- Dit apparaat bevat koolwaterstoffen in de koudekringloop; het onderhoud en het bijvullen dient waarom uitsluitend door deskundig personeel uitgevoerd te worden.
Gebruik
- Huishoudelijkke koel- en/of vriesapparaten+zijn uitsluitend bedoeld voor het bewaren en/of invriezen van eet- of drinkbare producten.
- De Beste resultaten worden bereikt bij een omgevingstemperatuur:tussen +18^ en +43^ (klasse T);tussen +18^ en 38^ (klasse ST);tussen +16^ en 32^ (klasse N); +10^ en 32^ (klasse SN); de klasse staat op het typeplaatje vermeld.
Attentie: u dient Niet alleen rekening te houden met de omgevingstemperatuur voor dit type product, maar tevens met de volgende aanwijzingen: wonneer de omgevingstemperatuur onder de aangeduide minimum waarde daalt, worden de bewaartemperatuur in het vriesvak Niet meer gegarandeerd; u kunt de bewaarde levensmiddelen dan het beste zo snel möglichnuttigen.
- Ontdooide diepvriesproducten mogen nicht wederom ingevroren worden.
- Volg de raadgevingen van de fabrikant op met betrekking tot waar en hoe u spijzen en dranken bewaart of invriest.
- De vriezende binnenwanden of -vlakken in het apparaat bevatten koelmiddel. Plaats geen scherpe voorwerpen gegen zo'n wand of vlak . Lekkage kan het gevolg zich, hetgeen een onherstelbare schade aan het apparaat en bederf van de levensmiddelen veroorzaakt. SCHRAAP EVENMIN MET SCHERPE VOORWERPEN rijp of ijs af Rijp kan verwijderd
worden met een kunststof spatel. Verwijder ijns Niet met geweld. IJs worden alleen verwijderd bij het ontdooien van het apparatus.
- Plaats geen koolzuurhoudende of mousserende dranken in het vriesvak, het vriesgedeelte de vriezer, waar dat de blinkjes of flessen onder druk komen te staan; Hierdoor+kennen deze exploderen, waardoor het apparaat beschadigd wordt. Gebruik geen andere mechanische toestellen of kunstmatige middelen om het ontdooingsproces te versnellen dan die, die door de fabrikant aanbevolen worden. Gebruik geen metalen voorwerpen om uw apparaat schoon te maken, waarat het hierdoor beschadigd kan worden.
Installatie
- Tijdens de normale werkung worden de condensator en de compressor aan de achechterkant behoorlijk warm. Uit veiligheidsoverwegingen dient voor een minimum aan ventilatie te worden gezorgd, zoals aangeduid worden in de instructies.
Let op: Zorg ervoor dat de ventilatieopengen Niet bedekt worden. - Kijk uit dat het apparaat Niet op het aansluitsnoor staat.
Belangrijk: Als het aansluitsnoor beschadigd raakt, moet het snoer, eventueel met stekkers, verrangen worden; deze onderdelen zijn verkrijgbaar bij de fabrikant of once serviceafdeling. - Indien het apparaat horizontaal vervoerd worden kan olie vanuit de compressor in het koelcircuit vloeien. Wacht, na hetplaatsen van het apparaat, ten minste twee uur alvorens de stekker in het stopcontact te steken, zodat de olie terug kan vloeien maar de compressor.
- Er zijn werkende delen die warm worden. Zorg algintijd voor een goede ventilatie, waar anders onderdelen kapot kannen en de inhoud van de diepvriezer verloren kan gaan. Zie de installment-instructies.
- Delen die heet worden mogen nicht toegankelijk zijn. Plaats het apparaat waar möglichst gegen een muur.

Milieubescherming
Dit apparatus bevat, zowel in het koelcircuit als in de isolatie, geen ozononvriendelijkstoffen. Het apparatus mag Niet samen met huisvuil of gesloopte apparaten weggegooid worden. Vermijd dat het koelcircuit wordt beschadigd, vooral aan de achterkant in de buurt van de warmtwisselaar. Informeer bij uw gemeenteaar de dumpgebieden in uw woonplaats. De materialen in dit apparatus die voorzien zijn van het symbool zich geschikt voor recycling.
Weggooien van oude apparaten
Het symbol op het product of op de verpakking wijst erop dat dit product Niet als huishoudafval mag worden behandeld, maar要去 worden afgegeven bij een verzamelpunt waar elektrische en elektronische apparatuur worden gerecycled. Als u ervoor zorgt dat dit product op de juiste manier worden verwijderd, voorkomt u möglichn negatieve gevolgen voor mens en milieu die zich zonden+kunnen voordoen in geval van verkeerde afvalverwerking. Voor gedetailleerdere informatie over het recyclen van dit product,kestu contact opnemen met de gemeente,de gemeentereiniging of de winkel waar u het product hebt gekoch.
AANWIJZINGZN VOOR HET WEGWERPEN VAN VERPAKKINGSMATERIALAAL
Het verpakkingsmaterial van onsze grote elektische huishoudelijkke apparaten kan met uitzondering van houten onderdelen, gerecycled worden en dus bij het kringloopafval worden gezet.
Wij bevelen u aan om:
- Papier, karton en golfkarton in de speciale papierbakken te werpen.
- Plastik verpakkingsmaterial in de specialaal waar voor bestemde plastic-containers te gooien. Indien dit soort bakken in uw buurt nog nicht voorkomen mag u hat materiaal aan de vuilnisman meegeven.
Als verpakkingsmateriaal gebruiken wij slechts recycleerbare kunststoffen, zoals bijv.: In de voorbeelden staat



PE voor Polyethyleen** 02 = PE-HD; 04 = PE-LD
PP voor Polypropyleen
PS voor Polystyrol
PLASTIC BESTANDDELEN
Om er gemakkelijker anschter te komen hoe u het materiaal van dit apparaat要去 wegwerpen en /of recycleren zich er op verschillende punten herkenbare symbolen op aangebracht.



INHOUD
Waarschuwingen en Belangrijke adviezen 31
Aanwijzingzn voor het wegwerpen van verpakkingsmaterial. 33
Het gebruik - Reiniging van de binnenkant - Ingebruikname - Temperatuurinstelling - Koelen van . . . . . .
levensmiddelen 34
Het gebruik - De bescherming van voedingsmiddelen 35
Het gebruik - Het invriezen van verse levensmiddelen - Bewaren van diepvriesprodukten - . . . . . . .
Het ontdooien van ingevroen Produkten - Jslaatjes - Verplaatsbare platen - Het verplaatsen . . . . . . .
van deurvakken 36
Tips - Tips het koelen - Tips het invriezen - Tips het diepvriesprodukten - Diepvrieskalender 37
Onderhoud - Schoonmaken - Geprolongeerd stilstand - Vervangen ven de lamp - Het ontdooien 38
Installatie - Plaats van opstelling - Schapblokkering - Elektrische aansluiting 40
Installatie - Verander de draaizin van de deuren 41
Installatie - Aanwijzingen voor de geinteggreerde inbouw 42
Reiniging van de binnenkant
Voor u de kast in gebruik neemt, dient u de binnenkant met lauw water en een neutraal schoonmaakmiddel te reinigen om de typische geur van een/Newu apparaat weg te nemen. Droog verwolgens de wanden goed af.

Gebruik geen schurende
schoonmaakmiddelen, waarmee u de afwerkingen van het apparaat zou{kennen beschadigen.
Ingebruikname
Steek de steker in de wandkontaktdoos. Open de deur en draai dethermostaatknop, rechtsom uit de stand «O» (STOP-stand). De koelkast is nu in werkinq.
De werkking van de kast kan geheel gestopt worden door de knop in de stand «O» te draaien.
Temperatuurinstelling
De temperatuur worden automatisch geregeld en kan verhoogd worden (minder koud) door de knop maar een lager cijfer te draaien of verlaagd worden (kouder) door de knop maar een hoger cijfer te draaien. Bij het instellen van de juiste stand dient u er rekening mee te honden dat de temperatuur in het apparaat afhankelijk is van:
- de kamertemperatuur;
- de frekwentie waarmee de deuren geopend worden;
- de hoeveelheid levensmiddelen in de kast;
- deplaats van het apparatus.
Wij adviseren u de knop aanvankelijk op de midden-stand te draaien.

Attentie
Het kan voorkomen dat, indien de thermostatnop in de koudste stand gedraaid is, bijvoorbeeld ten gevolge van zeer warme omgevingtemperatuur of het snel wilten koelen van grote hoeveelheden dranken, de kompressor kontinu loopt, waardoor automatische ontdooiing van de koelverdamper Niet plaatsvindt en zich waarop ijs afzet. Draai, in dat geval, de thermostatnop maar een wat minder koude stand, zodat automatische ontdooing kan plaatsvinden; hierdoor spaart u tevens energia.
Koelen van levensmiddelen
Voor een optimaal gebruik van de koelruimte adviseren wij u de volgende eenvoudige regels in acht te nemen:
- Plaats geen warme of dampende spijzen of dranken in de koelruimte;
- dek vooral sterk geurend voedsel af of verpak het;
- plaats de levensmiddelen zo, dat de lucht vrij eromheen kan cirkuleren.
DE BESCHERMING VAN VOEDINGSMIDDELEN

Uitleg van de symbolische tekens van het koude gebied
Het symbol hiernaast duidt de plaats aan van het koudste gedeelte van ijskast.
Koudste gebied: lager of gelijk aan +4^
Vlees, pluimvee, vis, vleeswaren, kant en klare gerechten, gemengde salads, gerechten en gebak gemaakt van eieren of slagroom, verse pasta, taartdeeg, pizza/quiche, verse producten en kaas gemaakt van verse melk, groentenkaar voor gebruik verpakt in plastic zakjes eneer in het algemeen alle verse producten, waarvan de vervaldatum in verband staat met een conserveringtemperatuur die lager is dan of gelijk aan +4^ .
Temperatuuraanduiding
Thermostat die afgesteld moet worden

Goede temperatuur

De temperatuuraanduiding maakt het möglichk de goede werkig van uw ijskast te controlleren.
Op de aanduiding verschijnt het opschrift "OK", wonneer het koudste gebied een temperatuur bereikt die lager is dan, of gelijk aan 4^ .
Indien de temperatuur hoger is dan 4^ blijft de aanduiding zwart. De gebruiker dient de temperatuur van de ijskast in dit geval dus te verlagen door de thermostat at fe stellen.
LET OP: Als de deur van de ijskast lang open blijft staan, worden de interne temperatuur verhoogd. Om de temperatuur op de juiste manier te meten, dient de aanduiding binnen 30 seconden afgelezen te worden.
Het invriezen van verse levensmiddelen
In het -diepvriesvak(Int u verse levensmiddelen invriezen en diepvriesprodukten bewaren.
Voor het invriezen(Int) u de thermostaatknop op de gebruikelijkke stand latent staan. Wilt u sneller invriezen, dan dient u de thermostaatknop op de koudste stand te draaien. In deze stand kan de temperatuur in het koelvak beschuerbeneden 0^ dalen.
In dat geval dient u de knop op een minder koude stand te draaien.
Bewaren van diepvriesprodukten
In het -diepvriesvak(Intt diepvriesprodukten bewaren.
Indien u de koelkast voor het eerst in gebruik neemt of haar waar gebruikt na eenperiode van stilstand, dient u de thermostaatknop op de koudste stand te draaien. Plaats verrolgens de diepvriesprodukten na twee uur in de kast en draai de thermostat terug maar de gebruikelijke stand.

Belangrijk
Open de vriesvakdeur Nietijdens stroomuitval. Wij adviseren u om na een stroomuitval de diepvries-produkten in korteijd te konsumeren (een temperatuurstijging verkort de houdbaarheidsduur van de Produkten). De normale houdbaarheid worden nicht aangetast indien de stroomuitval kort was (minder dan 6-8uur) en het vriesvak vol is.
Verplaatsbare platen
De koelkastwanden zijn van richels voorzien, zodate platen maar wens op verschillende hoogten kuntplaatsen.
U krijgt meer ruimte in de koeler, wanner u het voorste deel van de rekjes omklapt.
Het verplaatsen van deurvakken
De ruimte:tussen deurvakken kan naar behoefte aangepast worden. Ga daartoe als volgt te werk: Trek het vak geleidelijk maar de door de pijlen aangegevenrichting totdat het loskomt. Daarna verplaats het vak maar de gewenste hoogte.
Het ontdooien van ingevroren Produkten
De diepvriesprodukten moet u vór gebruik in de koelkast of bij kamertemperatuur lately ontdooien, al waar gelang de beschikbareijd.
Kleine of in stukken ingevroren Produkten können onmiddelijk gekookit of gebakken worden. De kook-of baktijd za dan natuurlijk ieets longer zich.
Jslaatjes
Bij het apparaat worden 1 of meerde ijslaatjes voor het makeen van ijsblokjes geleverd.
Vul ze met drinkwater en plaats ze in het vriesvak. Gebruik geen metalen voorwerpen om de laatjes los te wrikken!


i TIPS
Tips het koelen
Enkele praktische tips:
Vlees (alle soorten): worden in plastic zakjes op de glazenplaat boven de groentelade geplaatst.
Bewaar vlees Niet langer dan eén of twee denen.
Gekookt voedsel, koude schotels enz.: küssen, goed afgedekt, op elk rooster geplaatst worden.
Fruit en groente: worden schoongemaakt in de groentelade(n) gelegd.
Boter en kaas: worden, om blootstelling aan de lucht te voorkomen, in speciale koeldozen bewaard of in plastic- of alluminiumfolie vegakt.
Flessen melk: worden, goed gesloten, in het flessenrek geplaatst.
Enkele belongingsijke tips:
- de max. hoeveelheid levensmiddelen die u kunt invriezen in 24uar staat aangegeven op het "typeplaatje";
- het invriezen duurt 24 uur. Voeg gedurendedezeltijd geen andere in te vriezen levensmiddelen toe;
- vries uitsluitend verse, goed schoongemaakte eneerste kwaliteit levensmiddelen in;
-
verdelijk de levensmiddelen in handzame porties. Deze vriezen sneller in en bij later gebruik hoeft u slechts de benodigde hoeveelheid te ontdooien:
verpak de levensmiddden in handzame porties. Deze vriezen sneller in en bij later gebruik hoeft u slechts de benodigde hoeveelheid te ontdooie; -
zorg ervoor dat in te vriezen pakjes nicht in aanraking komen met reeds ingevroren Produkten; de temperatuur van deze LASTE zou daardoor+kennen stijgen;
- mager voedsel is ingevroren langer houdbaar dan vet voedsel; ook zout verkort de houdhaarheid;
vermijdrechtstreekse konsumptie van ijslollies uithet vriesvak; u zou uw mondhuid konnenverbranden; - schrijf de invriesdatum op de pakjes zodate u de houdbaarheidsduur kurz kontroleren;
- plaats geen koolzuurhoudende of mousserende dranken in het vriesvak; de blikjes of flessen zonden können ontploffen.
Tips het diepvriesprodukten
Neem de volgende regels in acht:
- kontroleer dat de diepvrieprodukten in de winkel op de juiste wijze bewaard worden;
- breng de diepvriesprodukten na aankoop zo snel möglichk over maar het vriesvak;
open de deur altijd zo weinig en zo kort möglichk. - Wees heel voorzichtig bij aankoop van diepvriesprodukten, want gedeeltek ontdoode waren mag u Niet opnieuw invriezen.
- Noteer de fabrikatiedatum en respekteer de vervaldatum van de fabrikant.
Diepvrieskalender
De symbolen geben de diverse soorten diep-vriesproducten aan.
De getallen gehen voor iedere soort diepvriesproduct de opslagtijd in maanden aan. Of de hoogste of de laagste waarde van de aangegeven opslagtijd geldt, hangt af van de kwaliteit van de levensmiddelen en de behandeling voorafgaand aan het invriezen.
****
3|@电3|6|医|9|心|12|
ONDERHOUD
Neem vór iedere handeling alkijd eerst de steker uit de wandkontaktdoos.
Belangrijk: Dit apparaat bevat koolwaterstoffen in de koudekringloop; het onderhoud en het bijvullen dient waarom uitsluitend door door het bedrijf aangewezen deskundig personeel uitgevoerd te worden.
Schoonmake
Gebruik nooit metalen voorwerpen voor het schoonmaken van het apparaat; dit zou beschadigingen tot gevolg hunnen hebben.
Reinig de binnenkant van de kast regelmatig met laww sodawater. Lap de wanden na met schoon water en droog ze zorgvuldig.
Stop op de condensor verhoogt het energieverbruk.
Daarom eenmaal peraar de condensor aan de
achterkant van het apparaat met een zachtbe
storl
of met de stopzuiger voorzichtig schoonmaken.
Vervangen van de lamp
Het lampje van de koelkast is op de volgende wijze bereikbaar:
- Schroef het afschemkapje los;
- Verwijder het losse deel door er lichte druk op uit te oefenen (zie figuur).
Indien met open deur het lampje Niet brandt, kijk dan eerst of het soms los in de fitting zit.
! Als het lampje dan nog nicht brandt, verrang het dan door een lampje met hetzelfde vermogen. Het maximale vermogen is op het afschemkapje aangegeven.
Het ontdooien
Het ontdooien van de koelkast heeft automatisch plaats elke keer dat de kompressor stopt. Het dooiwater worden via een afvoerkanaaltje opgevangen in een bakje dat zich aan dechterkant van het apparaat boven de kompressor bevindt. Hier verdampt het water.
Wij raden u aan het gaatje in het afvoerkanaal regelmatig schoon te make, teneinde te voorkomen dat het dooiwater de levensmiddelen nat maakt. Gebruik voor het doorprikken het staafje dat zich in het gaatje bevindt.
Geprolongeerd stilstand
Wij adviseren u vór deperiode dat de koelkast nicht gebruikt wordt de volgende handelingenuit te voeren:
- neem de steker uit de wandkontaktdoos;
- verwijder alle spijzen en dranken uit de kast;
-That de kast geheel ontdooien en maak de binnenwanden,rekken,korven en dergelijk goed schoon; - waar de deuren open staan, teneinde het ontstaan van onaangename geur te voorkomen.


In het vriesvak dient u城县 de rijp te verwijderen, wanner deze een laag van circa 4 mm vormt.
Gebruik hiervoor een kunststof spatel. Voor het uitvoeren van deze handeling hoeft u het apparaat Niet uit te schakelen of het vriesvak leeg te make.
Wanner zich een dikke laag ij's gezormd heeft, dient u het gehele apparaat te ontdooien.
Ga als volgt te werk:
- draai de thermostaatknop op «O» of trek de steker uit het stopcontact;
- omwikkel de levensmiddelen met meertere kranten en bewaar ze op een koele plaats;
- laut de deur openstaan;
- droog na het ontdooien het vriesvak zorgvuldig;
- draai de thermostaatknop in de gewenste stand of steek de steker wee in het stopcontact. Na twee of drie uur kunt u de diepvriesproducten weeer terugplaatsen.

Belangrijk
Gebruik voor het verwijderen van de rijp nooit metalen voorwerpen; u zou uw koelkast+kennen beschadigen.
Geen voorwerpen of metodes gebruiken om het ontdooiprocesse te versnellen die nicht door de fabrikant� aangegeven.
Temperatuurstijging van diepvriesprodukten kan hun houdbaarheidsduur verkorten.
STORING
Indien het apparaat Niet of Niet goed funkioneert, kontroleer dan:
of de steker goed in het stopkontakt zit;
of de elektriciteit soms uitgevalen is;
of dethermostaatknop op dejuiste stand staat;
- en indien er water op de bodem van de koeler ligt, of het afvoerkanaaltje soms verstopt is (zie hoofdstuk “Het ontdooien”).
Kunt u de storing nicht zichllokalereren en verhelpen,raadpleeg dan de zichtsbijzijnde serviceddienst.
Geef waar bij alkijd het model en het typenummer van de kast op. Deze gegevens vindt u op het garantiebewijs of op het typeplaatje dat zich linksonder aan de binnenzijde van het apparaat bevindt.
TECHNISCHE GEGEVENS
Deze gegevens vindt u op het garantiebewijs of op het typeplaatje van het apparaat.
Plaats van opstelling
Plaats het apparaat UIT de buurt van warmtebronnen: centrale verwarming, kachels, felle zonnestralen enz.
Zie voor inbouw de betreffende aanwijzingen.
Schapblokkering
Uw apparatuur is voorzien van schapblokkeringen, zodat de schappenijdens het transport op hunplaats blijven.
Handel als volgt om deze te verwijderen:
Til het schap aan de achterkant op en duw het in de richting van de pijl tot het los raakt en verwijder de blokkeringen.

Het apparaat要去 van het elektriciteitsnet aufgehaald hunnen worden; de stekker要去 dus ook na de installmentie bereikbaar blijven.

Elektrische aansluiting
Overtuig u ervan dat de netspanning en de netfrekwentie, welke op het typeplaatje in de kast staan aangegeven, overeenkomen met de netspanning en de netfrekwentie in uw woning. Een afwijking op de netspanning tot plus of minus 6% is toegestaan.
Bij aansluiting op een andere spanning dient u een geschikte transformator te gebruiken.
De steker mag alleen geplaatst worden in een geaard stopkontakt.
De kast is waarom voorzien van een speciaal drieaderig snoer, geschikt voor een geaard stopkontakt. Mocht het stopkontakt in uw woning Niet geaard zichn, dan dient een erkend installerat het apparaat volgens de geldende normen te aarden.
Wij wijzen u er op dat schade of letsel,veroorzaakt door het nicht voldoen aan ditveiligheidsvoorschrift, Niet onder deverantwoordelijkheid van de fabrikant valt.
C € Dit apparaat voldoet aan de volgende EG-richtlijnen:
- 87/308 EG-richtlijnvan 2.6.87 met betrekking tot de radio-ontstoring.
- 73/23 EG-richtlijn van 19/02/73 (Laagspanning) en opeenvolgende wijzingen;
- 89/336 EG-richtlijn van 03/05/89 (Elektromagnetische compatibiliteit) en opeenvolgende wijzingen.

De apparatuur worden geleverd met deuren dieaar rechts ofaar links opengaan.Om de deur maar de tegenovergestelde kant te laten openen,dient men de volgende handelingen te verrachten alvorens de installmente uit te voeren.
- Draai de bovenste stift uit en verwijder de afstandshouder.
- Neem de bovenste deur los.
- Draai het middelste scharnier en de pennen uit en bevestig ze aan de andere kant.
-
Bevestig de bovenste deur, de bovenste stift en de afstandhouser aan de andere kant.
-
Draai de onderste stiftuit, verwijder de afstandhouser en bevestig ze aan de andere kant.



Aanwijzingen voor de geintegreerde inbouw
Nismaten
Hoogte (1) 1580 mm
Diepte (2) 550 mm
Breedte (3) 560 mm
Om veiligheidsredenen要去 de ventilatie zodenig zich als aangegeven in Fig.
Attentie: zorg ervoor dat de ventilatie openingen tijdens gelebruik Niet worden afgedekt.
De nis要去 tevens voorzien zijn van een luchtkanaal met de volgende afmetningen:
diepte 50 mm
breedte 540 mm
Zet de apparatuur in de ruimte en zetzsche net zover in de richting van de binnenwand tot de bedekkende rand (1) gegen de ombouw aanstaat en verzeker u ervan dat de onderste scharnier in een lijn staat met de wand van het meubel (2).
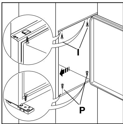
Bevestig het apparaat met de vier rneegeleverde schrm even. (I = 3,5× 13) (P = 3,5× 22)
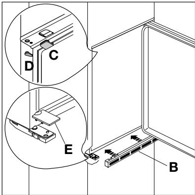
Breng, onder lichte druk, de voegafdichting:tussen apparaat en meubel aan.





Breng de afdichtstopsels (C-D) in de gaten in de eklijsten aan.
Bevestig het ventilatierooster (B).
Breng, onder lichte druk, het dekseltje (E) aan.
Onderdelen Ha, Hb, Hc, Hd scheiden zoals u in de tekening ziet.
Geleider (Ha) gegen de binnenkant van de kastdeur aan de boven- en onderkant houden volgens de tekening en de plaats van de buitenste gaten aangeven. Nadat u de gaten geboard heeft de geleider met de bijgeleverde schroeven vastzetten.
Afdekking (Hc) op geleider (Ha) vastklikken.
De deur van het apparaat en die van de kast met een hoek van ongeveer 90^ openen. IJzer (Hb) in geleider (Ha) aanbrengen. De deuren samen vasthouden en de gaten aangeven zoals in de tekening.





Verwijder de haken enzet met de spijker (K) een teken op 8 mm van de buitenste rand van de deur.

Plaats het ijzer opnieuw op de geleider en bevestig het met de bijgeleverde schroeven.
Voor hetrechtstellen van de kastdeur(Intt u gebruik)
maken van de langwerpige gaten.
Tenslotte dient u te controlleren of de deur van het apparaat goed sluit.

Afdekking (Hd) op geleider (Hb) vastklikken.

Indien de kast lateraal bevestigd worden aan het meubel, schroef de schroeven van het profiel(G) los en plaats dat volgens Figuur.
Plaats het dekseltje (H).

Controleer na de richting van de deuren gewijzigd te hebben, dat alle schroeven goed vastgedraaid zitten en dat het deurrubber goed op de sponning sluit. In een koud vertrek (in de winter) kan het gebeuren dat dat Niet het geval is. Na enkeleragen za het rubber zichECHTER aangepast hebben. Wilt u dat bespoedi-gen, dan kurz u het rubber warm makeen met een fohn.
Notice-Facile