LIFE E13014 MD 20153 - Fjernsyn MEDION - Gratis brugsanvisning og manual
Find enhedens vejledning gratis LIFE E13014 MD 20153 MEDION i PDF-format.
Download vejledningen til din Fjernsyn i PDF-format gratis! Find din vejledning LIFE E13014 MD 20153 - MEDION og tag din elektroniske enhed tilbage i hånden. På denne side er alle dokumenter nødvendige for brugen af din enhed offentliggjort. LIFE E13014 MD 20153 af mærket MEDION.
BRUGSANVISNING LIFE E13014 MD 20153 MEDION
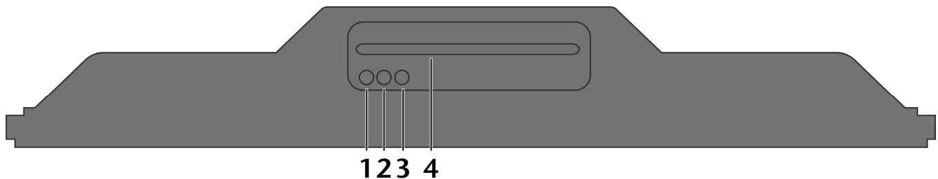
- TFT-skaerm
- Infrarødsensorer: modtagerfelt for infrarødsignalerne fra fjernbetjeningen.
- Tænd/sluk-lampe: lyser orange, när apparatet er i standby-modus. Lyser grøn, när der er erændt for apparatet.
- Hojttalere
Overst

- Udkast disk
- Disk: stop gengivelse
- Disk: start gengivelse ellr afbryd
- Disc In DVD-drev

- standby-kontakten; tænd for apparatet eller bring det i beredskabsmodus
- CH-/CH+ vaelg et program aller naviger op/ned i menuen
- MENU hent billedskærmen frem for at justere apparatet
- VOL - / VOL + indstil lydstyrken eller naviger i menuen
- SOURCE til valg af indgangssignal

- Netkontakt
- Nettilslutning
- SCART
- AV
- AUDIO IN L R
- HDMI IN
- USB
- VGA IN
- VGA AUDIO IN
- AERIAL
- Y Pb Pr
- COMMON INTERFACE
scartstik
video-indgang (gul)
audio-indgang (rød/hvid) til AV og Y Pb Pr
HDMI-tilslutnng: til tilslutng af et apparat med HDMI-udgang.
Kun til serviceformål
VGA tilslutning: til tilslutning af PC
audio indgang for PC
til tilslutning af antenna
til tilslutning af hovedtelefon med jackstik 3,5 mm.
komponent-indgange (grøn/blå/rød) til tilslutning af apparater med komponent-udgang.
skakt til Common Interface-Modul
Fjernbetjening
| 1. | ◇ | STANDBY: Til midlertidig slukning af LCD-TV'et. |
| 2. | TV | Betjening af tv'et |
| 3. | STB | Betjening af en satellitmodtager |
| 4. | DVD | Betjening af enDVD-optager, DVD-afspiller |
| 5. | VCR | Betjening af en videooptager |
| 6. | AUX | Betjening af en audioenhed |
| 7. | CODE | Til programmering af andre apparater |
| 8. | ◇ | Indstil det forrige fjernsynsprogram |
| 9. | EPG | digitalt tidsskrift for fjernsynsprogrammer og radioprogrammer (stationsafhaengigt) |
| 10. | Retningsknapper ▼▲ ▼ | |
| 11. | OK | Bekræft valget i visse menuer. Bruges ögså som ENTER |
| 12. | LCD MENU | Åbn og luk menuen |
| 13. | EXIT | Forlad menuen |
| 14. | DVD SETUP | DVD: Åbn menuen |
| 15. | D MENU | DVD: Åbn og lukDVD-menuen |
| 16. | PROG | DVD: ProgrammerDVD-afspillerens afspilningsliste |
| 17. | Rød tast | Farvetast til anvendelse i tekst-tv |
| 18. | INTRO | DVD: Afspilningsfunktion |
| 19. | Grøn tast | Farvetast til anvendelse i tekst-tv |
| 20. | REPEAT | DVD: Indstilling af afspilningstilstanden |
| 21. | A-B | Farvetast til anvendelse i tekst-tv |
| 22. | TITLE | Vis hovedmenu for DVD |
| 23. | EJECT▲ | DVD: Eject-knap |
| 24. | PC AUTO | Automatisch justering i VGA-tilstanden |
| 25. | Indikatorlampe til bekråftelse af et tastetryk | |
| 26. | Talknapper | TV: vælg programme; videotekt: sidevalg |
| 27. | AV/INPUT | Vælg indgangssignal for tilsluttede enteder. |
| 28. | SIZE | Programvalgstaster |
| 29. | FAV | Åbn favoritliste |
| 30. | FAV | DVD: Play-tast - Start afspilningen/pausestast: Afbryd afspilningen. |
| 31. | INDEX | Tekst-tv: Åbn startsiden |
| 32. | PMODE II | Vælg billedtilstand DVD: Pausefunktion |
| 33. | FAV+ ▶ | næste favoritkanal DVD: Slowmotion |
| 34. | SMODE ● | Vælg lydtilstand DVD: Optagefunktion |
| 35. | HOLD ▶ | Tekst-tv: Stop side DVD: næste titel/næste kapitel |
| 36. | FAV-■ | forrige favoritkanal DVD: STOP-tast, aflsut afspilning/optagelse |
| 37. | TEXT ↔ | Slå tekst-tv til/fra DVD: Forrige titel/forrige kapitel |
| 38. | LANG AUDIO | Indstil lydstandard for analogt tv DVD: sprogvalg for DVD-afpilningen |
| 39. | SUBPAGE ZOOM | Tekst-tv: Åbn underside DVD: Zoomfunktion ved DVD-afpilning |
| 40. | REVEAL ANGLE | Tekst-tv: Vis skjult tekst DVD: Vælg kameraposition (synsvinkel) i DVD-afpilningen |
| 41. | INFO | Til visning af oplyninger som f.eks. aktuelt programnummer og billedformat |
| 42. | SUBTITLE | DVD: Untertekstfunktion ved DVD-afpilning |
| 43. | GOTO | DVD: Bruges til at vælg et ønsket afsnit på en DVD |
Indhold
Oversigt. 1
LCD-TV 1
Fjernbetjening 4
Indhold 6
Informationer omdeenvejledning 8
Anvendelsesomrade 8
Full HD. 8
Medfølgende udstyr. 8
Sikkerhedsanvisninger 9
Driftssikkerhed 9
Placering 9
Reparation. 10
Anbefaledo omgivelsesforhold 10
Strømforsyning 10
DVD-afspilleren 10
Sikkerhed ved brug af batterier 11
Henvisninger om konformiteten 11
Universalfjernbetjening 12
Anvendelse 12
Programming apparatkoder 12
Normal function 14
Ibrugtagning 15
Udpakning 15
Indsætning af batterier i fjernbetjeningen 15
Tilslutning af antenna. 15
Tilslutting til strømforsyningen 15
Taending og slukning af LCD-TV-et 16
När der er taendt fpreste gang 16
Kanalvalg 16
Lyddustering 16
Billedjustering 17
Visning af informationer 17
Abn favoritliste 17
Vaelg kilde 17
DVD-modus 18
Understottedeformater 18
Shift fra TV- til DVD-modus 18
IIaeg DVD 18
Betjening via LCD-TV'et. 19
Betjening via fjernbetjeningen 19
DVD menusystem 21
Billede i billede" (PIP-)funktion 23
Kilder til PIP 23
Tekst-TV 24
Brug af tekst-TV 24
Vaelge sider 24
Praktiske tekst-TV Funktioner 25
Om OSD-menuen 26
Navigering i menuen 26
Menu-system 27
Tilslut apparatus 31
Tilslutning of hovedtelefon 31
Tilslutning afDVD-afspiller 31
Tilslutninq af videomaskine 32
Tilslutning af en DVD-brænder 32
Tilslutting af en modtager (SAT, DVB-T, decoder, etc.) 32
Tilslut DVD-/Videorekorder og SAT-Receiver 33
Tilslutning af camcorder 33
Apparat med HDMI- eller DVI-udgang. 33
Tilslutning of PC 34
Fejlfinding 35
Har du brug for yderligere hjaelp? 36
Pixelfejl i LCD-skaeme 36
Rengering 37
Bortskafning 37
Emballage 37
Apparat 37
Batterier 37
Tekniske Specifikationer 38
Begransen garanti 39
Copyright © 2010
Allerettigheder forbeholds.
Denne handbog er ophavsrletigt beskyttet. Varemaerker tilhorer de respektive ejere. Mekanism, elektronisk aller enhver,anden form for kopiering uden skriftlig tilladelse fra producenten er forbudt.
Copyright ligger hos firmaet Medion.
Ret til tekniske ændringer forbeholds.
Dette produit anvender ophavrsretlig beskyttede technologier, som beskyttes gennem patenter i USA og andre ophavrsrettigheder. Brugen af disse ophavrsretlig beskyttede tekonologier skal godkendes af Macrovision og må kun bruges til de dertil beregnede og andre begrænsede gengivelsesmuligheder, medindre andet brev udtrykkeligt tilladt af Macrovision. Dekompilering og akodning er forbudt.
Informationer omijkevejledning

Gennemlæs这部分 instruction meget opmærksomt og følg alle de nævnte henvisninger. Sæ er De garanteret en pålidelig drift og en lang levetid for Deres LCD-TV. Hav altid这部分 instruction parat iærheden af Deres LCD-TV. Pas godt på brugsanvisningen for at kinne give den videre til en eventuel ny ejer.
Anvendelsesområde
- Dette apparat er beregnet til modtagelse og gengivelse af fjernsynsprogrammer. De forskellige tilslutningsmuligheder muliggør en yderligere udvidelse af modtagelses- og gengivelseskilder (receiver, DVD-afpiller, DVD-optager, videomaskine, etc.).
Dette apparat er kun egnet til indendors brug i et tort rum.
LCD-TV er/DD beregnet til brug i en industriivirksomhed. - Dette apparat er designet til privat brug. Det er/DDE dimensioneret til drift i tungindustrielle virksomheder. Anvendelse i omgivelser med ekstreme ydre betingelser kan medfRe beskadigelse af apparatet.
Full HD
Dit LCD-TV er udstyret med mærket "Full HD". Det betyder, at det i prinippet kan gengive hoot oplosende fjernsynsprogrammer (HDTV).
Forudsætning er, at et HDTV-signal gives fra en ekstern Set-Top-Boks (HD-STB) LCD-TV-et.
Medfølgende udstyr
De bedes kontrollere om leveringen er fuldstændig. Kontakt os venligst inden for 14 dage after købet hijs den/DDE er komplet.
Obs!
Lad ikke små børn lege med folie. Der er kvælningsfare!
Med den kõbte LCD-TV har De modtaget følgende komponenter:
LCD-TV
Fjernbetjening inkl. 2 batterier type R03 (AAA) 1,5V
- Nettilslutningskabel
Antennekabel
Brugervejledning
- Garantibevis
Sikkerhedsanvisninger
Driftssikkerhed
- Børn bror holds under opsyn, for at sikre at de/DDle leger med apparatet. Apparatet er/DDke egnet til at blive anvendt af personer (inkl. børn) med indskrænkede fysiske, sensoriske ell mentale evner, ell personer som mangler erfaring og viden, undtaget hvis de er under opsyn af en person som er ansvarlig for deres sikkerhed eller som vejledern dem i anvendelsen af apparatet.
- Hold emballagematerialiet - f.eks. folier -.uden for boRs rækkevidde. Ved misbrug kan der opsta fare for kvælning.
Abn aldrig fjernsynskassen (risiko for elektrisk stød, kortslutning og brand)! - Indfør ingen genstande gennem sliderser eller Åbninger i LCD-TV-ets indre (elektrisk stød, kortslutning og brandfare).
- Slidser og Åbninger på LCD-TV-et sørger for ventilation. Tildæk aldrigppe abninger, da der i sö fald kan opsta overophedning (overophedning, brandfare).
Fjernbetjeningen har en infrarod diode til apparater fra klasse 1. For at imdega enhver risiko for beskadigelse af øinene ma dioden ikke berøres.
DVD-afspilleren er et laserprodukt i klasse 1. Den er udstyret med et sikkerhedssystem, som forbinder, at skadelige laserstraler slipper ud ved normal brug. For at forbindre øjenskader bør du undgå at manipulere med ell er beskadige apparatets sikkerhedssystem.
TrykIkpePàdisplayet.Der er risiko for,at skærmen bliver beskadiget. - Man kankommen til skade, hvis displayet gär i stykker. Anvend beskyttelseshandsker, när de itusläede stykker pakkes ind, hvorefter de sendes til den pageldende kundeservice, som bortskaffer dem på forsvarlig mäde. Vask derefter henderne med sæbe, da det ikke kan udelukkes, at der kan udtræde kemikalier.
- Berør ikke displayet med fingrene eller skarpe genstande, hvilket eventuelt kan beskadige det.
-
Henvend Dem til kundeservice hvis:
-
netkablet viser varme-/brandskader aller er beskadiget på,anden@måde
- der er trængt væske ind i LCD-TV-et
- LCD-tv-et/DD:ke fungegerer korrekt
- LCD-TV-et er faldet ned eller kabinettet er beskadiget
Placering
I apparatets fpre st anvendelsestimer kan der forekomme en karakteristisk, men helt ufarlig lugt, som forsvirder med tiden. For at afhjelpe lugtdannelsen anbefales det at lufte regelmessigt ud i rummet. Ved udviklingen af produitet har vi sikret, at de qaeldende granseveerdier noje overholdes.
- LCD-TV-et og samtige tilslutte deheder må ikke udsættes for fugt. Undgå støv, varme og direkte sol. Hvis man glemmer at overholde dette, kan det medføre feil eller beskadigelse af LCD-TV-et.
Apparatet mä违法犯罪es udendørs, da det kan beskadiges af yvre påvirkninger som f.eks, regn og sne.
- Apparatet违法犯罪
- Apparatet må ikke udsættes for dryppende eller sprøjtende vand, og der må ikke stilles beholdere med væske som f.eks. vaser - på apparatet. Indtrængende væske kan forringe den elektriske sikkerhed.
Undqà at placere Åbne brandkilder (stearinlys e.l.) oven på apparatet.
Sorg for tilstrækkelig frirum omkring apparatet, his det placeres i reol ellr skab. Der kal som minimum vare en afstand mellem apparatet og en evt. reolvag pa 10 cm for at sikre tilstrækkelig ventilation.
- Placer og anvend samtige komponenter på en stabil, plan og vibrationsfri overflade, sö det forhindres, at LCDtv-et falder ned.
Undgå blænding, speilinger og for stærke lys-mørk-kontraster, for at skåne øjinene.
Overhold en afstand på mindst en meter til højfrekvente og magnetiske fejlkilder (fjernsyn, hjttaleranlæg, mobiltelefoner osv.), for at undgang Funktionseil.
Den optimale kiggeafstand er 5 gange skærmdiagonalen.
DK
Reparation
Lad udelukkende fuguddannet personale udfore reparationer af LCD-tv-et.
I tilfelse af nodvendig reparation bedes du udelukkende henvende Dem til vor autoriserede kundeservice.
Hvis strormforsyningskablet til dette apparat er beskadiget, skal det udskiftes af fabrikanten, dennes serviceafdeling ellen enhver anden kvalificeret person for at undgå risiko for elektrisk stød.
- LCD-TV-et kan anwendes ved en omgivelsestemperatur fra 5^ C til 40^ C og ved en relativ luftfugtighed fra 20% - 85% (ikke kondenserende).
Nár LCD-TV-et er slukket, kan det opbevares ved 20^ C til 60^ C. - Vent after transport af LCD-TV-et med at tage det i brug, til det har samme temperatur som omgivelserne. Ved store temperatur- eller fugtighedssvingninger kan der på grund af kondensation opstå fugt i LCD-TV-etsindre, som kan forårsage en elektrisk kortslutning.
- Træk netstikket ud af stikkontakten og fjern antennestikket fra antenneindgangen i tilfælde af tordenvejr, eller hvis skærmen ikke skal anvendes gennem længere tid.
Strømforsyning

Bemark venligst:
Husk at selv;när der er slukket for netaf Bryderen, er der spænding på dele af apparatet. For at afbryde strømforsyningen til LCD-TV-et, eller for at adskille apparatet helt fra el-nettet, trækkes netstikket ud af stikkontakten.
- Undgå at Åbne apparatets cabinet. Ved Åbnet cabinet består livsfare pga. elektrisk stød. Det indeholder ingen dele, som skal vedligeholds.
- Tilslut kun LCD-TV-et til jord forbundne stikkontakter med 100-240 V ~ 50/60 Hz. Hvis du/DD er sikker på typen af strømforsyningen på opstillingsstedet, kan du spørge hos det pagseldende el-værk.
Stikkontakten skal sidde i nærheden af LCD-TV-et og vare lettilgengelig. - Strømtilførslen til tv'et afbrydes ved at trække netstikket ud af stikkontakten.
Vi anbefaler som yderligere sikkerhed en overspaendingsbeskyttelse, hvorved LCD-TV-et beskyttes mod beskadigelse på grund af spidsspændinger eller lynnedslag gennem el-nettet.
Læg ledningerne på en sádan måde, at ingen kan træde på eller snuble over dem.
Stil ingen genstande på ledningerne, da de i givet fald kan beskadiges.
DVD-afspilleren
DVD-afspilleren er et laserpodukt af feste klasse. Apparatet er udstyret med et sikkerhedssystem, som forhindrer at farlige laserstraler traeder ud af apparatet under normal brug. For at forhindre øjenskader, mA apparatets sikkerhedssystem aldrig manipuleres eller beskadiges.

Sikkerhed ved drug af batterier
Batterier kan indeholde brændbare stoffer. Ved forkert brug kan batterierne lække, blive meget varme, antændes og endda eksplodere, hvilket kan medføre skader på apparatet og udgøre en sundhedrsisiko for brugeren.
Derfor er det vigtigt, at følgende regler overholds:
Sorg for at batterierne er Eden for boRs rækkevidde. Hvis batterierne sluges ved et uheld, soges straks lage.
- Oplad aldrig batterier, medmindre det udtrykkeligt er angivet, at batterierne er genopladelige.
Undgå at aflade batterierne ved at køre på hj udgangseffekt.
Undgå at kortslutte batterierne.
Udsæt aldrig batterierne for stærk varme (solstråling, ild osv.)
- Batterierne pågressive erder deformeres, fordi det kan medfrole skader på hænder eller fingre,ller at øjne/huden kankommen i kontakt med batterivæsken. Hvis det alligevel skulle ske, skylles de pagældende steder med rigelige mængder rent vand og der søges straks læge.
Undgkaftige stedllerystelser.
Sorg altid for korrekt polaritet. Vær opmærksom på, at batteriernes pluspol (+) og minuspol (-) vender rigtigt for at undgå kortslutninger.
- Bland aldrig nye batterier med gamle, og anvend ikke forskellige batterityper sammen, da dette kan forårsage fejl.
- Tag straks brugte batterier ud af apparatet.
Det anbefales at tage batterierne ud af apparatet, narr det ikke skal bruges i laengere tid.
- Udskift alle batterier på ein gang med nye batterier af samme type.
Nar batterier skal opbevares ell bortskaffes, anbefales det at siete et stykke tape pa batteripolerne
Henisninger om konformiteten
LCD-TV-et overholder kravene til elektromagnetisk kompatilitet og elektrisk sikkerhed.
Apparatet lever op til kravene i EMV-retningslinje 2004/108/EG og lavspændingsretningslinje 2006/95/EG.
Dette apparat opfylder de grundlaeggende krav og relevante foreskrifter i Øko-design retningslinje 2009/125/EG.
Universalfjernbetjening
Anvendelse
Denne universalfjernbetjening kan erstatte op til fem normale fjernbetjeninger og kan blandt andet bruges til at betjene ffolgende typar apparater:
DVD DVD-afspiller ellr DVD-optager,
VCR Videoptager,
Angivelsenerne på kildetasterne „STB“, „DVD“, „VCR“ osv. er der kun for overskuelighedens skyld. Naturligvis kan du ogss tilknytte andre apparattyper (f.eks. en dekker til betalings-TV) til tasterne.
Tasten TV kan/DDke omprogrammeres.
Programming apparatkoder
Du skal programmere en firecifret apparatkode for hvert apparat, som du ønsker at betjene ved hjælp af universalfjernbetjeningen, på en kildetast (STB, DVD, VCR, AUX). I den forbindelse fungerer angivelserne på tasterne kun som stotte. Med undtagelse af tasten TV kan du tilknytte ethvert apparat til enhver tast ("Flex-Mode"). Tasten TV kan ikke omprogrammeleres.
Hvis du vil programme en videooptager som apparat, skal du frot sætte en videokassette i.
Indlæsning af apparatets koder after kodeliste
Koderne til de pagaelende apparater findes i kodelisten, der ffolger med donne betjeningsvejledning. Sadan gør du:
Tænd manuelt for det pagaelende apparat.
Tryk kort på den ønskede kildetast (STB, DVD, VCR, AUX).
Hold tasten CODE nede i ca. 3 sekunder, indtil den blå LED lyser konstant.
Indtast den firecifrede kode fra tabellen med koder.
Den blå LED slukkes kört som bekraeftelse af hvert tastetryk.
Hvis den indtastede kode er gyldig, slukkes den blå LED, nár det sidste ciffer er indtastet. Hvis der indlæses en ugyldig kode, blinker den blå LED i tre sekunder, før den slukkes.
Hvis apparatet ikke reagerer som forventet, gentes programmeringen i givet fald med en,anden kode. Prøv alle de koder, der er angivet for dit mærke. Vælg den kode, som alle de tilgængelige kommandoer på din fjernbetjening reagerer korrekt på!
Hvis dette heller ikke lykke, kan du forsøge at bruge den søgemetode, der er beskrevet i kapitlet "Automatisk søgning".
Manuel kodesøgning
Sàdan udfører du en manuel søgning:
Tænd manuelt for det pagaeldende apparat.
Tryk kort på den ønskede kildetast (STB, DVD, VCR, AUX).
Hold tasten CODE nede i ca. 3 sekunder, indtil den blå LED lyser konstant.
Tryk flere gange after hinanden (op til 350 gange) pa tasten , P/CH+ oder P/CH-, indtil det apparat, der skal styres, skifter kanal ell reagerer som onsket.
Kodesøgningen begynder ved det firecifrede tal, der er lagret på det givne tidspunkt.
Tryk kort på OK for at gemme koden.
På grund af det store antal forskellige kodenumre er der forprogrammeret op til 350 forskellige koder for hv er type apparat. Det er i enkelte tilfælde muligt, at kun de mest anvende hovedfungkctioner er til rådighed. I forbindelse med visse specielle apparatmodeller kan det forekommen, at den beskrevne fremgangsmåde ikke fungerer.
Automatisch kodesøgning
Hvis dit apparat ikke reagerer på fjernbetjeningen, selv om du har afprøvet alle de koder, der er anført for din type apparat og det tilsvarende mærke, kan du forsøge med den automatiske søgefunktion. På den@made kan du øgså finde frem til koder for sãdanne mærker, der ikke er anført i kodelisten for apparaterne.
Hvis du vil programmere kildetasterne STB, DVD, VCR oder AUX med et andet apparat end det, der svarer til betegnelsen, skal du ved den automatiske søgning对不起 programmere en kode for den ønskede apparattype.
Eksempel: Du vil styre enDVD-afspiller med tasten AUX. Programmer først en vilkårlig kode for enDVD-afspiller fra kodelisten, inden du udforer folgende trin.
Tænd manuelt for det pagaeldende apparat.
Tryk kort på den ønskede kilddetast (STB, DVD, VCR, AUX).
Hold tasten CODE nede i ca. 3 sekunder, indtil den blå LED lyser konstant.
Ret fjernbetjeningen mod apparatet og tryk én gang kort på tasten P/CH+. Hvis apparatet ikke har nogen programfunktion, skal du i stedet for at trykke på tasten P/CH+O.
Fjernbetjeningen starter 6 sekunder after kodesøgningen og sender for hvert sekund (se øgsa næste aftnit) alle koderne after hinanden. Hver gang der sendes en kode, lyser den blå LED.
Så snart apparatet reagerer på fjernbetjeningen, skal du trykke på OK. - Hvis du ikke har fæt trykket på OK i tide, kan du ved hjælp af tasten P- gå trinvist tilbage til den kode, som apparatet reagerede på.
Tryk for at afbryde søgningen pa OK.
En kode i sekundet eller hvert 3. sekund
Hvis fjernbetjeningen kun skal送来 en ny kode for hvert 3. sekund i stedet for hvert sekund, skal du gore fologende:
Tryk på P/CH+ (eller på Ⓞ) to gange. Fjernbetjeningen sender nu kun en ny kode for hvert 3. sekund. Derved fär du mere tid, men processen varer ochå længere.
Denne Funktion giver dig mulighed for at soge på handelsnavne. Handelsnavnene finder du på listen nedenfor. Sådan gør du:
Tænd manuelt for det pagaeldende apparat.
Tryk kort på den ønskede kilddetast (STB, DVD, VCR, AUX).
Hold tasten CODE nede i ca. 3 sekunder, indtil den blå LED lyser konstant.
Indtast den et-cifrede kode ud fra den medfølgende liste. Her følger et udvalg:
Tast 1 TEVION, MEDION
Tast 2 Philips, Radiola, Philco, Erres, Pye
Tast 3 Sony, Akai, Panasonic, JVC, Sharp, Toshiba, Daewoo
Tast 4 Thomson, Brandt
Tast 5 Saba, Nordmende, Telefunken
Du skal vare hurtig, da den automatiske kodesgning ellers vil blive startet.
Hvis alle koder er blevet gennemsøgt, blinker den blå LED i ca. 3 sekunder.
Kodeidentificering
Kodeidentificeringen giver dig mulighed for at bestemme allerede indtastede koder, der er lagret i fjernbetjeningen. Sådan gør du:
Tænd manuelt for det pagaeldende apparat.
Tryk kort på den ønskede kildetast (STB, DVD, VCR, AUX). Den blå LED lyser.
Hold tasten CODE nede i ca. 3 sekunder, indtil den blå LED lyser konstant.
Tryk kort på tasten CODE. Den blå LED blinker en gang til.
Tryk på taltasterne fra 0 til 9 for at &,nde det feste tal. När den blå LED slukkes kortvarigt, er du ved det feste lagrede tal.
Trykigenpataaltasternefra0til9foratfinedetandettal.Gentagprocedurenfordettredeogfjerde tal.
Den blå LED slukker, sä snart der bliver trykket på tasten for det fjerde tal.
Kodeidentificeringen er nu aflsuttet.
Normal function
Betjening af enkeltapparater
Nár du har udført programmeringen af din fjernbetjening for dit audio-/videoapparat, fungerer fjernbetjeningen i de mest almindelige hovedfunctionaler på samme@made som den originale fjernbetjening for det pagaelnde apparat.
Ret fjernbetjeningen mod det ønskede apparat, og tryk på den pagaelende kildetast. Brug derefter de øvrige taster som normalt. Hver gang der overfores et infrarodt signal, lyser den blå LED et øjeblik.
Du kan nu aktivere Funktionerne ved at trykke på den relevante Funktionstast på universalfjernbetjeningen.
Bemærk venligst:
Under visse omstendigheder er alle den originale fjernbetjenings Funktioner ikke direkte til rådighed på universalfjernbetjeningen.
Isr i forbindelse med nyere apparater kan det forekomme, at nogle functiomer er placeret p a andre taster end forventet ell slet icke er til radighed.
Du kan slå alle forudprogrammerede apparater fra samtidig. Sādan gør du:
Tryk én gang kort på tasten, og tryk derefter langt en gang til (mindst to sekunder). Nu bliver alle forudprogrammerede apparater deaktiveret én after én.
Nogle apparater kan tændes og slukkes ved hjælp af tasten ① Apparater, der er slukket på den måde, tændes, narr Funktionen SLUK ALLEer udført.
GUIDE - EPG - Elektronisk program
Knappen EPG (,EPG^ = , Electronic Program Guide") har forskellige Funktioner afhängigt af, hvilken kode den anvendes på:
- Ved TV- og satellitkoder (f.eks. SAT-TV aller DVB-T) abner tasten det elektroniske fjernsynsprogram (EPG).
- VedDVD-koder abner tasten titel-menuen.
- Ved VCR-koder kan du foretage en programmering ved hjælp af tasten, hvis din videooptager har en showview-funktion.
Ibrugtagning
Bemaerk
Læs under alle omstændigheder inden ibrugtagning kapitet " Sikkerhedsanvisninger " på side 9.
DK
Udpakning
Vaelg et egnet sted til opstillingen inden du pakker ud.
- Abn kartenen meget forsigtigt, for/DD at beskadige apparatet. Det kinne f.eks. ske, hvis man abner den med en langbladet kniv.
I pakningen findes forskellige smådele (battery, skruer o.l.). De skal opbevares utilgængeligt for børn, da de kan risikere at sluge dem.
Opbevar emballagematerialet godt og benyt udelukkende dette ved transport af fjernsynet.

Obs!
Lad/DDaBn lege med folie.Der er risiko for kvaelning!
Indsætning af batteri er i fjernbetjeningen
Tag batterierne ud af fjernbetjeningen, nr apparatet ikke bruges i længere tid. Fjernbetjeningen kan blive beskadiget af lækkende batterier.
Tilslutning af antenne
For tilslutning til husantennen eller kabelanlag forbindes antennestikdåsen og fjernsynsapparatet med et dobbelt afskærmet antennekabel.
DTV Modus
Hvis der tilbydes DVB-T på det sted du opholder dig, har du mulighed for ved hjælp af en tilsvarende antennne at modtage dette signal. En ekstra receiver til modtagelse af DVB-T programmer er/DDvendig.
Tilslut DVB-T antennen
Stik DVB-T antennens hanstik i apparatets antenna-hunstik.
Tilslutning til strømforsyningen
Forbind det medleverede kabels apparatstik med tilslutningen AC 100-240-V 50/60 Hz på apparatets bagside og netstikket med en let tilgaardelig stikdase 100 - 240V 50 / 60Hz
Tænding og slukning af LCD-tv-et
Indstil hovedkontakten til „I“, for at forsyne LCD-TV'et med strøm. Apparatet går i standby-modus og indikatoren på forsiden lyser orange.
For at tende for apparatet, tryk enten på STANDBY-tasten på fjernbetjeningen eller POWER-tasten på apparatets hore side. Indikatoren på forsiden lyser grøn.
Med POWER-tasten sætter du apparatet tilbage i standby-modusigen. I dette modus bruger apparatet stadig strøm.
Med hovedkontakten på apparatets bagside slukker du helt for apparatet.
När du tænder for dit apparat for første gang, fær Setup assistant dig gennem installationen. Denne kan til enhver tid hentes via menuen Setup > Setup assistant og gennemføres igen. Se øgså side 29.
Vaelg sproget med retningstasterne og tryk på OK.
Vaelg det onskede land med retningstasterne. Indstillingen af landet har indflydelse pa den rækkefolge, som kanalerne gemmes i. Tryk OK.
Vaelg Start med retningstasterne og tryk OK. Søgningen begynder. Frist søges after de digitale og afterfølgende after de analoge kanaler. Afvent afslutningen. Med tasterne LCD MENU aller EXIT kan du afbryde søgningen inden den er slut.
Henvisning
Husk at tilslutte en DVB-T antennne, nár du søger after digitale kanaler.
Kanalvalg
Du kan vaelge en kanal ved at trykke pa en af knapperne P + / - (paa apparatet eller paf fjernbetjeningen) ell er ved at vaelge kanalen direkte med en talknap. Et tocifret nummer indlæses ved at indtaste de tilsvarende cfre hurtigt after hinanden.
Med knappen vaelger du den sidst viste kanal.
Lyddustering
Med volumenkappen- + pa fjernbetjeningen aller apparatet oges aller nedsættes lydstyrken.
Du kan helt slukke og på ny tænde for lyden med knappen (mute).
Med knappen AUDIO vaelger du mellem mono- og stereolyd, Dual I og Dual II. Dual I og Dual II kan kun gengives, hvis den aktuelle udsendelse understotter DUAL-modus (f. eks. ved tosprogede programmer)
Med tasten SMODE vaelger du mellem soundmodusserne: Standard, Blues, Klassisk, Jazz, Country, Rock, Bruger. Indstillingen Bruger defineres i menuen Audio > Descrambler.
Billedjustering
Med tasten PMODE vaelger du mellem billedmodusserne: Standard, Mild, Levende, Bruger. Indstillingen Bruger defineres i menuen Video > Billedmodus.
Afhengig af udsendelsen transmitters billederne i formaterne 4:3 erer 16:9. Med tasten ASPECT kan du tilpasse billedformatet:
| Auto: det viste format bliver automatisk indstillet after indgangssignalet. | |
| 16:9 bred: et billedde i 16:9-format zoomes ud til skærmens fulde størrelse. | → |
| 16:9 zoom: et billedde i 16:9-format ("Letterbox") strækkes til skærmens over- og underkant. | → |
| 16:9 undertekt: Billedet skubbes opad, SSEv. undertekster eller løbetekster bliver usynlige. | → |
| 4:3: til uforvrænget visning af et billedde i 4:3-format. | → |
Denne indstilling af billedformaterne kan du ogsa ændre i menuen Andre > Billedmodus (se side 30).
Visning af informationer
Tryk på tasten INFO, for at fövist følgende aktuelle indstillinger:
- Programplads og Programnavn
Lydindstilling (mono ellr stereo)
Billedindstilling
Disse informationer vises ogsa, nár du skifter til et andet program.
Abn favoritliste*
Med AV/INPUT knappen vaelger du indgangene til det tilslutte apparat.
DTV: Tv-funktion (digitalt antennesignal)
ATV: Tv-funktion (analogt antennesignal)
AV: apparatus ved AV-indgangen
SCART: Apparat på SCART -stik
YPbPr: Apparat på Component video- og audio-indgange
PC: Apparat på PC indgang
HDMI1: Apparat på HDMI 1 indgang
HDMI2: Apparat på HDMI 2 indgang
DVD: integreret DVD-player
Gà til den ønskede kilde vha. retningstasterne ▼ ▲.
Bekræft dit valg med tasten OK.
DVD-modus
Den integrerede DVD-player hentes via DVD-modussen.
Følgende disk eller filformater understøttes af dit LCD-TV:
CD
HDCD
DVD
DVD-/+R
DVD-/+RW
JPEG
MP3
WMA kompatibel
Henvisning
Den integregrede DVD-player understotter kun medier med en diameter på 12 cm. For at undgå skader ilæg ingen medier med en mindre eller større diameter.
Med tasten AV/INPUT hentes listen over udvalget af kilder.
Med retningstasterne gär du til DVD.
Bekræft dit valg med tasten OK.
Hvis du onsker at gà tilbage til TV-modus, gentag fremgangsmåden og vælg i stedet for DVD optionen TV.
IIæg DVD
Henvisning
DVD'en skal vende den patrykte side fremad (LCD-TV'ets forside).
Henvisning
För du kan ilægge en DVD i DVD-åbningen, skal LCD-TV'et ∀e indstillet til DVD-modus.
DVD'en lægges med den pátrykte side fremad i DVD-åbningen. Er LCD-TV'et indstillet til DVD-modus, genkendes DVD'en automatisk og trækkes ind. Under normale omstændigheder startes gengivelsen automatisk.
Henvisning
I nogle tilfælde kan det城县 ndvendigt at starte gengivelsen manuelt. Tryk dertil på tasten II.
Betjening via LCD-TV'et
Via betjeningstasten på LCD-TV'et har du følgende Funktioner til rådighed:
Udkasttasten: kast DVD'en ud af abningen
STOP-tasten:afslut gengivelse
▶PLAY-tast Afsil aller stop afspilning
For at indstille flere functiorer erller indtaste ordrer er det nodvendigt at bruge den medleverede fjernbetjening.
Betjening via fjernbetjeningen
Via fjernbetjeningen har du følgende Funktioner til din rådighed til betjeningen af DVD-playeren.
| Ref. | Knap | Funktion | |
| 11 | OK | Bruges til at bekråfte dit valg. | 1 2 3 4 5 6 7 8 9 20 21 22 TV 1 2 3 4 5 6 23 24 25 26 27 28 29 30 31 32 33 34 35 36 37 38 39 40 41 42 43 44 45 46 47 48 49 50 51 52 53 54 55 56 57 58 59 60 61 62 63 64 65 66 67 68 69 70 71 72 73 74 75 76 77 78 79 80 81 82 83 84 85 86 87 88 89 90 91 92 93 94 95 96 97 98 99 100 101 102 103 104 105 106 107 108 109 110 111 112 113 114 115 116 117 118 119 120 121 122 123 124 125 126 127 128 129 130 131 132 133 134 135 136 137 138 139 140 141 142 143 144 145 146 147 148 149 150 151 152 153 154 155 156 157 158 159 160 161 162 163 164 165 166 167 168 169 170 171 172 173 174 175 176 177 178 179 180 181 182 183 184 185 186 187 188 189 190 191 192 193 194 195 196 197 198 199 200 201 202 203 204 205 206 207 208 209 210 211 212 213 214 215 216 217 218 219 220 221 222 223 224 225 226 227 228 229 230 231 232 233 234 235 236 237 238 239 240 241 242 243 244 245 246 247 248 249 250 251 252 253 254 255 256 257 258 259 260 261 262 263 264 265 266 267 268 269 270 271 272 273 274 275 276 277 278 279 280 281 282 283 284 285 286 287 288 289 290 291 292 293 294 295 296 297 298 299 300 301 302 303 304 305 306 307 308 309 310 311 312 313 314 315 316 317 318 319 320 321 322 323 324 325 326 327 328 329 330 331 332 333 334 335 336 337 338 339 340 341 342 343 344 345 346 347 348 349 350 351 352 353 354 355 356 357 358 359 360 361 362 363 364 365 366 367 368 369 370 371 372 373 374 375 376 377 378 379 380 381 382 383 384 385 386 387 388 389 390 391 392 393 394 395 396 397 398 399 400 401 402 403 404 405 406 407 408 409 410 411 412 413 414 415 416 417 418 419 420 421 422 423 424 425 426 427 428 429 430 431 432 433 434 435 436 437 438 439 440 441 442 443 444 445 446 447 448 449 450 451 452 453 454 455 456 457 458 459 460 461 462 463 464 465 466 467 468 469 470 471 472 473 474 475 476 477 478 479 480 481 482 483 484 485 486 487 488 489 490 491 492 493 494 495 496 497 498 499 500 501 502 503 504 505 506 507 508 509 510 511 512 513 514 515 516 517 518 519 520 521 522 523 524 525 526 527 528 529 530 531 532 533 534 535 536 537 538 539 540 541 542 543 544 545 546 547 548 549 550 551 552 553 554 555 556 557 558 559 560 561 562 563 564 565 566 567 568 569 570 571 572 573 574 575 576 577 578 579 580 581 582 583 584 585 586 587 588 589 590 591 592 593 594 595 596 597 598 599 600 601 602 603 604 605 606 607 608 609 610 611 612 613 614 615 616 617 618 619 620 621 622 623 624 625 626 627 628 629 630 631 632 633 634 635 636 637 638 639 640 641 642 643 644 645 646 647 648 649 650 651 652 653 654 655 656 657 658 659 660 661 662 663 664 665 666 667 668 669 670 671 672 673 674 675 676 677 678 679 680 681 682 683 684 685 686 687 688 689 690 691 692 693 694 695 696 697 698 699 700 701 702 703 704 705 706 707 708 709 710 711 712 713 714 715 716 717 718 719 720 721 722 723 724 725 726 727 728 729 730 731 732 733 734 735 736 737 738 739 740 741 742 743 744 745 746 747 748 749 750 751 752 753 754 755 756 757 758 759 760 761 762 763 764 765 766 767 768 769 770 771 772 773 774 775 776 777 778 779 780 781 782 783 784 785 786 787 788 789 790 791 792 793 794 795 796 797 798 799 800 801 802 803 804 805 806 807 808 809 810 811 812 813 814 815 816 817 818 819 820 821 822 823 824 825 826 827 828 829 830 831 832 833 834 835 836 837 838 839 840 841 842 843 844 845 846 847 848 849 850 851 852 853 854 855 856 857 858 859 860 861 862 863 864 865 866 867 868 869 870 871 872 873 874 875 876 877 878 879 880 881 882 883 884 885 886 887 888 889 890 891 892 893 894 895 896 897 898 899 900 901 902 903 904 905 906 907 908 909 910 911 912 913 914 915 916 917 918 919 920 921 922 923 924 925 926 927 928 929 930 931 932 933 934 935 936 937 938 939 940 941 942 943 944 945 946 947 948 949 950 951 952 953 954 955 956 957 958 959 960 961 962 963 964 965 966 967 968 969 970 971 972 973 974 975 976 977 978 979 980 981 982 983 984 985 986 987 988 989 990 991 992 993 994 995 996 997 998 999 |
| 11 | OK | Bruges til at indstille afspilningstilstanden. Du kan vælgne mellem følgende tilstande: 1 x REPEAT tryk = [OFF] enkelt afspilnings. 2 x REPEAT tryk = [CHAPTER]/[REP 1] Kapitlet eller MP3-filen gentages 1x 3 x REPEAT tryk = [TITLE]/[REP ALL] titlen aller hele biblioteket gentages 4 x REPEAT tryk = [REP ALL] alle filer gentages | 12 13 14 15 16 17 18 19 20 21 22 23 24 25 26 27 28 29 30 31 32 33 34 35 36 37 38 39 40 41 42 43 44 45 46 47 48 49 50 51 52 53 54 55 56 57 58 59 60 61 62 63 64 65 66 67 68 69 70 71 72 73 74 75 76 77 78 79 80 81 82 83 84 85 86 87 88 89 90 91 92 93 94 95 96 97 98 99 |
| 15 | DISP | Afnspilningsfunguk | 12 13 14 15 16 17 18 19 20 21 22 23 24 25 26 27 28 29 30 31 32 33 34 35 36 37 38 39 40 41 42 43 44 |
| 16 | PROG | Her kan du programmere op til til 16 titler, kapitler eller bilddiferiler på til stedende. | 12 13 14 15 16 17 18 19 20 21 22 23 24 25 26 27 28 29 30 31 32 33 34 35 36 37 38 39 40 41 42 43 44 12 13 14 15 16 17 18 19 20 21 22 23 24 25 26 27 28 29 30 31 32 33 34 35 36 37 38 39 40 |
| 17 | INTRO | Afnspilningsfunguk | 12 13 14 15 16 17 18 19 20 21 22 23 24 25 26 27 28 29 30 31 32 33 34 35 36 37 38 39 40 |
| 18 | REPEAT | Bruges til at indstille A-B-gentagelse. Giver dig mulighed for at gentage et bestemt aftsnit under en aftspilnings. Det aftsnit, der skal gentages, angives på følgende@måde: 1 x A-B tryk = [OFF]/[CHAPTER]/[REP ALL] titlen aller hele biblioteket gentages 1 x REPEAT tryk = [TITLE]/[REP ALL] titlen aller hele biblioteket gentages 2 x REPEAT tryk = [TITLE]/[REP ALL] titlen aller hele biblioteket gentages 3 x REPEAT tryk = [TITLE]/[REP ALL] titlen aller hele biblioteket gentages 4 x REPEAT tryk = [TITLE]/[REP ALL] titlen aller hele biblioteket gentages 5 x REPEAT tryk = [TITLE]/[REP ALL] titlen aller hele biblioteket gentages 6 x REPEAT tryk = [TITLE]/[REP ALL] titlen aller hele biblioteket gentages 7 x REPEAT tryk = [TITLE]/[REP ALL] titlen aller hele biblioteket gentages 8 x REPEAT tryk = [TITLE]/[REP ALL] titlen aller hele biblioteket gentages 9 x REPEAT tryk = [TITLE]/[REP ALL] titlen aller hele biblioteket gentages 10 x REPEAT tryk = [TITLE]/[REP ALL] titlen aller hele biblioteket gentages 11 x REPEAT tryk = [TITLE]/[REP ALL] titlen aller hele biblioteket gentages 12 x REPEAT tryk = [TITLE]/[REP ALL] titlen aller hele biblioteket gentages 13 x REPEAT tryk = [TITLE]/[REP ALL] titlen aller hele biblioteket gentages 14 x REPEAT tryk = [TITLE]/[REP ALL] titlen aller hele biblioteket gentages 15 x REPEAT tryk = [TITLE]/[REP ALL] titlen aller hele biblioteket gentages 16 x REPEAT tryk = [TITLE]/[REP ALL] titlen aller hele biblioteket gentages 17 x REPEAT tryk = [TITLE]/[REP ALL] titlen aller hele biblioteket gentages 18 x REPEAT tryk = [TITLE]/[REP ALL] titlen aller hele biblioteket gentages 19 x REPEAT tryk = [TITLE]/[REP ALL] titlen aller hele biblioteket gentages 20 x REPEAT tryk = [TITLE]/[REP ALL] titlen aller hele biblioteket gentages 21 x REPEAT tryk = [TITLE]/[REP ALL] titlen aller hele biblioteket gentages 22 x REPEAT tryk = [TITLE]/[REP ALL] titlen aller hele biblioteket gentages 23 x REPEAT tryk = [TITLE]/[REP ALL] titlen aller hele biblioteket gentages 24 x REPEAT tryk = [TITLE]/[REP ALL] titlen aller hele biblioteket gentages 25 x REPEAT tryk = [TITLE]/[REP ALL] titlen aller hele biblioteket gentages 26 x REPEAT tryk = [TITLE]/[REP ALL] titlen aller hele biblioteket gentages 27 x REPEAT tryk = [TITLE]/[REP ALL] titlen aller hele biblioteket gentages 28 x REPEAT tryk = [TITLE]/[REP ALL] titlen aller hele bibliOTeket. | 100 |
| Ref. | Knap | Funktion |
| 31 | « | Bruges til at indstille tilbagespolingen. Ved at trykke flere gange kan du indstille forskellige hastigheder for tilbagespolingen: BACKWARD x 2, BACKWARD x 4, BACKWARD x 8, BACKWARD x 20 |
| 33 | » | Bruges til at indstile afspilningen til slow motion, SSE afspilningen bliver langsommere. Følgende indstillinger for afspilningshestigheden er tilgængelige: 1/2 - 1/7. |
| 35 | » | Bruges til at gå til næste kapitel/titel/fil. |
| 36 | ■ | Bruges til at stoppe afspilningen. Tryk flere gange for at få vist PRE STOP ■ . Hvis du igen trykker på tasten «, fortsættes afspilningen. Tryk 2 gange på tasten ■ for at stoppe afspilningen helt. |
| 37 | « | Bruges til at gå til forrige kapitel/titel/fil. |
| 38 | LANG | Bruges til at indstille DVD'ens talespor, hvis DVD'en har flere talespor. |
| 39 | ZOOM | Bruges til at indstille zoomfunktionen. |
| 40 | ANGLE | Bruges til at indstille kamerapositionen (synsvinklen) for DVD'en, hvis DVD'en har denne egenskab. |
| 42 | SUBTITLE | Bruges til at aktivere DVD'ens undertekster, hvis DVD'en har undertekster. |
| 43 | GOTO | Bruges til at vælge et startpunkt for afspilningen. TT 00/02 = Titel aktuel/i alt SEND 002/021 = Kapitel aktuel/i alt © 00:00:00 = Tidspunkt Brug taltastene til at indtaste startpunktet for afspilningen, og bekråft med OK. |
Henvisning
| Menupunkt | Indstillinger |
| TV SYSTEM | Indstilling af tv-systemet. Indstillingsmuligheder: NTSC (f.eks. for USA), PAL (bl.a. Tyskland), AUTO |
| TV TYPE | Indstilling af billedformatet. Indstillingsmuligheder: 4:3 PS, 4:3 LB, 16:9 |
| PASSWORD | Passwordindtastning for ørnesikringen. I fabriksindstellingerne er ørnesikringen spærret. Du kan ophæve den med 0000. Så snart du har ophævet ørnesikringen, kan du fastlægge et nyt password. |
| RATING | Her indstiller du frigivelsesklassen for DVD'er. Nogle DVD'er og CD'er er koderet med Motion Picture Associations etablerede frigivelsesklassers koderingssignaler. De otte frigivelseklasser er:1 KID SAFE: øgså egnede for små ørnn;2 G: ( „General“) for alle aldersgrupper;3 PG: ( „Parental Guidance“) forældres opsyn anbefales;4 PG13: forældres opsyn stært skært anbefalet; nogle scener ikke egnede forunge under 13 År;5 PG-R: ( „Parental Guidance Restriction“) forunge under 17 anbefales forældres opsyn;6 R: ( „Restriction“) forunge under 17 anbefales forældres opsyn stært;7 NC-17: ikke til ange under 17 År;8 ADULT: kun til voksne.Tilænding af ørnesikringen skal passworddet indtastes fjrst. Se foregående menupunkt. |
| RESUME | Her kan du angive, om afspilningen af DVD'en skal fortsættes fra det sted, hvor der er stoppet,+när der skiftes kilde, Eller om der skal startes forfra. |
| DEFAULT | Her nulstilles alle indstillinger til fabriksindstellingerne. Alle andre indstillinger slettes. |
| EXIT SETUP | Hermed forlader du DVD menusystemet. |
| Menupunkt | Indstillinger |
| TONE | Hermed kan du indstille hastigheden på DVD’ens gengivelse. |
| EXIT SETUP | Hermed forlader du DVD’ens menusystem. |
DK
MenuN DIGITAL OPSAET.
| Menupunkt | Indstillinger |
| DYNAMIC RANGE | Tilpasning af en DVD’s forskellige lydstyrker. |
| DUAL MONO | Vælg her mellem 4 forskellige audioudgaver. |
| EXIT SETUP | Hermed forlader du DVD menusystemet. |
"Billede i billed" (PIP-)funktion
Med fonctionen PIP kan du på LCD-TV'ets billedskærm få vist to billeder fra to forskellige kilder på samme tid (f.eks. fjernsynsbillede og billedde fra en tilsluttet DVD-player).
- PIP (,^ Picture in Picture" = ,Billede i billede"): et lille billede (PIP-vinduet) vises indenfor hovedbilledet.

Kilder til PIP
Kilden for hovedbilleder ved PIP kan vare enten en analog eller en digital forbindelse.
Hvis en analog forbindelse bruges som kilde (hovedbillede), kan kun digitale forbindelse vises i PIP- eller PAP-billedet.
Tabel PIP
Teletekst er en Gratis service som transmitteres fra de feste fjernsynsstationer og som tilbyder aktuelle informationer om vejret, fjernsynsprogrammer, aktiekurser, undertitler, tv-avisen aller andre emner. Din LCD-TV byder på mange nyttige Funktioner til betjeningen af teletekstenTeV som multiprocessing-tekst, lagring af undersider aller hurtig navigation.
Brug af tekst-tv
Til betjening af videoteksten rader din fjernbetjening over specielle videotekst-taster.
Vaelq en TV station, der udsender tekst-tv.
Tryk en gang på knappen TEXT for at vise indekssiden for tekst-TV.
Ved andet tryk på TEXT stilles teksten transparent foran fjernsynsbilledet.
Ved tredje tryk på TEXT skifter apparatet igen tilbage til TV-modus.
Vælge sider
Indtast den ønskede tekst-TV-side som trecifret nummer direkte med talknapperne.
Det valgte sidenummer vises i overste venstre hjørne af skærmen. Tekst-tv-tælleren søger, indtil det valgte sidenummer er fundet.
Bladre gennem sider
Med programvalgstasterne eller retningstasterne og bladrer du frem og tilbage gennem videotekstsiderne. Farveknapper
När der vises farvede tekstindlag ind på den nederste billeddkant, kan De vælge disse indhold direkte ved at trykke på de tilsvarende farveknapper RØD [PROG], GRØN [INTRO], GUL [REPEAT] og BLÅ [A-B].
Underside
Mange tekst-TV-sider indeholder tillægssider. Ved nederste billedkant vises f.eks. 1/3. Tillægssiderne vises after hinanden med ca. et halvt minuts mellemrum. Undersiderne gengives med mellemrum på ca. et halvt minut after hinanden.
Du kan også selv kalde undersiderne op ved at trykke på knappen SUBPAGE. Et firecifret indtastningsfelt vises, hvor Du kan indtaste nummeret på en tillægsside (f.eks. 0002). Du kan ligeledes bladre gennem undersiderne med pilestererne .
Praktiske tekst-tv Funktioner
INDEX
Med donne knap INDEX vaelger du indekssiden, som viser en liste af tekst-tv's indhold.
HOLD
Tekst-TV-siden, som du har valgt, indeholder muligvis mere information end der kan vare på billedskærmen. Ialand spredes informationen ud over flere tillægssider. Der bladres mellem tillægssiderne i regelmaessige intervaller.
Tryk på tasten HOLD, for at forbindre et automatisk sideskift.
Tryk på HOLDigen, for at tillade det automatiske sideskiftigen.
REVEAL
For at fà vist gemte informationer, som f.eks. løsninger på gåder, puzzlesil eller quiz-opgaver, tryk engang pa tasten REVEAL.
Et nyt tryk på tasten REVEAL skjuler svaret igen.
SIZE
Denne fonction viser videotekstinformationen i dobbelt størelse.
Tryk på knappen SIZE, for at forstørre den øverste halvdel af sider.
TrykigenpatastenSIZE,foratviseden nederste halvdelaf sidenforstorret.
Tryk på menuknappen LCD MENU for at aktivere OSD.
Ved den nederste kant vises de henholdsvis mulige indstillinger.
Med retningstasterne vaelger du optionerne fra hovedmenuen.
Med skifter du til menupunkterne.
Med retningstasterne vaelger du optionerne i en menu. Med tasten LCD MENU kommt der tilbage til hovedmenuen.
Med retningstasten abner du en undermenu (forefindes ikke i hvr menu). Med tasten LCD MENU kommt du tilbage til den overordnede menu.
Med retningstasterne indstiller du en onsket vardi ell er traeffer et andet valg.
Med tasten LCD MENU lukker du menuen og bekræfter samtidig valget.
Bemerk venligst, at menuen lukkes automatisk after nogle sekunder, hvis ingen taste trykkes.
Du kan vælgge følgende hovedmenuer
- Menu Video
- Menu Audio
- Menuen TV / PC
- Menu setup
- Menuen TID
- Menu ANDRE
Obs!
Tekniske ændringer kan evt. medføre at menuerne på din skærm afviger fra这部分 beskrivelse.
Henvisning
Alt after, hvilen kilde du har valgt, star ikke alle menuer til rådighed. For at hente menuer, som ikke er til rådighed, skal du først skifte kilde.
Menu-system
Menu n Video
| Menupunkt | Indstillinger |
| Lysstyrke | Reducer hhv. øge lyshed (Skala 0 - 100). |
| Krontrast | Reducer hhv. øge kontrast (Skala 0 - 100). |
| Mætning | Reducer hhv. øge farvestyrke (Skala 0 - 100). |
| Skarphed | Reducer hhv. øge skarphed (Skala 0 - 15). |
| Billedmodus | Valg af billedmodus: Bruger, Standard, Mild, Levende. Denne Funktion svarer til knappen PMODE. Ved indstillingen Bruger kan du selv indstille Lysstyrke, Kontrast, Mætning og Skarphed. Ved de andre indstillinger er disse parametre fast definerede. |
| Farvetemperatur | Vælgfe farvetone: Normal, Varm, Kold. Denne indstilling er kun tilgængelig i VGA-tilstand (pc-tilstand) |
| NR | Med/DDne Funktion kan du mindske billedsusen og forbedre billedkvaliteten ved svagt signal. Vælg mellem Sluk, Lav, Middel og Høj. |
| MPEG NR | Med.ddne Funktion kan du sænke billeddetes susen og forbedre billeddetes kvalitet ved svagt MPEG signal. Vælg mellem Luk, Lav, Middel og Høj. |
| Biografmodus | Optimeret billedgengivelse ved film. |
Menu Audio
| Menupunkt | Indstillinger |
| Volumen | Grundindstilling af lydstyrken,+när apparatet tændes (Skala 0 - 63). Vælg en moderat grundvolumen. |
| Balance | Indstil balancen mellem venstre og højre hjottaler. |
| Diskant | Minsk eller øg styrken (Skala 0 - 100). |
| Bass | Minsk eller øg bassen (Skala 0 - 100). |
| Lydeffekter | Vælg mellem lydeffekterne Normal, BBE og SRS. |
| Descrambler | Vælg soundmodus: Standard, Bruger, Rock, Country, Jazz, Klassisk, Blues. Denne Funktion svarer til tasten SMODE. |
Menu TV
| Menupunkt | Indstillinger | |
| Kanalliste | Her ser du de aktuelt lagrede kanaler. For haver kanal kan du foretage de afterfølgende indstillinger. | |
| SletVælg det program, som du ønsker at slette fra listen og tryk på den grønne taste [INTRO].Tryk på den grønne taste[INTRO] endnu en gang som bekæftelse. De følgende kanaler rykker after i tabellen. | ||
| BevægVælg kanalen og tryk på den blå taste [A-B]. Flyt kanalen med « » til den ønskede plads ogtryk igen på den blå taste [A-B]. De følgende kanaler rykker after i tabellen. | ||
| Fav.Vælg den kanal, som du ønsker at optage i din favoritliste, og tryk OK. Nu vises et flueben ogkanalen blev optaget i favoritlisten.Abn favoritlisten med tasten FAV (se side 17). | ||
| LåsVælg den kanal, som du ønsker at spærre og tryk på OK. | ||
| Spring overVælg den kanal, som du ønsker at springe over,+när du bladrer gennem kanalerne vha. tasterneP+/- og tryk på OK.Kanalen kan stadig hentes vha. taltasterne. | ||
| EPG | Her kan du hente den elektroniske tv-programoversigt. Denne option står kun til rådighed iDVB-T modus. | |
| Autosøgning | Her gennemfører du en kanalsøgning. Vælg mellemm ATV, DTV og DTV+ATV. | |
| Manuel søgning | Her kan du gennemføre en manuel programmering for enkelte kanaler. | |
| Programnummer | Her vælger du den kanal, som du ønsker at bearbjde. | |
| Farvesystem | PAL, SECAM, Auto. For Danmark er indstillet farvesystemet PAL. | |
| Soundsystem | B/G, L/L', D/K, I. For Danmark er indstillet lydsystemet B/G. | |
| AFT | "Automatic Fine Tuning". Vælg On og tryk OK, hvis du ønskerat udføre en finjustering. | |
| Frekvens | Indtast frekvenserne her manuelt via retningstasterne. | |
| Lagre | Gem valgt kanal | |
Manuel indstilling af videomaskine
Du kan f.eks. bruge den manuelle søgning til at indstille en programplads for en videomaskine på LCD-TV-et.
After at LCD-TV-et og videomaskinen er forbundet med hinanden via antennen, (se "tilsutningsekspel", på side 22), skal videomaskinen indstilles på testsignalet.
Udförden manuelle søgningmit LCD-TV-et.
Nár testsignalet er fundet, gemmer du testsignalet på programplads 0 (denne programplads er/DDE optaget af et tv-program).
Menuen PC
Hvis der er tilsluttet en skærm til pc'en, og kilden PC (VGA-indgang) er indstillet, kan du her foretage de pc-specifikke indstillinger.
| Menupunkt | Indstillinger |
| H. Position | Her kan du øndre billeddets vendrette stilling. |
| V. Position | Her kan du øndre billeddets lodrette stilling med ⇌ . |
| Fase | Hvis PC'ens billede ikke vises tydeligt, kan du her vha. ⇌ ➔ bringe billedsignalet i overensstemmelse med LCD-TV'ets pixler. Derved opnær man et rent billede med regelmæssig skarp vising. |
| Frekvens | Med dette indstilling synkroniseres billedsignalet med billedskærmens pixeltakt. Dette korrigerer forstyrelser, som kan optræde som lodrette striber ved pixeintensive visninger (som tabeller eller tekst i lille skrift). Indstil pixelfrekvensen med ⇌ . |
| Automatism justering | Hvis billedet skulle+vare forskudt, kan du øelge Automatism justering og trykke OK , for at flytte det tilbage til midten. Denne Funktion bør foretages med et fuldt billede, for at indstillingen stemmer. |
| Auto Fase | Udførelse af den automatiske faseindstilling. |
| Nulstil | Sæt alle OSD-indstillinger tilbage til fabriksindstillingerne. |
Menuen SETUP
| Menupunkt | Indstillinger |
| Land | Vælg det land du befinder dig i. |
| OSD Sprog | Vælg sproget i OSD-menuen. Det skifter straks. |
| Audio Sprog | Hvis en udsendelse, f.eks. en film, udsendes i flere sprog, kan du her vælgde det talte sprog (f.eks. originalsproget). Denne option er kun til rådighed i DVB-T modus. |
| Videotekt Sprog | Tekst-TV-sprog. Indstilevt. et andet tekst-TV-sprog som Vest Euro, hvis du modtager en kanal fra et andet sprogområde. |
| Undertekt | Hvis udsendelsen indeholder undertekster for hørehæmmede, er det her muligt at indstille det foretrukne sprog. Denne option er kun til rådighed i DVB-T modus. |
| Almindelig grænseflade | Hvis du ønsker at se betalingskanaler, skal du forinden tilmelde dig hos en respektiv udbyder. Efter tilmeldelsen modtager du et Conditional Access Module (CAM-Modul) og et specielt kort fra din udbyder. Henvisninger til indstillingerne finder du i den med modulolet leverede dokumentation. Installer CI-komponenterne i dit fjernsyn på følgendeMXDE: • Sluk for fjernsynssapparatet og træk stikket ud. • Sæt første CAM-modulet på plads på sider af LCD-TV'et. Isæt afterfølgende kortet. |
| Henvisning Bemærk venligst at du kunmxøtte Cl modulolet ind eller tage det ud,ningar apparatet er i STANDBY-modus uller.när der er slukket for strømmen. CAM-modulet skal isættes den rigtige vej; hvis det vender forkert, kan det ikke skubbes ind. CAM-modulet eller fjernsynssapparatet kan tage skade, hvis du forsøger at skubbe CAM-modulet i med magt. | |
| Sæt fjernsynssapparatet til en stikdåse,ænd for det og vent et øjeblik, indtil kortet genkendes. Ved nogle CAM-moduler er det desuden ndvendigt at foretage nogle indretningsskridt, som kan udføres i menuen Common Interface. | |
| OSD nulstil | Nulstiller alle OSD-indstillinger til fabriksindstillingerne. |
| Setup assistant | Her kan du hente menuen til den Forste installation. |
Menuen TID
| Menupunkt | Indstillinger |
| Tidsmodus | Indstil her, om klokkeslættet skal indstilles automatisk eller manuelt. |
| Sommertid | Ved manuel tidsindstilling aktiverer eller deaktiverre du her sommertiden. |
| Slukketid | Vælg en tid, after hvilken apparatet automatisk slukker sig selv.Med retningstasterne kan du indstille tiden (maksimal 2 timer). Straks after indstillingen begynder sleep-timer-tiden. Vælg Sluk, for at afslutte Funktionen. |
| Aktuel tid | Hvis du har indstillet Tidsmodus til Manuel, er det her du angiver tiden. |
| Vækningstidspunkt | Vælg her en tid, after hvilken apparatet slukkes automatisk. |
Menu ANDRE
| Menupunkt | Indstillinger | ||
| Billedmodus | Her indstilles billedformatet. Denne Funktion svarer til tasten SIZE. | ||
| Børnesikring | Her Åbnes en untermenu. | ||
| Barnesikring | Alle kanaler, som er blevet spærret (se Menu TV), kan ikke vælges,;når du sætter indstillingen på Tænd. | ||
| Aldersfrigivelse | Her kan du vælgé alderen. | ||
| Ændre PIN | Her Åbnes et felt til indtastning af passwords. | ||
| Indtast gommelt password: | Indtast det bestående password med taltasterne. I udleveringstilstanden: 0000. | ||
| Indtast nyt password | Indtast et nyt firecifret password. | ||
| Gentag nyt password | Indtast det nye password iven. Der vises en tilsvarende meddeelse. | ||
| Hvis du skulle have glemt passworddet, skal du gennemføre en første installation, for at genoprette fabriksindstillingerne. | |||
| Blå skærm | Hvis LCD-TV'et ikke modtager signaler, vises en blå baggrund i stedet for „sne“ eller et sort billede. | ||
| PIP | Stil her PIP-funktionen på Tænd eller Sluk. Denne Funktion er kun til rådighed ved kilderne YPbPr, HDMI1-2. | ||
| PIP position | Her indstilles PIP-vinduets position. | ||
Tilslut apparatus
Tilslutning af hovedtefon
Hovedtelefonen tilsluttes til hovedtelefonbøsningen i tilslutningsfeltet på sider af apparatet.
Vigtigt!
Brug af hovedtelefoner ved høj lydstyrke kan forårsage varige høreskader. Sæt lydstyrken til den laveste værdi, inden du begynder at lytte. Begynd lytningen og øg SSE lydstyrken til et niveau der foles behageligt. Også vedændringer i equalizerens basisindstilling kan det ske at lydstyrken øges og forårsager varige høreskader.

Vigtigt!
Hvis en audioafspiller bruges med høj lydstyrke i længere tid, kan det medføre høreskader hos lytteren.
Tilslutning afDVD-afspiller
1. Med SCART-kabel
Tilslut enDVD-afspiller/videomaskine ell erenDVD-optager med et SCART-kabel til bøsningerne SCART.
2. Med audio-RCA-kabel og video-RCA
Forbind et audio-RCA-kabel (rødt og hvidt stik) med LCD-TV'ets audio-indgange og det eksterne apparats audio-udgange.
Forbind et video-RCA-kabel (gult stik) med LCD-TV'ets video-indgang og det eksterne apparats video-udgang.
3. Med et 3-polet video-RCA-kabel til komponenttilslutningerne
HvisDVD-afspilleren rader over YUV-udgange (Y Pb Pr), tilrades det at tilslutte den til LCD-tv-ets komponentindinge Y-Pb-Pr ved hjaelp af et komponentkabel (RCA-kabel grnblr).
Til overforsel af lyden tilstluttes et cinch/RCA-kabel rød-hvid til AUDIO L-R indgangene.
4. Med et HDMI-kabel
Safremt DVD-afspilleren rader over en HDMI-udgang, tilslutter du et HDMI-kabel (leveres ici med). Et ekstra kabel til hydtransmission er ici ndvendigt.
Tilslutning af videomaskine
Tilslut et antennekabel til LCD-fjernsynets antennestik og til videomaskinens antenneudgang.
Anvend et ekstra antennekabel til at forbinde videomaskinen antenneindgang med antennestikket i væggen. LCD-fjernsynet og videomaskinen kan ligeledes forbindedes ved hjælp af et SCART-kabel. På den på opnås en bedre billed- og lydkvalitet. Der skal bruges et Scartstik til transmission af stereolyd.
Tilslut SCART-ktablet til et af de to SCART-stik på LCD-fjernsynet.
Tilslut den,anden Ende af SCART-kablet til videomaskinens SCART-udgang.
Tilslutning af en DVD-brænder
Anvend et SCART-kabel til tilslutnng af DVD-braenderen til et af de to SCART-stik på LCD-fjernsynet.
Tilslut den,anden Ende af SCART-ktablet til DVD-brænderens SCART-udgang.
Anvend et antennekabel til at forbinde LCD-fjernsynets antennestik med DVD-brænderens antenneudgang.
Anvend et ekstra antennekabel til at forbinde DVD-brænderens antenneudgang med antennestikket i æggen.
Alternative
Safremt DVD-recorderen har YUV-udgange (Y Pb Pr), anbefales det at forbinde den vha. et componentkabel (RCA-kabel grøn/blå/rød) med LCD-tv'ets komponentindgange Y-Pb-Pr.
For hydtransmissionen tilslutter du et stereo-RCA-kabel (rødt og hvidt stik) til AUDIO L-R-indgange.
Alternative
Safremt din DVD-recorder har en HDMI- udgang, tilsluttes et HDMI-kabel (leveres ikke med) til LCD-tv'ets HDMIindgang og det eksterne apparats HDMI-udgang.
Tilslutning af en modtager (SAT, DVB-T, decoder, etc.)
1. Med SCART-kabel
Tilslut en satellitmodtager med et SCART-kabel til boşningerne SCART.
2. Med audio-RCA-kabel og video-RCA
Forbind et audio-RCA-kabel (rɒdt og hvidt stik) med LCD-TV'ets audio-indgange og det eksterne apparats audio-udgange.
Forbind et video-RCA-kabel (gult stik) med LCD-TV'ets video-indgang og det eksterne apparats video-udgang.
3. Med et 3-polet video-RCA-kabel til komponenttilslutningerne
Hvis satellitmodtager rader over YUV-udgange (Y Pb Pr), tilrades det at tilslutte den til LCD-TV-ets komponentindgange Y-Pb-Pr ved hjaelp af et komponentkabel (RCA-kabel grøn/blå/rød).
Til overforsel af lyden tilstluttes et cinch/RCA-kabel rød-hvid til AUDIO L-R indgangene.
4. Med et HDMI-kabel
Safremt receiveen rader over en HDMI-udgang, tilslutter du et HDMI-kabel (leveres ici med). Et ekstra kabel til transmission af lyd er ici nodvendigt.
Hvis du gendersvil tilslutte en DVD- og videorekorder og en SAT-receiver på samme tid, kan du bruge ffolgende tilslutningsform:
Tilslut receivesen som beskrevet foroven.
Forbind nu receiveren med et scart-kabel på DVD-rekorderens scart-udgang og en tilsvarende scart-indgang på receiveren.
Forbind et antennekabel med LCD-TV-ets antennedase ogrekorderens antenne udgang.
Forbind endnu et antennekabel med DVD-rekorderens antennne-indgang og dekoderens antennne-udgang.
Tilslut SAT-receiveren til parabolantennens LNB.
Tilslutning af camcorder
Tilslut en camcorder med et stereo-cinch-kabel og en video-cinch.
For at gengive en camcorders lyd og billede pa dit LCD-TV, tilslut din camcorder til LCD-TV-ets audio-ind-dase og video-ind-dase.
Apparat med HDMI- eller DVI-udgang
HDMI ("High Definition Multimedia Interface") er inden for underholdningselektronikken det eneste interface, der samtidig overfører audio- og videodata digitalt. Det forarbejder alle i dag kende billed- og lydformater, inklusive HDTV (High Definition Television), og kan således och gengive oplosningen 1080 i.uden kvalitetstab.
Mange apparater fra underholdnings-elektronik sektoren, som f. eks. DVD-spillere, er nu til dags forsynet med HDMI-eller DVI-udgange.
Eksternt apparatus med HDMI-udgang
Tilslut et HDMI-kabel (ikke medleveret) til en af de to HDMI-indgange på LCD-Tv'et og til HDMI-udgangen på det eksterne apparat.
Efter du har tilsluttet HDMI-apparatet tander du for LCD-TV'et
Tænd derefter for det eksterne HDMI-genqivelles apparat.
Eksternt apparatus med DVI-udgang
Hvis det eksterne apparat har en DVI-udgang, kan du och slutte den til HDMI-indgangen (HDMI er nedad kompatibel med DVI - "Digital Visual Interface"). Hertil har du brug for en HDMI-til-DVI-adapter.
Da DVI-udgangen ikke overfører lyd, tilslut desuden til overførsel af lyd et audio-kabel. Tag dertil et audio-cinch-kabel (rødt/hvid), som du slutter til componentindgangen AUDIO IN L/R på apparatets bagside.
Tilslutining af PC
Sluk for begge apparater.
Tilslut et VGA-kabel (billedskarmkabel;-ieke medleveret) til VGA-indgangen pA LCD-tv-et og til udgangen for videokortet pa pc'en ell er notebooken.
Drej skruerne på billedskærmskabet fast med fingrene, sö stikket sidder godt fast inde i tilstulningen.
Hvis du oqså vil genqive lyd, tilslut et audiokabel til PC-AUDIO-IN-indgangen.
Tænd forst for LCD-tv-et.
Tænd først derefter for notebooken.
Hvis du bruger LCD-Tv som,anden billedskærm til din pc,kan det i bestemte tilfælde være nødvendigt at tilpasse billedskærmsindstilligerne i dit styresystem. Flere informationer om,hvad du bør passer pa ved brug af flere billedskærme,finder du i pc'ens eller notebookkens brugsvejledning
Fejlfinding
Fejl kan mange gange have banale ørsager, men kan øgså somme tider vare forørsaget af defekte komponenter. Vi vil herGREne give dig en lille guide til problemløsningen. Hvis de folgende foranstaltninger ikke hjælper, mA du fremringe til os, sá vi kan hjælpe dig videre.
| Intet billede, ingen lyd. | • Kontroller, om netkabeilet er korrekt tilsluttet til stikdåsen og til netadapteren. • Kontroller, at der er indstillet på TV fonction. • Kontroller, om apparatets netkontakt på apparatets overside er slæt til. |
| Intet billede. Intet billede fra AV. | • Kontroller indstillingen af kontrast og lys. • Kontroller, at alle tilslutninger af ekstraudstyr er foretaget korrekt. • Kontroller, om den korrekte AV-stilling er valgt. |
| Ingen lyd. | • Se after, om der er skruet ned for lydstyrken. • Se after, om der er valgt mute. |
| Intet billede eller lyd, kun støj. | • Därelige modtageforhold. Se after, om antennen er frakoblet. |
| Billedet er/DDke klart. | • Därelige modtageforhold. • Se after, om antennen er frakoblet. |
| Billedet er for lyst aller for mørkt. | • Kontroller indstillingen af kontras og lys. |
| Billedet er/DDke skarpt. | • Därelige modtageforhold. • Se after, om antennen er frakoblet. • Kontroller indstillingerne for billedskærpen og stæjreduktionen i menuen billedindstillinger. |
| Et dobbelt aller tredbobbelt billede gengives. | • Sørg for, at antennen er korrekt rettet ind. • Der kan være reflektioner fra hjæ omgivelser erelse hjæ huse. |
| Prikker på billedet. | • Der er muligvis interferens fra biler, tog, ledninger, neonlys, etc. • Der kan være forstyrelser mellem antennekablet og netledningen. Prøv at skabe større afstand mellem dem. |
| Der fremkommter striber på skæmen aller farverne blegner. | • Er der interferens fra et andet apparat? • Overføringsantenner fra radiostationer erlen antenner fra radioamaterer og mobiltelefoner kan ogss være skyld i interferenser. • Brug apparatet på langtærk som muligt fra apparatet, der muligvis forårsager interferensen. |
| Betjeningsknapperne på apparatet fungerer ikke. | • Børnespærringen er muligvis aktiveret. |
| Fjernbetjeningen virker/DDke. | • Kontroller, om batterierne i fjernbetjeningen er funktionsklare og korrekt placeret. • Sørg for, at sensormodtageren/DDke rammes af kraftig lyskilde. • Sluk for apparatet ved at afbryde hovedkontakten på bagsiden af apparatet ogænd apparatetigen. • Kontroller, om tv-funktionen er aktiveret ved at trykke på tv-tasten på fjernbetjeningen. |
| Der er anfør flere apparatkoder unter mit apparats mærkenavn. | Hvordan finder jeg den rigtige apparatkode? • For at[inde den rigtige apparatkode for dit apparat skal du afprove koderne enfter,en, indtil de flesste af apparatets Funktioner fungerer, som de skal. |
DK
| De eksterne apparater eagerer kun på nogle af kommandoerne fra fjernbetjeningen. | • Afprøv yderligere koder, indtil apparaterne reagerer, som de skal, på kommandoerne. • Hvis den manuelle indtastning af koder og den automatiske kodesøgning mislykke, kan det iærlige tilfælde forekomme, at apparatet ikke er kompatibelt med din universalfjernbetjening. |
Har du brug for yderligere hjælp?
Hvis forslagene i de forrige afsnit不解 hjulpet til lnsning af problemet, bedes du kontakte os. Det vil vare en stor hjelp, hvis du kan give os falgende oplysninger:
Hvilke ekstra apparater anvendes?
Hvilke meldinger fremkommert 日 skaernen?
- Ved hvilken betjeningsfunktion er problemet opstået?
Hvis du har tilsluttet en PC til apparatet:
- Ved hvilket anvendelsesestrin startede problemet?
-Hvordan ser din computerkonfiguration ud? - Hvilen software anvendte du da fejlen opstod?
Hvilke skridt har du allerede taget for at Iose problemet?
Hvis du allerede har fæt et kundenummer, bedes du oplyse det.
Pixelfejl i LCD-skærme
Til trods for den mest moderne Produktionsmetode kan der i sjeldne tilfælde opsta udfald af enkelte eller flere lyspunkter på grund af den meget komplekse tekologi.
Ved Aktiv Matrix TFT'er med en opløsning på 1440 x 900 Pixels, som er sammensat af tre sub-pixels (rød, grøn, blå), anwendes i alt ca. 3,9 mill. styretransistorer. På grund af dette meget høj ante translisterer og den dermed forbundne yderst kompliceredeproduktsproces kan der nu og da opstå udfald eller forkert styring af pixels hhv. sub-pixels.

| Beskrivelse | Accepteret antal | |
| Lyse subpixels | 1 subpixel | ≤ 2 |
| To beliggende ved sider af hinanden (horizontal/vertical) | ≤ 1 | |
| Afstand | Mindsteafstand mellem lys og mørk subpixel | ≥ 15 mm |
| Mørke subpixels | En enkel | ≤ 5 |
| To beliggende ved sider af hinanden | ≤ 2 | |
| Afstand | Mindsteafstand mellem lyse og mørke subpixel | ≥ 15 mm |
| Antal lyse og mørke subpixels ialt | ≤ 5 | |
Tabellen beskriver det maksimale antal pixelfejl, der mA optræde på skærmen,.uden at det drejer sig om et garantitilfæle. Et garantitilfæle foreliggerevt., hvis det ovennævnte fejlantal i en kategori overskrides.
Rengøring
LCD-TV-ets levetid kan forlænges ved følgende foranstaltninger:
Obs!
Trak altid netstikket og alle forbindelsestedninger ud inden rengaring af apparatet.
- Der sidder beskyttelsesfilm på højglanspoleringen for at beskytte tv'et mod ridser. Fjern filmen,ningar du har placeret tv'et korrekt.
Hvis hojglanspoleringen bliver snavset, skal du forst torre stovet af. Tor derefter forsigtigt af med en rengoringsklud. Hvis du ikke tørrer stovet af forst eller torrer hojglanspoleringen af for voldsomt, kan hojglanspoleringen blive ridset.
Anvend ingen oplosningsmidler, aetsende aller gasformede rengøringsmidler. - Rengør monitoren med en blød, fnugfri klud.
- Pas på, at der ikke bliver vanddråber siddende på monitoren. Vand kan forårsage varige farveændringer.
- Skaermen pågressive udsættes for stærkt sollys eller ultraviolet stråling.
Apparatet maku kun transporteres i originalemballagen, hvorfor den bør opbevares godt.
Gem venligst emballagen godt og brug udelukkende den til transport af LCD-TV'et.
Obs!
Der er ingen dele inden for skærmens cabinet som kræver service eller rengøring.
Bortskafning
Emballage

Emballage og indpakningsjælpemidler, der ikke skal brugesmere, kan genbruges og skal derfor principielt bortskaffes til genbrug.
Apparat

Nár apparatet er næt til slutningen af dets levetid, mæ du under ingen omstændigheder smide det ud som almindeligt husholdningsaffald. Undersøg mulighederne for en miljømæssig korrekt bortskaffelse.
Batterier

Brugte batterier pågressive smides i hushholdningsaffaldet! Batterier skal afleveres i opstillede containere til brugte batterier.
Tekniske Specifikationer
Apparatbetegnelse: P13033 (MD 30551)
Indgangspænding: 100-240 V ~ 50/60 Hz
Indgangsstrøm: 60 Watt
Strømforbrug standby: < 1 W
Fysisk opløsning: 1440 x 900 dpi
TV-System: PAL, SECAM, B/G, D/K, K', I/I, L/L'
Kanaler: VHF (Band I/III)
UHF (BAND IV/V)
HYPERBAND
KABEL-TV (S1-S20)/(S21-S41)
DVB-T (free to air)
Audio: Stereo / Nicam
Programmpladser: 200 (ATV), 400 (DTV)
Hovedtelefonudgang (3,5 mm stik),
Hvis du bruger audio-Cd-er, bemerk om de er patrykt
Bemark venligst:
I dag findes mange, delvist ikke standardisere de fremgangsmåder til CD-optagelse og kopibeskyttelse, damit forskellige.tomme CD-R- og CD-RW. Derfor kan det i enkelte tilfælde kommt til indlænsningsfejl eller - forsinkelser.Dette er ikke en fejl ved apparatet.
Tilladt omgivelsestemperatur: +5^ C + 35^ C
Tilladt relativ luftfugtighed: 20% - 85%
Apparatets mål med food/vægt: ca. 482 × 415 × 160 ~mm(B × H × D) / 6,1 Kg
Apparatets mål udén food/vægt: ca. 482 × 380 × 115 ~mm (B × H × D) / 5,7 Kg
Fjernbetjening
Overforselsform: Infrarod
LED-klasse: 1
Batterity: 2 × 1,5 ~V AAA R03/LR03

Bemark venligst:
Hvis det pga. uforudsete betjeningskombinationer, fejlagtig dataudskiftning eller elektrostatisk udladning (Electro Static Discharge) skulle ske, at LCD-TV'et/DDIk lengere kan betjenes, trek stikket ud og start afterfolgende apparatet op igen.
Garantien starter altid på MEDION-apparatets købsdag hos MEDION eller hos en af MEDIONs officielle handelspartnere og gælder for alle slags materiale- og produktionsskader, der kan forekommen ved normal brug. Garantiperioden kan ses på det ved apparatet vedlagte garantikort sammen med købsdokumentet fra MEDIONs autoriserede handelspartner.
Opbevar det originale købsdokument og garantikort omhyggeligt. MEDION og hans autorisere de servicepartner forbeholder sig ret til at ægte en garantireparation eller en garantibekræftelse, hvis dette dokument ikke kan tilvejebringes.
Sorg for, at apparatet i tilfælde af nødvendig fremsendelse er emballeret transportsikkert.
MEDION overtager omkostningerne ved fremsendelsen, när omkostningerne ikke overstiger en almindelig postforsendelse. Hvis der forekommer merudgifter, pahvilerppe Dem.
Send venligst en sö detaljeret beskrivelse af fejlen som muligt sammen med apparatet. Kontakt venligst ved fremsættelse af Deres krav hhv. før fremsendelse MEDIONs hotline. De modtager derefter et referencingenummer (RMA- nr.), som De bedes anbringe synligt.uden på pakken.
Apparatet skal principielt fremsendes komplet, dvs. indeholde alle de medleverede dele. En/DDek komplet modtagelse af forsendelsen indebærer en forsinkelse af reparationen / ombytningen. For ekstra fremsende materialer, som/DDek horer med til det oprindelige leveringsomfang af MEDION-apparatet, pátager MEDION sig/DDke noget ansvar.
Denne garanti har ingen indflydelse på Deres retslige krav og er underlagt det lands gældenderettigheder, hvor apparatet først er erhvervet, via slutkunden af den autoriserede forhandler MEDION aller en af MEDIONs officielle handelspartnere.
2.0mfang
I tilfælde af en defekt på Deres MEDION-apparat, der er dækket af/DDne garanti, garanterer MEDION med.dde garanti reparation ell udskiftning af MEDION-apparatet. Afgorelsen om reparation ell udskiftning af apparatet pahviler MEDION. Faktisk kan MEDION ud fra egen vurdering beslutte at ombytte det til reparation fremsendte apparat med et hovedreprareret apparat af samme kvalitet.
For forbrugsmaterialer, dvs. dele der ved brug af apparatet med regelmæssige mellemrum skal udskiftes, som f.eks. beamer-pærer.
En pixelfejl (vedvarende farvet, lyst ellr morkt billedpunkt) kan principielt icke betragtes som fejl. Det nogagtige antal tilladte defekte billedpunkter kan De fø oplyst i beskrivelsen i handbogen for dette produkt, som gengiver de gangense normer i branchen.
For indbrændte billedder på plasma- eller LCD-skærme, der er fremkommet som følgge af uhensigtsmæssig brug af apparatet, pâtager MEDION sig ingen garanti. Den nøjagtige fremgangsmåde ved brug af Deres plasma-ller LCDskærm kan De fæ oplynst i beskrivelsen i.Handbogen for dette produit.
Garantien omfatter不解 gengivelsesefj af datamedier, som er fremstillet i et不解 kompatibelt format ell med uegnet software.
Hvis det under reparationen skulle vise sig, at det drejer sig om en fejl, der/DDekket af garantien, forbeholder MEDION sig ret til at opstille et overslag over omkostningerne for kunden i form af et standardgebyr for handtering somt omkostningerne til reparationsarbejde og materialer. Den aktuelle storrelse af standardgebyret for handtering vil blive meddelt af MEDIONs hotline ved fremsættelse af Deres krav og kan øgså læses på vor hjemmeside www.MEDION.dk.
3. Udelukkelse
For fejl og skader, der er opstæt som følge af indflydelse ude fra, skader ved forsømmelser, uhensigtsmæssig brug, foretagneændringer på MEDION-apparatet, ombygninger, udvidelser, brug af ikke-originale dele, forsømmelse, virus eller softwarefejl, uhensigtsmæssig transport, uhensigtsmæssig emballering ull tab ved retursending af apparatet til MEDION, pâtager MEDION sig ingen garanti.
Garantien bortfalder, hvis fejlen på apparatet er opstæt på grund af vedligeholdelse eller reparation, der er blevet udørf. af en,anden end MEDION aller en servicepartner, der er autoriseret til dette af MEDION. Garantien bortfalder ogss, när apparatets mærkater uller serienumre uller en af apparatets bestanddele er andret ullæselig.
4. Service-hotline
För fremsendelse af apparatet til MEDION skal De henvende Dem til os via Service-hotline. De vil her få yderligere informationer, om hvordan De kan gore Deres garantikrav gældende.
Service-hotline erstatter på ingen@måde et brugerkursus i soft- og hardware, opslag i händbogen eller vejledning om andreprodukter.
II. Særlige garantibetingelser for MEDIONs PC, notebook, lomme-pc (PDA) og apparater med navigationsfunktion (PNA)
Hvis noget af det medfølgende ekstraudstyr har en defekt, har De øgså krav på reparation eller ombytning. Garantien dækker materiale- og arbejdssomkostninger for istandsættelse af det pagseldende MEDION-apparats Funktionsdygtighed.
Hardware eller software i apparatet, som ikke er produceret eller solgt af MEDION, kan medføre, at garantien bortfalder, hvis der som fölgge af dette opstår en skade på MEDION-apparatet eller det medfølgende ekstraudstyr eller software.
Ved levering af defekt datamedium ombytter MEDION det defekte datamedium uden beregning; i sàdanne tilfælde er krav udelukket.
MEDION garanter eske, at software, som er produceret erler forhandlet af MEDION, fungerer fejlfrit aller.uden tekniske afbrydelser ellr opfylder Deres krav. For medfolgende kortmaterialie til apparater med navigationsfunktion gives icke garanti for fuldkommenhed.
Ved reparation af MEDION-apparatet kan det vare ndvendigt at slette alle data i apparatet. Sorg derfor inden forsendelsen af apparatet for, at De har en sikkerhedskopi med alle de data, der befinder sig i apparatet. Der gores udtrykkeligt opmærksom pa, at i tilfælde af en reparation bliver fabriksindstillingen genetableret. For omkostninger til en softwarekonfiguration, for tabte indtægter, tab af data hhv. software erler andre følgskader hæfter MEDION/DD.
I de tilfælde, hvor apparatet har et vedlapt garantikort med krav om reparation hhv. ombytning på stedet, gælder særlige garantibetingelser for reparationen hhv. ombytningen på stedet af Deres MEDION-apparat.
- MEDIONs medarbejder skal have uindskrænket, sikker og direkte adgang til apparaterne.
- Det telekommunikationsudstyr, der er nødvendigt for medarbejderne fra MEDION til en reglementeret udførelse af Deres ordre, til test- og diagnoseformål samt til fejalhjælpning, skal stilles til disposition af Dem for egen regning.
- De er selv ansvarlig for genetablering af eget brugersoftware after serviceydelser gennem MEDION.
- De skal have truffet alle specielle forholdsregler, der er nødvendige for MEDION til at kinne udfore ordren after forskrifterne.
- De er selv answerlig for konfigurationen og tilslutningen afevt. eksisterende, eksterne apparater after servicen gennem MEDION.
- Tidsrummet for en afbestilling.uden gebyr af en reparation hhv. en ombytning på stedet er mindst 24 timer; derefter bliver de omkostninger, der er opstæt for os som følge af forsinket eller ikke foretaget afbestilling, faktureret.
Notice-Facile