CD110 - öğütücü BLACK & DECKER - Ücretsiz kullanım kılavuzu
Cihazın kılavuzunu ücretsiz bulun CD110 BLACK & DECKER PDF formatında.
Sık sorulan sorular - CD110 BLACK & DECKER
Questions des utilisateurs sur CD110 BLACK & DECKER
0 question sur cet appareil. Repondez a celles que vous connaissez ou posez la votre.
Poser une nouvelle question sur cet appareil
Cihazınız için talimatları indirin öğütücü PDF formatında ücretsiz! Kılavuzunuzu bulun CD110 - BLACK & DECKER ve elektronik cihazınızı yeniden ele alın. Bu sayfada cihazınızın kullanımı için gerekli tüm belgeler yayınlanmaktadır. CD110 markasının BLACK & DECKER.
KULLANIM KILAVUZU CD110 BLACK & DECKER
Türkç (Cevirisi orijinal talimatlardan yapilmıştır) 88






Intended use
Black & Decker avuc taşlama makineniz uygun tipte kesme ve taşlama diskini kullanarak metal ve taşlarin taşlanmasi ve kesilmesi icin tasarlanmistir. Uygund disk muhafazasin takilması suretiyle hafi f hizmet ve hobi kullanimi icindir.
Güvenlik talimatlari
Genel elektrikli alet güvenlik uyarilari

UYARI! Bütün güvenlik uyariları ve talimatların mutlaka okuyun.
Bu talimatlarin herhangi birisine uyulmaması elektrik carpması, yangin ve/veya ciddi yaralanma riskine neden olabilir.
Butun uyari ve guvenlik talimatlari n ileride bakmak uzere saklayin.
Asağida yer alan uyanlardaki "elektrikli alet" terimi sebeke elektrigiyle (kablolu) veya akü/pille calisan elektrikli aletinizi ifade etmektedir.
1) Calisma alaninin guvenligi
a) Calisma alanini temiz ve aydinlik tutun. Karisik ve karanluk alanlar kazaya davetiye cikartir.
b) Elektrikli aleleri, yanici sivilar, ga tozlann bulundugu yerler gibi yanici ortam-larda calistirmayin. Elektrikli alelter, toz veya dumanlari atesleyebilecek kivilcimlar cikartir.
c) Bir elektrikli aleti calistirirken cocuklardan ve etraftaki kiseldern uzak tutun. Dikkatinizi dagitici seyler kontrlu kaybetmenize neden olabilir.
2) Elektrik güvenligi
a) Elektrikli alelerin fişleri prizlere uygün olmaldir. Fiş üzerinde kesinlikle dhebirdehyşisiklik yapmayın. Topraklı elektrikli alelerde dhebir adaptor fişi kullanmayın. Değistirilmemi fişler ve uygün prisler elektrik carpması riskiniz altacaktır.
b) Borular, radyatorler, ocaklar ve buzdalaplan gibi topraklanmamis yüzeylerle vucut temasindan kaçınin. Vucudunuzun topraklanmasi halinde yüksek bir elektrik carpması riski vardir.
c) Elektrikli aletleri yagmura maruz birakmayin veya islatmayin. Elektrikli alete su girmesi elektrik carpmasi riskini artiracaktir.
d) Elektrik kablosunu uygun olmayan amaclarla kullanmayin. Elektrikli aleti kesinlikle kablosundan tutarak taşimayin, cekmeyin veya prizdençikartmayin. Kabloyu sicutan,
yāgdan, keskin kenarlardan veya hareketli parçalardan uzak tutun. Hasarl veya dolaşmis kabollar elektrik carpmasi riskini artirir.
e) Elektrik bil aleti açık havada calistnyorsaniz, açık havada kullanı uygun bir uzatmakablosu kullanın. Açık havada kullanı uygunbir kablonun kullanilmasi elektrik carpmasıriskini azaltır.
f) Eger bir elektrikli aletin nemli bir bolgede calistirilmasi zorunluysa, bir artik akim aygiti (RCD) korumali bir kaynak kullanin. Bir RCD kullanilmasi elektrik sosu riskini azaltir.
3) Kişisel güvenlik
a) Elektrikli bir aleti kullanirken her zaman dikkatli olun, yaptiginiz ise yogunlasin ve sagduyulu davranin. Elektrikli bir aleti yorganken veya ilac ya da alkolun etkisi altindayken kullanmayin. Elektrikli aleleri (sullanirken bir anlik dikkatsizlik ciddi kisel yaralanmayla sonuclanabilir.
b) Kisisel koruyucu ekipmanlari mutlaka kullanin. Daima koruyucu gozluk takin. Koşullara uygun toz maskesi, kaymayan güvenlik ayakkabilari, baret vya kulaklik gibi koruyucu donanımlarin kullanilmasi kişi olaralanmaları ar altacaktır.
c) Istem disi calistirilmasini onleyin. Cihazi guc kaynagina ve/veya aküye baglamadan, yerden kalirmadan vya tasimadan once dugmenin kapali konumda oldugundan emin olun. Aleti, parmaginiz duğme uzerinde bulunacak sekilde tasimak vya açik konumdaki elektrkli alelteri elektrik sebekesine baglamak kazaya davetiye cikartir.
d) Elektrikli aleti acmadan once tum ayarlama anahtarlarini cikartin. Elektrikli aletin hareketli bir parcasina takili kalmis bir anahtar kisi sel yaralanmaya neden olabilir.
e) Ulaşmakta zorlandiğiniz yerlerde kullan-mayin. Daima saglam ve dengeli basin. Bu, beklenmedik durumlarda elektrikli aletin daha iyi kontrl edilmesine olanak tanir.
f) Uygun sekilde giyinin. Bol elbiseler giymeyin ve takı takmayın. Saçınüz, elbiselerinizi ve eldivenlerinizi hareketli parçalardan uzak tutun. Bol elbiseler ve takilar veya uzun-SA hareketli parçalara takilabilir.
g) Eger kullandiginiz urunde toz emme ve toplama ozellikleri olan atasmanlar varsa bunlarin bagli oldugundan ve dokru sekilde kullanildigindan emin olun. Bu atasmanlarin kullanilmasi tozla ilgili tehlikeleri azaltabilir.
4) Elektrikli alelerin kullanimi ve bakimi
a) Elektrikli aleti zorlamayin. Uygulamaniz icin doitru elektrikli aleti kullanin. Doğru elektrikli alet, belirendiği kasipite ayarinda kullanıdnada daha iy ve guvenlç calisacaktir.
b) Düğme acmiyor ve kapatmiyorsa elektrikli aleti kullanmayin. Düğmeyle kontrol edilemenyum elektrikli aletler tehlikelidir ve tamir edilmesi gerekmektedir.
c) Herhangi bir ayarlama, aksesuar degisi mey aelektrikli alelerin saklanmasi oncesinde fi si guc kaynagindan cekin ve/veya akuyu aletten ayirin. Bu tur onleyici guvenlik tedbirleri elektrikli aletin istem di olarak calistirilmasi riskini azaltacaktir.
d) Elektrikli aleti,*cocuklarin ulasamayacagi yerlerde saklayin ve elektrikli aleti tanimayan veya bu talimatlari bilmeyen kisilerinelektrikli aleti kullanmasina izin vermeyin. Elektrikli aletler,egitimiz kullanicilarin elinde tehlikelidir.
e) Elektrikli alelteri iy durumda muhafaza edin. Hareketli parcalardaki hizalama hatalarini ve tutuklukları, parcalardaki krilmalar ve elektrikli aletin calismasini etkileyebilecek tum diger kosullari kontrl edin. Hasarli ise, elektrikli aleti kullanmadan once tamir ettirin. Kazalarinçoğu, elektrikli alelterin bakiminin yetleri sekilde yapilmamasindan kaynaklanir.
f) Kesim alelerini keskin ve temiz tutun. Bakimi uygün sekilde yapilmış keskin kesim uzlu kesim alelerinin sikişma ihimali daha duşuktür ve kontrol edilmesi daha kolayır.
g) Elektrikli aleti, aksesuarlarini ve aletin diger parçalarini kullanirken bu talimatlara mutlaka uyun ve calisma ortaminin kosullarini ve yapilacak,isin ne oldugunu goz onunde bulundurun. Elektrikli aletin ongörulen islemler disindaki islemler icin kullanıması tehligi durumlara neden olabilir.
5) Servis
a) Elektrikli aletinizi, sadece orijinal yedek parçalarin kullanildigi yetkili servise tamir attirin. Bu, elektrikli aletin güvenliginin muhafaza edilmesini saglayacaktir.
Bu elektrikli alet bir taşlama, zimparalama, fırçalama, polisaj veya kesme makinesi olarak kullanilmak uzere tasarlanmistr. Bu elektrikli alet ile verilen:tüm guvenlik uyarilari, talimatlar, resimli aciklamalar ve teknik Özellikleri okuyun. Asagida acikkanan buttun talimatlara uyulmaması elektrik carpması, yangin ve/veya ciddi yaralanmaya yol acabilir.
Elektrikli aletin tasarlanma amaci disindaki islemler tehlike ve kişi el yaralanmalara neden olabilir.
Ureticiirma tarafindan ozel olarak tasarlanmamis ve tavsiye edilmemis aksesuarlari kullanmayin. Aksesuarin elektrkli aletinize takilabilir olmasi güvenli bir calisma temin edeceşi anlamina gelmemektedir.
Aksesuarin nominal hizi en az elektrikli alet uzerinde yazan maksimum hiza esit olmaldir. Nominal hizindan daha hizi calisan aksesuarlar kirlabilir ve etrafa saçilabilir.
Akesesarinizin dis capi ve kalinligi elektriklaetinizin kapasite orani icinde olmalir. Yanlis ebati akesesarlar yeteri kadar korunamaz ve kontrl edilemez.
Disk, flans, taban ya da diger aksesuarlarin mil capi elektrikli aletin miline tam olarak uymalidir. Elektrikli aletin montaj donanimina uymayan mil capina sahip aksesuarlar dengesiz calisir, asiri titresim yapar ve kontrolu kaybetmeye neden olabilir.
Hasargormusolan biraksesuari kullanmayin. Her kulanimdan once aksesuarlari inceleyin,orneginiskilala ve catlaklararksi, tabani catlak, kopma ya da asiri kullanimakarsi, tel fircayigsek ya da kirk tellkarsi kontrl edin.Elektrikli alet ya da aksesuarduusurulurse,hasar olup olmadiginikontrol edin ya da saglam aksesuar takin Aksesuarin incelenmesi ve monte edilmesinden sonra bir dakika boyunca elektriklaleti bosta ve maksimum hizda calistirin.Butesturesince hasarli aksesuarlar normal olarak kirlarak dagilacaktir.
Kisisel koruyucu ekipman giyin. Uygulamaya baglı olarak yüz kalkani, koruyucu gozluk ya da güvenlik gozlukleri kullanin. Yı geldigindekıçuk asindirici maddeleri ya da
Elektrikli el aleleri icin ek güvenlşleme tabi tutulan parçaları durdurabilen talimatlari toz maskesi, kulaklik, ediven ve,is onlügü

Uyari! Taşlama, zimparalama, fircalama, polisaj veya asindirici diskle kesme isleri icin ek guvenlik talimatlari.
giyin. Goz koruması, çesitli islemler sonucu açıga;cikan uçan parçacıkları durdurabilmelidir. Toz maskesi ya da gaz maskesi yaptıgüniz ilem sonucu açıga;cikan partiküllerı filtreleyebilmelidir. Uzun sureli yuksek siddetli gürultüye maruz kalınması,isitme kaybina neden olabilir.
TÜRKÇE
- Cevrede bulunan sahislar calisma alanindan uzakta güvenli bir mesafe ded tutun. Calisma alanina giren sahiscal karisel koruyucu ekipman giymelidir. Isleme tabi tutulan parcanin ya da kirk bir aksesuarin parçaciklari firlayabilir ve calisma alaninin yakin cevresinde yaralanmalara neden olabilir.
Aletin zimpara kagi/ tabani kendi kablosuna temas edebilecegi icin elektrikli el aletini yalitimi kavrama yüzeylerinden tutun. «Akim taşiyan» bir teli kesmesi metal kisi mlari «akim taşir» hale goTÜür ve operatörün carpilmasinayol acacaktir.
Kabloyu donen aksesuardan uzak tutun. Kontrolu kaybederseniz kablo kesilebilir ya da kopabilir ve eliniz ya da kolunuz donen aksesuar icicekilebilir. - Aksesuar tamamen durmadikça elektrikla aleti asla yere koymayin. Dönen aksesuar yüzeyi yakalayabilir ve elektrikla aleti kontrlünuzden Çikarabilir.
Elektrikli aleti yaninizda taşirken calistirmayin. Kaza ile temas halinde, donen aksesuar giysinize takilabilir, aksesuari vucudunuza dokru cekebilir.
Elektrikl aletin hava cikislarini oclarak temizleyin. Motor fani, tozu muhafazicine ceker ve asiri metal toplanmasi elektriksel tehlike yaratabilir.
Elektrkli aleti yanici malzemelerin yakininda calistirmayin. Kivilcim bu malzemeleri tutusturabilir.
Sivi soğutucu gerektiren aksesuarlar kullanmayin. Su ya da diger svi soğutucularin kullanilmasi elektrik carpmasi ya da sonuçlanabilir.
Not: Yukaridaki uyari sivi sistemle calismak üzere tasarlanmis elektrikli el aletleri icin geleeri degildir.
Geri tepme ve ilgili uyarilar
Geri tepme, sikismis veya takilmis bir disk, taban, firca veya diger aksesuarlara verilen ani tepkidir. Sikisma veya takilma donen aksesuarin aniden durmasina neden olur, bu daha sonra temas noktasinda elektrikli aletin kontrolsuzce, aksesuarin donme yönünün tersineDOGRU zorlanmasina yol acar.
Örneğin, bir asindirici disk, isleme tabi tutulan parçaya takilir ya da sikisirsa; sikisma noktasina giren disk kenari malzemenin yüzeyine saplanarak, diskin geri tepmesine ya da firlamasina neden olabilir. Disk, sikisma noktasindaki hareket yönüne
bagl olarak ya kullaniciyaogruya da kullanicidan uzaaga firlayabilir.
Asindirici diskler bu kosullar altenda kiri bilibilir.
Geri tepme, aletin yanlis kullanilmasi ve/veya yanlis calistirma islemleri veya calistirma sartlari sonucu ortaya cikar ve asagida verilen onlemler alinarak engellenebilir.
Elektrikli aleti sikica tutun, vucudunuzu ve kolunuzu geri tepme gucune karst koyacak sekilde konumlandirin. Geri tepmeye ya da calistirma sirasindaki tandurme momenti tepkisine karst maksimum kontrol saglamak icin eger varsa yan tutma kolunu kullanin. Dogru onlemler alinirsa tandurme momenti tepkileri ya da geri tepmeler kullanici tarafindan kontrol edilebilir.
Doner aksesuar civarina asla elinizi sukmayin. Aksesuar elinizde geri tepme etkisi yapabilir.
Geritepmenin meydana gelmesi durumunda vucudunuzu elektrikli aletin hareket edecegi alanda bulundurmayin. Geritepme hareketialeti takilma noktasinda disk hareketine ters yonde itecekir.
Kose, keskin kenarlar vb. yerlerle calisirken ozzellikle dikkatli olun. Akesuarin sekmesinden ve takilmasindan kaçınin. Köseler, keskin kenarlar ya da sektirme hareketi doner aksesuari engelleme egilimindedir ve kontrolün kaybedilmesine ya da gerı tepmeye neden olabilir.
Zincirli testere zinciri, ahsap oyma biçàgi ya da disli daire/gönye testere biçàgi takmayin. Bu tür biçaklar sik sik geri tepme ve kontrl kaybir olusturur.
Taşlama ve kesme uygulamaları ilen ek Güvenlik uyarılıarı
Taşlama ve asındırkı kesme uygulamaları,—çın)—özel)—güvenlik”—uyariları
Sadece elektrikli aletiniz icin tavsiye edilen disk türlerini ve seçilen disk icin tasarlanmş özel muhafazayı kullanin. Elektrikli aletin birlikte kullanilmak icin tasarlanmadigi diskler yeteri kadar korunamazlar ve güvenldeğillerdir.
Muhafazanin elektrikli alete güvenli bir sekilde böghanması ve maksimum güvenlik icin konumlandirilması gerekir, boylece diskin;cok az bir kismi kullaniciya acık olacaktır. Muhafaza, kullanınin kırilan disk parçaklarindan ve disk ile istenmeyen temaslardan korunmasina yarıncı olur.
Diskler sadece onerilen uygulamalar icin kullanilmaldir. Orneigin: kesme diskinin kenari ile taşlama yapmayin. Asindirici kesici diskler cevresel asindirma icin tasarlanmistir, bu disklere uygulanan yan kuvvetler diskleri parcalayabilir.
Her zaman secilen disk icinogrue ebat ve sekilde, hasarsiz fl anlari kullanin. Uygun fl anlar, diski destekler ve disk kirilmasi olasili-gini azaltir. Kesme diski fl anlari taqlama diski fl anlarindan farklu olabilir.
Daha buyuk capl taşlamalarin yipranmisi disklerini kullanmayin. Daha buyuk elektrkli alelir icin tasarlanmis disk daha kucuk bir aletin yüksek hizları icin uygun degildir ve parçalanabilir.
Asindirici kesme uygulamalarina ozel ilave guvenlik uyarilari
Kesme diskini sikistirmayin veya asiri basinc uygulamayin. Cok derin kesmeye calismayin. Diske asiri yuk uygulamak yuklemeyi, diskin kasim sirasinda bukulme veya engellenme hassasiyetini ve geri tepme veya disk kirlmasi olasiliugini artirir.
Vucudunuzu doner diskle ayni hitsaya veya doner diskin arkasina konumlandirmayin. Disk islem sirasinda sizden uzaklasiyorsa, olasi geri tepme, donen diski ve elektrikli aletiogrudan size dokru itebilir.
Disk herhangi bir nedenle kesimi engelliyor veya yarida kesiyorsa, elektrikli aleti dugmesinden kapatin ve disk tamamen durana kadar elektrikli aleti hareket etirmeden tutun. Disk hareket halindeyken,kesme diskini kosimden uzaklastirmayi asla denemeyin,aksi takdirde gerimeydana gelebilir. Diskin engellenme nedenlerini ortadan kaldirmak icin incelemye yapin ve dizeltici onlemler alin.
isleme tabi tutulan parca üzerinde kesme islemine tekrar baslamayin. Diskin son hiza ulasmasini saglayin ve kesim yerine dikkatle tekrar girin. Elektrkli alet isleme tabi tutulan parca icinde yeniden calistirilrsa disk engellenebilir, ilerleyebilir veya geri tepebilir.
Disk sikismasi ve geri tepmesi riskini en aza indirmek icin, panelleri veya isleme tabi tutulan herhangi bir buyuk boy işi destekleyin. Isleme tabi tutulan buyuk parçalar kendi ağırliklari altinda bukülme egilimindedir. Destekler, kesme Çüzgisı yakınindaki isleme tabi tutulan parcanın altina ve diskin her iki yaninda isleme tabi tutulan parçanın yakınina yerleştililmelidir.
Var olan duvarlarin veya diger kor alanlarin icine bir "cep kosim" yaparken aisi ozen gosterin. Kesilen malzemeden cikan disk, gaz veya su borularini, elektrik tesusatini veya geri tepmeye neden olabilecek nesneleri kesebilir.
Zimparalama uygulamalarina özel ilave güvenlik uyarilari
Cok buyuk zimpara diski kullanmayin. Zimpara diski seçerken üreticinin tavyielerine uyun Zimpara tabanindan taşan zimpara diski paralanma tehlikesi yaratir ve takilmaya, diskin yirtilmasina ya da geri tepmeye yol acabilir.
Polisaj uygulamalarina özel ilave güvenlik uyarilari
Polisaj bonesinin sarkan kisiimilarinin ya da böglanti iplerinin serbeste donmesine izin vermeyin. Sarkan böglanti iplerini bonenin icine dokun ya da kesin. Sarkan veya donen böglanti ipleri parmaklariniza dolanabilir veya calisma malzemesine takulabilir.
Cok buyuk zimpara diski kullanmayin. Zimpara diski seçerken üreticinin tavyielerine uyun Zimpara tabanindan ta'an zimpara diski paralanma tehlikesi yaratir ve takilmaya, diskin yirtilmasina ya da geri tepmeye yol acabilir.
Tel firca uygulamalarina ozel ilave guvenlik uyarilari
Siradan islemlerde bile fircadan tel parcacicikları firlayabilecegini unutmayin. Fircaya asiri yuk uygulayarak telleri asiri germeyin. Tel parcaciciklarıince giysilere ve/ veya deriye kolayca nufuz edebilir.
Tel fircalama islemi icin muhafaza kullanimi tavsiye edilirse tel canak ya da tekerlek fircanin koruyucu ile temasina izin vermeyin. Tekerlek ya da canak firca capi calisma yuku ve merkezka gucleri nedeniyle genisleyebilir.
Diger kiselirin guvenligi
Bu alet fiziksel ve zihinsel kapasitesinin y sira algilama gucu azalmis olan veya ye ince deneyim ve bilgisi bulunmayan kisel (cocuklar dahil) tarafindan kullanilmak uzere uretilmemistir. Bu tur kisel aleti ancak guvenliklerinden sorumlu bir kisi tarafindan cihazin kullanimiyla ilgili talimatlarin verilmesi veya surekli kontrol altinda tutulmasi durumunda kullanabilir.
Cocuklar, alele oynamalarinin onlemek amaciyla kontrl aktinda tutulmalidir.
TÜRKÇE
Titresim
Teknik ve bilere uygunluk beyanat igerisinde belirilen titresim emisyon degerleri EN60745 tarafindan belirlenen standart bir test yontemine uygun olarak olçumlkeptdir ve diger bir aletle karsilastirma yaparken kullanilabilir. Began edilen titresim emisyon degeri ayin zamanda maruz kalmanin onceden degerlendirilmesinde de kullanilabilir.
Uyari! Elektrikli aletin mevcut kullanimi sirasindaki titresim emisyon degeri, aletin kullanim yontemine®,口气 olarak,Began edilen degere gore farklik sergileyebilir. Titresim duzeyi belirlenen seviyenin üzerinde artıgosterebilir.
Isyerinde duzenli olarak elektrikli alet kullanan calisanlar korumak amaciyla 2002/44/EC tarafindan getirilen elektrik guvenligi onlemlerini belirlemek uzere titresime maruz kalmayi degerlendirirken, calisma dongusu icerisinde orneigin aletin kapali oldugu ve aktif durumda olmasinin yani sira bosta calistigi zamanlar gibi, butun zaman dilimleri dahil olmak uzere mevcut kullanim durumu ve aletin kullanim sekli goz onunde bulundurularak degerlendirilmelidir.
Alet üzerindeki etiketler

Uyari! Yaralanma riskini en aza indirmek icin kullanici kullanim talimatlari n mutlaka okumalir.
Bu aleti kullanirken koruyucu gozluk takin.

Alette calisirken kulaklik takin.

Elektrik güvenligi

Bu alet Çift yalıtm;lir. Bu yüzden topraklama kablosuna gerek yoktur. Her zaman Şebeke geriliminin aletin Üretim etiketinde belirlenmiş degerlere uyup uymadıgün kontrl edin.
Elektrik kablosu hasarli ise, bir tehlike olusmasini onlemek icin uretici ya da yetkili Black & Decker Servisi tarafindan degistirilmelidir.
ÖZELLIKLER
Bu alet, asagidaki ozelliklerin bir kismini vya tuminü icermektedir.
- Açma/kapama duğmesi
- Yan kol
- Mil kilidi
- Muhafaza
Montaj
Uyari! Montajdan once aletin kapali ve fisinin cekilmis oldugundan emin olun.
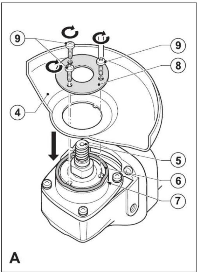
Muhafazanin takilmasi ve*cikartilmasi (Sekil A-B)
Aletsadece taşlama amaçlı muhafaza iledonatilmalık. Eşer alet kesme,isleri icin kullanilacaksa,kesmeye özel muhafaza takilmaldir. Kesme islerine uygun muhafaza 1004484-00 parca numarası ile mevcut olup ve Black & Decker servislerinden temin edilebilir.
Takilmasi
Aleti, mili (5) yukari bakacak sekilde bir masaya yerleşirin.
Yayl rondelayi (6) milin uzerine koyun ve destek (7) uzerine yerlestirin.
Muhafazayi (4) gosterildigi gibi aletin uzerine yerleşirin.
Flansi (8), cikinti yapan noktalar muhafazaya bakacak sekilde milin uzerine yerleşirin. Flanstaki deliklerin vida delikleriyle ayni hizada olduqundan emin olun.
Flansi, vidalarla (9) sabitleyin. Vidalarin iyice sikildigindan ve muhafazanin tandurulebildiginden emin olun.
Cikartilmasi
Vidalari (9) bir tornavida ile sökün.
Flans (8), muhafazay (4) ve yayl rondelay (7) cikartin. Bu parcalari dikkatli bir sekilde saklayin.
Uyari! Aleti, kesinlikle muhafazasi olmadan kullanmayin.
Yan kolun takilmasi
iyan kolu (2) aletteki montaj deliklerinden birin takin.
Uyari! Daima yan kolu kullanin.
Taşlama veya kesme disklerinin takilması veçıkartilması (Şekil C - E)
Daima uygulamaniz icinDOGRU tipte diski kullanin. Daimaogrupcavmilbaglantiolusune sahip diskleri kullanin (teknik verilere bakin).
Takilmasi
Muhafazayi, yukarida belirtildigi gibitakin.
Ic flansi (10) gosterildigi gibi milin (5) uzerine yerlesteirin (Sekil C). Flansin, milin diz tarafinin uzerine dogru bir sekilde yerlesteirildiginden emin olun.
Diski (11) gosterildigi gibi milin (5) uzerine yerlesti-irin (Sekil C). Disk cikintili bir gobege sahipse (12), cikintili gobegin ic fl ansa baktigindan emin olun.
Diskin ic flansin uzerineogruyerlestirildiginden emin olun.
Dis fl ansi (13) milin uzerine yerleşirin. Taşlama diski takarken dis fl anstaki yüksek merkez diske bakmalidir (Sekilde D, A kismi). Kesme diski takarken dis fl anstaki yüksek merkez diskin aksi yöne bakmalidir (Sekilde D, B kismi).
Mil kilidini (3) basili tutun ve dis fi ansi cift pimli anahtari (14) kullanarak sabitletin (sekil E).
Qikartilmasi
Mil kilidini (3) basili tutun ve dis fi ansi cift pimli anahtari (14) kullanarak gevsetin (sekil E).
Dis flansi (13) ve diski (11) cikartin.
Zimpara disklerinin takilmasi ve*cikartilmasi (sekil E - F)
Zimparalama icin bir zimpara tabani gerekmektedir. Zimpara tabani Black & Decker satis noktalarindan aksesuar olarak temin edilebilir.
Takilmasi
Ic fl ansi (10) gosterildigi gibi milin (5) uzerine yerlestirin (Sekil F). Flansin, milin duz tarafinin uzerine dokru bir sekilde yerlestirildiginden emin olun.
Zimpara tabanini (15) milin uzerine yerleştin.
Zimpara diskini (16) zimpara tabanin üzerine verlestirin.
Dis fl ansi (13) milin uzerine kabarik orta kismi diskten uzaga bakacak sekilde verlestirin.
Mil kilidini (3) basilitutun ve diS fl ansi cift pimli anahtari (14) kullanarak sabitletin (sekil E).DiS fl ansin dogru olarak takildigindan ve diskin sik bir sekilde kenetlendiginden emin olun.
Cikartilmasi
Mil kilidini (3) basili tutun ve dis fi ansi gift pimli anahtari (14) kullanarak gevsetin (sekil E).
Dis fl ansi (13), zimpara diskini (16) ve zimpara tabanini (15) cikartin.
Düger tehlikerer
Aletin kullanimiyla ilgili ekte sunuln guvenlik uyarilarina dahil olmayan ilave kalici riskler ortaya cikabilir. Bu riskler, hatali, uzun sureli kullanim dolayisiyla ortaya cikabilir. Emniyet tedbirlerini duzenleyen yonetmeli'in uygulanmasina ve en sagliyici aygitlarin kullanilmasina ragmen, baska belirli risklerden kacinilamaz. Bunlar:
Aletin donen ve hareket eden parçalarina dokunma sonucu ortaya Çikan yaralanmalar.
Herhangi bir parcayi, bicak vya aksesuari deqistirirken ortaya cikan varalanmalar.
Aletin uzun sureli kullanilmasi sonucu ortayaçikan yaralanmalar. Herhangi bir aleti uzun surelere kullanacaksaniz duzenli olarak calismanjaara yerin.
Duyma bozukluq.
Aleti kullanirken ortaya cikan tozun solunmasi sonucu ortaya cikan saglik sorumlari (ornek: ahsapta calisirken, ozellikle mese, akgurgen ye MDF).
Kullanimi
Uyari! Aletin kendi hizinda calismasina izin verin. Asiri yuklenmeyin.
Kazara kesilmesini onlemek icin kabloyu dikkatli bir sekilde dolastirin.
Taşlama veya kesme diski, üzerinde calişilan parçaya temas ettiğinde bir kivilcim akınina hazırlikl olun.
Aleti daima, siperligin, taşlama veya kesme diskinden en uygün korunmayı sekslamasina olanak tanızacak sekilde tutun.
Açilması ve kapatilmasio
Aleti acmak icin acma/kapama duğmesini (1) ileri kaydirin. Dugmeyi biraktıginizda bile, alet calismaya devam edecektir.
Kapatmak icin acma/kapama dugmesinin arka kismuna basun
Uyari! Aleti yuk aktindayken kapatmayin.
En uygun kullanim icin ipuçları
Aleti tek elinizle yan kolun etrafindan diger elinizle ise ana koldan siki bir sekilde tutun.
Taşlama yaparken, daima disk ile üzerinde calistgüniz parçanın yüzeyiarasinda yaklasik 15'likbir acı birakin.
Bakim
Black & Decker aletiniz minimum bakimla uzun bir sure calisacak sekilde tasarlanmistir. Kesintisiz olarak memnuniyet verici bir sekilde calismasi alete gerekli ozenin gosterilmesine ve duzenli temizlige baglidir
Uyari! Elektrikli/sarjla alet uzerinde herhangi birobakim islemi gerekteklstirmeden once:
Aleti kapatin ve fi sten cekin
Yet Ya da aletin cikartilabilir akusu varsa; aleti kapatin ve akuyu aletten cikartin.
Ya da aletin dahili akusu varsa, bitene kadar calistirin ve sonra kapatin.
TÜRKÇE
Sarj cihazini temizlemeden once fi sten cekin. Sarj cihaziniz, duzenli temizlik disinda herhangi bir bakim gerektirmemektedir.
Aletinizdeki ve Şarj cihazindaki havalandirma deliklerini yumusak bir FIRCA veya kuru bir bezleduzenli olarak temizleyin.
Motor muhafazasini duzenli olarak nemli bir bezle silin. Asindirici vya gezucu bazl temizleyiciler kullanmayin.
Mandreni duzenli olarak tamamen acin ve icindeki tozu dokmek icin hafi fce vurun (mandren alete takiliya).
Cevrenin korunmasi

Ayri olarak atin. Bu urun, normal evsel atiklarla birlikte atilmamalidir.
Black & Decker urununuzun degistirilmesi gerektigini dusunmeniz veya artik kullanilamaz durumda olmasi halinde onu, evsel atiklarla birlikte atmayin. Bu urunu, ayri olarak toplanacak sekilde atin.

Kullanilmis urunlerin ve ambalajlarin ayir olarak toplanmasi bu maddelerin geri donusume sokularak yeniden kullanilmasina olanak tanir. Geridonusumlud Maddelerin tekrar kullanimasi cevre kirliginin onlenmesine yardimci olur ve ham madde ihtiyacini azaltir.
Yerel yonetmelikler, elektrikli urunlerin evlerden toplanip belediye atik tesislerine aktarilmasi veya yenir urun satin alirken perakende satici tarafindan toplanmasi yonunde hukumler icerebilir.
Black & Decker, hizmet Ömrünün sonuna ULAŞan Black & Decker ürünlerinin toplanması ve geridönüşme dokulması icin bir imkan sunmaktadir. Bu hizmetin avantajlarindan faydalanmak icin, lütfen, ürünüzübizim adımiza teslim alacak herhangi bir yetkili servise iade edin.
Bu kılıvuzda belirtilen listeden size en)yakin yetkili tamir servisinin yerini ögrenebilirsiniz. Ya da,alternatif olarak internet'ten Black & Decker yetkili tamir servislerinin listesini ve sati sonrasi hizmetlerimizle ilgili tum bilgiler ve temas bilgilerine asagidaki siteden ulasabilirsiniz: www.2helpU.com
Teknik özellikleri
| AST6 TIP 4 | CD105 TIP 4 | |
| Voltaj | VAC 230 230 | |
| Giriş Güncü | W 7 0 1 | 7 0 1 |
| Yüksüzntlzı | dev/dak 10.000 | 10.000 |
| Disk çapı | mm 115 115 |
| Disk delişi | mm 22 | 22 |
| Maks. | ||
| Disk kalınlıkıslı | ||
| taşlama diskleri | mm 6 | 6 |
| kesme diskleri | mm 3.5 | 3.5 |
| Mil ölcücus | mm M14 | M14 |
| Ağırlik | kg 2,1 | 2,1 |
| CD110 | CD115 | |||
| TIP 4 | TIP 4 | |||
| Voltaj | VAC 230 230 | |||
| Giriş Güucü | W 7 0 1 | 710 | ||
| Yüksüzntlisi | dev/dak 10.000 | 10.000 | ||
| Disk çapı | mm 100 115 | |||
| Disk deligi | mm 16 | 22 | ||
| Maks. | ||||
| Disk kalınkıngı | ||||
| taşlama diskleri | mm 6 | 6 | ||
| kesme diskleri | mm 3.5 | 3.5 | ||
| Mil ölc-Csü | mm M10 | M14 | ||
| Ağırkık | kg 2,1 | 2,1 | ||
EN 60745'e gore ses basinci duzeyi:
Ses basinci (L_pA) 91 dB(A), belirsizlik (K) 3 dB(A) Akustik guc (L_wA) 102 dB(A), belirsizlik (K) 3 dB(A)
EN 60745'e gore tespit edilen toplam titresim degerleri (uc yönun vektör toplami):
Yüzey taşlama (a h,AG) 7 m/s², belirsislik (K) 1,5 m/s² Kesme (a h) 2,5 m/s², belirsislik (K) 1,5 m/s²
AT Uygunluk BeyanatIMAKINE DIREKTIFI
CE
AST6, CD105, CD110, CD115
Black & Decker, «teknik Özellikleri» böllumunde açıklanan bu ürünlerin asağida belirtilen yönergelere uygün olduğunu Beyan eder: 2006/42/EC, EN60745-1, EN60745-2-3
Daha fazla bilgi icin, lutfen asagidaki adresten Black & Decker ile irtibata gecin veya kilavuzun arkasinabakin.
Bu belge alto imzasi bulunan yetkili, teknik dosyanin derlenmesinden sorumludur ve bu beyani Black & Decker adina vermistir.

Kevin Hewitt
Baskan Yardimcisı, Global Mühendislik Black & Decker Europe, 210 Bath Road, Slough, Berkshire, SL1 3YD Ingiltere 29.07.2010
Garanti
Black & Decker, urünun kalitesinden emindir ve bu yüzden kanunjarda belirtilen taleplerin üstunde bir garanti verir. Ayrica bu garanti dhebir seksilde garantı ile ilgili kanuni haklarınizi ihlal etmez ve haklarınizi dhebir sekilde kistlamaz. İsbu garantı Avrupa Birligi'ne üye ülkeer ile Avrupa Serbest Ticaret Bölgesi sinirleri dahilinde geleçerdir.
EgerbirBlack&Deckerurunu,satinalma tarihinden itibaren 24ayicinde hatalimalzeme,isciklya dauygunsuzluk nedeniyle bozulursa,mustereyemumkun olabilecek en az sorunu yasatarak Black & Decker hatalikisimiIarigiistirmeyi,adilbirsekilde ainnisveyipranmis urunleri tamir etmeyiveya degistirmeyi garanti eder.Ancak bu belirtilenlersu durumlardinsda gecerlidir:
Ürün ticari veya profesyonel amaçlarla kullanilmissa veya kiraya verilmiisse.
Ürün yanlış veya amaçDMI kullanilmıssa.
Ürün yabanci nesnelerden, maddelerden veya kaza sirasinda zarar gormuisse.
Yetkili tamir servisleri veya Black & Decker servis ekibinden baskasi tarafindan tamir edilmeye calisilmissa.
Garanti talebinde bulunmak icin, saticiya veya yetkili tamir servisine satin aldiginiza dair ispat sunmalisiniz. Fatura ve garanti karti gerekmektedir. Bu kullanim kilavuzunda belirtilen listeden size en yakin yetkili servis adresini ogrenebilirsiniz. Ya da, Internet'ten Black & Decker yetkili tamir servislerinin listesini ve satis sonrasi hizmet veren yetkililerin tam detaylarini ogrenebilirsiniz. Bu site: www.2helpU.com
Sanayi ve Ticaret Bakanligi tebligince kullanim omru 10 yildir.
Türkiye Distributörü
KALE HIRDAVAT VE MAKINA A.S
Defterdar Mah. Savaklar Cad. No. 15
34050 Edirnekapi Evup Istanbul
No. Il Yetakili Servis Adres Telefon
| 1 | Adana | Emin Elektrik | Kizilay Cad. 6.Sok. No.9/D | 0322 351 80 46 |
| 2 | Amasya | Teknik Bobinaj | Beyazit Paşa Mah. Mehmet Vorinli Cad. No.20/B | 0358 218 26 82 |
| 3 | Ankara | Orhan Bobinaj | Yalçınç Sok. No.17 Siteler | 0312 350 95 29 |
| 4 | Ankara | Yiğit Bobinaj | Merkez 668.Sok. Eminel Yapı Koop. No.8 İvedik Ostim | 0312 395 05 37 |
| 5 | Antalya | E.B.A. Elektrik | Sanayi Sitiye 682.Sok. No.38 | 0242 345 36 22 |
| 6 | Antalya - Alanya | Abalçoğlu Bobinaj | Sanayi Sitiye Yeni Yol Girişi No.8 | 0242 512 02 16 |
| 7 | Aydin | Taciroğlu Bobinaj | 2.Sanayi Sitiye 3.Sok. No.55 | 0256 219 43 30 |
| 8 | Aydin - Kuşadası | Özgür Bobinaj | Kuşadası Sanayi Sitiye J.Blok No.13 | 0256 622 13 73 |
| 9 | Balikesir | Tezger Bobinaj | Küçük Sanayi Bölgesi Dökme;ciler Sok. No.15 | 0266 241 63 85 |
| 10 | Balikesir - Bandırma | Küre Bobinaj | Atatürk Cad. No.104 Bandırma | 0266 718 46 79 |
| 11 | Balikesir - Edremit | Özkan Bobinaj | Cenet 8aya Mah. Demirbaş Sitiye A4-BI. No.2/B | 0266 374 20 29 |
| 12 | Bursa | Vokart | Gazcilar Cad. Erikli Bahçce Sok. No.6/B | 0224 254 48 75 |
| 13 | Çanakkale | Kisacık Bobinaj | Namik Kemal Mah. Kaynak Sok. No.41 | 0286 217 96 71 |
| 14 | Çorum | Emek Bobinaj | Küçük Sanayi Sitiye 23.Cad. No.5/C Cami yanı | 0364 234 68 84 |
| 15 | Denizlı | Örsler Bobinaj | Bakırı Mah. 171.Sok. Sedef Çarıssi No.9-10 | 0258 261 42 74 |
| 16 | Diyarbakir | Çetsan Elektrik | İncoln Kad. Ziya Göçalp Sok. No.45 | 0412 237 29 04 |
| 17 | Düzce | Yildiz Makine | Burhaniye Mah. Gen. Kazim Sok. No.10 | 0380 514 70 56 |
| 18 | Edirne | Efe Bobinaj | Sanayi Sitiye 22.Blok No.5 | 0284 225 35 73 |
| 19 | Erzincan | Ümit Elektrik Makine | Sanayi Çarıssi 767.Sok. No.71 | 0446 224 08 01 |
| 20 | Eskişehir | Merç Bobinaj | Akçalık Mah. Merç Sok. No.4/A | 0222 230 94 44 |
| 21 | Gaziantepe | Karaşahin Bobinaj | Şenyurt Cad. No.35 Şahinbey | 0342 231 17 33 |
| 22 | Isparta | Işik Bobinaj | Piri Mehmet Mah. 107.Cad. No.5 | 0246 223 20 28 |
| 23 | İçel - Mersin | Şekerler Elektrik Bobinaj | Nusratiye Mah. 5005.Sok. No.20/A | 0324 336 70 98 |
| 24 | İçel - Mersin | Universal Bobinaj | Nusratiye Mah. Çiftçiler Cad. 68.Sok. No.19 | 0324 233 44 29 |
| 25 | İstanbul | AKEL Elektrik Servis Hiz. | Yukari Dudullu Nato Yolu Cad. No.109B Ümraniye | 0216 540 53 54 |
| 26 | İstanbul | Firat Dis Ticaret | Tersane Cad. Kut Han No.38 K.3 D.307-308 Karaköy | 0212 252 93 43 |
| 27 | İstanbul | Birlik Elektromekanik | Perpa Tic. Merkezi B.Blok Mavi Avlu Kat.4 No.318 Okmeydani | 0212 222 94 18 |
| 28 | İstanbul | Kardeşler Bobinaj | Çağluyan Mah. Sinanpaşa Cad. No.5 Çağluyan | 0212 224 97 54 |
| 29 | İstanbul | Mert Elektrik Ltd. | İkitelli Org. Sanayi Demirciler Sitiye D2.Blok No.280 İkitelli | 0212 549 65 78 |
| 30 | İstanbul | SVS Teknik | Istasyon Cad. GüBTAŞ Sanayi Sitiye No.24 Kat 2 İcmeler Tuzla | 0216 446 69 39 |
| 31 | İstanbul | Tarik Makina Ltd. | Bağdat Cad. Adali Sok. No.101/10 Maltepe | 0216 370 21 11 |
| 32 | İstanbul | Tekniker Bobinaj | Birlik Sanayi Sitiye 7.Cad. No.2 Beyllidduzü | 0212 875 19 31 |
| 33 | İzmir | Birlik Bobinaj | 2824 Sok. No.18 Halkapinar 1.Sanayi Sitiye | 0232 458 39 42 |
| 34 | İzmir | Boro Civiata | 1203/2.Sok. No.B2 Gida Çarıssi Yenisehir | 0232 469 80 70 |
| 35 | İzmir | Doruk Hirdavat | 1426.Sok. No.14 Hurdacilar Sitiye Doğanlar Bornova | 0232 478 14 12 |
| 36 | Kayseri | Akin Elektrik | Eski Sanayi Bölgesi 5.Cad. No.8 | 0352 336 41 23 |
| 37 | Kocaeli - Gebze | Gülsoy Elektrik | Menzihane Cad. 1111.Sok. No.7 | 0262 646 92 49 |
| 38 | Kocaeli - Izmit | Efe Elektrik Bobinaj | Körfez Küçük Sanayi Sitiye 12.Blok No.13 | 0262 335 18 94 |
| 39 | Konya | Murat Bobinaj | Karatay Sanayi Çiçekli Sok. No.83 | 0332 235 64 63 |
| 40 | Konya | Sözenler Bobinaj | Fevzi Çakmak Mah. Komsan lş Mer. 10562 Sok. No.62 | 0332 342 63 18 |
| 41 | Kütahya | Doğan Bobinaj | Yeni Sanayi Sitiye 19.Sok. No.28/1 | 0274 231 22 00 |
| 42 | Malatya | Özer Bobinaj | Yeni Sanayi Sitiye 2.Cad. No.95 | 0422 336 39 53 |
| 43 | Muğla - Bodrum | Bodrum Makine | Türkkuyusu Mah. Etem Demiröz Sok. Sanayi Sitiye 12 | 0252 316 28 51 |
| 44 | Muğla - Marmaris | Başaran Teknik | Beldibi Cad. No.5/C | 0252 412 85 11 |
| 45 | Nevşehir | Çiftgüç Elektrik | Yeni Sanayi Sitiye 8.Blok No.53 | 0384 213 19 96 |
| 46 | Sakarya - Adapazarı | Engin El. Bobinaj | Papucçular Mah. Papucçular Cad. No.40 | 0264 273 87 69 |
| 47 | Samsun | Akı Bobinaj | Sanayi Sitiye Ulus Cad. No.31B | 0362 238 07 23 |
| 48 | Sivas | Bayraktar Elektrik | Yeni Çarıssi No.72C | 0346 221 47 55 |
| 49 | Tekirdaş - Ço lu | Ümit Elektrik | Camiatik Mah. Ereğlisi Sok. No.1 | 0282 653 27 77 |
| 50 | Tokat | Çetin Elektrik | Sanayi Sitiye No.22 Cami Altı | 0356 214 63 07 |
| 51 | Trabzon | Makina Market | Rize Cad. No.71 Değirmendere | 0462 328 14 80 |
| 52 | Uşak | Zengin Bobinaj | İslice Mah. Ürem Sok. No.10/C | 0276 227 27 46 |
| 53 | Yalova | Kale Inşaat | Merkez Mah. Devlet Yolu Cad. No.70 Paytazdere Yalova | 0226 461 22 42 |
| 54 | Zonguldak - KDZ Ereğlili | Tümun Bobinaj | Kılıgla Sanayi Sitiye D.Blok No.17 | 0372 323 74 97 |
zst00129801-10-06-2010

KolayKılavuz