DUU 1000 - Köksfläkt MIELE - Gratis bruksanvisning och manual
Hitta enhetens manual gratis DUU 1000 MIELE i PDF-format.
Vanliga frågor - DUU 1000 MIELE
Ladda ner instruktionerna för din Köksfläkt i PDF-format gratis! Hitta din manual DUU 1000 - MIELE och ta tillbaka ditt elektroniska enhet i hand. På denna sida publiceras alla dokument som behövs för att använda din enhet. DUU 1000 av märket MIELE.
BRUKSANVISNING DUU 1000 MIELE
Ta av utblåsningsgitteret på omlufts-boksen. Det holdes fast av magneter.
Luktfilteret kanlett gä i stykker.Pass pà at det ikke faller ned under hand-tering. Ikke trykk pa cellestrukturen.

Omyggnadssatsen ar till for att Återföra luften i uppständnings-rummet till fläkten. Om du vill leda ut luften frän uppständningsrummet och rummet har en värmekälla som ar beroende av rumsluften sä maste du vara försiktig.
Risk För förgiftning på grund av föbränningsgaser!
Följ sakerhetsangivelserna och varningarna i bruksanvisningen till fläkten. Fråga även sotaren om råd.
Denna ombyggnadssats ar avsedd for anvandning i hushall och i hushallsliknande miljoer.
Ombyggnadssatsen ar uteslutande avsedd for användning i priva-ta hushäll for uppsugning av matos som uppstår vid matlagning. Nagra andra användningsområden ar inte tillåtna.
Ombyggandssatsen skara baranvandas for att bygga om en Miele-flakt till cirkulationsdrift.
For att gora rent och Återaktivera kolfiltret foljer du anvisningarna ienna bruksanvisning.
! Kolfiltret fär inte diskas i diskmaskin!
Om du diskar filtret i diskmaskin kan det hända att det blir kvar diskmedelsrester på filtret. Om du sedan Återaktiverar filtet i ugnen kan de börja brinna på grund av diskmedelsresterna.
Luften som har sugits upp renas genom fettfiltret och passerar sedan genom ett kolfilter och leds till kolfilterboxen. Har renas luften ytterligare i ett Återanvändbart kolfilter ② och leds sedan genom fränluftsgallret ① ut i koket.
Fläkten måste vara anpassad für cirkulationsdrift. Se bruksanvisningen till fläkten.
Cirkulationsdriften fungerar bara med ett isatt kolfilter.
Kolfilterboxen placeras på onskad lamplig plats i koket. Flakten och kolfilterboen kopplas ihop over en franluftledning. Luftten kan ledas in i kolfilterboxen over inblasstosen 3 antingen fran hoger erler vänster sida erler fran baksidan.
Kallrasskyddet och kolfiltret sätts inte in i fläkten. Se monteringsanvisningen till fläkten.
Montering
Kolfilterboxen ar anpassad for montering på lagre nivaer till exempl i en sockel i koket. Dengars dock aven att
bygga in på andra stallen. Tänk bara på att luften helt fritt ska kunna strömma ut ur kolfilterboxen. Luftströmmen fär inte vara riktad rakt mot ett tak eller en vagg. Den ska heller inte vara riktad mot en plats)där man ofter ar, till exempel köksbordet.
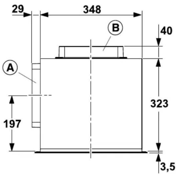
Beakta bilderna i slutet pada denna bruksanvisning for korrekta inbyggnadsmatt och montering.
Fränluftsledning
Kolfilterboxen har en inblåsstos på 222 × 89 ~mm .
Platta luftkanaler och tillbehör finns i fackhandeln.
Använd endast glatta rör eller flexibla frånluftsslangar av godkänt icedbrännbart material till frånluftsanslutningen.
Följ anvisiningarna i bruksanvisingen for att dra fränluftsledningen.
Rengöring och skötsel
Ateranvändbart kolfilter
Kolfiltren kan Återaktiveras i en ugn eller en Ångugn med ugnsfunktion for att kunna anvandas flera gänger.
När behöver du Återaktivera kolfitet?
Återaktiveringen skal alltid göras nar luk- ter inte langre tillräckligt effektiv binds i filtrret.
Det ske goras minst en gang i halvaret.
Vid den Första användingen: om din flakt har en drifttidsräknare saskaden aktiveras. Se bruksanvisningen.

Ta bort franluftsgallret i kolfilterboxen. Den halls pa plats av magneter.
Kolfiltret kan latt gå sönder. Akta sa att det inte ramlar ner. Tryck inte på valkarna.

Dra forsiktigt ut kolfiltret med de badyttre öglorna ur kolfilterboxen ochlagg det på ett jämnt underlag.
Återaktivera kolfilter
Kolfiltret fär inte diskas i diskmaskin!
Ateraktiveringen kan bara goras i en ugn eller angugn med ugnsfunktion. Skolj inte filtren for hand. Det ar kansligt och kan g asonder. Var forsiktig sa att det inte ramlar ner. Tryck inte pa valkarna.
Innan Återaktiveringen torkar du av fil-tret med en fuktig trasa. Använd inga rengöringsmedel.
- Om din ugn har att fettfilter i den bakre vaggensom gär att ta bort sasku du ta bort det. SeBruksanvisninger till ugnen.
Förvärn inte ugren. Lagg kolfiltret på gallret och skjut in det i mitten av ugren.
Starta ugnen aller aktivera ugsfunktionen (beroende pa vad du har for ugn) pa Varmluft plus (cirkula-tionsdrift), 200^
Under Återaktiveringen kan det hända att det böjr lukta lite.
Se till att du har en bra ventilation när du Återaktiverar filtren. Öppna ett fönster om det behövs.
Tid: 60 minute. Stang sedan av ugnen aller ugsfunktionen.
Ta inte ut det varma kolfiltret ur ugnen och lagg det inte på kansliga ytor. Satt heller inte in kolfiltret medan det ar varmt i flakten.
Låt det svalna i ugnen Först.
Sattikolfiltretikolfilterboxen och satt fast franluftsgallret.
- Om din fläkt har en drifttidsräknare für kolfilter sā ska den sattas tillbaka after Återaktiveringen. Se bruksanvisingen.
Byta kolfilter
After tre ar ske filret bytas ut.
Förbrukade kolfilter kan kastas i hushållssoporna.
Göra rent höljet
Rengör fränluftsgallret och även insidan på holjet;när du har tagit ur kolfitet med en disksvamp, diskmedel och varmt vatten.





A

B









Miele & Cie. KG
EnkelManual