HIES430B - Sporák HOOVER - Bezplatný návod na obsluhu
Nájdite návod k zariadeniu zdarma HIES430B HOOVER vo formáte PDF.
Otázky používateľov k HIES430B HOOVER
0 otázka o tomto zariadení. Odpovedzte na tie, ktoré poznáte, alebo položte vlastnú.
Položte novú otázku o tomto zariadení
Stiahnite si návod pre váš Sporák vo formáte PDF zadarmo! Nájdite svoj návod HIES430B - HOOVER a vezmite svoje elektronické zariadenie späť do rúk. Na tejto stránke sú zverejnené všetky dokumenty potrebné na používanie vášho zariadenia. HIES430B značky HOOVER.
NÁVOD NA OBSLUHU HIES430B HOOVER
Vaša bezpečnost je pre nás dóležitá. Precitajte si tieto informácie pred použitím varnej dosky.
Instalácia
Zasiahnutie elektrickým prudom
Pred udrzbou a cistenim odpojte spotrebič od elektrickej siete.
- Pripojenie k dobre uzemnenému systému napájania je nutné.
- Zmeny domáceho systému elektrického pripojenia moze vykonávat'len kvalifikovan'y technik.
- Nedodrzanim tychto pokynov moze nastat'zasiahnutie elektrickym prudom alebo smrt'.
- Tento spotrebič vyhovujé štandardom pre elektr magnetickú bezpečnost'.
- Osoby s kardiostimulatorom alebo inymi elektrickymi implantatmi (ako su inzulinové pumpy) musia kontaktovat'lekára alebo vyrobcu zariadenia pred použitím varnej dosky pre zaistenie, ze ich implantáty nebudú ovplyvnene elektr magnetickým polom.
- Nedodrzanie tychtoPokynov moze viest'k smrti.
- Počas použitia su pristupné Časti spotrebíča dostatočne horůce na spôsobenie popálenia.
- Zabrante kontaktu tela, odevov alebo in'ych predmetov okrem vchodného varného riadu s indukčnou varnou doskou,Pokym povrch nevychladne.
- Upozornenie: magnetické kovové predmety na tele sa možu zahriat', ak sa dostanú do blízkosti varnej dosky. Zlaté alebo strieborné šperky nebudú ovplyvnene.
-
Držte deti mimo dosahu.
-
Rukovati panvic mozu byt' horuce na dotyk. Skontrolujte, cis rukovati panvic neprekrvyaju ine varne zony, ktoré su zapnute. Drzte rukovati dosahu detí.
- Nedodrzanie tychtoPokynov moze viest'k popaleniu a obareniu.
Riziko ponzania
- Spotrebič nenechávajte poças použitia nikdy bez dozoru. Vyvrenie moze spôsobit' dym a moze sa vznietit'.
Váš spotrebič nikdy nepoužívajte ako pracovné alebo odkladaciu plochu. - Na spotrebic nenechavajte ziadne náradie ani iné cudzie predmety.
V blízkosti spotrebica nenechávajte Žiadne magnetické predmety (napr. kreditné karty, pamăťové karty) alebo elektronické zariadenia (nape. počitače, MP3 prehrávače), pretože možu byt' ovplyvné elektromagnetickým pol'am. - Nikdy nepoužívajte váš spotrebič na vykurovanie miestnosti.
- Po použití spotrebica vypnite varné zony podla popisu v tomto návode (napr. pomocou dotykovych ovládačov). Nespoliehajte sa na vypnutie varních zón pomocou funkcie detekcie riadu.
- Nedovol'te det'am hrat'sa so spotrebicom, ani na na' sadat, stupat'a liezt'.
- Do skriniek nad spotrebicom neukladajte predmety lákavé pre deti. Deti lezúce na varnú dosku sa možu vázne zranit'.
- Počas prevádžky spotrebica nenechávajte deti v blízkosti bez dozoru.
- Deti alebo osoby s obmedzenymi senzorickymi schopnost'am musia byt' pod dozoram osoby zodpovednej za ich bezpečnost'. Zodpovedna osoba sa musi uistit, ze tieto osoby možu používat spotrebič bez ohrozenia seba alebo svojho okolia.
- Neopravujte ani nemeinte ziadne Časti tohto spotrebica, ak to nie je uvedene v návode. Vsetky servisné zásahy musí vykonávat kvalifikovaný servisné technik.
- Na cistenie varnej dosky nepoužívajte vysokotlakový parný cistič.
- Na varnú dosku nedávajte t'ázké predmety.
- Na varnu dosku si nestúpajte.
- Nepoužívajte riad so zubatými okrajmi ani net'ahajte riad cz varnú dosku, pretoze možete poskriabat' sklo varnej dosky.
- Nepoužívajte škrabky ani iné drsné Čistiance prostriedky na Čistenie varnej dosky, mohli by ste poskriabat' sklo varnej dosky.
- Ak je poskodeny privodny kabel, musi ho vymenit'len kvalifikovany technik.
- Spotrebič je určeny na použitie v domácnosti.
- Tento spotrebič možu používat' deti od 8 rokov a osoby s obmedzenými fyzickými, senzorickými alebo mentalnymi schopnostami alebo bez dostatočnych skúsenosti a znalostí, ak boli poucené o použiti spotrebiča správnym spôsobom a porozumeli možnám bezpečnostnám rizikám. Nedovol'te det'am hrat'sa so spotrebičom. Čistenie a Údržbu nesmú vykonávat' deti bez dozoru.
-
VAROVANIE: Varenie na varnej doske s olejmi a tukmi bez dozoru je nebezpecné a moze viest' k prehriatiu a požiaru. NIKDY sa nepokušajte uhasit' plamene vodou, spotrebič len vypnite a potom prekryte plamen'Pokrývkou alebo protipožiarnou prikrývkou.
-
Na varnej doske nenechavajte kovové predmety akosu noze, vidlicky, lyzicky aPokryvky, pretoze sa mozu zahriat.
- Po použiti vypnite varnú dosku pomocou ovládača a nespoliehajte sa na vypnutie pomocou detekcie riadu.
- Spotrebič nie je určeny na ovládanie pomocou externého chasováča alebo systému samostatného dialkoveho ovládania.
Blahoželáme k zakúpeniu vasej novej indukčnej varnej dosky. Odporučame, aby ste venovali urcitičačitaniu tychto kosynov/Návodu na instaláciu pre plné porozumenie, ako správné instalovat' a obsluhovat' varnú dosku.
Za učelom instalácie si precitajte šast'o instaláci.
Indukné varenie je bezpećná, zdokonalená, učinná a ekonomická technología varenia. Funguje pomocou elektromagnetickývibraci vytvárajúcich teplo priamo v riade, namiesto prestupovania tepla cz sklokeramický povrch. Sklokeramický povrch je horúci len ak sa dostatočne zahreje riad.

Pred použitím vašej novej indukčnej varnej dosky
- Precitajte si除去 návod, dbajte hlavne na cast „Bezpečnostné upozornenia".
- Odstrante vsetky ochranné folie, ktoré sa možu nachadzat' na varnej doske.
Použitie dotykovych ovládačov
Ovladacie privky reaguju na dotyk, preto na ne nemusite tlacit silou.
- Používajte bruško prsta, nie spicku.
- Po každom zaregistrovaní dotyku budete počut' akustický signál.
- Zaistite, aby boli ovladacie privky vždy ČiSTE, SUCHa a Že sa na nich nenachádzaju Žiadne predmety (napr. náradie alebo utierky). Aj tenký film vody moze stažit obsluhu ovladacích privkov.

Vol'ba varného riadu
- Používajte len varný riad s dnom vhodnám pre indukné varenie. Vid symboly na obale alebo na dne riadu.
-
Vhodnost' riadu možete skontrolovat' pomocou magnetického testu. Presunte magnet blizsie ku dnu riadu. Ak sa prichytí, riad je vhodné na indukciu.
-
Ak nemate magnet:
-
Nalejte trochu vody do riadu, ktory chcete testovat'.
- Postupujte podla krokov „Spustenie varenia".
- Ak na displeji nebliká a voda sa hreje, riad je vhodny.
- Riad z nasledujucich materialov nie je vhodny: Čistá nerezová ocel', hliníkový alebo medeny bez magnetického dna, sklo, drevo, porcelán, keramika a kamenina.


Nepoužívajte riad so zakriveným dnom alebo ostrými okrajmi.

Uistite sa, ci je dno riadu hladke, pasuje presne na sklo a ci ma rovnaku vel'koš' ako varná zona. Použivaje riad, ktorého priemer je rovnák yako zobrazená varná zona. Použitim riadu s mierne vácšim priemerom vyuzijete energiu s maximálou učinnost'ou. Ak použijete mení riad, učinnost' moze byt' nizsia ako ochakávaná.
Riad s priemerom mensim ako 140 mm nemusi varna doska detekovat. Riad vzdy vycentrujte na varnej zone.

Riad z varnej dosky vždy dvíhajte - nepresúvajte, mohli by ste ju poskriabat'.

Rozmery riadu
Varne zony sa až po limit automatickly adaptuju na priemer riadu. Dno riadu musi mat minimálny priemer zodpovedajúci varnej zone. Na dosiahnutie majlepšej Účinnosti vašej varnej dosky umiestite riad do strodu varnej zony.
HIES430B
| Varná zónica Priemer dna indukčnej varnej dosky | ||
| Minimum (mm) | Maximum (mm) | |
| 1, 2, 3 140 220 | ||
| Flexibilné zónica 220 | 220 x 400 | |
| 4 140 140 | ||
HIFS430B
| Varná zónica Priemer dna indukčnej varnej dosky | ||
| Minimum (mm) | Maximum (mm) | |
| 1, 2, 3, 4 140 20 | ||
| Flexibilné zónica 220 | 220 x 400 | |
Použitie indukčnej varnej dosky
Zaciname varit'
- Stlache tlaicidlo zapnutia/vypnutia ①.
Po zapnutí zaznie akustický signal raz, ovládačcasovača zobraź
ovladač volby varnej zony zobraź „, alebo „ indikujúci, ze indukcná doska je v pohotovostnom režime.
- Umiestnite vchodny riad na varnu zonu, ktoru chcete pouzit'
- Uistite sa, ze su dno riadu a povrch varnej dosky cisty a suchy.


- Dotknite sa ovladaca volby varnej zony a kontrolka prislušnej zony začne blikat'.

- Upravte nastavenie vykonu pomocou posuvného ovládača.
- Ak nezvolite vykon do 1 minuty, indukcná varna doska sa automaticky vypne. Musite zacat opat od kroku 1.
- Nastavenie vykonu możete upravit' kedykol'vek poças varenia.


Ak na displeji bliká ≥slant < striedavo s nastavenim výkonu
Znamená to,Že:
- ste neumiestnili riad na spravnu varnu zónu alebo,
- použitý riad nie je vhodný na indukné varenie alebo,
- panvica je vel'mi malá alebo nesprávné vycentrovaná na varnej zone.
Ohrev sa nespustí, ak nie je na varnej doske vhodný riad. Displej sa automaticky vypne po 1 minúte, ak neumiestnite vhodný riad na varnu zónu.
Po dovarení
- Požadovanú varnú zónu na vypnutie zvol'te dotykom symbolu varnej zony.

- Varnú zónu vypnite dotykom a potiahnutím ovládača dolava. Uistite sa,Že displej zobrazi „0"

- Varnú dosku vypnete stlačením tlacidla zapnutia/vypnutia.

- Dbajte na horuci povrch.
H sa zobrazi pri varnej zony, ktora je velmi horuca na dotyk. Zmizne, kad' je povrch dostatočne vychladnuty na bezpečné teplotu. Zvyškové teplo možete vyuzit' aj na USporu energia, ak chcete ohriat'dalsí riad.

Použitie funkcie Boost
Aktivácia funkcie boost.
-
Dotknite sa symbolu volby prislušnej varnej zony.
-
Dotknite sa ovladaca boost B, indicator zony zobrazi "b" a vykon dosiahne Maximum.

Zrušenie funkcie Boost
- Dotknite sa volica varnej zony, pre ktoru chcete zrušit funkciu boost.


- a: Dotknite sa ovládača boost „B“, potom sa varná zóna vráti na pôvodné nastavenie.
b: Dotknite sa posuvného ovládača, varná zóna sa nastavi na zvolený vykon.


- Funkciu możete použit' na všetky varné zony.
- Varna zona sa vrati na povodné nastavenie po 5 minutach.
- Ked je funkcia boost 1. varnej zony aktivna, vykon druhej varnej zony je automaticky obmedzeny na uroven 2 a naopak.
- Ak sa pôvodné nastavenie teploty rovná 0, vráti sa na uroven 15 po 5 minútach.
Použitie funkcie udržiavania teploty
Aktivácia funkcie udržiavania teploty
- Dotknite sa symbolu prislušnej varnej zony.

- a: Dotknite sa posuvného ovládača, potom sa varná zóna vráti na zvolenú uroven.

b: Dotknite sa volica funkci B, varná zona sa vrati na skör nastavený vykon.
Flexibilná oblast'
- Túto oblast je možné použit' ako jegnu varnu zónu alebo dve samostatné zony, podla požiadaviek varenia.
- Flexibiná oblast' obsahuje dva nezávislé induktory, ktoré je možné ovládat' samostatne. Pri použiti ako jegna zóna, ak presuniete varnu nadobu z jegnej zony na druhú v ramci flexibilnej oblasti, bude zachovaný rovnaký vykon pôvodnej varnej zony a cast' nepokrytá riadom sa automaticky vypne.
- DOLEZITE: uistite sa, ze je riad uprosted jegnej varnej zony. V pripade použitia ve'lkeho riadu, ovalnej, stvorcovej alebo dlhej nádoby sa uistite, ze je umiestné uprosted varnej zony a prekryva obidve logá.
Priklad správného a nesprávného umiestnenia riadu.



Ako vel'ka zona
- Na aktiváciu flexibilnej oblasti ako jegnej ve'kej varnej zony jegnoducho stlačte zodpovedajúce tlacidlá.

- Nastavenie vykonu funguje ak pri beznom nastaveni.
- Ak presuniete riad z prednej na zadnu Čast' (alebo naopak), flexibilna oblast' automaticky zistí novú pozíciu, uchová rovnáký vykon.
- Na pridanie d'alsieho riadu stlacte opat zodpovedaiuce tlacdlda na zistenie riadu.
Dve nezávislé zony
Pre použitie flexibilnej oblasti ako dvoch samostatnych varních zón s odliśnym nastavením vykonu stlačte zodpovedajúce tlacidlá.

Uzamkutie ovladacích prvkov
- Możete uzamknút' ovladaci panel pred nechceným použitim (napriklad pred náhodnou aktiváciou varnej zony det'mi).
- Ked' su ovládače uzamknute, vsetky ovládače okrem ovládača zapnutia/vypnutia su neaktívne.
Uzamkutie ovladacich prvkov
Dotknite sa symbolu uzamknutia. Indikator casovaça zobrazi „Loc".
Odomkutie ovladačov
- Dotknite sa a podržte symbol uzamkutia
- Teraz możete zaćpoužívat indukčnú varnó dosku.

Ked je varná doska v uzamknutom režime, vsetky ovládače su neaktívne okrem zapnutia/vypnutia ①, vždy možete varnú dosku v pripe nudze vypnú't lăčidlom zapnutia/vypnutia ①, ale pre d'alsi obsluhu musite najskór varnú dosku odomknú't.
Ochrana pred prehriatim
Teplotny senzor moze monitorovat' teplotu v induknej varnej doske. Ked' je zistená nadmerne vysoká teplota, indukcná doska sa automaticicky vypne.
Detekcia malych predmetov
Ked'necháte na varnej doske predmet nevhodnej vel'kesti alebo nemagnetický predmet (napr. hliník), alebo iný malý predmet (napr. nož, vidlicku, kluče), varná zona prejde automaticicky po 1 minúte do pohotovostného režimu. Ventilator chladi indukčnu varnu dosku 1 minútu.
Automatisch vypnutie je bezpečnostá funkcia ochrany indukčnej varnej dosky. Vypne ju automaticicky, ak ju zabudnete vypnut'. Počiatočné prevádkové chasy pre rozne vykony su zobrazné v nižsie uvedenej tabu'ke:
| Výkon Udržiava- | nie tepla | 1-5 6-1 | 0 11-14 15 | ||
| Počiatočný prevádkový Čas (hodiny) | 2 8 4 | 2 1 |
Po zlozeni riadu indukcná varna doska ihned prestane hriat' a automaticky sa po 2 minútach vypne.

Osoby s kardiostimulatorom musia pouzitie varnej dosky konzultovat's lekárom.
Použitie Časovača
Časovac možete použit dvomi roznymi spôsobmi:
- Możete ho použit' ak o minútku. V toto pripe ācasovac nevypne Žiadnu varnú zónu po uplynutí nastavenej doby.
- Możete ho nastavit' na vypnutie varn'ych zón po uplynuti nastavenej doby.
- Časováč možete nastavit až na 99 minút.
Použitie Časovača ako minútky
Ak nezvolite ziadnu varnú zónu
- Uistite sa, ze je varna doska zapnuta.
Poznamka: minutku mozete pouit aj ked nezvolite ziadnu varn zonu.
- Čas nastavte dotykom posuvného ovládača (napr. 9), teraz je Časovac nastavený na 9 minút.
0:56

- Po uplynuti nastaveného Času bude zniét akustický signal 30 sekünd a indicator Časováča zobraź „0:00".

Nastavenie Časovača pre vypnutie varních zón
Ak je Časovač nastavený pre Jednu varnú zónu:
- Dotknite sa volica varnej zony, pre ktoru chcete nastavit'casovač.

- Nastavte Čas dotykom posuvného ovládača (napr. 9), teraz je nastavený Časovac na 56 minút.


- Ked je Časovač nastavený, spustí sa ihnéj hejo odpočitavanie. DispJE zobrazjue dostávajúcu dobu a indikátor Časovača bliká 5 sekund.
POZNÁMKA: Červéná bodka vedla úrovne vykonu bude svietí' pre indikáciu zvolenej varnej zony.
- Ked'casova uplynie, zodpovedajica varna zona sa automaticky vypne.


Ostatné varné zony budu v prévázke d'alej, ak boli predtym zapnute.

Ak je Časovač nastavený pre viac ako Jednu zónu:
- Ked' nastavite Časovač pre niekol'ko varn'ych zón naraz, desatinné bodky prislušn'ych varn'ych zón svietia. Minúty zobrazuju min. Časovača. Bodka zodpovedajúcej varnej zony bliká.



(nastavenie na 15 minút)
(nastavenie na 45 minút)
- Po uplynuti nastavenej doby sa prislušná varná zona vypne. Potom sa zobrázi dalsí Časovac a zodpovedajúca zona bliká.


- Dotknite sa volica varnej zony, zodpovedajuci casova sa zobrazi na indikatóre.
Odporucania k vareniu

Zvyste pozornost' pri vyprazani na oleji alebo tuku, ktory sa velmi rychlo zahreje, hlavnek pouzivate funkciu PowerBoost. Pri extremne vysokych teplotach sa moze olej a suk vznietit' a predstavujé važne riziko poziaru.
Tipy k vareniu
- Ked'začnePokrm vriet',znizte nastavenie teploty.
- PoužitímPokrývky skrátrite dobu varenia ušetrîte energiu uchovaním tepla.
- Minimalizujte množstvo tekutín a tuku pre skrátenie doby varenia.
- Začnite varit' na vyššom stipni a potom znižte, ked' saPokrm dostatočne zahreje.
Dusenie, varenie ryze
- Dusenie nastáva pod bodom varu, okolo 85^ , ked' bublinky pomaly stupaju k hladine. Je to klúčom k chutnej polievke a jemnému duseniu, pretože chut'sa rozvija bez prevalenia Jedla. Týmto spôsobom by ste mali varit' aj vaječné a mucne omáčky pod bodom varu.
- NiektoréPokrmy, vrátane varenia ryže sposobom absorbcie, možu vyžadovat'vyšsie.
nastavenie ako majnižsie pre zaistenie dobrého uvarenia v správnom čase.
Opekanie steaku
Na pripravu št'avnatych chutnych steakov:
- Priblizne 20 minut pred pečením nechajte máso odležat' pri izbovej teplote.
- Zahreje panvicu.
- Potrite obidve strany steaku olejom. Kvapnite malé množstvo oleja na horúcu panvicu a potom položte steak na Rozpálenú panvicu.
- Pocas peceenia steak raz otocte. Presna doba peceenia zavisio od hrubky steaku a stapna pozadovaného prepecenia. Casy sa mozu menit' od 2 do 8 minut na jegnu stranu. Zatlache na steak pre kontrolu stavu prepecenia - tuhsi znamená viac „prepeceny".
- Nechajte steak odstát na teplom tanieri niedolko minut pred podávanim pre uvolnenie.
Smażenie s mieşaním
- Zvolte wok alebo veI'ku panvicu vchodnej veI'kosti a z vchodného materialu pre indukcné varenie.
- Pripravte si vsetky ingrediencie. Smazenie smiesanim musi byt rychle. Ak priapravujete veiké množstvo, priapravujtePokrmyv mensich daskach.
- Panvicu krátko predhrejte a pridajte dve lyžice oleja.
- Najskor pečte māso, dajte ho bokom a udžiavajte teplé.
- Pripravte zeleninu. Ked je horúca, ale stále chrumkáva znižte vykon varnej zony, vrâtte másó do panvice a pridajte omáčku.
- Ingrediencie jemne premiesajte a dobre prehrejte.
- Ihned servirujte.
Nastavenie teploty
Nizsie uvedene nastavenia su len informacne. Presne nastavenie zavisid niekol'kych faktorov, vratane riadu a mnozstva pripravovanychPokrmov. Experimentujte s indukcnou varnou doskou pre zistenie nastaveni, ktorvam najviac vyhovuju.
| Nastavenie teploty | Vhodné pre |
| 1 - 2 · jemný ohrev | malých množstievPokrmov · topenie Čokolády, masla aPokrmov, ktoré sa l'ahko spália · jemné dusenie · pomalé ohrievanie |
| 3 - 5 · ohrev | rýchle dusenie · varenie ryže |
| 6 - 11 · palacinky | |
| 12- 14 · varenie | · varenie cestovín |
| 15/P · smaženie s miešaním · opekanie · varenie polievky · varenie vody | |
Nastavenia su len informativne. Presné nastavenia závisia od niedol'kych faktorov, vrátane riadu a pripravovaného množstvaPokru. Experimentujte s varnou doskou pre zistenie majlepsich nastaveni.
Starostlivost' a cistenie
| Čo? Ako? Dóležité! | ||
| Každodenné znečistenie sklokeramickej dosky (odtlačky prstov, škrvny z Jedla alebo flaky bez obsahu kukru) | 1. Vypnite varnú dosku.2. Aplikujte Čiustč na varné dosky,Pokým je sklo stále teplé (nie horúce!)3. Oplachnite a vysušte utierkou alebo papierovou utierkou.4. Zapnite varnú dosku. | • Ked' je napájanie varnej dosky vypnuté,na varnej doske sa neobjaví indikácia horúceho povrchu,ale varná doska može byt' stále horúca! Zvýšte pozornost'.• Drsne škrabky,nylonové škrabky a abrazivne Čiustěc možu poskriabatsklo.Vždy si prečitajte Štitok na vyrobku,či je vchodné na sklokeramiku.Nikdy nenechávantje zvyšky Čistianceho prostriedku na varnej doske: možu zanechat škrvny. |
| VyvrétéPokrmy, roztavené a horúce škrvny sladkychPokrmov na skle. | Odstránty ich ihnedškrabkou vchodnou na sklokeramiku,dbajte na horúce varné zony:1.Odojejte napájanie varnej dosky.2.Držte škrabku v uhle 30°a oskriabte nečistoty zvarnej dosky.3.Znečistenie odstránty bavljenou alebo papierovou utierkou.4.Vykonajte kroky 2 až 4 postupu „Každodenné Čistienie sklokeramickej dosky"vyšsie. | • Odstránty škrvny a cukrovéPokrmy co najskór.Ak ich necháte vychladnú'tna sklokeramike,ich odstránenie može byt' tázké,alebo možu trvaleposkodit' skleneny povrch.Riziko porezania:po zložení ochranného krytu škrabky sa odkryje ostrá Čepef.Maximálne zvýšte pozornost' a vždy škrabku skladujte mimo dosahu detí. |
| Škrvny na ovláDACom paneli. | 1.Vypnite napájanie varnej dosky.2.Nečistoty namočte.3.Utrite oblast' dotykovych ovláDACov Čistou spongiou alebo utierkou.4.Oblast' dōkladne vysušte papierovou utierkou.5.Opát' zapnite napájanie varnej dosky. | • Varná doska može vydat' akustický signál a sama sa vypnú'ta ovláDACi panel nemusi byt' funkčný,ak sa na šom nachádza tekutina.Oblast' ovláDACieho panela dōkladne očistite pred opātovnám zapnutím varnej dosky. |
Tipy a triky
| Problém Możná príčina | Čo robit'? | |
| Varnú dosku nie je możné zapnú't. | Bez napájania. Skontrolujte, Či je varná doska pripojená k elektricnej sieti a Či je funkčná. Skontrolujte, Či ne je výpadok elektricnej energia vo vašej domácnosti alebo vašej oblasti. Ak aj po kontrole problém trvá,kontaktujte kvalifikovného technika. | |
| Dotykové ovládače nereagujú. | Ovládací panel je uzamknutý. | Odomknite ovládací panel. Vid' Čast' „Použitie varnej dosky" ohl'adne funkcii. |
| Dotykové ovládače sa t'ažko ovládajú. | Mоže sa na rich nachádzat' vodný film alebo použírate špičku prsta. | Skontrolujte, Či su ovládacie privky Čisté a pri ovládaní používajte bruško prsta. |
| Poškriabané sklo. Drsný riaid. | Riad. | Použite riad's rovným a hladkým dnom. Vid' „Vol'ba správného riad". Vid' „Starostlivost' a Čistenie". |
| Nevhodné Čistace prostriedky. | ||
| Niektorý riad vydáva praskavý zvuk. | Mоže to byt' spôsobené konštrukciou riadu (vrstvy róznych materiálov vibrujú rózne). | Je to normálne a nepredstavuje to poruchu. |
| Indukčná doska vydáva tiché hučanie pri použiti na vysokej teplate. | Je to spôsobené technologiou indukčného varenia. | Je to normálne, ale zvuk stichne alebo zmizne po zvyšeni vykonu. |
| Zvuk ventilatóra z varnej dosky. | Chladiaci ventilátor varnej dosky chrani elektroniku pred prehriatím. Mоže chví'lu dobiehat' aj po vypnutí varnej dosky. | Je to normálne a nevyžaduje Žiadny zásah. Neodpájajte napájanie varnej dosky,Pokým ventilátor pracuje. |
| Nádoby sa nezahrievajú a na displeji sa zobrazí symbol | Indukčná doska nemóze detekovat' riad, pretoze nie je vchodný pre indukčné varenie. Indukčná doska nemóze detekovat' riad, pretoze je ve'lmi malý pre varnu zónu alebo nie je uprostred. | Použite riad vchodný pre indukčné varenie. Vid' Čast' „Vol'ba správného riadu". Riad vycentrujte a uistite sa, Či priemer dna zodpovedá varnej zone. |
| Indukčná doska sa neočakávane vypne, znie akustický signál a zobrazí sa kód poruchy (šstandardne striedavo s"Justou alebo dvomi Čslicami na displeji Časovača). | Technická porucha. Poznačte | si Čísló poruchy a symboly, vypnite napájanie indukčnej dosky a kontaktujte kvalifikovaného technika. |
Ak nastane nešandardné situácia, indukčná varná doska sa automaticky prepne do ochranného režimu a zobrazia zodpovedajúce ochrannes kódy.
| Problém | Možná príčina Čo robit? | |
| F1-F6 Chybný teplotné senzor. Kontaktujte dodávatela. | ||
| F9-FA Chybný senzor IGBT. Kontaktujte dodávatela. | ||
| FC Chybné prepojenie medzi displejom a hlavnou doskou. | Kontaktujte dodávatela. | |
| E1/E2 Nešandardné napătie. Skontrolujte napájanie. | Zapnite po obnovení štandardného napătia. | |
| E3/E4 Vysoká teplota teplotného senzora sklokeramickej varnej dosky. | Rešartujte po ochladení varnej dosky. | |
| E5 Vysoká teplota IGBT senzora. Rešartujte po ochladení varne dosky. | ||
Vysssie uvedené body su rieşenia bežnych prevadzkovych poruch.
Nedemontujte varnu dosku svojpomocne, aby ste zabranili riziku a poskodenia varnej dosky.
Technické udaje
| Varná doska | HIES430B HIFS430B |
| Varné zony 4 zony | |
| Napájacie napătie | 220 - 240 V~ 50/60 Hz |
| Príkon | 7200 W |
| Rozmery g × š × v (mm) | 590 x 520 x 60 |
| Rozmery pre jabudovanie A × B (mm) | 560 x 490 |
Hmotnost' a Rozmery su priblizné. Z dovodu neustaleho vylepsovania našich vyrobkov si vyhradzujeme pravo na zmenu technickych udajov a dizajnu.
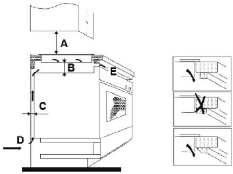
Instalácia
Požiadavky na instaláciu
Vyrežte otvor v pracovnej doske podla Rozmerov uvedenych na obrázku.
Pre instalaciu ponechajte minimale 5 cm volneho priestoru okolo otvoru.
Uistite sa, Či je hrúbka pracovnej dosky majmenej 30 mm. Zvol'te teplu odolný material pracovnej dosky, aby ste zabránili deformácii spôsobenej teplom z varnej dosky.

| L(mm) | W(mm) | H(mm) | D(mm) | A(mm) | B(mm) | X(mm) |
| 590 | 520 | 60 | 56 | 560+4 | 490+4 | 50 mini |
| +1 | +1 |
Uistite sa, Či je varná doska dobre vetraná a Či nie su blokované jej vetracie otvory. Skontrolujte, Či je varná doska v dobrom stave.

Poznámka: Bezpečné vzdialenost medzi varnou doskou a skrinkou nad nou musí byt najmenej 760 mm.

| A(mm) B(mm) C(mm) D E | ||||
| 760 | 50 mini | 20 mini | Vstup vzduchu | Vystup vzduchu min. 5 mm |
Pred instalaciou varnej dosky sa uistite:
- ze je pracovná doska rovná a ze nebránia instalacii ziadne strukturalne privky.
- ze je pracovná doska z teplu odolného materiały.
- ze ak instalujete varnu dosku nad ruru, rura musi mat zabadovan'y chladiaci ventilator.
- ze instalacia vyhovuje vsetkym platnym standardom a predpisom.
- ze je včlenené vchodné odpájacie zariadenie medzi varnu dosku a napájací kabel, ktoré je umiestně podla platnych predpisov a smernic.
Odpájací vypínač musí byt'schvaleného typu a musí ponúkat 3 mm volného priestoru medzi kontaktmi vo vypnutom stave (alebo všetkých aktívnych [fázovych] vodičov, ak miestne predpisy povol'ujú túto zmenu prepisov).
- ze je opájacie zariadenie l'ahko pristupné aj po instalacii spotrebica.
- ze instalácia vyhovuje miestnym predpisom o instaláci.
- ze používate teplu odolné a l'ahko Čistitelné povrchy (ako je keramická dlażdica) na okolitych stenách okolo spotrebica.
Po instalacio varnej dosky sa uistite:
- ze nie je prívodný kábel dosiahnuteřné cz zásuvku alebo priestor pod varnou doskou;
- Ze je dostatočný prietok vzduchu na chladenie varnej dosky;
- ze ak je varná doska instalovaná nad zásuvkou, musi byt instalované ochranné medzidno pod dnom varnej dosky.
- ze je opájaci spinač laho kristupné spotrebitel'm.
Pred upevnenim držiakov
Spotrebič postavte na stabilné, hladký povrch (použite balenie). Netláčte na ovladacie prvky vyčnievajúce z varnej dosky.
Nastavenie pozicie drziakov
Varnú dosku pripevnite k pracovnej doske pomocou 4 držiakov na dolnej strane varnej dosky (vid'obrázok) po instaláci.
Nastavte poziciu drziaka podla hrubky pracovnej dosky.

Upozornenie
- Indukcnu varnu dosku musi instalovat' kvalifikovan'y technik. Nas servis ponuka profesionálov. Nikdy ju neinstalujte svojpomocne.
- Varnú dosku neinstalujte nikdy priamo nad umyvačku riadu, chladničku, mrazničku, pračku alebo susičku, pretože vlhkost'može poskodit' elektroniku varnej dosky.
- Indukcnu varnu dosku instalujte tak aby mohlo teplo dobreunikat pre zaistenie jej spoahlivosti.
- Steny okolo a plochy nad varnou doskou by mali byt' odolné voči teplu.
- Aby ste zabranili nebezpečenstvu, vrstvené pracovné plochy a lepidlá musia byt' odolné voči teplu.
Pripojenie varnej dosky k elektrickej sieti

Túto varnú dosku musí k elektrickej sieti pripájat kvalifikované elektrikár. Pred pripojením varnej dosky k elektrickej sieti skontrolujte:
- āi je elektrický system v domácnosti vchodné pre príkon varnej dosky.
- ānapätie v elektrickej sieti zodpovedá parametrom uvedém na varnej doske.
- ānapájaci kábel zodpovedá parametrom uvedeným na vyrobnom štitku.
Na pripojenie varnej dosky k elektrickej sieti nepoužívajte adaptéry alebo redukcie, pretože možu spôsobit' prehriatie a požiar. Privodný kábel sa nesmie dotýkat' ziadnych horúcich Častí a musí byt' vedený tak, aby teplota nepresiahla 75^ v ziadnom bode.

Poziadajte elektrikára o kontrolu, Č je elektrický systém v domácnosti vchodné na pripojenie. Akékol'vek zmeny musí vykonávat kvalifikovaný technik. Napájanie musí byt' vykonané v sulade s platnymi štandardmi, spôsob pripojenia je uvedeny nizsie.



- Ak je kabel poskodeny alebo je nutné ho vymenit, tuto Činnost' musí vykonat' kvalifikovany servisny technik, aby sa zabránilo nebezpečenstvu.
- Ak pripojite spotrebic priamo k elektrickej sieti pomocou vsepolového odpájacieho zariadenia, odstup medzi kontaktmi vo vypnutom stave musí byt najmenej 3 mm.
- Instalatér musi zaistit správnu instaláciu v sulade s platnymi smernicami a predpismi.
Kabel sa nesmie stlacat'ani ohybat'.
Kabel pravidelne kontrolujte a moze ho menit len kvalifikovany technik.
Informação o likvidácia opotrebovaného elektrického zariadenia (sukromné domácnosti)


Tento symbol na produktoch a/alebo na prilożenych dokumentoch znamenia, ze sa pri likvidáci nesmú elektrické a elektronické zariadenia mieša so vseobecným domácim oppadom.
V zaujme správného obhospodarovania, obnovy a recyklácie odvezte, prosím, tieto produkty na určene zberné miesta, kde budú prijaté bez poplatku. V niedtorych krajinách je možné tieto produkty vratit priamo miestnemu maloobchodu v prípade, ak si objednáte podobné nový vyrobok.
Správna likvidácia tychto produktov pomóže usetrit hodnotné zdroje a zarbanit mozným negativnym vplyvom na ludské zdravie a prostredie, ktoré mozu inak vzniknú't v dosledku nesprávneho zaobchodzania s odpadom. Bližsie informácie o najblizšom zbernom mieste ziskate na miestnom urade.
V pripe nespravnj likvidacie opadu mozu byt uplatnené Pokuty v sulade s platnou legislativou.
Pre prévnické osoby v Europskej unii
Ak potrebujete zlikvidovat opotrebované elektrické a elektronické zariadenia, blizsie informácie ziskate od svojho miestneho predajcu alebo dodávatla.
Informação o likvidáciu v krajinách mimo Európskéj úmie
Tento symbol je platný len v Europskej unii. Ak si Želáte zlikvidovat'toto zariadenie, obratte sa na miestny urad alebo predajcu a poinformujte sa o správnom spôsobe likvidácie tohto typu oppadu.
Použití dotekovych ovladačú
Použití indukčné varné desky
Zaciname varit
- Stiskněte tlacitko zapnuti/vypnuti ①.
Po zapnuti zazni akusticky signal jednou, ovladač casovace zobrazi,
- Dotkněte se symbolu príslušné varné zony.

Příklad správného a nasprávného umistěné nádobí.



JednoduchýManuál