FZ133.4 - Mraznička AMICA - Bezplatný návod na obsluhu
Nájdite návod k zariadeniu zdarma FZ133.4 AMICA vo formáte PDF.
Stiahnite si návod pre váš Mraznička vo formáte PDF zadarmo! Nájdite svoj návod FZ133.4 - AMICA a vezmite svoje elektronické zariadenie späť do rúk. Na tejto stránke sú zverejnené všetky dokumenty potrebné na používanie vášho zariadenia. FZ133.4 značky AMICA.
NÁVOD NA OBSLUHU FZ133.4 AMICA
Zapnout spotbrebić podle príslušného bodu v námodu.
Od dnešného dña každodenné povinnosti budú jegnoduchsie ako kedykol'vek predtým. Zariadenie značky Amica spája vynimočne jegnoduché používanie a dokonalú efektívnost'. Ked'sa oboznámite s užívatelskou príručkou, s používaním zariadenia nebudete mat' ziadne problemy.
Zariadenie, ktoré opústa továren, bolo pred konečnám zabalením na kontrolnéch staniciach dókladne skontrolované, co sa týka bezpečnosti a funkčnosti zariadenia.
Pred spustením zariadenia sa podrobne a dōkladne oboznámte s užívatě'skou príručkou. DodržiavanímPokynov a odporúčaní, ktoré su v príručke uvedené, predídete nesprávnemu použivaniu zariadenia. Príručku uchovajte a uložte ju na takom miesto, aby bola v prípade potreby l'ahko dostupné.
- Prístroi je určený vyhradne pre domáce použitie.
- Vyrobca si vyhradzuje moznost prevadzaniazmien neovplyvnujucich fungovanie spotrebica.
- Niektore zapiy v toto navode su zjednotené pre chladiarenské vyrobky roznych typov, (pre chladnicky, chladnicky- mraznicky alebo mraznicky). Informácie na temu druhu Vasho spotrebica sa nachadzajv Technickom liste pripojenom k vyrobku.
- Vyrobca nenesie zodpovednost za škody vzniknute z nedodržiavania zásad umiestenych v totom námode.
- Prosime o zachovanie tohto návodu s ciel'om jeho využitia v budúcnosti alebo odovzdania eventuál-nemu d'alsiemu uživatel'ovi.
- Toto zariadenie nie je prisposobené k používaniu osobami (v tom detmi)s obmedzenou fyzickou, zmyslovou alebo psychickou schopnostou alebo osobami s nedostatočnými skúsenostami a znalostami zariadenia, iba ak je uskutočnované pod dohladom alebo v sulade s námodom používania zariadenia, odovzdanom osobami odpovedajúcimi za ich bezpečnost.
- Venujte mimoriadnu pozornost tomu, aby spotrebric nepoužívali deti ponechané bez dozoru. Nenechávajte sa im hrat so spotrebrićom Nie je im dovolène sadat si vysuvné Časti a zavesovat sa na dvere.
- Spotrebič pracuje správné v teplote okolitého prostredia, ktora je uvedená, v tabulke s technickou špecifikáciu. Nepoužívajte ho v pivnici, sieni, v neohrievanej chate v jeseni a v zime.
-
Pocas umiestnovania, presuyania, dvihania sanema chytat za madla dveri, tahat za odparovaci kondenzator na zadnej strane chladnicky a aj do-tykat kompresorovej Jednotky.
-
Spotrebič nenahýbajte viac ako 40^ od zvislej polohy, v priebehu prepravy, „prenášania alebo umiestovania. Ak sa taká situácia vyskytla, zapnutie spotrebičamöze nastúpit min. po 2 hodinách od jeho umiestenia (vykr. 2).
Pred kazdou konzervačnou cinnostou vyjmite zástrčku zo sietovej zásuvky. Nepopotahujte za vodic, ale chytajte za korpus zástrčky. - Pocutelné zvúky ako bublanie alebo praskanie sú spósobené roztahovanim azmraš'tovanim sučasti v dôsledku teplotnych zmien.
- Z bezpečnostnych dovodov neopravujte spotrebič svojpomocnym spôsobom. Opravy vykonávane osobami, ktoré nemajú pozadovanú kvalifikáciu možu vytvárat vázne nebezpečenstvo pre užívatela spotrebiča.
V pri paste po skodenia chladiaceho okruhu je po treba na niekolko minut vyvetrat miestnost, v ktorej sa nachadza spotrebič (tato miestnost musi mat aspon 4 m³; pre spotrebič s izobutá-nom /R600a). - Vyrobky, aj'ked' ciastocne Rozmrazene, nie je mozné znovu zmrazit.
- Nápoje vo flášiach a plechovkách, najmá nápoje sγtene oxidom uhlicitým, sa nemajú uchovávat v mraziacom priestore mraznicky. Plechovky a flá-se možu popraskat.
- Nemajú sa dávat do úst zmrazené vyrobykinyehed'po vynatízmraznicky (zmrzliny, kocky ladu, atd.), ich nizka teplotamöze spösobit bolestive omrzliny.
Davajte' pozor, aby nebol poškodený chladiaci okruh, napr. napichnutím kanálikov chladiaceho pripravku vo vyparníku , zlomením rúr. Vystrekované chladiace medium je horl'avé. V pripadevnikutí do očí vyplachujte ich Čistouvodou a vyhl'adajte lekársku pomoc. - Ak budę napajací kabel poškodený, musí byt vymeneny y specializovanom servise.
- Spotrebic služi k prechovávaniu potravín, nepou
žívajte ho k iným účelom.
- Spotrebieć uplne odpojte od napajania (vytiahnutim zăstrécky zo sietovej zăsuvky) v chase vykonávania takych chinností, akymi su cistenie, konzervácia alebo zmena miesta vstavenia.
- Toto zariadeniemözebyt použivané detmi vo veku 8 rokov a starsich, osoby s obmedzenymi fyzickymi alebo mentalnymi schopnostami, ako aj osobami bez skusenosti a bez znalosti zariadenia mozu kanvicu použivat,Pokial' su dohliadané alebo boli instruované vzhladom obsluhy zariadenia bezpečným sposobom a znajú ohrozenia spojene s použivanim zariadenia. Deti si nemozu so zariadenim hrat Cistenie a konzervácia zariadenia nemoze byt vykonávaná detmi ledaze ukoncili 8 rokov a su dohliadané zodpovednou osobou.
- Pre získanie viac miesta v mraznicke, je moźne znej vybrat zásuvky a umiestovat produkty bezprostredne na polickách. Neovplyvnuje to termickú a mechanickú charakteristiku vyrobku. Určeny obsah mraznicky bol hypočitány s vybratymi zásuvkami.

- Deti yo veku od 3 do 8 rokov možu vkladat a vyberat vyrobky z chladiaceho zariadenia.
Aby ste predišli znečisteniu potravín, dodržiavajte nasledujúce zásady:
V dösledku otvarania dvierok na dlhsie moze dojst k značnému zvyšeniu teploty v komorach zariadenia.
- Pravidelne Čistite povrchy, ktoré sa stykajú s po-travinami, a tiež dostupné systémy (pol'va vybavenia) odvádzajúce vodu.
- Surové mäso a ryby uchovávantje v chladnicke vo vhodnych nadobach tak, aby nedochádzalo ku kontaktu s ostatnymi potravinami, a aby z nich nekvapkalo na iné potraviny.
Dvojhviezdičkové komory mraznicky su určné na uchovávanie už zmrazenych potravín, na uchovávanie alebo mrazenie zmrzliny, ako aj na mrazenie (kociek) l'adu.
- Jednohvieżdickové, dyojhvieżdickové a trojhvieżdickové komory nie są urcené na mrazenie Čerstvych potravín.
| Typy komór (oddelení) | Ciełová teplota uchovávania [°C] | Príslušné potraviny | |
| 1 | Chladnička | +2≤+8 | Vajcia, varené potraviny, balné potraviny, ovo-cie a zelenina, mliečné výrobyký, koláće, nápoje a iné výrobyký, ktoré sa nemоžu mrazit. |
| 2 | Mraznička | ≤-18 | Plody mora (ryby, krevety, lastúrníky), sladko-vodné výrobyký a mäsové výrobyký (odporúčané 3 mesiace, Čím dlhéri ācas uchovávania, tám je potravina menej chutná a má horsie výživové hodnoty), vchodné na zmrazené Čerstve výrobyký. |
| 3 | Mraznička | ≤-18 | Plody mora (ryby, krevety, lastúrníky), sladko-vodné výrobyký a mäsové výrobyký (odporúčané 3 mesiace, Čím dlhéri ācas uchovávania, tám je po-travina menej chutná a má horsie výživové hodnoty), nevhodné na mrazené Čerstve výrobyký. |
| 4 | Mraznička | ≤-12 | Plody mora (ryby, krevety, lastúrníky), sladko-vodné výrobyký a mäsové výrobyký (odporúčané 2 mesiace, Čím dlhéri ācas uchovávania, tám je po-travina menej chutná a má horsie výživové hodnoty), nevhodné na mrazené Čerstve výrobyký. |
| 5 | Mraznička | ≤-6 | Plody mora (ryby, krevety, lastúrníky), sladko-vodné výrobyký a mäsové výrobyký (odporúčaný 1 mesiac, Čím dlhéri ācas uchovávania, tám je po-travina menej chutná a má horsie výživové hodnoty), nevhodné na mrazené Čerstve výrobyký. |
| 6 | Bezhviezdič-ková komora (oddelenie) | -6≤0 | Čerstva bravčovina, hovádzina, ryby, kura, niktoré balné spracované výrobyký ap. (odporúčaná spotreba v ten istý deř, majlepšie v priebehu maximálne 3 dní). Ciastočne zabalné spracované výrobyký (výrobyký, ktoré sa nesmú mrazit) |
| 7 | Komora (odde-lenie) na uchovávanie rychlo sa kaziacich potravín | 2≤+3 | Čerstva/mrazená bravčovina, hovádzina kura, sladkovodné výrobyký ap. (7 dni pod 0 °C, nad 0 °C odporúčaná spotreba v ten istý deř, majlepšie v priebehu maximálne 2 dní). Plody mora (pod 0 °C 15 dni, neodporúčané uchovávanie pri teplote nad 0 °C) |
| 8 | Komora (od-delenie) na uchovávanie Čerstvych po-travín | 0≤+4 | Čerstvá bravčovina, hovádzina, ryby, kura, vare-né výrobky ap. (odporúčaná spotreba v ten isty deñ, majlepšie v priebehu maximálne 3 dní). |
| 9 | Komora (odde-lenie) na ucho-vávanie vina | +5≤+20 | Červené, biele, šumivé vino ap. |
- Pozor: vyrobky uchovávajte v súlade s odporúčaniami pre dane komory alebo podla teploty uchovávania daného vyrobku.
- Ak chladiace zariadenie nebudete dlhsi cas pouzivat a bude prazdne, vypnite ho, Rozmrazte, poumyvajte, vysuste a nechajte s otvorenymi dvierkami, aby ste predisli vznikaniu plesn' vo vnutri.
- Cistenie vydajného zariadenia vody (pre vyrob-ky, ktoré majú vydajné zariadenie vody): Nádoby na vody vycistite, ak sa nepoužívali 48 hodín; ak voda nebola vypustena poças 5 dni, preplachnite vodný systém pripojením k vodovodu.
- Minimalna lehota, poças ktorej budu dostupné nahradné diely na opravovane zariadenia, je 7 alebo 10 rokov, podla typu a urcenia daného nahradného dielu, a v sulade s nariadenim Komisie (EU) 2019/2019.
- Zoznam náhradnych dielov a procedúra ich objednámavania su dostupné na webovych strankach vyrobcu, dovozcu alebo oprávného zastupcu.
- Blizsie informacja o danom vyrobku najdete v databáze vyrobkov EPREL, ktora je dostupné na adrese https://eprel.ec.europa.eu. Informacja możete ziskat nacitanim QR kódu z energetického štítku alebo zadaním modelu vyrobku z energetického štítku vo vyhladávači EPREL https://eprel.ec.europa.eu/
INSTALÁCIA A PREVÁDZKO-VÉ PODMIENKY SPOTREBI-ČA
Toto chladiace zariadenie nie je urcené na pouzivanie ako vstavané zariadenie.
Instalácia pred prvým spustením
- Spotrebic je treba rozbalit, odstranit lepiacu pasku zaistujucu dvere a vybaveni. Eventualne zvysky lepidla je myne odstranit jemnym cistiacim prostriedkom.
Polystyrenové Časti obalu sa nemajú vyhadzová. V nutnom pripeade opatovného prevozu je potreba chladnicku s mraznickou zabalit do Časti polystyrenu a fólie a tiež zaistit lepiacou paskou.
Vnutrajsok 'chladnicky a mraznicky ako aj sucasti vybavy je treba umyt vlaznouvodou's pridavkom prostriedku na umyvanie riadu a potom vytriet a vysusit. - Chladnicku s mraznickou je treba umiestnil na rovny, vodorovny a stabilny podklad, doSuchej, vetranej miestnosti, kde nesyieti slnko, dalej od tepelnych zdrojov takych ako kuchyna, radiator ustredneho kurenia, trubka ustredneho kurenia, Rozvod teplej vody atd.
- Na vonkajśich poryrchoch vyrobku są moze nachadzat ochrannáophilia, treba jiu odstránit.
Vodorovne osadenie spotrebiča je treba upravit zaskrutkovaním 2.
nastavitel'nych prednych nožičiek (obr. 3) - Pre zabezpečenie slobodného otvarania dvierok, je vzdialenost medzi bočnou stranou vyrobku (zo strany závesov dvierok), a stenou miestnosti predstavena na vykrese c. 5.*
- Je treba zaistit vchodnu'ventilaciu miestnosti a dostatochnu cirkulaciu vzduchu v priestoru okolo spotrebica (obr. 6).*
Minimálné vzdialenosti od tepelnych zdrojov
- od elektrickych, plynovych sporákov a inych - 30 mm,
- od plynovych alebo uholnych kotlov - 300 mm,
- od vstavanych trúb - 50 mm
Pokým nie je moźné dodržanie vyšsie stanovenych vzdialeností, je potreba použit vchodnú izolačné dosku.
Pozor:
Zadná stena chladnicaky a majma kondenzátor a iné sučasti chladia-ceho obehu sa nemózu dotykat inych sučasti, ktoré možu spôsobit poskodenie, majma (s rúrkou CO a privádzajúćou vodu).
- Nie je pripustnă akakolvek manipulacía so sucastami aggregatu. Je potreba venovat mimoriadnu pozornost tomu, aby nedoslo k poskodeniu kapilarnej rurky, ktorá je viditelna v kompresorovom priestore. Tato rurka sa nesmie ohýbat, narovnámavat ani krutiit.
- Poškodenie kapilárnej rúrky používatel'm spôsobuje stratu nárokov vyplývajúcich zo záruky (obl. 8).
Vo'vybranych modeloch sa uchydt dyierok nachadza vo vnutri vyrobku a je nutne ho priskrutkovat vlastnym skrutkovaicom
Pripojenie napájania
- Pred pripojením sa odporúča nastavit riadiace koliesko regulátora teploty na polohu „OFF“ alebo inú spôsobujúcu odpojenie spotrebica od napáiania (Vid' strana s opisom riadenia),
- Spotrebic je treba pripojit k sieti striedaveho prudu 220-240V/ 50Hz spravne zapojenou elektrickou zasuvkou s uzemnenim a istenou 10 A poistkou.
Uzemnenie spotrebica je vyzadované przyvymi predpismi. Vyrobca sa zrieka alejkolvek zodpovednosti z titulu eventualnych skod, ktoré mozu utripiet osoby alebo predmety v dosledku nesplnenia povinnosti stanovenych v totom predpise. - Nemajú sa použivat spojovacie clanky, nekolkonásobné zásuvky (rozvádzače), dvojžilove predlžovacie kable, Pokým je nutné použitie predlžovaciho kábla, moze to byt iba predlžovácí kabel s ochrannym kolíkom, Jednozásuvkový, ktorý má bezpečnostné atest VDE/GS.
- Pokym bude použitý predlžovaci kabel (s ochranhým kolíkom, ktorý ma bezpečnostné značku), napokon jeho zásuvka musi byt umiestněv bezpečnej vzdialenosti od drežov a nemoźte byt vystavená na zaliatievodu a roznymi opdady.
- Udaje su uvedene na typovom stitku, umiestnenym naspodku vnu-tornej steny chladiaceho priestoru chladnicky**.
Je potreba zabezpečit možnost odpojenia spotrebica od elektricnej siete vytiahnutim zastrcky alebo vypnutim dvojpolového vypinača (obr. 9).
KLIMATICKÁ TRIEDA
Informácia o klimatickej triede spotrebica sa nachadza na vykonovom stitku. Stitok stanovi, pri akej teplote okolja (tzn. miestnosti, v ktorej pracuje) spotrebic funguje optimálne (správné).
| Klimatické pásmo | Prippustné teplota prostredia | |
| SN | rozšírené mierne | Chladiace zariadenie je určené na používanie pri teplote prostredia v rozpátó od +10 °C do +32 °C |
| N | mierne | Chladiace zariadenie je určené na používanie pri teplote prostredia v rozpátó od +16 °C do +32 °C |
| ST | subtropické | Chladiace zariadenie je určené na používanie pri teplote prostredia v rozpátó od +16 °C do +38 °C |
| T | tropické | Chladiace zariadenie je určené na používanie pri teplote prostredia v rozpátó od +16 °C do +43 °C |
ROZBALENIE

Zariadenie je chránene pred poškodením počas prepravy. Prosíme Váš, aby ste po vybaleni zariadenia zlikvidovali obalové materiały spôsobom neohrozujúcimŽivotné prostredie.
Vsetky materiały pouzité na zabalenie su neskodné pre zivotné prostredie,
sú 100% recyklovatelné a sú oznacene prisluşnym symbolism.
Pozor! Davajte pozor, aby sa obalové materiały (polyetylenové vrecká, kúsky polystyrenu atd.). nedostali do ruk detom.
LIKVIDÁCIA ZARIADENÍ


Toto zariadenie je označené v súlades Európskou smernicou 2012/19/ES. Tento symbol informuje,Že toto zariadenie sa po opotrebovani (skončeni používania) nesmie vyhodit do komunálneho odpadu.
Užívatel' je povinny zariadenie odo-nom mieste opotrebovanych elektriconickych zariadeni. Subjekty, ktoré sa-zacovaním opotrebovanych zariadeni, zhberné miesta, obchody alebo"Justafty, vyvtvaraju prislušný systém, ktorý, požnuje odovzdat takéto zariadenia.
Správy postup pri likvidáci elektrického a elektronického zariadenia predchódza negativnemu vplyvu skodlivych pre ludské zdravie aŽivotné prostredie konzekvenci, ktoré vyplývajú z pritomnosti nebezpečných Častí ako aj nesprávneho skladovania a recyklácie takýchto zariadení.
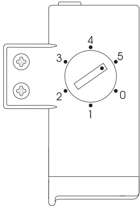
OVLÁDANIE
Ovladanie zariadenia
Ovladaci panel je zobrazenia na obr. 10, na priplenutie je uvedeny aj nizsie:

Termostat
Nastavenie teploty vo vnútri zariadenia
Teplota vo vnútri zariadenia sa mení pretočením ovládaceho kolieska:
Poloha OFF/ 0 / MIN Zariadenie vypnuté
Poloha 1 V zariadeni je najvyšsia teplota (vo vnútri je teplejšie)
Poloha 5 / MAX V zariadení je najnižšia teplota (vo vnútri je chladnejšie)
Pozor:
Koliesko termostatu vo vašom zariadení može byt kalibrované iným spôsobom, ako je to predstavené v toto opise. Vseobecná zásada, ako funguje, je opísana vyssie.
- Ak na ovladacom koliesku vasho zariadenia nie su polohy oznacene „OFF" alebo „0", vase zariadenie sa da uplne vypnut iba vytiahnutim zastrcky napajacieho kábla z el. zasuvky. Pred vypnutim zariadenia (vytiahnutim zastrcky), na termostate nastavte najnizsiu moznu teplotu.
Dodatočné informácie o teplote
- Teplotu vo vnútri zariadenia ovplyvnuje mnoho faktorov. Nastavenie kolieska závisi medzi inymi od teploty prostredia (okolia), intensity slnečného ziarenia, frekvencie otvarania dverí zariadenia, množstva potravín. Nastavenie priemernej (strednej) teploty je vo văčsine pri-padov najoptimalnejsie.
Priestory sa nemaju zaplnovat pred ich ochladenim min. po 4 hod. prevadzky spotrebica.
Zdovodu'zmeny rocného obdobia sa nema menit nastavenie teploty. Zvysenie teploty okolia bude zistene snimaicom a kompresor bude automatickny uvedeny do prevadzky po dlhsie casove obdobie za ucelom udrzania nastavenej teploty vo vnutornom priestore. - Nevelké zmeny teploty su 'normalnym javom a napriklad sa mozu vyskytovat v priebehu prechovávania v chladnicke velkého množstva sviežich produktov alebo ked'dvere boli dlhsie casové obdobie otvo rené. Neovplyvnje to kvalitu potravin a teplota sa rychlo vrati na nastavenu uroven.
OBSLUHA A FUNKCIE
Uchovávanie potravin v chladnicke a mraznicke
Vyrobky je treba ykladat na tanierikoch, y nadobach lebo zabalene do potravinovej folie. Rovnomerne Rozlozit na plochach polic.
- Je treba si všimnút, cisā potraviny nedotýkaju zadnej steny,Pokym ano, vtedy to moze sposobit tvorenie namrazy alebo navlhnutie po-travin.
- Do chladnicky sa nemajú vkladat nádoby s horucim obsahom.
Potraviny l'ahko preberajuce cudzie pachy, také ako maslo, mlieko, tvaroh a tiez také, ktore majú intenzivnu vônu napr. ryby, udeniny, syry - je treba ukladat na police zabaléné do fólie alebo v hermeticky uzavretych nadobách.
- Uchovávanie zeleniny obsahujúcej yělké množstvo vody spôsobu je usadzovanie vodnej pary hore námob na zeleninu; neprekáža to správnemu fungovaniu chladnicky.
- Pred vlozením zeleniny do chladnicky je treba ju dobre vysušit.
- Prílsná vlhkost skracuje dobu uchovávania zeleniny, majma listnatej,
Zeleninu treba uchovávat neumytú. Umyvanie odstránjupe prirodzenu ochranu a preto je lepsie umyt zeleninu tesne pred požitim.
- Odporuca sa vkladanie vyrobkov v košoch 1, '2, 3 do prirodzenej hranice napleni (vid: obr.11a / 11b).*
- Baléné vyrobky
- Policka
-
Normálna hranica naplenia
4.*** -
Pripúšta sa ukladanie vyrobkov na drótenych policiach mraznicky.*
- Pripuša sa vysunutie vyrobkov na polici 20-30 mm od prirodženej hranice napleni.**
- Je moyen odstranenie dolného koša s ciel'm ziskania váčsieho uložného priestoru a uloženia vyrobkov komore na dne do maximálnej vyšky.*
- Pre uchovanie dobrej kvality zmrazoyanych vyrobkov sa odporuča preskupit zmrazené vyrobky nachadzajúce sa vo strednej casti mraznicky tak, aby sa nedotýkali vyrobkov este nezmrazenych.
- Odporucame zmrazené porcie presunut na jegnu stranu mraziaceho priestoru a cerstve, porcie na zmrazenie ulozit na opacnej strane a maximalne prisunut'ku zadnej a bočnej stene.
- Do zmrazovania vyrobkov používajte priestor, ktorý je označený
- Je potreba pamătat, Že na teplotu mraziaceho priestoru mraznicky majú vplyv okrem iného; teplota okolia, stupen naplmenia potravino-vymi vyrobkami, Četnost otvarania dveri, hrubka namrazy v mraznicke ako aj nastavenie termostatu.
- Keby sa po zatvoreni komory mraznicky dvierka nemohli okamzite znova otvorit, radime počkajte 1 až 2 minúty, až tam vzniknuty podtlak bude kompenzovaný.
Doba uchovávania zmrazených vyrobkov je závislá na ich kvalite v Čerstvom stave pred zmrazením a tiež na teplote uchovávania. Pri zachovani teploty -18°C alebo nizšej su odporučané nasledujúce doby uchovávania:
| Výrobky | Mesiace |
| Hovádží | 6-8 |
| Telťací | 3-6 |
| Drobky | 1-2 |
| Bravčové | 3-6 |
| Hydina | 6-8 |
| Vajcia | 3-6 |
| Ryby | 3-6 |
| Zelenina | 10-12 |
| Ovocie | 10-12 |
Teplota neprekracujúca -6°C postač, pre prechovávanie zmrazenych potravin priblizne jedem tyžden. Zăsuvky alebo komory oznacene{jednou hviezdičkou su (najcastejsie) v lacnejšich chladnickách.

V teplote nižsej ako -12°C je możné prechovávat potraviny v case 1-2 týzdnov bez straty chutovych vlastnosti. Nie je postacujúca pre zmrazovanie potravín.

S ohladom na prirodzenu cirkuláciu vzduchu, sa v komore chladnicky nachadzaju rozne teplotné zony.
Najchladnejsi priestor sa nachadza bezprostredne nad zaśuvkami so zeleninou. V toto priestore prechovávajte chulostive a l’ahko kaziace sa produkty ako:
- rýby, māso, hydina,
- udeniny, uvarénéPokrmy,
-Pokrmy'alebo upecené produits obsahujuce vajcia alebo smotanu, - cerstve zakusky, zmesi zakuskov
- balenú zeleninú'á iné Čerstvé potraviny s etiketou prikazujúcou prechovańie v teplote cca 4^ .
- Najteplejsie je v hornej Časti dvierok. Tu sa najlepšie prechovávajú syry a maslo.
Produkty, ktoré by nemali byt' prechovávané v chladnicke
- Nie vsetky produkty su vchodné k prechovávaniu v chladnicke. Patria k nim:
- ovocie a zelenina citlivá voči nízkym teplotám, ako na priklad banány avokádo, papája, marakuja, baklažány, rajciaky a uhorky,
- nezrelé ovôcie,
- zemiaky
Pozor:
Prikladné Rozmiestnenie produktov v spotrebici (Vykr. 12).
Aby ste dosiahli co najlepsiu uroven konzervovania potravin na co najdlhse a predisli nepotrebnemu minaniu potravin, vyrobky rozmiestnite tak, ako je to znazornene na obr. 12. Na obrzku je dodatochne predstavene Rozlozenie zauviek, kosov a polic, ktoré umoznuje najefektivnejsie vyuzit energiu spotrebuvanu chladiacim zariadenim.
Uchovávaním potravin v náležitych podmienkach a teplote sa predlžuje tryanlivost a optimalizuje spotreba elektrickej energia. Rozpatie vchodnych teplot sa uvadza na obaloch alebo etiketach potravin.
ODMRAZOVANIE, UMYVANIE A UDRŽBA
K Čisteniu korpusu a umelohmotnych Častí vyrobkov nikdy nepoužívajte Rozpustadla ani ostre, brusné Čistace prostriedky (napr. prášky alebo kremy na cistenie)! Používajte len tekute jemné mycie prostriedky a mäkké handricky. Nepoužívajte spongie.
Odmrazovanie chladnicky\*\*\*
- Na zadnej strane chladničky vzníká námraza, ktorá je odstražová automaticaky. Behom odmrazovania sa možu spolu s kondenzátom do otvoružliabku dostávat necistoty. Móze to sposobit upchatie otvoru. V takom pripade je potreba otvor lahko pretlacit cisticom trubiek (obr. 13).
- Spotrebic pracuje cykicky: chladi (vtedy sa na zadnej, stene tvorí namraza), následovne sa odomrazuje (kondenzát steka po zadnej stene).
- Pred započatím Čistenia je treba bezpodmienečne odpojić spotrebic od napajania vytiahnutím zástrécky zo sietovej zásuvký, vypnutím lebo vyskrutkovaním poistky. Nie je prípustné, aby sa voda dostala do riadiaceho panelu lebo osyvetlenia.
- Ku Rozmrazovaniu neodporucame používat prostriedky v spreji. Mózu spôsobit vznik vybusnych zmesí, obsahovat riedidla, ktoré mozu poskodit plastovécasti spotrebica a dokonca byt nebezpečné pre zdravie.
- Venujte pozornost tomu, aby pokial'možno voda používaná k umývaniu nestekala odtokovém otvorom do zásobnika odparovania.
- Cely spotrebić s vynimkou tesnenia dverí je treba umyţ jemnám Čistiacim prostriedkom. Tesnenie vo dverach je treba vycistit Čistou vodou a vytrjet dosucha.
- Je treba dōkladne umyt vsetky sučasti vybavy (nádoby na zeleninu, dverné priehradky, sklené police atd.).
Odmrazovanie mraznicky**
- Odmrazovanie mraziacej komory sa odporuča spojit's umyvaním výrobu.
Váčsie nahromadenie ladu na mraziacich plochach stažuje prevadzkovú učinnost spotrebica a spôsobuje váčsiu spotrebu elektrickej energia. - Odporucame odmrazovat spotrebič prinajmensom raz alebo dva razy do roka. V pripev vácsieho sa nahromadenia l'adu, odmrazovanie vykonávajte castejsie.
- Pokym sa vo vnutri nachadzaju vyrobky, je potreba nastavit otočné gombík do polohy max. asi 4 hodiny pred naplánovaným odmrazením. Zaisti to možnost uchovámania vyrobkov pri teplote okolia po dlhsiu dobu.
- Po vytiahnuti potravin z mraznicky je potreba vložit ich do misky, zabalit do niedolká vrstiev novinového papieru, zavinut do deky a uchovávat na chladnom mieste.
- Odmrazovanie mraznicky musi byt prevedené,Pokym je to mozné, rychlo. Dlhsie uchovávanie vyrobkov pri teplote okolia skracuje dobu ich použitelnosti.
Pre odmrazenie mraziaceho priestoru mraznicky je potreba**
- Vypnite spotrebič pomocou riadiaceho panelu, potom vyjmite zá-strčku zo zásuvky.
- Otvorte dvierka, vyjmite produkty.
V zavislosti od modelu vysunte odtokovy kanalik nachadzajuci sa v dolnej casti komory mraznicky a pristavte nadobu. - Dvierka ponechajte otvorene, urychli to proces rozmrazovania. Dodatocne je:nozné umiestit v komore mraznicky nadobu s horucou (ale nie vriacou) vodou.
- Umyte a.vysuste vnútro mraznicky.
- Spotrebić uvedte do prevádžky v'sulade s prislušnám bodom v ná-vode.
Chladiaci priestor chladnicky bol vybaveny funkciou automatického od-mrazovania. Predsa však na zadnej stene chladiaceho priestoru chladnicky moze vznikat námraza. Takto sa prevažne deje, ked' sa v chladiacom priestore uchováva vela Čerstvych potravinovych vyrobkov.
V. Žiadnom prípade sa nesmie dávat do vnútrajšku mrazničky elektrický, fukací ohrievac ani fen na vlasy.
** Týka sa spotrebicov majúcich komoru mrazenia . Netýka sa spotrebicov s beznámrazovým systémom
Týka sa spotrebicov majúcich komoru chladničky. Netýka sa spotrebicov s beznámrazovým systémom
* Týka sa spotrebicov vybavených beznámrazovým systémom
** Netýka sa mrazničiek
LOKALIZÁCIA ZÁVAD
| Problém | Možné pričiny | Možné riešenia |
| Spotrebič nefunguje | Prerušený obvod elektrickej inšalácie | - skontrolovat, Č je zástrčka správné vložné do zá-suvky sietového napájania - zistić, Č nie je poškodený napájací kabel spotrebiča - zistić, Č je v zásvukne na-patie - pripojit druhý spot-rebič napr. stolné lampičku - zistić, Č je spotrebič zap-nutý - nestavit termostat do polohy vyšěje než „0“ / „OFF“. |
| Nefunguje osvetlenie vnú-torného priestoru | Žiarovka nie je dotiahnutá alebo je vypáléná (V spot-rebičoch so Žiarovkou). | - skontrolovat predchódzá-júci bod "Spotrebič nefun-guje" - dotiahnut' alebo vymenit vypálénú Žiarovku (V spotrebičoch so Žiarov-kou). |
| Nepretržitá prevázdzka spotrebiča | Nesprávné nastavenie otočného gombíka | - pretočić otočné gombík do nižšej polohy |
| Ostatné príčiny ako v bode „Spotrebič príliš málo chladí a/lebo mrazí“ | - zistić podlá predchódzajú-ceho bod „Spotrebič príliš málo chladí a/lebo mrazí“ | |
| V dolnej Časti chladničky voda | Otokový otvor vody je upchatý (týka sa spotrebičov s otvor odvázna-nia kondenzát) | - vyčistć odtokový otvor (vid' Námod na obsluhu, kapitola - „Odmrazovanie chladničky“) |
| Stážená cirkulácia vzduchu vo vnútri priestoru | - uložić potravinové vyrob-ky a nádoby tak, aby sa nedotýkali zadnej steny chladničky | |
| Zvúky nevychádžajúce z normálnej prevázdukoy spotrebiča | Spotrebič nie je správné | - správné ustavit spotrebič |
| Spotrebič sa dotýka nábytku a/lebo inýché predmetov | - spotrebič postavit volné tak, aby sa nedotýkal inýché |
| Nesprávné nastavenie otočného gombíka | - pretočić otočný gombík do vyšěj polohy | |
| Teplota okolitého prostredia je vyšsia alebo nižsia od teploty uvedenej v tablke s technickou špecifikaciou spotrebiča | - Spotrebič je prispopso-bený do prace v teplote, ktorá je uvedená v tablke s technickou špecifikaciou spotrebiča. | |
| Spotrebič stojí na naslnoč-nenom miesto lebo blízkopo tepelnych zdrojov | - zmenić miesto ustavenia spotrebiča podla námodu na obsluhu | |
| Jednorázové naplenie veßkým množstvom teplych výrobkov | - počkać asi 72 hodín na vychladnutie (zmrazenie) výrobkov a dosiahnutie Žiadnej teploty vnúterného priestoru | |
| Spotrebič príliš málo chladá a/nebo mrazí | Stážená cirkulácia vzduchu vo vnútri priestoru | - uložit potravinové výrob-ky a nádoby tak, aby sa nedotykali zadnej steny chladničky |
| Stážená cirkulácia vzduchu zo zadnej strany spotrebiča | - odsunút spotrebič od ste-ny min. 30 mm | |
| Dvere chladničky/mrazničky su príliš Často otvárané a/lebo ostávajú dlho otvorené | - obmedzić frekvenciú otvá-rania dverí a/lebo skrátić dobu, po akú dvere OSTÁVA-jú otvorené | |
| Dvere sa nedotvárajú | - výrobyká a nádoby uložit tak, aby nestážovali zatvá-ranie dverí | |
| Kompresor sa zriedka zapína | - zkontrolujte, Či teplota okolitého prostredia nie je menšia akо rozsah klimatic-kej triedy. | |
| Zle vloženie tesnenia dverí | - zatlácít tesnenie |
Počas normalného používania chladiaceho zariadenia možu vystupovat rozne zvuky, ktoré nemajú ziaden vplyv na bezchybnú prácu chladnicky.
Zvuky, ktoré sa l'ahko odstrańuju:
- hluk, ked' chladnička nestoji zvisle- usmernite nastavenia pomocou nastavitel'nych nožičiek spredu. Mõzete takisto podložit pod rolky zo-zadu mäkku látku, najma ak dlázka je vykonana z podlahovych dlázdic
- lotiera sa o susedný nábytok - presuǐte chladničku.
- Iskripanie zasuviek'alebo policiék - vytiahnite a opatovne vložte zasuvku alebo poličku.
Izvuky spôsobéne dotykajucimi sa făšami - odsuţe flăse od seba.
Zvuky, ktoré možu byt počute'lné počas správnéj exploatacie vyplývajú z práce termostatu, kompresora (pripojenie), chladiacej sustavy (scvrkávanie a rozširovanie materiálu vplyvom teplotnych rozdielov, ako aj prietoku chladiaceho médium).
ZÁRUKA, POPREDAJNY SERVIS
Záruka
Záruka sa poskytuje podla podmjenok uvedenych v záručnom liste. Vyrobca neodpoveda za akékolvek skody sposobene nespravnym zaobchodzanim a použivanim vyrobku.
Servis
- Vyrobca zarjadenia odporuca, aby vsetky opravy a nastavovania vyrobku vzdy vykonaval tovarensky servis alebo autorizovany servis vyrobcu. Z bezpecnostnychd dovodov neopravujte spotrebic svojpo-mocnym sposobom.
- Opravy vykonávané osobami, ktoré nemajú pozadované kyalifikacie, moze predstavovat vázne nebezpecenstvo pre pouzivatel'zariadenia.
- Minimăna lehota platnosti, záruky na, zariadenie ponúkané výrob-com, dovozcom alebo opravnenym zastupcom, je uvedena V záruc-nom lista.
- Zaruka na zariadenie prestava platit v dosledku vykonania adap-tace, prerobenia zariadenia, poskodenia plomb alebo inych ochran a zabepezeci nariadenia alebo jeho casti alebo v dosledku inych nepovolenych zaahov do zariadenia, vykonanych v Rozpore z pouzivatelskou priruckou.
Nahlásenie opravy a pomoc v prípade poruchy
Ak je potrebné zariadenie opravit, obratte sa na autorizovany servis. Kontaktné udajé servisu, vratane.kontaktného Telefonneho cisla, su uvedene y zarucnom liste. Pred tym, ako sa obratite na servis, pripravte serioye cislo zarjadenia, ktoré je uvedene na vyrobnom stitku. Na ulahcenie ho prepiste tu:

Vyhlásenie výrobuču
Vyrobca tymto vyhlasuje, ze vyrobok splina doležite poziadavky nasledujúcich europskych smernić:
- smernica pre nízke napătie 2014/35/EC
- smernica elektromagnetickej kompatibility 2014/30/EC
- smernica ErP - 2009/125/EC
smernica RoHS 2011/65/EC
a preto vyrobok ziskal označenie C€ a bolo pren vydané Vyhlásenie o zhode, a toto vyhlásenie bolo sprístupné organom obchodnej inspekcie.
JednoduchýManuál