FZ133.4 - Mrazák AMICA - Bezplatný návod k obsluze
Najděte návod k zařízení zdarma FZ133.4 AMICA ve formátu PDF.
Stáhněte si návod pro váš Mrazák ve formátu PDF zdarma! Najděte svůj návod FZ133.4 - AMICA a vezměte svůj elektronický přístroj zpět do rukou. Na této stránce jsou zveřejněny všechny dokumenty potřebné k používání vašeho zařízení. FZ133.4 značky AMICA.
NÁVOD K OBSLUZE FZ133.4 AMICA
Aby odszronić komoře zamražarki, naležy**
poćinaje dnesním dnem jsou každodenní povinnosti\ jednoduší než kdykoli jindy. Zařizení Amica je spoje- ním výjimečné snadné obshluhy a vynikající efektivity. Po prěctení námodu nebudete mít problém s obšlu- hou.
Zařazení, které opustilo továnu, bylo důkladné zkontrolováno prěd zabalením z hlediska bezpečnosti a funkčnosti na kontrolnéch stanovišťich.
Před uvedením zařizení do provozu si pozorně prěčěte námod k obsluze. DodržovánlémPokynů uvedených v námodu prědejdete nesprávnému používání. Námod si ponechejte a uschovejte tak, abyste jej měli vždy pri ruce.
Dodržujte prěsne námod k obsluze, abyste zabránili nešťastným událostem.
Suctou
Amica
POKYN TYKAJICI SE BEZ-PEČNOSTI POUŽIVÁNÍ
- Prístroi je určen vyhradné pro domáci použití.
- Vyrobce si vyhrazuje możnost provaděné zmenneovlivnujćích fungovány spotbrebie.
- Některé z⁺apiśy v tōmto námovodu jsou sjednocné pro chladici spotřebiće rūznych typů, (pro chladničky, chladničky/mrazničky anebo mrazničky. Informace na tema druhu Vašeho spotřebiće se nacházi v Technickém listu prípojenému k vyrobuku.
- Wyrobce nense odpovědnost za škody vzníklénedodržováním zásad obsaženych v toto navodu.
- Prosime o uschování tohoto návodu za účelem jeho využití v budoucnu nebo prédání eventuál-nímu dalsímu uživateli.
- Tento spotbrebič není určen k používání osobami (včetné detí) s omezenou schopností fyzickou, citovou nebo psychickou a také osobami, které jsou nezkušene a neznalé spotbrebiče, ledaže to probílá pod dohledem nebo podle námodu k obšluze spotbrebiče, poskytnuteho osobami opdová dajícímì za jejich bezpečnost.
- Je t'reba věnovat zviastní pozornost tomu, aby spotřebic nepoužívaly déti ponechané bez dohledu. Je t'reba jim zakázat hrát si se spotřebiecem. Neni jim dovoleno sedat si na výsvuné současti a zavěsovat se na dveře.
- Chladnicka-mraznička funguje správně v okolníteplote, která je uvedená v tabulce s technickou specifikác. Nepoužívejte ji ve skepě, sini, a v neohřivané chatě na podzim i v zime.
-
Během umístováni, présouvání, zvedáné se némá chytat za madla dverí, tahat za odpařovác kondenzátor na zadné straně chladnicý a také dotýkat komprésovoré Jednotky.
-
Chladnička s mraznickou se némá naklanět v uhlu nad 40^ od středové osy během prepravy, prěnašeni nebo umistovány. Pokud vznikla taková situace, spotřebic se muže zapnout po uplynuti minimálne 2 hodin od jeho umistěné (obr. 2).
- Pred každou udržbovou Činností je třeba vyтát-nout zăstrčku ze sitové zásuvky. Nemá se tahat za kabel, ale chytat za kostru zăstrčky.
Slyšitelné zvuký jako bublání nebo praskány jsou zpúsobeny roztahovánam a smrstovánam současti v dusledku teplotnich zmen.
S ohledem na bezpečnost se spotřebic něma opravovat svépomoci. Opravy provaděné osobami, které nemají požadované kvalifikace, mohou vytvorit vázné nebezpečí pro uživatele spotřebie
V pripadé poškození chladiciho okruhu je třeba na několik minut vyvětrat mistrnost, ve které se nacházi spotřebic (tato mistrnost musí mit alespon 4m³; pro spotřebic s izobutanem /R600a). - Vyrobky, i když Jen castečné rozmrazené, nělze znovu zmrazovat.
- Nápoje v lahvích a plechovkách, zejměna nápoje sycné oxidem uhlicitým, se nemají uchovávat v mrazićim prostoru mraznicky. Plechovky a lahve mohou popraskat.
- Nemají se dávat do úst zmrazené vyrobky ihned po vyjmutí z mraznicky (zmrzliny, Kostenky ledu, atp.), jejich nízká teplota muže zpusobit bolesti-ves omrzliny.
- Je třeba dávat pozor, aby nedoslo k poškození chladiciho okruhu, např. napíchnutí kanálků kondenzátu na výparníku, zalomení trubek. Vstřikované chladici médium je hořlavé. V pripadě vniknutí do očí je třeba vypláchnout jevodou a ihned privolat lékáře.
-
jestlije bude napajeci vodič poškozený, musí byt vyměnený v specializovaném opravářském podniku.
-
Spotbrebič slouží k prechovávání potravin, nepoužívejte ho k jiným cílům.
-
Spotrebić uplne odpojte od napajeni (vytahnutim zastrčky ze sitové zasuvky) v pripadě provaděné takovych cinností, jakymi jsou Čištěné, udržba anebo změna mista ustavení
To zarizeni muze byt pouzivané detmi ve veku 8 let a starimi, osoby s omezenymi fyzickymi anebo mentalnimi schopnostmi, jak rovnéz osoby bez zkušenosti a bez znalosti zarizení mohou konvici použivat,Pokud jsou dozorované anebo byly instruovane ohledné obshluhy zarizení bezpečným zpʊsobem a znaj ohrození spojené s použivanj m zarizení. Děti si nemohou se zarizení hrát. Cištěni a konzervace zarizení nemuže byt vykonávaná detmi, ledaže skoncily 8 let a mají dohled zodpovedné osoby.
- Pro ziskányVICE mista v'mraznicce, je besoinézní vyjmout zásuvky a umistovat produkty bezprostředné na policích. Neovlivnuje to termickou a mechanickou charakteristiku vyrobku. Určeny obsah mraznicky byl hypocitán y's vyjmutymi zásuvkami.

VÍSTRAHA: Nebezpečí požáru / hořlavé materiały
- Děti ve věku od 3 do 8 let mohou vkládat a vykládat produkty s chladíclo zařizení.
Aby nedošlo ke kontaminaci potravin je nutné doržovat následujíci pravidla:
- Otevirani dveri na dels i dobu, muze zpusobit značné zvyšeni teploty v prostorach zařizení.
- Pravidelne Čišění povrchů, které pricházeji do styku s potravinami a v závislosti na pritomnosti dostupné odvodnovaci instalace.
- Uchovávat syrovie maso a ryby ve vchodnych ná-dobách v lednici, aby nepříšly do styku s ostatni-
mi potravinami a nekapalo z nich na jiné potraviny.
Dvouhvezdickové prostostory mraznicky slouží k uchovávani dřive zmrazenych potravin, prechovávani nebo mraženi zmrzliny anebo mraženi kostek ledu.
- Jednohvezdickové, dvouhvezdickové a trihvezdickové prostory, neslouží k mraženi Čerstvych potravin.
| Druhy prostoru | Koncová teplo-ta uchovávány [°C] | Vhodné potraviny | |
| 1 | Chladnička | +2≤+8 | Vajíčka, vařené potraviny, zabalné potraviny, ovoce a zelenina, mléčné výrobky, moučníký, nápoje a jiné produktу, které nejsou vchodné k mraženi. |
| 2 | Mraznička | ≤-18 | Mořské plody (ryby, krevety, měkkýěse), sladko-vodní produktу a masné výrobky (doporučeno 3 měsíce, Čím delší doba uskladněné, tím méně chutné výživné bude produkt), vchodné na mraženi Čerstné produktу. |
| 3 | Mraznička | ≤-18 | Mořské plody (ryby, krevety, měkkýěse), sladko-vodní produktу a masné výrobky (doporučeno 3 měsíce, Čím delší doba uskladněné, tím méně chutné výživné bude produkt), nevchodné na mraženi Čerstné produktу. |
| 4 | Mraznička | ≤-12 | Mořské plody (ryby, krevety, měkkýěse), sladko-vodní produktу a masné výrobky (doporučeno 2 měsíce, Čím delší doba uskladněné, tím méně chutné výživné bude produkt), nevchodné na mraženi Čerstné produktу. |
| 5 | Mraznička | ≤-6 | Mořské plody (ryby, krevety, měkkýěse), sladko-vodní produktу a masné výrobky (doporučeno 1 měsíce, Čím delší doba uskladněné, tím méně chutné výživné bude produkt), nevchodné na mraženi Čerstné produktу. |
| 6 | Bezhvěždičkový prostor | -6≤0 | Čerstné vpřové maso, hovězímaso, ryby, kuřecí maso, některé balné zpracované produktу, atd. (doporučné spotřeba, ve stejný den, nejlé-penejpozději do maximálné 3 dnů). Cástěčné balné a zpracované produktу (produkty, které nejsou vchodné k mraženi) |
| 7 | Chladécí prostor | 2≤+3 | Čerstve/mražené vepřové maso, hoveží maso, kuřecí maso, sladkovodní produktу, atd. (7 dnů pod 0°C, nad 0°C doporučena je spotřeba toho samého dne, nejlépe maximálné v průběhu 2 dnů). Mořské plody (pod 0°C po dobu 15 dní, ne-doporůcůje se uchovávání v teplůtě nad 0°C) |
| 8 | Prostor k ucho-vávní Čers-tvych potravin | 0≤+4 | Čerstve vepřové maso, hoveží maso, ryby, kuřecí maso, vařené produktу, atd. (doporučéná spotřeba, ve stejný den, nejlépenejpozději do maximálné 3 dnů). |
| 9 | Prostor k ucho-vávní vina | +5≤+20 | Červné, bílé, perlivé vino atd. |
- Upozorněni: je nutné uchovávat produkty shodné s doporučením pro prostory, nebo dle teploty uchovávány produktů.
- Pokud chladíczařizení nebude vyuzívánoa bude prázdné po delsí dobu, je nutno ho vypnout, rozmrazit, umyt, vysusit a ponechat s otevřenými dvermi, aby predejít plísním uvnitř zařizení.
- Cistěni dávkovace vody (pro produkty s dávkovacem vody): Vycistit nádoby na vodu pokud nebyly používany prěs 48 hodin;Pokud voda nebyla vypustěna prěs 5 dní, oplachnout vodní instalace pripojenou k vodovodní siti.
- Minimálni odobí, v němž jsou dostupné nahradní díly potřebné na opravu spotřebieče, Čini 7 nebo 10 let podle druhu a určeni nahradniho dílu a je v souladu s Nařízením komise (EU) 2019/2019.
- Seznam náhradnich dílù a procedura objednévání jsou k dispozici na webovych strankách vyrobce, dovozce nebo oprávněného zastupce.
Dalsi informace o vyrobku se nachazejí v unijní databázi vyrobků EPREL na adrese https://eprel.ec.europa.eu. Informace lze ziskat nactením QR kódu z energetického štítku nebo zadáním modelu vyrobku z energetického štítku do vyhledávače EPREL https://eprel.ec.europa.eu/
INSTALLACE A PROVOZNI PODMÍNKY SPOTřEBICE
Toto chladici zaízení není urçeno k provozu jako vestavné.
Instalace préd prvním spuštěním
Vyrobek je tbreba rozbalit, odstranit lepi ci pasky zajišćujić dveře a vybaveni. Eventuálni zbytky lepidla je možno odstranit jemným Čisticím prostředkem.
- Polystyrenové Časti obalu se nemají vyhazovat. V nutném pripadě opetovného prevozu je třeba chladnicku s mrazničkou zabalit do Častípolystyrenu a fólie a také zajistit lepici paskou.
Vnitrn prostor spotrebice a take soucasti vyaveni je treba vymyt vlaznou.vodou s pridavkem.
- Chladnicku s mraznickou je tbreba umistit na rovny, vodorovny a stabilni podklad, doSuché, yetrane mistrosti, kde nesviti slunce, v po-vzdali od tepelnych zdroju takovych jako kuchyn, radiator ustredniho topení, trubka ustredniho topení, rozvod teple vody atp.
- Na vnejsim povrchu vyrobku se'muze nachazet ochrahná folie, kterou je zapotrebie odstranit.
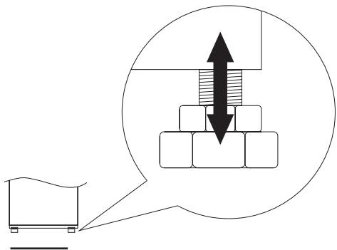
Vodorovne ustaveni spotrebice je treba upravit zašroubováním 2 na-stavitelnych prednich nožek (obr. 3)
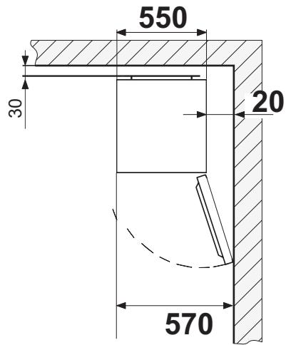
- Pro zabezpeceni svobodného otevirání dvirek, je vzdálenost mezi bočné stranou vyrobku (ze strany zavésu dvirek), a stěnou místnosti prydastavena na vykresu obr. 5.
- Je t'reba se postarat o vhodnou ventilaci mîstnosti a dostatečnou cirkulaci vzduchu v prostoru okolo spotrebice (obr. 6).
Minimálni vzdálenosti od tepelnych zdrojú
- od elektrickych, plynovych sporaku a jin'ych - 30 mm,
- od plynovych nebo' uheinych kotlu - 300'mm,
od vestavenych trub - 50mm
Pokud není możné dodrženi vyše stanovenych vzdálenosti, je třeba použit vchodnou izolačné desku.
Pozor:
- Zadni stěna chladnicky a zejměna kondenzátor a jiné současti chladíciho oběhu se nemohou dotykat jinych současti, které mohou zpusobit poškození, zvlastě (s trubkou CO a privádejíci vodu).
- Neni pripustna jakakoliv manipulace se soucăstmi agregató. Je treba venovat mimoradnou pozornost tomu, aby nedoslo k poskození kapilární trubky, ktera je viditelnav kompresorovem prostoru. Tato trabka nemuze byt ohybana, narovnávana ani kroucenia.
- Poškozeni kapilární trubky uzivatelem zpúsobuje ztratu nároku vyplývajících ze záruky (obl. 8).
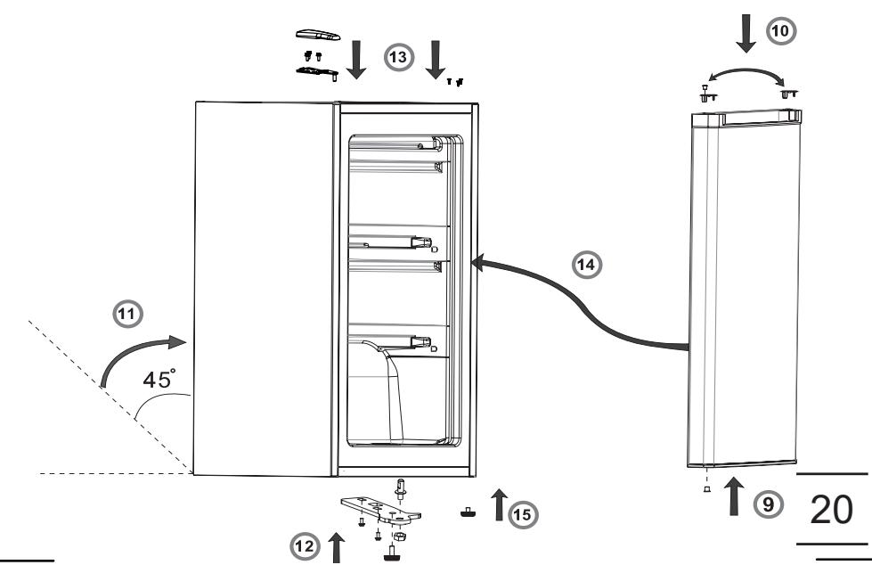
Ve vybranjych modelech se uchyt dvirek nachazv uvnitv yrobku a je nutne ho prisroubovat vlastnim sroubovakem.
Připojeni napájení
- Před pripojením se doporučuje nastavit otáčecí kolečko regulátoru teploty do polohy „OFF" anebo jiné, zpúsobujíci odpojení spotřebačé od napájení (viz strana s popisem ovladání).
- Spotrebic je tbreba pripojit k'siti stridaveho proudu 220-240V/ 50Hz-spravne zapojenou elektrickou zasuvkou s uzemnémim a jisténou 10 A pojistkou.
- Uzemněni spotřebiece je vyžadováno právními predepisy. Vyrobce se zříka jakékoliv odpovednosti z titulu eventuálnéch skod, které mohou utrpět osoby nebo predměty v dusledku nesplnéni povinností stanověnych timto predepisem.
- Nesmi se používat spojovaci clánky, několikanásobné zásvky (rozvádeče), dvoužilové prodlužovaci kabely. Pokud je nutné použiti prodlužovaciho kabelu, muze to byt pouze prodlužovaci kabel s ochranným kolíkem, jednozásvukový, který ma bezpečnostní atest VDE/GS.
- Pokud bude použit prodlužováci kabel (s ochranným kolíkem, ktery ma bezpečnostní znacku), pak jeho zašuvka musí byt umistěna v bezpećné vzdálenosti od drežu a nemuže byt vystavena na zaliti vodou a ruznými opady.
- Udaje jsou uvedene na vykonovem stitku umisteném dole na vnitrnji stene chladicho prostoru chladnicky**.
Odojeni od napajeni
Je treba zajistit moznost odpojeni spotrebiče od elektrické sîte vytažením zástrčky nebo vypnutim dvojpólového vypínače (obr. 9).
KLIMATICKÁ TRÍDA
Informace o klimatické tride spotbreicse nacházá na vykonovém stitku. Stitek stanovi, pri jak okolni teplotě(tj. mistrnosti, ve které pracujé) spotbreic funguje optimálne (správně).
Klimatickátrída:
Připustné okolníteplota
| SN | subnormálné | Chladić zařízení je určENO k provozu v teplotě okolí v rozsahu 10 °C až 32 °C |
| N | normálné | Chladić zařízení je určENO k provozu v teplotě okolí v rozsahu 16 °C až 32 °C |
| ST | subtropická | Chladić zařízení je určENO k provozu v teplotě okolí v rozsahu 16 °C až 38 °C |
| T | tropická | Chladić zařízení je určENO k provozu v teplotě okolí v rozsahu 16 °C až 43 °C |
VYBALENÍ

Zařizení bylo po dobu prepravy za-bezpečeno proti poskození. Po vybaleni zařizení odstrańte Časti obalu zpúsobem, ktery neohrožujuživotné prostředí.
Vsechny materiały použité na obal jsou stoprocentné neškodné, pro Ži-
votní prostředí a jsou vhodné pro zpětné ziskání a byly označeny príslušnám symbolem.
Upozorněni! Obalové materiały (polyetylenové sáčky, pěnový polystyren apod.) nenechávejte pri vybalování v dosahu děti.
LIKVIDACE OPOTřEBOVANYCH ZARÍZENÍ


Toto zařízení je označeno v souladu s evropskou směrnici 2012/19/ES. Tákové označeni znamená, ze toto zařízení se po ukončeniživotnosti nesmí vyhazovat společné s jiným domácinim opypadem.
Príslušné nakladání s použitými elektrickými a elektronickými zařizeními zabrañuje negativním následkům pro lidské zdraví aživotní prostředí, vznikajćím z prítomnosti nebezpečněch složek a nasprávněho skladoványá zužitkoványí takovych zařizení.
OVLÁDÁNÍ
Ovladání zařízení
Ovladaci panel je znázorněn na obrázku 10, pro pripomenuti se nachází také níze:

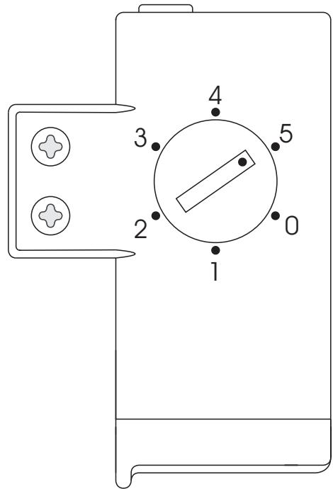
Termostat
Regulace teploty uvnitř zařízení
Změna nastavení otočného regulátoru změné teplotu v zařizení:
Poloha OFF/ 0 / MIN Zařízení vypnuto
Položka 1 V zařízení prěvládá nevyšší teplota (uvnitř je tepleji)
Položka 2-4 V zařizení prěvládá prùměrná teplota
Položka 5 / MAX V zařizení prevládá nejnižsí teplota (uvnitr je chladnéji)
Upozornění:
- Knoflik termostatu na yašem zařizení může být nastaven jinak než v tomto popisu. Obecný princip jeho fungovány je popsan vyše.
- Pokud nà knogfiku vaseho zarizeni chybi poloha oznacena jako „OFF" nebo „0“, muzete zarizeni uplné yypnout vytazením napajeciho kabelu ze zásuvky. Pred odpojením nestavte nejnižsí hodnotu na termostatu.
Dalsí informace o teplatě
- Teplotu uvnitr zaření ovlivnuje mnoho faktoru. Nastavení knoflíku závisi mimo jiné na okolní teplatě, intenzité slunečniho zárení, Čet-nosti otevirání dvirek zaření, množstyí potravin. Nastavení knoflíku do středné polohy je ve většné pripadú nejoptimálnejsí.
- Prostory se nemajn naplnovat prd'jejich ochlazenim (min. po 4 hod.) provozu spotrebice.
Z duyodu zmény rocniho obdobi se nema menit nastaveni teploty. Zvyşeni teploty okoli bude zjisteno cidlem a kompresor bude automatickny uyeden do provozu po delsi casové obdobi za ucelem udrzeni nastavené teploty ve vnitrnim prostoru. - Nevelké změny teploty jsou normánlím jevem a mohou se vyskyto-vat napriklad běehem uchovávi yelkého množstvi Čerstvych vyrobku v chladnicce anebo když dveře zústaly otevrené po delsí dobu. Toto nebude mit vliv na potravinárské vyrobky a teplota se rychle vrát na uroven nastaveni.
OBSLUHA A FUNKCE
Uchovávání potravin v chladnicce a mraznicce
- Vyrobky je třeba vkladat na talírcích, v nádobách nebo zabalné do albalu.
Rovnoměrně Rozložit na plochách polic. - Je t'reba si všimnout, zda se potraviny nedotýkaji zadni stěny,Pokud ano, tehdy to muže zpusobit usazení namrazy nebo navlhnuti potravin.
- Do chladnicky se nemají vkládat nádoby s horkým obsahem.
Potraviny snadno prijimajci cizi pachy, takoye jako maslo, mléko, tvaroh a také takoyé, které mají intenszivni vuni napr. ryby, uzeniny, sýry - je třeba ukladat na police zabalné do fólie nebo v hermeticky uzavrenych nadobach. - Uchovávní zeleniny obsahujíci velké množstvý vody zpúsobuje osa-zovány vodni páry nad nadobami na zeleninu; toto nevadi správnému fungováni chladnicky.
- Přežením zeleníny do chladnicaky je třeba ji dobre osušit.
- Prilisna vlhkost zkracuje dobu uchovavani zeleniny, zejmena listnaté.
Zeleninu je t'reba uchovavat nemytou. Myti odstrańuje prirozenou ochranu a proto je lepe umyt zeleninu tsesne pred pozitim. -
Doporucjé se vkladani vyrobku do prirozene hranice naplneni (obr. 11a / 11b).**
-
Baléné vyrobky
- Policka
-
Přirozená hranice naplněné
4.*** -
Připoustí se ukládání vyrobků na dratěných policích mrazničky.*
- Připoustí se vysunuti vyrobku na polić o 20-30 mm od prirozené hranice naplnéni.**
- Pro zvyšeni naplžovacího prostoru a uloženi produktu v komоře na大纲 do maximalí vyšky je možné odstranit dolní kos.*
Zmrazováni vyrobku**
Zmrazovat je możno prakticky vsechny potravinárské vyrobky s yvjimkou zeleniny konzumovane v syrovém stavu, napr. zelený salát...
Ke zmrazovani se pouzivaji pouze potravinajske vyrobky nejvyssi kvality, rozdelen na porce urcen pro jegnorazovou spotrebu.
- Produkt je nutné balit do materiajúbez zapachu, odolne vuči vnikani vzduchu a vlhkosti a nereagujíci na tuky. Nejlepsimi materialy jsou: sácky nebo archy z polyetylenové a hlinikové folie.
- Obal'musi byt teshny a teshne priléhat k zmrazenym vyrobkum. Nepouzivejte sklenene nadoby.
- Cerstve a teplé potravinárské vyrobky (pri okolni teplotě) vložné za učelem zmrazení se nemají dotykat jiz zmrazenych potravin.
- Doporučuje se, aby se běhém 24 hodin do mrazničky nevkládalo na-jednou vice Čerstvých potravin, než je uvedeno v tabulce.
Pro zachovani这样做y kvalityzmrazovanych vrobku se doporučuje preskupitzmrazené vrobkny nacházejici se ve stredni casti mraznic
ky tak, aby se nedotykaly vyrobkù, které jestě nejsouzmrazené.
- Doporucjeme zmrazene porce presunout na jegnu stranu mraziciho prostoru a cerstve porce ke zmrazeni ulozit na opacne strane a maximalne prisunout k zadni a bočni stěne.
- Do zmražovani vyrobku použiveje prostoru, ktery je označen * * *
- Je treba pamatovat, ze na teplofu mraziciho prostoru mraznicky mají vliv mimo jine: okolni teplota, stupen naplneni potravinárskymi vyrobky, cetnost otevirani dveři, tloustka namrazy v mraznicce, nataveni termostatu.
Kdyby po zavreni dveri mraziciho prostoru mraznicky necly dvere ihned zpet otevrit, doporuucjeme pockat 1 až 2 minuty, až bude vznikly podtlak vyrovnan.
Doba uchovávání zmrazenych výrobků je závislá na jejich kvalite v Čerstvém stavu prěd zmrazení m a také na teplotě uchovávání. Při zachování teploty -18°C nebo nizsí jsou doporučeny nasledujíci doby uchovávání:
| Výrobky | Měsíce |
| Hovězí | 6-8 |
| Telecí | 3-6 |
| Drůbky | 1-2 |
| Vepřové | 3-6 |
| Drůbež | 6-8 |
| Vejce | 3-6 |
| Ryby | 3-6 |
| Zelenina | 10-12 |
| Ovoce | 10-12 |
Komora rychlého chlazení neslouží k prechovávní chlazenýchPokrmu. V teto komóře je možné vyrábět a prechovávat kostky ledu.
Upozorněni; Něma-li zařízení mrazić prostor , znamné to, ze něni vchodné ke zmrazovány potravin.
JAK EKONOMICKY POUZIVAT CHLADNIČU
Praktické porady
Neumistujte chladncku ani mraznicku,pobliz ohiva,c, sporak uanebo je nevystavujte na bezprostredn pusoben slunechnich paprsku.
- Presvedcte se, ze ventilacni otvory nejsou zakryte. Jednou anebodvakrát rocné z nich odstraţe prac h a ocistete je.
Zvolte prislusnou teplotu: teplota 6 až 8°C v chladnicce jak rovné -18°C v mraznicce je postacujici
- Pri yyjezdu na dovolenou, nalezi zvysit teplotu v chladnicce.
Dvirka chladnicky, anebo mraznicky otevirejte pouze tehdy,Pokud to je nutne.Je dobre mit informace, jake potraviny jsou prechovavané v chladnicce a kde presne se nachazeji. Nespotrebované potraviny je zapotrebi co nejrycheleji schovat zpataky do chladnicky anebo mraznicky, dokud se nezahreji.
- Pravidelné vytírejte vnitrek chladnicky hadríkem navlhčeným jemnám detergentem. Spotřebic bez funkce automatickeho rozmrazováni, pravidelné rozmrazujte. Nedovolte vytvořeni se vrstvy jinovatky hrubsi jak 10 mm.
Tesneni kolem dvirek udrzujte v cistote, v opacnem pripadse dvirka nebudou uplné zavirat. Poškozené tsesni musite vzdy vymenit.
Co znamenají hvězdický?

Teplota neprekracujici-6°C postači pro prechovávánzzmrazenych potravin prblizne jeder tyden. Zasuvky anebo komory oznacene jegnou hvezdickou jsou (nejcastéji) v lacinéjsich chladnickách.

V teplote nizsnez -12oC je mozné prechovavat potraviny v case 1-2 tydnu bez ztraty chutovych vastnosti. Neni postacujici pro zmrazovani potravin.

Hlavne používané do zmrazováni potravin v teplotě nižsí než -18°C. Umožnuje zmrazení Čerstvych potravin hmot-nosti do 1 kg.

Tak označený spotřebrić umožnjuje prechoyávání potravin v teplote nizsí než -18°C a zmrazovány větsího množstvi po-travin.
Zony v chladnicce
S ohledem na prirozenou cirkulaci vzduchu, se v komoře chladnicky nacházejí ruzné teplotní zony:
Nejchladnejs prostor se nachazi bezprostredne nad zauvkami se zeleninou. V toto prostoru prechovaveje choulostive a snadno kazici se produkty jak:
- ryby, maso, drubez,
- uzeniny, uvarne pokrmy,
-Pokrmy'anebo upecene produkty obsahujici vejce anebo smetanu, - cerstve zakusky, smesi zakusku,
- balenou zeleninu a jiné Čerstve potraviny s etiketou príkazujíci prechovávní v teplotě cca 4°C.
- Nejtepleji je v horní Časti dvířek. Zde se nejlépe prechovávají sýry a maslo.
Produkty, které by neměly být prěchovávané v chladničce
- Ne všechny produkty jsou vhodné do přechovávání v chladničce. Pa-trí k nim:
- ovoce a zelenina citliva vuci nizkym teplotám, jako na priklad banány avokádo, papája, marakuja, baklažány, rajcata a okurky,
- nezralé ovôce,
- brambory
Pozor:
Příklad Rozmistrovní produktu v spotřebici (Obr. 12).
Aby se dosáhlo co nejlepsí konzervace potravin po co nejdelí dobu a predešlo se tak plýtvani jimi, je třeba rozmístit potraviny tak, jak je ukázano na obr. c. 12. Tento obrázek navíc ukazuje usporadání zăsuvek, kosiku a policek, které chladicímu zarizeni dovoluje vyuzít energii co nejučinněji.
Uchovávání potravin ve vhodních podmínkách a teplotě prodlouží jejich trvanliyost a optimalizuje se tak i spotřeba elektrické energia. Rozsah vhodních teplot by se měl nacházet na obalech nebo štítcích potravin.
ODMRAZOVÁNÍ, MYTÍ A UDRŽBA
K Čištěnéplaste a umělohmotných cástí vyrobků nikdy nepoužíveje roz-poustédel, jak rovně ostruch, brusnych cistićích pripravků (napr. práskú anebo cistćích past)! Používeje pouze tekute jemné mycí prostředky, jak rovně zh mékké hadříky. Nepoužíveje houbický.
Odmrazováni chladnicky***
- Na zadní straně chladnicý vzníká námraza, která je odstrańována automaticicky. Během odmrazováni se mohou spolu s kondenzátem do otvoru Žlábku dostavat necistoty. Toto muže zpúsobit upcāní otvoru. V takovém prípadě je třeba otvor lehce protlačit cisticem trubek (obr. 13)
- Spotbrebić pracuje cyklicky: chladí (tehdy se na zadné stěné tvoří namraza), následovné se odmrazuje (kondenzát stěká po zadné stěné).
- Pred započetím Čišěné je třeba bezpodmínečné odpojit spotřebrić od napájení vytažením zástrčky, ze sitové zásuvky, vypnutím nebo vyšroubováním pojistky. Je nepřipustné, aby se voda dostala do rídicího panelu nebo osyétlení.
K rozmrazováni nedoporučujeme používat prostředky ve spreji. Mohou zpúsobit vznik vybusněch směsi, obsahovat redidla, ktera mohou poskodit plastove Časti spotřebiece a dokonce byt nebezpečné pro zdravi. - Je t'reba d'avat pozor, aby voda používaná k mytiPokud možno nestekala odtokovym otvorem do odpařovaci misky.
- Celý spotřebic's výjímkou těsněni dverí je třeba myt jemnám Čisticím prostředkem. Těsněni ve dverích je třeba vyčistit cistou vodou a vytrit dosucha.
- Je t'reba dukladne umyt.vsechny soucásti vybavy (nádoby na zeleninu, dverné regály, skleněné police atd.).
Odmrazování mraznicky**
- Odmrazováni mraziciho prostoru se doporučuje spojit s mytím spo-trebice.
- Větsí nahromaděné ledu na mrazićích plochách ztežuje provozní učin-nost spotřebiece a zpúsobujé větsí spotřebu elektrické energia.
- Doporucujeme odmrazovat spotrebic alespon jederkrát nebo dvakrát za rok.
- Pokud se uvnitr nacházeji vyrobky, je třeba nastavit otočné knofík do polohy max. asi 4 hodiny pred planovanym rozmrazenim. Toto zajasti moznost uchovávani vyrobku pri okolníteploté po delí dobu.
- Po vyjmutí potravin z'mraznicky je t'reba'je vložit do misky, zabalit do nekolika vrstv novinového papiru, zavinout do deky a uchovávat na chladném mistě.
- Rozmrazovani mraznicky ma byt provedenoPokud mozno rychle. Delsi uchovavani vyrobku pri okolni teplote zkracuje dobu jejich pouzitelnosti.
Pro odmrazení mrazićho prostoru mrazničky je třeba**
Nastavit otočné knofík termostatu do polohy "OFF" / „0“, vytáhnout zástrčku ze zásuvky.
Otevrit dyere, vyjmout vyrobky.
Asi za pul hodiny je možno z'hladkých povrchu sten odstranit vrstvu ledu, vody.
Umyt a vysusit vnitrek mraznicky.
Automaticé odmrazování cladnicky****
Chladić prostor chladnick byl vybaven funkci automatickéhg odmrazováni. Presto na zadni stné chladiciho prostoru chladnick y muze vznikat namraza. Převažně se takto deje, kdyz se y chladicim prostoru uchová mnoho Čerstvych potravinárskych vyrobku.
Automaticé odmrazování mrazničky****
Mrazić prostor mraznicy byl vybaven funkci automatického odmrazováni (no-frost). Potraviny jsouzmrazovány chladćim systémem oběhoveho, vzduchu a vlhkost z mrazić komory mraznicky je odvadena vne. Ve yysledku v mraznicce nevznika zbytečná namraza a vyrobyk k sobe nepřimrzaji.
Ručné mytí mrazićho prostoru chladnicý a mraznicý\*\*\*\*
Prostor.chladnicky a mraznicky se doporučuje
umyt prinejmensim, Jednou za rok. Toto zabrauje vzniku bakterii a neprijemnych zapachu. Cely spotrebic je trena vypnout tlacitkem (1), vyjmout vyrobky a prostory umyt vodou s pridavkem jemného cisticího prostředku. Nakonec prostory vytrit hadrikem.
Vytahováni a vkladání polic ***
Vysunout polici a potom vtlačit na doraz tak, aby západka police zaskocíla do vyřezu vodíci listy (obr. 15).
Vytahování a vkladání dveřného regálu ***
Nadzvednout regál, vytáhnout a nasadit shora zpět do požadované po-lohy (obr. 16).
V Žádném prípadě se nesmí dávat do vnitřku mrazničky elektrický, foukaci ohrivac ani fén na vlasy.
** Týká se spotřebiců majících komoru mrazení ***
Netyka se spotbrebiču s beznámrazovým systémem
Týká se spotřebiečů majících komoru chladničky.
Netyka se spotbrebiču s beznámrazovým systémem
Týká se spotřebríčů vyaveněch beznámrazovém systémem
*** Netyká se mraznicek
URČOVÁNÍ ZÁVAD
| Problém | Možné príčiny | Možnářešné |
| Spotřebič nefunguje | Přerušený obvod elektrické instalace | - zkontrolovat, zda je zástrčka správně - zjistit, zda není poškozen napájecí kabel spotřebiče - zjistit, zda je v zásuvce napětí - prípojit jiný spořtebičnapr. stolní lampičku - zjistit, zda je spotřebičzapnutý - nastavit termostat do polohy vysshí než „OFF". |
| Nefunguje osvětlení vnitřného prostoru | Žárovka není dotažená nebo je spálená(Ve spotře-bičích se Žárovkou). | - zkontrolovat prědchozí bod "Spotřebič nefunguje" - dotáhnout nebo vyměnit spálenou Žárovku (Ve spořtebičích se Žárovkou). |
| Nepřetržitý provoz spotře-biče | Nesprávné nestavení otočného knoflíku | - pretočit otočné knoflík do nizší polohy |
| Zbývajíci príčiny jakovodě „Spotřebič príliš málo chladí a/nebo mraží" | - zkontrolujte podle prěd-cházejíciho bodu „Spotřebič príliš málo chladí a/anebo mraží" | |
| V dolní chasti chladničky voda | Odvádečí otvor vody je ucpaný | - vyčistit odtokový otvor (viz Návod k obsluze, kapitola - „Odmrazování chladničky") |
| Ztězená cirkulace vzduchu uvnitř prostoru | - uložit potravinářské vyrobyká nádoby tak, aby se nedotýkaly zadní stěny chladničky | |
| Zvuky nevycházející z nor-málního provozu spotřebiče | Spotřebič není správně | - správně ustavit spotřebič |
| Spotřebič se dotýká nábytku a/nebo jiných prěděmétů | - spotřebič postavit volné tak, aby se nedotýkal jiných |
Problém
Mozné préciény
Możná Žěsení
| Nesprávné nastavení otočného knoflíku | - přeotčit otočný knoflík do vyší polohy | |
| Teplota okolního prostředí je větůsý anebo menů od teploty uvedené v tabulce technické specifikace spořtebiče. | - spotřebič je pržpůso-beny do práce v teplotre, která je uvedená v tabulce s technickou specifikací spotřebiče. | |
| Spotřebič stojí na naslu-něném mistě nebo blízko tepelných zdrojů | - změnit masto ustavení spotřebiče podle námodu k obsluze | |
| Jednorázové naplěnéni veikým množstvím teplych výrobků | - počkat asi 72 hodin na vychlazení (zmrazení) výrobků a dosažéní požá-dované teploty vnitřního prostoru | |
| Teplota uvnitř chladničky není dostatečné nízká nebo je prěliš vysoká | Ztěžená cirkulace vzduchu uvnitř prostoru | - uložit potravinářské výroblý a nádoby tak, aby se nedotýkaly zadné stěny chladničky |
| Ztěžená cirkulace vzduchu ze zadné strany spotřebiče | - odsunout spotřebič od stěny min. 30 mm | |
| Dveře chladničky/mraznič-ky jsou prěliš Častо otevírá-ny a/nebo zústávají dlouze otevřěné | - omezit Četnost otevíráné dveří a/nebo zkrátit dobu, po jakou dveře zústávají otevřěné | |
| Dveře se nedovírají | - výroblý a nádoby uložit tak, aby neztěžovaly zaví-rání dveří | |
| Kompresor se zřídka zapíná | - zkontrolujte zda teplota okolního prostředí není menů než rozsah klimatic-ké třidy | |
| Špatné vložené těsněné dveří | - zatlačit těsněné |
Během normánlího používání chladíciho zařizení mohou vystupovat rúzné zvuky, které nemají zádný vliv na bezchybnou práci chladnicky.
Zvuky, které se lehce odstrańji:
- hluk, kdy chladnica nestoji svisle - usmernete nastaveni pomoci nastavitelnych noziček vpredu. Muzete taktéz podložit pod rolky zezadu mekkou latku, predevsim v pripadé, ze podlaha je provedená z podlahovych dlaždic
- otíra sé o sousední nábytek - prěsuǐte chladničku.
skripani zasuvek anebo'policek - vytahnete a opetovne vlozte zasuvku anebo policku. - zvuky zpu'sobené dotykajíímse láhvemi - odsunte láhve od sebe.
Zvuky, které mohou-byt slysitelne během správné expoatace, vyplývají z práce termostatu, komprésoru (pripojeni), chladíci poustavy (chlazejí (símrostováni a rozsirováni materialu vlivem teplotnich rozdilu, jak rovněz prutoku chladíciho médium).
ZÁRUKA, POPRODEJNÍ SERVIS
Záruka
Záručni plnéni podle záručniho listu. Vyrobce neodpovída za zhádné škody zpusobene nespravnym zachazenim s vyrobkem.
Servis
Vyrobce zarizeni doporučuje, aby vsechny oprayy a serizovaci cinnosti provaděl toyarí, servis nebo autorizovany servis vyrobce. Z bezpečnostnich duvodu neopravuite zarizeni vlastnimi silami.
- Oprayy osobamj bez pozadovane kvalifikace mohou prestavovat vazne nebezpeci pro uzivatele zarizeni,
- Minimalí doba platnosti záruky na zarizeni nabizene, výrobcem, dovozcem, nebo opravnenym zastupcem je uvedena v záručnám lista.
- Zarizeni ztraci zaruku v'dusledku svepomocnych adaptaci, upray, poruseni plomb nebo,dalsich zabepezeni pristroje nebo jeho casti a dalsich svepomocnych zaahu do zarizeni v rozporu s'navodem k obsslze.
Oznáméní poruchy a pomoc v prípadě závady
Potrebujie-li zarizeni,opravit,kontaktujte servis, Kontaktni udaje servisu vctne Telefonniho cisla se nachazeji v zarucim listu. Pred kontaktem si pripravte vyrobni cislo zarizeni, nachazi se na vyrobnim stitku. Pro pohodli si ho prepiste size:

Prohlášeni výrobce
Producent tímtó prohlasuje, Že tento vyrobek splnuje základné požadavyné uvedených evropských směrnic:
směrnice pro nízkonapětová zařizení 2014/35/EC
- směrnice o elektromagnetické kompatilité 2014/30/EC
směrnice ErP - 2009/125/EC
směrnice RoHS 2011/65/EC
a proto byl spotbrebi označen Cε a také bylo pro něho vystaveno prohlášeni o shodě poskytovane organum pro dohled nad trhem.
Vázěný zákazník
Dókladne dodržiavajte poukny a odporučania uvedeni v príručke, vyhnete sa tak nestăstnám nahodám Či urazom.
Suctou
Amica
Poloha 2-4 V zariadení je priemerna teplota
Zmrazovanie výrobkov**
Zmrazovaţ je možné prakticky věskity potravinové výrobky, s výnímkou zelenin'y konzumovanej v surovom stavu, napr. zeleny šalát.
- Na zmrazovanie sa pouzivaju iba potravinoye vyrobky majvyssej kvality, Rozdelené na porcie urcené pre jegnorazovu spotrebu.
- Vyrobky je treba zabalit do obalov bez zapachu, odolnych yoci prenikaniu vzduchu a vlhkosti a tiez odolnych yoci tuku. Najlepsimi obalmi su: sacky, archy z polyetylenovej a hlinikovej folie.
- Obal ma'byt negriepustny a tesne priliehat ku zmrazenym vyrobkom. Nemaju sa pouzivat sklenene obaly.
- Cerstve a teplé potravinové vyrobky (pri teplote okolia) vlozené za učelom zmrazenia nemajú prist do styku s uz zmrazenymi potravinami.
- Odporuca sa, aby v priebehu 24 hodin nevkladat do mraznicky jegno-razovo viac cerstvych potravin ako je uvedene v tabulke s technickou specifikaciou spotrebica.
Komora rychleho chladenia nesluži k.prechovávaniu chladenychPokr-mov. V tejto komore je mozné vyrábat a prechovávat kocky lădu.
Pozor: Ak zariadenie némá komoru **, znamená to,Že dané chladia- ce zariadenie nie je určené na mrazenie potravín.
AKO EKONOMICKY POUZÍVAT CHLADNIČU
Praktické rady
Neumiestujte chladnicku ani mraznicku v blizkosti ohrievaov, sporakov alebo nevystavujte na bezprostredné posobenie slnechnych lučov.
- Presvedcte sa, ze ventilacne otvory nie su zakryte. Jednou alebo dvakrat rocne z nich odstrante prac a ocistite ich.
Zvolte prisluşnu teplotu: teplota 6 až 8°C v chladnicke ako aj -18°C v mraznicke je postacujúca
V priebehu výjazdu na dovolenku teplotu v chladničke navyšte.
- Dvierka chladniccy alebo mraznicky otvarajte len ytedy,Pokjal je to nutné. Je要做 mat informácie, aké potraviny su prechovávané v chladnicke a kde sa presne nachadzaju. Nepoužite potraviny je potrebné co najrchlejsie schovat spát do chladniccy alebo mraznicky,Pokial' sa nezohreju.
- Pravidelne vytierajte vnutro chladnicky handričkou navlhčenou jemnám detergentom. Spotrebic bez funkcie automatickeho rozmrazovania, pravidelne Rozmrazujte. Nedovol'te vytvorenie sa vrstvy inovati hrubsej ako 10 mm.
- Tesnenie okolo dverí udrzujte v cristote, v opacnom pripe da dvierka nebudu uplne zatvarat. Vždy vymente poskodené tesnenie.
Co znamenaju hviezdičky?

Hlavne používané pre zmrazovanie potravin v teplote nizšejako -18°C. Umožnuje zmrazení Čerstvych potravin hmot-nosti do 1 kg.

Tak označený spotrebič umožnjupe prechovávanie potravín y teplote nizšej než -18°C a zmrazovanievacseioh množstvá potravín.
Zony v chladnicke
Automatické odmrazovanie chladnicky\*\*\*\*
Automatické odmrazovanie mraznicky****
Mraziaci priestor mraznicky bol vybaveny funkciou automatickeho od-mrazovania (no-frost). Potraviny su zmrazované chladiacim systémom obehoveho vzduchu a vlhkost z mraziaceho priestoru mraznicky je od-vadzana von. Vo vysledku nevzniká v mraznicke zbytočna namraza a vyrobky k sebe neprimrzajú.
Ručné umývanie komory chladničky a mrazničky****
Priestor chladniccy a mrazniccy sa odporuca umyt najmenej jedernkrt za rok. Zabrañuje to yzniku bakteri a neprijemnych zapachov. Celý spotrebič je treba vypnut tlacidlom (1), vytiahnut vyrobky a priestory umytvodou, s pridaykom jemného cistiacho prostriedku. Napokon priestory vytréh handrickou.
Vytahovanie a vkladanie polic*****
Vysunú't policu a potom vtlačit na doraz tak, aby zátrepka police zaskoc-cila do vyrezu vodiacej lišty (obr. 15)
Vytahovanie a vkladanie priehradky*****
Nadvihnú' priehradku, vytiahnut' a nasadit odhora spá't do požadovanej polohy (obl. 16).
| 1 | Wieko uchyline w zamrażarce | Klappe im Gefrierfach | Dvířka v mrazničce | Dvierka v mrazničke | Fagyasztó ajtÓk | 2 | - | 2 |
| 2 | Szuflada w zamrażarce | Schublade im Gefrierfach | Zásuvka v mrazničce | Zásuvka v mrazničke | Fagyasztó fiók | 5 | 3 | 1 |
| 3 | Tacka na kostki lodu | Eiswürfelta- blett | Tác na ledové kostky | Tácna na l’adové kocky | Jógocka tál | 1 | 1 | 1 |

1
2
3
1


2

3
5


30mm

6
8


9












Amica S.A.
ul . Mickiewicza 52 / 64- 510 Wronki
tel. 67 25 46 100 / fax 67 25 40 320
www.amica.pl
Amica International GmbH
Lüdinghauser Str. 52
D-59387 Ascheberg
Tel: 0 25 93 - 95 67-0
www.amica-group.de
SnadnýManuál