FZ133.4 - Gefrierschrank AMICA - Kostenlose Bedienungsanleitung
Finden Sie kostenlos die Bedienungsanleitung des Geräts FZ133.4 AMICA als PDF.
Laden Sie die Anleitung für Ihr Gefrierschrank kostenlos im PDF-Format! Finden Sie Ihr Handbuch FZ133.4 - AMICA und nehmen Sie Ihr elektronisches Gerät wieder in die Hand. Auf dieser Seite sind alle Dokumente veröffentlicht, die für die Verwendung Ihres Geräts notwendig sind. FZ133.4 von der Marke AMICA.
BEDIENUNGSANLEITUNG FZ133.4 AMICA
INSTRUKCJA OBSLUGI
GEBRAUCHSANWEISUNG
NAVOD K OBSLUZE
NAVOD, NA OBSLUHU
HASZNÁLATI UTMUTATIO
PL DE CS SK HU

DE - Inhaltsverzeichnis
SICHERHEITSHINWEISE 29 INBETRIEBNAHME UND BETRIEBSBEDINGUNGEN DES GERÄTES 34
VORBEREITUNG FÜR DEN ERSTEN BERIEB 34
MINDESTABSTÄNDE ZU WÄRMEQUellen 34
ELEKTRISCHER ANSCHLUSS 35
GERÄT VOM STROMNETZ TRENNNEN 35
KLIMAKLASSE 35
AUSPACKEN 36 ENTSORGUNG VON ALTGERÄTEN 37
STEUERUNG 38
STEUERUNG DES GERÄTES 38
EINSTELLUNG DER TEMPERATURE IM GERÄT 38
WEITEREREG INFORMATIONEN ZUR TEMPERATUR 39
BEDIENUNG UND FUNKTIONEN 40
AUFBEWAHREN DER LEBENSMITTEL IM KUHL- UND GEFRIERRAUM 40
TIEFKUHLUNG DER LEBENSMITTEL** 40
ENERGIESPARENDE NUTZUNG DES KÜHLSCHRANKS 42
PRAKTISCHE RATSCHLAGE 42
WAS BEDEUTEN DIE STERNE? 42
ZONEN IM KUHLSCHRANK 43
PRODUKTE, DIE NICT IM KUHLSCHRANK AUFBEWAHRT WERDEN SOLLtEN. 43
ABTAUEN, REINIGEN UND PFLEGEN 44
ABTAUEN DES KUHLRAUMES*** 44
ABTAUEN DES GEFRIERRAUMES** 44
ABTAUENDES GEFRIERRAUMES:** 45
AUTOMATISCHE ABTAUNG DES KÜHLRAUMES**** 45
AUTOMATISCHE ABTAUNG DES GEFRIERRAUMES**** 45
REINIGEN DES KUHL- UND GEFRIERRAUMES**** 45
EINBAU UND AUSBAU DER ABSTELLPLATTEN **** 45
EINBAU UND AUSBAU DER TÜRFÄCHER **** 45
LOKALISIERUNG VON STÖRUNGEN 46
Sehr geehrter Kunde,
Von heute an werden ihre alltätiglichen Pflichten einfacher Denn je. Dieses Gerät Amica ist eine Verbindung einer außergewöhnlich leichten Bedienung und einer perfekten Effizienz. Nachdem Sie diese Bedienungsanleitung gelesen haben, ist die Bedienung des Gerätes kein Problem mehr.
Bevor das Gerät das Herstellerwerk verlassen konnte, wurde er vor dem Verpacken gründlich auf deren Sicherheit und Funktionalitäten an Prüfständen überprüft.
Bevor das Gerät in Betrieb genommen wird,lesen Sieitte die Bedienungsanleitung aufmerksam durch. Befolgen Sie die darin stehenden Hinweise, vermeiden Sie verschiedene Bedienfehler. Diese Bedienungsanleitung ist zu erhalten und so aufzubewahren, dass sie jederzeit bei der Hand ist.
Zur Vermeidung möglicher Unfälle befolgen Sie die in der Bedienungsanleitung stehenden Hinweise genau.
Mit freundlichen Grüßen
Amica
SICHERHEITSHINWEISE
Das Gerät ist ausschließlich für den Einsatz im Haushalt bestimmt.
- Der Hersteller besteht sich das Recht vor, Anderungen vorzunehmen, die Gerätefunktion nicht beeinträchtigen.
- Manche Bestimmungen dieser Bedienungsanleitung wurden für die Kuhlgeräte verschiedener Art (für den Kuhlschrank, Kuhl-Gefriergerät oder Gefriergerät) vereinheitlich. Die Information über die Art Ihres Gerätes ist dem Produktdatenblatt, das dem Gerät beigelegt wurde, zu entnahmen.
- Der Hersteller haftet nicht für die Schäden, die Folge der Nichteinhaltung inder vorliegenden Gebrauchs-anweisung angeführten Prinzipien sind.
- Bewahren Sie diese Gebrauchsanweisung auf, um sie in Zukunft auszunutzenoder einem eventuellen Nachbesitzer übergeben zu können.
- Das Gerätarf nicht durch Personen (darunter auch Kinder) mit eingeschränkten körperlichen, Sinnlichen oder psychischen Fähigkeiten sowie durch unterfahrene sowie solche Personen, die das Gerät nicht kennen, bedient werden, es sei dess, es geschieht unter Aufsicht oder gemäß der Anweisungen der für ihre Sicherheit verantwortlichen Personen.
- Erlauben Sie nicht den Kindern das Gerät ohne Aufsicht zu bedieren. Erlauben Sie den Kinder nicht mit dem Gerät zu playen. Lassen Sie die Kinder nicht sich auf die aufschiebbaren Bestandteile des Kühlschranks zu setzen oder auf der Kühlschranktür zu hangen.
- Das Kuhl-Gefriergerät arbeitet ordnungsgemäß bei einer Raumtemperatur, die in der Tabelle mit der technischen Spezifikation angegeben ist. Das Gerät ist nur für den Gebrauch in Innenräumen geeignet, allerdings nicht in unbeizahlen Kellerräumen, Hausfluren oder Sommerhäusern.
- Zum Aufstellen und Verschieben des Gerätes)dürfen die Tügriffe, die Kondensatorröhren oder die Kompressoreinheit benutzt werden.
Das Kuhl- und Gefriergerät sollte während des Trans
ports oder der Aufstellung nur bis zu 40^ geneigt werden. Ist der Winkel größter,arf das Gerät erst nach 2 Stunden eingeschaltet werden. (Abb. 2).
- Vor jeder Wartungsarbeit ist der Netzstecker aus der Steckdose zu entfernen. (Nicht am Kabel, sondern immer am Netzsteckerziehen).
- Knackende Gerausche sind eine Folge der Materialausdehnung bzw. -zusammenziehung einzelnber Baulemente, die durch Temperaturschwankungen des Kühlmittels hervorgerufen werden.
- Aus Sicherheitsgründen ist das Gerät niemals selbständig zu reparieren, sondern nur durch Mitarbeiter einer autorisierten Fachwerkstatt. Nur so bleibt die vom Hersteller gewährte Garantie erhalten.
- Im Falle einer Beschädigung des Kühlkreislaufs muss der Raum, in dem das Gerät aufgestellt wurde, einige Minuten gut durchgeluftet werden (Das Gerät mit Isobutan R600a benötigt einen Raum von mindestens 4 qm Fläche.)
- Angetaute Lebensmittel)dürfen auf keinen Fall wieder eingefroren werden
- Getränke in Flaschen und Dosen, * dürfen nicht im Tiefkühlbereich aufbewahrt werden. Die Flaschen und Dosen platzen!
- Das aus dem Gefrierraum her- ausgenommene Gefriergut (Eis, Eiswürfel usw.) darf nicht direkt in den Mund genommen werden, es könnte schmerzhafte Erfrierungen verursachen.
- Das Kühlsystem niemals beschädigen. Das Kaltemittel ist leicht entflammbar. Bei Kontakt mit den Augen sofort gründlich mit Wasser spulen und einen Arzt konsultieren.
- Ist die Anschlussleitung beschädigt, muss sie ersetzt werden. Diesearf nur von einer autorisierten Fachwerkstatt ausgewechselt werden.
- Das Gerät dient zur Aufbewährung von Nahrungsmitteln, zu anderen Zwecken nicht verwenden.
-
Das Gerät ist für die Dauer solcher Handlungen wie Reinigung, Wartung oder Änderung des Aufstellungsstandortes von der Stromversorgung ganz (durch Ziehen des Netzsteckers aus der Steckdose) zu trennen.
-
Das Gerät kann von Kindern ab 8 Jahren und Personen mit eingeschränkten physischen, sensorischen oder geistigen Fähigkeiten oder mit mangelnder Erfahrung und Unkenntnis verwendet werden, wenn sie in die sichere Verwendung des Geräts eingewiesen wurden und sie die mit ihm verbundenen Gefahren verstanden haben. Kinder)durfen nicht mit dem Gerät speien. Die Reinigung und Wartung des Gerätes dürfen von Kindern nicht erfolgen, es sei dann, dass sie das 8. Lebensjahr vollendet haben und von einer zuständigen Person beaufsichtigt wurden.
-
Um mehr Platz im Gefriergerät zubekommen, konden die Schubladen herausgenommen und die Produkte direkt in die einzelnen Fächer gelegt werden. Die thermischen und mechanischen Eigenschaften des Gerätes werden hiervon nicht betroffen. Der deklarierte Nutzinhalt des Gefriergerätes wurde bei hersausgenommen Schubladen ermittelt.

WARNHINWEIS: Brandgefahr / brennbare Stoffe
- Kinder im Alter von 3 bis 8 Jahren können Produkte in das Kuhlgerät legen oder herausnahmen.
Um die Kontamination von Lebensmitteln zu vermeiden, halten Sie sich an folgende Regel:
- Lassen Sie die Tur nicht zu lange offen, da sonst die Temperatur in den Kühlfächern beachtlich ansteigen kann.
- Reinigen Sie die mit Lebensmitteln in Kontakt kommen den Flächen sowie gegebenenfalls die zugänglichen Wasserabläufe regelmäßig.
- Bewahren Sie rohes Fleisch und Fisch in den davon vorgesehenen Kühlfächern auf, sodass sie nicht mit anderen Lebensmittel in Kontakt kommt und kein Fleisch- oder Fischsaft auf andere Lebensmittel tropf.
Die 2-Sterne-Fischer im Gefrierschrank dieren zur Lagerung von Tiefkuhlprodukten, zum Aufbewahren oder Einfrieren von Eis sowie für die Herstellung von Eiswürfeln.
Die Fächer mit einem, zwei oder drei Sternen sind nicht zum Einfrieren frischer Lebensmittel bestimmt.
| Arten von Kuhl- fächern | VorgeseheneLagertempera- tur [°C] | Geeignete Lebensmittel | |
| 1 | Kühlschrank | +2≤+8 | Eier, gekochtte Lebensmittel, verpackte Lebens- mittel, Obst und Gemüse, Milchprodukte, Ku- chen, Getränke und andere nicht zum Einfrierten geeignete Produkte. |
| 2 | Gefrierfach | ≤-18 | Meeresfrüchte (Fisch, Garnelen, Muscheln), Süßwasserfische und Fleischprodukte (möglichst maximal 3 Monate - je länger die Lagerzeit, des- to mehr verliert das Produkt an Geschmack und Nährwerten), geeignet für eingeflorene frische Produkte. |
| 3 | Gefrierfach | ≤-18 | Meeresfrüchte (Fisch, Garnelen, Muscheln), Süßwasserfische und Fleischprodukte (möglichst maximal 3 Monate - je länger die Lagerzeit, desto mehr verliert das Produkt an Geschmack und Nährwerten), nicht geeignet für eingeflorene frische Produkte. |
| 4 | Gefrierfach | ≤-12 | Meeresfrüchte (Fisch, Garnelen, Muscheln), Süßwasserfische und Fleischprodukte (möglichst maximal 2 Monate, je länger die Lagerzeit, desto mehr verliert das Produkt an Geschmack und Nährwerten), nicht geeignet für eingeflorene frische Produkte. |
| 5 | Gefrierfach | ≤-6 | Meeresfrüchte (Fisch, Garnelen, Muscheln), Süßwasserfische und Fleischprodukte (möglichst maximal 1 Monat - je länger die Lagerzeit, desto mehr verliert das Produkt an Geschmack und Nährwerten), nicht geeignet für eingeflorene frische Produkte. |
| 6 | Fach ohne Stern | -6≤0 | Frisches Schweinefteislich, Rindfleisch, Fisch, Hähnchen, bestimmte verpackte verarbeitete Produkte, usw. (am besten noch am selbst Tag und maximal innerhalb von 3 Tagen verzehren). Teilweise verpackte verarbeitete Produkte (nicht zum Einfrierten geeignete Produkte) |
| 7 | Kühlfach | 2≤+3 | Frisches/eingefrorenes Schweinefteislich, Rind- fleisch, Hähnchen, Süßwasserfische etc. (7 Tage später 0°C, bei über 0°C am besten Selben Tag und maximal innerhalb von 2 Tagen verzehren). Meeresfrüchte (unter 0°C für 15 Tage, nicht bei Temperaturen über 0°C lagern) |
| 8 | Fach für die Aufbewährung von frischen Lebensmitteln | 0≤+4 | Frisches Schweinefleisch, Rindfleisch, Fisch, Hähnchen, gekochtete Produkte etc. (am besten am selbst Tag und maximal innerhalb von 3 Tagen verzehren). |
| 9 | Weinfach | +5≤+20 | Rot- und Weißwein, Sekt etc. |
- Hinweis: lagern Sie die Produkte gemäß den Anweisungen für die Fächer oder gemäß den Lagertemperaturen für die Produkte.
- Wenn der Kühlschrank über längerere Zeit nicht benutzt wird und leer steht, müssen Sieihn abschalten, abtauen, auswaschen, trocknen und die Turr offen setzen, damit sich im Inneren kein Schimmel bildet.
- Reinigung des Wasserspenders (bei Produkten mit Wasserspender): Reinigen Sie die Wasserbehälter, wenn sie über 48 Stunden nicht benutzt wurden; wenn das Wasser 5 Tage lang nicht abgelassen wurde, spülen Sie die an das Wasserleitungsnetz angeschlossene Anlage aus.
- Der Mindestzeitraum, für den zur Reparatur des Geräts erforderlichen Ersatzteile erhältlich sind, beträgt je nach Art und Zweck des Ersatzteils 7 oder 10 Jahre und entspricht der Verordnung (EU) 2019/2019 der Kommission.
Die Ersatzteilliste und das Bestellverfahren finden Sie auf den Websites des Herstellers, des Einführers und des Vertragshandlers. - Weitere Informationen über das Produkt bietet die EU-Produktdatenbank EPREL auf der Website https://eprel.ec.europa.eu. Sie finden die Informationen, indem Sie den QR-Code auf dem Energieetikett scannen oder das auf dem Energieetikett angegebene Produktmodell in die EPREL-Suchmaschine auf der Website https://eprel.ec.europa.eu/ eingeben.
INBETRIEBNAHME UND BE-TRIEBSBEDINGUNGEN DES GERÄTES
Dieser Kuhlgerät ist nicht für den Einbau bestimmt.
Vorbereitung für den ersten Berieb
- Das Gerät auspacken. Klebebänder ent- fernen. Eventuell verbliebe- ne Kleberreste konnen mit einem milden Reinigungsmittel beseitigt werden.
Die aus geschäumtem Polystyrol herge- stellenten Verpackungsteile nicht wegwerfen. Falls sich ein erneuter Geräteransport als notwendig erweist, ist das Gerät mit Hilfe dieser Polystyrolelemente und der Folie einzupacken und mit einem Klebeband zu sichern. - Das Innere des Gerätes und seine Aus-stattungselemente mit lauwarmem Wasser unter Zusatz eines Geschirrspulmittels abwaschen und trocknen halten.
- Das Gerät auf einem ebenen, horizontalen und stabilen Grund in einem trockenen und beluftbaren Raum aufstellen. Nicht di-rekter Sonnenbestrahlung aussetzen. Nicht in der Höhe von Wärmequellen wie Herde Heizkörper, Zentralheziehung oder Heisswasser-Anlagen aufstellen.
- Entfernen Sie vor Inbetriebnahme des Geräts die Schutzfolie.
Das Gerät sollte möglichst eben auf- gestellt werden - Unterschiede können dank der hohenverstellbaren Fuß ausgegliichen werden (Abb. 3). - Damit freies Öffnen der Tür sichergestellt werden kann, wurde die Entfernung zwischen der Seitenwand des Gerätes (auf der Seite der Scharniere) und der Raumwand in der Abbildung 5 dargestellt.*
- Der Aufstellungsraum muss stets gut beluftet sein. (Abb. 6).*
Mindestabstände zu Wärmequellen
- zu Elektro- oder Gasherde u.ä.: 3 cm,
- zu Öl- oder Kohlebeistellherde : 30 cm,
- zu Einbaubacköfen - 5 cm
Wenn die oben genommen Mindestabstände nicht eingehalten werden können, muss eine geeignete Isolierplatte zur Reflexion der Wärme-strahlung verwendet werden.
Achtung:
Die hintere Kühlschrankwand, ins- besondere der Verdampfer und die Kühlsystembaugruppe, dürfen nicht mit den Rohren der Zentralheziehung und eines Abflusssystems in Berührung kommt.
- Eine Manipulation des Kältemittelkreislaufs ist Verboten.. Es ist darauf auf zu achten, dass das Kapillarrohr, das sich im Hohlraum der Kältemaschine befindet, nicht beschädigt wird. Dieses Rohr darf weder gebogen noch geknicht werden.
- Falls der Benutzer das Kapillarrohr beschädigt, verliert er seine Garantieansprüche. (Abb. 8).
- Der Turgriff befindet sich bei einigen Modellen im Innern des Geräts und muss noch montiert werden.
Elektrischer Anschluss
- Vor Inbetriebnahme des Geräts stellen Sie die Temperaturregelung auf "OFF" oder in eine Position, die das Gerät vom Stromnetz trennt (s. Steuerungsbeschreibung)
- Das Gerät ist an eine 230V / 50Hz Wechselstromleitung über eine vorschrifsmäßig installierte, geerdete und durch eine 10A -Sicherung geschützte Steckdose anzuschlieben.
Das Gerat erfüllt die VDE - Norm. Der Hersteller leht eine Haftung für eventuell entstandene Schäden ab, deren Ursachen auf das Nichtbefolgen dieser Vorschrift zurückzuführen sind. - Keine Adapter, Mehrfachstecker oder zweiadrige Verlängerungskabel ohne Nullleiter verwenden. Soltte ein Verlängerungskabel nötig sein, muss es der VDE/GS - Norm entsprechen.
- Verlängerungsschnur verwendet wird, muss sich die Steckdose in einem sicheren Abstand zu Amarturen mit fliessendem Wasser befinden.
Die Daten auf dem Typenschild, das im Inneren des Kühlschranks angebracht ist, sind unbedingt zu beachten**.
Gerät vom Stromnetz trennen
Das Gerät muss problemlos vom Stromnetz zu trennen sein, indem man den Stecker hersauszieht oder den zweipoligen Schalter betätig. (Abb. 9).
KLIMAKLASSE
Die Information über die Klimaklasse des Gerätes befindet sich auf dem Typenschild. Sie zeigt, in welcher Umgebungstemperatur (d.h. Temperatur des Raumes, in dem das Gerät betrieben wird) das Gerät optimal Funktioniert.
Klimaklasse
Zulässige Umgebungstemperatur
| SN | subnormal | Das Kuhlgerät ist für Umgebungstemperaturen von 10 °C bis 32 °C geeignet. |
| N | normal | Das Kuhlgerät ist für Umgebungstemperaturen von 16 °C bis 32 °C geeignet. |
| ST | subtropisch | Das Kuhlgerät ist für Umgebungstemperaturen von 16 °C bis 38 °C geeignet. |
| T | tropisch | Das Kuhlgerät ist für Umgebungstemperaturen von 16 °C bis 43 °C geeignet. |
AUSPACKEN

Das Gerät wird gegen Transportschäden geschützt. Nach dem Auspacken sind die Verpackungsmaterialien so zu entsorgen, dass dadurch kein Risiko für die Umwelt entsteht.
Alle Materialien, die zur Verpackung verwendet werden, sind umweltver
traglich, können hundertprozentig wiederverwertet werden und sind mit entsprechendem Symbol gekennzeichnet.
Hinweis! Die Verpackungsmaterialien (Polyethylenbeutel, Styroporstücke usw.) sind beim Auspacken außer Kinderreichweite zu halten.
ENTSORGUNG VON ALTGERÄTEN


Dieses Gerät wurde gemäß der Europäischen Richtlinie 2012/19/EG. Eine solche Kennzeichnung informiert darüber, dass these Gerät nach dem Ablauf des Nutzungszeitraumes nicht zusammen mit anderen Hausabfläten gelagert werden darf.
Der Benutzer ist verpflichtet, das Gerät an einem Sammelpunkt für verschlissene elektrische und elektronische Geräte abzugeben. Die die Sammlung durchführrenden Einheiten, darunter lokale Sammelpunkte, Geschäfte und gemeinsieigene Einheiten, bilden ein entsprechendes System, welches die Abgabe theses Gerätes ermöglich.
Die richtige Vorgehensweise mit Elektro- und Elektronikschrott tragt zur Verhinderung schädlicher Folgen für die menschliche Gesundheit und die natürliche Umwelt bei, die aus der Anwesenheit von Schadstoffen sowie einer falschen Lagerung und Weiterverarbeitung solcher Materialien folgen.
STEUERUNG
Steuerung des Gerätes
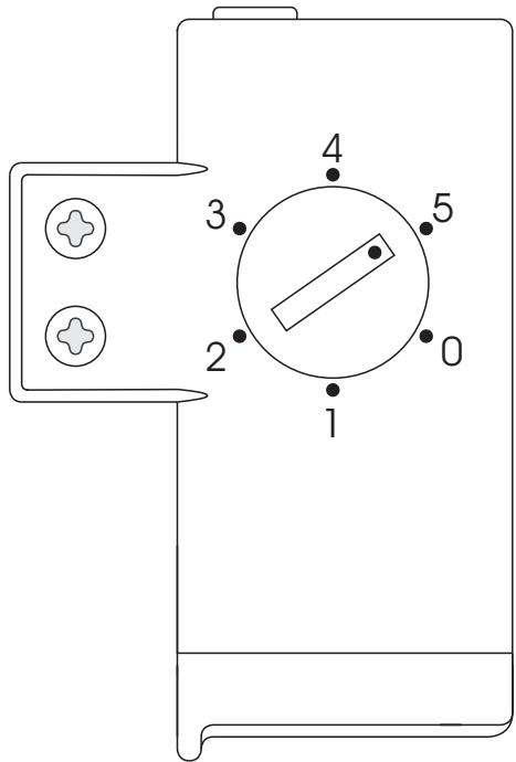
Das Bedienfeld der Dunstabzugshaube wurde auf der Abbildung Nr. 10 dargestellt und zur Erinnerung gibt es diesen auch nachstehend:

Thermostat
Einstellung der Temperatur im Gerät
Durch die Änderung der Position des Drehreglers erfolgt die Änderung der Temperatur im Gerät:
Position OFF/ 0 / MIN Das Gerät ist ausgeschaltet.
Position 1 Im Gerät herrscht die höchste Temperatur (im Inneren ist es wärmer)
Positionen 2-4 Im Gerät herrscht eine mittlere Temperatur.
Position 5 / MAX Im Gerät herrscht die niedrigste Temperatur (im Inneren ist es kälter)
Achtung:
- DerDrehregler des Thermostats in Ihrem Gerät kann anders skaliert werden, als es nachfolgend dargestellt wurde. Das allgemeine Funktionsprinz wurde vorstehend geschädert.
- Ist die Position „OFF" oder „0“ in Ihr Gemät nicht vorhanden, ist die Ausschaltung des Gerätes durch Trennen des Gerätes von der Stromversorgung (Ziehen des Steckers) möglich. Vor Abschalten den niedrigsten Wert im Thermostat einstellen.
Weitere Informationen zur Temperatur
Die Temperatur im Gerät wird von vielen Faktoren abhängig. Die Stellung des Drehreglers ist unter anderem von der Umgebungstemperatur, Grad der Sonneneinwirkung, Häufigkeit des Offnens der Tür und des Gerätes, Menge der Lebensmittel abhängig. In den meisten Fälle ist die Stellung der Drehreglers in der Mitte optimal.
- Den Kuhl-und Gefrierraum frühestens 4 Stunden nach Inbetriebnahme des Gerätes.fullen.
- Eine manuelle Anderung der Innentemperatur auf Grund der Jahreszeit ist nicht nötig. Die Erhöhung der Umgebungstemperatur wird durch den Temperaturfühler erkannt, was eine automatische Inbetriebnahme des Verdichters auslösst und damit die Betriebstemperatur langfristig stabil hält.
- Geringe Temperaturschwankungen sind eine normale Erscheinung die beispelsweise durch die Einlagerung vieler frischer Lebensmittel oder zu langes Offnen der Tur auftreten konnen. Der eingestellte Temperaturwert wird üblicherweise schnell wieder erreicht.
BEDIENUNG UND FUNKTI-IONEN
Aufbewahren der Lebensmittel im Kuhl- und Gefrierraum
Die Lebensmittel sollenen auf Tellern, in Behältern oder in für Lebensmittel bestimmte Folie verpackt aufbewahrt werden. Sie sind gleichmäßig auf den Abstellflächen zu vertieren.
- Es ist zu beachten, dass die Lebensmittel die wichtere Kühlraumwand nicht berüh- ren, da es sonst zur Reif- oder Feuch- tigkeitsbildung auf dem Gefriergut kommt kann.
Keine heissen Speisen in den Kuhlschrank legen.
- Lebensmittel, die leicht fremde Gerüchen annehmen, und solche mit einem starken Eigengeruch sind in den Kühlfächern in Folienverpackung oder festverschliessbaren Gefässen aufzubewahren.
Gemüse mit einem hohen Wasser gehalt kann die Freisetzung von Wasserdampf verursachen, der jeder die Kühlfunktion nicht beeinträchtigt.
- Vor dem Einlagen in den Kühlraum muss das Gemüse gut abgetrocknet werden.
- Ein übermäßiger Wasser gehalt im Kühlgut (Blattgemüse) verkürzt die Aufbewahrungszeit.
- Vor dem Einlagen in den Kuhlraum darf das Gemüse nicht gewaschen werden, da das Waschen einen natürlichen Schutz beseitigt. Deswegen empfeht es sich, das Gemüse erst vor dem Verzehr zu waschen.
Die Produkte sind in die Körbe 1, 2 und 3^ zu legen, bis die natürliche Befüllungsgrenze erreicht ist (Abb. 11a / 11b).*
- VerpackteProdukte
- Flaschenablage
- Naturliche Befüllungsgrenze
4.
Die Lagerung von Produkten in den Draht- fächern des Kuhl-schrank-Verdampfers ist zulässig.
Produkte in den 'einzeln Fächern dürfen 2 - 3 cm über der Befüllungsgrenze gelagert werden.
- Um mehr Lagerungsraum im Gefrierfach zu erhalten, kann man die Schubfächer 1 und 2 entfernen und die Produkte in die Metallregale des Verdampfers legen.
Tiefkuhlung der Lebensmittel**
- Fast alle Lebensmittel eignen sich zum Einfrieren, ausgenommen roh zu verzehrendes Gemüse, z.B. Blattsalat.
- Nur hochqualitative Lebensmittel sind zum Einfrierten geeignet. Das Gefriergut solltekleinpportioniert sein.
- Lebensmittel sind in geruchfreies, luft- und feuchtigkeitsdichtes, sowie fett- und- laugenunempfindliches Material zu verpacken. Polyethylen- und Aluminiumfolie sind am besten geeignet.
Die Verpackung muss dicht sein und an dem Gefriergut fest anliegen. Glasbehälter sind nicht zu verwenden. -
Es wird empfohlen, bereits eingefrorene Produkte so zu lagern, dass sie mit den einzufrierenden, frischen Lebensmitteln keine Berührung haben.
-
Es wird empfohlen, die Menge der zum Einfrieren vorgesehenen Fri-schprodukte entsprechend der technischen Gegebenheiten des Ger-rats (s. Tabelle) zu berechnen.
- Wir empfehlen, die gefrorenen Portionen auf eine Seite der Gefrier-kammer zu schieben und die frischen Portionen auf die andere Seite zu legen.
Zum Einfrieren der Produkte den mit diesen Zeichen markierten Raum benut- zen.
Die Temperatur im Gefrierraum ist von folgenden Faktoren abhängig: Aussentemperatur, Befüllung des Kühlschranks,häufiges Turenöffen, Menge des abgelagerten Reifbeschlags und die Einstellung des Thermostaten. - Lásst sich die Tur nicht sofort nach dem Schliessen wieder öffnen, empfeihlt es sich, 1 bis 2 Minuten zu warten, bis sich der entstandene Unterdruck ausgeglichen hat.
Die Aufbewahrungszeit der tiefgekühnten Produkte ist von ihrer Qualität sowie der Aufbewährungstemperatur abhängig. Bei einer Temperatur von -18^ oder niedriger sollte folgende Aufbewährungsdauer eingehalten werden:
| Produkte | Monate |
| Rindfleisch | 6-8 |
| Kalbsfleisch | 3-6 |
| Innereien | 1-2 |
| Schweinefleisch | 3-6 |
| Geflügel | 6-8 |
| Eier | 3-6 |
| Fisch | 3-6 |
| Gemüse | 10-12 |
| Obst | 10-12 |
Das Schnellgefrierfach ist furs Aufbewahren tiefgefrorener Lebensmittel nicht geeignet. In diesen Fach konnen Eiswürfel hergestellt und aufbewahrt werden.
Hinweis: Wenn das Gerät kein Gefrierfach *, besitzt, bedeutet das, dass der Kühlschrank nicht zum Einfrieren von Lebensmitteln geeignet ist.
ENERGIESPARENDE NUTZUNG DES KÜHLSCHRANKS
Praktische Ratschlage
- Tiefkuhltruhe nicht in der Höhe von Heiz-körpern oder Backöfen aufstellen und nicht direkter Sonneneinstrahlung aussetzen.
- Sicherstellen, dass die Belüftungsöffnung-gen nicht verdeckt sind. Ein- bis zweimal pro Jahr sind die Belüftungsöffnungen von Staub zu reinigen.
Die richtige Temperatur einstellen: Eine Temperatur von 6 bis 8^ im Kuhlschrank und -18^ im Tiefkuhlfach sind ausrei- chend. - Bei längerer Abwesenheit, z.B. im Urlaub, ist die Temperatur im Kuhl-schrank zu er-. hohen.
- Einunnotiges Offnen der Tur des Kuhl- oder Tiefkuhlschranks ist zu vermeiden. Unverbrauchte Produkte sind sochnell wie möglich wieder in den Kuhl- oder Tiefkuhlschrank zurückzulegen, bevor sie sich erwärmen.
- Das Innere des Kühlschranks ist regelmäßig mit einem in Reinigungsmittel getränkten Lappen auszuwischen. Geräte ohne automatische Abtaufunktion müssen regelmäßig abgetaut werden. Die Entstehung einer Eisschicht von mehr als 10 mm muss vermieden werden.
Die Turdichtung ist sauberzuhalten, ansonsten schliebt die Tur nicht vollständig. Eine beschädigte Dichtung muss ausgewechselt werden.
Was bedeuten die Sterne?

Bei einer Temperatur von -6^ können tiefegekuhlte Lebensmittel ungebahr eineWoche lang aufbewahrt werden. Mit einem Stern gekennzeichnete Schu- bladen oder Facher sind (meistens) in preiswerteren Noname-Kuhlschränken zu finden.

Bei einer Temperatur von -12^ konnen Lebensmittel für 1-2Wochen ohne Geschmacksverlust gela-gert werden. Diese Temperatur ist jedoch für das Einfrieren von Lebensmitteln nicht ausreichend.

Zum Einfrieren von Lebensmitteln werden hauptsächlich Temperaturen unter -18^ verwendet. Dies ermöglich das Einfrieren von frischen Lebensmitteln mit einem Gewicht bis zu 1kg

So gekennzeichnete Geräte ermögli- chen die Aufbewah-. rung von Lebensmit- teln bei einer Temperatur von unter -18^ und das Einfrieren größerer Mengen an Lebensmitteln.
Zonen im Kuhlschrank
Aufgrund der tatsächlichen Luftzirkulation entstehen im Kühlschrank unterschiedliche Temperaturzonen.
- Der kuhlste Bereich befindet sich direkt oberhalb der Gemüsefächer. In dieser Zone sind empfindliche und leicht verderbliche Lebensmittel aufzubewahren, wie:
- Fisch, Fleisch, Geflügel
-Aufschnitt, Fertiggerichte - ei- oder sahnehaltige Gerichte
- frischer Kuchen, verschiedene Kuchen- sorten,
- verpacktes Gemüse und andere frische Lebensmittel, deren Etikett eine Lage- rung bei einer Temperatur von ca. 4^ vorschreiben.
- Im oberen Teil der Tur herrscht die höchste Temperatur. Hier sollte am besten Butter und Käse aufbewahrt werden.
Produkte, die nicht im Kühlschrank aufbewahrt werden sollenten.
- Nicht alle Produkte eignen sich zur Aufbewährung im Kühlschrank. Zu denen gehoren:
- Gegen tiefe~Temperaturen empfindliches Obst und Gemüse, wie zum Beispiel Bananen, Avocados, Papayas, Maracujas, Zucchinis, Paprika, Tomaten und Gurken.
- Unreife Früchte
-Kartoffeln.
Achtung:
Beispfur die Lagerung von Lebensmitteln im Gerät (Abb. 12)
Damit sich die Lebensmittel so gut und so lange wie möglich halten und nicht verderben, sollenen sie wie in Abb. 12 gezeigt im Kühlschrank untergebracht werden. Die Abbildung zeigt außer dem die Beste Anordnung der Schubladen, Körbe und Fachboden im Hinblick auf einen möglichst effektiven Energieverbrauch des Geräts.
Durch die Aufbewährung der Lebensmittel bei geeigneten Bedingungen und Temperatren halten sich die Lebensmittel länger, und der Stromverbrauch wird optimiert. Auf den Verpackungen oder Etiketten der Lebensmittel ist normalerweise angegeben, bei welchen Temperaturen sie aufbewahrt werden sollenen.
Zum Reinigen des Gehäuses und der Kunststoffe des Erzeugnisses keine Lösungsmittel sowie scharfe und Scheuerreinigungsmittel anwenden (z.B. Reinigungsmittel- bzw. -milch)! Nur delikate flüssige Mittel und welche Tücher verwenden. Keine Schwämme verwenden.
Abtauen des Kuhlraumes***
- An der hinteren Kuhl- raumwand lagert sich Reif ab, der automatisch abgetaut wird. Beim Abtauen konnen mit den Kondensattropfen auch Verunreinigungen in die Trichteröffnung der Rinne gelangen und dadurch die Ablassöffnung verstopfen. Um dies zu verhindern, sollte diese mit Hilfe des mitgelieferten Reinigungsinstruments vorsichtig durchstochen werden (Abb.13)
- Das Gerät arbeitet zyklisch: Wahrend des Kuhlprozesses lagert sich an der hinteren Wand ein Reifbeschlag ab. Diese wird abgetaut, das Wasser sammelt sich in der Auffanqvorrichtung.
- Vor dem Reinigen sollte das Gerät durch das Herausziehen des Steckers aus der Steckdose, durch das Ausschalten oder durch das Herausnahmen der Sicherung vom Stromnetz getrennt werden. Nicht zulassen, dass das Wasser in die Bedien-blende oder Beleuchtung gelangt.
- Wir empfehlen, keine Auftaumittel in Sprayform zu verwenden. Sie können die Entstehung von explosiven Aerosolen verursuchen. Lösungsmittel, die die Plastikteile des Gerätes schädigen, enthalten oft auch gesundheitsgeführnde Substanzen.
- Kein Reinigungswasserarf durch die Ablassöffnung in den Abdampfbehälter gelangen.
Das gesamte Gerät, ausgenommen die Turdichtung, sollte mit einem milden Reinigungsmittel gereinigt werden. Die Turdichtung nur mit klarem Wasser abwischen und trocknen setzen. - Alle Ausstattungselemente sollen sorgfältig gereinigt werden (Obstund Gemüsefach, Türflicher, Glasplatten, usw.).
Abtauen des Gefrierraumes**
- Es wird empfohlen, das Gerät regelmäßig abzutauen und zu reinigen.
- Eisablagerungen an den Gefrierflächen vermindern die Effizienz des Gerätes und bewirken eine Steigerung des Energieverbrauchs.
- Es empfeihlt sich, das Gefriergerät minde- stens ein- oder zweimal im Jahr abzutau- en. Sollte sich mehr Eis bilden, sollte man das Auftauen offen durchführren.
- Befinden sich Lebensmittel im Gefrierraum, so ist der Temperaturregler 4 Stunden vor dem geplanten Abtauen auf „max.” zu stellen. Dadurch wird die Aufbewährung des Gefrierguts bei Raumtemperatur während einer längeren Zeit möglich.
- Das Gefriergut aus dem Gefrierraum he- rausnehmen, in eine Schüssel legen, mit einigen Schichten Zeitungspapier und einer Wolldecke umwickeln und an einer kühlen Stelle aufbewahren.
- Das Abtauen sollen möglichst schnell erfolgen. Wenn die Lebensmittel über einen längeren Zeitraum bei Raumtemperatur aufbewahrt werden, verkurzt sich ihre Haltbarkeit
Abtaendes Gefrierraumes:\*\*
- Schalten Sie das Gerät mit dem Steuerungspaneel ab und anschließendziehen Sie den Netzstecker aus der Steckdose.
DieTür öffnen, die Produkte herausnahmen. - Je nach dem Modellziehen Sie den Abflusskanal im hinteren Bereich des Kuhlgrätes und stellen Sie ein Gefäß darunter.
- Lassen Sie die Tur offen, dadurch erfolgt das Auftauen Schneller. In die Kammer des Gefriergerätes kann zusammen ein Gefäß mit freiem (aber nicht kochendem) Wasser gestellt werden.
Das Geräte innere auswischen und trocknen{lassen. - Das Gerät gemäß entsprechendem Kapitel der Gebrauchsanweisung wieder einschalten.
Automatische Abtauung des Kuhlraumes\*\*\*\*
Der Kuhlraum ist mit einer automatischen Abtaufunktion ausgestattet. An der hinteren Kuhlraumwand kann sich jeder ein Reifbeschlag
ablagern. Es kommt vor allem vor, wenn im Kuhlraum viele frische lebensmittel aufbewahrt werden.
Automatische Abtauung des Gefrierraumes\*\*\*\*
Der Kuhlraum ist mit einer automatischen No-Frost-
Abtaufunktion ausgestattet. Die Lebensmittel werden durch die gekühltes Umluft eingefroren, die Feuchtigkeit wird aus dem Gefrierraum nach Außen abgeführrt. Im Gefrierraum entstehtDMAE- und Reifbeschlag und die Lebensmittel frieren nicht fest.
Reinigen des Kuhl- und Gefrierraumes\*\*\*\*
Es empfeht sich das Kuhl- und Gefrierraum mindestens einmal im Jahr zu waschen.
Es wirkt vorbeugend gegen die Entstehung unangenehmer Gerüche sowie der Bak- terien. Das Gerät durch das drücken des Knopfes „1" ausschalten, die Lebensmittel Herausnahmen und das Gerät mit einem milden. Reinigungsmittel waschen und trocknen halten.
Einbau und Ausbau der Abstellplatten \*\*\*\*
Abstellplatte Herausnahmen und an-schlieBend an der gewünschten Stelle bis zum Widerstand einschieben, so dass sich der Schnappverschluss in der Fuh-rungsleiste befindet (Abb. 15).
Einbau und Ausbau der Türfacher ****
Türfach anheiten, Herausziehen und von oben in die gewünschte Position einlagen (Abb. 16).
Auf keinen Fall)durfen im Inneren des Gefrierraumes elektrische Heizkörper,HeiBluftgeblase oder Haartrockner eingesetzt werden.
** Gilt für Geräte mit einem Gefrierfach
Gilt nicht für Geräte mit dem Frostfrei-System
Gilt für Geräte mit einem Kühlbereich.
Gilt nicht für Geräte mit dem Frostfrei-System
* Gilt für Geräte mit dem Frostfrei-System
* Gilt nicht für Gefriergeräte
LOKALISIERUNG VON STÖRUNGEN
| Störung | Mögliche Ursachen | Behebung |
| Das Gerät faktioniert nicht | Unterbrechung im Stromkreis | - Überprüfen, ob der Netzstecker gut in der Steckdose des Speisenetzes sitzt.- Überprüfen, ob das Anschlußkabel nicht beschädigt ist.- Durch Anschlieben eines anderen elektrischen Verbrauchers (z.B. einer Nachtischlampe) überprüfen, ob die Steckdose unter Spannung steht.- Überprüfen Sie, ob das Gerät eingeschaltet ist (Thermostat in Betriebsstellung). |
| Innenbeleuchtung faktioniert nicht | Die Glümblame ist gelöst oder durchgebrannt (in Geräten mit Glümblampen) | - Vorerst den vorherigen Punkt überprüfen (das Gerät faktioniert nicht - die Glümblame festdrehen oder auswechseln (in Geräten mit Glümblampen) |
| Das Gerät ist ununterbrochen in Betrieb | Falsche Temperatureinstellung | - einen niedrierogen Wert einstellen |
| Andere Ursachen wie unter Punkt "Die Temperatur in den Räumen ist nicht niedrig genug" | - befolgen Sie die Anweisun-gen unter Punkt "Die Tempe-ratur in den Räumen ist nicht niedrig genug" | |
| Im unterem Teil des Kühlrau-mes sammelt sich Wasser | Die AblaÖffnung ist ver-stopf (betrifft Geräte mit Entwässerungsöffnung) | - Mit Hilfe des Räumwerkin-stru-ments die AblaÖffnung durchstehen (siehe Ge-brauchsanweisung, Kapite |
| Eine frei Luftzirkulation im Kühlraum ist nicht möglich | - Die Lebensmittel und Behälter von der Hinterwand weegrücken. | |
| Es treten für das Gerät un-gewöhliche Geräusaue auf | Das Gerät ist nicht eben ausgerichtet | - Das Gerät aussichten. |
| Das Gerät kommt mit Mö-beln oder anderen Gegen-ständen in Berührung | - Das Gerät frei aufstellen, so daß es keine andere Ge-genstände berührt. | |
| Die Temperatur in den Räumenist nicht niedrig genug | Falsche Temperatur-einstellung | -Einen hohenen Wert ein-stellen |
| Höhere oder niedrigere Umgebungstemperatur als in den technischen Daten (s.Tabelle) angegeben | -Das Gerät ist angepasst an die Temperatur, die in den technischen Daten (s.Tab- le) angegeben ist | |
| Das Gerät steht an einer di-rekt von der Sonne bestrahl-ten Stelle oder darüber einen Wärmequelle | -Das Gerät an einer anderen Stelle gemäß Gebrauchs-an-weisung aufstellen. | |
| Es wurde eine zu große Men-ge von warmen Lebensmit-eln auf einem eingelagert | -Warten Sie bis zu 72 Stun-den , bis die Lebensmittel eingefroren sind und die erwünschte Temperatur im Kühlraum erreicht ist. | |
| Keine frei Luftzirkulation im Kühlraum | -Die Lebensmittel und Behälter von der Hinterwand abrücken | |
| Der Luftfluß hinter dem Ge-ät ist blockiert | -Das Gerät mindestens 3 cm von der Wand wegrücken. | |
| Die Kühlraum-/ Gefrier-raumtür wird zu oft geöffnet und/oder bleibt zu lange offen | Beides muss unbedingt ver-mieden werden | |
| Die Türdichtigung wurde falsch angebracht | Die Lebensmittel und Behäl-ter anders platziern | |
| Der Verdichter schaltet Selten an | -prufen, ob die Umge-bungstemperatur nicht nied-riger ist als der Klimaklasse des Gerätes entspricht | |
| Die Türdichtigung wurde falsch angebracht | -Die Türdichtigung einpressen |
Beim normalen Betreiben der Kälteanlagen konnen Gerausche understandslicher Art auftreten, die keinen Einfluss auf den Betrieb des Kuhl-schranks haben.
Gerausche, die leicht zu beheben sind:
- Lautes' Betriebsgeräusch, wenn der Kühlschrank nicht senkrecht steht - Stellung durch die Stellschrauben vorne verändern. Eventuell unter die Rolten hinten weichen Stoff legen, vor allem, wenn das Gerät auf einem Fliesenboden stehen.
- Reibung an benachbarte Möbel - Kühlschrank abrücken, so dass er frei steht.
- Quietschen von Fächern und Schubladen - Fach oder Schublade herausnahmen und wieder einschieben.
- Gerausche von sich berührenden Flaschen - Flaschen voneinander verschieben.
Gerausche, die bei normalem Betrieb zu horen sind, entstehen durch den Thermostaten, wenn sich der Kompressor einschaltet, sich das Kühlsystem zusammenzieht oder ausdehnt und wenn Temperaturschwankungen aufgrund des Durchflusses von Kuhlmittel in den Röhrchen entstehen.
GARANTIE, NACHVERKAUF- SERVICE
Garantie
Garantieleistungen laut Garantieschein. Der Hersteller übernimmt keine Haftung für Schaden, die durch den unsachgemäßen Betrieb des Produkts entwickelten sind.
Wartung
- Der Hersteller empfeihlt, jegliche Reparaturen und Einstellararbeiten von einem Werksservice oder vom Hersteller autorisierten Kunden durchführten zu halten. Aus Sicherheitsgründen sollen den Sie das Gerät nicht selbst reparieren.
- Von Personen ohne die erforderlichen Qualifikationen durchgeführte Reparaturen können für den Gerätebenutzer eine ernste Gefahr verursachen.
Die vom Hersteller, Einführer oder Vertragshandler gewährte Mindestgarantiezeit für das Gerät ist im Garantieschein angegeben. - Im Fall unbefugter Anpassungen, Änderungen, der Verletzung von Plomben oder anderer Sicherheitsvorrichtungen des Gerats oder Teilen davon, sowie im Fall sonstiger unbefugter Manipulationen am Gerat, die nicht der Bedienungsanleitung entsprechen, verfällt die Garantie für das Gerät.
Reparaturmeldungen und Hilfe bei Fehlern
Wenn das Gerät repariert werden muss, wenden Sie sichitte an den Kundendienst. Die Adresse und Rufnummer des Kundendienstes sind im Garantieschein angegeben. Halten Sie, wenn Sie den Kundendienst anrufen,itte die Seriennummer des Gerats bereit. Diese befindet sich auf dem Typenschild. Notieren Sie sich die Seriennnummer der Einfachheit halber am besten hier:

CE-Konformitätserklärung
Der Hersteller theses Produktes erklart hiermit in alleiniger Verantwortung, dass theses Produkt den einschlagigen, grundlegenden Anforderungen der nachfolgenden EU-Richtlinien entspricht:
Niederspannungsrichtlinie 2014/35/EG
Elettromagnetische Verträgelichkeit 2014/30/EG
ErP - Richtlinie 2009/125/EG
- Richtlinie RoHS 2011/65/EG
Das Gerät ist mit dem Zeichen gekennzeichnet und verfügt über eine Konformitätserklärung zur Einsichtnahme durch die zuständigen Marktüberwachungsbehörden.
EinfachAnleitung