SEGWAY ES1 - Электросамокат NINEBOT - Бесплатное руководство пользователя
Найдите руководство к устройству бесплатно SEGWAY ES1 NINEBOT в формате PDF.
Вопросы пользователей о SEGWAY ES1 NINEBOT
0 вопрос об этом устройстве. Ответьте на те, что знаете, или задайте свой.
Задать новый вопрос об этом устройстве
Скачайте инструкцию для вашего Электросамокат в формате PDF бесплатно! Найдите своё руководство SEGWAY ES1 - NINEBOT и возьмите своё электронное устройство обратно в руки. На этой странице опубликованы все документы, необходимые для использования вашего устройства. SEGWAY ES1 бренда NINEBOT.
РУКОВОДСТВО ПОЛЬЗОВАТЕЛЯ SEGWAY ES1 NINEBOT
| i | Важения вedoхорец и кориси peko-Mehдацils удио Викориссан. БАВА: П一步一步 по несяз-почни ситуацils, по('язani 3 безpekuю ддя кИТТУ Майна. |
| ! | П一步一步 по несяз-pekuю винке-нени пожеси. |
| П一步一步 по несяз-pekuю ризке урахенья[eilektpruchим стугом. | |
| Клас зашисту вidi урахенья[eilektpruchим стугом. |

Ley npictpi BurotoBneHO ha 6e3neuHnX dIa DOBkInna cyachnx 3aOdaX, kI He uokOraTb DOBkiJIIO.
1
BaxnnBi iHctpyKci 3 texhikn 6e3nekn oXopOHn DOBkijla
1.1. 3araJIbHi npaBnla texhikn 6e3nekn
BaxnBi iHCTpykci 3 texhikn 6e3neKn: yBaJHo O3HaIOMTeCra Ta 3bepejItb IJa IOnaJIbIomega BIKOpNCtAHNЯ
LcEi po3diI MICTNtB iHCTpyKci 3 texhIKI 6e3neKN, DOTpIMaHHraKINX DOJOMOKe BnKJIIOUHTn pN3NK BUNHKHeHH NoXeKi, ypa-JeHHN EJIeKTPuHNM CTPyMOM, BnPINBy BNTOKIB MIkPOXBnIBoBOrO BnIPOMIHIOBaHH, OTpIMaHH IHNx TpaBM a60 3aNoDiHH MaTePiaJIbHOI ShKOdN. Y pa3i HeIDOTpIMaHH Nux iHCTpyKciY ci rapaHTiHi 306OB'zAHNaHnaHyNJIOHTbcra.
-
PpOdyKciTTOPROBmApKn Beko BiIDNoBIaE YINHnM CTAHdaptam 6e3neKi; y pa3i NOsKOJxHeHH eIeKTPoPnPnAdu a60 shHypa XNBLenHn, 0o6 yNHKHyTN He6e3NeuHnx CNTyaCi, pEmONT a6o 3amIny NOBnHI 3diChIOBaTu DnJIep, CepBicHi cHTp, faxIBEb a6o ABTOPn3OBaHa Cnyk6a. HenpaBnIbHo a6o HnPoPecioHaJIbHO BVkoHani pEmONTPi PObOt MOnyTb PpN3BeCTn Do He6e3NeuHnx DnI KOpNCtBuBaCNTyaCi.
-
Zei eIeKtpoPnJaD npu3Ha-yeHo TiIbKn DJIa NObyTOBOrO NIOi6Horo 3aCTOCyBaHHa, a came:
-y KyxohnX 30hax dIJI nepcoHaJy B MaRa3HnHex, oOicax Ta iHux po6oynx npimiiueHnIx;
- HaΦepMax
- y HOMepax roTeJIb, MOTeJIb TOU;
- y npimiiueHHx, 70 HadaIOTbcI IpOJINBaHHHaymOBax HanibnHcioHy.
BukopncToByte ceen eJektpo-npnilad tIbkn 3a noro 6e3no-cepedHim npn3HaueHHam, kOncaHO B cboMy nocihny.
Bnpo6HnK He Hece BiDnOBiDaJIbHOCTI 3a 36NTKn, RKi BnHKnBHaCNIIDOK HEnpabNJbHOrO BCTaHOBJeHHa6o HeHaJIeX-HORo BnKOpNCtAHNRA Bnp6y.
- Zei npilad He npn3haeNo IJRA BIKOPNCTaHHI DITbMI BIKOM Do 8 pOKIB Ta OC6aM 3 O6mxeHMMn o3nUHMN, CEHCOPHMM aBO PO3yMOBMM MOXJIINBOCTaMn aBO OC6aMn, RKi He MaOTb BiINOBiIDHOO CBiDy uN 3HaHb 3 BIKOPNCTaHHI npilady, 3a BInHrKOM BINpAldKIB, KOJI IN BOHN nepe6yBaHOt bPiI HargJaDMo aBO npoIHcTpyK
1
BaxnnBi iHctpyKci 3 texhikn 6e3nekn oXopOHn DOBkijla
TOBahi 0doB BnKOpNCTaHnI npncTpoB 6e3neuHn CnOci i po3ymiOTb He6e3neky.
BnKOpNCTaHnI dItbMn Bnpo6y IkripaWKn 3a6OpOHeNo.OuINUeHHN IOscnyrOByBaHHN He MaHTb 3dInCHIOBAtN dITn 6e3 HargJy.
MiHimaIbHa BiDCTaHb MIX ONOPHOIO NOBepXHeO EMHOCTI DJIAPNIROTyBaHHI Xi Ha BapINbHiIOBepxHi N HauHnXQIOUCAHTIHOO BnPO6y MaE 6yTu HeMeHSe 65 cm.
-Якшо iHCTpykciя сою Встановленья ra30BOI BapnilbHOI NOBepxHi Bn3Naue € bIbuy BiDcTaHb, Taki pekomehdaцii Tpeba 6patn do ybaru.
-ipekehntecy, 0o BaSha eIektpnHa Mepexa BiIOBiDaE BImOram, 3a3NaueHnM Ha nacnpTHi T6nuci npnaNy.
- Y xoHOMy pa3i He KOpNCtUyTecr eJekTpOpiJaDom, kIoo shHyr XnBJIeHnra abo cam eJekTpOpiJaND oNkOjXeHo.
- Hamaraţecr 3anobiratn no-
- shkoşxeHHIO Kaşelio XnVBneHnry:
- yHnKaIte NOrO CTnCKaHHy, 3n-
- HnHaHHa 60 KOHTaKTy 3 roCTpIMN
- pPeDmetAm. He TpImaIte Ka-
- 6eJIb XnVBneHHra Ijra rapaunx
NoBepxohb i BiDkPnToro BOrHIO.
-Пид'еднання пиладу Тpe6a 3ДИСHIOВATN ВКЛЮЧNOВ рОЗ-ETKY i3 3a3eMLIOBAJIbHIM KOHTAKTOM.
YBAG: He piD'edHyte npiJaD do eIeKtpomepeXi DoCiIKOBNToro 3aBepWeHnMoHTaxHnx po6it.
- Po3Ta7uYte npnlaTak, 0o6 BnIka 6yJa 3aBxDn DoCTynHOJ.
He TopkaTecn lamn nicna ix Tpnbano'i pOboTu.BoHn MaOTb BnCOky Tempepatpy N MOxyTb 0bnekTu KInzIBKn.
-ДOTPIMyIteCЯ Bn3NaueHIX KOMTeHTHMn OpraHaMn IpaBnI ΣOIO BiDBeDeHNe NOBiTpyHnx Mac (eI nonepedJeHHr He 3actOCOBYETbcr DJIa BnKOpNCTaHb 6e3 ra3OBiDBoIDIB).
- EKcnpnyataci npnilady 3di-nCHIOCTbCSn iCnla PO3MiueHnHaBaPnIbHi NOBepXHi KAcTpyJI,CKOBOpIDKn TOnO. INaKSe BnCOKa TempepaMoKe CnpNCHHTNeΦopMyBaHnJeJaKNDeTaJIe BNpo6y.
- Парад 3няпг am KaCTpyЛi, ckoBOPiДКи TOnO BmKHiTb BaPnIbHy NOBepxHIO.
1
Baxnnbi iHctpyKci 3 texhikn 6e3nekn oXopohn doBkijla
He 3aIIuShaIte rapauy oniHa BapnIbHi nOBepxHi. CkoBopiKn i3 3aIIuKamn rapaoyoIOniMoKyTb 3arOpitncra.
3BepHitb yBary Ha 7tOpn my Ooxn, OckIbKn OIIa MoKe 3a- ropitncn iD Yac npiroToYBaHHra Ixi, HapnKJaad KaptonnI ppi.
3aminy KINPOBNOBIOBAJBHOro 0iNbTpa Tpe6a 3dIiNCHOBATn 0ohaiMeHwe pa3 Ha Micra. 3aminy ByrIbHoro 0iNbTpa Tpe6a 3dIiNCHOBATn 0ohaiMeHwe pa3 Ha 3 Micra.
-Чишина Виpopу Треба Виков hybatи BiДпОВIDно Do peКOMeHдaцi, 3a3начЕнx y nociбнky Kористувача.Якso Chишина Виpopу Виковыалос He BiДпОВIDно Do peKOMeHdaцi nociбнka Kористувачa, iChyec pN3NK BИNHКHeHня nOxexi.
BukopnctaHn npotnoKexhnx iIbtpyBaJIbHnx MaTepiJIb 3amictb NOTOuHOro fIbTp a 3a-60pOHeNo.
BukopncToBynte Jnse opurihbHi DetajI a6o X DetajI, peKOMeHDoBaHI BInpObHkOM.
BnKOpncTaHnB BnO6y 6e3 pfIbTp a N BnMaHnA FJIbTpipB Pid Yac po6OTn BnO6y 3a6opoHeHO.
- Y pa3i BUNHKHeHnI NOJExi BN-MKHiTb KINBJIeHnB INPO6y N KY-XOHHNX npInaIb.
- Y pa3i BUNHKHeHn NOJExKi HaKpNiTe NOpym' Ta HIKoN He BVKOPNCOTByIte BODy IJa INoRraciHHa.
Bid'ednyte npnilad Bid elektpomepexi neped KOxHm YI-ueHHaM, a TAKoK KOJN BIn He BnKOpNCTOBycTbCra.
-Пд часоночас hoі роботи BИТЯЖКДЯ eLEKTPNUHoi BAVINbHOI nAHeJI a6O dJa npINAiB, lo npaIOTb Ha iHOMy BnDi eHeprii, BiMInHOI BiEeKTPKN, BiD'EMHNI TnCK HABKOINHbORO cepEOBnua He NOBInHe NpeBnUzBaTn 4 Pa (4x106ap). - Y npimiiueHHi, De BnKOpNCToBByeTbcraPnlaad, BnXlonHi ra3n npinCTpoIB, 10 npaIouTb Ha Ma3yTI a6o ra3i, HapnKJaHarpiBaaya npimiiueHHa, NOBnHI ByTu ab6cOJIOTHO i3OJbOBaHmN a6o J Takn npinCTpiI IOBHeH Matu repMeTnUHe BnKOHHa.
Пид часпд'бнання ra3OBiB O body BnKOpncTObuYte Tpy6n diametpom 120 abo 150 MM. Tpy6onpoBiD Mae 6ytn yko
1
Baxnnbi iHctpyKci 3 texhikn 6e3nekn oXopOnn DOBkiIJIa
MORA KOPOTUIM i MaTn YKOMORA MeHsY KiIbKiCTb KOJIH.
He6e3peka 3aIyxn! 36epi-raIte naKyBaIbHi MaTepiAIn B HeIOCTynHOMy IJIa DIteMicci. O6epeXHo!PiJ qac BVKOpNCTaHHK KyxOHnX pPnlaIDB JeKoOCTynHl DeTaJI MOkyTb HarpIBaTnCra.
BunycknO oTbip Bnpo6y He MoJHa NiD'eDHyBaTn Do NOBi- TpAHHX KaHJIIB, De e iHsNI dM.
KoIi BnTjXka IJI eJIeKtpuHOI BapnlbHOI NaHJI BnKOpNCTOBYETbcra OJHOUacHO 3 npNCTPOrMn, IIO pauOIOJB Ha ra3i YI INHOMy naINBi (Ce MOKe He CTOCyBaTNCRA pINJaIB, kIi JIiSe BnPyCKaIOB NOiTPR B nPIMiSeHH), BEHTNJIOBaHHB B nPIMiSeHHI MoKe 6BytN HeJoCTaTHIM.
- PɔзMiцeni Ha Bnpo6i npeMeTn MoKyTb yNactn. He pOzMiuYte Ha BNTJxci 6yDb-яKI npeMeTn.
- Φламбуваня Страв, як роз-tашованoi пд виробом, заборонo.
YBAGA: IpepeI yctaHOBJIeHNHЯM BNTJXKN 3HiIMt b 3axnchy nnibky.
Hikon He 3aIIuShaIte DJapeNa BnCOKOro BiDkPntoro NOpym'piD BVITXKIOU, kka npaioE
Tpe6a 3abe3neuHTn noCTiHn KOHTpOJIb fprntOpHnucIpiJ yac ix po6OTn: neperpita onia moKe cPalaXHyTu.
1.2 BiДnobiДиHICTb BИmOram ДиpeKTHBn ΚΟDo yTnIi3y- Вання BiДхОдIB eLEKtpnUHOrO и eLEKtpoHnOroобlaДиHнЯ (WEEE)Тa yTnIi3yBaHнЯ по- dYkTu:
Lcen npnctriB iDIOBidae BmOram DnpeKtNB EU WEEE
(2012/19/EU). Léen Bπi6 maç KλaçnφιkaúiHni
3HaK yTuIi3yBaHnH BiXoDiB eNeKtpuHOrO n eNeKtpoHnHO 06NaIaHaHnH (WEEE).
Lcen 3nak O3Haaye, 0o cei Bnpi6 nicJy 3aBep- uHHe CToKpy Cnyx6n He niDJaRae yTnIi3yBaHHIO pa3OM 3 iHsIMN NObYTOBMn npuadam. YxHBnN pncTpi Tpe6a 3daBAtn Do ophiuiHoro nyHKty yTnIi3yBaHHReJeKtpnHoro N eEeKTPoHOrO oBnaHn. IHopMaioo 0do po3TaUyBAHHa TAKNX NyKtIB MOxHa OTPMaTN B MicceBnx Oprahax
1
BaxnnBi iHctpyKci 3 texhikn 6e3nekn oXopoHn DOBkijlln
Bn a6o B ToCu pO3pio6Horo npo4xgy, De 6yNo npu6aHo BVip6. KoxHe DOMOB0IoHnB iDITpaE BaxJInBy poIb
y BiHOBJIeHNi I nepepo6ci cTaPnX nObyTOBnX npJlaIb.
HaIexHe yTnIi3yBaHnB BnKOpncTaHnx npuIaIb CnpnaE 3aNo6irAHnIO HeratNBHX HacJIdKIBДЯ DOBkIJIJa Ta 3DOpOB'JIoIHN.
1.3 BiДnobiДиHICTb BИMOram ДиректNB EC ΚΟДо оБмe-жehня ВИКОпСТаHHЯ He6e3-пeчнx peYOBuN
5.1.Фильт-жиробловьач
Bntjka o6nadha anHomHIEBM fIbtpom, knn ytpmye qactnKnx jny, kni yTBopOToBc nid qac npirotoybaHHia xi. 3o6 3nTn fIbtp, nepemictt b 3amky hnapmyk, Bka3aHOMy cTpiKAMN (Ma1.7). fIbtp cniD npomTu BpyHy, 3aHypnbH noro ha 15 xbunH y BOy 3doabAHnM 3ac06y dna MTTT NOcydu npri Tempepatyi 40-50 ^ C .Yepe3 15 XBUNH MOXHa npoDBXHTN MTTTa npomTu NCTOBOHOIO. NobHCTU BNCuWitb fIbtp nepeD BCTAHOBJIeHHM y BNTJCKy. fIbTp MOXHa TAKOX MNTB NOCydomnHi MaunHi. Pd qac MTTA fIbTp MoKe 3miHnTn KOJip, npote ce He BVnBaE Ha noRo fIbtpaui Hi BnactnBOcti. Heperyrpe YnueHHa fIbTp 3MeHwye pOdoKTNBHCtB BNTJKK mOKe CnpuHnHTn p3Nk BNHNKHeHHa NOKexi. fIbTp notpioHo uCtHTn pInHaMHi nicJa KOKHX 35 rOnH pOobTN BNTJCKn.
5.2. Byrìnbún φínbtp
BITRAKMOKe 6yTN OCHAeHa ByrINbHM
fIbTpOM.ByrInbHn FInbTp 3actOCOBYeTcBc
LIuE y BnPaKy, kUO BITRAKHe nID'EDHaNo
BENTNpuiHOI Tpyo.
ΦiNbTp CnIa BCTaHOBuTn Ha KOpNyci Typ6Inn,Я nokazaoHa 3o6paJxehHi (MaI.10).ByrInbHi φiNbTpncIa 3amHIOBAtn pniHaMHi uepe3 KoXHi 6 MiczuiB.

He cnid npommbaTn Cn BiHOBIOBA- Tn ByrInbHn PijIbTp.


MaJI.10
5 Ouichienni i Texhiyhe o6cnyrobyBaHHa
5.3. 3aMiHa JIaMn
Ipeep BnKoHaHHM 6yDb-4kNx pObiT, NOB'3aHnX i3 3AmHO Iamn, 06OB'3KOBO BiD'cHnTe BNTJkxy BiD Mepexi eNeKTPOXNBHeHn. JKIO BNTJkKa IonepeHbO 6bYBa KlnOyeHa, C1d 3aueKaTu, DOKI IaMnOxONoHyb, NcIe YORo MOxHa PpOobKHTn 3aMHy. PpOec 3aMHN IaMn POKa3aHo Ha Man. 11.

Ipeed 3amHIO JAMn BiD'EnHaNte BNTJKKy BiD Mepexi eJeKTPoXNBJIeHH.

|  | ПЕДУПЕЖDEHNE: П畴у畴хдение сревши onаши ситуаши OTнOCно здравETO и COбстvehoctта. |
| Преупождени 3a onасност от пожар. |
| Предунгждени 3а опасноct OT TOKOB у dap. |
| 3aшитен Клас 3a TOKOB удap. |

UpeBt e pOon3BeDen B eKoIOnuHn, CbBpeMeHH n fo6pIKN, KOIT He BpeJrTa Na PnpOpaTata.
1
Baxhni nHcTpykuni 3a 6e3OpaCHOCT N ONa3BaHe Ha OKoJHaTa CpeDa
1.1 067a 6e3onacnoct
Baxn nHctpykun 3a
6e30napocnt Ipoyetete
BHMateJnHO nTn 3ana3eTe 3a
6bdeua cnpabka
To3n pa3dcl sbdbpka nHctpyk-
znn 3a 6e30napocht, KOHTO uce
BN NOMORnat da ce 3aunITte
OT pNCK OT NOXAP, eNEKTPNI-
yeckn yIap, n3laRaHe Ha yTeUka
OT MKNPOBbJNHOBA eHeprna;
HapaHЯBaHe nII NIOBpeDi Ha
co6CTBeHOCCTta. HeCnA3BaHeTO
Ha INHcTpykUnTe IpaBV BcKa
rapaunia HeBaJIiDaHa.
-
Пюдуктinte Beko sbOTbETCTBaT Ha npiloxmnte CTaHdaptn 3a 6e30anachoct; eTo 3aIo, B cIyauHa NoBpeDaNo ypeDa nIIN 3axpaHbauniaKa6en, Toi Tp8Ba Da 6bDepeMOHTupaH nIIN CMeHeN OTnIbP, CepBn3eH zENTbp nIIN CPeuaJIncT n OTopu3napaH cepBn3 C ZeI N36yRbAhe Ha BCaKbN OnacHOCTn. IorgpeSeH nIIN HeKBaIIΦnUparan peMOHT MoKe Da IOBeJe Do ONaCHOCTn PnCK 3a Notpe6nteJIA.
-
UpeiBt e npeHa3NaueH 3a 6nTOBa ynpTe6a n PoIo6Hn npN
JIoXeHnKaTo:
- KyxHeHcN 30Hn 3a nepcoHaJa B MaRa3uHn, OoHcN n dpyrnpa6OTn Cpei;
-ΦeρМeρСКиКьши
-OT KJIeHTN B XOTeJN I npYrBnIOBE JINIuN CpeNi,
-MecTa 3a HOnyBka CbC 3aKycKa. - Използвашие урEDA само по празда зашиени, КAKTO e ONИСАно В TOBA рьковордъв.
- ПюиЗВODиTeЯн He HOCN OTROBOPHOC 3a NOBpeDN B pe3yЛТаT Ha He npaBnIeH MOtajKIIH He npaBnIHa yNotpe6a Ha npOdykTa.
To3n ypeJ moKe da 6bJe n3- pOJI3BaH OT Deca NaI 8 rOdiHn IInuCa C OrpaHnueHn fN3UeCKn, CEn3OpHn INn UmCTBeHn CNoCobHcTn INn TaKnBa, 6e3 Heo6XoDnMna ONNT IN P03HaHnA, aKO CbIHTe Ca NaI3nPabAHn INHCTpykTnpaHn OTHOCHO YIpOTpe6bata Ha ypeDa IIO 6e3OpacEH NaUnH n Ca HaYACHO CbSC CBbp3aHnte PNCKOBE.
Ha decaTa He Tp8Ba Da ce N03B0JyBa Da nIgpaT C ypeDa. POniCtBaHeTo N PoIdpbXkata
1
BaxHH nHcTpyKcHn 3a 6e3OpaCHOCT n ONa3BaHe Ha OKoJIHaTa cpeDa
ПО-BИСΚОКАТСКОРОСТ OЗнача ВОBEЧЕ ВБДУSUHEN NOTOK.
- HaTnCHete 6yToHa 3a Da BkJIouHIne OCBetJIeHHeNo. HATnCHete 6yToHa NOBtOpHo, 3a Da N3KJIouHIne OCBetJIeHHeNo.
6.2 MeToOn 3a HamaIyBaHe Ha Bb3DeIcTBnETo OT IpoUeCa Ha rotBeHe B'bpxU OKoNHaTa CpeDa
3a Da HamaJIInTe KOHCyMaIuIaHa eNeKtPrUecka eHeprNIA, rOTBeTc, n3nO13BaIKN KaIauITe Ha KxHHeHckITe npBOpN.
- AynmHneBte ΦnItpn TpI6Ba da ce nOndbPkaT YnCTn (npenOpbUnTeHnHaT npOdbNknteHnOCT Ha paOta Ha aynmHneBna FnITbp Mekdy OTdeHNte NocHTBaHn e MaKcImyM 35 yaca paOta Ha abcop6bAtopa).
- IorpnjkeTe ce 3a npoxoJIMOCCTTa Ha BeHTnlaauOHnTe Tpb6n.
HnBoto Ha pa6oTa Ha TypbHata npn rotBeHe Tp8Ba BnHaT Da e HacTpoEHO Ha MNHMaJIHa CTeneH, KOEt IO3BOJRA Ba OTCTpaHraBaHe Ha n3napeHnra Ta npn TeKyuAta INTeH3NBUOCT Ha rotBeHe.
| Симптоми | Причinhа | Метор 3a коригурахе на пооблесу. |
| По врeme на равota на abscopбаторa, ce nokazba пемигваша буква „F". | Сnéд 35 час равota, abscopбаторьТпоказьа HeobxodimocTTA OT поисвае ил CMян ha maclenneyфпгьр. | Натисөгүмүл задрьхгүүл о когло 8 сек. Бутона „" Ha сэнзоригу пален 3a улравлени. Фплтьгт trябва д оьдд поисuten B sbdomma liha машин iллдддддддддддддддддддддддддддддддддддддддддддддддддддддддддддддддддддддддддддддддддддддддддддддддддддд徳. |
| Диспелгий роказь само симьOLA „." (Minycи точka в Dechenя доны), abscopбаторьт He pearsipa Ha msklquvahe. | Сэнзориггий пален 3a улравлиенье e zakлочen - тази Фуншонhalносту унechьа поисвае Ha abscopбатор. | Здд Дэл Злочite залочьанeto, ratichetegи издрьгүүл о когло 10 сек. полес CBSC cimьола 3a Вклочete OTHOB. |
| Ha dinspлгий He ce nokazba симьOLA, abscopбаторьт He pearsipa pri Hatncskahe Ha noletata 3a улравлипe. | Сэнзориггий пален 3a улравлиенье ворогин e пухystановил павот. | Излоче abscopбатор ot zaxpanhaibaneto 3a okono 15 сек. и Г Вклочete OTHOB. |
| Ha dinspлгий ce nokazba симьOLA Ha ednaоот Stelenite; abscopбаторьт He pearsipa pri Hatncskahe Ha noletata 3a улравлипe. | Сэнзориггий пален 3a улравлиенье ворогин e пухystановил павot. | Излоче abscopбатор ot zaxpanhaibaneto 3a okono 15 сек. и Г Вклочete OTHOB. |
| Турьнatable Ha abscopбаторpe ce nsklquva сnéд 15 мин. равota, disnilлгий роказьа пемигваша улфр, happ., 1." (Tekyuцда Steleni ToCkВь Долпials DeceH bT). | Актувиран e abtomatчunьай таймер Ha панета 3a улравлипe. | Здд Дэл Zлочite залочьанeto, ratichetegи издрьгүүл +"" Илнзлочete abscopбатор. |
| Причесыртä Stelene, Ha dinspлгий р medicьгьцуллару, 4", сnéд 5 мин. Stelene Na StPOMeHЯ на Trpeta. | Abscopбаторьt e obopydvan c Tpy6o peşим, Кйт Oваматчногипrel BKLQUvBa Ha Trpeta Stelene Sted 5 мин. Работа, за япесу e heprn. | Турб Stelene Травьда селлonsBaCAMо р�и InteHTeNIBHOTBVEHe. |
| С abscopбаторma може де се равoti Camо с Иллальане Ha панета 3a улравлипe. | Бaterяпая НдстанцhoHOTO e npazha Илл пазstordиeto e TBbPde roJYMO. | Смене Балеряда сюва. |
| Abscopбаторьт e CTBpide Nitska Stelene Ha n3cmykbae Ha n3napenigra. | Верогната причina Ha сaramьрениФплтп. | Маленягн Tpinlbр trябда дблde поисuten B sbdomma liha машин iллддддддддддддддддддддддддддддддддддддддддддддддддддддддддддддддддддддддддддддддддддд徳. |
| Edna ilлповаче ot CBETlinihte He paobotr. | Дебжтнххалoreнha/ CBetodinODha Kpyuksa. | Еlektrческага Крушика trябда дблde Смени C nobla, CBmectima CBSC CIMBONA, указан B harbayнika C inhctpykuzn 3a kuxhenckia abscopбатор. |
| Abscopбаторьт повизда TBpde Stileni Shum v Bnopaizna. | Тoba може де с néblжн Ha neparulilneMHontack Ha abscopбаторьКьм Stehata Iлл Kuyhenckite ShkafoBe. He ca Иллальани BCNUKKN BnHTOBE,Прedingabengи B Kompltekn Iлл TE ca 6bln XlaIbAO zaikpeneni, OCTabryki Празноюпсь. | Абсорбаторьт trябда дьde мOLTURAн KBM STehа Иллшkaф, Иллальки BCNUKKN TQKN Ha zarpenBaNe, поочenvi OT pronoiBoditelny. Сnéд perennialпа He nOtsiцутЯ Ha abscopбаторa xoxim30HTaJIHO VBPKANII, zhertNKJIHO, zateHHTe BCNUKMOHTAKH NINTOBE. |
| * ріріліожимо 3a abscopбатори сьс ссзordnoу уралvelип. | ||
| Акіи ISбренITE ралрькін He reшавat habінчін ралрь�н CBpkeTe cse c улрінHomошін sepви 3a ріріmont Ha domakінскіу урdeni. Ріріні КініКівіобстітіві He pomerntіріte abscopбатора camostятелно. B rapaцhiонн {@карта на урdeni и на habішія убсайіт пірінoctавен CBmblHomошін'te sepbivni. | ||

Бытовая Кухонна Вытяжka
Инструкцию окспунатуци

HCA62320W
HCA62320B
HCA62320WH
HCA62320BH
RU
O3HaKOMbTeEc b c 3TtM pyKOBoDCTBOM npeEd HaayaIOM 3KcPnyatau!
Ybaxaembl nokynteIb!
БлагоаримВась ВьборэTOROиЗдениКOMпаниВек.Мынадемс,чTO npODYкши,ИЗТOTOBЛЕннаяНаCOВрЕмEHOMOBOPYДОВАHиИМЕЮШАВICOKИУровенkaЧecТВ,БудETСNYЖNTБAMHAИNUЧИМOBpa3OM.ДЯЗTORO,перед НачалOMЗКПЛУATAUCHN,BHIMATEЛБНРОЧТЕДANHOOPEyKOBODCTBOИСБПОЧЕ COПОНДТЕЛБHьIEДOKUMEHTbI,NICNOЛБ3YЛTEnxBДАЛБНeHшEMВСПАВОЧьIXцELJX.PPINPEDAQUEyUCTBAДPyROMyЛINCU HeO6xOДIMOТAKKE ПEREDATb 3TOpyKOBODCTBO.C6ЛЮДайTe yka3AHNA,KOTOpbieДaHbIB3TOMpyKOBODCTBE ПОЛБ3OВАТЕ,ИобрашaiteOCOBoE BHIMAHHeHaCnPaBOUHbIe NOMETKN INпразупжdennia.
ImeTe B BVny, YTO daHHOe pyKOBOcTBO NOJIb3OBaTeJRA MOKe TAKKe OTHCnTBcK IdpYIM MoJeJAM. Pa3NnuJMaMeJy MoJeJAm YeTKO ONiCaHb I BYKOBOCTBe.
YcNoBhIe 06O3HaueHnIa
B pa3nbix pa3detax daHHoro pykoOoCTBe noIb3OBaTeJI NCIOJIb3yOTc CneDyUOuNE cIMMBObl:
| i | Важна унформацьи и полесные советы OТностеловсякпунатуши. |
| ! | ПРЕДУРPEЖDEHNE: Рпедуржденья об onасносту Травимеровения ялій повржденья Имучесва. |
| Ппедуржденье об onасносту ВОЗноковения пожара. | |
| Ппедуржденье об onасносту поожени злес trpvчески.TOKOM. | |
| Клascь зашиты ot поожени злес trpvчески.TOKOM. |

3TOT npnbop n3roTOBneH Na 3KoJIoRnUeCKn 6e3BpeHOM COBpeMeHHOM o6OpyIOBaHnn, 6e3 HaHeCENr yuep6a OkpyKaIOUeN cpeJe.
1 BaxkhbIe HNCTpyKcHn IIO TexHnke 6e3OpacHOCTn IN 3aunTe OkpyKaHOUsE cpebl
1.1.Овцие па вILA texнки 6e3oNaCHOCTN
Baxhble nHCTpyKcnn IIO texnke 6e30NaChOCTN: BHIMaTeNbHO O3HaKOMbTeCb I COxpaHnte ДЯДаЛьНeIшero IcNoJIb3OBaHnA
B 3TOM pa3dene CoedejkaTcra IpaBnla TexHnKn 6e3OpaCHocTn, Co6JIHODeHne KOTOpbIX N03BOJNT NCKJIIOUHTb PnCK BO3HnKHOBeH HnRA NOXAPA, IopaxEHnRA 3JIeK- TPnueckm TOKOM, BO3dEINCTBnRA YTeueK MKNPOBOJHOBOrO N3JLy- UeHnRA, NOLyehnRA INhBX TpaBM HnI PrnHuHEnRA MaTePnaJIbHOrO yUepe6a. Prn HecobnJOdeHnR 3TNX IpaBnL BCE rapaHTnIHbIe O6Ba3aTeJIbCTBa aHHynpIOTcra.
- I3dEJIa TOpROBm MapKn Beko COOTBETCTBYOT DeIcTByIOU- ⅢnM CTAnDapTAm 6e3OpaHocStn. B clyuae NOBpeJdeHna 3JIeKTPoPnpbopa NnN shHpa nHTAHn, BO n36exHaHne ONaC HbIX CNTyaun, peMOHT NnN 3aMeHa DOJXHbI PPOIN3BO-DITbcr DnJIepOM, CEPBnCHbIM CEHTPOM, CPeUNAInCTOM NnN ABTOpIN3OBaHHo Cnyx60i. HenpaBnIbHO nn HeNPoPeCCNoHaJIbHO BblONHeHHbIe peMOHThBe pa60tbi MOryT pRnBECTN K ONaCHbIM DnI POnlb3O
BATEJI CNTyaucnM.
- ΘTOTПриборпре徳на3наченTOЛько ДЯ РыTOВОгИСХОД-HORO C HIM РимЕнеля, ameHHO:
-B Kxyxohhbx 30Hax IJy nepcoHaJa B MaRa3nHax, Ofncax N dpyrnx pa6oynx nOmeueHHx;
- HaΦepMax;
-
B NOMEUeHnX, PpeOCTaBJIeMbIX DJIЯ ПОЖИВаньнуHaYcIobNyx NOJyNaHcNoHa.
-
Исторьштейдампьим заимл лескову прибор толъко по erо п扼могу наз nauseени, кak описанов в дадном руховODCTBE.
-Пюн3ВОДИТЕЛь He HeceT OTBETCTBEHNOCTN 3a JIO6bIe NOBpeJxDEHnA, BO3HnKUWe Bpe3yJIbTaTe HEnpaBnJIbHOrO NcNoJIb3OBaHnA nIIH He npBaBnJIb-HoYCTaHOBKn N3dEJIIn.
-Детистарше 8лет,а takкж Лица C орданчehнblIMN Фи- ЗчесКIMN,CEHCOPHBIMN ИУMCTBEHNBIMC NOCO6HOCTЯМN Плп Бe3 COOTBETCTBYUQUxН HA- ВыIKOB И ONbITA MOryT ИСПОЛБ- 3OBaTB Данньй пибор ТOLTКО ПОД писмOTpOM ИПИ ПОСЛ ПОлуЧЕНЯ ИНСТPyKCUИ ПО NO-
1 BaЖные ИНСТPyкци ПО ТЕХИКе 6e3ОпаСHоCTи 3aшпTe OkрУж�юш e CpeДы
BODY 6e30nachoro nCNoJb3o-BAHnI np6opa N OCo3HaHnCBa3aHHbIX C3TNM ONaCHOCTeN.
He no3BOJMyTe DeTm IrgpaTb c np6opom. He no3BOJMyTe DeTm CAMOCToTeJIbHO BblIOJIHATb Ounchky N ObcIyKuBaHne np6opa.
PacctoHne MeJy onOpHoi NOBepxHOCTbEO EMKOCTeI JIpy PnIroTOBJIeHNA BaPoCHo NAnEIN I CamOHNJXHe YactbIO N3DeJIInI DOJIJKHO 6bITb He MeHee 65 CM.
- EcIn B INHCTpykCnN NO yCTaHOBKe r30BOi PIINTbI yKa3aHO 6OJIbJee paCCToHNe, 3TO CJeDyET pINHrTb BO BHIMaHne.
- HanpЯженье сети ппаняdoлЖно COOTBETCTBOBaTb HOMHaJIbHbIM XapaKTePnCTnKaM,уka3aHHbIM Ha nacnpTHoI Ta-bIuChe эльктponрпбopa.
- Hn B koem cnyuae He noIb3yI-TEcB 3JIeKTPoPnpOpOM,ecNI shHyp nITaHnI nn 3JIeKTPoPnpOp NOBpeXdEnbl.
-Bo n36eXaHne NOBpeXdEHHy hHypa NHTAHnHe DOnyckaIte erO cDaBnBaHn, nepernBa nn KOHTaKTA C OCTpbIMn KpOMkAMn. He DOnyckaIte cOpniKOCHOBeHHy shHpy nHTAHnC TOrpaUMN IOBepxHOCTaMn NN
OTKpbITbIM IJaMaHeM.
BkIouaIte npIbOp TOnbKO B pO3eTKy C 3a3eMJIIOUIm KOHTAKTOM.
ПЕДУПЕХДECHNE: He noДКЛюаITE пибор K ольктpoCETи ДО NOПНOrO 3aВершениразов по установке.
- Θлектponрибор сеунует pa-cnoJaRaTb TAKIM O6pa30M,чTO6bl WTeNCEJBHа BnIka 6bla JERKOJOCtynHa.
He npikacaiTecb K lamnaM, ecn OH naBOTaIN B TeueHne IInTeJbHOro BpeMeHN. 3TO MOxKET Bbl3BaTb OXoR pyK, POCKOJIbKy lamNbi OueHrTopaYne.
CJIeIyIte HNCTpyKzIyM, yCTaHOBJIeHHbIM KOMnTeHTHBIMOpraHAMN OTHOCITelbHO BblNycka OTPa6oTaHNO BO3dYxa(DaHHOpeDynpexKdEHeNkKaCaETcBAHTINJRAUONHbIX Tpy6).
BkIouHte npnbop nocJe TOrO, KaK NoCTaBnTe KAcTpUJIo, CKObOPOy I T.Д. Na BapOchHyU PaHeJb. B IpOTnBHom clyuae BbICOKaTempepatya MoKeT PpNBecTI K DeOpMaun HeKOTOpbIX qacteN 3dJIInJ.
- OTKJIHouaIte BapOuHyo nAHeJIb IpeE d TEM, KaK y6paTb C Hee KAcTpIOJHO, CKOBOpOdy N T.D.
1
Baxhblie nHctpykuu no Texnke 6e3oNaChoctn n 3aunTe Okpykaiooey cpebl
He octablante ropeyee macno Ha Bapouho nanei. KcOboPoDa C ropeyim MacnOM MOxet CTaTb PnUHHo CAMOB03ropaHna.
Cneinte 3a wTopamn n 3aHabeckamn,noCKoJbky npuROTOBJIeHNn TaKnx 6JIIOd, KaK KapToOpelb oprn MacNo MoKeT 3aRopeTbcra.
3aMeHy KInpoUyIaBnIbAteJIa CNeI dyET OcyIeCTBnIbTb, KaK MInHIMyM, pa3 B MeCra. 3aMeHy yroIbHOrO QnIbTp a OcyIeCTBnIbTb, KaK MInHIMyM, pa3 B 3 MeCra.
- UnCTky n3delenna Heo6xOIMOBbIIOJIHЯTb B COOTBETCTBn CHHCTpyKcIyMaPyKOBOdCTBaPONlb3OBaTeJ. Ecnn YnCTkaN3delenna He OcyuieCTBJaETCBA COOTBETCTBn C yKa3aHnAMyPyKOBOdCTBa PONlb3OBaTeJ, CyuieCTBye pNCK BO3HKnHOBeHNrNoXapa.
He nCnoJb3yIte HeorHeynOpHbIe ФИЛБТРУОПиЕ MaTePnaJIbI BmecTo TeKUSeIeroФИЛБТра.
- Испосьтугу Te TОлько opи Гин haьные DeТаПи Или Уж pekeMeHDoBaHьie npOu3BO-DNTeIeM DeTaПи.
He 3Kcnpnyatnpyute n3deJe
6e3ФиЛьТраИ He ChIMaIteФиЛьТрbl BO BpeMЯ pa6OТы ИЗ-ДeЛЯ.
BcIyuae BO3HnKHOBeHnna 0JXapa,OTKnIOHTe NITaHne I3-DeJIINr KUYOHNOIITbI.
BcIyuae BO3HnKHOBeHnnoJXapa,HaKpoTe NCTOuHnK OrHn. PpIMHeHne BODblTuySeHnHe DOnyckaETcra.
- Otkлочаite npnbop ot эльк'tposettn pepeq uncTkO, aТakxe KOrda OH He nCnOlb3y-etcra.
- OTPицateьhoe Давелпные okружаюшей среды He должно певышать 4 Па (4 x 10 yap) BO Вөрмя оновөмEHно pa6OTbI BvITJxKnДЛЯ 3ЛЕКТрческо варочи nAHeHи и пиборов, pa6Otaюшox OT dpyrOTo nCTOCHNka 3HepRnN.
B cpe, rnde nCNoJb3yETcra np6Op, BbIXIOnHbIe Ra3bl yCTpOiCTB, pa60TaUoIcx Ha JxNkOM TOnJIbE IIN Ra3e, TaKx KAK KOMHaTHbI O6OrpeBaTeJIb, DOJXHbI 6bITb NOnHOCTbIO I3OJInpOBaHbI, IIN DoJXHbI 6bITb RepMeTnUHbIMN.
- Пи посоeнени К Вытж-hoи Тубе, Испобзуйт e TpyбыДиаметром 120 ninn 150 MM.Соeиненя Tpyбdoлхны
1
Baxhble nHctpyKuNs no Texnke 6e3OpacHOCTN 3aunTe OkpykaIooSe Cpebl
6bITb KaK MoXHo 6OJee KOpOTKIMN IN MEmTb MNHImaJIbHOe KOJIueCTBO KOJIeH.
CyuectByet onacnoctb yduysb! XpaHnte ynaKOBOHyIe MaTePnAJIb B HeIOCTynHOM dJa DeTei MeCTe.
BHIMAHNE! OoctyHbIe DeTaJInp6Opa MOryt HaTpeBaTbC8 BO BpEma NcNoJIb30BaHn8 KUxOHbIX PJIIT.
- BbIXoI BbITJxKn HeJIb3a NOJ KJIHouaTb B BO3dUxOBoDAm, KOtOpBie 3aHrTbI OTBODOM dpyuNX OTPa6OTaHHbIX BO3dUshhIx Macc.
- BeHTnJIaZnB NOMeUeHn MoKet 6bITb HeIOCTaTOUHO B Cnyuae, ecN BbITJxKa DJIa 3JIeKTPnuecko BApOuHOI NaHeJI NcNoJIb3yETcR ONDOBpeMeHHO C yCTPOiCTBaMn, paBoTaIOUzIMn Ha r3e IJI npTyHX BVdax TOnJIvBa (3TO He OTHOCITcK pPi6Opam, KOTOp bIe TOJIbKO BbInyCKaIOT BO3dYX o6paTHO B NOMeUeHne).
HaxoJauIeScHa n3dJIu npEaMeTbI MoTy yNaCTb. He cJeDuYet KnaCTb NOCTOpOHHe npEaMeTbI Ha BbITaJxKy.
-Фламбироваиме блид под n3- DeJIeHem He DoIpyCKaETcra.
ПЕДУПЕЖDEHNE: Перд началом работ по установке Бытяжки удалITE зашитую Пленку.
- HNKOrda He octabJnTe OTKpbIbTbIM BbICOKoe PnAmr NOD paBoTaHOUsE BVITJXKKoN.
Bo BpemnOJIb3OBaHnA pIITIOpHnU nX Heo6xOJIMo DEPkaTb IOd NOCTOARHHbIM PnICMOTpOM: CINbHO HarpTeOE MacNo MoKeT 3arOpetbcra.
1.2 CoOTBcTcTBnE DnpeKtNBe NO yTNJIn3aunn OTXoOB 3JeKTpnueCKOrO n 3JeKTPoHNOro O6OpyIDOBaHnI yTNJIn3aunr npOdykTa:
Данhoe n3делие COOTBETCTByeT Tpe6obAHnM ДирекTNbI NOYtIN3aUN OTXODOB 3ЛeKtpuYeCKOTO N 3ЛeKTPoHnOro O6OpydoBANr (2012/19/EC).Ha n3delenHaHeceHo
ycIOBHOO3NaueHne IJRA OTXoIOB 3JIeKTPnueCKOrO 3JIeKTPoHnHO O6OpUdoBaHnA (WEEE).

3TOT CnMBOJ O3NauaeT, UTO NO ICTeueHnCpoka cIyX6bl DaHHoro npu60pa, OH He DoJIKeH yTuJIH
Принобразенhoe Вами Идени СоOTВETCTBYET Tpe6OBaHЯМ ДиректNBы NO ORpaHnueHNo Ic- ПОЛьЗОВАнЯ ВрEDHBIX BeSeCTB (2011/65/EC).Оно He coDEpXHT Уka3aHHbIX BДиректBE ВрED- НьIX BeSeCTB И 3anpeUeHHbIX MaTePnaJIOB.
1.4. Информацья об уразковке
YnakOBka npnbopa n3roTOBHeHa n3 BTOpHOrO CbIPbA, B COOTBETCTBnC HaUMN rOcydapCTBeHHbIMN 3aKoHAMn IO OxpaHe OKpyXaUoSei CpeDbI. He Bbl6pacbIBaIe YnakOBouHbIe MaTePnaJIbI BMeCTe C 6bITOBbIMN IIN DpyrIMN OTXoDAm. OTHEcnte INB pYNKTbI pPmeMa yNaKOBOUYbIX MaTePnaJIOB, UypeXdEHHbIe MeCTHBIMN opraHAMN BlaCTn.
2 O6uBHeHnBnD
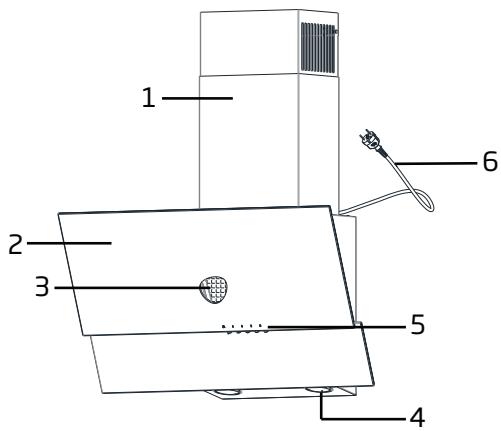
2.1 0630p

Pnc.1

Pnc.2

1.ДыIMOXOД
2. Kopnyc
3.AJIOMHHeBbI XInpoUyIaBnBaIOuIeI ΦNJIbTp
4.OcBeIeHneBapOuHoi paHeJI
5. NaheB ynpaBneHnA
6. Μύνρεληκτροπιταῦση
7. YrOJIbHbIyΦnJIbTp
(HCA62320WH - HCA62320BH)
2.2 TexHnueckne xapaKTepeNCTnKn
| Мо德尔 | HCA62320W | HCA62320B | HCA62330WH | HCA62320BH |
| Нарражения и частOTA пitaлия | 220-240 B~, 50 Гц | |||
| Мошноctrь ламп освецения (Вт) | 2 x 3 | |||
| Мошноctrь двигателя (Вт) | 115 | |||
| Воздунный поtok (M³/ч) - 3. у探测ь | 305 | |||
| КлASS ИЗOLЯЦи двигателя | Клass F | |||
| КлASS ИЗOLЯЦи | Клass II | |||
3 Θкплуataцьnpибopa
3.1 Исторьогаиме Куншогопескючтали

BbITaKka OchaueHa MexaHnueckm ynpabIeHnem.
-Пин НжатиН Ha «0» - Вытжka OTKJIQUcaETся.
-Пин Нжатин Ha «1» -Вытяжka pa60taet ha MUNHIMaJIbHOI cKOpOCTn.
- Пин Нжатин Н «2» - Витякka pa60taeТ ha cpe徳н ckopoctn.
- Пин Нжатин Н «3» - Вьтяжka pa6oTaet Ha MaKcImaJIbHoH CKOpOCTN.
Bolee BbICOKaCKOpocTb npednonaraet 6oIbIe nOTOK BO3dya.
- Haxmnte 3ty KhONky Дя Вкluoyehnia OCBeuehenia. ПOBTOHoe HaxkaTne KhONKn BbIKLIOUaET OCBeuehenie.
3.2 PeKOMeHdaaunn no 3koHOMn 3JeKtpo3Heprnn
- Bo Bpemn npnrtoBnneHn no3a60tBeTcB O IOCTaTOCHM nPIToKE BO3dyxa, yTObI o6ecpeHT b 3ΦΦeKTHBHyU n 6ecShyHIO pa60Ty BbITJKKN.
HactpoIte pexim pa60tbl BEHTnIaTopa 3aBNCIMOCTN OT INHTeHCNBHOCTN nCnapeHb. BkIouaTe INTEcHCBHbI peKIM TOnbKO npn Heo6XODMocTN. POnHHKeHHbI peKIM pa60tbl BbITJAKKN CnOCO6CTByET CHNXeHIO paCXoJa 3JIeKTPo3Heprnn. - Ppi BbICOKO INHTeHCNBHOCTN INcapanehn 3apaHee BblOpaIte NOBbIeHbI pexHM pa60tbl BblTJxKn. Ppi 3HaunTeJIbHOM CKoJIeHnn INcapanehn Ha KuxHe NOTpe6yETc8 60nee dInTeJIbHOe INCOnb3OBaHne BblTJxKn.
BbIKIIOUHTe BbITJxKBy,ecnHe npEaJIraTaETc eE daJIbHeiJee IcNJIb3OBAHHe.
CneJyET OunuTaB N MeHrTb 0nIbTp C yka3aHHoN nepNoiDnUHOCtBu B cIeJAX NOBblSeHnE 0f0eKtNBHOCTn pa6OtBi CnCTeMbBeHTNJLlAunn IN PpeDOrBpaUeHn ONaCHOCTNBO3NHKNHOBEHn IOnkapa.
3.3 Θкплуатуся Вьтяжки
- BbITaKka OshaeHa DnBaTeJem C pa3JIuHbIMn HacTpoiKaMn CKOpOCTN.
- Пля получени ONТIMмальххapakTepeNTK Mbl peKOMeHnyem NcNoJIb3OBaTb Hn3Kne yPOBHN cKOpOCTN B HopMaIbHbIX YcIbONByx N BbICOKNe yPOBHN cKOpOCTN npn NOЯВileHn 6OJee INTEHcINBHorO 3anaxa n 6OJee BbICOKOn KOHZeHTpaCmnpa.
- BbITaKky MoJHo 3aNyCTnTb, HauKaB HuyKHyIO KHOIIyypOBHrCKOpOcTN (1,2,3).
-ДлЯ OсБешени Варочи ПОВЕХНСТСпдуETнжКНONКУ OсБешени.(
3.4 3aMeHa JIaMnbl

CMMBON YctahOBKa lamnOCHM CMBON BbHIMAHne lamnOCHM
OTcoeHnHTb BbITaKky OT po3eTK 3JIeKTPocetN.
DaHHbI np60p OCHaUeH TOueHbIMC CBETOIOHDbIM NAMnAMM MoHOCtBIO 3 BT.
3 Θкплуataця рибopa

Ipeed 3aMeHOJ lamn OTKJIOnHTe BbITXKky OT cETn 3JeKTpONtAHN.

He npikacaiTecb K JAmnam, noka OHn HE OCTbIHyt.

Bydte octopoknbl, He npkacai-Tecb 3aMeHeHHo Iamne rObIMpykami.

JaMnbl MOKHO npNoBpctNu y aBTOpN3OBAHHbIX TexHnuecknx CneuaJIUCTOB.
4 Ounstka n yxoid
Ipeep uicTkO uIN o6cnyxuBaHnEM OTKJIOUHTe np6op O T3JeKTPocETn, uIN BbIKJIOHTe BBOHOB BbIKJIOUATEJI, uIN OTKJIOHTe IpeDOxpaHNTeJIb, uepe3 KOtOpBI NOdaetcNITaHHe K BbITaXKe.

HecobnoeHne HNCTpykui nO OYnCTKe N 3aMeHe pInIbTPOB BbITAXKMOXET PnIBBeCTN K BO3HNKHOBEHNO IOXkap. ImEHNO PO3TOMy peKOMeHdyTeC cJeIOBaTb Yka3aHnM, PnIBBeHbIM B 3TOM DOKyMte. POn3BOJNTel He Hecet OTBETCTBENHOCTNaOBpeKDeHnDA BrIVATEJI INI BO3FOpAHNe, KOToPoe BO3NKJLO Bpe3NJbTaTE HeIPabINbHoro IcNoIb3OBAHn PnIBOpa.
5.1Пинадлжнодя установки

1

2

3


Pnc.7
4
5
1- BbITJkka
2-ДыIMOXOД
3-PykoBOIDTO NOIb3OBaTeJRA
4-6x04,0x45 BnHT
5-6x08x40 BnHToBa 3aŋnyuška
5 YctaHOBka yCTpoiCTBa
Празиюдпель: "Arcelik A.S."
AДпс: 109004, Рocьа, Мockьа, ул. Станьського, Д21,ст 1. http://www.bekо.ru Телегон горочи линни 8-800-200-23-56 (Звонк б ecрпатный на всянштоги Рocьи)
TapaHTnHbI TaLoH cepra RUS No
Modenb
CepinHbI Homep
Даразпражи
Kompanna
Pounncb npodabua
NE4ATb
Data yctaHOBKn
KoMaHn
Poiincb MaTepa
NE4ATb
Pokynatelb TeneoH
Фamunua,IMr,Omuecmbo
I3dennnoJyueHO B noHNoKOMnJIeKaun,
npOBepaIOocb B npCcyTCTBn nokyNaTeJIa.
PoknateBc ycnobma rapaHTn O3HaKOMneH. POnncb Poknamenn

OmpbIbHe lyNohbI zapaHmUHOzo manoHa neIaHOMc cpeCMeom omYemHocmu o bInolHeHu cepBuchIm eHempom zapaHmUHbX paBom. Kynon U3bimaemc u3 o zapaHmUHOzo manoHa nocne ydoenembopeHuaux npemeh3u.


Data npodaxn


Data npodaxn


Data npodaxn
NE4ATb
MAFA3VHA

TAPAHNTI 2 TOIDA
NE4ATb
MAFA3NHA

TAPAHNTIa 2 TODA
NE4ATb
MAFA3VHA

TAPAHNTIa 2 TODA
MecTo nIHaKneKn Koda n3dennr
ПростаяИнструкция