SEGWAY ES1 - Elektrinis paspirtukas NINEBOT - Nemokama naudojimo instrukcija
Raskite įrenginio instrukciją nemokamai SEGWAY ES1 NINEBOT PDF formatu.
Naudotojų klausimai apie SEGWAY ES1 NINEBOT
0 klausimas apie šį prietaisą. Atsakykite į tas, kurias žinote, arba užduokite savo.
Užduokite naują klausimą apie šį prietaisą
Atsisiųskite instrukciją savo Elektrinis paspirtukas PDF formatu nemokamai! Raskite savo instrukciją SEGWAY ES1 - NINEBOT ir vėl perimkite savo elektroninį įrenginį. Šiame puslapyje skelbiami visi dokumentai, reikalingi jūsų įrenginio naudojimui. SEGWAY ES1 prekės ženklo NINEBOT.
NAUDOJIMO INSTRUKCIJA SEGWAY ES1 NINEBOT
Visç pirma perskaitykite šj naudotojo vadová!
Gerbiamas Kliente,
dékojame, kad pasirinkote „Beko" produkta. Tikimès, kad su juo visada gausite geriausiţ rezultata, nes prietaisas buvo pagamintas laikantis aukšciausiu kokybes standartu ir pagal moderniausias technologijas. Dél to perskaitykite visă šj naudotojo vadovă ir kitus pridedamus dokumentus prieš naudodamiesi šiu prietaisu ir pasidékite juos aleičiai. Jei perduodate prietaș kam hors kitam, taip pat perduokite ir šj vadova. Laikykités instrukciju, atsižvelgdami j visă naudotojo vadove pateiktă informacță ir jspëjimus.
Atsiminkite, kad šis vartojo vadovas taip pat gali būti taikytinas keletui kitu modeliu. Šioje instrukcijoe nurodyta, kuo skiriasi jvairus modelai.
Simboliu verté
Jvairose sio vadov dalyse naudojamie simboliai:
| i | Svarbi informacija ir naudingi patarimai apiie naudojima. |
| ! | JSPÈJIMAS: Jspējmai apiie pavojingas situa-cijas, susijusias su pavojumi gvybei ir turtui. |
| Jspējmai apiie pavoju sukelti gaisra. | |
| Jspējimas del elektros smūgio. | |
| Apsaugos nuo elektros smūgio klasè. |

Sis prietaisas pagamuntas modernioje gamykloje, kurioje darbo procesai nekenkia gamtai.
1 Svarbios saugumo ir aplinkosauros instrukcjisos
1.1 Bendroji sauga
Svarbi informacija apie sauga. Atidziai perskaity kite ir issaugokite perziurai atei- tye Siame skyriije pateikiamos saugos instrukcijos, kurios padeda apsisaugoti nuo gaisro, elektros smugio, mikrobangu energijos nuotekiu, asmeninio suzaoljimo ar nuosavybes sugadinimo. Nesilaikant siu instrukciju jokios garantijos negalios.
- "Beko" produktai atitinka galiojancius saugos standartus, todél bet kokio prietaiso ar maitinimo lado pazeidimo atveju pazeidima turetu remontuoti arba pakeisti pardavejas, aptarnavimo centras, jgaliotasis remonto centras ar kvalifikuotas specialistas, kad prietaisas nekeltu pavojaus. Netinkamai arba nekvalifikuotu asmenu atliktas darbas gali kelti pavoju naudotojui.
-
Sis prietaisas skirts naudoti buitinéje aplinkoje, tokioje kaip:
-
personalo virtuèles parduotuvèse,
biuruose ir kitose darbo vietose;
-ukiuose; - moteliuose, viešbučiuose ir kituose gyvenamuosiuose pastatuose;
-
Nakvynès su pusryčiais tipo aplinka
-
Prietaisa naudokite šiame vadove aprašyta paskirtimi.
Gamintojas negali atsakyti už Žařa, padaryta del netinkamai sumontuoto ar neteisingai naudojam o prietaiso. - Šj prietaisa gali naudoti 8 metу ir vy
resni vaikai bei mažesniu fiziniu, jutminiu ar protiniu gebejimu, nepatyre ar neturintys reikiamu ziniu zmonéms, jei jie prižürimi arba jiems pateikti nurodymai, kaip saugia naudoti prietaisa, be to, jie supranta susijusius pavojus.
- Neleiskite vaikams zaisti su siuo prietaisu. Negalima leisti neprižiūrimiems vaikams valyi prietaiso ar atlikti jo technines priežiūros.
- Minimalus atstumas tarp kepimo indy pavirsiuy ant kaitlentes ir gartraukio apacios turi buti maiziausiai 65 cm.
- Jei pagal montavimo instrukcijas numatytas didesnis atstumas dujinei viryklei, j tai butina atsižvelgti.
- Patikrinkite, ar maitinimo jtamos parametrai atitinka jtamos parametrus, nurodytus prietaiso gamintojo lenteleje.
- Nenaudokite prietaiso, jeigu pazeistas jo maitinimo laidas ar pats prietaisas.
- Apsaugokite maitinimo laida nuo pazeidimu, jo nespauskite, nelankstykite ir nebruzinkite j astrius krastus. Saugokite maitinimo kabelj nuo karstuy pavirsiuy in atviros liepsnos.
Prietaisa junkite tik i jzeminta elektros lizda.
ISPEJIMAS: Nejunkite prietaiso j elektros lizda, kol nebaigtas jo montavimas.
- Sumontuokite prietaisa taip, taigi kad visada galétumete prieiti prie kišuko.
- Nelieskite lempučiú po to, kai jos ilgá
1 Svarbios saugumo ir aplinkosauros instrukcjisos
laika buvo jjungtos. Jos gali nudeginti rankas, nes gali buti karstos.
- Laikykitës atsakinguju instituciju nustaty taisykiu del istraukiamoj oro ismetimo (sis jspejimas negalioja prietaisams be kamino).
- Prietaisa junkite tik tada, kai ant kaitvietes pastatote puoda ar keptuve. Priesingu atveju del aukstos temperaturos gali deformuotis atskiros prietaiso dalys.
Pries nuimdami nuo kaitlentes puoda ar keptuve, ijsjunkite kaitlente. - Nepalikite ant kaitlentès išsipylusio karsto aliejaus. Keptuvés su jkaitusiu aliejumi gali užsiliepsnoti.
- Steběkite užuolaidas ir gaubtus, nes kepant tokj maistá kaip bulvytès aliejus gali užsiliepsnoti.
- Riebalu filtrà reikia keisti bent kartapernénesj. Anglies filtrà reikia keisti bentkas 3 menesius.
- Valykite prietaisa, kaip tai nustatyta naudotojo vadove. Jei valymas atliekamas netinkamai, gali kilti gaisro pavojus.
- Nenaudokite ugniai neatspariu medziaguy vietoj turimo filtro.
- Naudokite tik originaias arba gamintojo rekomenduotas atsargines dalis.
- Nenaudokite prietaiso be filtro ir nenu-imkite filtrlo prietaiso naudojimo metu.
- Jei reikia jjungti liepsna, isjunkite sj
prietaisairkitusmaisto gaminimo prietaisus.
- Jei užsidegè riebalai, uždenkite liepsná ir niekada nebandykite gesinti jos vandeniu.
- Pries valydami ir kai prietaiso nenaudojate, atjunkite ji nuo elektrtos tinklo.
- Neigiamas slegis aplinkoje neturi virsyti 4 Pa (4 x 10 bar), kai elektrinës kaitlentës gartraukis ir prietaisai veikia su kitokio tipo energija.
- Jei aplinkoje, kurioje naudojamas prietaisas, oro issiurbimo prietaisai veikia su degalais ar su dujomis, pvz., tokie prietaisai turi buti tinkamai hermetiskai izoliuoti.
- Prijunkite kamina su 120 arba 150 mm vamzdžiais. Vamzdžio jungtis turi buti kuo trumpsne ir su kuo mažiau alkū-niu.
Pavojus užspringti! Visas pakavimo medziagas laikykite toliau nuo vaiku.
PERSPEJIMAS: Gaminimo metu prietaśd dalys gali jkaisti.
Prietaiso ismetimo anganeturi buti jungiama prie oro issurbimo vamzdziu, kuriais teka kiti garai.
- Patalpoje ventilacija gali buti nepakankama, kai elektrines kaitlentes gartraukis naudojamas kartu su prietaisais, veikiancais su dujomis ar kitokiu kuru (tai gali nebuti taikoma prietaisams, kuruo ismeta ora atgal j patalpa).
1 Svarbios saugumo ir aplinkosaugos instrukcjisos
- Ant prietaiso padetas daiktas gali nu-kristi. Ant prietaiso nedekite jokiu daiktu.
- Nekiskite po prietaisu ugnies.
ISPEJIMAS: Priesumontuodami gartraukj nuimkite apsaugines pleveles.
- Nepalikite aukstos atviros liepsnos po veikianciu gartraukiu.
- Gruzdintuve ant liepsnos reikia visa laika stebeti, nes perkaites aliejus gali užsiliepsnoti.
1.2 Elektros ir elektronikos atlieku (WEEE) ir panaudotu produktu utilizavimo direktyvuc atitiktis
Šis prietaisas atitinka EU WEEE direktywa (2012/19/EU). Šis prietaisas yra pažymetas elektriniu ir elektroniniu jrenginiu atlieku (WEEE) klasifikacijos simboliu.

Sis simbolis rodo, kad prietaiso negalima išmesti su buitinémis atliekomis baigus prietaisa eksploatuoti. Panaudota prietaisa
reikia gražinti j tokiu elektriniu ir elektroniniu prietaisu surinkimo punkta. Kur yra toks surinkimo punktas, teiraukites vietnes atsakingosios institucijos arba pardavejo, is kurio jsigijote prietaisa. Kiekvienes Žmogus gali prisideti
prié senu prietaisurinkimo ir perdirbimo inciatyvos. Teisingai ismete sena gamini, saugosite aplinkarir zmoniu sveikata nuo galimneigiampasekmiu.
Šis prietaisas atitinka EU RoHS direktyvá (2011/65/EU). Jame néra kenksmingu ir draudžiamu medziagu, išvardintu direktyvoje.
1.4 Informacija apie pakuot

Prietaiso pakuotes yra pagamin- tos is perdirbamu medziaguy pa- gal musnacionalinius aplinkoeikalavimus. Neismeskite pakuouitinemis ar kitomis atliekomis. te jas perdirbtj pakuociu surinkira, nurodyta vietiniu atsakinguju u.
2 Bendralšvaizda
2.1 Apžvalga

1 pav.

2 pav.
- Kaminas
- Korpusas
- Aliumininis riebalu filtras
- Kaitlentes apsvietimas
- Valdymo pultas
- Maitinimo laidas
- Anglies filtras
(HCA62320WH - HCA62320BH)
2.2 Techninai duomenys
| Modelis | HCA62320W | HCA62320B | HCA62330WH | HCA62320BH |
| Tiekiama elektrós jtampa ir dažnis | 220-240 V 50 Hz | |||
| Lemputès galingumas (W) | 2 x3 | |||
| Variklio galingumas (W) | 115 | |||
| Oro srautas (m3/val.) - 3. Lygis | 305 | |||
| Variklio izoliacijos klasè | F klasè | |||
| Izoliacijos klasè | II klasè | |||
3 Prietaiso naudiojimas
3.1 Perjungiamos svirties naudojimas

Gartraukis turi mechanij regulatoriu.
- Paspaudzian 0^ gartraukis ijsjungiamas.
- Paspaudžiant,1" gartraukis jjungiamas veikti mažiausi greiciu.
- Paspaudžiant,2" gartraukis jjungiamas veikti vidutiniu greiciu.
- Paspaudziant,3" gartraukis jjungiamas veikti didziausi greiciu.
Kuo didesnis greitis, tuo didesnis oro srautas.
Noredami jungti apsvietima spauskite mygt Spausdami mygtuka dar kartapsvietima isjungs

3.2 Kaip galima taupyti elekträ
- Pasirupinkite pakankamu oro jsurbimu, kad gartraukis gaminimo metu veiktu tinkamai ir tylai.
- Nustatykite ventilatoriaus lygi pagal garu gausa virtuveje. Didesnj greitj naudokite tik tada, kai to reikia. Mazesnis ventilatoriaus galios lygis reiskia maiau naudojamos energijos.
- Jei virtuveje galima tiketis tirstgy, iš anksto junkite didesnj ventilatoriaus galios lygi. Kad gartraukis issurbty virtuveje jau pasklidusius dumus,jis turës veikta daug lgiau.
- Kai gartraukio nenaudojate, jj isjkune.
- Valy kite arba keiskite filtrà nurodytais intervalais, taip padides ventiliacijos efektyvumas ir bus pašalintas gaisro pavojus.
3.3 Gartraukio naudojimas
- Gartraukis turi kelais greiciais nustatom ag ventilatoriuy su varikliu.
- Kad gartraukis veiktu geriau, jprastomis salygomis rekomenduojame rinktis maza greitj, o kai garu ir dum yra
daug-didelj greitj.
- Gartrauki galima jungti spaudziant norimo greicio mygtuka (1, 2, 3).
Gaminimo zona galima apsviesti spaudziant apsvietim mygtuka.
3.4 Lemputes pakeitimas

Simbolis
Simbolis

Lemputes jsukimas
Lemputes iissukimas
Atjunkite prietaisa nuo maitinimo tinklo. Siame prietaise naudojamos 3 W taškinio apšviétrimo LED lemuşës.

Pries pakeisdami lempute atjunkite gartraukj nuo maitinimo saltinio.

Nelieskite jkaitusi elmuciu.

Nelieskite tiesiai rankomis pakeistos lempute.

Lempuci galite jsigyti is jgaliotju aptarnvimo atstovu.
4 Valymas ir priežiūra
Pries atlikdami valmyo ir prieziuros darbus atjunkite prietaisa arba isjunkite pagrindin maitinimo jungiklj, arba atsukite saugiklj, esanti gartraukye.

Nesilaikant nurodymu del prietaiso valymo ir filtru pakeitimo gali kilti pavojus. Todel rekomenduojama laikytis cia pateiktu instrukciju. Gamintojas neatsako uz jokia zala varikliui ar gaisra, kilusi del netinkamo naudojimo.
Valykite tik neutraliu valymo skysciu sudrekinta sluoste. Nevalykite su kitais jrankiais ar instrumentais. Nenaudokite abrazviniu produktu. Nenaudokite alkoholio
4.1 Aliumininio riebalu贫困人口 valymas
Sis filtras surenka riebalu dareles i6 oro. Rekomenduojama filtra valtyi kiekviena menesi, kaijisnaudojas jprstu daznumu. Is pradziy isimkite riebalu filtrus. Nuplaukite filtrus su indyu plovikli ir isskalaukite vandeniu, kai isdziusta, jstatykite atgal. Aliumininiai riebalu filtrai gali pakeisti spalva plaunant, tai normalu, filtro del to keisti nereikia.

5 pav.

Riebalu filtra galite plaut indaplovej.
4.2 Anglies filtro keitimas (oro cirkuliacijos režimu)
Ant gartraukio galima jrengti aktyvintos anglii filtra. Angliies filtras jrengiamas tik tuo atveju, jei gartraukis nera prijungtas prie iStraukimo angos.
Anglies filtra reikia keisti kas tris menesius.



ISPEJIMAS: Anglies filtrolo plauti negalima.

ISPEJIMAS: Anglies filtragalima jsigyti is jgalotosios tarnybos.
5 Prietaiso nustatymas

ISPEJIMAS
Pries pradedami perskaity kite saugos instrukcijas.

ISPEJIMAS
Nejstačius varžtu ar nepritvirtinus prietaiso pagal šias instrukcjas gali kilti elektrós pavojus.
5.1 Montavimo priedai

1

2

3


7 pav.
4
5
1-Gartraukis
2 Kaminas
3-Naudotojo vadovas
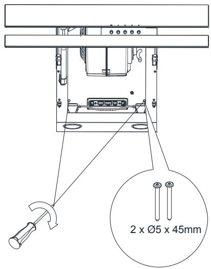
4-6x04,0x45varztai
5-6x08x40 varztuyvarai
5 Prietaiso nustatymas
5.2 Prietaiso sumontavimas
Siulomas atstumas nuo virtuves viryklés

8 pav.
5 Prietaiso nustatymas

9 pav.

10 pav.
5 Prietaiso nustatymas

11 pav.

12 pav.
5 Prietaiso nustatymas

13 pav.


14 pav.
6 Trikciu salinimas
| Trikčiū šalinimas | Priežastis | Pagalba |
| Gaminys neveikia. | Patikrinkite saugiklj. | Saugiklis gali būti uždarytas, atidarykite jj. |
| Gaminys neveikia. | Patikrinkite elektros jungtj. | Tinklo jtampa turétu būti 220 – 240 V. |
| Gaminys neveikia. | Patikrinkite elektros jungtj. | Patikrinkite, ar kiti jūsç virtuvës gaminiai veikia. |
| Apšviétrimo lemputě neveikia. | Patikrinkite elektros jungtj. | Tinklo jtampa turétu būti 220 – 240 V. |
| Apšviétrimo lemputě neveikia. | Patikrinkite lemputës jungiklj. | Lemputës jungiklis turétu būti jungtas. |
| Apšviétrimo lemputě neveikia. | Patikrinkite lemputes. | Gaminio lemputes neturétu būti sugedusios. |
| Gaminio oro jsiurbimas prastas. | Patikrinkite aluminio filtra. | Aliuminio alyvos filtra normaliomis salygomis reikia valtyi bent kartä per mènesj. |
| Gaminio oro jsiurbimas prastas. | Patikrinkite oro išleidimo angà. | Oro išleidimo dūmtakis turétu būti „jungtas" padětyje. |
| Gaminio oro jsiurbimas prastas. | Patikrinkite anglies filtrà. | Gaminiums su anglies filtrais paprastai filtrus reikia keisti kas 3 mènesius. |
LengvasVadovas