SEGWAY ES1 - Elektriskais skrejritenis NINEBOT - Bezmaksas lietošanas instrukcija
Atrodiet ierīces rokasgrāmatu bez maksas SEGWAY ES1 NINEBOT PDF formātā.
Lietotāju jautājumi par SEGWAY ES1 NINEBOT
0 jautājums par šo ierīci. Atbildiet uz tām, ko zināt, vai uzdodiet savu.
Uzdot jaunu jautājumu par šo ierīci
Lejupielādējiet instrukcijas savam Elektriskais skrejritenis PDF formātā bez maksas! Atrodiet savu rokasgrāmatu SEGWAY ES1 - NINEBOT un atgūstiet kontroli pār savu elektronisko ierīci. Šajā lapā ir publicēti visi dokumenti, kas nepieciešami jūsu ierīces lietošanai. SEGWAY ES1 zīmola NINEBOT.
LIETOŠANAS INSTRUKCIJA SEGWAY ES1 NINEBOT
Ludzu, vispirms izlasiet šo lietotāja rokasgrāmatu!
Godatais client!
Paldies, ka izvelejaties sho Beko ieri. Mesi ceram, ka iegusit vislabakos rezultatus no ierices, kas razota, izmantojot augstas kvalitates un musdienigas tehnologijas. Si iemesla del, pirms ierices lietoanas, ludzu, uzmanigi izlasiet visu lietotaja rokasgramatu un visus citrus pievienotos dokumentus un saglabajiet tos uzzinai turpmakai lietoisanai. Ja nododat ierici kadam citam, nododiet ari lietotaja rokasgramatu. Izpildiet noradijumus, pieversot uzmanibu visai informacijai un bridinajumiem lietotaja rokasgramata.
Atcerieties, ka ši lietotāja rokasgrāmata var attiekties aī uz citiem modeliem. Atskiribas starp modeliem ir skaidri aprakstītas rokasgrāmata.
Simbolu nozime
Sis lietotaja rokasgramatas dazadas sadalas tiek izmantoti sadi symboli:
| i | Svarīga informācija un noderīgi padomi par lietošanu. |
| ! | BRIDINAJUMS: Brīdinājumi par bistamām situacijām attiecībū uz dživibas un ipaśuma drošibu. |
| Bridinājums par ugUNSbiṭamību. | |
| Bridinājums par elektriskās strāvas triecenu. | |
| Aizsardzības klase pret elektriskās strāvas triecenu. |

Ši erince ir ražota videi draudzīgās, modernās ražotnēs, neradot kaitējumu dabai.
1 Svarīgas drošības un vides instrukcjjas
1.1. Visparejā drošība
Svarīgas drošibās instrukcijas, uzmanīgi izlasiet un nēmiet vērā turpmākos norādījumus Šajā sadalā ir drošibas norādījumi, kas palidžēs aizsargaties no ugunsgreka, elektriskās strāvas trieciena, nopūdes mikrovilnu energia jedesarbības, miesas bojājumiem vai ipaśuma bojājumiem. Neievērojot šos norādījumus, garantija zaude spēku.
- Beko izstradajumi atbilst piemerojama-jiem drosibas standartiem; tapec, ja ieriei vai strvas kabelim ir kadi bojajumi, tie ir jalabo vai janomaina izplatitajam, servisa centram vai ari specialistam, ka ari pilnvarotam servisa dienestam, laizvairitos no jebkada riska. Kludaini vai nekvalificeti remonta darbi var but bistami un radit risku lietotajam.
-
Šī iērīce ir paredzěta izmantošanai maj-saimniecībā un lidzīgos gadijumos, piē-mērām:
-
personāla virtuves zonas veikalos, bi-rojos un citās darba vides;
- saimniecibu ekas;
- [-klieniem viesnicas, motelos un citas dzivojama tipa vides;
-
gultas un brokastu tipa vidēs.
-
Izmantojiet icerici paredzetajam merkim tikai saja rokasgramata aprakstitaja veida.
- Izgatavotājs nav atbildigs par zaudejumiem, kas radusies nepareizas izstrā
- So ierici var izmantot berneni, kas vecaki par 8 gadiem, un cilveki ar fiziskiem, kustibu vai garigiem trucejumiem vai pieredzes un zina sanu trukumu, ja vini tiek uzraudziti vai ari vini ir apmaciti izmantot ierici drosa veida un apzinas ispejamos riskus.
- Berniem nav atlauts speléties ar ierici.
Berni nedrikst veikt tās tirīsanu un uzturešanu bez uzraudzības. - Minimalajam attalumam starp plits varišanas trauku atbalsta virsmu un izstradajuma zemako daçu jabut vismaz 65 cm
- Ja gazes plits uzstadisanas instrukcjjas noradits lielaks attalums, tas ir janel vera.
- Pärliecinieties, vai strāvas padeve at-bilst informacijai, kas sniegta uz ierices datu plaksnites.
- Nekādā gadijuma nelietojiet iceri, ja ir bojats strāvas kabelis vai pati icerice.
- Noversiet strvas kabela bojajumus, nesaspiežot, neliecot un neberzējot to uz asām malām. Sargajiet strvas kabeli no karstām vīrsmām un atklātas uguns.
- Izmantojiet ierici tikai ar iezemetu kontaktligzdu.
BRIDINAJUMS: Nepievienojiet ierici elektrotiklam, lidz uzstadiisana nav pa-beigta.
1 Svarīgas drošības un vides instrukcjjas
- Novietojiet ieri tā, lai kontaktdaksa butu vienmēr pieejama.
- Nepieskarieties lampam, ja tās ilgi darbojas. Tās var apdedzināt rokas, joBUS karstas.
- leverojiet kompetento iestazu noteiktos noteikumus par izpludes gaisa novadi-sanu (sis bridinajums nav piemerojams lietoisanai bez dumvada).
- Darbiniert ierici pēc katla, pannas utt. novietošanas uz plits. Pretējā gadijumā liels karstums var izraisit deformacijas džās jusu izstradajuma dalās.
- Pirms nonemiet katlu, pannu utt. no tās, izslēdziet'pliti.
- Neatstajiet karstu ellu uz plits virsmas. Pannas ar karstu ellu var izraisit pašaiz-degsanos.
- Pieversonic uzmanibu aizkariem un par-segiem, jo ella var aizdegties, gatavojot edienu, piemēram, ceptus kartupelus.
- Tauku filtrs jāmaina vismaz reizi mēnesi. Oglekla filtrs jāmaina vismaz reizi 3 mēnesos.
- Izstradajums jatira saskaña ar lietotaja rokasgramatu. Ja tirišana netika veiktasaskaña ar lietotaja rokasgramatu, var tikt izraisita ugunsbistamiba.
- Pašreizejă filtrva vieta nelietojiet ugunsneizturigus filtrresanas materialus.
- Izmantojiet tikai originalas vai ražotaja ieteiktās detalas.
- Nedarbinit izstrādājumu bez filtra un
neiznemiet filtrus, kamér izstradajums darbojas.
- Liesmu gadijumā atvienojiet izstrādājumu un ādiena gatavosanas ierices.
- Ja rodas liesma, apklajiet liesmu un nekad nelietojiet udeni dzesanai.
- Pirms katras tirisanas reizes un ja icerice netiek lietota, atvienojiet icerici no elektrotikla.
- Kamer elektriskas plits virsmu un iericu, kas darbojas ar cita veida energia, bet elektroenergijas avots darbojas vienlaicigi, negativais spiediens vide nedrifikst parsniet 4 Pa(4 x 10 bari).
- Apkārējā vide, kura ɪerici lieto, ɪericēm, kas darbojas ar mazutu vai gāzi, piēmēram, istabas sildītājam, jābūt absoluti izolětiem vai ari ɪericei jābūt hermetiskai.
- Pievienojot dumvadu, izmantojiet caurules ar diametru 120 vai 150 mm. Caurulu savienojumam jabut pec iespejas isakam un ar pec iespejas mazak izliekumu.
Sadursmes risks! Glabajiet visus iepadokjuma materialus prom no berniem. PIESARDZIBA: Pieejamas detalas var sakarst, ja tās lieto kopā ar ādiena gatavošanas iericem..
- Izstrādājuma izeju nedrīkst savienot ar gaisa kanāliem, kas satur citrus dūmus.
- Ventilacija telpa var but nepietiekama, ja elektriskas plits tvaika nosucejs tiek
1 Svarīgas drošības un vides instrukcjjas
izmantots vienlaikus ar icercem, kuras darbina ar gazi vai citu degvielu (tas var neattiekties uz icercem, kuras gaisu izvada atpakal telpa).
- Uz izstradajuma noviettie priekšmeti var nokrist. Nenovietojiet uz izstradajuma nekādus priekšmetus.
- Neflambējiet zem izstrādājuma.
BRIDINAJUMS: Pirms nosuceja uzstadisanas nonemiet aizsargpleves.
- Nekad neatstajiet zem nosuceja atklatu liesmu, ja tas darbojas
Lietosanas laikā ir nepartraukti jauzrauga cepśana lielā tauku daudzuma: parkarseta ella var izaisit liesmas.
1.2 Atbilstiba WEEE direktivai un atkritumu likvidesana
Ši erice atbilst EU WEEE direktivai (2012/19/EU). Sis izstradajums ir klasificets elektrisko un elektronisko atkritumu (WEEE) symbols.

Šis symbols norāda, ka pēc kalpošanas laika šo izstrādājumunedrikst izmest kopā ar citiemsadžives atkritumiem. Lietotā ie
rice janodod oficialaja savakshanas vieta, lai pärstradatu elektriskas un elektroniskas ierices. Lai atrastu sis savakshanas sistemas, ludzu, szinieties ar vietejam valsts iestadem vai mazumirgotaju, kur izstradajums tika iegadats. Katra maj-saimnieciba pilda svarigu lomu
atgustot un pārstrādājot veci iceri. Lietotas iceres atbilstoşa iznicinašana palidz noverst iespejamās negativas sekas videi un cilveku veselibai.
1.3 Atbilstiba RoHS direktivai
Jusu iegadatais izstradajums atbilst EU RoHS direktivai (2011/65/EU). Tas nesatur kaitigus un aizliegtus materialius, kas noraditi direktiva.
lzstrādājuma iepakojuma materiālī ir izgatavoti no pārstrādājamiem materiālem saskaña ar
mūsu nacimientojiem vides noteikumiem. Neatbrivojieties no iepakojuma materiai- liem, izmetot tos kopā ar mājsaimnie-cibas vai cita veida atrkritumiem. Nogadajiet tos uz vietējo iestāzu noraditajiem iepako- juma materialu savakšanas punktiem.
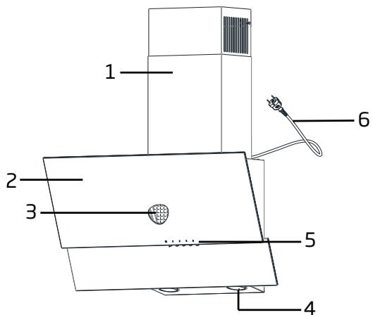
2 Kopejais Izskats
2.1 Parskats

1. att.

2. att.
- Skurstenis
- Korpuss
- Aluminija tauku filters
- Plits virsmas apgaismojums
- Vadibas panelis
- Barošanas avota vads
- Oglekla filtrs
(HCA62320WH - HCA62320BH)
2.2 Tehniskie dati
| Modelis | HCA62320W | HCA62320B | HCA62330WH | HCA62320BH |
| Barošanas spiregums un frekvence | 220-240 V 50 Hz | |||
| Lampas jauda (W) | 2 x3 | |||
| Motora jauda (W) | 115 | |||
| Gaisa plūsma (m3/h) - 3. Limenis | 305 | |||
| Motora izolācijas klase | F klase | |||
| Izolācijas klase | II klase | |||
3 Ierices lietošana
3.1 Daudz Funkciona sledza izmantošana

Tvaika nosucejs ir aprikots ar mehanisku vadibas ieriei.
- Nospiezot "0" - tvaika nosucejs tiek atspejots.
- Nospiezot "1" - pagriež tvaika nosucēju ar minimālō ātrumu.
- Nospiezot "2" - pagrież vtaika nosucej ar videjo atrumu.
- Nospiežot "3" - pagriež tvaika nosuceju ar maksimalo atrumu.
Lielaks atrums nozime leiaku gaisa plusmu.
- Nospiediet pogu, lai ieslęgtu gaismas. Lai izsłęgtu apgaismojumu, atkartojiet nospiešanu.
3.2. Veicamās lietas enerjjas taupīsanai
- Nodrošiniet pietiekamu gaisie iepludi, liai gatavošanas laikā tvaika nosucejs darbotos efektivi un ar zemu darbibas troksni.
- lestatiet ventilatora limeni atbilstoši tvaika blivumam virtuve. Izmantojet augsto limeni tikai nepiecešamibas gadijumā. Zemäks ventilatora limenis nozime mazaku energijas pateriju.
Ja virtuve ir gaidami blivi dumi, iepriek izvelieties augstaku ventilatora limeni. Tvaika nosucejs ir jadarbina daudz ilgak, lai novadifu dumus, kas jau izplati pa visu virtuvi. - Izslédziet tvaika nosucēju, ja to nelietojat.
- Notiriet vai nomainiet filtru noteiktos intervãos, tādejadi palielinot ventilacijas efektivāti un novēsot ugunsgreka risku.
3.3 Tvaika nosuceja darbinasana
- Tvaika nosucejs ir aprikots ar motoru ar dažadiem atruma iestatijumiem.
Lai nodrosinatu labaku sniegumu, mē iesakām normalos apstaklos izmantot neliu ātrumu un lielu ātrumu, ja smaka
un tvaiki ir pastiprinati.
Tvaika nosuceju var iedarbinat, nospiezot velamo atruma limena taustinu. (1,2,3)
- Gatavošanas zonu var apgaismot, nospiéžot gaismas taustiμ.( )
3.4 Lampas nomiña

Symbols
Simbols

Spuldzes uzstadisana
Spuldzes izemšana
Atvienojiet tvaika nosuceju no elektrotikla. Ši erice ir apríkota ar 3 W punkta LED lampam.

Pirms spuldzu nomainas atvienojiet tvaika nosuceja barosanas avotu.

Nepieskarieties spuldzēm, ja tās ir karstas.

Esiert piesardzīgi, nepieskarieties nomaintajai spuldzei tieši ar rokām.

Jus varat iegadaties lampas pie pilnvarotiem servisa agentiem.
4 Tirišana unapkope
Pirms tirisan as un apkopes atvienojiet iceri no elektrotikla vai izsledziet galveno sledzi vai atlaidiet drosinataju, kas nodrosina tvaika nosuceju.

Tiriiet, izmantojot tikai dranu, kas smitrinata ar neitralu skidru mazgasanis lidzekli. Netiriet ar rikiem vai instrumentiem. Neizmantojiet abrazivus produktus. Neliotojiet spiritu
4.1 Aluminija tauku filtra tirišana
Sis filtrus uzter ellas dalinas gaisa. Jums ieteicams tirt filtruk menesi normalos lietoanas apstaklos. Vispirms nonemiet tauku filtrus sim procesam. Nomazgajet filtrus ar skidru mazgasanlisdekkli, noskalojet tos ar udeni un pec nozusanasevietrojet tos atpakal. Aluminija tauku filtri mazgasanalaika var zaudet krasu; tas ir normali, un jums nav jamaina filtrs.

5. att.

Tauku filtru var mazgat trauku mazgajamajamašina
4.2 Oglekla filtra maina (gaisa cirkulacijas rezims)
Tvaika nosucju var aprikot ar aktivas ogles filtru. Oglekla filtru lieto tikai tad, ja tvaika nosucje's nav pievienots ventilacijas kanalam.
Jebkura gadijumā oglekla filtrs ir jämaina vismaz reizi tris meneşos.



BRIDINAJUMS: Oglekla filtru nedrikst mazgat.

BRIDINAJUMS: Oglekla filtru var iegadaties autoriztos servisa centros.
5 Ierices iestatšana

BRIDINAJUMS
Pirms iestatianas, ludzu, izlasiet drošibas instrukcijas.

BRIDINAJUMS
Ja skruves vai stiprinajuma ieri cneuzstada saskaar sim instrukcjjam, tas var izraisitelektriska apdraudejuma risku.
5.1 Uzstadīsanas piederumi

1

2

3


- att.
4
5
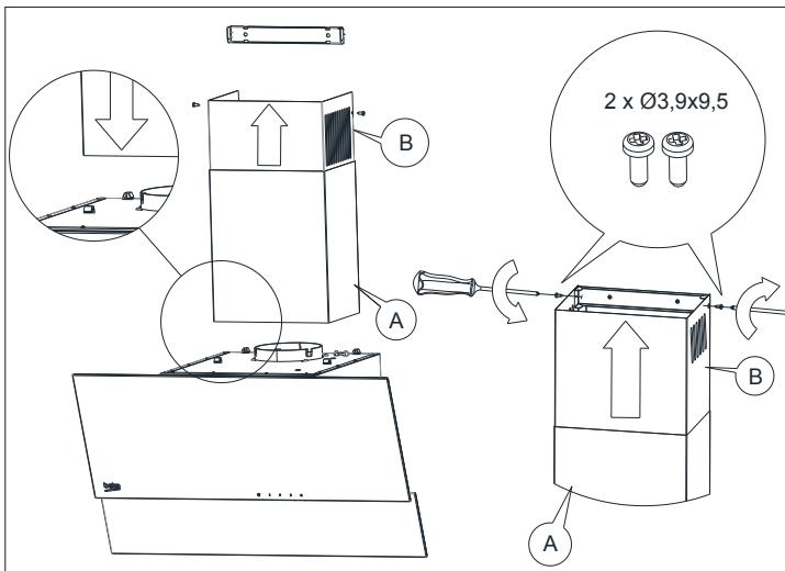
1-Nosucejs
2-Skurstenis
3-Lietotaja rokasgramata
4- 6x04,0x45 Skruve
5- 6x 08x40 leskruvejama tapa
5 Ierices iestatisana
5.2 lerices uzstadisana
leteicamais attalums no virtuves pits

8. att.
5 Ierices iestatishana


10. att.
5 Ierices iestatšana

- att.

- att.
5 Ierices iestatishana

13. att.

14. att.

6 Traucejumu meklesana
| Traucējumu mekleshana | lemesls | Risinājums |
| Izstrādājums nedarbojas. | Pābaudiet drošinātāju. | Drošinātājs var būt izslezts, ieslēdziet to. |
| Izstrādājums nedarbojas. | Pābaudiet elektrisko savienojumu. | Elektriskā tikla spriegumam ir jābūt 220-240 V. |
| Izstrādājums nedarbojas. | Pābaudiet elektrisko savienojumu. | Pābaudiet, vai parejās icerces virtuve darbojas. |
| Apgaismojuma spuldze nedarbojas. | Pābaudiet elektrisko savienojumu. | Elektriskā tikla spriegumam ir jābūt 220-240 V. |
| Apgaismojuma spuldze nedarbojas. | Pābaudiet spuldzes sleždi. | Spuldzes sleždim ir jābūt stavokli "iesl". |
| Apgaismojuma spuldze nedarbojas. | Pābaudiet spuldzes. | Izstrādājuma spuldzēm ir jābūt darba kārtībā. |
| Izstrādājums nenodrošina efektivu gaisa nosūci. | Pābaudiet alumūna filtru. | Normālos lietošanas apstaklos alumiinja filtrs ir jātīra ik mēnesi. |
| Izstrādājums nenodrošina efektivu gaisa nosūci. | Pābaudiet ventilacijas caurules aizbīdni. | Ventilacijas caurules aizbīnim ir jābūt stavokli "iesl". |
| Izstrādājums nenodrošina efektivu gaisa nosūci. | Pābaudiet oglekla filtru. | Normālos lietošanas apstaklos izstrādājumos, kas ir aprikoti ar oglekla filtru, filtrs ir jāmaina ik pēc 3 mēnešiem. |
VieglaRokasgrāmata