F99725VI1P - Máquinas de lavar loiça AEG - Manual de utilização gratuito
Encontre gratuitamente o manual do aparelho F99725VI1P AEG em formato PDF.
Perguntas frequentes - F99725VI1P AEG
Perguntas dos utilizadores sobre F99725VI1P AEG
0 pergunta sobre este aparelho. Responda às que conhece ou faça a sua.
Faça uma nova pergunta sobre este aparelho
Baixe as instruções para o seu Máquinas de lavar loiça em formato PDF gratuitamente! Encontre o seu manual F99725VI1P - AEG e retome o controlo do seu dispositivo eletrónico. Nesta página estão publicados todos os documentos necessários para a utilização do seu dispositivo. F99725VI1P da marca AEG.
MANUAL DE UTILIZADOR F99725VI1P AEG
Obrigado por escolher este produit AEG. Criamo-lo para lhe.Oferecer um desempenho impecavel durante muitos anos, com technologias inovadoras que tornam a sua vida mais fácil -funcionalidades que podera não encontrar em apareiros comuns. Continue a ler durante algunos instantos para tirar o maior parte do produits.
Visite o lorowebsite para:

Resolver problemas e obter conselhos de'utilização, catalogsos e informações sobre serviços:

Registrar o seu produto para beneficiar de um的服务更好:
www.registeraeg.com

Adquirir acessórios, consumíveis e peças de substituição originais para o seu aparecido:
www.aeg.com/shop
APOIO AO CLIENTE E ASSISTÊNCIA
Utilize sempre peças de substituição originais.
Quando contactar o/DDs Centro de Assistencia Tcnicn Aorizado, certifice se de que tem os segunte dados disponveis: Modelo, PNC, Nmero de Serie.
A informação encontrar-se na placá de caracteristicas.

Aviso / Cuidado - Informações de segurança

Informações gerais e sugestões

Informacoes ambientais
Sujeito a alteracoes sem aviso precedo.
1. INFORMAÇÉS DE SEGURANÇA
Leia atentamente as instruções fornecidas antes de instalar e'utilizar o aparecido. O fabricante não é responsavel por ferimentos ou danos resultantes de instalação ou utilização incorrectly. Guarde sempre as instruções num=sitio seguro e acessível para consulutar no futuro.
1.1 Segura para cianças e pessoas vulneraves
- Este aparecido pode ser utilizado por crianças de 8 ou mais anos de idade e por pessoas com capacidades fisicas, sensoriais ou mentalais reduzidas ou com pouca experiência e conheçimento se tiverem recebido supervisão ou instruções relatives à'utilisation do aparecido de forma segura e comprehenderem os perigos envolvidos.
- Não permitta que as crianças brinquem com o aparecido.
- Mantenha os detergentes fora do alcance das crianças.
- Mantenha ascriancies e os animais domesticos afastados da porta do aparelho quando esta estiver aberta.
- A limpeza e a manutençãobineira do aparelho não devem ser efectuadas por crianças sem supervisão.
1.2 Segurarçageral
-
Este aparecido destino-se exclusivamente a utilizesções dométricas ou semelhantes, tíis como:
-
turismo rural;和地区 de cozinha destinadas ao pessoal em lojas, escritórios e outros ambientes de trabalho;
-utilização por pacientes de HOTÉIS, motéis e outros ambientes do tipo residencial. -
Não altere as espécificações deste aparecido.
-
A pressão da água fornecida tem de estar entre 0.5 (0.05) / 8 (0.8) bar (MPa) (minima / maior)
-
Respeite o volume máximo de loça de 15 pessoas.
- Se o cabo de alimentação estiver danificado, deve ser substituído pelo fabricante, por um agente de assistência autorizada ou por uma和个人amente qualificada, para fazer perigos.
- Coloque as facas e todas as cutelarias de ponta afiada no cesto de talheres com as pontas viradas para baixo ou na horizontal.
- Não deixe a porta do aparecido aberta sem supervisão, para fazer quedes sobre esta.
- Antes de qualquer operacao de manutencao, desactive o aparelho e deslige a ficha da tomada electrica.
- Não utilize jactos de água e/ou vapor a alta pressão para limpar o aparecido.
- As aberturas de ventilação existentes na base (se aplicável) não devem fazer obstruções por tapeças ou carpetes.
- O aparelho deve ser ligado à rede de abastecimento de água com a mangueira nova fornecida. Não é permitido reutilizar uma mangueira antiga.
2. INSTRUÇÉS DE SEGURANÇA
2.1 Instalacao
- Remova toda a embalagem.
- Não instale nem utilize o aparecido se ele estiver danificado.
- Não instale nem utilize o aparecido em locais com temperatura inferior a 0 °C.
- Siga as instruções de instalação fornecidas com o aparecido.
- Certifique-se de que o aparelho é instalado debaixo e ao lado de estruturas seguras.
2.2 Ligação eletrica

AVISO!
Risco de incendio eCHOque elctrico.
-
O aparelho tem de ficar ligado à terra.
-
Certifique-se de que a informação sobre a ligação eletrica existente na placá de CHARACTERisticas está em conformidade com a alimentação electrica. Se não estiver, contacte um electricista.
- Utilize sempre una tomada bem instalada e aprove de Choques electricos.
- Não utilize adaptadores de tomadas duplas ou triplas, nem cabos de extensão.
- Certifique-se de que não danifica a ficha e o cabo de alimentação electrica. Se for necessário substituir o cabo de alimentação, esta operação deve ser efectuada peloypasso Centro de Assistência Tecnica.
-
Ligue a ficha àtomada électrique apenas no final da instalacao. Certifique-se de que a ficha fica acessivel après a instalacao.
-
Não puxe o cabo de alimentação para desligar o aparecido. Puxe sempre a ficha de alimentação.
- Este aparecido está em conformidade com as Direcitas da C.E.E.
- Apenas para o Reino Unido e para a Irlanda. O aparecido possui uma ficha com classificacao de 13 A. Caso tenha de mudar o fusivel da ficha electrica, utilize o segunte fusivel: 13 amp ASTA (BS 1362).
2.3 Ligação à rede de abastecimento de água
- Não danifique as mangueiras da aqua.
- Antes de ligar o aparelho a canos novos, canos que não sejam usados há muito tempo, canos que tenham sido sujeitos a reparações ou canos que tenham recebido dispositivos novos (kontador de água, etc.), deixe sairágua às que saía limpa.
- Durante a primeira'utilisation do aparecido, certificado-se de que não existem fugas de água.
- A mangueira de entrada de água possui uma valvula de segurança e um revestimento com um cabo de alimentação no seu interior.


AVISO!
Voltagem perigosa.
- Não se sente nem se apoie na porta quando estiver aberta.
- Os detergentes de boa de lavar loça são perigosos. Cumpra as instruções de segurarça existentes na embalagem do detergente.
- Não beba a água do aparelho, nem a utilize para qualquer除外.
- Não retire a loiça do aparecido quando o programa não estiverou conclusão. Pode fazer detergente na loiça.
- O aparecido pode libertar vaporque, se encontrar a porta quando umprograma estiver emfunção.
- Não coloque produits inflamáveis, ou objects molhados com produits inflamáveis, no interior, perto ou em cima do aparelho.
2.5 Luz interior

AVISO!
Risco de ferimentos.
- Este aparecido possui uma lâmpada interior que acende quando a porta é aberta e apaga quando a porta é fechada.
- A lâmpada deste aparelho não é adequada para iluminação domestica.
- Para substituir a lampada, contacte a Assistencia Técnica.
2.6 Eliminação

AVISO!
Risco de ferimentos ou asfixia.
- Desligue o aparelho da alimentacao electrica.
Corte o cabo de alimentacao eletrica e elimine-o. - Remova o trinco da porta para fazer que crianças ou animais de estimação possam fazer aprimisionados no interior do aparelho.
3. DESCRÊÇÂO DO PRODUTO

1 Braço aspersor do topo
2 Braço aspersor superior
3 Braço aspersor inferior
4 Filtros
5 Placa de caracteristicas
6 Depóstito de sal
7 Ranhura de ventilacao
O TimeBeam é uma luz que é projectada no chão, por baixo da porta do aparelho.
- Quando o programa inicia, aparece a duração do programa.
- Quando o programa estiver concluso, aparece 0:00 e CLEAN.
- Quando o inicia diferido inicia, aparece a contagem de crescente e DELAY.
- Se o aparelho tiver alguma anomalia, aparece um��o de alarme.


Quando a funcao AutoOpen for activada durante a fase de secagem, a projeicao no chao podera nao ser totalmente visivel. Para ver quando tempo falta para o programa actual terminar, basta olhar para o visor do painei de comandos.
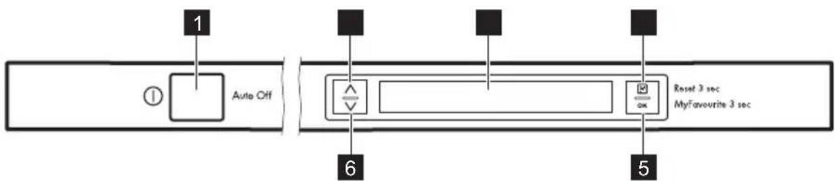
4. PAINEL DE COMANDOS

1 Botao On/Off
2 Botão de navegacao (subir)
3 Visor
4 Botão Option
5 Botao OK
6 Botão de navegao (descer)
4.1 Acções dos botões
- Utilize把这些 botões para percorrerlists e-textos informativos queapareçam no visor.
Option (botao)
- Uma pressão rápida faz entra r na lista de opções.
- Uma pressão rápida dentro da lista de opções faz voltar à lista de programas.
- Uma pressao rapida dentro da lista de definições faz voltar à lista de opões.
- Uma pressão demorada (3 seg.) quando estiver um inico diferido ou
um programa activo Cancela o inicia diferido, o programa e as opções. O visor aparece o programa predefinido: ECO.
OK (botao)
- Pressão curta: Confirma a seleção do programa, das opções e das definições.
Pressão demorada: Inicia o programa MyFavourite. Se não existir um programa guardado, o visor aparece a definição Definir MyFavourite.
5.PROGRAMAS
| Programa Nível de sujidade Tipo de entrega | Fases do programa Opções | ||
| ECO 50° 1) | • Sujidade normal • Faianças e talhe- res | • Pré-lavagem • Lavagem a 50 °C • Enxaguamentos • Secagem | • ExtraHygiene • TimeSaver • XtraDry |
| AutoSense 45°-70° 2) | • Tudo • Faianças, talhe- res, tachos e pa- nelas | • Pré-lavagem • Lavagem entre 45 °C e 70 °C • Enxaguamentos • Secagem | • ExtraHygiene • XtraDry |
| ProZone 50°-65° 3) | • Sujidade diversa • Faianças, talhe- res, tachos e pa- nelas | • Pré-lavagem • Lavagem a 50 °C e 65 °C • Enxaguamentos • Secagem | • TimeSaver • XtraDry |
| Pro 70° • Sujidade intensa • Faianças, talhe- res, tachos e pa- nelas | • Pré-lavagem • Lavagem a 70 °C • Enxaguamentos • Secagem | • ExtraHygiene • TimeSaver • XtraDry | |
| 30 Minutes 60° 4) | • Sujidade recente • Faianças e talhe- res | • Lavagem a 60 °C • Enxaguamentos | • ExtraHygiene • XtraDry |
| Glass 45° • Sujidade normal ou ligeira • Faianças e vidros delicados | • Lavagem a 45 °C • Enxaguamentos • Secagem | • XtraDry | |
| Prewash 5) | • Tudo • Pré-lavagem | ||
| Programa Nível de sujidade Tipo de entrega | Fases do programa Opções | |
| Extra silent 50° 6) • Sujidade normal • Faianças e talhe- res | • Pré-lavagem • Lavagem a 50 °C • Enxaguamentos • Secagem | • XtraDry |
1) Com este programa, tera os consumos de agua e energia mais eficientes para faianças e talheres com sujidade normal. (Este é o programa standard para testes.)
2) O aparecido detecta o;nvel de sujidade e a quantidade de loça nos cestos. Ajusta automaticamente a temperatura e a quantidade deágua, oconsumo de energia e a duração do programa.
3) Este programa é adequado para lavar loça com sujidade diversa. Sujidade muito intensa no cesto inferior e sujidade normal no cesto superior. A pressão e a temperatura da água no cesto inferior são superfiores às aplicadas no cesto superior.
4) Este programa destina-se à lavagem de uma energia com sujidade recente. Proporciona bons resultados de lavagem em pouco tempo.
5) Com este programa, pode enxaguar rapidamente a loça para fazer a adesão dos resíduos de alimentos aos pratos e a formação de maus odores no aparecido. Não utilize detergente com este programa.
6) Este é o programa mais silencioso. A bomba travaça a uma velocidade muito baixa para diminuir o nível de ruido. Devido à velocidade baixa, a duração do programa é maior.
5.1 Valores de consumo
| Programa 1) | Água (I) | Energia (kWh) | Duração (min.) |
| ECO 50° 11 0.857 225 | |||
| AutoSense 45°- 70° 7 - 14 0.6 - 1.6 40 - 154 | |||
| ProZone 50°- 65° 14 - 16 1.2 - 1.5 140 - 156 | |||
| Pro 70° 12.5 - 14.5 1.4 - 1.7 160 - 170 | |||
| 30 Minutes 60° 10 0.9 30 | |||
| Glass 45° | 12 - 14 0.7 - 0.9 84 - 94 | ||
| Prewash | 4 | 0.1 14 | |
| Extra silent 50° | 9 - 10 1.1 - 1.3 219 - 229 | ||
1) A pressão e a temperatura da água, as variações da corrente electrica, as opções e a quantidade de loça pode alterar these values.
5.2 Informação para testes
Para obter a informação necessária para testes de desempenho, por favor envie um e-mail para:
info.test@dishwasher-production.com
Anote o número do produit (PNC) indicao na placac de caractéristicas.
6.PROGRAMACOES
6.1 List de definições
Para ver a lista de definições, seleção. Definições na lista de opões.
| Definições Valores Descrição | ||
| Definir MyFavourite Lista de programs Definir o seu programa dia-rio favorito. Consulte a infor-mação espécífica fornecida)neste capítulo. | ||
| AutoOpen ON (valor predefinido)OFF | Seleciona a abertura auto-mática da porta para todos os programas, excepto Pre-wash. Consulte a informação espécífica fornecida;neste capítulo. | |
| Indicador de fim ONOFF | Informa que o programa ter-minou.Definições de fábrica: off( desligado). | |
| Sons "teclado" OffCliqueBip | Definir o som dos botões quando são premidos. | |
| Volume Do;nível 1 ao;nível 10. Ajuste do volume do som. | ||
| Luminosidade Do;nível 0 ao;nível 9. Alterar a luminosidade do visor. | ||
| Contraste Do;nível 0 ao;nível 9. Alterar o contraste do visor. | ||
| Dureza da água Do;nível 1 ao;nível 10. Definir o;nível do amaciadorda água, de acordo com adureza da água na sua area.Definições de fábrica:;nível 5. | ||
| Nível de abrilhantasador Do;nível 0 ao;nível 6.Nível 0 = nenhum abri-lhantasador libertado. | Definir o;nível do distribui-dor de abrilhantasador de acordo com a quantidade de abrilhantasador necessária.Definições de fábrica:;nível 4. | |
| Idiomas Lista de idiomas. Definir o seu idioma preferi-do.Idemia predefinido: Inglês. | ||
| Projecção no chão.Lista de cores. | Definir a cor do TimeBeam | |
| Repor definiçõesRESET | Repõe as definições de fá-brica no aparecido. | |
6.2 Como ALTERAR uma definição com 2_valores (ON e OFF)
Quando uma definição é alterada, mantém o novo valor mesmo quando um programa termina ou quando um programa é cancelado.
- Prima o botão Option.
- SeLECTIONE Definições.
- Prima o botão OK.
- SeLECTIONA definição que pretende alterar.
- Prima o botão OK para alterar o valor de ON para OFF ou vice-versa.
- Prima o botão Option repetidamente até que o visor aparece a lista de programas.
6.3 Como alterar uma definição commultiples价值观es
Quando uma definição é alterada, mantém o novo valor mesmo quando um programa termina ou quando um programa é cancelado.
- Prima o botão Option.
- SeLECTIONE Definções.
- Prima o botão OK.
- SeLECTIONA definiçao que pretende alterar.
- Prima o botão OK para entrada no[nível segunte.
- Selegione o novo valor.
- Prima o botão OK para confirmar.
- Prima o botão Option repetidamente até que o visor aparece a lista de programas.
6.4 Iniciar o programa MyFavourite
- Mantenha o botão OK premido durante 3 segundos, às que o visor aparece a definição MyFavourite.
- Fecha a porta do aparelho para iniciar o programa.
6.5 Como guardar o programa MyFavourite
Pode guardar apenas 1 programa de cada vez. Uma nova definição Cancela a anterior.
- Prima o botão Option.
- Selecione Definições.
- Prima o botão OK.
- Selegione Definir MyFavourite.
- Prima o botao OK.
O visor aparece a lista de programas.
6. Selegione um programa.
7. Prima o botão OK.
8. O visor aparena Ad. opçao e Concluido.
- Selezione Concludo se pretender guardar um programa sem as opções e prima OK.
-
SeLECTIONE Ad. opção para adicional uma opção ao programa e prima o botão OK para confirmar. Assim que tiver selecionado uma opção, o visor aparece Ad. opção e Concluido. Se pretender selecionar窗外 opção, selezione Ad. opção novamente; caso contrário, selezione Concluido.
-
Prima o botão OK.
Se o programa tiver a opçao TimeSaver, é necessario seleccionar Rápido ou Normal. - Prima o botao OK para confirmar. O visor confirma que o programa MyFavourite fou guardado.
6.6 AutoOpen
A opçao AutoOpen melhor a secagem e reduz o consumo de energia.

i O aparelho possui um dispositivo que abre a porta durante a fase de secagem. A porta é mantida entreaberta.
CUIDADO!
ão tente fechar a porta do aparelho durante os primeiros 2 horas après a abertura automatica. Isso pode danIFICAR o aparelho.
A funcão AutoOpen é activada automaticamente com todos os programas, excepto Prewash.
Para melhorar o desempenso da secagem, consulte a secao da opao XtraDry ou active a opao AutoOpen.
7. OPÇÖES
i E necessario activar sempre as opções que desejar antes de inicia um programa. Não é possivel activar ou desactivar opções durante oprogramming de um programa.
i Algumas opções não são compatíveis com outras. Se tentar selecionar opções incompatíveis, o aparecido desactiva automaticamente uma ou mais dessas opções. Apenas os indicadores das opções que ficarem activas continuarão acemos.
7.1 Listade opsoes
| Opções Valores Descrição | ||
| Início diferido De 1 a 24 horasOFF (valor predefinido) | Atrasar o ∈cido do programa. | |
| XtraDry ONOFF (valor predefinido) | Active esta opção se pretender melhorar o desempenhoda secagem. Consulte a in-formação especialica forneci-da;neste capítulo. | |
| ExtraHygiene ONOFF (valor predefinido) | A utilizesção女方 opçãoproporcióna mais higienepara talheres e loça. Duran-te a ultima fase de enchagua-mente, a temperatura per-manece nos 70 °C durantepelo menos 10 minutos. | |
| Definições Entrar nas definições do aparelho | ||
7.2 Como seleccionar uma opçao
A lista de opções apareça apenas as opções que se aplicuem ao programa
que estiver selecionado. As opçoes não aplicáveis não sãoPRESENTadas.
Algumas opções não são compatíveis com outras. Quanto tentar selecciónar 2
opões que sejam incompáveis, o aparecido desactiva automaticamente uma dessas opões.
Quando o programa terminar ou for cancelado, as opçoes voltam aos valuores predefinidos.
- Prima o botão Option.
- SeLECTIONAumaopao
O visor apareça o valor da opção entre parêntesis.
3. Prima o botão OK para alterar o valor de OFF para ON ou vice-versa.
Se a opçao selecionada for Inicio diferido, quando premir o botao OK, o visor aparece os他们在些他几,que pode selecionar para o inico diferido.
Selección o número de horas e prima o botão OK novamente para confirmar.
- Para voltar à lista de programas, prima o botão Option
Active esta opçao se pretender melhorar o desempenso da secagem. Autilização这其中 opçao pode afectar a duração deagemas, oconsumo de água e a temperatura do最後eno enchaguamento.
A opção XtraDry é uma opçao permanente para todos os programas, excepto o ECO 50^ , e não tem de ser selecionada sempre que pretendida para cada ciclo.
Sempre que o programa ECO 50^ for activado, a opçao XtraDry é desactivada
e tem de ser activada manualmente.
Noutros programas, a selecao da opcao XtraDry é permanente e é'utilizada automaticamente nos ciclo seguentes.
Esta configuraao pode ser alterada em qualquer momento.
A activations da opção XtraDry desactiva a opção TimeSaver.
7.4 TimeSaver
Esta opçao aumento a pressao e atemperatura da agua.
As fases de lavagem e secagem são mais curtas. A duração total do programa diminui em和地区 de 50% .
Os Resultados da lavagem são IDENTicos aos do programa com a duração normal, mas os resultados da secagem podem ser menos satisfátórios.
A opçao TimeSaver não pode ser aplicada a todos os programas.
-
Pecorra a lista de programas e selección um programa.
-
Prima o botão OK para confirmar.
Se for possivel aplicar a opçao
TimeSaver ao programa selecionado, o visor aparea as 2 condições Rápido e Normal e a duração do programa para cada condição:
Prima o botão OK para confirmar.
Prima o botão OK para confirmar.
8. ANTES DA PRIMEIRA UTILIZACHO
Quando activar o aparelho pela primarya vez, tera de seleccionar o idioma. O idioma predefinido e o Inglês.
-
Selezione o idioma.
-
Prima OK para confirmar Português.
-
Percorra a lista de idiomas disponible para seleccionar o seu e prima OK para confirmar.
-
Certifique-se de que o;nível definido para o amaciador da agua corresponde à dureza da agua
fornecida. Caso contrario, ajuste o nível do amaciador da agua.
- Encha o deposito de sal.
- Encha o distribuidor de abrilhantasor.
- Abra a torneira da agua.
- Inicia um programa para remover eventuels residuos de processamento que possam acred existir no aparelho. Não utilize detergente e não colque loça nos cestos.
Quando起初 um programa, o aparecido pode demorar até 5 horas a recarregar a resina no amaciador da água. Podera parecer que o aparecido não está a funciona. A fase de lavagem meça apenas quando this processo terminar. O processo sera repetido periodically.
O descalcificado da agua remove minerais da agua que podem deteriorar os resultados da lavagem no aparecido.
Quanto maior for o conteudo destes minerais, maior é a dureza da agua. A dureza da agua é medida em escalas equivalentes.
O descalcificado da agua deve ser regulado de acordo com a dureza da agua da sua area. Os serviços de abastecimento de agua podem indicar qual o grau de dureza da agua na sua area. É importante definir o;nivel correto do descalcificado da agua para garantir bons resultados de lavagem.
Dureza da agua
| Graus alemães (°dH) | Graus franceses (°fH) | mmol/l Graus Clar- ke | Nível do descalcifi- cador da água |
| 47 - 50 84 - 90 8,4 - 9,0 58 - 63 10 | |||
| 43 - 46 76 - 83 7,6 - 8,3 53 - 57 9 | |||
| 37 - 42 65 - 75 6,5 - 7,5 46 - 52 8 | |||
| 29 - 36 51 - 64 5,1 - 6,4 36 - 45 7 | |||
| 23 - 28 40 - 50 4,0 - 5,0 28 - 35 6 | |||
| 19 - 22 33 - 39 3,3 - 3,9 23 - 27 | 5 1) | ||
| 15 - 18 26 - 32 2,6 - 3,2 18 - 22 4 | |||
| 11 - 14 19 - 25 1,9 - 2,5 13 - 17 3 | |||
| 4 - 10 7 - 18 0,7 - 1,8 5 - 12 2 | |||
| <4 <7 <0,7 < 5 | 1 2) | ||
1) Definência de fabrica.
2) Não utilize sal;neste nivel.
Se utilizes detergente normal ou pastilhas combinadas (com ou sem sal), selección o;nivel de dureza da agua adequado para manter o indicator de falta de sal activo.

As pastilhas combinadas que contentem sal não são suficientemente eficazes para amolecer agua dura.
Utilize apenas sal especialico para máquinas de lavar loça.
O sal é utilizado para recarregar a resina do amaciador da água e para garantir bons resultados de lavagem no quotidiano.
Como encher o deposito de sal
- Rode a tampa do deposito de sal no sentido anti-horário e retiree-a.
- Coloque 1 litro de agua no deposito de sal (apenas na primarya vez).
- Encha o deposito de sal com sal para migunas de lavar loica.

- Retire o sal que tiver ficado a volta da abertura do deposito de sal.

É possessivel que saía agua e sal do deposito de sal quando estiver a enchte-lo. Isso representa risco de corrosão. Para o evitar, inicia um programa deposite encher o deposito de sal.

Quando for necessario reabastecer o deposito de sal, o visor aparena una mensagem.
O abrilhantador ajuda a partir a loica sem ricos e manchas.
O abrilhantasoré libertado automaticamente durante a fase de enxaguamento a quente.
Podeaabastar Quantidade de abrilhantasdortobertadoentre1 (quantidademinima)e6 (quantidade maxima).O nivel 0 desactivodistribuidordeabrilhantasdoimpedealibertaocdeabrilhantasdor.
Definção de fabrica: nível 4.
- Abra a tampa (C).
- Encha o distribuidor (B) até o abrilhantasitor atingir a marca "MAX".
- Retire o abrilhantasor entornado com um pano absorvente para evitar demasiada espuma.
- Feche a tampa. Certifique-se de que a tampa fica fechada e bloqueada.

Encha o distribuidor de abrilhantasdo quando o indicator (A) ficar claro.

Quando for necessario reabastecer o distribuidor de Abrilhantasor, o visor aparesta uma mensagem.
Se utilizes pastilhas combinadas e a secagem for satisfatura, pode desactivar o indicator de falta de Abrilhantasador regulando o nivel de Abrilhantasador para 0.
9. UTILIZACão DiÁRIA
- Abra a torneira da agua.
- Prima o botão On/Off (ligar/desligar) para activar o aparecido.
Certifique-se de que o aparelho está no modo de selecao de programa.
- Se o visor indica que é necessário colocar sal, encha o deposito de sal.
-
Se a mensagem de falta de abrilhantasor for aparenda, encha o distribuidor de abrilhantasor.
-
Cologne a loiça nos cestos.
- Adicione o detergente.
- SeLECTIONE e inicie o programa correto para o tipo de energia e grau de sujidade.
9.1 Utilizar detergente


CUIDADO!
Utilize apenas detergente especifico para maquinas de lavar loica.
- Prima o botão de libertação (A) para abrir a tampa (C).
- Coloque o detergente em po ou pastilha no compartmento (B).
- Se o programa tiver uma fase de pré-lavagem, coloque uma pequena

Recomendamos que utilize sempre abrilhantasdo para obter a melhor secagem, mesmo com pastilhas combinadas que contenham abrilhantasdo.
quantidade de detergente na parte interior da porta do aparelho.
- Fecha a tampa. Certifique-se de que a tampa fica fechada e bloqueada.
9.2 SeLECTIONAR e iniciar um programa
Funcao Auto Off
Esta funcao diminui oconsumo de energia desactivando automaticamente o aparelho quando nao está a funciona.
Afuncaoéactionadinasegmentes situações:
- 5 Minutes après o fim do programa.
- 5 Minutes après a ultima acção se o programa não for iniciado.
Iniciar um programa
Quando activar o aparelho, o visor aplenta a lista de programas. O programa ECO é sempre o programa predefinido.
- Pecorra a lista de programas e selección um programa.
- Selezione as opsoes aplicaveis que desejar.
Apos seleccionar as opsoes, volte a lista de programas e inicia o programa seleccionado.
- Prima OK.
Se o programa for compativel com a opcao TimeSaver, é necessario selecionar Rápido ou Normal.
- Fecha a porta do aparelho para que o programa inicia.
Não é possivel selecionar o iniciodiferido com o programa MyFavourite.
- Prima OK para confirmar.
- Pode seleccionar outras opções aplicáveis.
- Prima Option repetidamente até que o visor aparece o programa selecciónado.
- Prima OK.
- Fecha a porta do aparecido para iniciair a contagem decrescente do,inicio diferido.
Quando a contagem decrescente terminar, o programa inicia automaticamente.
Abrir a porta do aparecido durante o funciona
SeAbriraporta durante o
funcionamento de um programa, o
aparelho para de funcionar. lsto pode
afectar oconsumo de energia e a
duraao do programa.Quando fechar a
porta,oaparelhocontinuaapartirdo
ponto de interruptao.

SeAbriraporta durantea fase de secagem e deixa-la aberta durante mais de 30 segundos, o programa termina. Isto não acontece se a porta for aberta pela funcao AutoOpen.

CUIDADO!
Não tente fechar a porta do aparelho durante os primeiros 2关键时刻 às vezes sido aberta automaticamente pela:
função AutoOpen, porque pode danIFICAR o aparelho. Se, aparecido, a porta for mantida fechada durante 3关键时刻, o programa actual terminina.
Cancelar o,inicio diferido com acontagem decrescente ja iniciada
Quando cancelar um inico diferido, o programa e as opoes voltam aos价值观es predefinidos.
- Abra a porta do aparelho.
-
Prima continuamente o botão Option durante 3 segundos, até que o visor aparece: Stop washing?.
-
Selezione Continuar e prima OK para que a contagem decrescente continue. Fecha a porta do aparelho.
- Selección Stop e prima OK para cancelar o inicia diferido.
Cancelar um programa em的方式来
Quando cancelar um programa em,.
como,as opoes voltam aos valores.
predefinidos.
- Abra a porta do aparelho.
-
Prima continuamente o botão Option durante 3 segundos, até que o visor aparece: Stop washing?.
-
Selezione Continuar e prima OK para que o programma em;, esso continue. Fecho a porta do aparelho.
- Selezione Stop e prima OK para cancelar o programa em coisa.
Fim do programa
Quando o programa terminar, o TimeBeam aparena 0:00 e CLEAN. O
aparelho desactiva-se automaticamente quando a porta for aberta.
10. SUGESTÖES E DICAS
10.1 Gerald
As sugestões seguem garantem resultados de lavagem e secagem发展目标 de ajudam a proteger o ambiente.
- Retire os residuos de alimentos maiores dos pratos antes de os colocar naquina.
- Não passae a loiça por água antes de a colocar na boa. Se for necessário, utilize o programa de prélavagem (se disponible) ou selecione um programa que tenha fase de prélavagem.
- Utilize sempre todo o espaço dos cestos.
- Quandoregaro o aparelho, certifique-se de que a agua libertada pelos braços aspersores acontegue alcancar e lavar toda a loça. Não coloque peças emcontacto com outras ou por cima de outras.
- Pode utiliser detergente, abrilhantasor e sal para maquina de lavar loiça ou utiliser pastilhas combinadas ("3 em 1", "4 em 1", "Tudo em 1", etc.). Siga as instruções indicadas na embalagem. As pastilhas combinadas são adequadas para和地区 onde a dureza da água não ultrapasse 21^ . Nas和地区 onde a dureza da agua for superior, é necessário usar也是非常 abrilhantasor e sal.
- SeLECTIONO o programa de acordo com o tipo de energia e grau de sujidade. Com o programa ECO, terao consumo de agua e energia mais eficiente para faianças e talheres com sujidade normal.
10.2 Utilizar sal, abrilhantador e detergente
- Utilize apenas sal, abrilhantador e detergenteproprios para maquina de lavar loica. Autilizaçãodeoutsros produits pode danificar o aparelho.
Feche a torneira da agua.
- As pastilhas combinadas são adequadas para和地区 onde a dureza da agua não ultrapasse 21^ . Nas areas onde a dureza da agua for superior, é necessario utiliser也是非常 abrilhantas o sal lem das pastilhas combinadas. Para as areas com agua dura ou muito dura, recomendamos a utilizesao de detergente (pó, gel e pastilhas sem as outras funções), abrilhantas o sal em分开ado para obtenção dos melhores resultados de lavagem e secagem.
- Pode desactivar o distribuidor de abrilhantasor quando utilize pastilhas combinadas, mas recomendamos que utilize sempre abrilhantasor para obter a melhor secagem possivel. Se utilizes pastilhas combinadas e se a dureza da sua agua for inferior a 21 ^o dH , pode regular o descalcificado da agua para o;nivel minimo.
- As pastilhas de detergente não se dissolve um totalmente nos programas curtos. Para fazer resíduos de detergente na loça, recomendamos que utilize as pastilhas apenas com programas longos.
- Não utilize mais do que a quantidade correctá de detergente. Consulte as instruções na embalagem do detergente.
10.3 O que fazer se quiser deixar de utilizes pastilhas de detergente combinadas
Antes deveniracarutilizardetergente, sal eabrilhantador em分开o, execute o segunteprocedimento.
- SeLECTIONO o nivel maximalo do descalcificado da agua.
- Certifique-se de que o deposito de sal e o deposito de Abrilhantasor está cheios.
-
Inicie o programa mais curto que tenha uma fase de enchagamento. Não utilize detergente e não coloque loça nos cestos.
-
Quando o programa terminar, regule o;nivel do descalcificado da agua para a dureza da agua na sua area.
- Regule a quantidade de abrilhantasdo libertar.
- Active a indentação de falta de abrilhantasor.
10.4 Colocar loça nos cestos
- Utilize o aparelho apenas para lavar loça que possa ser lavada na区内.
- Não coloque peças demadeira, marfim, aluminio, estanho ou cobre no aparelho.
- Não coloque itens que possam absorver água na区内 (esponjas, panos domesticos).
- Retire os residuos de alimentos maiores dos pratos antes de os colocar naquina.
- Amoleça os residuos de comida queimados.
- Coloque as peças ocas (chávenes, copos e panelas) com a abertura para baixo.
- Certifique-se de que os copos não tocam noutros copos.
- Cologne os talheres e outros objectos, ��enos na gaveta de talheres.
- Coloque as peças leves no cesto superior. Certifique-se de que a loça não se move.
- Certifique-se de que os braços aspersores podem mover-se
livamente antes de起初 un programa.
10.5 Antes de起初 um programa
Certifique-se de que:
- Os filtros está limpos e bem instalados.
- A tampa do deposito de sal está bem apertada.
- Os braços aspersores não está obstruídos.
- Existe abrilhantasdo sal para\ máquinas de lavar loiça (excepto se\ utilizar pastilhas de detergente\ combinadas).
- A loja está colocada correctamente nos cestos.
- O programa é adequado ao tipo de entrega e ao grau de sujidade.
- Foi'utiliza a quantidade de detergente correcta.
10.6 Descarregar os cestos
- Deixe a loça arrerefcer antes de autar do aparecido. A loça quente danifica-se fácilmente.
- Esvazie primo o cesto inferior e só antes o cesto superior.

No fim do programa, pode ainda existir agua nas partes laterais e na porta do aparelho.
11. MANUTENÇA O LIMPEZA

AVISO!
Antes de qualquer accao de manutenao, desactive o aparelho e deslige a ficha da tomada electrica.

Se os filtros estiverem sujos e os braços aspersores estiverem obstruções, os resultados de lavagem são inferioros. Verifique-os regularamente e limpe-os se for necessário.
11.1 Limpar os filtros
Sistema de filtração é composto por 3 peças.

- Rode o filtro (B) no sentido antihorário e remove-o.


- Retire o filtro (C) do filtro (B).
- Retire o filtrlo plano (A).

- Lave os filtros.

- Certifique-se de que não há resíduos de alimentos ou sujidade dentro e a volta da borda do colector.
- Reinstale o filtro plano (A). Certifique-se de que fica posicionado correctamente debaixo das 2 guias.

- Monte os filtros (B) e (C).
- Reinstale o filtro (B) no filtro plano (A). Rode-o no sentido horario até bloquear.


CUIDADO!
Uma posicao Incorrecta dos
filtros pode causar
resultados de lavagem
insatisfatorios e danos no
aparelho.
11.2 Limpar o BRAço aspersor superior
Recomendamos a limpeza regular do braço aspersor superior para fazer a acumulacao de sujidade nos orificios.
O entupimento dos orificios pode resultar em lavagem insatisfatória.
- Puxe o cesto superior para fora.
- Para desencaixar o braço aspersor do cesto, pressione o braço aspersor para cima na direção指示a pela seta inferior e rodeo no sentido horário.

- Lave o braço aspersor em água corrente. Utilize um objectoAGO pontiagudo, por exemplo um palito, para remove a sujidade dos orificios.

- Para encaixar o BRAço aspersor do cesto, pressione o BRAço aspersor para cima na direção指示a pela seta inferior e rodeo no sentido anthorário até ficar encaixado.

11.3 Limpeza externa
- Limpe o aparelho com um pano macio e humido.
- Utilize apenas detergentes neutros.
- Não utilizeiros abrasivos, esfregoes ou solventes.
11.4 Limpeza do interior
- Limpe o aparelho com cuidado, incluindo a junta de borracha da porta, com um pano macio humido.
- Se utilizes frequently programas de curta duração, pode ocorrer acumulação de gordura e calcário no interior do aparelho. Para fazer isto, recomendamos que utilize programs de longa duração pelo menos 2 vezes por mês.
- Para manter o melhor desempenho do seu aparelho, recomendamos a utilizesacion de um produit de limpeza especico para maquinas de lavar loica uma vez por mês. Siga rigorosamente as instruções da embalagem do produits.
12. RESOLUÇÃO DE PROBLEMAS
O aparecido não funciona ou está durante o acontecimiento. Tente resolver o problema com a ajuda da informação daanela antes de contactar um Centro de Assistência Tecnica Autorização.
Quase todos os problemas que ocorrem podem ser resolvidos sem necessidade de contactar um Centro de Assistencia Tecnica Autorizzato.

AVISO!
Qualquer reparacao executada incorrectly pode resultar em riscos de segurarca para outilizador. Todas as reparacoes tem de ser efectuadas por pessoal qualificado.
| Problema e)código de alar-me | Possível causa e soluacao |
| Não consigue activar o apa-relho. | • Certifique-se de que a ficha está ligada na tomada elec-trica.• Certifique-se de que não há um disjuntor desligado no quadro eletrico. |
| O programa não inicia. • Certifique-se de que a porta do aparelho está fechada.• O aparelho iniciou o procedimento de recarregamento da resina dentro do descalcificado da agua. O procedi-mente demora aproximadamente 5 minutos. | |
| O aparelho não se enche com água.O visor apareça,10 | • Certifique-se de que aorneira da agua está aberta.• Certifique-se de que a pressão do fornecimento de agua não é demasiado baixa. Para obter esta informa-ção,contacte os serviços de abastecimento de água lo-cais.• Certifique-se de que aorneira da agua não está ob-struária.• Certifique-se de que o FILTER da mangueira de entrada não está obstruído.• Certifique-se de que a mangueira de entrada não tem dobras ou vincos. |
| O aparelho não escoa a agua.O visor apareça,20 | • Certifique-se de que o sifão do lava-loiça não está ob-struído.• Certifique-se de que o FILTER da mangueira de saída não está obstruído.• Certifique-se de que o Sistema de filtração inferior não está obstruído.• Certifique-se de que a mangueira de escoamento não tem dobras ou vincos. |
| Problema e)código de alar-me | Possível causa e soluçao |
| O dispositivo anti-inundação FOI activado. O visor apareça,30 | •F到账 a torneira da água e contacte um Centro de As-sistência Técnica Autorização. |
| O aparelho para e recomeça muitas vezes durante o fun-cionamento. | •Isso é normal.Esta acção proporcionala uma lavagem op-tima com poupança de energia. |
| O programa demora dema-siado tempo. | •Selecione a opção TimeSaver para encurtar o tempo do programa. |
| O tempo restante indicado no visorumenta e avança quase até ao fim do tempo do programa. | •Não se tratate de uma anomalia. O aparelho está a fun-cionar corretoamente. |
| As opções do programa têm de ser selecionadas sem-pre. | •Para guardar as suas definições favoritas,utilize a opção MyFavourite. |
| Existe uma很小a fuga na porta do aparelho. | •O aparelho não está nivelado. Desaperte ou aperte os pés ajustáveis (se aplicável).•A porta do aparelho não está centrada com a cuba. Ajuste o pé traseiro (se aplicável). |
| É dificil fechar a porta do aparelho. | •O aparelho não está nivelado. Desaperte ou aperte os pés ajustáveis (se aplicável).•Existe loíça saliente dos cestos. |
| Ouve-se ruido de pancadas no interior do aparelho. | •A loíça não FOI bem arrumada nos cestos. Consulte o fo-lheto com as instruções de correamento dos cestos.Certificque-se de que os braços aspersores podem rodar livremente. |
| O aparelho faz disparar o disjuntor. | •A amperagem do disjuntor não é suficiente para supor- tar todos os aparelhos que estai a funcional. Verifique a amperagem da tomada e a capacidade do controle ou deslfigure algo amelho que esteja a funcional.Falha eletrica interna do aparelho. Contacte um Centro de Assistência Técnica Autorização. |

Consulte os capítulos "Antes da primeira'utilização", "Utilização diária" ou "Suggestões e datas" para conhecer outras causas possíveis.
ocorro,contacte um Centro de Assistencia Técnica Autorizo.
No caso de surgir algoum numero de alarme que nao esteja naabela, contacte um Centro de Assistencia Técnica Autorizo.
Apos verificar o aparelho,DSLigue-o e voite a ligal. Se o problema voltar a
12.1 Os Resultados de lavagem e de secagem não são satisfátórios
| Problema Possível causa e soluções | |
| Lavagem insatisfatório. | • Consulte os capítulos “Utilização diária” e “Sugestões e datas” e o folheto com as instruções de corre-gamento dos cestos. • Utilize programas de lavagem mais intensivos. • Limpe os orificios do braço aspersor e o filtró. Consul- te o capítulo “Manutenção e limpeza”. |
| Secagem insatisfatório. • A loiça esteve demasiado tempo dentro do aparelho fechado. • Não existe abrilhantasior ou a dosagem de abrilhanta- dor não é sufiente. Regule o distribuidor de abri- lhantasador para um nível superior. • Pode ser necessário secar os artigos de plácico com um pano. • Para obter o melhor desempenho na secagem, active a opção XtraDry e seleção AutoOpen. • Recomendamos que utilize sempre abrilhantasador, mesmo com pastilhas de detergente combinadas. | |
| Riscos esbranquinçados ou ca- madas azuladas nos copos e pratos. | • Foi libertado demasiado abrilhantasador. Ajuste o nível de abrilhantasador para um nível inferior. • Excesso de detergente. |
| Manchas emares de água se- cas nos copos e nos pratos. | • A quantidade de abrilhantasador libertado não é sufici- ente. Ajuste o nível de abrilhantasador para um nível su- perior. • A causa pode estar na qualida do abrilhantasador. |
| A loiça fica molhada. • Para obter o melhor desempenho na secagem, active a opção XtraDry e seleção AutoOpen. • O programa não tem fase de secagem ou a fase de secagem usa uma temperatura baixa. • O distribuidor de abrilhantasador está vazio. • A causa pode estar na qualida do abrilhantasador. • A causa pode estar na qualida das pastilhas de de- tergente combinadas. Experimente uma marca difere- rente ou active o distribuidor de abrilhantasador para utilizar abrilhantasador em conjunto com as pastilhas de detergente combinadas. | |
| O interior do aparelho está molhado. | • Não se tratate de um defeito do aparelho. A humidade do ar condensa-se nas paredes interiores do aparelho. |
| Espuma involgar durante a la- vagem. | • Utilize asenas detergente adequado para máquinas de lavar loíça. • Existe uma fuga no distribuidor de abrilhantasador. Con- tacte um Centro de Assistência Técnica Autorizada. |
| Problema Possível causa e solução | |
| Vestígios de ferrugem nos ta-lheres. | ·Existe demasiado sal na água da lavagem. Consulte "O descalcificado da água". ·Talheres de prata emAGO com talheres de aço inoxidável. Evite colocar talheres de prata perto de ta-lheres de aço inoxidável. |
| O distribuidor do detergente fica com resíduos de deter-gente no fim do programa. | ·A pastilha de detergente ficou colada ao distribuidor e não foi totalmente dissolvida pela água. ·A água não consigues tirar o detergente do distribui-dor. Certificque-se de que o braço aspersor não está obstruído. ·Certificque-se de que não há objectos nos cestos a im-pedir a abertura do distribuidor de detergente. |
| Odores no interior do apare-lho. | ·Consulte "Limpeza do interior". |
| Depósitos de calcário na loiça, na cuba e na face interior da porta. | ·O[nével de sal está baixo; verifique o indicator de falta de sal. ·A tampa do deposito de sal está solta. ·A sua água é dura. Consulte "O descalcificado da água". ·Mesmo que utilize pastilhas combinadas multifunções, utilize sal e regule a regeneração do descalcificado da água. Consulte "O descalcificado da água". ·Se continuear a observar depositos de calcário, limpe o aparelho com um produto de limpezaproprio para es-te efeito. ·Experimente um detergente diferente. ·Contacte o fabricante do detergente. |
| Loiça boa, descolorada e las-cada. | ·Certificque-se de que lava naáriaina apenas os arti-gos que podem ser lavados naáriaina. ·Carregue e descarregue os cestos com cuidado. Cons-ulte o folheto com as instruções de correjamento dos cestos. ·Coloque os artigos delicados no cesto superior. |

Consulte os capítulos
"Antes da primeira
utilização", "Utilização
diária" ou "Sugestões e
dicas" para conhecer outras
causas possiveis.
13. INFORMACAO TECNICA
| Dimensoes Largura / Altura / Profundi-dade (mm) | 596 / 818-898 / 550 |
| Ligação eletrica 1) | Tensão (V) 200 - 240 |
| Frequência (Hz) 50 / 60 | |
| Pressão do fornecimento de água | Mín. / Max. bar (MPa) 0.5 (0.05) / 8 (0.8) |
| Fornecimento de água | Água fria ou água quente 2) max. 60 °C |
| Capacidade Requisitos do local de instalação | 15 |
| Consumo de energia Modo On (ligado) (W) 5.0 | |
| Consumo de energia Modo Off (desligado) (W) 0.10 | |
1) Consulte todos os valore na place de caractéristicas.
2) Se a agua quente for proveniente de fontes de energias renovaveis (ex.: paineis solares, energia eólica), utilize-a para diminuir o consumo de energia.
Recycle os materiais que aparecem o symbolo. Coloque a embalagem nos contentsores indicados para reciclagem. Ajude a proteger o ambiente e a saude Pública atraves da reciclagem dos aparhos electrolycicos e electrónicos. Não elimine os aparhos que tenham o
simpilo Juntamente com os resíduos dométricos. Coloque o produit num ponto de recolha para reciclagem local ou contacte as suas autoridades municipais.
CONTENIDO
- INFORMACION SOBRE SEGURIDAD 54
- INSTRUCCIONES DE SEGURIDAD 55
3.DESCRIPTION DEL PRODUCTO. 57
4.PANEL DE MANDOS. 58
5.PROGRAMAS. 59
6.AJUSTES 60 - OPCIONES 62
8.ANTES DEL PRIMER USO 64
9.USO DIARIO. 66 - CONSEJOS 68
- MANTENIMIENTO Y LIMPIEZA 70
- SOLUCIOn DE PROBLEMAS 72
- INFORMACION TECNICA 75
PARAOBTENERRÉSULTADOSPERFECTOS
Utilice exclusivamente detergente disnado especificamente para lavavajillas.