SCD5350SI - Rádio Soundmaster - Manual de utilização gratuito
Encontre gratuitamente o manual do aparelho SCD5350SI Soundmaster em formato PDF.
Questions des utilisateurs sur SCD5350SI Soundmaster
0 question sur cet appareil. Repondez a celles que vous connaissez ou posez la votre.
Poser une nouvelle question sur cet appareil
Baixe as instruções para o seu Rádio em formato PDF gratuitamente! Encontre o seu manual SCD5350SI - Soundmaster e retome o controlo do seu dispositivo eletrónico. Nesta página estão publicados todos os documentos necessários para a utilização do seu dispositivo. SCD5350SI da marca Soundmaster.
MANUAL DE UTILIZADOR SCD5350SI Soundmaster
Não junte este aparelho jintamente com os resíduos dométricos no final do seu ciclo de vidautil. Coloque-o num punto de recolha para reciclagem de aparhos electrolycicos e electrónicos. Isto é indicado pelo símbolo no aparelho,manualdoutilizadorounaembalagem.

Os materiais são reutilizaveis de acordo com as marcas respectivas. Ao reutilizá-los, reciclá-los ou qualquer窗外a forma de utilização de aparelhos antigos, está a contribuir de forma importante para a proteção do meuio ambiente.
Contacte as suas autoridades locais para obter informações sobre pontos de recolha.

CUIDADO - RADIÇÃO LASER INVISÍVEL QUANDO ABRIR A TAMPA OU PREMIR O FECHO DE SEGURANÇA. EVITE EXPOSÇÃO AO FEIXE LASER.



Cuidado: Para reduzir o risco deCHOque eletrico, não retire a tampa (ou o revestimento traseiro). Não existem no interior peças passiveis de serem substituidas pelo Utilizador. Permita que a assistencia Tecnica sera efectuada por um Tecnico qualificado.


Este=simbolo indica a presence de tensao perigosa no interior do aparelho, suficiente para provocar choques eletricos.
Este=simbolo indica a presence de instruções de funcção e manutençao importantes para o aparecido.
Instruções de Segurarca, Ambientais e de Configuração
Utilize o aparelhoapanas em ambientes internos e secos.
Proteja o aparelho da humidade.
- Não abra o aparecido. RISCO DE CHOQUE ELECRICO! Permita que o aparecido sera aberto e assistido por um专业技术ico especialico.
Ligue est aperelo apenas a um tomada de parede devidamente instalada com terra. Certificque-se de que a tension da rede eletrica coresponde com as especificações da placar informativa do aparelho.
- Certifique-se de que o cabo de alimentacao permanece seco durante o functiomento. nao trilhe ou danifique o cabo de alimentacao de forma alguma.
- Um cabo de alimentação danificado deve ser imeditamente substituido por um centro de assistência Tecnica autorizada.
- Em caso de occurência de trovoada, desluge imeditamente o aparecido da tomada.
- As crianças devem supervisionadas por umadulto responsavel quandoutilizarem o aparelho.
- Limpe o aparelho apenas com um pano seco.
NAO utilize PRODutos DE LIMPEZA ou PANOS ABRASIVOSI!
- Não exponha o aparecido a luz solar directa ou a outras fontes de calor.
- Instale o aparelho num local com ventilacao suficiente para fazer a accumulacao de calor.
- Não cubra as aberturas de ventilação!
- Instale o aparelho num local seguro e sem vibrações.
- Instale o aparelho o mais longe possivel de computador e fornos microondas; caso contrario, a recepcao de rado podera sofrer interferencias.
- Não abra ou repar o revestamento. Não é seguro fazê-lo e irá anular a sua garantia. As reparações devem ser efectuadas apenas por um service/centro autorizado de assistência.
- O aparecido está equipado com um "Laser Classe 1". Evite exposicao ao feixe laser, quando que este podera provocar lesoes oculares.
Utilize apenas pilhas sem mercúrio nem cádmio.
As pilhas usadas são um residuo perigoso e NAO devem ser colocadas juntamente com os residuos domesticos!!! Colque as pilhas num dos pontos de recolha da sua localidade. - Mantenha as pilhas afastadas das crianças. Estas poderao engolir as pilhas. Se uma pilha for engolida, contacte imeditamente um medico.
- Verifique as susas pilhas regularmente para evitar derramamento das mesmas.

As pilhas usadas são um residuo perigoso e NÃO devem ser colocadas juntamente com os residuos domesticos! Enquanto consumidor, está legalmente obligado a depositar todas as pilhas num local adequado para uma reciclagem ambientalmente responsavel - independentemente de as pilhas conterem ou não substancias perigosas').
Cologne as pilhas gratuitamente num dos pontos de recolha Públicos na sua localidade ou em lojas que commerciazem pilhas do mesmo tipo.
Cologne apenas pilhas completeness decarregadas.
*) marcadas Cd = cadmium, Hg = mercury, Pb = chumbo
PORTUGUES


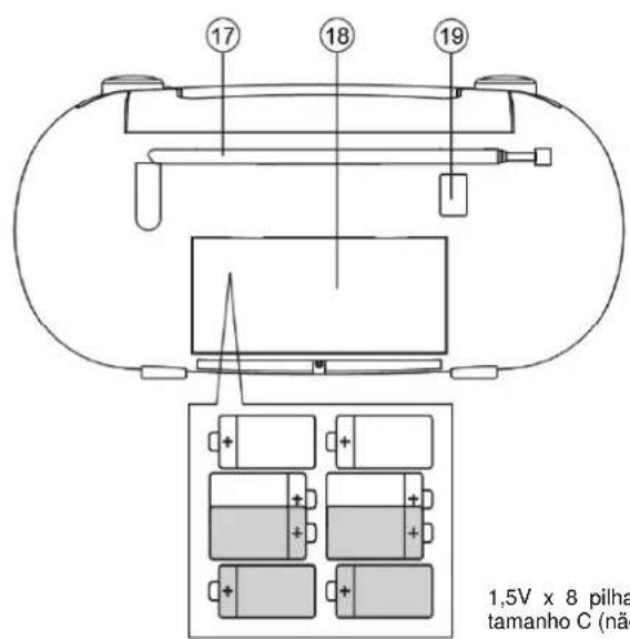
1,5V x 8 pilhas R14 UM2 tamarho C (não inclidas),
- Volume
- Entrada para microfone
- Seletor de funcão
- DBBS
- Programar CD
- Repetir CD
- SALTAR para tras CD <<
- SALTAR para a frente CD >>
- PARAR CD
-
REPRODUZIR CD/Pausa
-
Compartimento do CD
- Interruptor de banda AM/FM/FM-ST
- Controlo de sintonização
- Teclas do gravador de cassetes
- Visor LCD
- Microfone
- Antena telescópica de FM
- Compartimento das pilhas
- Rede elétrica de CA
Fornecimento de Energia
Verifie se a tensao de alimentacao, como lostrado na chapa de tipo que se encontra no fundo do aparelho, corresponde ao seu fornecimento de energia de CA local. Ligue o cabo de alimentacao a entrada da REDE ELETRICA DE CA na tomada de parede. Coloque o interruptor de alimentacao principal (20) na posicao "I". O fornecimento de energia está agora ligado e prento para ser realizado.
Pilhas (não incluidas)
Abra o compartmento das pilhas e introduza Pilhas 8x 1,5V UM-2/C com a polaridade correta como indicado pelos sintoblos ^+ e-no interior do compartmento.
No misture varios pilas por ex., alcalinas com carbono-zinco. Utilize apenas pilhas do mesmo tipo para o aparelho. Quando introduzir pilhas novas, nao tente misturar pilhas velhas com pilhas novas. Retire as pilhas se o aparecido não forutilizzato durante um longo periodo de tempo.
Modo de Standby Economico
Se o aparelho estiver inativo durante 15 Minutes, este muda automaticamente para o modo de STANDBY. Prima o botão >/II
REPRODUZIR/PAUSA para continuar.
Volume
Regular o som com o interruptor de Volume
Microfone
- Deslize o seletor de FUNCAO para a posicao (CD, MIC, FITA (DESLIGAR), RARIO). Nota: No modo de FITA (DESLIGAR) (TAPE (OFF)), a funcao de mic funciona, com reproducir cassette.
- Introduza as fichas do microfone na entrada de Mic, e entao os microfones poder ser ligados.
- Rode o botao de VOLUME para regular o som
PORTUGUES
Rádio
- Deslize o seletor de FUNCão para RÁDIO
- Deslize o seletor de BANDA para FM STEREO; FM
- Rode o controlo de SINTONIZACAO para encontrar as estacoes de radopretendidas
Para FM: puxe a antenna telescopica para fora. Incline e rode a antenna. Reduza o seu comprimento se o sinal for feo demais (muito perto de um transmisor)
Cassete
- SeLECTIONA origem da Fita
- Prima PARAR EJETAR (STOP EJECT) para Abrir a porta da cassete
- Introduza uma cassette gravada e feche a porta da cassette
- Prima em REPRODUZIR para,iniciar a reproducao
- Para interromper a reproducao, prima em PAUSA. Para continuar, prima novamente a tecla
- Ao premier |<< ou >>| no aparelho, é possivel a rapiida rebobinagem da fita em ambos os sentidos#
- Para Parar a fita, prima PARAR EJETAR
Gravarapartirdoradio
- Sintonize a estação de rádio pretendida (ver SINTONIZAR ESTAGOs DE RÁDIO)
- Prima PARAR EJETAR (STOP EJECT) para Abrir a porta da cassete
- Introduza una cassette apropriadna no compartmento da cassette e feche a porta da cassette.
- Prima em GRAVAR (RECORD) para,iniciar a gravacao
- Para breves interruptoes, prima em PAUSA. Para continuar a gravacao, prima novamente em PAUSA.
- Para parar a gravacao, prima em PARAR EJETAR
Manutenção
Para asseguar a qualida de gravacao e de reproducao do compartmento da cassette, limpe a cabeca de gravacao e de audio apso aprox. 50 horas de funcaoamento, ou em media um vez por mês. Utilize um cotonete ligeiramente humedecido com alcool ou um liquido especial para limpeza de cabças para limpar o compartmento. Nota: Antes de limpar estas partes assegure-se de que não está ligado qualquer fornecimento de energia.
Leitor de CD
- Regule o seletor de origem para CD
- Para Abrir a porta do CD, prima a porta do CD na extremidade marcada com "open" (abrir)
- Introduza um CD, CD-R/RW com o lado impresso virado para cima e pressione suavamente a porta do CD para a fechar
- Prima em REPRODUZIR/PAUSA no aparecido para iniciar a reprodução.
- Para parar a reproducao prima em REPRODUZIR/PAUSA, para continuar prima novamente em REPRODUZIR/PAUSA.
- Para parar a reproducao do CD, prima em PARAR
GravarapartirdoCD
- Prima o botão PARAR/EJETAR (STOP/EJECT) para Abrir a porta, introduza uma cassette e feche-a
- Prima o botão GRAVAR (RECORD) e o botão REPRODUZIR CD/PAUSA para,iniciar a gravacao
- Para parar a gravacao, prima em PARAR/EJETAR
Repetir CD
Prima 1 x o botão repetir: A faixa atual sera repetida
Prima 2 x o botão repetir: Todo o CD sera repetido
Prima 3 x o botão repetir: Estára no modo de reprodução normal
- No modo PARAR, prima |<< ou >>| para a sua faixa pretendeda
- Quando aparecer o número de faixa que escolheu, prima em PROG uma vez para armazenar a faixa. O visor在哪 "prog" e "prog" é por breve momentos seguido pelo número de faixa que escolheu
- Repita os passos de 1 a 2 para選擇ararmazenodas as faixaspretendidas esta forma
- Para reproduzir o seu programa, prima em REPRODUZIR
- Apagar um programa: Prima o botão PARAR das vezes
Especificações
Frequencia de FM: 87.5-108 MHz
Consumo de energia: 15 Watts
Fornecimento de Energia de CA: AC 230V~240V, 50Hz
Fornecimento de Energia de CC: 8 x 1.5V Tipo UM-2/C
Copyright by Woerlein GmbH, 90556 Cadolzburg, www.woerlein.com
MILJØBESKYTTALSE

Aterlamna bara helt urladdade batterier.
ManualFácil