DHD 1102 X - Exaustor de cozinha DE DIETRICH - Manual de utilização gratuito
Encontre gratuitamente o manual do aparelho DHD 1102 X DE DIETRICH em formato PDF.
Questions des utilisateurs sur DHD 1102 X DE DIETRICH
0 question sur cet appareil. Repondez a celles que vous connaissez ou posez la votre.
Poser une nouvelle question sur cet appareil
Baixe as instruções para o seu Exaustor de cozinha em formato PDF gratuitamente! Encontre o seu manual DHD 1102 X - DE DIETRICH e retome o controlo do seu dispositivo eletrónico. Nesta página estão publicados todos os documentos necessários para a utilização do seu dispositivo. DHD 1102 X da marca DE DIETRICH.
MANUAL DE UTILIZADOR DHD 1102 X DE DIETRICH
5/ANOMALIASDEFUNCTIONAMENTO 48
6/ SERVICIO TECNICO 48
Menorca-Ciudadela: Huelva, 4
Palma de Mallorca:
Fray Lluis Jaume Vallespir,19-bajos
San Leandro, 73
BARCELONA
Barcelona: Avda., Mare de Deu de Montserrat, 110
Maria Barrientos,11
Cobas-Viveiro:Granxas,78
MADRID
Madrid: San Fidel, 65-67
Cedros, 74-76
Manuel Galindo, 10
Hnos Garcia Nobleles, 45
MALAGA
Descobrir os produits De Dietrich é experimentar emoções únicas que apenas os objectos de valor podem produzir.
A atracção é imediata desde o primeiro olhar. A qualida do design é ilustrada pela estética intemporal e os acontembentos cuidados que tornam cada objecto elegante e refinado, em perfeita harmonia uns com os outros.
AOLLOWING SEQUENCE A seguir, vem a irresistível vontade de tocar. O design De Dietrich asse- ta em materiais robustos e prestigiantes; O auténtico é privilegiado.
Ao associari a TECHNOologia mais evoluída aos materiais nobres, a De Dietrich assegura a 创建ação de produits de alta execuição ao服务于arte da culinária, uma paixão partilhadaços apaixonados pela cozinha.
Esperamos que desfrute bastante da'utilisation deste novo aparecido eteremos todo o prazer em receber as suas sugestões e de responder àssuas dificas. Convidamo-lo(a) a enviás para o meu service de apoioao cliente ou para o meu website.
Convidamo-lo(a) a registrar o seu produit em www.de-dietrich.com para desfrutar dasvantagens da marca.
Agradecemos a sua confianca.
De Dietrich
Encontre todas as informações acerca da marca em www.de-dietrich.com
Visite A Galeria De Dietrich, 6 rue de la Pepinière em Paris, VIII
Servico de Apoio ao CLIENTE:0892 02 88 04
1/INFORMAÇÖES DESTINADAS AO UTILIZADOR
- Instruções de segurarça 54
- Protecao do ambiente 55
- Descrição do aparecido 56
2 / INSTALLação DO APARELHO
- Utilização na versão de evacuação 57
- Utilização na versão de reciclagem 57
- Ligação eletrica. 58
Montagemdoexaustor 59
Montagem da chaminé Evacuaço exterior. 60
^ Reciclagem 61
3/ UTILIZACHO DO EXAUSTOR
- Descrição dos comandos 62
4 / MANUTENÇÃO E LIMPEZA DO APARELHO
· Limpeza do filtro cassete. 64
- Substituição do FILTER de carvão 64
· Limpeza da superficie exterior 64
- Substituicao da lampada 64
- Manutenção do exaustor 65
5/ANOMALIAS DE FUNCIONAMENTO 66
6/SERVIçoPOS-VENDA 67
Com a preocupaçao de melhorar constanmente os)nossos produits, reservamo-nos o direito de modifier as respectivas caracteristicas tecnicas, funcais ou estéticas por motivos ligados à sua evolucao.

Important:
Antes de pôr o aparelho a funcionar, leia este guía de instalação e de'utilização com atençao para se familiarizar mais rapidamente com o seu funct ionamento.

Importante
Guarde este guia de'utilização jintamente com o aparecido. Se o aparecido for vendido ou cedo a outras pessoas, tenho o cuidado de remeter igualmente o guia de utilityação. Familiarize-se com estas recomendações antes de instalar e utilizes o aparecido, quando estes foram elaborados para a sua segurar e a das outras pessoas.
INSTRUCOES DE SEGURANCA
— Este exaustor foi concebido para uma utili-zao por particulares na sua habitacao.
- Este aparelho não se destina a ser realizado por pessoas (incluindo crianças) com capacidades fisicas, sensoriais ou mentalais reduzidas, ou por pessoas sem experiência ou conhecimiento, excepto se o fazerem atraves de uma pessoa responsavel pela sua segurarca, se forem supervisionadas ou se receberem instruções sobre a utilização do aparelho. As crianças devem ser vigiadas para garantir que não brincam com o aparelho.
- Quando receiveber o exaustor,.desembale-o ou mande-o desembalar imeditamente. Verifique o aspecto geral. Aponte as eventuais reservas por escrito na guia de remessa e guarde um exemplar da mesma.
— Este exaustor destiná-se a uma'utilisation dométrica. Não o utilize para fins commerciais ou industriais ou com outros objectivos para às vezes dos objectivos para os quais foi concebido.
— Não modifie ne mente modificar as caractécticas deste aparelho, poi isso poderá representar um perigo para si.
- As reparacoes devem ser efectuadas excludamente por um的技术ico homologado.
— Desligue sempre o exaustor antes de proceder à manutenção ou à limpeza do mesmo.
— Ventile conveniently a cozinha em caso de funciona simultaneo do exaustor com outros aparehos funcionando com fontes de energia differentes da electricidade, para que o exaustor não aspire os gases de combustão.
-- É interdita a realização, por baixo do exaustor, de receitas "flambé" ou de fazer func. ionar os bicos de gás sem recipientes, (as chamas aspiradas são susceptíveis de dete riorar o aparelho).
- As frituras efectuadas sob o aparelho vem ser alvo de una vigilência constante. O oleo e as gorduras aquecidas a temperatas bastante elevadas podem incendiar-se.
— Respeite a frequência de limpeza e de substituição dos filtros. A acumulação de gordura pode occasionar a deflagrazione de incêndios.
— Não é autorizzato o funcionaamento por cima de um foco de combustível (lenha, carvão... etc.).
— Nunca utilize apareiros a vapor ou de alta pressão para limpar o aparecido (requisitos relativos à segurarça electrica).
—Com a preocupaçao de melhorar constan-. temente os��ros produits, reservamo-nos o direito de modifier as respectivas caracte-. risticas tecnicas, funcaoais ou estéticas por motivos ligados à sua evolucao专业技术a.
— Para no futuro encontrar fácilmente as referências do aparecido, aconselhamos a que as aponte na网页a "Servico Pós-Venda e Relações com o Consumidor".

Atença
No caso de a cozinha ser aquecida com um aparelho ligado a uma chaminé (ex. fogão de sala), é necessário instalar o exaustor na sua versão de reciclagem. Não utilize o exaustor sem os filtros cassete. Dever-se-a prever uma ventilação adequada da cozinha sempre que o exaustor serautilizzato simultaneamente com aparelhos que utilizesgás ou other combustivel qualquer
PROTECCAO DO AMBIENTE
- Os materiais de embalagem deste aparelho são reciclaveis. Por isso, participe na reciclagem dosleasedos contribua,assim,para a protecao do ambiente,depositando-os nos contentores municipais previstos para esteefeito.
- O seu aparelho contentem maissem inumeros materiais reciclaveis. Assim, está assinalado com

este logólico para indicar que os electrodométricos usados não devem ser misturados com outros resíduos. A reciclagem dos electrodométricos é organizada pelo seu fabricante, sentido realizada em excellentes condições, de acordo com a Direcita Europeia 2002/96/CE relacionada com os resíduos de equipamentos eletricos e electrónicos. Dirija-se à camara municipal da sua residência ou ao seu revendedor para conhecer os pontos de recolha de apareiros usados, localizados mais perto da sua residência.
- Agradecemos, desde ja,a sua collaborationa na protecao do ambiente.

Atença
A instalacao do exaustor é reservada ao instaladores e&Tecnicos qualificados.

Atença
Antes da primeira'utilisation do FILTER cassete, retire a pellicula de proteção.

Atença
As partes acesseis deeste aparelho podem ficar quentes quando éutilizzato com aparelhos de cozinha.

DESCRICAO DO APARELHO

Orificios

Campanula

Chaminé

Comandos
- O exaustor deve estar desligado durante a sua instalação ou em caso de intervenção. - Verifique se a tensão da rede eletrica correponde à tensão mentionada na placá de CHARACTERisticas situada no interior do exaustor.
- Se a instalação eletrica da sua residência necessitar de uma alteração para a ligação do exhaustor, contacte um electricista qualificado.
- Se o exaustor for utilizes na sua versao de evacuação, não o ligue a uma conduita de evacuação de fumos de combustão (caldeira, chamé, etc.) ou a umsystema de ventilação mecânia controada.
- A conduça de evacuação, está de que tipo for, não deve ir desembocar a águas furtadas.
- Instale o exaustor a uma distancia minima de seguranca de 70 cm em relacao a placac de cozinha electrica, a gas ou mista.
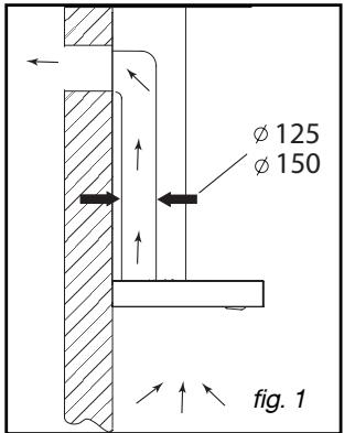
- UTILIZACAO NA VERSAO DE EVACUACAO
A sua instalação possui uma sina de para o exterior
(fig. 1)
O exaustor pode ser ligado a esta saida atraves de um tubo de evacuação - não fornecido (diétrtro minimo Ø 125 mm, esmaltado, emalúnio, flexível ou em material não inflamável. Se o tubo tiver um diétrtro inferior a 125 mm, passe obligatoriamente para o modo reciclagem.
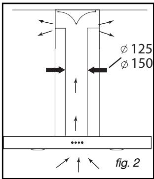
- UTILIZACAO NA VERSAO DE RECICLAGEM
A sua instalação não possui saída para o exterior
(fig. 2)
Todoos{nossosaparemelhos tema possibildade defuncionar emmode reciclagem.
Neste caso, acrescente um FILTER de carvão本次活动 (optional) que capta para os cheiros.
(Ver Capítulo 4: Substituição do FILTER de carvão)


LIGACAO ELECTRICA
Durante a instalação e as operações de manutenção, o exaustor deve ser desligado da corrente électrique e os fusíveis devem ser cortados ou retirado.
A ligação eletrica tem de ser efectuada après a montagem e fixação.
Verificar se:
- a instalação tem uma potência suficiente,
- as linhas de alimentacao está em bom estado,
- o diametro dos fios está conforme com as regras de instalacao.

Atença
Este aparelho é vendido com um cabo eletrico H 05 VVF de 3 condutores de 0,75 mm2 (neutro, fase e terra). devendo este ser ligado a uma rede monofásica de 220-240 V atraves de uma tomada eletrica normalizada CEI 60083, que, de acordo com as regras de instalação, deve fazer acessivel antes a instalação.
Declinamosrialquerresponsabilitademedacaso de acidente ocasionado poruma liga-aciona terra inexistente ou incorrecta.O fusivel da sua instalacao deveser de 10 ou 16A. Seocaboelectricoestiverdanificado,contactoe servicepos-vendaafimdeevitarqualquerperigo.

Atença
Se a instalacao eletrica da sua residencia necessitar de uma alteracao para a ligation do exaustor,contacte um electricista qualificado.

Atença
Se o exaustor aparecer qualquer anomalia, deslige o aparelho ou retire o fusivel correspondente a LINHA de ligaçao do mesmo.
- MONTAGEM DO EXAUSTOR

Atença
A instalacao deve cumprir os requisitos dos regulamentos em vigor para a ventilacao dos locais. Em Franca, estas regulacoes são indicados no DTU 61.1 do CSTB. Designamente, o ar evacuado nao deve ser enviado para uma conduita realizada para a evacuationao de fumes de aparelhos a gas ou utilizingos另外 combustiveis. Autiliza- de tubos desaftados so pode ser feita aposo acordo de um especialista competente.
A distência minima entre a placá de cozinha e a parte mais baixa do exaustordeer ser de 70~cm .Se as instruções da placá de cozinha instalada sob o exaustor especificarem uma distência superior a 70~cm ,thisdevera ser levada emconsideração.
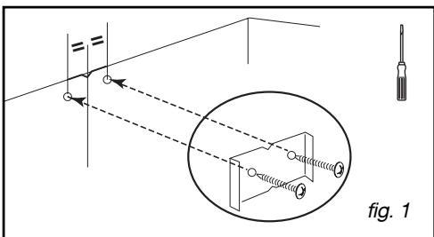
- Faça um traco horizontal no minimo a 70 cm da placá de cozinha ou do fogão (A/fig.1).
- Faça um traco vertical (B/fig.1) na parede, centrado em relação ao fogão ou à placá de cozinha e que não do tecto até ao limite do traco horizontal anterior (A).
- Coloque o modelo na parede (C/fig. 1).
- Faça os 2 orificios. Fixe as 2buchas.
- Aparafuse a barra de fixação à parede (C/fig. 2) com os 2 parafusos (D/fig.2).
- Fixe o exaustor por meio das respectivas suspensoes (E/fig. 2).
- Ajuste a altitude e o nível atraves dos parafusos de ajuste (E /fig. 2) dos suportes (o parafuso superior para regular a horizontalidade, o parafuso inferior para regular a colocacao na parede).
- Coloque o parafuso anti-elevacao (D/fig 1)
- Retire a fita adesiva da caixa (F fig.3)
- Levante a caixaerca de 2 cm e,deois de a soltar, facea-a rodar 1/4 de volta; deslize e fixe-a com o auxilio dos 2 parafusos por cima do motor (fig 3).
Tenha cuidado para não danIFICAR os cabos durante a rotação e fixação.



MONTAGEM DA CHAMINE
- Evacuação exterior
- Coloque o suporte metálico da chaminé na parede, encoste-o ao tecto e fixe-o com osinous parafusos (fig. 1).
-Monte a valvula de retencao na saida do motor (fig.2).Esta valvula de retencao permite obstruiar a entrada de ar vindo do exterior. - Se possuir um tubo com 125mm de diametro, utilize o adaptor fornecido (fig. 3).
Se o tubo exterior for inferior a 125mm ,e obrigatorio ligar o exaustor em modo de reciclagem.
- Encaixe a extremidade do tubo na saida do motor (fig. 4).
- Prepare a chamé telescópica, tendo o cuidado de dissimilar os orificios (B/fig. 4). Encaixe a chamé montada esta forma no exaustor e levante a parte superior para ajustar a sua.altura e, em seguida, aparafuse-a (G/fig. 4) ao suporte metalico da chamé (A/fig. 4).

Conselho
Para una utilização ideal do exaustor, aconselhamos que a ligação sera efectuada a um tubo com 150~mm de diametro (vendi-do separamente). Limite ao Tmaxo o número de cotovelos e o comprimento do tubo. Se o exaustor funciona com uma evacuação exterior, convém assegurar-se da existência de uma entrada de ar exterior suficientemente grande para fazer colocar a cozinha em depressão.



A Suporte da chaminé
B Chaminé telescopica
C Tubo
D Adaptador
E Valvula de retencion
F SaFDA do motor
G Parafusos de fixaço da chaminé

Reciclagem
- Retire a valvula de retenção (fig. 1).
- Coloque o deflector plástico de fumos contra a parede, encoste-o ao tecto e fixe-o com osinous parafusos (fig. 2).Nao se esquecer de centrar o deflector em relaço ao traco vertical feito na parede (fig. 2).
Para os modelos >700mm ,adicionar as 2 barras espacadoras fornecidas naolta (A/fig 2).
- Encaixe uma extremidade do tubo no deflector e a另一边 extremidade na saida do motor (fig. 3).
- Prepare a chamé, tendo o cuidado de deleixar os orificios virados para cima, de modo a ficarem visíveis (B/fig. 3).
- Encaixe a chaminé montada esta forma (C/fig 3) no exaustor e levante a parte superior paraaabstar a sua alteura e, em seguida aparafuse-a no deflector de fumos (A/fig.3) com os dois parafusos (F/fig.3).


A Deflector de fumos
Orifficos
Chamételesçopica
D Tubo
E Suporte do motor
F Parafusos de fixação da chaminé

DESCRICAO DOS COMANDOS

A Iluminação
B Funcionamento / Paragem
C Selecao de velocidades de 1 a 4
D Visor
Visor de velocidades (1,2,3 ou 4)
F Saturação dos filtros
Temporalização / Paragem diferida (10 min)
MODO AUTOMATICO (de acordo com o Modelo)
Estes exaustores tem um sentido inato de adaptação. Equipados com senores, eles ligam automaticamente quando detectam qualquer emissão de calor ou de vapor, adaptam espontaneously a velocidade de aspiração e param de funcionar quando os vapores ou fumos são todos aspirados.
Escolha do tipo de placar em modo automatico\*
Para seleccionar o seu tipo de plac, o exaustor deve estar parado.
Prima brevemente (>2s) em ICs para entrada em modo de configuração.
Prima para seleccionar o tipo de plac: Por defeito I (placa por inducao) pisca. Voltando a premir, o visor indica U para una plac de vitroceramica e G para una plac a gás. Premindo brevemente ICs permite validar a sua escolha.
Os símbolos (sensibilidade minima), (sensibilidade média) e (sensibilidade maior) piscam em simultâneo. Aoés 10 segundos de esper, a sensibilitadé média sera mantida. Para modifier a sensibilitadé, prima ⑩.
Para validator, prima ICS.
A sua configuração é validada automaticamente passados 10 segundos.

Conselho
Esto guia de instalacao eutilisacao é valido para varios modelos,pelo que é possivel que constate algumas��enias diferencas de detalles e de equipamentos entre o seu exaustor e as presentes descriacoes.
Passagem para o modo automatico
Prima ICS, aparece um punto no visor. Um R pisca quando for detectada uma fonte de calor. O exaustor começa a funcional. No final da cozedura, o exaustor continua a funcional de 40 segundos a 10关键时刻.
Premir ICS desactivo o modo automatico.
Premir ① desactiva o modo automatico. O exaustor permanece na posicao 1.
- LIGAR O EXAUSTOR NO MODO MANUAL
Premir o botão ① permite ligar o exaustor na velocidade 1.
- Selecção das velocidades
- Cada pressão no botão de escolha da velocidade define o ciclo segunte: velocidade 1-2-3 ou 4 e,(before, regresso à velocidade 1.
- Quando volta a utiliser, o exaustor é reiniciado na velocidade 1.
- Selecção da temporização
- Premindo uma vez, activa uma temporização; o exaustor para antes 10 minutos. No visor, piscá das velocidades para indicar que o exaustor se encontra no modo de temporização.
BELYSNING
O símbolo F piscá no visor après 30 horas de funciona do exaustor.Esta mensagem indica que é necessário de lavar o FILTER cassette.
Após a limpeza do filtró cassette, prima a tecla ① duranteriba de 3 segundos, o que fará apagar
PT 4 / MANUTENÇÃO E LIMPEZA DO APARELHO

Atença
Desligue o aparelho (retirando-o da tomada, ou actionando o disjuntor) antes de proce-der a sua limpeza e manutencao. Uma manutenacao periodica do aparelho é uma garantia para o seu devido funcaoamento, bom rendimento e durbilidade.

Atença
O não cumprimento das instruções de limpeza do aparelho e dos filtros pode provocar incéndios. Respeite absolutamente as instruções de manutenção.
- LIMPEZA DOS FILTROS CASSETE
O filtro cassete deve ser limpo après 30 horas deutilização ou no minimo uma vez por mês.Lave-os com uma escova,água quente e um detergente suave. Passe-os porágua e seque-oscuidadosamente antes de os voltar a instalar.
- Desmontagem do filtro cassete (fig. 1)
- Rode a pega integrada do filtro cassette.
- Oscile o filtro cassete para baixo.
- SUBSTITUICAO DO FILTRO DE CARVAO (de accordo com o modelo)
Substitua o Fifto de carvao apso 120 horas de
utilização aproximamente.
- Retire o filtro cassette,(desencaixando-o (fig. 1).

- LIMPEZA DAS SUPERFICIES EXTERIORES
Para limpar a parte exterior do exaustor, utilize agua com um detergente suave diluido, mas não utilize cremes abrasivos nem o esfregão das esponjas.
- SUBSTITUICAO DA LAMPADA
Modelo com lampada de halogeneo
— Retire o viga de iluminação (fig. 2).
Mude a lampada de halogeneo G4-20W12V.
Torne a instalar todos os elementos, acontecido as operações no sentido invenso.


Atença
Antes de efectuar qualquer intervencao, deslige o exaustor da corrente elcctrica, quer retirando a ficha da tomada, ou actionando o disjuntor.
| MANUTENÇÃO... | COMO PROCEMBER? | PRODutos/ACESSORIOS A UTI-LIZAR |
| Campânula e acessórios | Nunca utilize esfregões metáli-cos, produits abrasivos ou esco-vas demasiado duras | Para limpar a parte exterior e o vi-gia de iluminação, utilize exclusi-vamente produits de limpeza do-mêsticos vendidos no comércio diluidos em água, em seguida en-xagúe com água limpa e seque com um pano macio. |
| Filtro cassete | Este filtro absorve os vapores gor-durosos e as poeiras. Este ele-mente desempenha uma impos-tante função na eficácia do exaus- tor. Se houver manchas persistentes, utilize um detergente creme não abrasivo e passe porágua limpa. | Com um produto de limpeza do-mêstico vendido no comércio, em seguida exagúe e seque. |
| Filtro de carvão activo (dependendo do mode-lo ou optional) | Este filtrlo absorve os cheiros e delve ser substituído polo menos todos os anos em função da suautilização.Encomende filtrros no seu reven-dedor e anote a data de substi-tuiência. |
Para preservar o seu aparecido, recomendamos a utilização de produits de limpeza Clearit.

A mestria dos professionais
A Clearit propoe-Ihe produits professionais e soluções adequadas para a limpeza diária dos seušs electrodomésticos e da sua cozinha.
Encontre no seu revendedor habitual os diversos produits esta marca bem como uma vasta gama de acessórios e consumíveis.
| SINTOMAS | SOLUTIONES |
| O exaustor não funciona... | Verificar se: • não há um corte de electricidade. • FOI realmente selecionada uma velocidade. |
| O rendimento do exaus- tor é insufficiente... | Verificar se: • a velocidade selecionada do motor é suficien- te para a quantidade de fumo e de vapor liberta- da. • a ventilação da cozinha é suficiente para permitir a tomada de ar. • o FILTER de carvão não está gasto |
| O exaustor parou durante o seuFUNçamento | Verificar se: • não há um corte de electricidade. • o dispositoivo de corte ominoplar não se acti- you. |
Qualquer intervenção no seu aparecido deve ser realizada pelo seu revendedor ou por及其他 professional qualificado autorizzato pela marca. Ao chamá-los, indique a referencia completeness do seu aparecido (modelo, tipo e número de série). Estas informações figuram na placac de identificacao fixada no aparecido (Fig.1).

ManualFácil