EFC650X-GB - Exaustores de cozinha AEG-ELECTROLUX - Manual de utilização gratuito
Encontre gratuitamente o manual do aparelho EFC650X-GB AEG-ELECTROLUX em formato PDF.
Perguntas dos utilizadores sobre EFC650X-GB AEG-ELECTROLUX
0 pergunta sobre este aparelho. Responda às que conhece ou faça a sua.
Faça uma nova pergunta sobre este aparelho
Baixe as instruções para o seu Exaustores de cozinha em formato PDF gratuitamente! Encontre o seu manual EFC650X-GB - AEG-ELECTROLUX e retome o controlo do seu dispositivo eletrónico. Nesta página estão publicados todos os documentos necessários para a utilização do seu dispositivo. EFC650X-GB da marca AEG-ELECTROLUX.
MANUAL DE UTILIZADOR EFC650X-GB AEG-ELECTROLUX
Indicações de segurança 58
para o instalador dos moveis de cozinha 58
para o utiliser 59
Informacoes gerais 60
Sistema de aspiracao do ar 60
Sistema de circulacao do ar 60
Uso do exaustor 61
Ventilacao correcta 61
Manutenção 62
Limpeza 62
Filtrometalicoantigordura 62
Filtro de carvao activo 63
Substituicao da lampada 63
Acessórios 64
Servico de assistencia 64
Se o exaustor nao funciona 64
Dados Técnicos 65
Instalacao 65
Desembalar 65
Colocacao 65
Ligaoelectrica 65
Montagem 66
Antes de usar a coifa recomendamos ler cuidadosamente o presente manual que lhe fornecera uma clara descrição do aparecido e de suas multiplas funções.
Para fazer de correr os riscos ao quais estamos expostos ao utilizear apareiros electricos, é importante que sua nova coifa"Aspirante sera corretoamente instalada e que, para fazer um uso inadequado e riscos inuteis, as instruções sejam lidas com muita atenção.
Conservar o manual de instruções em local de fácil accesso para quando sua nova coifa for realizada.
para o instalador dos@móveis de cozinha
- O tubo de evacuação do ar deve ter um diamétro de 120mm se o aparecido for realizado para evacuar o ar para o exterior. Atenção: O tubo não é fornecido e deve ser adquirido separadamente.
- No momento da montagem do exaustor respeite as distâncias minimas indicadas a seguir entre a superficie da placá de cozedura e a borda inferior do exaustor: Placa de cozedura electrica 600 mm Placa de cozedura a gás 700 mm
Se as instruções de instalação do dispositalo de cozimento a gás especificarem uma distência maior, delve-se levar em conta esta indicatorão.
- A depressão do ar no ambiente quando não estabilados sistemas de aquecimento não deveser superior a 4Pa (4x10 ^-5 bars), quandofuncionam simultaneamente quer o exaustor com evacuação do ar, quer os sistemas deaquecimento.
- O ar aspirado não deve ser eliminado através de chaminés. Além disso, é proibido evacuar o ar atraves de conducções de ventilação dos ambientes dentro das quais estejam instalados sistemas de aquecimento.
- Para evacuar o ar aspirado através de una chaminé não utilizeshá muito tempo, sera preciso obter o parecer positivo de um limpa-chaminésrialicido. A evacuação do ar aspirado deverá ser feita acordo com as prescrições das normas locais vigilentes.
- Quando o exaustor for utilizes no modo de evacuationo, sera necessario prever no ambiente una abertura, com dimensoes suficientes, para a entrada do ar (aproximamente as vezes dimensoes do furo de evacuationo).
- Algumas normas locais da construcao civil aparem restricoes para o uso simultaneo, num mesmo ambiente, de exaustores de aspiracao e de sistemas de aquecimento ligados a uma chaminé, tais como aquecedores a carvao, a nafta ou a gás.
- O funciona simultaneo e sem riscos de aparehos ligados a chaminés e de exaustores são pode ser garantido se o ambiente e/ ou o Apartamento (com aposentes comunicantes) tiver uma entrada de ar inadequada de circa de 500 - 600~cm^2 para impedir uma depressão durante o funciona do exaustor.
- Se tiver duvidas, Solicite o parecer e a aprovacao de um limpa-chaminés qualificado da sua regiao ou da entidade local competente.
- Visto que para os ambientes ond não está instalados sistemas de aquecimento vale a regra de prever uma abertura para a entrada do ar de dimensionalas iguais às da abertura de evacuação, o rendimento doSYSTEMA de
evacuação pode resultar reduzido se a entrada do ar for superior a 500 - 600cm^2
- O funciona do exaustor com circulacao do ar não aparece nenhum tipo de perigo nas condiçõesopenhagenas, não está por isto sujeito a nenhuma das prescrições indicadas acima.
-
As condições发展目标 para o Functionamento do exhaustor com evacuação do ar são garantidas se foram respeitadas as seguições indicações:
-
prever um traçado breve e directo
- utilizes o menor número possível de cotovelos nos tubos
- instalar os tubos com curvas de raio长大o em vez de usar ángulos rectos
-
utilizes tubos com o maior diametro possivel (min. 0120mm
-
O não cumprimento destas regras de base provocará uma perda sensível de potência e um aumento do ruido emitido pelo aparecido.
para o utiliser
- Todas as reparações devem ser feitas exclusivamente por um专业技术 especializzato. Em caso de avaria, dirija-se ao meu Servico de Assistencia Pós-venda ou ao seu revendedor.
- Certifique-se de que a chama fique coberta durante o functimento do exaustor para fazer que o calor excessivamente intenso possa danificá-lo. É terminamente proibido usar o exaustor com a chama não coberta nos fogões a gás, a nafta e a carvão.
- Durante o funciona do exaustor é necessário manter as frigideiras sempre sob controlo.
- O oleo e a gordura aquecidos inflamam-se com extrema calidad... Tome sempre muito cuidado durante o-functionamento do exaustor.
- A'utilisation de oleo usoé pode provoc mais fácilmente fenções de autocombustão.
- Lembre-se de que os fenções de aquecimento excessivo podem ser causa de incéndios.
- É terminamente proibido flambear alimentos em baixo do exaustor.
- Antes de mexer no exaustor, inclusive para a substituicao de una lampada, é necessario desligar isolar o aparelho da fonte de alimentacao electrica (extraia os fusiveis ou abra os interruptores automaticos).
- E muito importante respeitar os intervalos de limpeza e de substituição do FILTER. O não cumprimento esta indicatoração pode ser causa de incêndios decorrentes da Accumulação de gorduras no FILTER.
Este aparelho está classificado de acordo com a Direcita Europeia 2002/96/EC sobre Resíduos de equipamento eletrico e electrónico (REEE).
Ao garantir a eliminação adequada deste produto, está aaabdar a evacar potecções consequências negativas para o ambiente e para a saude Pública, que poderiam derivar de um manuseamento deesperçados inadequado deste produit.

O*simbolo no produit, ou nos documents que acompanham o produit, indica que este aparelho não pode receber um tratamento semelhante ao de um despedimento domestico.
Pelo contrário,deera ser depositado no respectivo centro de recolha para a reciclagem de equipamento eletrico e electrónico.
A eliminacao devera ser efectuada em
conformidade com as normas ambientais locais
para a eliminacao de deserdicios.
Para obter informacoes mais detalhadas sobre o
tramento, a recuperação e a reciclagem deste
produo, contacte o Departamento na sua
localidade, o seu service de eliminacao de
deserdicios domesticos ou a loja onde adquiriu o
produo.
Informações gerais
- O exaustor de aspiração destiná-se à evacuação do ar mas, gratas ao uso de um FILTER de carvão activo (accessório), pode ser realizado como aparecido para a circulacaço do ar.
- Neste最後 caso, sera preciso utiliser um filtro de carvão activo original (ver “Acessórios”).
Atença! Alguns modelos ja são dotados de filtros de carvão aktivado, estes se encontrar fixados a uma das proteções laterais em poliestireno e devem ser montados antes de utilizes a coifa em versão filtrante.
Sistema de aspiração do ar
- O ar é evacuado para o exterior atraves de uma conduita ligada ao tubo de aspiração A, Fig. 1.
- Para obter a melhor performance, o tubo de descargadeeria ter um diametro identico aquele do anel de conexao.

Fig. 1
Sistema de circulacao do ar
- Neste caso, o ar atravessa um FILTER de carvão activo e é reintroduzido no ambiente.
- Para o functimento com circulação do ar é preciso utiliser o FILTER de carvão activo (ver "Acessórios").
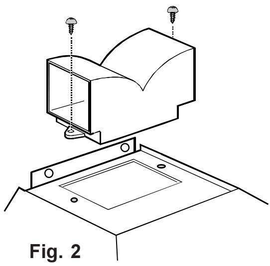
- Montar o deflector com 2 parafusos Ø 3,5x6.5 mm. Fig. 2.

Uso do exaustor
- A coifa é dotada de velocidade regulavel. Aconselha-se ligar a coifa algunos Minutes antes de.iniciar o cozimento e fazer-la funciona por mais 15 minutos après o fim do cozimento de modo a eliminar com segurança todos os odeores.
Os comandos se encontrar na parte frontal da coifa:
- Tecla luz: esta tecla serve para ligar e desligar a luz
- Tecla Motor:Esta tecla serve para desligar o motor de aspiração.
- Velocidade 1:Esta tecla serve para selecionar a velocidade/potencia de aspiracao 1.
- Velocidade 2:Esta tecla serve para selecionar a velocidade/potencia de aspiracao 2.
- Velocidade 3:Esta tecla serve para selecionar a velocidade/potencia de aspiracao 3.

Ventilação correcta
Para que o exaustor de cozinha funciona correctamente, as janelas da cozinhadeerao estar fechadas.Em vezdisso,deveraestarabertauma janela numadivisaoadjacente.
Manutenção
- Isole o exaustor da fonte de alimentacao eletrica antes de efectuar qualquer operacao de manutencao.
Limpeza
- Atença: deslgue o exaustor da alimentação eletrica antes de efetuar as operações de limpeza. Não introduza objectos pontiagudos na grade de proteção do motor.
- Limpe as partes exterioriores com um detergente delicado. Evite o uso de detergentes corrosivos, escovas ou palhas de aço.
- Limpe o pailé de commando e a grade do过滤 antigordura com um pano levemente embebido num detergente liquido delicado.
- É muito importante que sejam respeitados os intervalos de limpeza e de substituição do FILTER. O não cumprimento destas regras pode provocar riscos de incério causados pela accumulação desubstâncias gordurosas no FILTER.
Filtro metalico antigordura
- A finalidade dos filtros metalicos é a de reter as particulas de gordura que se formam durante a cozedura dos alimentos. Os filtros podem ser realizados quer no modo deestruturaamento com evacuação,quer no modo deestruturaamento com circulacaço do ar. Os filtros metalicos antigordura devem ser removidos de quatro em quatro semanas e lavados manualmente ou na boaquina de lavar louça.
Remoção do filtró metalico de gorduras
- Em primeiro lugar empurre o FILTER metalico para a parte traseira do aparecido e, em seguida, extraia-o por baixo. Fig. 3.
Lavagem manual
Mergulhar o(s) filtro(s) metálico(s) de gorduras por aproximamente uma hora em água quente com um detergente para gorduras, quando, enchavar com muita água quente. Se necessário repetir o procedimento. Remontar os filtros de gorduras quando these estiverem secs.
Máquina de lavar louças
Colocar os filtros de gorduras na ámbuna de lavar louças. SeLECTIONAR o programa de limpeza mais potente e na maiis alta temperatura, no minimum 65^ . Repetir o procedimento. Remontar os filtros de gorduras quando estiverem secs. Quando os filtros metalicos de gorduras são lavados em ámbuna de lavar louças pode ocorro uma pequena descoloracao dosleasedos, este facto não tem nenhuma influencia em sua performance.
- Limpar internamente a caixautilizando apenas uma solucao quente de detergente (nuncautilizar detergentescausticos,pos abrasivos ou escovas).
Atença
- O não cumprimento das instruções fornecidas para a limpeza do aparelho e para a limpeza ou substituição do FILTER pode provocar riscos de incência.
- O fabricante declina toda e qualquer responsabilitadepelos danos ao motor ou decorrentes de incendio,provocados por umanutencao inadequada ouleo nãocomprimento das indicacoes de segurancacitadas anteriormente.

Fig. 3
- O FILTER de carvão activo é utilizesdo quando o exhaustor funciona na versao com circulação do ar.
- Deveração sempre ser realizados filtros de carvão本次活动 originals (ver "Acessórios").
- Substituição do FILTER de carvãoativo Geralmente o FILTER de carvãoactivado devese substituicao pelo menos uma vez a cada 4 meSES. Este FILTER não é lavavel, nem regeneravel. Para garantir uma boa absorcao dos odeores é necessario que o volume funcional dos carvões Activados sera proportional a conduccao do ar da coifa. Neste caso a alta qualidade dos carvões Activados garante uma absorcao eficaz dos odeores de cozimento por circa 4 meSES, pressupondo uma utilisação normal da coifa. Portanto deve-se usar exclusivamente filtros originais e sobretudo não esquecer de substituiLos.
- Montagem - Fig. 4 Aplicar um FILTER à direita e um à esquerda como cobertura de ambas as grelhas de proteção do rotor do motor, em seguida girar a maçaneta central dos filtros em sentido horário.
- Para a remoção efectue as operações descritas acima na ordem inversa.
- No momento deendar um FILTER de reposicao, indique o Modelo e o numero de referencia do produits. Estes dados estao indicados na plac posta no interior do aparheiro.
- Os filtros de reposicao podem ser encomendados ao Servico de Assistencia Poslenda.
Substituição da lâmpada
- Desligue o exaustor da rede eletrica de alimentacao tirando a ficha da toma de corrente.
- Remover o filtro gorduras.
- Substitua a lampada defeituosa por altre do mesmo tipo.
- Remontar o filtro gorduras.
- Se a lâmpada não se acender, verifique se está fixada correctamente antes de se dirigir ao Serviço de Assistência Pós-venda.

Fig. 4
Servço de assistência
Para obter informações ou Solicitar a assistência em caso de avaria, dirija-se aonoxo Servico de Assistencia Pós-venida (ver a lista dos pontos de service).
No momento da chamada indique:
- O modelo do aparelho
- O número de referencia
- O número do aparelho
Estes dados está indicados na place de referencia posta no interior do aparelho, visível removendo a grade do FILTER antigordura.
Visando o desenvolvimento técnico do produit, o fabricanteerva-se o direito de efectuar as 修改as de fabrico e nas cores que considerar necessarias.
Se o exhaustor não funciona
Antes de contactar Assistência Tecnica
Verificar se a ficha está ligada à tomada da parede e que não há nenhum fusível queimado. Não proceeder a quaisquer operações que possam causar perigos ou danIFICAR o produits. Se o problema persistir, contacte o seu distribuidor ou uma Empresa de service aprovada.
Mudança do cabo
Se o cabo para o exaustor estiver danificado, deve ser substituido por um concessionario da marca, uma vez que são necessarias ferramentas especials para efectuar o trabalho.
Assistência Tecnica e peças sobressalentes
A Assistência Tecnica e as peças sobressentes podem ser obtidas atraves do seu distribuidor ou do Electroservice. quando pede assistencia ou encomenda peças sobressentesdeerá estar apto a indicar o número do produits e a denominacao do modelos. Encontra esta informacao na etiqueta de identificacao. Se remove o FILTER para gordura, encontrar a etiqueta de identificacao porTRS.
Electroservice
Quinta da Fonte
Ed. Gonçalves Zarco - Q 35
2774-518 Paço d'Arcos
Telephone: 21 440 39 00
Dados Técnicos
| Modelo | Dimensoes | Illuminação | Filtro antigordura | Potência nominal total | Ligação | ||
| Altura | Largura | Profund. | |||||
| EFCL 650 | 55-64,5 | 59,9 | 51,5 | 2 x 40W | 2 | 250 W | 220-240 V |
| EFC650 | 87,5-111,6 | 59,9 | 51,5 | 2 x 40W | 2 | 250 W | 230 V |
| EFC950 | 87,5-111,6 | 89,9 | 51,5 | 2 x 40W | 3 | 250 W | 230 V |
| CH 1200 | 87,5-111,6 | 119,9 | 51,5 | 2 x 40W | 4 | 250 W | 230 V |
| CH900 | 87,5-111,6 | 89,9 | 51,5 | 2 x 40W | 3 | 250 W | 230 V |
| CH600 | 87,5-111,6 | 59,9 | 51,5 | 2 x 40W | 2 | 250 W | 230 V |
Sujeito a alteracao sem avis previo.
Instalação
Desembalar
Verificar se o exaustor não está danificado. Os danos de transportedeerão ser imeditamente transmitidos a um responsavel do sector de Danos de Transporte, falhas e eventuales pormenores em faltadeerão ser imeditamente transmitidos ao vendedor. Éfavor guardar o material de embalagem para que ascriçanas��enhas não possam brincar com ele.
Colocação
O exaustor deve ser montado na parede.
Depois de instalado, o exaustor devera ficar pelo menos
60 cm acima dos queimadores electricos e 70cm acima
de queimadores a gás ou queimadores mistos. Fig.5.
Se as instruções de instalação do dispositivo de
cozimento a gás especificarem uma distência maior,
deve-se levar em conta esta indicatorão.
Ligação eletrica
Indicações de segurarça para o electricista
Antes de ligar o aparelho verifique se a tension indica na placac de identificacao coincide com a tension da rede. Se o aparelho estiver equipado com una fichte de alimentacion eletrica, esta podera ser introduzida numa tomada qualquer que tenha sido instalada em conformidade com as normas, num local de fácil accesso.
Se for necessário efectuar uma ligação fixa, esta deverá ser feita por um electricista qualificado. A ligação deverá ser feita atraves de um dispositivo de proteção que actua em todos os pálos@cujos contactos tenham uma abertura não inferior a 3mm
O fabricante declina toda e qualquer responsabilitadepelos defeitos decorrentes do nao cumprimento dasinstruções acima indicadas.

Fig. 5
Montagem - Fig. 6
- Posicionar o gabarito (1) à parede, marcar osinous pontos em correspondência dos furos a ser praticados e, quando, executar os furos (2 x 012 mm) (2).
- Inserir osinous ganchos dotados de buchas para parede (3).
- Tirar os filtros gordura metalicos (4) e enganchar a coifa à chaminé, ajustá-la horizontally agindo nos parafusos de regulação (5).
- Marcar 2/4 furos na parede (6). Em seguida tirar a coifa dos ganchos e fazer os furos (2/4 × 0.8 mm) , em correspondência aos sinais de marcação. Inserir asbuchas para parede nos furos e pendurar novamente a coifa aos ganchos, fixar definitivamente a coifa (7) com parafusos (2/4 × 0.5 × 45 mm) .
Fixar o suporte da chaminé (8) combuchas para parede 0.8mm e parafusos 5× 45mm a 3 - 4mm abaixo do tecto, bem centralizzato com7a loira a coifa abaixo e perfeitamente na horizontal. - Versão aspirante: Fixar o anel de conexão (S) no topo da coifa cominous 03,5× 6,5mm (9S); em seguida inserir um tubo
suficientemente comprido de modo a alcancar o exterior (10S).
Versão filtrante: Fixar o deflector (K) comodos parafusos 0 3,5 x 6,5 mm (9K).
- Efectuar a conexão eletrica (11) (ver capítulo — Conexão eletrica).
- Inserir a chaminé (12) e fixá-la no alto ao suporte da chaminé comodos parafusos 03 × 9 ~mm (13).
Fazer a parte inferior da chaminé escorregar para baixo e inserir a chaminé no lado superior da coifa (14).
Enfim, insertir as grelhas (15) em ), os lados da chamine.




Fig. 6
Funcionamento extractor 70
ManualFácil