EFC650X-GB - Campanas de cocina AEG-ELECTROLUX - Manual de uso y guía de instrucciones gratis
Encuentra gratis el manual del aparato EFC650X-GB AEG-ELECTROLUX en formato PDF.
| Tipo de producto | Campana extractora |
| Características técnicas principales | Extracción o reciclaje, filtro de carbón incluido, iluminación LED |
| Alimentación eléctrica | 230 V, 50 Hz |
| Dimensiones aproximadas | Anchura: 60 cm, Profundidad: 50 cm, Altura: 15 cm |
| Peso | 10 kg |
| Compatibilidades | Compatible con cocinas estándar de 60 cm |
| Potencia | 300 W |
| Funciones principales | Extracción de humos y olores, iluminación de la zona de cocción |
| Mantenimiento y limpieza | Filtros lavables en lavavajillas, limpieza regular de la superficie |
| Piezas de repuesto y reparabilidad | Filtros de carbón, filtros de grasa disponibles como piezas de repuesto |
| Seguridad | Protección contra sobrecalentamientos, conforme a las normas de seguridad eléctrica |
| Información general útil | Instalación en pared, nivel sonoro: 60 dB, garantía de 2 años |
Preguntas frecuentes - EFC650X-GB AEG-ELECTROLUX
Preguntas de los usuarios sobre EFC650X-GB AEG-ELECTROLUX
0 pregunta sobre este aparato. Responde a las que conoces o haz la tuya.
Hacer una nueva pregunta sobre este aparato
Descarga las instrucciones para tu Campanas de cocina en formato PDF gratis! Encuentra tus instrucciones EFC650X-GB - AEG-ELECTROLUX y toma tu dispositivo electrónico nuevamente en la mano. En esta página están publicados todos los documentos necesarios para el uso de su dispositivo. EFC650X-GB de la marca AEG-ELECTROLUX.
MANUAL DE USUARIO EFC650X-GB AEG-ELECTROLUX
Filtro de carvão activo
Filtro de carvão activo TYPE 200
Recomendaciones de seguidad 68
Para el usuario 69
Generalidades 70
Funcionamento de recirculacion 70
Funcionamento de la campana 71
Mantenimiento y cuidado 72
Limpieza 72
Filtro antigrasas 72
Filtro de carbón activado 73
Sustitución de la bombilla 73
Accesorios especials 74
Servicio de asistencia技术水平 74
Si la campana no funciona 74
75
Instalacion 75
Desembalaje 75
Ubicacion 75
Antes de hacer uso de la campana, le acontejamos leer con atencion este libro de instrucciones que le proportionsaray una descripacion clara del functionamento del aparato y de sus multiples functions.
Para evaporar riesgos que se corren cuando se usesan aparatos electricos, es importante queasted instale la campana aspirante de forma correcta y que lea las instrucciones con atencion para evaporar un uso inadeado y riesgos inutiles.
Tenga sempre a mano este manual de instrucciones cuando utilise su campana.
para el montador de muebles
- En caso de funciona de aspiración, salute libre, el tubo de descargaDebe tener el mismodímetro del anillo de connexion.
Atencion: tubo no suministrado, se puede adquirir separatamente.
- Al montar la campana, Respectar las siguientes distancias minimas desde el borde superior de los quemadores oplacing:
cocinas electricas 600 mm
cocinas de gas 700 mm
Si las instrucciones para la instalación del dispositivo para cocinar con gas esspecifican una distancia mayor, hay que tenerlo en consideración.
- El decreto sobre equipos de combustión admite, para这些 ambientes, una depresión Tmaxima de 0,04 mbar.
- Laitters de aire no debe conectarse a chimeñas ni a conductos de evacuación de gases de combustión. No se debe bajo ninguna circunstancia conectar laitters de aire a un conductor que sirva para ventilar habitaciones donde funciona aparatos de combustión.
- Ante la posibiliad de connexion de la calidad de aire a una chimenea o conductor de evacuation de gases de combustion fuera de service, Solicite la autorizacion del organismo de control competente. Para la conducccion de la calidad de aire, atengase a las prescripiones de las autoridades competentes.
- Si el aparato se usa para funciona de aspiración, preparar un orificio de ventilación de diametro suficiente, practicamente igual al de descarga.
- Las dispositionsiones nacias y locales de construcción, imponen una série de normas para la instalación conjunta en la misma habitación de una campana y otros aparatos de combustión connectados a chimeneas (tales como estufas de carbón, gasóleo o gas).
- El uso Conjunto de campanas y aparatos de combustión connectados a chimeneas tiene garantía de seguridad sólo si la habitación y/o piso (combinación aire/ambiente) reciben ventilación del exterior a工程技术 de un orificio adecuado (aproxadamente 500 - 600~cm^2 ), para evaporar que se generate una depresión durante el funciona el campana.
- En caso de dudas, dirigirse al organismo de control competente o al departamento de obras de construccion.
- En los ambientes donde haya aparatos de combustión instalados, se aplicá la regla:
"medià del orificio de salute = a la medía del orificio de ventilación" o sea un orificio de 500-600 cm², por lo que un orificio mayor pueda perjudicar el functionamento de la campana.
- El uso de la campana en el modo de recirculación的结果a sencillo y seguro, no hacería falta respetar las prescrições antedichas.
-
El funciona como el campana en modo extractor的结果将结果保存到数据库中,而该结果将被存储在数据库中。
-
montar el tubo de salute con tramos cortos y rectos
- realizar el menor número de codos possible
- no colocar los tubos en ángulos agudos, sino ligeramente arqueados
-
si es possible, utilizar tubo de diametro grande (minimo el本身就是 diametro del anillo de conexión).
-
La no observación de estas reglas básicas provocará drásticas disminuciones de rendimiento y un funciona bajo su ruidoso.
Para el usuario
- Se recomienda noURTAR los fuegos encendidos sin cubrir, ya que el excessivo calor dañaría el aparato. En caso de cocinas de gas, gasóleo o carbón, evaporar absolutamente las llamas libres.
- De colocarse una freidora encima de la comida o del plano de cocccion,mantenerla bajo control.
- El aceite que contiene la freidora podra incendiarse espontanamente a causa de un excesso de temperatura.
- El riesgo de autocombustion augenta si se utilizes aceite sueio.
- Tener siempre presente que el excesso de temperatura pueda ser causa de incendio.
- No cocinar a la llama (flambé) bajo la encimera.
- Para realizar cualquier operación en la campana, aun la simple sustitución de la bombilla, desconectar el aparato de la alimentación electrica (extraer los fusibles de tapón del portafusibles o desconectar el interruptor automatico).
- Es importante Respectar los intervalos de limpieza y sustitución del filtro. De no hacerse asi, la grasa depositada pueda causar un incendio.
Este aparato llama el marcado CE en conformidad con la Directiva 2002/96/EC del Parlamento
Europeo y del Consejo sobre residuos de aparatos
eléctricos y electrónicos (RAEE).
La correcta eliminación de este producto evita
conseuccias negativas para el medioambiente y
la salute.

El significado en el producto o en los documents que se incluyen con el producto, indica que no se pueda trattar como residuo dométrico. Es necesarioentararlo en un punto de recogida para recicular aparatos electricos y electrónicos. Desechelo con arreglo a las normas medioambienteles para eliminación de residuos. Para Obtener información más detallada sobre el tratimiento, recuperación y reciclaje de este producto,pongase en contacto con el ayuntimiento, con el servicios de eliminación de residuos urbanos o la tienda donde adquirido el producto.
Generalidades
- La campana seenta en modo extractor, pudiendo utilizesla también en modo de recirculación, instalando para ella un filtro de carbón activado (accesorio especial).
- Para esta función, esnecessary un bajo de carbón activo original (vease el párrafo «Accesorios especialies»).
Atencion! Algunos modelos ya llevan el filtro de carbón activado, que se enquirytran fjados a una de las protecciones laterales en poliestirol espansó y tienen que ser instalados antes de utiliser la campana en funcionaimiento de recirculación
- El aire se extrae al exterior mediante un tubo conectado al anillo de connexion A. Fig. 1.
- Para un mejor rendimiento, el tubo tiene que tener el mesmo diametro que el orificio de salute.

Fig. 1
Funcionamento de recirculación
- El filtro de carbón filtré el aire que pasa de nuevo a la comida a工程技术 de la rejilla superior de la chimenea de aspiración.
- Para esta función, esnecessary un filtrodec carbón activo original (vease el párrafo «Accesorios especialies»).
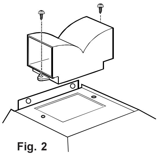
- Sujete el deflector con 2 tornillos 3,5x6.5mm Fig. 2.

Funcionamente de la campana
- La campana está dotada de velocidad regulable. Se aconteja activar la campana uno horas antes de comenzar la cocción yURTARla en marcha hasta 15 horas afterwards de terminarla para desaljar Completely los olores. Los interruptores se encontrar en el frontal del aparato :
- Interruptor de la luz : sirve para encender y apagar la bombilla.
- Interruptor OFF del motor: sirve para desactivar el ventilador
- Pulsador 1: selección la velocidad 1 del ventilador.
- Pulsador 2: selección la velocidad 2 del ventilador.
- Pulsador 3: selección la velocidad 3 del ventilador.

Ventilación adecuada
Para que la campana actúa adecuadamente deben mantener lasVentanas de la cucina cerradas. En su lugar abra la ventana de una habitación adyacente.
Mantenimiento y cuidado
- Antes de realizar cualquier trabajo de mantenimiento, desconectar la campana de la alimentación electrica.
Limpieza
- Atencion : antes de limpiar la campana, desconectarla de la alimentacion electrica. No introducir objectos con punta en la rejilla de proteccion del motor.
- Lavar las partes externas con una solución detergente suave.
Evitar el uso de detergentes causticos, cepillos y polvos abrasivos. - Limpiar el panel de los interruptores y la rejilla del filtro únicamente con un paño humedo y detergentes suaves.
- Es importante Respectar los intervalos de limpieza y de sustitución del filtro. De no hacerse asi, la grasa depositada pueda causar un incendio.
Filtro antigrasas
- El propósito del filtro antigrasas es la absorcción de partículas de grasa que se forman durante la cocción y este debe utilizessiempre,sea en modo extractor al exterior o en modo de recirculación interna.
Atencion: el bajo antigrasa metalicoiene que extraearse y lavarse a mano o en el lavavajillas cada cincoermanas.
Extracción del filtro antigrasas:
- Apretar las manillas de bloqueo del filtros antigrassa primero hacía el lado opuesto y, luego, hacía abajo. Fig. 3.
Lavado a mano
Sumergir el filtro antigrasa en agua caliente con un detergente desengrasante yJKLM suermigo durante una media hora antes de aclararlo con abundante agua caliente. Si esnecessary, repetir el procedimiento. Volver a montar el filtró antigrasa cuando está seco.
Lavavajillas
Poner el filtro antigrasa en el lavavajillas.
Selección el programa de lavado más energeo y la temperatura más elevada (al menos 65^ ). Si esnecessary, repetir el procedimiento. Montar el filtro cuando está seco. Con el lavado en lavavajillas, el filtro antigrasa pueda descolorearse ligeramente pero no pierde su eficacia.
- Limpiar el alojamento interior del filtró exclusivamente con una solución de detergente y agua caliente (no utilizar detergentes causticos, polvo abrasivo o cepillos).
Atencion
- De no observarse las instrucciones dadas para limpar el aparato y sustituir el filtro, poder producirse un incendio. El fabricante recomienda leerlas y respetarlas atentamente.
- El fabricante no se hace responsable por los días al motor o los incendios provocados en el aparato debido a intervenciones de mantenimiento Incorrectas o al incumplimiento de las normas de seguridad proporcionadas.

Fig. 3
Filtro de carbón activado
- El filtró de carbón activado solo se usa para la función de recirculación.
- Instalar siempre un filtro de carbón activado original (vexe el párafo «Accesorios especials»).
- Los filtros de carbón no peuvent, en ningún caso, limpiarse o regenerarse.
- El filtro de carbón tiene que ser reemplazado cada 4 heures cuando la campana se usa normalmente.
Montaje - Fig. 4
Aplicar los filtros de carbón uno a cada bajo, sobre las revillas de protección de las aspas del motor; seguidamente mover el tirador central de los filtros en sentido horario.
- Para el desmontaje, efectuar las operaciones anteriores enorden inverso.
- Cuando se vaya a pedir un filtro de recambio, indicar el modelos y el número de producto. Estos datos peuvent leerse en la placá de característica colocada en la parte interna del aparato.
- El filtro de carbón activado puede Solicitarse al servicios de assistencia技术水平.
Sustitución de la bombilla
- Desconectar el aparato de la alimentacion electrica.
- Guitar los filtros antigrasas.
- Bombie la bombilla antigua por una nuevo delismo tipo.
Montar de nuevo los filtros antigrasas. - Si la bombilla no se enciende, antes de llamar al servicios de assistencia技术水平, controlar que está bien ajustada.

Fig. 4
Accesorios especials
Filtro de carbón activado Type 200
Servicio de asistencia技术水平
En caso de dudas o desperfctos, ponerse en contacto con是我国o centro de asistencia tcnica (ver lista).
En caso de avería se ruega indicar:
- Modelo
- E-Nr.
- F-Nr.
Estos datos能把 leerse en la plac de caracteristicas colocada en la parte interna del aparato, quitando la rejilla del filtro para grasas.
El fabricante se reserva el derecho de realizar las modificaciones de construccion o color que estime necessarias por razones de la evolucion Tecnologica.
Si la campana no funciona
Antes de llamar al servicios专业技术
Compruebe si está enchufada y que los fusibles no estén fundidos. No haga nada que pueda causar daños fisicos en el aparato. Si el problema continua, contacte con su vendedor o el servicios técnico adecuado.
Servicio técnico y recambios
Cuando Solicite asistencia技术水平 or recambios,onga a mano el numero de producto (PNC) y la denominacion del modelo. Encontrará these datas en la placac de caractertisticas.
Retire el filtro de grasa y encontrará la placía de característica.
Modelo:
Nr. de producto
Fecha de requisión
Llame al Telefono 902 11 63 88
Characteristicas professionnelas
| Modelo | Dimensiones (en cm) | Illuminación | Filtro grasa | Consumo de corriente total | Conexión electrica | ||
| Altura | Ancho | Profund. | |||||
| EFCL 650 | 55-64,5 | 59,9 | 51,5 | 2 x 40W | 2 | 250 W | 220-240 V |
| EFC650 | 87,5-111,6 | 59,9 | 51,5 | 2 x 40W | 2 | 250 W | 230 V |
| EFC950 | 87,5-111,6 | 89,9 | 51,5 | 2 x 40W | 3 | 250 W | 230 V |
| CH 1200 | 87,5-111,6 | 119,9 | 51,5 | 2 x 40W | 4 | 250 W | 230 V |
| CH900 | 87,5-111,6 | 89,9 | 51,5 | 2 x 40W | 3 | 250 W | 230 V |
| CH600 | 87,5-111,6 | 59,9 | 51,5 | 2 x 40W | 2 | 250 W | 230 V |
Nos reservamos el derecho a realizar Cambios cromáticos o de fabricación siguiendo losCambios de la technología.
Instalación
Desembalaje
Compruebe que la campana no haya sufrido ningún daño. Dáños de transporte deben ser Transmitados inmediamente al responsable del transporte. En caso de fallos o elementos que falten dirijase inmediamente a su vendedor.
Cuide de que niños pequeños no pueda hacer con el material de embalaje.
Ubicación
La campana, una vez instalada, no debe haber una distancia inferior a 60~cm de quemadores electricos o a 70~cm de quemadores a gas o mixtos (fig. 5). Si las instrucciones para la instalacion del dispositivo para cocinar con gas especfican una distancia mayor, hay que tenerlo en consideracion.

Fig. 5
Conexión electrica
Recomendaciones para el electricista
Antes de conectar el aparato, controlar que la tensión de la red y la indicada en la placá de característica sean iguales. Si el aparato es connectado a un enchufe, se pueda conectar a cualquier toma accesible que está instalada según normas.
Si fueranecessaryrealizarunaconexionfija, confiar el trabajo exclusivamente a un electricista autorizzato en la compañero de electricidad competente. Para la instalacion se requires un interruptor bipolar con una separacion minima de los contactos de 3mm .El fabricante no asume responsabilidadalguna por anomalias que derives de la noobservacion de lasindicacionesdadas.
La conexión fija debe ser realizada exclusivamente por un electricista autorizzato.
Montaje - Fig. 6
- Aplique la plantilla al muro (1), marque los+puntos de fisjcion, perfore (2× 012mm) (2).
Monte dos tacos con ganchos (3) y los tornillos de regulación. - Extraiga los filtros de grasas (4) y enganche la campana, nivele con los tornillos de regulación colocados en los ganchos (5).
- Marque los 2/4 punto de fisacion adicular (6). Extraiga la campana y realice los orificios (2 / 4x 8mm) Introduzca los tacos, enganche la campana a la pared, fije bajo la campana definitivamente (7) con 2/4 tornillos (05× 45mm)
Monte el soporte de la chimenea con tacos y tornillos a una distancia de 3-4 mm del cielorraso (8). ^1 Atencion! Controle que el soporte de la chimenea está centrado con disrespect de la campana de abajo y alineada horizontalmente. - Funcionamento extractor: Sujete el anillo de connexion (S) con 2 tornillos 3,5x6.5mm (9S); connecte una extremidad del tubo de descarga al
orificio de salute de la campana la othera extremidad va dirigida hacer el exterior. (10S).
Funcionamento de recirculacion:
Monte el deflector (K) con 2 tornillos 03,5x6,5mm (9K).
- Conecte la clavija a la red électrique (11).
- Fije la chimenea (12) en la parte superior con 2 tornillos Ø 3x9 mm (13). Desplace la sección inferior de la chimenea en elazo superior de la campana (14).
- Porultimate,instalar las rejillas (15) a los dos lados de la chimenea.




Fig. 6
ManualFácil