EFC650X-GB - Cappe da cucina AEG-ELECTROLUX - Manuale utente e istruzioni gratuiti
Trova gratuitamente il manuale del dispositivo EFC650X-GB AEG-ELECTROLUX in formato PDF.
Domande degli utenti su EFC650X-GB AEG-ELECTROLUX
0 domanda su questo apparecchio. Rispondi a quelle che conosci o fai la tua.
Fai una nuova domanda su questo apparecchio
Scarica le istruzioni per il tuo Cappe da cucina in formato PDF gratuitamente! Trova il tuo manuale EFC650X-GB - AEG-ELECTROLUX e riprendi in mano il tuo dispositivo elettronico. In questa pagina sono pubblicati tutti i documenti necessari per l'utilizzo del tuo dispositivo. EFC650X-GB del marchio AEG-ELECTROLUX.
MANUALE UTENTE EFC650X-GB AEG-ELECTROLUX
Per l'installatore 24
Per l'utente 25
Generalità 26
Versione aspirante 26
Versione filtrante 26
Funzionamento della cappa 27
Ventilazione corretta 27
Manutenzione e cura 28
Pulizia 28
Filtro grassi in metallo 28
Filtro al carbone 29
Sostituzione delle lampadine 29
Accessori speciali 30
Servizio assistenza technique 30
Dati tecnici 30
Installazione 31
Rimozione dell'imballaggio 31
Ubicazione 31
Collegamento Elettrico 31
Montaggio 32
Prima di usare la cappa vi raccomandiamo tuttavia di leggere attendamente il presente manuale che vi fornirà una chiara descrizione dell'apparecchio e delle sue molteplici funzioni.
Per evitare i rischi che sempre si corrono utilizzando apparenti elettrici, è importante che la vostra nuova cappa aspirante venga installata correttamente e che quando leggiate attendamente le istruzioni onde evitare un uso inadeguato e rischi inutili.
Conservate il manuale d'istruzioni a portata di mano per quando utilizzerete la vostra nuova cappa.
Per l'installatore
- Nella versione aspirante, la cappa deve essere collegata ad un tubo di scarico da Ø 120 mm. Attenzione! Il tubo di scarico non è fornito.
- Durante l'installazione, rispetto le seguenti distance minime dai piani di cottura/ fornelli a gas:
piani di cottura elettrici 600 mm
cornelli a gas 700 mm
Se leistruzioni di installment del dispositivo di cottura a gas specificano una distanza maggiore, bisogna tenereneconto.
- Le norme nazionali sui sistemi a combustione stabiliscono una depressione massima di 0.004 bar nei locali.
- L'uscita dell'aria non deve essere collegata a canne fumarie o condotti di combustione del gas. L'uscita dell'aria non deve in nessun caso essere collegata ai condotti di ventilazione di locali dove sono installati appearecchi a combustione.
- L'installazione dell'uscita dell'aria deve essere conforme alle norme stabilite dagli enti preposti.
- Quando l'apparecchio viene utilizzato nella versione aspirante, il diametro del condotto di ventilazione deve essere lo stesso del tubo di uscita della cappa.
- La regolamentazione edilizia nazionale e regionale impone numerose limitazioni all'uso di cappe ed elettrodomestici a combustione collegati ad una canna fumaria come gli apparecchi di riscaldamento a carbone o a petrolio oppure stufette a gas dello stesso ambiente.
- Le cappe possono essere utilizzate con elettrodomestici collegati ad una canna fumaria perché corre pericoli sostanto se il locale e/o appartamento (combinazione aria/ambiente) è ventilato dall'esterno a mezzo di un foro di ventilazione grande di circa 500 - 600~cm^2 per evitare la formazione di una depressione durante il funzionamento della cappa.
- In caso di dubbi, contattare l'ente di controllo preposto oppure l'ispettorato edilizio.
- Poiché nei locali con apparecchi a combustione la norma prevede un"foro di uscita delle stesse dimensioni del foro di ventilazione", un foro più grande di 500 - 600~cm^2 , potrebbe ridurre il rendimento della cappa aspirante.
-
Nella versione filtrante, la cappa funzionera perché correre alcun rischio e dover ricorrere alle misure summenzionate.
-
Qualora la cappa venisse utilizzata nella versione aspirante, per un funzionamento ottinale dovranno essere osservate le seguenti norme:
- tubo di uscita breve e diritto
- ridurre al minimo le curve
- evitare di installare tubi con angoli acuti, devono averere soltanto curve a large raggio.
- utilizes tibi più larghi possibile (preferibilmente dello stesso diametro del foro di uscita).
- L'inosservanza di queste regole fondamentali portera ad una riduzione drastica del rendimento e aumento la rumorosità della cappa.
Per l'utente
- Coprire sempre gli elementi accesi per evitare che il calore in excesso danneggi l'elettrodomestico. Nel caso di fornelli alimentati a gas, petrolio e carbone evitare le fiamme libere.
- Controllare attendamente la frittura di cibi sui piani di cottura / fornelli.
- L'olio surriscaldato della pentola potrebbe prendere fuoco.
- Nel caso in cui l'olio utilizzato sua sporco, potrebbe augmentare il rischio di autocombustione.
- E' estremamente importante notare che il surriscaldamento può essere causa di incendi.
E' vietato cuocere cibi alla fiamma sotto la cappa. - Disinserire sempre l'apparecchio alla rete elettrica prima di effettuare qualsiasi operazione di manutenzione, inclusa la sostuzione di lampade (togliere il fusibile dal portafusibili oppure disinserire l'interrutto automatico).
- E' molto importante pulire la cappa e sostituire il filtrloagli intervalli consigliati. L'inosservanza delle suddette disposizioni potrebbe causare l'accumulo di depositi di grasso, comportando rischi di incendio.
Questo appearecchio è contrassegnato in conformità alla Direttiva Europea 2002/96/EC, Waste Electrical and Electronic Equipment (WEEE). Assicurandosi che questo prodotto sia smaltito in modo corretto, l'utente contribuisce a prevenir le potenziali consequences negative per l'ambiente e la salute.

Il significato sul prodotto o sulla documentazione di occupapagnamento indica che questo prodotto non deve essere trattato come rifiuto domestico ma deve essere consegnato presso l'idoneo punto di raccolta per il riciclaggio di apparecchiature elettriche ed elettroniche.
Disfarsene seguendo le normative locali per lo smaltimento dei rifiuti.
Per ulteriori informazioni sul trattamento, recupero e riciclaggio di quello prodotto, contattare l'idoneo ufficio locale, il servizio di raccolta dei rifiuti domestici o il negotio presso il quale il prodotto è stato acquistato.
Generalità
- La cappa viene fornita come appearecchio aspirante e può essere utilizzataanche con funzione filtrante inserendo due filtri a carboni attivo (accessorio speciale).
- Utilizzare filtri a carbone attivo originale (vedi accessori speciali).
Attenzione! Alcuni modelli sono più provvisti di filtri a carbone, quosti si trovano fissati ad una delle protezioni laterali in polistirolo e devono essere montati prima di utilizzato la cappa in versione filtrante.
Versione aspirante
- I fumi vengono espulsi all'esterno attraverso un tubo collegato alla flangia A. Fig. 1.
Per un miglior rendimento, il tubo dovrebbe avere lo stesso diametro del foro di uscita.

Fig. 1
Versione filtrante
- L'aria è filtrata mediante unhetto a carbone è fatta ricircolare nel locale atraverso i lati superiori del camino.
- Per il funzionamento in versione filtrante è necessario il Filtering a carbone attivo (vedere il paragrafo "Accessori speciali").
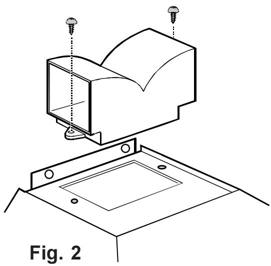
- Fissare il deflettore dell'aria con 2 viti 03,5x6.5 mm. Fig. 2.

Funzionamento della cappa
- La cappa è provvista di più velocità. Si consiglia di mettere in funzione la cappa alcuni minuti prima di iniziare a cucinare per fare in modo che si crei una depressione all'internalo del locale e di lasciarla in funzione dopo aver terminato la cottura dei cibi per circa 15 minuti o fino alla scomparsa degli odori.
I tasti per il controllo delle funzioni della cappa sono nella parte anteriore della cappa:
- Tasto luce: accende e spegne l'illuminazione della cappa.
Tastomotore:serve per spegnere la cappa. - Velocità 1: serve per selezionare la velocità/ potenza di aspirazione 1.
- Velocità 2: serve per selezionare la velocità/ potenza di aspirazione 2.
- Velocità 3: serve per selezionare la velocità/ potenza di aspirazione 3.

Ventilazione corretta
Affinché la cappa aspirante funzioni correttamente si dovrebbero chiudere le finestre della cucina e aprire una finestra in una stanza adiacente.
Manutenzione e cura
- Disconnettere sempre l'apparecchio alla rete elettrica prima di iniziare qualsiasi operazione di manutenzione.
Pulizia
- Attenzione: disconnettere l'apparecchio alla rete elettrica prima di effettuare qualiasi operazione di pulizia.
- Non introdurre oggetti acuminati nella griglia di protezione del motore.
- Per lavare esternamente la cappa usare una soluzione detergente delicata. Non utilizzato detergenti caustici, polveri o spazzole abrasive.
- Pulire saltuariamente il pannello comandi e la griglia del filtro con un panno umido e detergenti delicati.
- E' estremamente importante pulire la cappa e sostituire i filtriagli intervalli consigliati. L'inos-servanza delle suddette disposizioni potrebbe causare l'accumulo di depositi di grasso, com-portando rischi di incendio.
Filtro grassi in metallo
- Ilhetto grassi ha lo scopo di aspirare le particelle di grasso che si formano durante la cottura dei cibi. Deve essere sempre utilizzato in entrambé le versioni ad evacuatione esterna o a ricicchio interno. Attenzione: ilhetto grassi in metallo deve essere molto e lavato sua mano che in lavastoviglie agli 4 settimane.
Apertura del filtro grassi in metallo
- Tirare lo sgancio a molla verso dietro ed estrarre ilhetto verso il basso. Fig. 3.
Lavaggio dei filtri a mano
- Lasciare i filtri a bagno per circa un ora in acqua calda con un detersivo sciogli grasso, risciacquare abbondamente con acqua calda. Se necessario ripetere l'operazione. Rimettere aosto i filtri quando sono asciutti.
Lavaggio in lavastoviglie
- Sistemare i filtri nella lavastoviglie. Selezionare il programma di lavaggio più potente e la temperature più elevata, almeno 65^ C. Ripetere l'operazione. Rimettere i filtri al loro posto quando sono asciutti. Quando il filtro grassi in metallo viene lavato in lavastoviglie, perché leggermente scolorire alla sua però influire sulle sue prestazioni.
- Pulire l'interno della cappa usando soltanto una soluzione detergente calda (evitare detersivi caustici, polveri abrasive o spazzole).
Attenzione
- L'inosservanza delle norme di pulizia dell'apparecchio e della sostuzione dei filtri comportarischi di incendi. Si raccomanda quindi diattenersi alle istruzioni suggerite.
- Si declina agli responsabilità per eventuali danni al motore, incendi provocati da un'impropria manutenzione o dall'inosservanza delle suddette avvertenze.

Filtro al carbone
- Si raccomanda di utilizzato il Filtering al carbone attivo soltanto durante il funzionamento della cappa nella versione filtrante.
- Per il funzionamento della cappa nella versione filtrante è necessario il Filtering al carbone attivo originale (vedere Accessori Speciali).
- Ilchio ai carboni attivi non può essere né lavato, né riutilizzato.
- Di norma il filtrro ai carboni attivi va sostituito agli uomini.
Montaggio - Fig. 4
Applicare un filtro a destra ed uno a sinistra a copertura di entrambe le griglie di protezione della girante del motore, dopodiche girare la maniglia centrale dei filtri in senso orario.
- Per smontare ilhetto procedere in senso inverso.
- Pulire l'interno della cappa usando soltanto una soluzione detergente calda (evitare detersivi caustici, polveri abrasive o spazzole).
- Specificare sempre il codice del modello della cappa ed il numero di serie quando vengono ordinati i filtri sostitutivi. Questi dati si trovano nella targhetta di identificazione all'internalo dell'apparecchio.
- Ilchio al carbone attivo cui sono richiesto al servizio assistenza tecnica.
Sostituzione delle lampadine
- Scollegare la cappa alla rete elettrica.
Rimuovere ilhetto grassi. - Sostituire la lampada danneggiata con una identica.
Rimontare il filtrograssi. - Nel caso in cui la luce non dovesse funzionare, assicurarsi che le lampade siano state correttamente installate prima di chiamare l'assistenza tecnica.

Fig. 4
Filtro al carbone Type 200
Servizio assistenza tecnica
E' possibile Telefonare al nostro servizio di assistenza tecnica (vedere lista dei centri di assistenza tecnica) ognualvolta si desiderano informazioni o in caso di guasti.
Si raccomanda di specificare:
- Il codice del modello
- Il numero di serie (E- Nr.)
- Il numero di fabbricazione (F-Nr.)
Questi dati si trovano nella targhetta di identificazione all'interno dell'apparecchio dietro il filtro grassi.
Ci riserviamo il diritto diambiare le caratteristiche ed i colori dei prodotti frutto della nostra politica di continuo sviluppo technologico.
Dati tecnici
| Modello | Altezza | Dimensioni Larghezza | Profindità | Lampade | Filtri grassi | Assorbimento Totale | Collegamento Elettrico |
| EFCL 650 | 55-64,5 | 59,9 | 51,5 | 2 x 40W | 2 | 250 W | 220-240 V |
| EFC650 | 87,5-111,6 | 59,9 | 51,5 | 2 x 40W | 2 | 250 W | 230 V |
| EFC950 | 87,5-111,6 | 89,9 | 51,5 | 2 x 40W | 3 | 250 W | 230 V |
| CH 1200 | 87,5-111,6 | 119,9 | 51,5 | 2 x 40W | 4 | 250 W | 230 V |
| CH900 | 87,5-111,6 | 89,9 | 51,5 | 2 x 40W | 3 | 250 W | 230 V |
| CH600 | 87,5-111,6 | 59,9 | 51,5 | 2 x 40W | 2 | 250 W | 230 V |
Ci riserviamo il diritto diambiare le caratteristiche ed i colori dei prodotti frutto della nostra politica di continuo sviluppo technologico.
Rimozione dell'imballaggio
Controllate che la cappa aspirante non sia danneggiata. Danni dovuti al trasporto vanno segnalati immediatamente al responsabile del trasporto. In caso di danni, difetti o pezzi mancanti, occorre comunicarlo tempestivamente al rivenditore. Tenete sotto controlo il materiale d'imballaggio ed evitate che i bambini vi giochino.
Ubicazione
La cappa va montata sul muro.
Una volta installata, la cappa deve trovarsi almeno 60~cm soprà i piani di cottura elettrici e 70cm soprà quelli combinati o a gas. Fig. 5.
Se le struzioni di installatione del dispositivo di cottura a gas specificano una distanza maggiore, bisogna tenereneconto.
Collegamento Elettrico
Avvertenze per l'elettricista
Prima di effettuare qualsi collegamento assicurarsi che la tensione di rete corrisponda alla tensione riportata sull'etichetta caratteristiche. Gli appearechi forniti di spina possono essere collegati ad una presa standard facilemente accessibile.
Nel caso in cui fosse necessario un allacciamento fisso, la cappa delve essere esclusivamente installata da un elettricista iscritto all'albo.
L'installazione deve prevedere unsezionatore omnipolare con distanza minima fra i contatti di 3 mm.
Si declina ogni responsabilità per malfunzionamenti derivanti dall'inosservanza delle suddette disposizioni.
L'allacciamento fisso dell'apparecchio deve essere effettuato soltanto da un elettricista autorizzato.

Fig. 5
Montaggio - Fig. 6
- Posizione are al muro la dima di foratura (1), marcare i due punti in corrispondenza dei fori da praticare quando eseguire i fori (2 × 0.12 ~mm) (2).
- Inserire i due ganci forniti di tasselli a muro (3).
- Togliere i filtri grasso metallici (4) e agganciare la cappa a camino,aggiustarla orizzontalmente agenda sulle viti di regolazione (5).
- Segnare 2/4 fori sulla parete (6). Quindi togliere la cappa dai ganci e forare, in corrispondenza dei segni di marcatura, i fori (2/4 × 0.8mm) . Inserire i tasselli a muro nei fori e riappendere la cappa ai ganci, fissare definitivamente la cappa (7) con delle viti (2/4 × 0.5 × 45mm) .
- Fissare il supporto del camino (8) con tasselli a muro 0.8mm e viti 05x45mm a 3-4 mm除去 il soffitto, ben centrato rispetto la cappa sottostante e perfettamente in orizzontale.
- Versione aspirante: Fissare l'anello di connessione (S) sulla sommità della cappa con due viti Ø3,5x6,5mm (9S); poi insertire un tubo lungo
abbastanza da raggiungere l'esterno (10S).
Versione filtrante: Fissare il deflettore (K) con due viti 03,5x6,5mm (9K).
- Effettuare il collegamento elettrico (11) (vedi capitolo —Collegamento elettrico).
- Inserire il camino (12) e fissarlo in alto al supporto del camino con due viti Ø3x9mm (13). Far scivolare verso il basso la parte inferiore del camino ed insertire il camino sul lato superiore della cappa (14).
- Inserire infine le grigliette (15) su entrambi i lati del camino.




Fig. 6
Contents
Safety warnings 34
ManualeFacile