Variant S2020R - Sauna HARVIA - Bezpłatna instrukcja obsługi
Znajdź bezpłatnie instrukcję urządzenia Variant S2020R HARVIA w formacie PDF.
Pytania użytkowników dotyczące Variant S2020R HARVIA
0 pytanie dotyczące tego urządzenia. Odpowiedz na te, które znasz, lub zadaj własne.
Zadaj nowe pytanie dotyczące tego urządzenia
Pobierz instrukcję dla swojego Sauna w formacie PDF za darmo! Znajdź swoją instrukcję Variant S2020R - HARVIA i weź swoje urządzenie elektroniczne z powrotem w ręce. Na tej stronie opublikowane są wszystkie dokumenty niezbędne do korzystania z urządzenia. Variant S2020R marki HARVIA.
INSTRUKCJA OBSŁUGI Variant S2020R HARVIA
Przed Rozpoczeciem montazu nalezy zapoznać sie z nimiejsza instrukcj. Wysokosc saun Variantwynosi 2030 mm (dzieki regulowanym noźkom要去wynieszć +20-40 mm). Minimalna wysokosc pomieszczenia, w ktorym chcemy zamontowac saunewynosi 2150 mm.
Do montazu potrzebne są nastepujuce narzedzia:
- mlotek
- wiertarka
reczny lub elektryczny szubokret elektryczny - piła o drobnym użebieniu
miarka
papier scierny - poziomica
- wiertla (3,5 mm oraz 10 mm)
taboret lub drabinka
nozyk (do otwierania kartonow lub malych poprawek)
Instalacja elektryczna
Instalacja elektryczna są wykonana tylko przy wykalifikowane osoby.
Uwaga:
- Drewno jest materialem naturalnym i pomimo prawidlowego przechowywania要去czniec, kurczyc sie lub wypaczac. DlategoNiektore partie montazu moga wymagac uzycia sily i/lub narędzi stolarskich np. scisków.
- Do montazu nalezy uzyc srb uraz gwozdzi znajdujacych sie w zestawie.
- Przed wkreceniem wkretow wsystkie.),aczeniowe powinny byc nawiercone. Wiekszość otworów zostalo wykonanych w fabryce.
- Pomieszczenie, w którym ma byc zamontowana sauna powinno bycSuche. Istotne jest, aby zapewnić dobry przyptywgowiewrza w pomieszczeniu przyrozprésoczeciem pracy.
- Pozostale wewnetrzne elementy sauny nie powinny byc impregnowane.
- Przemilowane krawedzie powinny byc zlagodzone (zaokraglone) papierem sciernym.
- W razie potrzeby można zaszpachłowac powstałe Dziury, peknięcia, niedrowne zȩczenia mieszania trocin i kleju.
Zewnetrzne sciany sauny moga zostac pomalowane specialnym srodkiem ochronnym do saun lub odpowiednim lakierem. Powierzchnia taka jest latwiejsza w zachowaniu czystosci.
Ostrzeżenie!
Ježeli w saunie zamontowany jest poc dwufunkcyjny (combi) lub inna wytwornica pary, to po zakońzeniu pracy takich urzadzenNSE upewnic sie, ze sauna jest dobrze wysuszona. W tym celu przy czalkowitym zakońzeniem kapieli w saunie nalezy pozostawic pracujucACY piec bez funkcji pary na okolo 15-30 min. Rowniez nalezy pozostawic otwarte drzwi oraz wylot powietrza w saunie (wentylacja).
W przypadku kiedy dodatkowy zawór wenylyacyjny (SOFT) nie zostal zamówiony wraz za sauna jako opcja, to这其中 go zainstalowac juices po montazu, w gornej czeciarski sciany lub w suficie.
Montaç cokolu
Cokól sauny skrekamy uzywajc wkrétów 4.5 x 45 mm. Przed skrekianem naleź upewnic sie, ze cokól jest prawidlowo wypoziomowany (Rys. 2).
Montaz scian
Montaž elementów sciennych Rozpoczynamy od Jednego z roku o kacie 90^ . WAZNE! Montaž powinien zakoningczy sie w Jednym z narozników. Ostatni panel scienny nalezy przechylic na zewnatrix w taki sposob, zeby oppowiednio wpasowac w go w panele sasiednie. Panele nalezy skrecic wkrety 4,5 x 45 mm, otwory sa juicesnawiercone. Do przybicia listew boazeryjnych (maskujacy) nalezy uzyc gwozdzi 45 x 1,7 mm (Rys. 2 oraz 3). W przypadku kiedy ostatni naroznik nie moze byc spasowany od zewnatrix, nalezy usunac profil lącznikowy z ostatniego panela sciennego (Rys. 3).
Uwaga! Montaz drzwi nieMZe zostac pozostawionny na sam koniec montazu.
Nalezy rownikę sprawdzić od góryczy połączenia panei sciennych są szczelne.
Montaz sufitu
Po zakoczeniai montazu scian elementy sufitowe nalezy ulozyc na gorze. Upewnij sie, ze dolne profile montazowesufitu pasuja do gornych profili scian.
- Stojac w srodku sauny, do montazu sufitu nalezy uzyc listew wykonczeniowych (przyszufitowych) (28 × 28 ~mm) oraz zol'tych wkrećtow (4.5 × 45 ~mm) 违法犯罪 sciany z sufitem (Rys. 4).
- Przed przykrecaniem nalezy sprawdzić odpowiednia dlugosci listew.
Listwy przysufitowe maja nawiercone odpowiednie otwory dla wkrétów. Natomiast w celu uniknięcia pęknićew listwach boazerynchnalezy przyzed montaquem listew przysufitowych nawiercić je wiertlem 3.5 mm.
Listwy przysufitowe powinny byc njajpierw przykrecone do scian, pozostawiajac przerwe ok. 5 mm pomiedzy sufitem, a listwa przysufitowa. Gdy s Ruby sa przykrecone do sufitu ten wtapia sie w tasmce usczelniajaca, ktora biegnie wzdluz gornej czeci sciany.
Uwaga! Dotczy montazu sauny typ S1010. Z powodow technicznych lawki w saunie powinny byc zamontowane przyd montazem sufitu.
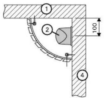
Odpowiednia sciana kabiny posiada specialne otwory w celu przypoprowadzenia instalacji elektrycznej do pieca oraz sterownikia. Otwory te są widoczne w gornym elementie konstrukcyjnym sciany.
Na zewnetrznej scianie znajduje sie ruchomy element boazeryjny umožliwiajacy podlaczenia sterownika, natomiast w srodku usytuowany jest podobny element umožliwiajacy podlaczenia pieca (Rys. 5). Jeźeli to konieczne, to naleź wywiercie otwory na przywody elektryczne w zdejmowych elementach panei.
Otwör na przyzewód oswietleniaMZebyc wyierczy ukośćne przyze gorna krawedz elementu sciennego lub bezposrednio przyze sciane, jakn wtedy bedzie widoczny na zewnatrz (Rys. 6).
Otwory dla przyzewodów do oddzielnych czujników lub glosników powinny byc przyzewiercone przyszeciane lub sufit.
Montaz listew wykończeniowych, zewnetrznych
Patrz Rys. 5. Przed montaquem listew wykończeniowych (15 x 90) nalezy upewnić sie, ze przywodny podłaczenia pieca i oswietlenia zostaly przypoprowadzone i podlaczone poprawnie.
Zacznij od przykrecenia drewnianych kawków uzupelniajacych, pod listwami wykończeniowymi. Do
ich zamontowania uzyj wkrétow 4.5 x 60 mm. Kawali uzupelniajace nalezy przykreća co okalo 500-600 mm. Końcowe na danej scianie kawali uzupelniajace powinny byc przykrećone jak najblzej rogow badź kątow kabiny.
Dotnij listwy wykończeniowe do odpwiednich dlugosci. Do ich przykrećenia uzyj wkrétów 3.2 x 45 mm.


Rysunek 1. Rozwiazanie wentylacji w saunie
Rysunek 2.

DET1


DET 2 Ostatni narożnik Ostatnie polaczenia


Rysunek 3.

1. 2. 3.



Rysunek 4.

4,5× 60mm






Rysunek 5.

W rogu blisko sufitu


Pod lawkaj

1.Sufit
- Lampa
- Kabel
- sciana
- Lawka

Rysunek 6. Umiejscowienie lampy oraz oslony
Montazlaw
Przykrec podparcia lawy (32 x 90 mm) uzywajc wkrećow 6 x 70 mm. Rys. 7.
Uwagal Przed przykrecniem górnaj lamy L (krótszej) nalezy oprzec na podparciach nizsza lamy. W przycwnym razie w poźniejszej fazie montazuMZby zbyt malo mistraca na montaž dolnej lamy.
Pozostale informacja
Do przykrećenia zasuwki I kratki wentylacynej uzyj wkrétów 4.5 x 45 mm. Zamocuj klaké do drzwi oraz oslone pieca zgodnie z dolaczonă instrukcjä.
Uwaga! Jeżeli zamierzasz zamontowac piec wisZY na scianie z oknem to najpierw nalezy zamontowac dolaczone drewniane podpory. NatestPNie do podpor za-mocujpiec.
Uwagal Zdaza sie, ze skrzydlo drzwi nie pasuje po calej dlugosci do futryny. Najcieszciej jest towynikiem przyzesuniecia sie dolnego cokolu sauny podczas calego montazu. Nalezy delikatie skorygować ewentualne odstepsta od prawidlowego ustawienia poprzej delikatne przysemuwanie calej kabiny, po ziemi i w odomowiednim kierunku.

*)Uwaga! Wysokość lawy w saunach specialnych musi byc zwyfikowana zrysunkiem.

FORMULA
Rysunek 8a.

Rysunek 8b.

Rysunek 8c.
VENTURA

Rysunek 8d.


Rysunek 9.
Kazda sauna wyposażona jest w spejalna lampę do sauny. Zaleca sązinstalowanie lampy w saunie, chocziaż nie jest to wymagane. Szczególnie w przypadku kiedy przyez drzwi szklane wpada duźo swiatka z sąsiedniago pomieszczenia.
Ježeli Twoja sauna wyposañona jest w oddzielna jegnestk sterujacja oswietleniem i lampa ma byc zainstalowana w saunie to naleź postepować wedlug ponieszych wytycznych:
- Lampa powinna byc podlaczona do oswietleniowej instalacji elektrycznej budynku i byc podlaczona do oddzielnego wylacznika. Wylacznik powinien byc zainstalowy na zewnatrz sauny, zgodnie z przypepisami elektrycznych IEE.
Napiece: 230/240 V, 1 faza - Zarowska: typ E14, zalecana moc 25-40 W (max. 40 W).
- Zarowska nie jest dostarczana z lampa.
Przekraj kabla zasilajacego: 2 × 1.5 ~mm^2 , odporność na temperature min. 70^ C .
Ježeli to konieczne to naležy wywiercić Dziure w scianie drewnianej w celu przypreprowadzenia kabla. Ponieszcie zdjecchia obrazu w jaki spośob naležy dokonac podłaczenia elektrycznych:
Uwaga! Podlączen elektrycznych要去 dokonywc tylkowywalifikowany elektryk. Parametry elektryczne oswietleniaznajduje sie na oprawie. Nalezy dostosowac sie do tych oznaczen. Przed Rozpoczeciem podlączania oswietlenia lub w trakcie serwisu sązy wylączy zasilanie.










ProstaInstrukcja