MW2-MM20PF - Mikrofale TOSHIBA - Bezpłatna instrukcja obsługi
Znajdź bezpłatnie instrukcję urządzenia MW2-MM20PF TOSHIBA w formacie PDF.
Pobierz instrukcję dla swojego Mikrofale w formacie PDF za darmo! Znajdź swoją instrukcję MW2-MM20PF - TOSHIBA i weź swoje urządzenie elektroniczne z powrotem w ręce. Na tej stronie opublikowane są wszystkie dokumenty niezbędne do korzystania z urządzenia. MW2-MM20PF marki TOSHIBA.
INSTRUKCJA OBSŁUGI MW2-MM20PF TOSHIBA
Przeczytaj uwaznie niniejsza instrukcje przyxDyciem kuchenki mikrofalowej i zachowaj ja na przyszlość.
Postepujac zgodnie z instrukcjami, kuchenka befindzie sluzyc Ci przyze wiele lat.
ZACHOWAJ INSTRUKCJE DO UZYTKU W PRZYSZLOSCI
SPIS TRESCI
SPIS TRESCI 1
ŚRODKI OSTROZNOŚCI 2
SPECYFIKACJE 2
INSTRUKCJE DOTYCZACE BEZPIECZENSTWA 3-4
CZYSZCZENIE. 5
NACZYNIA 5-6
USTAWIENIE INSTALACJA 7-8
OBSLUGA 9
ROZWIAZYWANIE PROBLEMOW 10
ŚRODKI OSTROZNOŚCI
ŚRODKI OSTROZNOSCI W CELU UNIKNIECIA NARAZENIA NA NADMIERNE PROMIENIOWANIE MIKROFALOWE
(a) Nie naleź ywczać kuchenki przy otwartych drzwiczkach, poniewaź要去 skutkować narażeniem na szkodliwaenergy mikrofalowa. Nie wolno uszkadzać ani ingerować w blokadę bezpieczność.
(b) Nie wolno umieszczac przy przemiotów pomiedzy frontem kuchenki a drzwickkami ani pozwalać, aby pozostałość siodków czyszczących gromadzily są na powierzchniach uszczelniajczych.
(c) OSTRZEŽENIE: Jesli drzewiczki lub uzczelki drzewiczek są uzskodzone, kuchenki nie wolno uruchamiauxć, dopóki nie zostanie naprawiona przyez kompetentna osobe.
UWAGA
Ješli urzadzenie nie jest utrzymywane w czystość, seinem powierzchnia要去 ulec zniszczeniu, co wplynie na trwałość urzadzenia i要去 skutkowaćNiebezpiecznośćwem.
SPECYFIKACJE
| Model: | MW2-MM20PF(BK) | MW2-MM23PF(BK) |
| Napiȩcie znamionowe: | 230-240V~50Hz | 230-240V~50Hz |
| Pobór Mocy (kuchenka mikrofalowa): | 1200-1270W | 1200-1250W |
| Znamionowa Moc Wyjsciowa (kuchenka mikrofalowa): | 750-800W | 750-800W |
| Pojemnosć Kuchenki: | 20L | 23L |
| Średnica Płty Obrotowej: | Φ 255mm | Φ 288mm |
| Wymiary Zewétrzne (szer. x gl. x wys.): | 440x357x259mm | 485x405x293mm |
| Waga Netto: | Około 11.4 kg | Około 13.0 kg |
INSTRUKCJE DOTYCZACE BEZPIECZENSTWA
OSTRZEZENIE
Aby zmielejszyc rzyko pożaru, porañenia prądek, urazów lub narażenia na nadmierne promieniowanie mikrofalowe podczas korzystania z urędźenia,NSEZY pręstrzegoć podstawych siodkowski ostrożnosci, w tym:
- Zapoznaj sie i postepuj zgodnie ze: „ŚRODKAMI OSTROZNOSCI W CELU UNIKNIECIA NARAZENIA NA ENERGIE MIKROFALOWA".
- Urzadzenia moga uzywać dane i osoby o agronomiczych zdolnościach fizcznych, zmysłowych lub umysłowych, lub nieposiadȩcze dośćwiedzenia pod warunkiem,ź są one nadzorowane lub zostaly pouczone na temat bezpiecznégo uzytkOWANIA oraz są swiadome zwiaganego z tym ryzyka.Dzieci nie moga bawić sie urzadzeniem.Czyszczenie i konserwacja nie moga byc wykonywane przydzowiecie,chybaź są one pod nadzorem.
- Urzadzenia i przywód zasilajćnyNSEtrzymać z dala od daneci, chyba ze są one pod sta tym nadzorem.
- Jesli przywoz dazilajc yest uszkodzony,aby uniknac zagrozenia musi on zostac wymieniony przye produenta lub autoryzowany serwis.
- OSTRZEZENIE: Przed wymianą lampy sąȩzy upewnic są,ź urzadzenia jest odłaczone od zasilania, abyunikacja porazenza prȩdom.
- OSTRZEZENIE: Wykonywanie konserwacci lub napraw, wymagajychychzdjecia oslony chroniacej przyd promieniowianiem mikrofalowym, jest niebepeznejda kogokolwiek innego niz kompetentna osoba.
- OSTRZEJEZENIE: Plyny i inna zwywnosc nie moga byc podgrzewane w szczelnie zamkiptych pojemnikach zu uwagi na ryzyko wybuchu.
- Podczas podgrzewania potraw w plastikowych lub papierowych pojemnikach sązy uwazać na pickarnik ze wźględu na最容易 zapłonu.
- Uzywac tylko przyborów kuchennych przystosowanych do uzytku w kuchenkach mikrofalowych.
- W razie pojawienia sie dymu, wyłaczyc urzadzenia lub wyjac wtyczke z gniaźdka i pozostawic zamknietà drzwiczki w celu stlumienia plomieni.
- Podgrzewanie napojów w kuchence要去 powodowej opoznione, gwaltowne wrzenie, dlatego naleźysto ostrzone obchodźcie są z naczyniem.
- Zawartosc butelek do karmienia i sloiczkowski z Jedzeniem dla niemłowat nalezy wymieszac lub wstrzasnac, a przy spożyciem sprawdzić temperature, aby uniknac poparzen.
- Jaj w skorupkach i calych jajek gotowanych na twardo nie nalezy podgrzewac w kuchenkach mikrofalowych, ponieważ moga eksplodowej nawet po zakończeniu podgrzewania.
- Kuchenke nalezy regularnieczyscić i usuwać wszelkie resztki zwywnoscić.
- Nieutrzymywanie kuchenki w czystosci moze prowadzic do pogorszenia stanu powierzchni, co moze niekorzystnie wplynac na trwalość urzadzenia i skutkownikie niebezpieczeniawem.
- Naleź uzywać wylącznie sony temperature zalecanej dla tej kuchenki. (W przypadku kuchenek z moziwość uzycia sony temperature).
- Kuchenki mikrofalowej nie sąȩz umieszczć w szańce, sąȩ została przyrozstawana pod tym kątem.
- Urzadzenie przyznaczone jest do uzytku domowego lub podobnych zastosowan: -kuchnie dla personelu w sklepach, biurach i innych.), -dla kientsów hoteli, moteli i innych.), zakwaterOWania, -gospodarstwa, -zajazdy.
- Kuchenka mikrofalowa jest przyznacznona do podgrzewania potraw i napojów. Suszenia zywnosci lub odziezy oraz ogrzewanie poduszek Rozgrzewajych, kapci, gąbek, wilgotnej scierki itp. Moź prowadzić do obrażen, zapłonu lub poźaru.
- Podczas gotowania w kuchence mikrofalowej nie wolno uzywac metalowych pojemników na zwywnosc i napoje.
-
Urzadzenia nie nalezy czyscić myjkā parowa.
-
Urzadzenie jest przyznaczone do uzytku wolnostojacego.
- Tylna powierzchnia urzadzenia powinna byc skierowana do sciany.
- Urzadzenie nie jest przyznaczone do uzytku zewétrznym zagarem lub oddzielnym systemem zdalnégo sterowania.
PRZECZYTAJ UWAZNIE I ZACHOWAJ DO WGLADU W PRZYSZŁOŚCI
Aby zmiejszyc ryzyko urazów daneź podłaczycz urzadzenia do uziemienia
NIEBEZPIECZENSTWO
Niebezpieczentwo Porażenia Przemem
Dotknięcie niedektórych elementów wewétrznych są spowodowej powazne urazy lub smierc. Nie wolno demontowej tego urzadzenia.
OSTRZEZENIE
Niebezpieczneistwo Porażenia Przem dem
Nieprawidowej uziemienie要去skutkowac porazeniem pradem.
Nie podłaczać do gniażdka, dopóki urzadzenia nie zostanie prawidłowo zaintalowane i uziemione.
To urzadzenie wymaga uziemienia. W przypadku zwarcia uziemienie zmiejejsza ryzyko porażenia przem, zapewniać przyzewód odpradowazący pręd elektryczny. To urzadzenie jest wyposzazone w kabel z przyzewodem uziemajacym oraz wtyczka z uziemieniem. Wtyczkę sązy podłoczyc do prawidłowo zinstalowanego i uziemionego gniaźdka.
Skonsultuj sie z wykwalifikowanym elektrykiem lub serwisantem, jesti instrukcje dotyczze uziemienia nie są w pełni zrozumiale lub w razie wąplwość, czy urzadzenia jest prawidłowowo uziemione.
Jesli konieczne jest uzymec przydlozacza, uzywaj tylko przydlozacza 3-zylowego.
- Do urzadzenia dołuczony jest krótki przywód zasilania w celu zmiejszenia ryzyka zaplątania są lub potkówno dlauszy przywód.
- Jesli uzywany jest dlugi zespół przywodów lub przydłuźacz:
1) Oznaczone parametry elektryczne przywodu lub przydłużacza powinny być przyznajmież zgodne z parametrami urzadzenia.
2) Prźedlącz musi byc 3-zyłowym przyzewodem z uziemieniem.
3) Dłuźszy przywoć powinien być tak ułoźony, aby nie zwisaź z blatu lub stolu, gdzie sąbzć pociągniety przy czȩciej lub można sie o niedo potknać.
CZYSZCZENIE
Pamiętaj, aby odścZYć urzadzenia od zasilania.
- Po uzyciu wczyśc komore kuchenki lekko zwilżona szmatka.
- Akcesoria czyscić w zwykły sposob w wodzie z plnym do mycia.
- Rame i uzeczelke drzwickek oraz sąsiadujace czeci nalezy doklady wycycić wilgotnascierka, jestli są zabrudzone.
- Nie naleź y uzywać agresywnych, ciernych srodków czyszczących ani ostrych, metalowych skrobaków do czyszczenia szby drzewiczek kuchenki, poniewaN mogaN one zarysować powierzchnie, co grozi uszkodzeniem szby.
- Wskazówka dot. Czyszczenia --- Aby ułatwieczyszczenersie scian komory majęch stycznosć z przyrzadzną zywność: Umieść poł cytryny w misce, dodaj 300 ml (1/2 kwarty) wody i podgrzewaj w 100% mocy kuchenki przyez 10 minut. Wytrzyj piekarnik do czysta miękka, sąszierka.
NACZYNIA I SZTUCCE
OSTRZEŽENIE
Rzyko Urazu
OSTRZEZENIE: Wykonywanie konserwacci lub napraw, wymagajychzdjecia oslony chroniacej przyd promieniowaniem mikrofalowym, jest niebezpiecznę dla kogokolwiek innego niz osoba wykwalifikowsana.
Patrz instrukcje „Materialy do uzytku w kuchenkach mikrofalowych, i ktorych stosowania naleź unikać". Istnieja niemetalowe przybory, ktorych nie są zaopnie bezpiecznych uzywać w kuchence mikrofalowej. W razie wąplwość dane naczynie sążestować postępuć zgodnia z ponijsza procedura.
Test Naczyn:
- Napelnij pojemnik nadajcy sie do kuchenek mikrofalowych 1 szklanka zimnej wody (250 ml) wraz z testowanym naczyniem.
- Gotuj z maksymalnà mocā przy 1 minute.
- Ostrożnie dotknij naczynia. Jesli puste naczynie jest ciepte, nie uzywaj go do gotowania w kuchence mikrofalowej.
- Nie przyekraczaj 1 minuty czasu gotowania.
Materialy, którychdoğan uzywać w kuchence mikrofalowej
| Naczyna | Uwagi |
| Naczynie do przyrumieniania | Stosować są doazoleń produkta. Dno naczyna musi znejdować są przyajmnej 3/16 cala (5 mm) nad płyta obrotowej. Nie prawnidłowe uzytkowania要去 spowodować出入境cie płyty. |
| Serwis stałowy | Tylko przystosowane do kuchenek mikrofalowych. Stosować są doazoleń produkta. Nie uzywać popeelanych lub wyszczerbionych naczn. |
| Słoiki szklane | Zawsze zdejmowników podkrywę. Uzywać tylko do podgrzewania potraw,źȩbatcie. Większość szklanych sloków nie jest ziaroodporna i要去出入境. |
| Naczyna szklane | Tylko ziaroodporne szło do piekarnika. Nie要去 posiadć metalowego wycończenia. Nie uzywać popeelanych lub wyszczerbionych naczn. |
| Woreczki do pieczenia | Stosować są doazoleń produkta. Nie zamykać metalowego opaska. Wykonac nacięcza, aby para mogła uciec. |
| Talerze i kubki papierowe | Uzywać tylko do krótkotralego gotowania / podgrzewania. Podczas gotowania nie zostawiec kuchenki bez nadzoru. |
| Ręczniki papierowe | Do przykrywania potraw w celu odgrzania i wychloniecia tuszczu. Uzywać pod nadzorem tylko do krótkotralego gotowania. |
| Papier do pieczenia | Uzywać są przykrycia, aby zapobiec Rozpryskiwaniu, lub owinięcia podczas gotowania na parze. |
| Plastik | Tylko przystosowane do kuchenek mikrofalowych. Stosować są doazoleń produkta. Powinien być oznaczony są „Do uzytku w kuchence mikrofalowej". Niekotre plastikowe pojemniki miękna, gdy zȩwność wŚrodku nagrzewsia. „Woreczki do gotowania" i szczelenie zamknietà torby plastikowej powinny boćozȩte, przybeite lub roszczelnione zgodnia z instrukcjna opakowaniu. |
| Folia plastikowa | Tylko przystosowane do kuchenek mikrofalowych. Do przykrywania potraw podczas gotowania w celu zatrzymania wilgoci. Folia nie要去 dotykać zȩwność. |
| Papier woskowy | Uzywać są osłony, aby zapobiec Rozpryskiwaniu i zatrzymAAC milgoć. |
Materialy, ktorych nalezy unikać w kuchence mikrofalowej
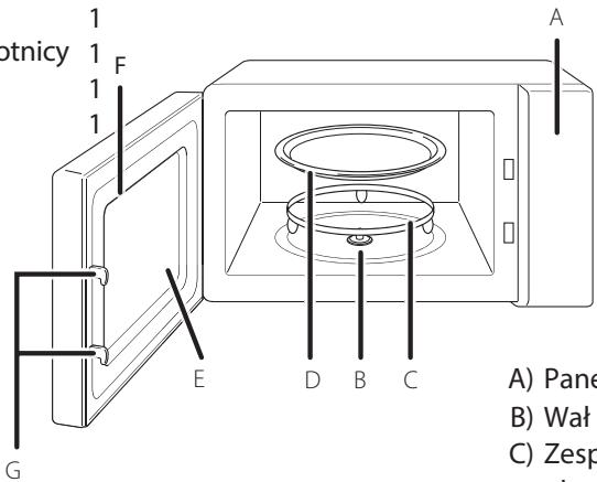
Nazwy częci i akcesoriów kuchenki
Wyjmij kuchenke i wzystkie materiaż y kartonu i komory kuchenki.
Kuchenka jest wyposzażona w nastepujuść akcesoria:
Szklana taca
Zespół pierścienia obrotnicy
Walphytobyobrotowej Instrukcja Obslugi

A) Panel sterowania
B) Walphytobyrotowej
C) Zespól pierścienia płyty obrotowej
D) Szklana taca
E) Okienko
F) Zespół drzwiczek
G) System blokady bezpiecznychstwa
Instalacja płyty obrotowej

a. Nigdy nie stawiaj szklanej tacy spodem do góry. Postępujac zgodnia z instrukcją umieść szklaną tackę na pierSciieniu obrotowym w prawidłowym kierunku. Szklana taca powinna sie plynynie obracć.
b. Podczas gotowania naleź yawsze uzywać szklnej tacy i zespołu pierScienia obrotowej.
c. Žywność i pojemniki zźwytnoscią na czas gotowania umieszczAAC naleź na szklanej tacy.
d. W przypadku uszkodzenia szklanej tacy lub zespolu pierScienia obrotowej, skontaktuj sieznajbliszym autoryzowanym centrum serwisowym.
Instalacja na blacie
Usun wzystkie elementy opakowania i akcesoria. Sprawdź kuchenkę pod kątem uszkodzen, takich jak wgniecenia lub wyłamane drzwiczki. Nie instalować, jestli kuchenka jest uszkodzona.
Obudowa: Usń folie ochronna znajduźac są na powierzchni obudowy kuchenki mikrofalowej. Nie zdejmuj jASNobrzowej osłony mikowej przymocOWanej do komory kuchenki w celu ochryny magnetronu.
Instalacja
- Wybierz rònna powierzchnie, która zapewnia wystarczajćo duź o twartej przyestrzeni dla otworów wlotowych i / lub wylotowych.

(1) Minimalna wysokość montaqu to 85 cm.
(2) Tylna powierzchnia urzadzenia powinna być skierowana do sciany.
Pozostaw minimalny odstep 30 cm nad kuchenka; minimalny odstep 20 cm między kuchenka a sąsiednimi scianami.
(3) Nie zdejmuj nozek ze spodu kuchenki.
(4) Blokowanie otworów wlotowych i / lub wylotowych są spowodowej uszkodzenia kuchenki.
(5) Ustaw kuchenke jak najdalej od radia i telewizora. Dziatanie kuchenki mikrofalowej要去 powodować zlokzenia odbioru radia lub telewizji.
- Podłucz kuchenkę do standardowygo gniażdka domowej. Upewnij są,ź napiȩcie i czestotliwość są zgodne z podanymi na tabliczce znamionowej.
OSTRZEZENIE: Nie instaluj kuchenki nad phta kuchenną lub innym urzadzeniem wytwarzajycm ciepło. Zainstalowanie jej w povlizu lub nad zródekem cieplaMZe spowodowacz uszkodzenia kuchenki i unWaznienie gwarancji.
Powierzchnie zewétrzne mogá byc gorace podczas pracy.


- Pokretto POWER (MOC)
-
Pokretlo TIMER (ZEGAR)
-
Aby ustawić moc gotowania, obrćPokretlo POWER do zădanego poziomu.
- Aby ustawić.czas gotowania, obrćPokrétlem TIMER do wymaganego czas gotowania wedlug zalecen.
Kuchenka mikrofalowa automatycznie Rozpocznie gotowanie po ustawieniu poziomu mocy i czasu. - Po upływie czasu gotowania urzadzenia zatrzyma są wybrzmi „Dzwonek".
- Jesli urzadzenie nie jest uzywane, zawsze ustawiaj czas na „0".
| Funkcja / Moc | Wydajnosć | Zastosowania |
| Niska | 17% mikro. | Zmieȩkczanie lodów |
| Śr. Niska (rozmrażanie) | 33% mikro. | Duszenie zupy, zmieȩkczanie masła lub Rozmrażanie |
| Śr. | 55% mikro. | Duszenie, Ryba |
| Śr. Wysoka | 77% mikro. | Ryź, Ryba, Kurczak, Mięso Mielone |
| Wysoka | 100% mikro. | Odgrzewanie, mleko, gotowanie wody, warzywa, napoje |
Uwaga: Podczas wyjmowania potraw z kuchenkiNSE upewnic sie, ze jest ona wyluczona, ustawiajac wylacznik czasowy na 0 (zero). Niezastosowanie sie do unto zalecenia i uruchomienie kuchenki mikrofalowej bez zywnosci w srodku moze spowodowa przyegrzanie i uszkodzenie magnetronu.
ROZWIAZYWANIE PROBLEMÓW
| Normalne | |
| Kuchenka mikrofalowa zlokoca odbior TV | Sygnalu radiowy i telewizyjnyMZebyc zlokocny przy whence uzlokocny takuchenki mikrofalowej. jest to zbliozone do zlokocn mazych urzadzen elektrycznych, takich jak mikser, odkuracz i wentylator elektryczny. jest to normalne. |
| Ślabe Światło kuchenki | Podczas gotowania przy niskiej mocy,źwatto w kuchenceMZebyc są条规定. jest to normalne. |
| Nagromadzenia pary na drzewiczkach, gorace powietrze z wywietrzników | Podczas gotowania z zwywnosciMZebyc są para. Większość odpradowazna jest przy wywietrzniiki. Czeks skrapla są na chłodnych powierzchniach, jak drzewiczki kuchenki. jest to normalne. |
| Kuchenka uruchomil są przypadkowo bez Jedzenia. | Zabrania są uruchamiania urzadzenia bez Jedzenia w sądku. jest to bardzoNiebezpieczne. |
| Problem | Mоżliwa przyczyna | Rozwiȩzanie |
| Nie要去 uruchomic kuchenki. | (1) Przewód zasilajczy nie jest dobrze podłarczy. | Odćczyć. Nastepnie podłącz ponownie po 10 sekundach. |
| (2) Przemalony bezpiecznik lub zafulcjory wyłącznik obwodu. | Wymierń bezpiecznik lub zresetuj wyłącznik obwodu (naprawa wykonywana przyez wykalifikowy個人 naszej firmy) | |
| (3) Problem z gniażdkiem. | Sprawź gniażdko z innymi urȩdzeniami elektrycznychi. | |
| Kuchenka nie gozteje. | (4) Drzewczyki nie są dobrze zamkniJEte. | Domknij drżwczki. |
TOSHIBA

MinkpoBoJIHOBaI neYb
PYKOBODCTBO NO 3KCNJYATAUIN
MoejIb:
MW2-MM20PF(BK)
MW2-MM23PF(BK)
BHHMaTeJIbHo IpoUHTaIte 3tN IHCTpyKcII NpeEd NaHauJOM 3KcNpyTaUcIN MmKpOBOHOBo Neu I COxpaHITe IN dJa DaIbHeIseRo ICNoJIb3OBAHn.
Pn co6IIOeHnn INCTpyKzra Ba7a ney6ydt Xopo7o Cnyxntb Bam MHOrO JeT.
COXPAHNTE 3TN INHCTPYKLIIN
COДЕРЖAHNE
COIDEPJKAHNE 1
MEpbI PPEIOCTOPOXHOCTN 2
TEXHINUECKNE XAPAKTEPNUCTIKN 2
BAKHBIE INHCTPYKLINI NO BE3OJACHOCTN 3-4
OuNTKA. 5
ПОСУДА 5-6
YCTAHOBKA 7-8
PAnHeJIb UYPABJIeHnIa 9
3KcPJIyATAU 10
YCTPAHEHNE HENCINPABHOCTEIN 11
MEPbI I PEPIOCTOPOXHOCTN BO N3BEXAHNE KOHTAKTAC N3JIuSHHm KOJInyECTBOM MINKPOBOJHOBOJ 3HEP-
(a) He nbItaiTeCb nCNoJIb3OBAbMb MKNPOBOJHOByIO neYb C OTKpbIToi DBepbIO, TaK KAK 3TO MOKeT pINBecTI K BpeiHOMy BO3DeiCTBnIO MKNPOBOJHOBOI 3Heprn. He JOMaIte N He HapuShaIte ueIoCTHOCTb 3auiTHoN 6IOKInPOB-KN.
(b) He nomeu Te HnKakne npedMeTbI MeJy nepeHne IaHeJIbIO n DBepbIO neu I He daBaTe OcaKy OT YnCTaXcPdCTB HaKaJIINBaTbcr Ha repeMeTn3npUoXn IOBepxHOCTax.
(c) BHIMAHNE: ecnДверь nIe ee ynpTHeHne NOBpeXdEhbl, He noJIb3yI-TeCb pebyo Do Tex nop, noka ee He OTpeMOHTpye T KBaINΦuCIPOBaHHbI pa60THNK.
DONOJIHEHNE
Ecn He nOndepxNtBaTb DocTaTOUHyU YnCTOTy yCTPOIcTBA, eTo NOBepxHOCtB MoKet NcnpTITcR, YTO MOKET NOBJIaRb Ta CpOK cnyX6bl yCTPOIcTBA n DaJKe Bbl3BaTb ONacHyU CNTyaCNIU.
TEXHNUECKNE XAPAKTEPNUCTUKN
Pre zniżenie rizika poranenia osob Instalacia zemmenia
NEBEZPECENSTVO
Dotyk niedtorych vnutornych komponentov moze sposobit vazne zranenie alebo smrt. Tento pristroj nerozoberajte.
Notice-Facile