MTM 1774 BE - Kuchenka mikrofalowa ECG - Bezpłatna instrukcja obsługi
Znajdź bezpłatnie instrukcję urządzenia MTM 1774 BE ECG w formacie PDF.
Pytania użytkowników dotyczące MTM 1774 BE ECG
0 pytanie dotyczące tego urządzenia. Odpowiedz na te, które znasz, lub zadaj własne.
Zadaj nowe pytanie dotyczące tego urządzenia
Pobierz instrukcję dla swojego Kuchenka mikrofalowa w formacie PDF za darmo! Znajdź swoją instrukcję MTM 1774 BE - ECG i weź swoje urządzenie elektroniczne z powrotem w ręce. Na tej stronie opublikowane są wszystkie dokumenty niezbędne do korzystania z urządzenia. MTM 1774 BE marki ECG.
INSTRUKCJA OBSŁUGI MTM 1774 BE ECG
Nalezy uwaznie przyczycy建设和 wglady!
Uwaga: Wskazówki i srodki bezpieczędwa w niniejszej instrukcji nie obejmuję wszystkich warunków i sytuacji, mogąch spowodowej zagrozenia. Najważniejszym czynnikiem odpowiadajycm za bezpieczne korzystanie z urjadzen elektrycznych jest ostrożnosć i zdrowy rozsȩdek. Naleźmy sący to na uwadze w trakcie obstręgu irzadzenia. Nie ponosimy odpowiedzialnosci za szkody powstate podczas transportu, na skutek niedrawłowego uzytkowania, wahania napięcia oraz zmiany lub modyfikacje ktorejkolwiecznych urzadzenia.
Aby zapobiec wznieceniu ognia lub porazeniu pradem elektrycznym, korzystajc z urzadzen elektrycznych nalezy przyestrzegać podstawowych zaasad bezpieczędsta, m.in.:
- Upewnij sie, ze napiecie w sieci odpowiada napieciu podanemu na etykiecie urzadzenia i ze gniazdko jest odpowiednio uziemione. Gniazdko musi byc zainstalowane zgodnie z obowiazujacymi przyepisami zgodnymi z norma EN.
- Nie nalewy korzystać z urzadzenia, gezeli nie działa w sprawidłowy sposob, uszkodzone są drzewiczki lub przywód zasilajncy.
OSTRZEJEZENIE: Osoby bez odpowedniego przeszkolenia nie powinny wykonywać zadnych napraw ani konserwacje, przy tkórch zachodzi koniecznosć demontaqu jedernej z osłon, chroniȩzych przy promieniowaniem mikrofalowym. Wszelkie naprawy i regulacja, w tym wymiANE przewodu zasilajśćgo, naleź zlecić w profesjonalnym serwisie! Przed naprawaN aleź odłowczyć przy owód zasilajćy od gniażda. Zdjęcie osłon przy podlączonym przyzewodzie zasilania grozi obrażniami na skutek dzialania energia mikrofalowej lub prȩdu elektrycznégo!
- Chron urzadzenie przy bezposrednim kontaktem z wodą iinnymi cieczami, aby zapobiec porazeniu prȩdom elektrycznym. Nie zanurzaj przyzewodu zasilajćego ani wtyczki w wodzie!
- Nie uzywaj kuchenki mikrofalowej na zewnatrix lub w wilgotnym srodowisku, nie dotykaj urzadzenia ani przyȩagego mokrymi rękami. Mogłowby to spowodstawć porazenie prȩdom elektrycznym.
- Naleź y zachować szczególny ostrożnosć, sąȩli w przydzenia przybebywajnośćcie.
-
Nie pozostawiaj wączonej kuchenki bez nadzoru.
-
Nie nalezy pozostawiać piekarnika podłaczonego do gniażda zasilania bez nadzoru. Prźed czynnosciami konserwacynjymi nalezy wyjac wtyczkte przybewodu zasilajȩcego z gniaźdka. Nie nalezy wymiągać wtyczki pociągȩcza kabel. Odlucz kabel chwytajć za wtyczkte.
-
Nie uzywaj kuchenki w poblizu zródel ciepla, np. piekarnika. Chron urzadzenie przydromieniowaniem sstonecznym.
-
Przewód zasilania nie są dozykać Rozgrzanych elementów ani ostrych krawędzi.
10.Aby obniżyc ryzyko pożaru wewnatrix kuchenki, naleźy przyestrzejność ponieszyszych zasad:
a) Nie ogrzewaj potraw zbyt d胶囊.
b) Przed wlozeniem do kuchenki torebek papierowych lub plastikowych usuń z nich wszelkie spinacje.
c) Nie podgrzewaj w kuchence oleju ani tuszczu do smażenia, poniewaN nie można kontrolować ich temperatury. Kuchenka nie sfluzy do smażenia. Gorocy olej要去 uszkodzic kuchenkę i naczynia oraz spowodować oparzenia.
d) Po uzyciu wytrzyj drzwiczki, uzczelkę i wétrtrze kuchenki sciereczka zamoczoną w wodzie z plynem do mycia naczyn, a nastepnie wytrzyj kuchenkę do sucha. Naleź y w ten sposob usunć zanieczyszczenia, tuszcz i resztki Jedzenia.
OSTRZEJEZENIE: Jeźeli drzwi (lub ich uszczelka) są uszkodzone, nie wolno uzywać kuchenki iNSEZY oddać ja do naprawy w profesjonalnym serwisie. Kuchenka powinna byc w odpowiedni sposob czyszczona, a resztki zwywnosci powinny byc usuwane. Nieutrzymywanie kuchenki w czystosci moze doprowadzic do uszkodzenia powierzchni, co moze negatywnie wplynac na okres uzytkowania urzadzenia i doprowadzic do niebezpiecznych sytuacji. Nagromadzony tuszcz moze sie przyegrzewać w kuchence i doprowadzic do pożaru. Nie uzywaj do czyszczenia sroków tracych. Nie wolno czyscić urzadzenia za pomocamyjki parowej.
e) Jeźeli podgrzewane Jedzenie zapali są lub zacznie są znio wyydobywać dym,Nie otwieraj kuchenki, ale natychmiast są wyłącz i wyjmij wtyczkę przyzwodu zasilajćego z gniażdka, aby zapobiec Rozprzestrzenianiu są ewentualnégo ognia.
f) Nie wolno pozostawiać urzadzenia bez nadzoru podczas korzystania z jegnorazowych naczyń plastikowych lub innych materiałowiatwopolnych, aby zapobiec zapłonowy.
11.Aby zmiejeśczy rzyko wybuchu lub nagiego zagotowania, naleź przy restrzegać poniesznych zahead:
OSTRZEZENIE: Płyny i(inner potrawy nie mogą być ogrzewane w zamkiptych pojemnikach, poniewañ grozi to wybuchem. Dotyczy to takź biletek;dziecięcych z zakȩtka lub ze smoczkiem.
a) Płyny podgrzewaj w naczyniu z szerokim otworem, a po podgrzaniu nie dotykaj go przyez 20 sekund, aby zawartość nie wykipiała iNie wylata sie.
b) W kuchence nie wolno podgrzewać jaj w skorupkach, calych jaj ugotowanych na twardo, wody zawierajȩcej tłuszcz lub olej ani zamkiptych naczyń szklanych, które mogłyby wybuchnȩć rownikę po zakończenia ogrzewania. Ziemniaki, parłowki i kasztany naleź przy przy włozeniem do kuchenki obrac lub przybieć.
c) Ogrzewanie mikrofalowe napojów sąspowodowej opóznione wrzenie, z czym naleźsię licZY podczas trzymania naczyna.
d) Nalezy wymieszacja lub wstrzȩstź zawartość butelek do karmenia oraz zȩwnosci dla;dzieci przychod podaniem. Nalezy sąwać zemperature przychod spożyciem, abyunikość poparzenia.
- Pozakończeniu podgrzewania naczynia są bardzo gorace. Naleź wyjmowania je w rękawicach kuchennych. Goręca paraMZe spowodowej oparzenia raki twarzy.
- Pokrywki naczn lub folie spozywcza danezy zdejmownik powoli, z daleka od twarzy. W podobny sposob danezy otwierać woreczki z popcornernem.
14.Aby uniknac rozbicia talerza obrotowej:
a) Przed czyszczeniem pozostaw talerz do ostygniecia.
b) Nie stawiaj na zimnym talerzu goracego Jedzenia ani naczyn.
c) Na gorącym talerzu nie stawiaj mrożonych produktów ani zimnych naczyń.
15.Upewnij sie, ze naczynia w trakcie podgrzewania nie dotykaj wewnetrznych scen kuchenki.
16.W kuchence nie nalezy przechowywać poźwietenia ani innych przyzmiotów. KuchenkaMZe uruchomicsi smoczynnie przy uderzeniu pioruna w siec elektryczna.
17.Nie wączaj kuchenki, jeźeli nie znajduja są wropywcze. Mogłowby to spowodowej jej uszkodzenia. NieNSEZY zapychać ani blokować otworów wentylacyjnych urzadzenia.
18.Stosowanie innych akcesoriów od zalecanych przyez produventa grozi utrata gwarancji.
19.Uzywaj urzadzenia tylko zgodnie z zaleceniami zawartymi w niniejszej instrukcji. Urzadzenia przyznaczone jest wyłącznie do uzytku domowego. Producent nie ponosi odpowiedzialnosci za szkody powstate na skutek nieprawidłowego stosowania urzadzenia.
20.Kuchenka mikrofalowa przyznaczona jest do podgrzewania zywnosci i napojów. Suszenie zywnosci lub odziezy, podgrzewanie poduszek Rozgrzewajacych, obuwia, gąbek do mycia, mokrych ubrań i podobnych przytedmiotów要去 doprowadzić do zranienia lub pożaru.
-
Urzadzenie jest przyznaczone do uzytku domowej oraz zastosowan takich, jak:
-
aneksy kuchenne w sklepach, biurach i pozostalych.), pracy
- urzadzenia stosowane w rolnictwie
- urzadzenia uzywane przy gez gosci w hotelach, motelach itp.
-
urzadzenia uzywane w przysiebiorstwach zapewniajnych nocleg ze sniadaniem.
-
Urzadzenia są być uzytkowej przy czȩci od lat 8, osoby starsze i osoby o agraniczonych zdolnosciach psychofizycznych lub niewystarczajycym doświadczeni i zznajomosciach,łąs są pod nadzorem lub zostały odpowiednio poinstruowane w zakresie bezpiecznégo uzytkowania urzadzenia. Dzieci są moga baweć są urzadzeniem. Czyszczenie i konserwacja są za powierzyć daneciom od 8 lat, ale tylko pod nadzorem.
Nie naleź y战胜niać są działanie promieniowania mikrofalowego
- Nie wolno przybować wączać urzadzenia, kiedy otwarte są drzwiczki. Grozi to wystawieniem na szkodliwe promieniowanie mikrofalowe. Nieu naleźny przybować przytrzymywać ani modyfikowej zamka bezpieczność drzewiczek.
-
Pomiędzy drzewiczki kuchenki nie naleź wóladyć zadnych przytedmiotów. Na uszczelkach oraz przylegajść do nich powierzchni nie powinno być zadnych Ślą dow brudu ani resztek środków czyszczących.
-
Nie nalezy próbować uruchamiać uszkodzonego urzadzenia. Po zamknęciu drzewiczki powinny być idealnie szczelne.
Przykladowe niebezpieczne uszkodzenia drzwiczek:
a) WGNIECENIE drzwiczek.
b) Poluzowane lub ułamane ZAWIASY oraz ZABEZPIECZENIA drzwickek.
c) USZCZELKA DRZWI LUB PRZYLEGAJACA DO NIEJ POWIERZCHNIA RAMY KUCHENKI.
Napraw i regulaggi kuchenki besoin dokonywać wyłącznie wydkwalifikowy spezialista.
- Podobnie, jak w przypadku innych urzadzen do pieczenia, w trakcie obshaligi kuchenki konieczny jest ciągly nadź, ze względu na zagrożenie pozarowe.
Ježeli wybuchnie požar:
- Nie otwieraj drzwiczek kuchenki.
- Wyęcz kuchenkę i wymiagnij wtyczke z gniaźdka.
- Wyłucz glówny wyłacznik prȩdu elektrycznych.
CZYSZCZENIE
Upewnij sie, ze kuchenka została odłuczona od zasilania poprzej wyjecie wtyczki z gniazdka.

- Wczyśc wⁿtrze kuchenki wilgotⁿ szmatkⁿ.
- Umyj akcesoria w wodzie z mydlem.
- Zanieczyszczoną rame drzwiczek, uzczelkę i jej okolice sąȩozy ostrównie oczyść wilgotność szmatka, zmoczoną w wodzie z niewielka ilość pląnu do mycia naczn, a sątnęcie wytrzejć do sucha.
Kuchenka musi byc uziemiona. Wtyczke przywodu zasilania mozza podaczyc tylko do odpowiednio uziemionego gniazdka. W razing jakichkolwiek waptliwosci dot. sprawnosci instalacji el. lub awari kuchenki nalezy skorzysta c z uslug wykwalifikowanego elektryka.
- Kuchenka mikrofalowa posiada krótki kabel zasilajćy, aby zmniejszyc rzyko zapłątania kabla lub przyypadowej zawadzenia.
- Przedluszacz musi spelniać następujece warunki:
a) Warsci nominalne obciżenia elektryczné go przyȩzacja i gniaźdka musza odpowiadać wartsciom nominalnym kuchenki mikrofalowej.
b) Przedłuźacz musi byc trójżywy, a是我的 wtyczka i gniaźdko muszamy uziemione.
c) Kabel musi byc schowany, nie moze zwisać z btatu stóu, gdzie Łatwo byloby o niego zawadzić lub przypadkowo wymiąnć z gniazdka.
PRZYBORY IN NACZYNIA
UWAGA
Niebezpiecznebstwo urazu
Stosujwęlącznienaczyniaprzeznaczonedouzytkuwkuchenkachmikrofalowych. Szczelnie zamkni三点 naczynia moga wybuchnac w trakcie podgrzewania. Pojemniki naleź przy podgrzewaniem otworzych, a opakowania plastikowe przydziurawic, patrz: Materialy, kóre moga i nie moga byc stosowane do podgrzewania produktów w kuchence mikrofalowej. Oprocz metali sągetTime内在 materialy, kóreNie moga byc uzywane do podgrzewania produktów spożywczych w kuchence mikrofalowej. W razie niedepewnosci,czy dany material nadaje są do uzycia w kuchence mikrofalowej, naleź postepować w ponieszys sposob:
Test naczyń kuchennych:
- Napeñij naczynie zimna woda (250 ml).
- Ogrzewaj przy przy maksymalnej mocy kuchenki.
- Ostrożnie dotknij naczyna i sprawdź和他的 temperature. Jeźeli nacznych jest ciepte, nie sąȩzy uzywać go do podgrzewania Jedzenia w kuchence mikrofalowej.
- Nie naleź podgrzewać dędzej niz 1 minuţe.
NIEBEZPECZENSTWO dla daneci: Dzieci nie powinny bawić są materiały opakowaniowymi. Nie pozwalaj;dzieciom bawić są torbami plastikowymi. Niebezpieczność udupszenia.

Goraca powierzchnia!
Materialy, ktorych mayna uzywac w kuchence mikrofalowej
| Naczyna | Uwagi |
| Formy do pieczenia | Przestrzegać zalecen producera. Spód naczyna dopieczenia musi sąznajność co najmiec 5 mm nad talerzem obrotowym Niewlasciwe obchodzenia są要去 powodowej要去cie tirerza obrotowego. |
| Talerze | Uzywać tylko talerzy i naczny przyznaczonych do uzytku w kuchenkach mikrofalowych. Przestrzegać zalecen produkta. Nie uzywać spekanych ani w inny sposób uszkodzonych misek. |
| Szklanki i dzbanki | Zawsze zdejmowników podzyskawe zzymność. Nie gotowyć jej! Większość szklanek i dzbanków ze szkcie są odpopna na wysokie temperature i要去 popȩkać. |
| Szklane naczyna do pieczenia | Uzywać tylko naczny z szkcie zaroodpornego. Upewnić są,ź naczyna nie ma metalochoose brzejgu ani innych elementów z metalu. Nie uzywać spekanych ani w inny sposób uszkodzonych misek. |
| Rękawy do pieczenia | Przestrzegać zalecen producera. Do zamykania nie uzywać metalowych zacisków. Pozostawić niewielki otwor, przyte kędzie mogla wydostawość go drażca para. |
| Tacki papierowe | Przydatne tylko do podgrzewania lub krótkiego gotowania. Podczas gotowania nie pozostawioc kuchenki bez nadzoru. |
| Ręczniki papierowe | Uzywać do przykrywnia jedzenia i do wchloniania wytopionego tłuszczu. Uzywać tylko do krótkiego gotowania. Podczas gotowania nie pozostawioc bez nadzoru. |
| Papier do pieczenia odporny na tłuszcz | Uzywać do przykrywnia jedzenia, do przykrywnia w czasie duszenia i do ochryn kuchenki przy zaprzyskaniem. |
| Plastiki | Uzywać tylko talerzy i naczny przyznaczonych do uzytku w kuchenkach mikrofalowych. Przestrzegać zalecen produkta. Plastik przyznaczony do uzytku w kuchence mikrofalowej musi nosić okreslone oznaczenia: „Przestrzanczy do kuchenki mikrofalowej". Niekotre plastiki poddane dlugotralemu dwialaniu wysokiej temperatury ulegaja uplastycznieniu. „Torebki do gotowania" nealty nacimiento, przydedziurawic lub w inny sposób Rozszczelnicy zgodnia z zaleceniami produkta. |
| Plastikowe folie do zzymnosci | Uzywać tylko talerzy i naczny przyznaczonych do uzytku w kuchenkach mikrofalowych. Uzywać ich do przykrywnia jedzenia i do.goe ochrony przy wysuszeniem w czasie gotowania. Upewnić są,ź plastikowa folia nie stykaz i z przygotowywanym jedzenia. |
| Termometry | Uzywać tylko termometrow przyznaczonych do uzytku w kuchenkach mikrofalowych. (Termometry do mięs i wyrobie wukierniczych.) |
| Papier woskowyany | Uzywać go do przykrywnia jedzenia w celu ochrony kuchenki przy zaprzyskaniem i do ochryn jedzenia przy dyes wysuszeniem w czasie gotowania. |
Materialy, ktorych nie wolno uzywac w kuchence mikrofalowej
| Sprȩ t i naczyna | Uwagi |
| Formy i talerze z aluminium | Niebezpieczeństwo deformaci. Przelužyć Jedzenie do pijemnika oppowiedniego do gotowania w kuchence mikrofalowej. |
| Pudełka z papieru i tektry faliistej z metalowymi uchwytami | Niebezpieczeństwo deformaci. Przelužyć Jedzenie do pijemnika oppowiedniego do gotowania w kuchence mikrofalowej. |
| Metalowne naczyna i naczyna z metalowymi elementami | MetalUniemozliwa przenikanie mikrofal. Metalowy brzegMZe ulec deformaci. |
| Drucianezaciski | Niebezpieczeństwo deformaci i zapłonu wewnatrz kuchenki. |
| Torby papierowe | Mozgliwość zapłonu. Niebezpieczeństwo zapłonu wewnatrz kuchenki. |
| Materialy piankowe | Pod wplywem ciepla plastikowa piantaMZe sąstopić i pogorszyć jakość jedzenia. |
| Drewno | Drewno wysychaw czasie gotowania iMZe popękać. |
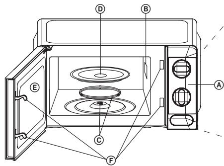
ELEMENTY KUCHENKI MIKROFALOWEJ Nazwy elementów kuchenki i jej wyposzazenia
Rozpakuj kuchenke i towarzyszace jej wyposazenia.
Kuchenka jest dostarcznaz z nastepujacym wyposazeniem:
Talerz szklany 1
Zespól kohniera napędzajciego 1
Instrukcja obslugi 1
PL

A Panel sterowania
B Falowod
© Zespół kolnierza napédzajęcego
D Talerz szklany

E Okienko
F Zamek z systemem ochronnym (Odcina doplyw energiae elektrycznej w przypadku otwarcia drzwickek podcas gotowania.)
① Moc wyjsciowa
② Mafa
③ Rozmrażanie
④ Srednia-mala
⑤ Srednia
⑥ Srednia-duza
⑦ Duza
8 Programator (min)
INSTALACJA TALERZA OBROTOWEGO

- NigdyNie wiktadac talerza szklanego spodem do góry. Talerz szklany musi sie zawsss swobodnie obracć.
- Nigdy nie uzywac kuchenki bez koñnierza napędzajćego i talerza szklanego.
- Cale jegzenie i wszystkie povemniki z Jedzeniem nalezy zawsze klasc na szklanym talerzu.
- Jesli szklany talerz pęknie lub uszkodzeniu ulegnie kolnier napędźajcy, nalezy skontaktokość znej blizyszau autoryzowanysta stacja serwisowa.
INSTALACJA
Usunac wszystkie materiały opakowaniowe i wyjac cale wyposzazenia.
Sprawdzić,czy kuchenka nie jest wźeden sposob uszkodzona (wgniecione lub uszkodzone drzewiczki itp.). Nie instalować kuchenki,która jest w jakikolwiek sposob uszkodzona.
Na blacie kuchennym
Obudowa kuchenki: Zdjabc z kuchenki wzystkie folie ochonne.
Nie usuwac jasnobrazowej folii ⑧ przykreconej wewnatrixkuchenki. Folia ta chroni magnetron w kuchence.
INSTALACJA
- Ustawic kuchenke na plaskim podlózu, tak aby wokólnej pozostala ilosc.), wystarczajca do wólciwogo dzialania otworow wentlyacjnych.
Minimalna odlegosc między piekarnikiem i njablizsza sciana winosi 7,5 cm, a minimalna wolna przystrzen za piekarnikiem winosi 10cm
Przynajmiej z jedernej strony musi pozostawac wolna przyestrzen.
a) Pozostawic co najmiej 30 cm wolnego.),
b) Nie demontować noźek kuchenki.
c) Nie zakrywać otworów wentrejnych. Grozi to uszkodzeniem kuchenki.
d) Umieciekuchenke maksymalnie daleko od odiornikow radiowych i telewizyjnych.
Kuchenka mikrofalowa要去 zakláć scygnat telewizyjny i radiowy.

- Właczyc kuchenke do standardowego gniażdka siediociego. Upewnić sie, ze napiȩcie i czȩstotliwość podane na etykiecie na kuchence są zgodne z napiȩciem i czȩstotliwość w siedci.
OSTRZEZENIE: Nie instalować kuchenki mikrofalowa nad kuchenka elektryczna, gazowa itp., w=Poblizu takiej kuchenki ani w=Poblizu innych zródel ciepla. Umieszczenie kuchenki w=Poblizu zródla ciepla grozi jej uszkodzeniem i utrata gwarancji.
Kuchenka mikrofalowa nie jest przyznaczona do uzytku w sabudowie;Nie wolno jej umieszczacw szafce itp.

Podczas dzialania kuchenki要去nagrzewaiej powierzchnia.
Panel sterowania i funkcje
- Nastaw moc wyjsciowa kuchenki, obracajc regulator mocy (Power) do zaadanego poziomu.
- Nastaw czas gotowania, obracajc programator (Time) do zadanego połozenia,azolengo od przygotowywanej potrawy (maks. 30 minut).
- Po nastawieniu mocy wyjsciowej i czasu kuchenka automatycznie Rozpoczyna gotowanie.
- Po uplywie czasu gotowania kuchenka wyłacza sie.
- Programator nieduzywanej kuchenki powinien byc nastawiony na n_0^
Uwaga: Aby nastawic czas gotowania krotszy niz dwie minuty, nalezy obracutec programator poza oznaczenia "2 minuty" i cofnac go do zadanej wartosci.
| Funkcje | Moc wyjsciowa | Zastosowanie |
| Low (Mała) | 20 % | Zmieȩczanie lodźow |
| Defrost (Rozmrażanie) | 42 % | Rozmrażanie |
| M. Low (Średnia-mała) | 52 % | Przygotowanie zap, zmieȩczanie masła |
| Med (Średnia) | 73 % | Duszenie mięsa, ryb |
| M. High (Średnia-duża) | 88 % | Ryź, ryby, kurczak, mięso mielone |
| High (Duź)a | 100 % | Grzanie mleka, gotowanie wody, warzywa, napoje |
Po zakońzeniu pracy urzadzenia uruchomi wentylator na czas niedbny do schlodzenia obciązonych termicznie czȩci elektroniki, aby zapobiec ich uszkodzeniu. Jeźeli praca urzadzenia trwa krócej lub pozwala na to temperatura otoczenia, urzadzenia nie musi stygnac po zakońzeniu pracy.
ROZWIAZYWANIE PROBLEMOW
| Ogólne | |
| Kuchenka mikrofalowa zakłóca odbior telewizji. | Pracujuca kuchenka要去 zakłóca odbiór radia i telewizji. Zakośćna tse są podobne do wyttwarzych przyczne wędajcie elektryczne, takie jak miksery, odkurzacze i wentylatory elektryczne. |
| Światlo wewnatrix kuchenki przygasa. | Przy nastawione mniesznychmocy wyjsciowej swiatto wewnatrix kuchenki要去 przygasać. |
| Na drzewczatkach skrapla sie para, z otworów wydstaje sie goärece powierzte. | Podcas gotowania, z potrawy要去 wydobyw)a para. Wydostaje są ona w成長socioprzej totwory wentylacyj, ale要去 czegoisto osadza na chlodniejszych elementach, takich jak drzewczyk. jest to normalne. |
| Kuchenka zostażprzypadkowo wączona pusta. | Nie wolno wącza prustej kuchenki. jest to bardzo niebezpieczne. |
| Problem | Mozliwa przyczyna | Rozwiązanie |
| Nie są za wączyć kucheni. | (1) Przewód zasilajcy nie jest starannie wączyść do gniażdka siediociego. | Wymiemenie bezpiecznik lub wączyć obwó dęsli problem;będzie są powtarza!, zleci naprawe technikow z naszej firmy.) |
| (2) Przepališ战略布局 wącznik obwodu. | ||
| (3) Problem z gniażdkiem siediocyzm. | Spróbowość wączyć do tego gniażdka innere urzadzenia elektryczne. | |
| Kuchenka nie są krzej. | (4) Niewości zamknij drzewiczki. | Prawidłowo zamknij drzewiczki. |
| Podczas przy pracy kucheni są zhuć odglosy poruszania są talerza szklanego. | (5) Obrotowa podstawa lub spód kucheni są bardzo budne. | Wymietyckić kuchenek zgodnia z opisem z roźdiau „Czyszczenie". |
INFORMACJE TECHNICZNE
Pojemnośc: 171
Moc wyjsciowa mikrofal: 700 W
Programator czasu: 30 minut
Dostepne poziomy mocy: 6 poziomów
Talerz obrotowy: 0245 mm
Waga: 9,4 kg
Wymiary: 446 × 243 × 338 ~mm
Wymiary przyestrzeni wewétrznej: 301 × 202 × 311 ~mm
Napiecie nominalne: 230 - 240 V~50 Hz
Nominalna moc wejsciowa: 1100 W
Czestotliwość robocza: 2450 MHz
Poziom glosnosci: 57 dB
EKSPLOATACJA I USUWANIE ODPADÖW
Papier služćy do owinniecia i tektrura falista - przyekazać na wysypisko smieci. Folia opakowaniowa, torby PE, elementy z plastiku - wrzuci do povemników z plastikiem do recykligu.
USUWANIE PRODUKTów PO ZAKONCZENIU EKSPLOATACJI
Usuwanie zuzytego spreptu elektryczné i elektroniczné (dotczy krajów czlonkowskich UE i innych krajów europejskich z wropadzonym systemem zbiórki opdów)
Przedstawiony symbol na produktie lub opakowaniu oznacza, ze produkt nie maye byc zaliczany do odpadow komunalnych. Nalezy go przekacz do owiedniego punktu zajmujacego sie recykingiem sprzetu elektrycznego i elektroniczego. Prawidlowy recyking produktu zabiega negatywnym konsekwencjom dla zdrowia ludzkiego i srodowska naturalnégo.
Recykling przyczynia sie do zachowania surowcow naturalnych. W celu uzyskania dalszych informaci o recyklingero一起去.nalezy sie skontaktowac zlokalinymi wladzami, krajowa organizacja zajmujacja sie przytetwarzianiem odpadow lub sklepem,któ sprzedal produkt.
Produkt spelnia wymagania dyrektyw UE w zakresie kompatybilnosci elektromagnetycznej i bezpieczeste w urzadzene elektrycznych.
Instrukcja oblsugi jest dostepna na stronie internetowej www.ecg-electro.eu.
Zastrzegamy sobie prawo do zmiany tekstu i parametrów technicznych.


08/05

BIZTONSÁGI ELOÍRÁSOK
Upravljalna plošca in funkcjije
Krosnelé tiekiamu su šias priedais:
Stikliné leksté 1
Surinktas varomasis ziedas 1
Naudotojo vadovas 1

A Valdymo skydelis
B Bangolaidis
Surinktas varomasis ziedas
Stiklo leksté
ProstaInstrukcja