MCC4516FC - Tronçonneuse électrique MCCULLOCH - Notice d'utilisation et mode d'emploi gratuit
Retrouvez gratuitement la notice de l'appareil MCC4516FC MCCULLOCH au format PDF.
| Type d'appareil | Tronçonneuse électrique |
| Isolation | Double isolation |
| Alimentation | Électrique |
| Utilisation recommandée | Coupe de bois et branches |
| Instructions de sécurité | Lire toutes les instructions avant utilisation |
| Précautions | Risque de coupure, choc électrique et blessure |
| Service client | Contactez votre agent de service client |
| Zone de service | États-Unis et Canada |
| Fabrication | Fabriqué en Chine |
| Entretien | Suivre les instructions du manuel |
| Garantie | Non précisé |
| Poids | Non précisé |
| Longueur de guide | Non précisé |
| Type de chaîne | Non précisé |
| Niveau sonore | Non précisé |
| Accessoires inclus | Non précisé |
FOIRE AUX QUESTIONS - MCC4516FC MCCULLOCH
Questions des utilisateurs sur MCC4516FC MCCULLOCH
0 question sur cet appareil. Repondez a celles que vous connaissez ou posez la votre.
Poser une nouvelle question sur cet appareil
Téléchargez la notice de votre Tronçonneuse électrique au format PDF gratuitement ! Retrouvez votre notice MCC4516FC - MCCULLOCH et reprennez votre appareil électronique en main. Sur cette page sont publiés tous les documents nécessaires à l'utilisation de votre appareil MCC4516FC de la marque MCCULLOCH.
MODE D'EMPLOI MCC4516FC MCCULLOCH
En cas de problèmes ou pour des questions, NE PAS retoumer ce produit au point de vente. S'adresser au préposé du Service à la dientèle en composant.
Made in China / Fabrique à Chine / Hecho en China
For Consumer Assistance Please Call L'Aide Du Consommateur Necessitez S'il Vous Plait Para La Ayuda Del Consumidor Llame Por Favor

U.S.A. & CANADA 1-800-554-6723
MANUEL DE UTILISATION Tronçonneuse Électrique
Modèles : MCC3516F, MCC4516FC

SECURITE FONCTIONNEMENT ENTRETIEN

DOUBLE ISOLATION
LISEZ TOUTES LES INSTRUCTIONS
AVERTISSEMENT : Lorsque vous utilisez une scie à chaîne électrique, les précautions de sécurité de base, notamment les précautions décrites ci-dessous, doivent toujours être prises afin de réduire les risques d'incendie, d'électrocution et de dommages corporels.
INTRODUCTION
A LIRE ATTENTIVEMENT
Cher Client,
Nous vous remercions de l'achat d'un produit McCulloch. Correctement utilisé et entretenu, il vous procurera des années de satisfaction.
Il est IMPERATIF que vous preniez connaissance de LA TOTALITE de ce manuel avant d'utiliser l'outil ou de procéder à des opérations d'entretien.
Veillez à bien suivre les instructions pas à pas données dans leprésent manuel pour démarrer,mettre en oeuvre et maintainir votre nouveau produit en condition.
Ce manuel contient également des mises en garde et renseignements intitulés: REMARQUES, AVERTISSEMENT / ATTENTION et GARANTIE.
Une REMARQUE: fournit des renseignements complémentaires, éclaircit un point ou explique une étape à suivre en plus de détails.
La notice AVERTISSEMENT ou ATTENTION est utilisée pour identifier une procédure qui, si négligée ou incorrectement executée, peut entraîner des dommages matériels et/ou corporels graves.
Le SYMBOLE DE GARANTIE indique que si les procédures ou instructions ne sont pas respectées, les dommages ne seront pas couverts par la garantie et les réparations seront à la charge du propriétaire.
Les précautions de sécurité sont pour votre protection; Veuillez les dire attentivement; vous doivent connaître ces importants renseignements afin d'utiliser correctement votre tronçonneuse.
POUR OBTENIR UN SERVICE SOUS GARANTIE, CONTACTEZ LE CENTRE DE SERVICE AUTORISÉ
McCULLOCH LE PLUS PROCHE DE CHEZ VOUS - TROU-VEZ-LE EN APPELANT LE NUMERO SANS FRAIS INDIQUÉ DANS CE MANUEL.
TABLE DES MATIERES
1 GENERALITS 23
1-1. Identificatioin des principaux
1-2. Dispositifs de sécurité
1-3. Glosario
1-4. Characteristiques
2 MEASURES DE SECURITE 25
2-1. Etiquette sécurité pour rebonds
2-2. Instructions de sécurité importantes
2-3. Mesures de sécurité supplémentaires
2-4. Précautions générales de sécurité pour les utilisateurs de scie à Chaîne
2-5. Rebonds: conseils supplémentaires
2-6. Symboles internationaux
3 INSTRUCTIONS POUR MONTAGE 30
3-1. Introduction
3-2. Montage d'elements
3-3. montage du guide-chaine et de la chaine
3-4. Reglage de la tension de la chaîne
3-5. Remplissage du reservoira a huile
3-6. Choix d'un prolongateur electrique approprié
4 FONCTIONNEMENT 33
4-1. Demarrage de la tronconneuse
4-2. Arret du moteur
4-3. Lubrification du guide-chaine et de la chaîne
4-4. CHAIN BRAKE / arceau protecteur
4-5. Prolongateurs electriques
5 INSTRUCTIONS POUR LA COUPE 36
5-1. Abattage
5-2. Ebranchage
5-3. Tronconnage
5-4. Tronconnage sur chevalet
6 ENTRETIEN DU GUIDE-CHAINE/CHAINE 38
6-1. Entretien du guide-chaine
6-2. Entretien de la chaine
7 ENTRETIEN PREVENTIF 40
7-1. Entretien preventif
7-2. Informations concernant le remplacement de la chaine
8 GARANTIE LIMITEE DE UN ANNEE 41
1 - GENERALITES


1-1. IDENTIFICATION DES PRINCIPAUX
- POIGNEE ARRIERE
- BOUCHON DU RESERVOIR D'HUILE
- INTERRUPEUR MARCHE/ARRÉT À GCHETTE
- COUVERCLE DU PIGNON
- ÉCROU DE BARRE
- ANNEAU DE TENSION À CHÂINE
- MOTEUR ELECTRIQUE
- CABLE D'ALIMENTATION
- LEVIER DE CHAIN BRAKE® / ARCEAU PROTECTEUR
- BOUTON VERROULLER / ARRET
- POIGNEE AVANT
- GUIDE-CHAINE
- CHAINDE TRONCONNNEUSE
- GRIFFES
- PROTEGE-MAIN ARRIERE
- ENGRENAGE
- FENÉTRE DE RÉSERVOIR D'HUILE
- FIXATION POUR CORDON
- CAPTEUR DE CHAINE
- ETUI DE TRANSPORT (UNIQUEMENT POUR MCC4516FC)
1-2. DISPOSITIFS DE SECURITE
Afin de vous aider à localiser les dispositifs de sécurité, les numérios précédant les descriptions correspondant à ceux de la page précédente.
3 BOUTON MARCHE / ARRET arrête le moteur de la tronçonneuse quand relâché.
7 Le MOTEUR ELECTRIQUE possède une double isolation pour plus de sécurité.
9 Le LEVIER DE CHAIN BRAKE/ ARCEAU PROTECTEUR fait fonctionner le frein de chaîne et protège la main gauche de l'utilisateur si elle glisse de la poignée avant, pendant que la tronçonneuse est en marche.
10 Le BOUTON D'ARRET / BLOCAGE empêche une accélération involontaire du moteur de la tronconneuse. On ne peut appuyer sur la gâchette si le bouton d'arrêt et de blocage est enclenché.
12 GUIDE-CHAINE les aides réduites de barre de guide de dessous-de-table réduisent significativement le dessous-de-table en réduuant le rayon de pointe de barre de guide.
13 Grâce aux limiteurs de profondeurs et aux maillons spécialement concus, une CHAINE A REBONDS REDUITS diminue l'intensité et la quantité de rebonds.
19 Le CAPTEUR DE CHAINE réduit le danger de blessures en cas de rupture ou de sortie de la chainependant tout fonctionnement. Le capteur du chaine est conçu de manière à interceptor la chaine.
1 - GENERALITES
1-3. GLOSARIO
- TRONÇONNAGE - Processus de coupe transversale d'un arbre abattu ou de bûches d'une certaine longueur.
- FREIN DE CHÂINE- Dispositif utilisé pour arrêter la scie à châne.
- TÉTE DE SCIE À CHÂINE - Scie à chaîne sans la chaîne coupante et le guide-châîne.
- PIGNON D'ENTRAJINEMENT OU ENGRENAGE - Portion dentée qui entraîne la chaîne coupante.
- ABATTAGE - Opération qui consiste à abattre un arbre en le coupant.
- TRAIT D'ABATTAGE - La coupe finale de l'opération d'abattage d'un arbre, qui se fait sur le côte opposé à l'entaille d'abattage sur l'arbre.
- POIGNEE AVANT - Poignée de soutien qui se trouve à l'avant ou vers l'avant de la scie à chaîne.
- PROTEGE-MAIN AVANT - Barrière structurelle entre la poignée avant d'une scie à chaîne et le guidechaîne, placegénéralement près de la position de la main sur la poignée avant, et parfois employé comme bras d'embrayage pour un frein de chaîne.
- GUIDE-CHAINE - Structure en rail solide qui supporte et guide la chaîne coupante.
- REBOND - Mouvement vers l'arrière ou vers le haut, ou les deux, du guide-châne qui se produit lorsque la châne coupante, au niveau du nez de la zone supérieure du guide-châne, entre en contact avec un objet comme une bùche ou une branche, ou lorsque le bois se referme et pince la châne coupante dans la coupe.
- REBOND, PINCEMENT - Brusque saut en arrêté de la châne qui se produit lorsque le bois se referme et pince la châne coupante en mouvement dans la coupe au niveau du haut du guide-châne.
- REBOND, ROTATIF - Brusque saut vers le haut et vers l'arrête de la scie qui peut se produit lorsque la chaine coupante en mouvement, au niveau de la portion supérieure de la pointe du guide-chaine, entre en contact avec un objet, par exemple une bùche ou une branche.
1-4. CHARACTERISTIQUES
| Modèle | MCC3516F | MCC4516FC |
| Pouissance | .120V~, 60Hz, 13.5 Amp | .120V~, 60Hz, 15 Amp |
| Culminer la Puisance | .3.5HP | .4.5HP |
| Vitesse à vide | .5500/min | .5500/min |
| Longueur de la canne | .16" (40cm) | .16" (40cm) |
| Vitesse de coupe | .10.5 m/sec | .10.5 m/sec |
| Capacité du réservoir à Huile | .180ml | .180ml |
| Poids Net (sans barre de guidage et chaîne) | .4.2 kg (9.24 Lbs) | .4.4 kg (9.68 Lbs) |
- CHÂINE À REBOND LIMITE - Châine qui respecte les exigences en matière de rebond de la norme ANSI B175.1-1991 lors du test d'un échantillon représentatif de scies à châine.
- POSITION DE COUPE NORMALE - Positions dans lesquelles doivent normalement se faire les coupes de tronçonnage et d'abattage.
- ENTAILLE D'ABATTAGE - Entaille dans un arbre qui donne la direction de sa chute.
- CONTROLLE DE GRAISSAGE - Système de graissage du guide-chaine et de la chaine coupante.
- POIGNEE ARRÈRE - Poignée de soutien située à l'arrière ou en direction de l'arrière de la scie.
- GUIDE-CHAINE A REBOND RÉDuit-Guide-chaine dont il a été démontré qu'il présenteait des risques de rebond sensiblement réduits.
- CHÂINE COUPANTE DE RECHANGE - ChÂine qui respecte les exigences en matière de rebond de la norme ANSI B175.1-1991 lorsqu'elle est testée avec des scies à châne spécifique. Il est possible qu'elle ne respecte plus les exigences de performances de la norme ANSI lorsqu'elle est utilisée avec d'autres types de scies.
- CHÂINE COUPANTE - Châîne possédant des gouges coupantes, qui coupe le bois, qui est entrainée par un moteur et supportée par un guide-châîne.
- GRIFFE D'ABATTAGE - La ou les dents pointues utilisées pendant l'abattage ou le tronçonnage pour faire pivoter la scie tout en maintainant sa positionpendant le sciage.
- INTERRUPEUR - Dispositif qui, lorsqu'il est enclenché, assure l'alimentation électrique ou coupe l'alimentation électrique du moteur de la scie à chaîne.
- LIAISON D'INTERRUPTEUR - Mécanisme qui transmet le mouvement d'une gachette à l'interrupteur.
- VERROUILLAGE D'INTERRUPTEUR - Butée mobile qui empêche la mise en oeuvre accidentelle de l'interrupeur avant son enclenchement manuel.
2 - MEASURES DE SECURITE
MESURES DE SECURITE POUR UTILISATEURS DE TRONCONNEUSES
(ANSI/UL 1662-1995) (CAN/CSA-Z62.1-03)
2-1. ETIQUETTE SECURITE POUR REBONDS
Votre tronçonneuse McCulloch comprend une étiquette avertissement située sur le LEVIER DE CHAIN BRAKE. Cette étiquette et les règles de sécurité comprises dans ces pages doivent être lues attentivement avant toute utilisation de la tronçonneuse.
INTERPRETATIONS DES SYMBOLES ET COULEURS
ROUGE AVERTISSEMENT
Utilisé pour vous avertir qu'une procédure dangereuse est à éviter.
VERT RECOMMANDE
Proédures de coupe recommandées.
AVENTISSEMENT
(Figure 2-1A)
- Angle de rebond calculé dans les pires situations.
- Eviter tout contact avec la pointe du guide-chaine.
- Attention aux rebonds.
- Ne pas se servir de la tronconneuse d'une seule main.
RECOMMANDE
- Tenir la tronconneuse fermement, des deux mains.

2-1A
2-2. INSTRUCTIONS DE SECURITE IMPORTANTES
- PIEÇES DE RECHANGE - Pour les réparations, utilisez exclusivement des pieces de changé identiques.
-
FICHES POLARISEE - Pour réduire les risques de secousses électriques, cet équipement est équip'd'une fiche polarisée (une broche est plus large que l'autre). Cette fiche ne peut être branchée que dans un sens dans une prise de courant polarisée. Si la prise n'adapte pas entièrement dans l'inverse de cotelette la prise. Ne changez pas la prise de chaque façon.
-
GARDER LE SECTEUR DE TRAVAIL NET: Un lieu de travail encombre est propice aux blessures. Ne pas commencer de coupe avant d'avoir un lieu de travail dégagé, une position stable et une voie de retraite planifiée.
- OBSERVER LES ALENTOURS DE VOTRE SECTEUR DE TRAVAIL: Etre vigilant lors de la coupe de petits buissons et arbustres car les matériaux plus fins peuvent «s'attraper» dans la chaine et être projetés dans votre direction ou vous faire perdre l'éuilibre. Ne jamais se servir de la tronçonneuse en se tentant dans un arbre à moins d'avoir reçu une formation spéciale. Faire attention à ne pas été heures par les branches sous tension qui se relâchent lors de leur coupe. Ne pas laisser la tronçonneuse exposée aux intempéries. Ne pas laisser la tronçonneuse exposée aux intempeéries. Ne pas utiliser la tronçonneuse dans un endroit mouillé ou humide. Ne pas utiliser la tronçonneuse en présence de produits (liquides ou gaz) combustibles.
- PROTECTION CONTRE LES CHOCS ELECTRIQUES : Empêcher tout contact corporal avec toutes surfaces de terre tels tuyaux métalliques, grilles...).
- GARDER LES ENFANTS ET SPECTATEURS A DISTANCE: Ne laisser personne toucher la tronconneuse ou le prolongateur. Persona d'autre que l'opérateur ne doit se couver dans le rayon d'action de la machine.
- RANGER UNE TRONCONNEUSE INUTILISEE: Quand non utilisée, ranger la tronconenneuse hors de la portée des enfants, à une hauteur inaccessible ou sous clé, et dans un endroit sec.
- NE PAS FORCER LA TRONCONNEUSE : La tronçonneuse aura une meilleure performance, et une plus sure, si elle est utilisée au rythme pour lequel elle a été consue.
- UTILISER LE BON OUTIL: Ne couper que du bois. Ne pas utiliser la tronçonneuse à des fins pour lesquelles ellen n'apas été concue. Ne jamais utiliser la tronçonneuse pour couper plastique, maconnerie, ou tout autre matériel n'était pas pour la construction.
- S'HABILLER DE MANIÈRE APPROPRIEE: Ne pas porter de vêtements trop amples ou de bijoux cars ils risquent de vous géné r et de se faire prendre dans une partie mobile de l'appareil. L'utilisation des élastiques et des semelles antidérapantes est recommandée pour tout travail à l'extérieur. Les cheveux longs doivent être protégés par un casque ou autre protection.
2 - MEASURES DE SECURITE
-
PORTER DES LUNETTES DE SECURITÉ : Portez également des chaussures de sécurité, des guêtres de sécurité, des vêtements ajustés, des gants de protection, une protection de tête.
-
TRANSPORT DE LA TRONCONNEUSE: Transporter la tronconneuse en la tenant par la poignée avant; s'assurer que la tronconneuse est en position «Arrét» et garder vos doigts loin de la gâchette; s'assurer aussi que le guide-chaine et la chaine sont vers l'arrière.
-
ASSUREZ SOIGNEUSMENT LA MAINTENANCE DE LA SCIE À CHÂINE: Inspectez périodiquement les cordons de la scie à châne, et, s'ils sont endommages, faites-les réparer dans un centre de maintenance agrée. Conservez le cordon éloigné de la châne et de l'opérateur à tout moment. Ne jamais porter la scie en la tenant par le cordon, ne tirez pas sur la scie pour débrancher le cordon de la prise. Protégez le cordon contre l'huile et les bords coupants. Inspectez les rallonges régulierement et replacez-les si elles sont endommagées. Conservez les outils affutés et propres pour de更好地 performances et une meilleure sécurité. Respectez les instructions concernant la lubrification et le remplacement des accessoires. Conservez les poignées sèches, propres, et exemples d'huile et de graisse.
-
DEBRANCHER LA TRONCONNEUSE : Débrancher la tronconneuse quand non utilisé, avant tout service, et pour tout changement de pieces et accessoires tels le guide-chaine et la chaine.
-
CORDONS PROLONGATEURS D'EXTÉRIEUR : Utilisez uniquement des cordons prolongateurs destinés à une utilisation en extérieur et donc marqués en conséquence.
-
RESTER VIGILANT: Attention à ce que vous faites. Utiliser votre sens commun. Ne pas manier la tronconneuse par moments de fatigue. Rester à l'écart de la chaîne quand le moteur est en marche. Avant demettre le moteur en marche, s'assurer que la chaîne ne touche rien.
-
EXAMINER LES PIECES : Avant toute autre utilisation de la tronçonneuse, un guide-châine ou toute autre piece endommagée devrait être examinée soigneusement afin de pouvoir déterminer si son fonctionnement sera ajustat à sa fonction prévue. Vérifier le montage, l'alignement et la fixation de toute piece mobile ; vérifier qu'il n'y a pas de pieces cassées ou tout autre problème qui affecteraient son fonctionnement. Un guide-châine ou toute piece endommagée devrait être réparée correctement ou replacée par un centre de réparations agrée, sauf indication contraire dans ce manuel d'instructions.
-
ATTENTION AUX REBONDS :
AVERTISSEMENT:
Les REBONDS peuvent se produit si la tete du guide-chaine touche un object, ou si le bois se resserre sur la chaine de la tronçonneuse dans la coupe. Si un contact a lieu avec la tete du guide-chaine, la tronçonneuse peut, en l'espace d'une seconde, être projetée de manière incontrélée dans un mouvement en arc, en direction de l'opérateur. Coincer la chaine le long de la partie supérieure du guide-chaine peut pousser le guide-chaine peut pousser le guide-chaine vers l'arrière, vers l'opérateur. Chacune de ces réactions peut vous faire perdre contrôle de la tronçonneuse et peut entraîner de sérieuses blessures. Suivre les précautions suivantes afin de minimiser les risques de rebonds.
A. TENEZ LA SCIE FERMEMENT : Lorsque le moteur tourne, tenez fermement la scie à chaîne des deux mains. Empoignez de façon ferme, en enferment les poignées de la scie à chaîne entre votre pouce et vos doigts. Remarque : Si la scie possède un contrôle manuel de graissage, des instructions supplémentaires ou adaptées concernant sont utilisation sont données.
B. Ne pas trop se pencher en avant.
C. Garder toujours une assise stable et un bon équilibre.
D. Ne pas laisser la tete du guide-chaîne entre en contact avec un tronc, une branche ou autres obstacles.
E. Ne pas scier au-dessus de la hauteur des épaules.
F. Utiliser des dispositifs, tels que châne à rebonds réduits, protège, tête de guide-châne, freins de chaîne, et guides-chânes spéciaux, qui réduisent les risques associés aux rebonds.
G. Utiliser uniquement les guides-châines et chaînes spécifiés par le fabricant ou leur équivalent.
H. Il n'y aucune autre piece de rechange qui permet d'obtenir une protection contre les rebonds selon la norme de l'ACNOR Z62-3.
19. ALIMENTATION ELECTRIQUE: Brancher la fiche électrique de la tronçonneuse dans une prise à tension correspondante; s'assurer que la tension du réseau de distribution correspond à la tension nominale de l'appareil indiquée sur la plaque caractéristique de l'outil.
2 - MEASURES DE SECURITE
2-3. MESURES DE SECURITE SUPPLEMENTAIRES
- NE JAMAIS UTILISER une tronçonneuse endomagée, mal ajustée, non complètement ou incorpèment montée. S'assurer qu'il y a arrêt de la chaine quand la gachette est relachée.
- NE PAS utiliser la tronçonneuse au-delà de vos capacités ou expérience.
- NE PAS utiliser la tronçonneuse d'une seule main! De graves blessures à l'opérateur, toute personne l'aidant ou spectateurs pourrait en résultat. Un tronçonneuse est conçue pour être utilisée des deux mains.
- POUR REDUIRE les chocs électriques évventuels, ne pas utiliser la tronçonneuse sur des surfaces mouillées et glissantes, pendant des tempêtes de neige ou des orages ou autres conditions atmosphériques adverses.
- Gardner le poignées toujours propres et sèches, exemplés d'huile et de graisse.
- NE PAS laisser de scuire, terre, débris s'accumuler sur le moteur ou sur les fentes d'air extérieures.
- Suivre les instructions d'affutage et d'entretien pour tronçonneuse indiquées par le fabricant.
- Scier, le moteur à vitesse maxima.
- Seules les personnes mûres, ayant reçues une instruction appropriée devraient pouvoir utiliser une tronçonneuse.
- Notre tronçonneuse est destinée à une utilisation domestique occasionnelle. Elle n'est pas faite pour une utilisation intensive en continu.
- NE PAS FORCER une petite tronçonneuse pour des travaux exigeant un outil plus approprié pour de gros travaux.
- CONTROLLER LES DISPOSITIFS ELECTRIQUES. Ne pas utiliser la tronçonneuse si les interrupteurs/boutons ne fonctionné pas correctement. Ne pas essayer de les réparer. Apporter la tronçonneuse à un Service ÀpRES-Vente McCulloch/agréé.
- ENTRETENIR LES PROLONGATEURS. Vérifier les rallonges électriques périodiquement et replacer si endommagées. Utiliser exclusivement des prolongateurs prévus pour usage en extérieur.
- NE PAS UTILISER VOTRE TRONCONNEUSE prés de produits (liquides ou gaz) inflammables, que ce soit à l'extérieur ou à l'intérieur. Une explosion et/ou incendie pourrait en résultat.
-
Tous les services d'entretien de la tronçonneuse, à l'exception de ceux mentionnés dans le manuel d'utilisation et d'entretien, doivent être effectués par un personnel compétent. Ne pas essayer de faire les réparations soi-même; il n'y a pas de pieces internes réparables.
-
NE JAMIAS EN LEVER, modifier ou paralyser un dispositif de sécurité fourni avec l'appareil. CHAIN BRAKE®/Acreau Protector est un dispositif de sécurité important. La tronçonneuse ne fonctionnera pas si CHAIN BRAKE® est déclenché.
- Cette tronçonneuse électrique est classifiée tronçonneuse catégorie 2C par ACNOR. Elle est conçue pour des usages infrequents de travaux tels que dégager, tailler ou couper du bois... par des propriétaires de maison ou résidences secondaires ou par des campeurs. Elle n'est pas conçue pour une utilisation prolongée. Si le travail prévu demande de longues périodes d'utilisation, la vibration risque de cause des problèmes de circulation aux mains de l'opérateur. Il serait approprié d'utiliser une tronçonneuse pourvue d'un dispositif anti-vibration.
- Il faut utiliser les vêtements de sécurité requis par vos organismes de sécurité, par la réglementation gouvernentale, ou par votre employeur; à défaut, il faut porter des vêtements ajustés, des chaussures de sécurité, des guêtres de sécurité et des protections pour les mains et les oreilles.
- Pendant tout travail d'abattage, garder une distance minimale de la longueur de deux arbres entre vous et les autres travaillleurs.
REMARQUE: Une chaine à «rebonds réduits» répond aux normes de performance pour «rebonds réduits» exigées par ANSI/UL 1662-1995 et correspond aux critères de la norme CAN/CSA-Z62.1-03.
2-4. PRECAUTIONS GENÉRALES DE SECURITE POUR LES UTILISATEURS DE SCIE À CHÂINE
- La fatigue est cause d'imprudences. Faites encore plus attention avant les périodes de repos et lorsque vous étés en fin de travail.
- Il faut utiliser les vêtements de protection personnelle requis par vos organismes de sécurité, par la reglementation gouvernementale, ou par votre employeur. À tout moment, lors de l'utilisation d'une tronçonneuse, il faut porter des vêtements ajustés, des guêtres de sécurité et lunettes de sécurité, des chaussures de sécurité, et des protections pour les mains, les jambes et les oreilles.
- Lors de l'abattage, restez à au moins deux arbres de distance de vos collégues.
- Planifiez votre travail,CHOISSEZ une zone de travail sans obstacle et, en cas d'abattage, possedant au moins une issue vous permettant de fuir l'arbre qui tombe.
- Suivez les instructions de votre manuel de l'opérateur pour démarrer le scie à chaîne et contrôlez le scie à chaîne en empaignant fermement des deux poignées pendant sa mise en oeuvre. Gardez les mains propres, sèches et non grasses.
2 - MEASURES DE SECURITE
- Lorsque vous transportez votre scie à chaine, utilisez les capots de transport appropriés pour le guidechaine et la chaine coupante.
- Ne jamais utiliser une scie à châne qui est endomagée ou mal réglée, ou qui n'est pas complètement et correctement assemblée. Assurez-vous que la châne coupante s'arrête bien de tourner lorsque vous relâchez l'interrupteur du système de contrôle de l'alimentation. Ne jamais ajuster le guide-châne ou la châne coupante pendant que le moteur tourne.
- Ne tentez pas de réaliser des opérations d'élagage ou d'ébranchage sur un arbre sur pied si vous n'avez pas reçu de formation spécifique pour cela.
- Faites attention aux rebonds. Le rebond est le mouvement vers le haut du guide-chaine qui se produit lorsque la chaine coupante, au niveau dunez du guide-chaine, entre en contact avec un objet. Les rebonds peuvent provoquer des pertes de contrôle dangereuses de la scie à chaine.
- Une scie à châne est prévue pour être utilisée à deux mains. Si vous l'utilise avec seulement une main, vous risquez de vous exposer et d'exposer vos aides et/ou les personnes à proximité à un accident grave.
- Voir la section 1-6 page 14 pour les définitions des symboles.
- Lorsque vous transportez une scie à chaîne dont le moteur tourne, enclenchez le frein de chaîne.
- Faites en sorte que les autres personnes ou les animaux se trouvent à une distance de sécurité de la scie à chaîne lorsqu'elle fonctionne ou de l'arbre que vous étés en train d'abattre.
- Faites très attention lorsque vous coupez de petits buissons ou des arbustes car des éléments de petite taille peuvent se prendre dans la chaine coupante et vous fouetter.
- Lorsque vous coupez une branche qui est sous tension ou comprimée, faites attention au retour élastique.
2-5. REBONDS : CONSEILS SUPPLEMENTAIREs
AVERTISSEMENT
DANGER! ATTENTION AUX REBONDS!
Les rebonds peuvent faire perdre contrôle de votre outil et entrainer des blessures graves et meme mortelles soit à l'utilisateur soit à une autre personne se trouvant à proximite. Etre always vigilant. Les plus grands dangers proviennent des rebonds causés par une rotation ou un coincage, la cause principale de la plupart des accidents
ATTENTION AUX :
REBONDS ROTATIFS (Figure 2-5A)
A = Trajectoire rebonds
B = Zone de réaction rebonds

2-5A
A = Propulsion vers l'avant
B = Objects solids
C = Poussee vers l'utilisateur

2-5B
Il y a des risques de REBONDS si la POINTE o TETE du guide-chaine entre en contact avec un objet, ou si le bois se resserre et coince la chaine de la tronconenneuse dans l'entaille.
Un contact avec le tete du guide-chaine peut parfois causer une reaction inverse instantanee, causant un soubresaut du guide-chaine, le poussant vers le haut et l'arriere (mouvement en arc), c'est a dire vers l'utiliser.(Fig. 2-5B "A") COINCER la chaine de la tronconenneuse le long du bas du guide-chaine risque de TIRER la tronconenneuse vers I'avant, en direction opposée de I'utiliser.(Fig. 2-5B "C")
Chacune de ces réactions risque de voir faire perdre contrôle de la tronçonneuse, ce qui peut entraîner de sérieuses blessures.
2 - MEASURES DE SECURITE
2-6. SYMBOLES INTERNATIONALAUX

Lire le manuel d'utilisation.
L'utilisation des ces disposints de sécurité est foretement recommendé affirm de réduire tout risque de blessures accidentelles.

Protez des protections (tête, yeux et oreilles)

Portez des gants pour protégger vos mains

Portez des bottes de protection contre le chocolélectrique

Pour réduire les risques d'électrocution, n'exposez pas l'unité à l'eau, n'utilise pas l'unité sur un terrain mouillé.
3 - INSTRUCTIONS POUR MONTAGE
3-1. INTRODUCTION
Cet apparéil est concu pour un usage occasionnel par des propriétaires de maison ; il ne peut être utilisé pour des travaux commerciaux ou de longues durées.
Vous pouvez utiliser votre nouvelle tronçonneuse pour une variété de projets tels que couper du bois, faire des piquets de clôture, abattre des arbustres, ébrancher et tailler des arbres au niveau du sol et faire de légers travaux de charpentier. Avec votre tronçonneuse, couper uniquement du bois ou des produits en bois.
3-2. MONTAGE D'ELEMENTS
Votre nouvelle tronçonneuse, il est nécessaire d'ajuster la chaine et de replir le réservoir d'huile lubrifiante avant que l'unité soit préte pour l'exécution. Ne pas faire démarrer le moteur de la tronçonneuse avant que l'outil ne soit correctement monté. Lire toutes les instructions attentivement. Ne pas monter de chaine ou guide-chaine d'une dimension autre que cette commande pour votre modèle.
3-3. MONTAGE DU GUIDE-CHAINE ET DE LA CHAIN
ATTENTION
Déconnectez la scie à chaîne de la source d'alimentation avant de vérifier ou de régler la tension de la scie à chaîne.
POUR INSTALLER LE GUIDE-CHAINE ET LA CHAINE COUPANTE:
Ces instructions concernent le remplacement d'un guide chaine. L'unité est livrée complètement assemblée.
NOTE : Portez toujours des gants épais en manipulant la tronçonneuse.
- Posez l'unité sur une surface plane.
- Desserrez légèrement le bouton (B) dans le sens inverse des aiguilles d'une montre et tournez l'anneau de tension de la chaine (C) dans le même sens pour relâcher la tension de la chaine (Fig. 3-3A).
- Pour enlever le capot du pignon (A), tournez le bouton (B) dans le sens inverse des aiguilles d'une montre. (Fig. 3-3B)
- Enlevez la chaine du guide chaine et du pignon. Faites coulisser le guide chaine, avec la plaque de tension (D) attachée, hors de l'unité. (Fig. 3-3B)
- Enlevez l'écrou (C) de la plaque de tension (D) pour la détacher de l'ancien guide et l'attacher au nouveau. (Fig. 3-3C)
-
Pour installer la chaîne sur la barre, tournez la plaque de tension (D) en sens anti-horaire jusqu'au bout. Installez la chaîne et la barre sur le groupe moteur, tournez la plaque de tension (D) en sens horsaire puis mettez le capot lésral (A) en place. (Fig. 3-3D)
-
Faites tourner le bouton dans le sens des aiguilles d'une montre, ajustez l'anneau de tension de la chaine (F) puis serrez le bouton.
Après avoir utilisé la scie à chaîne pendant une heures environ, retendez la chaîne. Si nécessaire, consultez la figure 3-4A.


3-3A
3-3B


3-3C

3-3D
3 - INSTRUCTIONS POUR MONTAGE
3-4. REGLAGE DE LA TENSION DE LA CHAIN
La tension de la chaîne est d'une importance capitale et doit être contrôle avant de commencer etpendant tout travail de coupe. Prendre le temps de faire les réglages nécessaires à la chaîne de votre tronçonneuse est synonyme de bonne performance et de longévité de votre outil.
REMARQUE: La tension d'une chaîne neuve doit être contrôlée frequentlyment pendant son rodage, après aussi peu que cinq coupes. Les intervalles entre réglages s'esparceront rapidement (Figure 3-4A).
ATTENTION
Si un châne est TROP TENDUE ou TROP LACHE, le guide-châne et les roulements de vilebreguin s 用户 sont plus rapidement. Etudier la Figure 3-4A pour tout renseignement concernant la tension appropriée pour moteur chaud (A) ou froid (B), et comme guide indiquant quand la châne a besoin d'être ajustée (C).
REGLAGE DE LA TENSION DE LA CHAIN :
Sans système d'outillage - portez des gants pendant que vous tendez la chaîne.
REMARQUE : S'assurer que le frein de chaîne CHAIN BRAKE® est débloqué.
Débloquer CHAIN BRAKE® (D) en le poussant vers l'arrière (Figure 3-4B).
- Il est facile de tendre la châne. Faites tourner le boulon de la barre (E) dans le sens inverse des aiguilles d'une montre. Faites ensuite tourner l'anneau (F) dans le sens inverse des aiguilles d'une montre pour desserrer la châne, ou dans le sens des aiguilles d'une montre pour la serrer. (Figure 3-4C)
- ÀpRES avoir ajusté la chaîne, et toujours en portant des gants de protection, tirer la chaîne vers l'avant et l'arriéré le long du guide-châne pour s'assurer qu'elle rouge librement et qu'elle est bien placée sur le pignon.
REMARQUE: Si la chaîne a des difficultés à tourner ou si elle se bloque sur le guide-chaîne, cela signifie qu'elle est trop tendue et qu'elle doit être ajustée de la façon décrite dans l' étape 1
- Pendant que vous tendez la châne. Soulevez la pointe de la barre puis serrez le boulon de la barre (E).

3-4A


3-4B
3-4C
3-5. REMPLISSAGE DU RESERVOIR A HUILE
A l'aide d'un entonnoir, replisssez le réservoir d'huile avec de l'huile pour chaînes, barres et engrenages Genuine Factory Parts. Essuyez toutes les éclaboussures eventuelles. Assurez-vous qu'aucune saleté n'entre dans le réservoir d'huile.
La châne de la tronçonneuse doit êtreGRAISSée en cours de fonctionnement afin de minimiser toute friction avec le guide-châne. Le réservoir a huile peut contenir 4.5 ozs d'huile, une quantité suffisante pour lubrifier la châne pendant un fonctionnement de 12 à 15 minutes.
Nous recommendons l'utilisation de l'huile pour chaînes, barres et engrenages Genuine Factory Parts, qui contient des additifs qui permettent de réduire l'usure par friction et réduit les formations de résidus résineux.
ATTENTION
Contrôler féquèment le niveau d'huile du réservoir au cours du travail afin d'éviter un manque de lubrification de la chaîne et du guide-châne.
REMARQUE : Notre tronçonneuse est équipée d'un système de graissage automatique, la SEULE source de lubri-fication pour la chaîne et le guide-châine (Figure 3-5A).
3 - INSTRUCTIONS POUR MONTAGE

VOYANT D'HUILE DU RESERVOIR
3-5A
3-6. CHOIX D'UN PROLONGATEUR ELECTRIQUE APPROPRIE
| Calibre de Fil Minimum | |||||
| Modèle de Tronçonneuse | Ampère | Voltage c.a. (Courant Altematif) | Longueur du Câble d'Alimentation | ||
| 7,5m / 25 pl. | 15m / 50 pl. | 15m / 50 pl. | |||
| MCC3516F | 13.5 | 120 | Calibre 16 | Calibre 16 | Calibre 14 |
| MCC4516FC | 15 | 120 | Calibre 14 | Calibre 12 | Non Recommdé |
- La rallonge doit être d'un type acceptable pour une utilisation à l'extérieur, et le code de désignation de la rallonge doit composer le suffixe W ou W-A, par exemple - SJTW ou SJTW-A.
- Assurez-vous que la rallonge est en bon etat avant de l'utiliser.
- Conservez le cordon éloigné de la zone de coupe et placez le cordon de telle façon qu'il ne risque pas d'être pris dans les branches et autres pendant la coupe.
4 - FONCTIONNEMENT
4-1. DEMARRAGE DE LA TRONCONNEUSE
- S'assurer que CHAIN BRAKE® est DEBLOQUE. Le moteur ne démarrera pas si le frein CHAIN BRAKE® est BLOQUE. Débloquer CHAIN BRAKE® en le tirant vers l'arrière, vers le moteur (Figure 4-1A).
AVENTISSEMENT
S'assure que le prolongateur est d'une dimension et d'un modele appropriés pour votre tronconenneuse.
2. Une attache pour rallonge (A) (Fig. 4-1B) est intégrée dans la poignée arrêté qui permet d'empêcher que la rallonge ne se défasse de la poignée. Pour utiliser cette fonction, il suffit de doubler la rallonge sur une longueur d'environ trente centimètres à son extrémité, et de l'insérer à l'extrémité de la poignée. Accrochez la boucle formée par le doublage du cordon sur la languette. Tirez doucement sur le cordon pour vérifier qu'il est bien fixé à la poignée de la scie. Branchez la fiche de connexion de la rallonge sur le cordon d'alimentation de l'outil.
AVENTISSEMENT
S'assurer que le prolongateur n'est pas en contact avec le guide-chaine et la chaine de la tronconenneuse.
- Tenir fermement la tronconenneuse des deux mains, la main gauche sur la poignee avant et la main droite sur la poignee avant et la main droite sur la poignée arrière (NE PAS TENIR [LE FREIN] CHAIN BRAKE®). Les pouces et les doigts doivent être bien reférmis sur les deux poignées (Figure 4-1C).
- Avec le pouce de la main droite, enforcer le bouton D'ARRET / BLOCAGE se trouvant sur le côté de la poignée arrêté, et en même temps appuyer sur le commutateur. Pour arrêter la tronçonneuse, lâcher le commutateur (Figure 4-1D).
REMARQUE : Il n'est pas nécessaire deMAINIR une pression sur le bouton D'ARRET / BLOCAGE est un dispositif de sécurité conçu pour empêcher toute mise en marche involontaire.
4-2. ARRET DU MOTEUR
Le moteur de la tronçonneuses s'arrête automatiquement une fois le commutateur relâche. Il faudra de nouveau enforcer le bouton D'ARRET / BLOCAGE et appuyer sur le commutateur pour remettre le moteur en marche.


4-1A
4-1B

4-1C

4-1D
4 - FONCTIONNEMENT
4-3. LUBRIFICATION DU GUIDE-CHAINE ET DE LA CHAIN
Une lubrication ajustée de la chaîne est essentielle pour minimiser la friction avec le guide-châine pendant la coupe. Notre tronçonneuse est équipée d'un système de graissage automatique. Ce système fournit une quantité ajusté d'huile au guide-châine et à la chaîne. Le débit ne peut être ajusté.
Le niveau d'huile du réservoir peut être contrôle grâce au voyant (D) se trouvant sur le côté droit de la tronçonneuse. Le réservoir est plein quand l'huile se trouve jusqu'en haut du voyant (Figure 4-3A).
ATTENTION
ne jamais laisser le guide-châîne ou la châîne non lubriifiés. Utiliser la tronçonneuse A SEC ou AVEC TROP PEU DE LUBRIFIANT diminue son efficacité de coupe et sa longévité, émousse rapidement la châîne, et use excessivement le guide-châîne car surchauffé. Une décoloration du guide-châîne et du fumée indiquent un manque d'huile.
REMARQUE : La châne se détend pendant son utilisation, particulièrement si elle est neue; il est donc nécessaire de l'ajuster périodiquement ; une nouvelle châne nécessite des réglages plus féquents pendant sa période de rodage. Cela est normal. Voir la Section 3-4, la page 17 pour le réglage de la tension de la châne.
AVERTISSEMENT / ATTENTION
Une chaîne trop lâche peut glisser hors du guide-châine pendant la coupe et user le guide-châine et la chaîne. Une chaîne trop ajustée peut endommager la tronçonneuse. Que la chaîne soit trop lâche ou trop ajustée cause un risque de blessures graves.

4-3A
4-4. CHAIN BRAKE® / ARCEAU PROTECTEUR
Cette scie à chaîne McCulloch est équipée d'un frein de chaîne/et d'un protège-main.
L'Arceau Protector protège aussi votre main gauche au cas où elle glisserait de la poignée avant.
CHAIN BRAKE® est un dispositif de sécurité qui est actionnés s'il y a pression sur le protège-main ou quand, pendant un rebond, la main de l'opérateur huerte le levier. Quand CHAIN BRAKE® est actionné, la chaîne s'arrête de maniere abrupte et l'amnéée du courant au moteur est interrompue immidiatement.
Le but de CHAIN BRAKE est du réduire les possibités de blessures causées par les rebonds, CHAIN BRAKE ne peut enaucun cas fournir une protection adequate si la tronçonneuse est utilisée de manière dangereuse.
CHAIN BRAKE® est débloqué (la chaine rouge) quand le levier de frein est repoussé vers l'arrière et bloqué. C'est la position normale pendant le travail (Figure 4-4A).
CHAIN BRAKE® est bloqué (la chaine ne peut pas bouger) quand le levier du frein est repoussé vers l'avant (Figure 4-4B).
REMARQUE : Le moteur ne démarrera pas si CHAIN BRAKE® est bloqué.
ATTENTION
CHAIN BRAKE® ne devrait pas etre utilise pour metre en marche ou arreter la tronconneuse pendant son fonctionnement normal.


4 - FONCTIONNEMENT
TEST DE CHAIN BRAKE
Avant d'effectuer tout travail de coupe avec votre tronconnexe, CHAIN BRAKE® devrait etre teste de la maniere suivante :
A. S'assurer que CHAIN BRAKE® est débloqué. (Voir Figure 4-4A).
B. Poser la tronconneuse sur une surface plane, ferme et seche, exemple de débris. Ne pas laisser la tronconneuse entre en contact avec un objet quelconque.
C. Brancher l'appareil dans une prise électrique.
D. Saisir la poignée avant (pas CHAIN BRAKE/ ou le levier du protège-main) avec le main gauche; pouce et doigts desserrés autour de la poignée.
E. Saisir la poignée arrête; pouce doigs resserrés autour de la poignée.
F. Enfencer le bouton d'ARRET/BLOCAGE avec le pouce droit. Appuyer sur le commutateur avec l'index. (Voir Figure 4-1D).
G. Pendant que le moteur tourne, actionner CHAIN BRAKE en faisant glisser votre main vers l'avant, contre le levier.
H. la chaine et le moteur devraient s'arreter instantanément.
AVENTISSEMENT
Si la chaine et le moteur ne s'arrêtent pas quand CHAIN BRAKE® est bloqué, apporter la tronçonneuse au Service Apréès-Vente agrée le plus proche. Ne pas utiliser la tronçonneuse si CHAIN BRAKE® ne fonctionne pas correctement.
4-5. PROLONGATEURS ELECTRIQUES
Quand vous utilisez une tronconennee electrique, branche-la au prolongateur uniquement quand vous etes pret a couper du bois. Relier le prolongateur a une prise ayant une tension de 110/120 volts.Voir le graphique 3-6.
ATTENTION
Un cordon trop chaud au toucher est surcharge.
AVENTISSEMENT
Ne pas utiliser la tronçonneuse dans un lieu mouillé ou humide. Ne pas exposer la tronçonneuse aux intempérières (pluie, neige ou grésil). L'humidité cause des courts-cir
cuits. Remplacer ou réparer tout prolongateur endommagé ou étripé avant d'utiliser la tronçonneuse.
Garder le prolongateur à distance du secteur de cope et le placer de manière à ce qu'il ne puisse pas se prendre dans les branches ou autres objets pendant le travail.
DOUBLE ISOLATION POUR LES RÉPARATIONS, UTILISER EXCLUSIVEMENT DES PIEÇES DE RECHANGE IDENTIQUES
Ne pas utiliser si le prolongateur ou la prise est endommagé. L'appareil est pourvu d'une double isolation pour protégger l'opérateur des risques de chocs électriques. La double isolation consiste en deux «couches» séparées d'isolant électrique.
Les appreils construits avec ce type d'iso1ation ne sont pas concus pour etre mis à la terre. Par consequenc, le prolongateur utilisé avec votre apparéil peut etre branché dans n'importe qu'elle prise 120 volts conventionnelle.
Des mesures de sécurité élémentaires doivent être prises lorsqu'un apparéil électrique est utilisé. La double isolation constitue seulement une protection supplémentaire en cas de défaillance de l'isolement interne.
AVERTISSEMENT
Cet apparéil à double isolation ne comporte aucune piece réparable par l'opérateur. Pour tout renseignement, contacter le Service ÀpRES-Vente McCulloch au numéro appel gratuite figurant au dos de ce manuel.
5 - INSTRUCTIONS POUR LA COUPE
5-1.ABATTAGE
Abattage est le terme utilisé pour indiquer que l'on coupe (abat) un arbre. De petits arbres d'environ 15 à 18cm (6-7 pouces) de diamètre sont généralement abattus en une coupe. Les arbres plus grands exigent des entailles d'abattage. Ces entailles déterminant la direction de la chute.
ABATTAGE D UN ARBRE:
AVENTISSEMENT
Il est nécessaire de prévoir une retraite (A) sure, libre de tout obstacle avant d'entrepreneire la coupe de l'arbre. Le chemin de dégagement devrait être situé à l'arrière et en diagonale de la direction de chute prévue; voir Figure 5-1A.
ATTENTION
Pour l'abattage d'un arbre sur une pente, l'utilisateur de la tronconnexe devrait se trouver du cote ascendant du terrain, car l'arbre roulera probablement vers le bas après sa chute.
REMARQUE : L'entaille d'abattage contrôle la direction de la chute (B). Avant toute entaille, prendre en considération l'emplacement des grosses branches et l'inclinaison naturelle de l'arbre pour déterminer la direction de la chute de l'arbre.
AVERTISSEMENT
Eviter la coupe par mauvais temps, fort vent, vent changeant ou si cela peut endommager une propriété. Consulter un professionnel du métier.
Ne pas couper d'arbre s'il y a une possibilité de heurter des fils électriques ou autres. Prévenir les services publics appropriés avant toute coupe.
REGLES GENERALES A OBSERVER POUR L'A-BATTAGE:
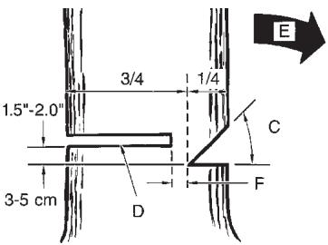
En principe, l'abattage se divise en deux (2) opérations: l'entaille (C) et le trait d'abattage (D).
Toujours commencer par le trait diagonal (du haut) de l'entaille d'abattage (C), du côté besoin pour la chute de l'arbre (E). Eviter de scier trop profondément l'entaille horizontal (du bas).
L'entaille d'abattage (C) doit être suffisamment ouverte pour creer une charnière (F) assez forte de largeur suffisante et pour guider la chute de l'arbre aussi longtemps que possible.
AVERTISSEMENT
Ne jamais marcher devant un arbre entaille.
Scier le trait d'abattage (D) de l'autre côté du tronc, 3 à 5cm (1,5 à 2,0 po) au-dessus de l'entaille d'abattage (C) (Figure 5-1B).
Ne jamais scier le tronc de part en part. Toutjour laisser une charnière. La charnière guide l'arbre. Si le troncest scié de part en part, l'arbre s'abattra de manière incontrolée.
Enconcer des cales ou un levier d'abattage dans le trait sans attendre que l'arbre devienne instable et commence à bouger. Ceci évite le pincement de la pointe du guidechaine dans le trait d'abattage au cas où la direction de la chute aurait été mal calculée. S'assurer que personne ne se trouve dans la zone de chute avant de donner l'impulsion finale.
AVENTISSEMENT
Avant la dernière entaille, s'assurer qu'il n'y ait aucun animal, obstacle ou individu dans les zones possibles de chute.
TRAIT D'ABATTAGE:
- Utiliser des cales de bois ou plastique (G) pour empêcher la chaîne ou le guide-châne (H) de se coincer dans le trait d'abattage. Les cales contrôlent aussi la chute (Figure 5-1C).
- Si le diamètre du tronc à couper est supérieur à la longueur du guide-chaine, faire 2 entailles comme indiqué sur l'illustration (Figure 5-1D).
AVERTISSEMENT
Lorsque le trait d'abattage se rapproche de la charnière, l'arbre devrait commencer à tomber. A ce moment, enlever la tronçonneuse de la coupe, arrêté le moteur, déposer la tronçonneuse, et quitter les lieux, utilisant votre voie de retraite (Figure 5-1A).


5-1A

5-1B
5-1C

5-1D
5 - INSTRUCTIONS POUR LA COUPE
5-2. EBRANCHAGE
Nous entendons par ébranchage le fait de débarrasser un arbre abattu de ses branches. Ne pas scier les branches de support (A) avant le tronçonnage de l'arbre (Figure 5-2A). Les branches sous tension devraient être sciées de bas en haut pour éviter de coincer la chaîne.
AVENTISSEMENT
Ne jamais scier de branches en se tenant sur le tronc.

5-2A
5-3. TRONCONNAGE
Nous entendons par tronçonnage la découverte d'un tronc abattu. S'assurer d'avoir une bonne assise et de se trouver derrière le tronc quand le terrain'est incliné. L'extrémité à scier devrait, si possible, ne pas reposer sur le sol, mais être supportée. Si le tronc est supporté aux deux extrémités et que la coupe doit se faire au milieu, faire une coupe vers le bas et jusqu'àu milieu, puis faire la coupe par en-dessous. ici empêche le bois de coincer la chaîne ou guide-châine. Faire attention à ne pas scier jusqu'às dans le sol car la chaîne s'emoussera rapidement.
Pour le tronçonnage sur pente, se placer toujours vers le haut.
- Si le tronc'est supporté sur toute sa longueur: Il peut être tronçonné à partir du dessus. Eviter de plonger le guide-chaine dans la terre (Figure 5-3A).
- Tronçonnage d'un tronc supporté à une extrémite: Effectuer d'abord une coupe par le dessous (sous-coupe) sur du diamètre, de manière à éviter l'éclatement du bois. Ensuite, effectuer une coupe par dessus (sur-coupe) pour joindre la première coupe et éviter tout coinçage (Figure 5-3B).
- Tronçonnage d'un tronc supporté aux deux extrémités: Effectuer d'abord'une coupe par dessus sur du diamètre de façon à éviter l'éclatement du bois. Ensuite, effectuer une coupe par dessous (sous-coupe) pour joindre la première coupe et éviter tout coinçage (Figure 5-3C).
REMARQUE: Un chevalet est le meilleur support pour tronçonnage. Si cela n'est pas possible, soutenir le tronc par des bùches ou par les chicots des branches. S'assurer que le tronc à couper est bien supporté.

5-3A

5-3B

5-3C
5-4. TRONCONNAGE SUR CHEVALET
Pour votre sécurité, et pour la facilité de coupe, une position correcte est essentielle lors de tout tronçonnage vertical (Figure 5-4A).
COUPE VERTICALE:
A. Tenir la tronçonneuse fermement, des deux mains et placer la tronçonneuse sur votre droite pendant la coupe.
B. Garder le bras gauche aussi droit que possible.
C. Notre poids doit reposer sur les deux pieds.
ATTENTION
S'assurer que la chaîne et guide-châine soient lubrifiés pendant la durée de la coupe.

5-4A
6 - ENTRETIEN DU GUIDE-CHAîNE / CHÂINE
6-1. ENTRETIEN DU GUIDE-CHAINE AVERTISSEMENT
S'assurer que de cable d'alimentation est débranché avant tout entretien de la tronçonneuse.
Un entretien ajust du guide-chaine, comme expliqué dans cette section est essentiel au bon fonctionnement de la tronçonneuse.
LUBRIFICATION DE LA ROULETTE:
(Uniquement pour les apparèils comptenant une roulette du guide-châne.)
ATTENTION
Si la roulette du guide-chaine n'est pas lubrifiée (voir cédssous) la tronçonneuse aura des «secousses» et une mauvaise performance, et ceci annulera la garantie du fabricant.
Il est recommandé de lubrifier la roulette après chaque usage. Nettoyer toujours complètement la roulette du guide-châne avant sa lubrification.
Outil de lubrification: McCulloch's Lube Gun (à jeter)
Cette burette est équipée d'un bec-aiguille permettant l'accès au point de lubrification sur le guide-châne.
Le Lube Gun à jeter vient prét à être utilisé. Les Lube Guns son disponibles chez votre concessionnaire McCulloch le plus proche dont le numéro se trouve sous la rubrique «SCIES» dans les pages jaunes de l'annuaire.
Lubrification De La Roulette :
AVENTISSEMENT
Porter des gants écais pour lubrifier la roulette afin de réduire les risques de blessures.
- Débrancher la tronçonneuse de la prise électrique.
REMARQUE : Il n'est pas nécessaire de-retirer la chaine pour lubrifier la roulette. La lubrication peut se faire sur le site même. - Nettoyer la roulette du guide-chaîne.
- A l'aide d'une pompe de graissage jetable, insérez des points de graisse dans l'orifice de lubrification jusqu'à ce que la graisse soit visible sur le bord extérieur de la pointe des engrenages(Figure 6-1A).
- S'assurer que CHAIN BRAKE® n'est pas actionné. Faire avancer la chaine à la main. Répéter le procédé de lubrification jusqu'à ce que toute la roulette ait étéGRAISSée.

6-1A
ENTRETIEN DU GUIDE-CHAINE :
La majorité des problèmes du guide-chaine peuvent être évités simplement par un bon entretien.
Un affutage et des limeteurs de profondeur incorrects, ou des tranchants non-uniformes causent la majorité des problèmes du guide-chaine, le résultat étant primordialement une usure inégale. L'usure non-uniforme du guide-chaine espace les rainures, ce qui peut causeur un bruit de chaine et des problèmes pour obtenir une coupe droite.
Une lubrication insuffisante du guide-châne et l'utilisation de la tronçonneuse avec une châne TROP AJUSTEE contribue à l'usure rapide du guide-châne (voir Section 6-2).
Pour minimiser l'usure de guide-chaine, nous recommendons l'entretien suivant :
USURE DU GUIDE-CHAINE - Tourner le guide-chaine fréquement et à intervalles réguliers (après 5 heures d'utilisation par exemple), afin d'assurer une usure uniforme sur le haut et le bas du guide-chaine.
RAINURES DU GUIDE-CHAINE - Les rainures du guide-chaine (ou les «gorges» qui soutiennent et portent la chaine) doivent être nettoyées si la chaine a été fortement utilisée ou si elle parait sale. Les rainures doivent être nettoyées à chaque retrait de chaine.
REMARQUE: Les passages d'huile peuvent être contrôlés facilement. Si les passages sont propres, la chaine fera automatiquement giclér un peu d'huile quelques secondes après la mise en marche de la tronçonneuse. Notre tronçonneuse est équipée d'un système de graissage automatique.
Nettoyage des rainures du guide-chaine :
- Enlever le couvercle du pignon, le guide-chaine et la chaine. (voir Section 3-3)
- A l'aide d'un tournevis, d'une spatule, d'une brosse en fil de fer ou autre outil similaire, enlever tout résidu des rainures du guide-chaine de la tronçonneuse. Les passages d'huile seront ainsi dégagés et fourniront une lubrification ajustée à la chaine et au guide-chaine (Figure 6-1B).
- Réinstalléz la barre, la chaine, le capot d'engrenage et le boulon de la barre. (Voir section 3-3).

6 - ENTRETIEN DU GUIDE-CHAîNE / CHÂINE
6-2. ENTRETIEN DE LA CHAINE AVERTISSEMENT
A moins d'avoir reçu une formation spéciale et d'être expériencé en ce qui concerne les rebonds (Voir les Mesures de Sécurité), utiliser toujours un châne de sécurité qui réduit de manière significative les dangers de rebonds. Une châne de sécurité ne peut en aucune manière éliminer totalement les risques de rebonds. Une châne à «rebonds réduits» ou châne de sécurité ne doit jamais être considérée comme protection totale contre des blessures potentielles.
Une chaîne de sécurité doit toujours être utilisée en conjunction avec d'autres dispositifs de sécurité tels CHAIN BRAKE® / et l'Arceau Protecteur fournis avec la tronconneuse.
Utiliser toujours une chaine de rechange conçue pour réduire les rebonds ou une chaine qui rébond aux normes de ANSI (L'Institut des Standards Nationaux Amériçains).
Une chaîne standard de tronçonneuse (c'est à dire une chaîne ne possédant pas de mailons de protection réduisant les rebonds) ne doit être utilisée que par des professionnels du métier.
QU'EST-CE QU'UNE CHÂINE «À REBONDS RÉDUITS»?
Une chaîne à rebonds réduits est une chaîne dont la performance répond aux normes requises par ANSI B175.1.
Maintenir CHAIN BRAKE et la chaine de la tronçonneuse en bon état de fonctionnement et les entretenir correctement comme indiqué dans ce manuel, vous permettra de garder le système de sécurité aussi longtemps que votre outil.
AVENTISSEMENT
Ne jamais enlever, modifier ou rendre inutilisable tout dispositif de sécurité fourni avec l'appareil. CHAIN BRAKE®/Arceau Protecteur et la chaine de sécurité (rebonds réduits) de la tronçonneuse sont des dispositifs de sécurité primordiaux, prêSENTS pour votre protection.
AVERTISSEMENT
Porter toujours de gants de protection robustes et débrancher de cable d'alimentation pour tout entretien de la tronçonneuse.
TENSION DE LA CHAINE :
Contrôler féquèment la tension de la chaîne et la réglar aussi souvent que nécessaire afin de garder la chaîne bien ajustée le long du guide-châîne, mais suffisamment lâche pour pouvoir la faire avancer à la main. (Voir section 3-4, Réglage de la Tension de la Chaîne)
RODAGE D'UNE NOUVELLE CHAINDE TRONCONNEUSE:
Une nouvelle chaine et un nouveau guide-chaine bolventé réajustés après aussi peu que cinq (5) coupes. Ceci est normal en période de rodage, puis les intervalles entre les réglages commenceront à s'espacer rapidement.
Par contre, après un certain temps, les parties mobiles de la chaine de la tronconneuse s'useront, resultant en ce qu'on appelle DETENTE DE CHAINE. Cela est normal. Quand il n'est plus possible d'obtenir un réglage de tension correct, un maillon devra étra enlevé pour raccourcir la chaine. Consultez le Centre de maintenance/agréé le plus proche pour faire procéder à la réparation.
AVERTISSEMENT / ATTENTION
Ne jamais enlever plus de trois maillons d'une chaîne. Ce seraientoitrerendommagerla roulette.
LUBRIFICATION DE LA CHAIN :
Assurez-vous toujours que le système automatique de graissage fonctionne correctement. Remplissez toujours le réservoir d'huile avec de l'huile pour chaînes, barres et engrenages Genuine Factory Parts.
Une lubrication ajustée du guide-châne, et de la chainependant toute coupe est essentielle pour réduire toute friction avec le guide-châne.
Ne jamais laisser la chaine et le guide-chaine subir un manque d'huile lubrifiante. Le fonctionnement de la tronçonneuse à sec ou avec peu de lubrifant décroîtrait sa performance de coupe rapide et sa longévité, émousserait la chaine et useraitrapidement le guide-chaine à cause du surchauffage. Une décoloration du guide-chaine et de la fumée sont des évidences d'un manque de lubrifiant.
7 - ENTRETIEN PREVENTIF
7-1. ENTRETIEN PREVENTIF AVERTISSEMENTG
REPARATION D'UN APPAREIL A DOUBLE ISOLATION
Cet apparéil à double isolation comprend deux systèmes d'iso1ation au lieu d'une prise de terre. Un apparéil à double isolation n'est pourvu d'aucune possibilité de mise à terre ; il ne faut pas y ajouter cette possibilité. Il n'y a aucune piece interne réparable. Une étiquette indiquant «DOUBLE ISOLATION» ou «ISOLATION DOUBLE» se trouve sur un apparéil à double isolation. Le symbole (un carré à l'intérieur d'un carré) peut aussi se trouver sur l' apparéil.
- Placer le bouton en position d'arrêt «OFF» et débrancher le cable d'alimentation avant tout entretien, nettoyage ou réparation.
- Garder le secteur d'arrivée d'air propre et les fentes d'air de refroidissement exemples de tout débris afin de ne pas surchauffer le moteur.
- Nettoyer à l'aide d'une éponge humide et de savon doux. Ne pas asperger d'eau ou tremper dans tout autre liquide.
- Contrôler la tension de la chaîne avant chaque utilisation et féquèment pendant la coupe. Affüter si nécessaire.
- Nettoyer le guide-chaine et le barre du guide chaine pour assure une libre coulée d'huile.
- Tourner le guide-chaine après chaque usage pour une usure uniforme.
- Le moteur n'a pas besoin d'être lubrifié. Il est équipé de palliers lubrifiés de manière permanente.
- Si la tronçonneuse ne fonctionne pas,mettre le bouton en position d'arrêt «OFF» et débrancher le prolongateur de la prise d'alimentation en premier, puis de la tronçonneuse. Vérifier votre source d'alimentation ; un fusible peut avoir sauté ou un disjoncteur peut avoir eté déclenché. Si la tronçonneuse ne fonctionné always pas,contacter le Service Apre- Vente McCulloch dont le numero à appel gratuite se trouve au dos de ce manuel. Ne pas essayer de faire la réparation soi-même. Aucune piece interne n'est réparable par l'opérateur.
7-2. INFORMATIONS CONCERNANT LE REMPLACEMENT DE LA CHÂINE
| Longueur de barre | L'unité Relie |
| 16” Bar | 55 DL |
Il peut y avoir l'autre qualité pièces de remplacement équivalentes pour atteindre de protection de dessous-de-table.
8 - GARANTIE LIMITÉE DE DEUX ANS
1. DURÉE
La durée de la garantie des produits McCulloch s'établit comme suit : DEUX (2) ANS à compter de la date initiale de l'achat à condition que l'appareil soit utilisé à des fins personnelles, domestiques, pour des travaux de ferme ou de ranch, et qu'il ne soit pas utilisé à des fins de location; QUATRE-VINGT-DIX (90) JOURS à compter de la date d'achat initial lorsque les produits sont utilisés à des fins commerciales, professionnelles, institutionnelles ou de location. Cette garantie vous donne des droits légaux spécifique. Vous pouvez également bénéficier d'autres droits qui varient selon les états ou provinces. PAR LA PRESENTE, MCCulloch DÉCLINE TOUTE RESPONSABILITÉ EN CE QUI CONCERNE TOUTE GARANTIE IMPLICITE APRES LES DATES D'EXPIRATION APPLICABLES DE CETTE GARANTIE LIMITÉE EXPRESSE. (Certains états ou certaines provinces ne permettant pas de limitation de la durée des garanties implicites. Les limitations ci-dessus peuvent donc ne pas s'avAILer à votre cas.)
2. PAR QUI LA GARANTIE EST-ELLE OFFERTE
McCulloch U.S.A 1-800-554-6723
A. L'acheteur d'un produit McCulloch (à condition que le produit ne soit pas destiné à la revente).
B. Toute personne a qui le produit est légalement cédé pour la durée de la garantie implicite ou écrite applicable au produit.
C. Toute autre personne autorisée, aux termes de la garantie ou des lois applicables, a demander au Garant de respecter ses obligations. (Les parties sus-mentionnées sont ci-après désignées sous le nom de «Utilisateur.»)
4. CE QUI EST COUVERT PAR CETTE GARANTIE
Toute défaillance survenant pendant la période de garantie applicable et qui déscoule de défauts de matériaux ou de fabrication.
5. CE QUI N'EST PAS COUVERT PAR CETTE GARANTIE
A. Tout dommage indirect ou consécutif décaulant possiblement de la défaillance ou du mauvais fonctionnement d'un produit McCulloch. (Comme certains états ou certaines provinces n'autorisent pas l'exclusion ou la limitation des dommages indirects ou consécutifs. Ces limitations peuvent ne pas s'appliquer à votre cas.)
B. Toute defaillance decouant d'un accident, d'un usage abusif, d'une négligence ou du défaut d'utiliser le produit conformément aux directives fournies dans la ou les Notices d'utilisation qui accompagnent le produit, ou decouant d'une réparation inadéquate par un Centre de réparation non agrée.
C. Les réglages normaux décrits dans la ou les Notices d'utilisation fournies avec le produit.
D. Tout composant ou accessoire qui n'est pas vendu ou fabriqué par le Garant.
E. Les préparations ou assemblages préalables à la livraison.
F. Cette garantie ne s'applique pas aux accessoires ni à l'entretien ou aux réglages normaux du produit décrits dans la ou les Notices d'utilisation.
6. RESPONSABILITÉS DU GARANT AUX TERMES DE CETTE GARANTIE
A. Réparer ou remplaçer gratuitement pour l'utilisateur les composants qui s'avertén défectueux pendant la période de garantie applicable.
B. S'assurer que le Centre de réparation agréé est remboursé pour les frais de matérielux et de main-d'oeuvre engagés pour effectuer les réparations au titre de la garantie conformément aux politiques et procédures de garantie établies.
7. RESPONSABILITÉS DE L'UTILISATEUR AUX TERMES DE CETTE GARANTIE
A. L'utilisateur doit livre ou expédier le produit McCulloch couvert par la garantie au concessionnaire chez qui le produit a eté acheté ou au Centre de réparation agrée le plus proche. Une preuve d'achat est requise.
B. Les frais d'expédition, le cas échéant, sont à la charge de l'utilisateur.
C. Veiller à l'entretien, à l'utilisation et au remisage du produit avec une diligence raisonnable, tel qu'il est expliqué dans la ou les Notices d'utilisation.
8. MOMENT POUR LE GARANT DE S'ACQUITTER DE SES OBLIGATIONS AUX TERMES DE CETTE GARANTIE
A. Les dates de réparation des produits sous garantie seront fixées pour le Centre de réparation en fonction de la charge normale de travail et suivant la disponibilité des pièces.
B. Si le délambda pour la réparation excéde dix (10) jours à compter de la date de livraison au réparateur agréé, la garantie sera prolongée du nombre de jours supplémentaires pendant lesquels le produit est inutilisable.
C. Si l'utilisateur n'obtient pas entiere satisfaction auprès de son Centre de réparation local, il doit semettre en rapport McCulloch, ou composer le numéro sans frais.
Notice Facile