ST0508 - Contrôleur de débit IFM - Notice d'utilisation et mode d'emploi gratuit
Retrouvez gratuitement la notice de l'appareil ST0508 IFM au format PDF.
| Caractéristiques | Détails |
|---|---|
| Type de produit | Capteur de température et d'humidité |
| Plage de mesure | 0 à 100% HR, -40 à +125°C |
| Précision | ±2% HR, ±0.5°C |
| Alimentation | 10 à 30 VDC |
| Sortie | Signal analogique (4-20 mA ou 0-10 V) |
| Dimensions | Compact, adapté pour une installation facile |
| Utilisation | Idéal pour les applications industrielles et de contrôle environnemental |
| Maintenance | Vérification régulière des connexions et nettoyage des capteurs |
| Sécurité | Conforme aux normes de sécurité électrique, protection contre les courts-circuits |
| Informations supplémentaires | Garantie de 2 ans, support technique disponible |
FOIRE AUX QUESTIONS - ST0508 IFM
Questions des utilisateurs sur ST0508 IFM
0 question sur cet appareil. Repondez a celles que vous connaissez ou posez la votre.
Poser une nouvelle question sur cet appareil
Téléchargez la notice de votre Contrôleur de débit au format PDF gratuitement ! Retrouvez votre notice ST0508 - IFM et reprennez votre appareil électronique en main. Sur cette page sont publiés tous les documents nécessaires à l'utilisation de votre appareil ST0508 de la marque IFM.
MODE D'EMPLOI ST0508 IFM
Notice de Montage Contrôleur de débit compact
efector300
701149/06 11/1999

1 Fonctionnement et caractéristiques
Le contrôleur de début surveille des fluides. Il détecte si une valeur de circulation sélectionnée est atteinte (= liquide en début) ou non (= liquide pas en début) et fournit un signal de commutation.
2 Montage
La partie sensible de la sonde doit se trouver complètement dans le fluide.
- Dans le cas des tubes horizontalement monter l'appareil latéralement, si possible (fig. 1).
- Lorsque l'appareil est monté par le bas, le tube doit être dégagé de dépôts.
- Lorsque l'appareil est monté par le haut le tube doit être rempli entièrement du fluide à surveiller.
- Dans le cas des tubes verticaux, nous recommandons d'effectuer le piquage là où le fluide monte (fig. 2).
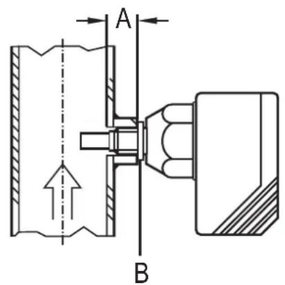
fig. 1 fig. 2

A = 15 mm pour des appareils, filetage M12x1 et G1/4" (BSP). A = 23 mm pour des appareils, filetage G1/2" (BSP). B = joint d'étanchéité
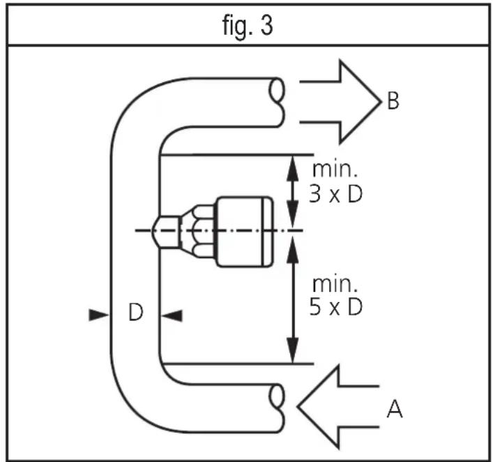
Afin d'éviter un mauvais fonctionnement, une distance minimum doit être respectée entre la sonde et les coudes, vannes, changements de section, etc.
Min. 5× diamètre de la canalisation en amont (A),
min. 3× diamètre de la canalisation en aval (B).

3 Raccordement électrique

L'appareil doit être monté par un électricien.
Les règlements nationaux et internationaux relatifs à l'installation de matériel électrique doivent être respectés.
Alimentation pour des appareils jusqu'à 60V selon EN50178, TBTS, TBTP.
Mettre l'installation hors tension.
Raccorder l'appareil (branchement selon les indications de l'étiquette).
4 Réglage
| 1 | potentiomètre de réglage sensibilité - ① + |
| 2 | rampe de LED - la LED rouge est allumée :l'appareil n'est pas réglé - la LED jaune est allumée :la sortie est commutée - la LED verte est allumée : l'appareil est réglé |
- Mettre l'appareil sous tension. Mettre en début constant (valeur prise sélectionnée). omètre jusqu'à ce qu'une LED verte soit allumée. Plus la LED verte allumée est éloignée de la LED jaune, plus sûr est le réglage (capacité de réserve en cas de fluctuations de début ou de température). Après le réglage, coller l'étiquette fournie sur le potentiomètre afin de le protéger contre un maniement inadmissible.
5 Fonctionnement
Après le montage, le câblage et le réglage, vérifiez le bon fonctionnement de l'appareil.
Vérifier périodiquement l'éventuelle présence de dépôts en bout de sonde. Le cas échéant, les enlever avec un chiffon doux. Les dépôts adhérant fortement (ex: calcaire) peuvent être retirés avec un produit acétique de nettoyage usuel.
Les appareils sont destinés à être utilisés dans des champs électromagnétiques modérés (voir la table).
Des mesures supplémentaires peuvent être nécessaires pour éviter un mauvais fonctionnement lorsque des systèmes à ISM ou des talkie-walkies de forte puissance sont à proximité des appareils.
| Immunité aux parasites No. | me Niveau de sévérité | |
| décharges électrostatiques | IEC 1000-4-2 / EN 61000-4-2 | 4 kV CD / 8 kV AD |
| rayonnement HF | IEC 1000-4-3 / EN 61000-4-3 | 3 V/m; 80 ... 1000 MHz |
| transitoires électriques rapides | IEC 1000-4-4 / EN 61000-4-4 | 2 kV pince de couplage |
| HF conduites par le cable | IEC 1000-4-6 / EN 61000-4-6 | 3 V; 0,15 ... 80 MHz |






Notice Facile