NT553 - Téléviseur Peerless-AV - Notice d'utilisation et mode d'emploi gratuit
Retrouvez gratuitement la notice de l'appareil NT553 Peerless-AV au format PDF.
| Caractéristiques techniques | Taille de l'écran : 55 pouces, Résolution : 1920 x 1080 pixels (Full HD), Type d'écran : LED, Luminosité : 450 cd/m² |
|---|---|
| Connectivité | Ports HDMI : 3, Ports USB : 2, Entrée VGA : 1, Entrée audio : 1, Sortie audio : 1 |
| Utilisation | Idéal pour les présentations professionnelles, les événements sportifs et le divertissement à domicile. |
| Maintenance et réparation | Nettoyage régulier de l'écran avec un chiffon doux, mise à jour du firmware recommandée pour optimiser les performances. |
| Sécurité | Ne pas exposer à l'humidité, utiliser un support mural approprié pour éviter les chutes, débrancher en cas d'orage. |
| Informations générales | Garantie : 2 ans, Poids : 18 kg, Dimensions : 1230 x 710 x 60 mm (sans support). |
FOIRE AUX QUESTIONS - NT553 Peerless-AV
Téléchargez la notice de votre Téléviseur au format PDF gratuitement ! Retrouvez votre notice NT553 - Peerless-AV et reprennez votre appareil électronique en main. Sur cette page sont publiés tous les documents nécessaires à l'utilisation de votre appareil NT553 de la marque Peerless-AV.
MODE D'EMPLOI NT553 Peerless-AV
Manuel de l'utilisateur


Cette page a été laissée en blanc intentionnellement. FRN
Code de l'électricité
Remarque à l'usage de l'installateur du système d'affichage : Ce rappel vise à attirer l'attention de l'installateur sur l'article 820-44 du National Electric Code qui fournit des lignes directrices pour une mise à la terre appropriée et, plus particulièrement, précise que le câble de mise à la terre devrait être branché au système de mise à la terre du bâtiment. Les prises de courant murales devraient être installées à proximité de l'équipement et demeurer facilement accessibles.

Remarque: L'installation devrait comprendre un dispositif externe de protection contre les surtensions figurant sur la liste d'UL d'une puissance assignée de 2500 Vpk ou moins, pour des secteurs de 150 à 300 V c.a., installé conformément aux exigences prévues à l'article 285 de la norme ANSI/NFPA 70 ou dans les codes locaux applicables.
Source d'alimentation
L'écran doit être raccordé à une prise dotée d'une connexion à la terre de protection.
La prise sur secteur est utilisée comme dispositif de sectionnement et doit demeurer facilement accessible.
L'installation électrique doit se faire en conformité aux parties concernées du chapitre 8 du code ANSI/NFPA 70.
L'antenne extérieure ne devrait pas se couvrir à proximité des lignes électriques aériennes ou de tout circuit électrique.
Si une antenne extérieure est branchée au récepteur, assurez-vous que le système de l'antenne est mis à la terre et offre une protection contre les surtensions et l'accumulation de charges électrostatiques. L'article 810 du National Electric Code ainsi que la norme ANSI/NFPA no 70-1984 fournissant de l'information sur la mise à la terre appropriée du mât et de la structure d'appui, la mise à la terre de la descente d'antenne jusqu'à l'unité de décharge de l'antenne, la taille des raccords de mise à la terre, l'emplacement de l'unité de décharge de l'antenne, le branchement aux électrodes de mise à la terre et les exigences relatives aux électrodes de mise à la terre.
Ces écrans fonctionnent avec une alimentation par courant alternatif de 120V, 60Hz. Branchez le cordon d'alimentation à une prise électrique 120V CA, 60Hz. Ne branchez jamais l'écran sur une alimentation à courant continu ou à une tension autre que celle spécifiée.
Pour éviter tout choc électrique, n'utilisez pas l'écran avec une rallonge, une prise de distribution ni aucune autre prise de courant à moins de pouvoir insérer complètement les lames et la borne de terre de manière à éviter d'exposer les lames.
Toutes les lignes secondaires doivent être acheminées par un conduit mis à la terre et rester séparées de la ligne à c. a.
Avertissement de la FCC
Afin d'assurer une conformité continue et d'éviter de possibles interférences indésirables, il est possible d'utiliser des noyaux de ferrite lors de la connexion de cet écran avec l'équipement vidéo; notamment un espacement d'au moins 400mm (15,75 pouces) avec les autres appareils périphériques.
Déclaration de la FCC
Cet appareil a été testé et déclaré conforme aux limites établies pour des appareils numériques de classe B, en vertu des dispositions de l'aléa 15 de la réglementation FCC. Ces limites sont destinées à fournir une protection raisonnable contre les interférences nuisibles dans le cadre d'une installation résidentielle. Le présent équipement génère, utilise et peut émettre des radiofréquences susceptibles, à défaut d'une installation ajustée et d'une utilisation conforme à ces instructions, de produire des interférences dangereuses pour les communications radio. Cependant, il n'y a aucune garantie d'absence de brouillage dans une installation donnée. S'il s'avère que ce produit provoque un brouillage nuisible à la réception radio ou télévisuelle, ce que permet de constater la simple mise en route et fermeture de l'appareil, vous êtes alors invité à tenter de corriger l'interférence en effectuant une ou plusieurs des corrections suivantes:
- Réorienter ou déplacer l'antenne de réception.
- Augmenter la distance entre l'équipement et le récepteur.
- Brancher le matériel dans une prise de courant qui se trouve sur un circuit différent de celui sur lequel le récepteur est branché.
- Consulter le distributeur ou un technicien expérimenté en radio/TV pour obtenir de l'aide.
Le présent appareil est conforme à la section 15 des règles de la FCC. Son fonctionnement est assujetti aux deux conditions suivantes:
- Cet appareil ne doit pas produire de brouillage préjudiciable.
- Cet appareil doit accepter tout brouillage subi, même si le brouillage est susceptible d'en compromettre le fonctionnement.
Renseignements pertinents
Inscrivez ici le modèle et le numéro de série de l'appareil pour consultation future. Conservez ce manuel de l'utilisateur dans un endroit facile d'accès au cas où une réparation serait nécessaire.
Remarque : le numéro de série de l'écran se trouve sur l'emballage et sous la plaque de couverture arrêté.
Numéro de modèle
Numéro de série
Lire les instructions avant d'utiliser le matériel
Nous vous remercions d'avoir fait l'acquisition de notre produit. Avant utilisation, veuillez lire attentivement ce manuel de l'utilisateur et suivre les instructions pour assurer un fonctionnement en toute sécurité. Veuillez vous assurer de conserver ce manuel pour consultation ultérieure lors du transfert ou du transport de ce produit à un autre endroit.
Avertissement
En cas d'urgence, comme un incendie ou un choc électrique provoqué par le produit, contacter immédiatement le 911 ou les services de police/d'incendie appropriés de votre pays.
Pour réduire les risques de choc électrique ou d'incendie, respectez les consignes suivantes:
- En cas de défaillance du produit ou d'événements inhabituels comme une odeur de brûlé, de la fumée ou une perte de signaux du contenu en raison d'une surchauffe interne, mettre immédiatement l'appareil hors tension, débrancher le cordon électrique et communiquer avec le fabricant.
- Ne pas démonter, modifier ni réparer le produit d'une manière autre que celle décrite dans ces instructions. Toute modification non autorisée du produit annule automatiquement la garantie.
- Ne Pas toucher les câbles d'antenne, les fils, les câbles ni les fiches électriques en présence de foudre ou de tonnerre, ou avec les mains mouillées.
- Ne pas immerger dans l'eau.
- Ne pas détruire, TRAITER ou placer près d'une source de chaleur.
- Ne pas installer à proximité de gaz toxiques ou d'une atmosphère chimiquement instable.
- Ne pas installer à proximité d'un champ magnétique puissant ou d'un champ de courant électrique.
- Ne pas installer le produit sur des surfaces instables, à proximité d'objets mobiles ou d'un équipement vibrant ou sur des surfaces inégales. Veuillez suivre les directives d'installation appropriées pour une utilisation sans danger du produit, car une installation inappropriée peut provoquer la chute du produit.
- Ne laisser aucune source d'incendie telle qu'une bougie à proximité du produit ou sur celui-ci car cela pourrait provoquer un incendie ou l'endommager.
- Ne pas faire fonctionner le produit s'il est tombé ou s'il a été endommagé. Tout impact physique sur le produit peut causer le déplacement et le bris de certains de ses composants internes.
- Ne pas plier ou tordre les cordons électriques, fiches électriques, câbles ou fils avec une force excessive.
- Ne pas obstruer les fentes de ventilation ni poser d'objets lourds sur le produit.
- Utilisez la tension assignée. L'utilisation d'une tension non assignée peut provoquer un incendie, une décharge électrique et endommager gravement le produit.
- Ne pas utiliser de prises d'alimentation ou de barres d'alimentation sur lesquelles sont branchés de nombreux autres appareils. Utiliser une prise de courant désignée avec disjoncteur de fuite de terre correspondant à la tension nominale pour assurer la sécurité d'utilisation du produit.
- Ne pas déplacer ni transporter lorsque des câbles (d'alimentation, de connexion au contenu) sont branchés sur les périphériques source.
- Toujours brancher la fiche d'alimentation fermement et complètement. Toujours débrancher les câbles en tirant sur la fiche et non sur le cordon.
- Toujours éteindre l'appareil pour brancher ou débrancher les cordons ou les câbles de branchement électriques afin d'éviter une décharge électrique ou d'endommager le produit.
- Ne pas contourner le dispositif de sécurité de la fiche électrique polarisée ou de mise à la terre. Une fiche polarisée possède deux lames, dont l'une est plus large que l'autre. Une fiche de mise à la terre a deux lames et une troisième broche de mise à la terre. La lame large ou troisième broche est fournie pour votre sécurité. Si la fiche fournie n'est pas adaptée à votre prise de courant, consultez un technicien pour le remplacement de la prise obsolète.
- Placer le cordon électrique de façon à le protégerr et qu'il ne soit pas pincé ou que personne ne marche dessus, surtout au niveau des fiches, des prises de service et du point de sortie de l'appareil.
- Ne jamais appliquer de pression sur l'extérieur de l'écran ACL.
- En cas de cassure du moniteur ou de la vitre, éviter d'entrer en contact avec le cristal liquide et manipuler l'appareil avec soin.
- Ne pas grimper sur le produit.
- Ne pas installer à moins de 1,5 m (5 pi) d'un plan d'eau.
- Ne pas utiliser si la température ambience excède les limites de fonctionnement; La température maximale de fonctionnement est -22^ 122^ (-30^ 50^)
- Ce produit est destiné à être utilisé à l'extérieur, en ensoleillement partiel. Placez le téléviseur dans un endroit qui ne reçoit jamais la lumière directe du soleil, par exemple sous un auvent ou sur le côté d'une structure. L'exposition du téléviseur à la lumière directe du soleil réduit sa durée de vie et annule la garantie.
- Ne pas installer dans une enceinte ou un renforcement ayant moins de 2 pouces d'écoulement d'air autour de l'écran. L'air à l'intérieur de l'écran entièrement encadré doit être ventilé.
- Le produit doit être fixé au BATIMENT avant l'utilisation.
- Le produit doit être transporté et soutenu par au moins deux personnes.
- Enlever périodiquement la poussière accumulée sur la fiche électrique afin de la garder propre et sèche et d'assurer un fonctionnement correct.
- N'utiliser que les accessoires spécifiés par le fabricant.
Table des matières
Installation du système et exigences en matière d'électricité 67 Code de l'électricité 67 Source d'alimentation 67 Avertissement de la FCC. 68 Déclaration de la FCC 68 Renseignements Pertinents 68 Mesures de Précaution Générales 69 Directives d'Installation 72 Liste des pièces 72 Retirer le couvercle du logement des I/O 74 Cordon de Connexion 75 Installer le répéteur IR 75 Technologie freePathTM 75 Remettre le couvercle du logement des I/O 76 Gestion des câbles 77 Préparation de l'écran pour le montage 78 Branchement à la source d'alimentation 79 Mode d'emploi 81 Mise sous tension/hors tension de l'écran 81 Tableau de bord 81 Boutons de la télécommande 82 Fonctionnement du menu 83 Premiers pas avec webOS TV 83 Connexion au réseau 83 Fonctionnement du téléviseur 85 Utilisation des fonctions de la télévision par la voix 86 Fonction texte 87 Lancer un programme avec Quick Access 88 Télévision en direct 89 Lecture d'émissions de télévision enregistrées 90 Connexion de périphériques 92 Connexion d'un appareil domotique connecté IoT 93 Connexion des appareils intelligents 94 Entretien 95 Entretien de l'écran 95 Mise en garde relative aux téléphones mobiles 95 Directives relatives à la fin de vie 95 Garantie 96
Liste des pièces description qty
Affichage 1 B télécommande Magic Remote Control 1 C attaches-câbles adhésifs 3 D répéteur IR 1 E manuel de l'utilisateur (image non disponible) 1 F encart de support technique (image non disponible) 1 G carte d'enregistrement de la garantie (non illustrée) 1
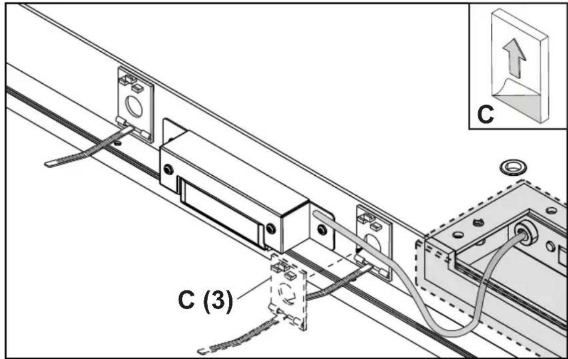
C (3)
attache cables adhesifs
Cette page a été laissée en blanc intentionnellement. FRN
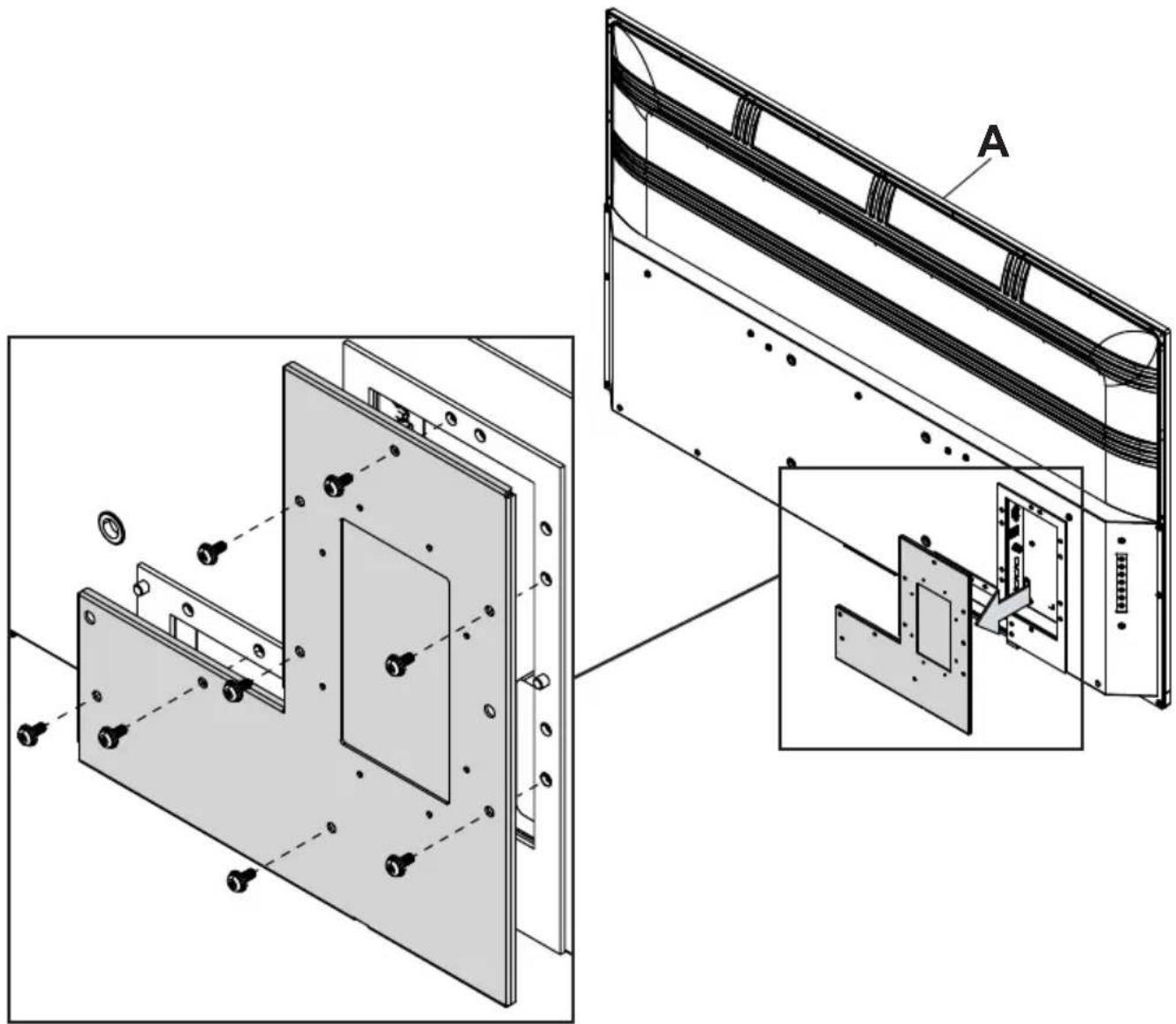
Retirer le couvercle de la trappe E/S et les huit vis pour accéder au panneau de bornes.

Cordons de connexion
Connecter les appareils sources à la borne d'entrée correspondante. Effectuer toutes les connexions avant de mettre l'écran sous tension.
| Connecteur Fonction Description | ||
| Optique | Utilisé pour connecter le signal de sortie audio numérique à un amplificateur. | |
| HDMI | Connector à un apparéil doté d'une sortie HDMI. | |
| AV | Connector à un apparéil doté d'une sortie AV / CVBS. | |
| USB | Prend en charge les médias audio / video / photos / texte. | |
| Casque d'écoute | Connector un casque pour une sortie audio à niveau variable. | |
| RF | Entrée d'antenne pour utilisation avec les signaux ATSC 2.0 OTA. | |
| LAN / RJ45 U | utilisé pour la connectivité internet. | |
Installer le répétiteur IR (optionnel)
Introduisez la fiche de 3,5 mm du répéteur IR 5V fourni dans le port du répéteur IR situé sur le panneau des entrées de l'écran. Le port du répéteur IR peut ne pas être compatible avec les répéteurs d'autres fabricants.

Technologie freepath™
Le couvercle de la trappe E/S doté de la freePath Technology™ permet une meilleure pénétration du signal WiFi et améliore la connectivité réseau de la Smart TV.

Replacer le couvercle du logement des i/o
- Faites passer les cables par le fond du logement des bornes des I/O, par-dessus le joint en mousse. Tous les cables doivent ressortir vers le bas de l'écran pour en garantir l'étanchéité lorsque le couvercle du logement des I/O est remis en place. Ne faites pas passer les cables par le haut ni par les côtes du logement des I/O. Séparez les cables d'environ 13 mm (1/2") pour assurer l'étanchéité de l'appareil lorsque le couvercle du logement des I/O est installé.
- Replacez le couvercle du logement des I/O en l'alignant sur les guides. Maintenez les cables en position entre les joints inférieurs.
- Replacez les huit vis et serrez jusqu'à ce que le joint du couvercle de la trappe E/S soit complètement compressé et de niveau avec l'arrière de l'écran.
Le non-respect de ces instructions peut entraîner la détérioration ou la destruction du produit et l'annulation de la garantie.


- S'assurer que le rayon de courbure du cordon ne dépasse pas les limites fixées par le fabricant. Assurez-vous que les câbles sont logés correctement dans les goulottes pour leur éviter d'être endommagés lorsque vous réinstallez le couvercle.
- Ne faites pas passer les câbles par le haut ni par les côtés de la trappe E/S. Tous les câbles doivent être orientés vers le bas de l'écran afin de préserver l'étanchéité une fois le couvercle de la trappe E/S installé.

Fixez les câbles à l'écran à l'aide des attaches-câbles adhésifs.

Préparation de l'écran pour le montage
Installez les cordons avant de procéder au montage de l'écran. Le panneau d'entrée peut être obstrué après le montage de l'écran.
Pour toute sécurité, installer uniquement un support de montage extérieur assigné pour l'utilisation prévue et qui supporte le poids de l'appareil. Pour un montage extérieur, utiliser des supports de montage respectueux de l'environnement appropriés pour garantir la longévité dans les environnements hostiles.
Consultez le tableau ci-dessous pour déterminer les spécifications de montage de votre écran :
Préparation de l'écran pour le montage
| Taille d'affichage A | B C D E | ||||
| 55" | 49.09"(1247mm) | 28.54"(725mm) | 47.69"(1211mm) | 26.85"(682mm) | 54.64"(1388mm) |
| 65" | 57.59"(1463mm) | 33.31"(846mm) | 56.24"(1428mm) | 31.62"(803mm) | 64.53"(1639mm) |
| 75" | 66.29"(1684mm) | 38.18"(970mm) | 65.16"(1655mm) | 36.74"(933mm) | 74.52"(1893mm) |
VUE DE FACE
Branchement à la source d'alimentation
Branchement du cordon d'alimentation à la prise DDFT.




Cette page a été laissée en blanc intentionnellement. FRN
Mise sous tension/hors tension de l'écran
Allumez l'écran à l'aide de la télécommande ou du bouton d'alimentation situé sur le côté. L'écran s'allumera mais l'image peut mettre quelques secondes à apparaitre pendant que l'appareil complete sa séquence d'allumage.
Pointez la télécommande vers le capteur IR situé sous le logo Peerless-AV au centre de l'écran, et appuyez sur le bouton d'alimentation.

Tableau de bord
Mode Direct: Permet d'accéder rapidement à la sélection des sources, au réglage du volume et à la sélection des chaînes.
Mode Menu: Appuyer sur le bouton MENU pour accéder au mode menu et activer la fonction d'affichage à l'écran (AAE). Pour une description du fonctionnement de la fonction d'AAE, veuillez vous reporter à la section suivante.
L'attribution des boutons du clavier est indiquée dans le tableau ci-dessous :
| Mode Menu Mode Direct |
| Marche/Arrêt Marche/Arrêt |
| OK Sélection de l'entrée |
| Menu Menu |
| Haut Chaîne vers le haut |
| Bas Chaîne vers le bas |
| Droit Monter le volume |
| Gaughe Baisser le volume |

| Boutons | Description |
| Alimentation | Allumer / éteindre le téléviseur. |
| STB Power | Permet d'allumer ou d'éteindre le boîtier décodeur (STB) lorsque ce dernier est ajouté à la télécommande universelle du téléviseur. |
| Search | Activer la reconnaissance vocale (connexion réseau nécessaire). |
| Sprocket Acceder aux Paramètres / Paramètres rapides | |
| Input Permute | entre les différentes sources d'entrée |
| 0 ~ 9 Naviguer | entre les chaînes de télévision. |
| -/List | Insère un tiret entre les chiffres / Affiche la liste des chaînes symtonisées. |
| "..." | Autres actions en complément de celles à l'écran. |
| Vol +/- | Ajuste les niveaux audio vers le haut et vers le bas. |
| FAV | Rappelle les chaînes symtonisées qui ont été définies comme favorites. |
| Guide Rappe | le guide des chaînes symtonisées. |
| Mute Couper | rétablier le son. |
| Channel +/- | Permet le déplacement vers le haut et le bas dans la liste des chaînes symtonisées. |
| Play | Engage la lecture de la programmation en cours. |
| Home | Accéder au menu d'accueil / Rappelle toutes les options de contenu. |
| Pause Met en | pause la programmation en cours. |
| Back Return | la programmation à l'écran précédent. |
| Exit Quitte l'écran affchéé. | |
| Arrows Permet | de naviguer dans l'écran affchéé. |
| Select | Permet d'effectuer la sélection lors de la navigation dans l'écran affchéé. |
| AD/SAP | Bascule vers le programme audio secondaire si disponible. |
| Movies | Affiche les films disponibles en streaming dans les applications actives. |
| Stop Arrêté la | lecture de la programmation en cours. |
| Netflix Lance | l'application Netflix. |
| Prime Video | Lance l'application Amazon Prime. |
| Rouge | Correspond à différentes fonctions coloriées dans le menu. |
| Vert | Correspond à différentes fonctions coloriées dans le menu. |
| Jaune | Correspond à différentes fonctions coloriées dans le menu. |
| Bleu | Correspond à différentes fonctions coloriées dans le menu. |
Programmation télévisée en direct / configuration de l'antenne:
- Connectez l'antenne au téléviseur. Vous pouvez également connecter un périphérique capable de recevoir des émissions, par exemple un boîtier décodeur, au lieu d'une ANTENNE.

- Démarrer > Programmes > Réglage manuel / Réglage automatique. Recherche et classe les programmes que vous captez.
Connexion au réseau:
Configurez les paramètres du réseau, par exemple, les applications et le contenu en ligne.

Les paramètres de réseau peuvent être appliqués via un réseau câble.
- Connectez le port LAN du téléviseur au routeur à l'aide d'un câble. Le routeur doit disposer d'une connexion active à Internet.
- Appuyez sur la touche « Paramètres » de la télécommande.
- Sélectionnez Paramètres de connexion filaire Ethernet. Pour afficher les détails, cliquez sur Paramètres > Connexion > Réseau > Paramètres de connexion dans le Guide de l'utilisateur.
Les paramètres de réseau peuvent être appliqués via le réseau wi-fi.
- Allumez le routeur connecté à l'internet.
- Appuyez sur la touche « Paramètres » de la télécommande.
- Sélectionnez Paramètres de connexion > Connexion réseau > Connexion Wi-Fi.
- Lorsque la recherche de réseau est terminée, la liste des réseaux disponibles s'affiche.
- Sélectionnez le réseau à connecter.
- Saisissez le mot de passe du routeur LAN sans fil si nécessaire. Pour afficher les détails, cliquez sur Paramètres > Connexion > Réseau > Paramètres de connexion dans le Guide de l'utilisateur.

Instructions pour la configuration du réseau:
- Utilisez un câble LAN standard (Cat5 ou supérieure, connecteur RJ45, port LAN TX 10Base-T ou 100Base-T).
- Redémarrer le modem résout parfois les problèmes de réseau. Mettez le modem hors tension, débranchez-le pour le réinitialiser, puis remettez-le sous tension pour résoudre le problème.
- Le fabricant n'est pas responsable des défaillances de la connexion au réseau, ni des problèmes, dysfonctionnements ou erreurs causés par la connexion réseau.
- La connexion au réseau peut ne pas fonctionner correctement en raison des paramètres du réseau ou du contrat offert par le fournisseur de services internet.
- Le service DSL doit utiliser un modem DSL et le service cable doit utiliser un décodeur cable. Si le nombre de connexions réseau disponibles est limité, il se peut que les paramètres de réseau du téléviseur ne puissent pas être utilisés. Cela dépend du contrat avec le fournisseur de services internet (si le contrat n'autorise pas plus d'un appareil par ligne, seul le PC déjà connecté pourra y accéder).
- Le réseau sans fil peut subir des interférences de la part d'autres appareils qui utilisent la même fréquence (2,4 GHz), comme un téléphone sans fil, un dispositif Bluetooth ou un four à micro-ondes. Des interférences peuvent également se produire lorsque la fréquence de 5 GHz est utilisée, mais elles sont moins probables.
- Dans un environnement sans fil, il arrive que le réseau fonctionne au ralenti.
- Si les autres réseaux locaux ne sont pas désactivés, il peut y avoir un trafic excessif sur certains appareils. L'appareil de point d'accès utilisé doit pouvoir prendre en charge les connexions sans fil et la fonction Connexion sans fil doit être activée sur l'appareil pour assurer la connexion au point d'accès. Contactez votre fournisseur de services internet pour connaître la disponibilité des connexions sans fil au point d'accès.
- Vérifiez les paramètres de sécurité SSID du point d'accès. Consultez la documentation correspondante pour connaître les paramètres de sécurité SSID.
- Si les périphériques de réseau (partage de ligne avec ou sans fil, concentrateur) sont mal configurés, cela peut entraîner des lenteurs dans le fonctionnement du téléviseur ou son mauvais fonctionnement.
- Différents points d'accès utilisent des méthodes de connexion différentes, selon le fabricant.
- Pour résoudre un problème lié à cette fonction, voir la section Dépannage du Guide de l'utilisateur.
Comment connecter la télécommande magic remote control:
Plus d'informations sur la télécommande Magic Remote Control. Pour sélectionner les fonctions souhaitées, il suffit de déplacer le curseur sur l'écran du téléviseur et de cliquer, comme avec une souris d'ordinateur.
La télécommande Magic Remote Control est disponible séparément même lorsqu'elle n'est pas fournie avec l'équipement.
Jumelage de la magic remote control:
La télécommande Magic Remote Control doit être connectée avec webOS TV pour enregistrer l'utilisateur. Pour connecter la télécommande Magic Remote Control préalablement enregistrée pour l'utilisateur, procédez comme suit:
- Allumez le téléviseur. Attendez environ 20 secondes, puis pointez la télécommande vers le téléviseur et choisissez la position (OK).
- La Magic Remote Control sera enregistrée automatiquement et un message signalant le succès du jumelage s'affichera sur l'écran du téléviseur.
- Si l'enregistrement de la Magic Remote Control échoue, éteignez le téléviseur puis rallumez-le avant de réessayer.
Réenregistrez la magic remote control:
(Si la télécommande n'apparaît pas sur le téléviseur, il faut refaire la procédure).
- Pointez la télécommande vers le téléviseur, appuyez sur la touche GUIDE et maintenez le bouton jusqu'à l'apparition de l'instruction.
- La télécommande précédemment enregistrée est annulée, puis réenregistrée.
Utilisation de la télécommande magic remote control:
- Secouez la Magic Remote Control de gauche à droite ou tracez des cercles en la pointant vers le téléviseur. Orientez la télécommande dans la direction souhaitée : le pointeur suit le mouvement.
- Placez le pointeur à l'endroit souhaité et appuyez sur (OK) pour exécuter la fonction choisie.
- Le pointeur disparaît après une courte période d'immobilité. Si le pointeur disparaît de l'écran, secouez la télécommande Magic Remote Control de gauche à droite pour le faire réapparaître. Pour faire disparaître le pointeur, appuyez sur les boutons haut, bas, gauche ou droit. La commande fonctionne alors comme une télécommande classique. Si le pointeur ne reconnaît pas de manière fluide, réinitialisez-le en le déplaçant vers le bord de l'écran.
- La portée de la télécommande est de 10 mètres. Il est possible qu'elle ne fonctionne pas correctement si elle se trouve hors de la distance de fonctionnement ou si un obstacle bloque la ligne de visée.
- Selon les périphériques (routeur sans fil, four à micro-ondes, etc.), des échecs de communication peuvent se produire.
- Les chocs peuvent entraîner le dysfonctionnement de la Magic Remote.
- Veillez à ne pas heurter les meubles, les équipements électroniques ou d'autres personnes se tenant à proximité en utilisant la Magic Remote Control.
La reconnaissance vocale permet aussi d'accéder rapidement et facilement à diverses fonctions du téléviseur.
- Maintenez enfoncée la touche de la télécommande et énoncez la fonction souhaitée ou, pour une recherche, le mot clé.
- Relâchez le bouton après la saisie vocale. La fonction correspondante est lancée.
Remarque : il se peut que certains modèles ne soient pas pris en charge.
- Les résultats de recherche ne peuvent être corrects que si la langue utilisée correspond à la localisation.
- Certaines fonctions ne seront pas disponibles si les paramètres de localisation et de langue sont différents.
- Vous pouvez modifier les paramètres de langue dans Paramètres > Tous les paramètres > Général > Langue > Langue du menu.
Précautions relatives à la reconnaissance vocale:
- La reconnaissance vocale nécessite une télécommande Magic Remote Control, qui n'est pas compatible avec tous les modèles.
- Pour pouvoir utiliser toutes les fonctions de reconnaissance vocale, les paramètres de programmes, région, etc., doivent être configurés. Dans le cas contraire, certaines fonctions ne seront pas opérationnelles.
- Une connexion réseau est indispensable pour le fonctionnement de la reconnaissance vocale.
- L'utilisation de la reconnaissance vocale n'est possible qu'avec une connexion réseau et une fois que les conditions générales ont été acceptées.
- Pour contrôler le décodeur câble connecté au téléviseur avec la fonction de reconnaissance vocale, ouvrez Paramètres > Tous les paramètres > Connexion > Paramètres de connexion du périphérique > Paramètres de commande universelle et configurez une télécommande universelle.
- Il est recommandé de diriger la télécommande Magic Remote Control vers le décodeur cable après la saisie vocale.
- La précision de la reconnaissance varie en fonction de l'utilisateur (volume de la voix, prononciation, accent, vitesse d'élocution) et de l'environnement (bruit et volume de la télévision).
- Pour obtenir une reconnaissance précise de la parole, énoncez clairement et lentement, à un volume approprié, à environ 10 cm du microphone de la Magic Remote Control.
- Si la demande n'est pas reconnue, il est possible que la reconnaissance vocale ne fonctionne pas comme anticipé.
Utilisation du langage textuel:
- La reconnaissance vocale permet aussi de saisir du texte dans les champs de recherche.
- Sélectionnez le bouton « Micro » sur le clavier affché à l'écran pour passer en mode de saisie vocale. Remarque: il se peut que certains modèles ne soient pas pris en charge.
- Placez le pointeur de la télécommande Magic Remote Control dans la zone de texte pour ouvrir le clavier virtuel.
- Sélectionnez le bouton « Micro » du clavier virtuel.
- La fenêtre de la fonction de reconnaissance vocale s'affiche (voir ci-dessous). Parlez lentement et clairément dans le microphone de la télécommande.

- Si votre discours contient des mots similaires à d'autres, une liste de résultats possibles apparaît (voir ci-dessous). Si la liste ne contient pas les résultats souhaités, appuyez sur TRY AGAIN pour réessayer. Sinon, sélectionnez un résultat et il s'affichera dans la zone de texte.

Précautions à prendre lors de l'utilisation du langage textuel:
- Vérifiez la connexion réseau avant de lancer la fonction Texte.
- Vous pouvez modifier la langue dans Paramètres > Tous les paramètres > Général > Langue > Langue du menu.
Pour utiliser temporairement une autre langue pour la reconnaissance vocale, appuyez sur le bouton rouge dans la fenêtre d'affichage des informations de reconnaissance vocale.
- Vous ne pouvez utiliser cette fonction que pour accepter les conditions de la reconnaissance vocale.
- Le taux de réussite de la reconnaissance vocale varie selon l'utilisateur (volume de la voix, prononciation, accent, vitesse d'élocution) et l'environnement (bruit et volume de la télévision).
- Pour améliorer les résultats de la fonction, parlez clairement et à voix haute à moins de 10 cm du microphone de la télécommande Magic Remote Control.
- La reconnaissance vocale n'est pas disponible dans les champs de saisie des mots de passe ou dans la barre d'adresse du navigateur Web (sauf pour la recherche générale).
Lancer un programme avec quick access
- Appuyez sur un chiffre de la télécommande et maintenez-le enfoncé pour ouvrir l'application ou activer la saisie correspondant à la touche.
Paramétrage de quick access:
- Lancez l'application ou sélectionnez le programme ou la saisie à programmer.
- Appuyez sur la touche numérique choisie (de 1 à 9) et maintenez-la enfoncée.
- La fenêtre de programmation apparait. Sélectionner Oui.
- Pour exécuter la fonction enregistrée, appuyez sur le chiffre correspondant et maintenez-le enfoncé.
- Pour voir la liste des fonctions qui peuvent avoir un accès rapide, sélectionnez un chiffre qui n'a pas encore été programmé dans le mode Modifier les accès rapides.
- Si le mode actuel ne permet pas d'exécuter Quick Access, il ne se passera rien.
- Si une application programmée en Quick Access est supprimée, le programme Quick Access correspondant sera également supprimé.
Afficher et modifier les accès rapides:
- Appuyez sur le bouton 0 de la télécommande et maintenez-le enfoncé.
- L'écran "Modifier les accès rapides" apparait.


- Sélectionnez un chiffre déjà programmé pour annuler le programme.
- Sélectionnez un chiffre qui n'a pas été affecté à un programme pour afficher les fonctions possibles.
- Les fonctions déjà programmées avec un chiffre différent sont indiquées par un symbole.
- Cliquez ici pour afficher une brève description de cette fonction.
Utilisation des fonctions d'enregistrement:
- Connectez un disque dur ou une clé USB à un port USB. Il est recommandé d'enregistrer sur un disque dur USB.
- Pendant le déroulement en direct de l'émission, appuyez sur le bouton (OK).
- Cliquez sur le bouton «Record» au bas de l'écran.
- Pour arrêter l'enregistrement, cliquez à nouveau sur «Record».
Notes sur la fonction d'enregistrement:
- Pendant l'enregistrement, appuyez sur le bouton (OK) pour afficher les informations correspondantes.
- La durée de la vidéo peut être définie avant de lancer la fonction.
- Si plusieurs périphériques USB sont connectés, le système sélectionne le dernier programmé.
- La partition du disque dur USB doit avoir au moins 1Go d'espace libre.
- Le périphérique USB doit avoir une partition d'au moins 4Go.
- Avec une première tentative d'enregistrement sur une clé USB, le téléviseur effectue un test.
- En raison de la technologie utilisée pour la protection du contenu, la vidéo enregistrée ne peut pas être lue sur un PC ou sur un autre modèle de téléviseur. De même, la vidéo ne pourra pas être lue si le circuit vidéo du téléviseur est remplacé.
- Ne débranchez pas le câble USB pendant l'enregistrement.
- Si vous éteignez le téléviseur pendant l'enregistrement, il est possible que la vidéo enregistrée ne soit pas sauvegardée. Vous devez arrêter l'enregistrement et vérifier que la vidéo a bien été enregistrée avant d'éteindre le téléviseur.
- La qualité de la vidéo dépend du périphérique USB utilisé. Si le périphérique USB est défectueux, l'enregistrement peut ne pas s'effectuer correctement.
- L'utilisation d'un hub ou d'un câble d'extension USB peut affecter le fonctionnement du périphérique USB. L'enregistrement peut être interrompu si la capacité de stockage restante est insuffisante.
- Il est recommandé d'utiliser un appareil disposant d'un espace suffisant.
- Les éléments configurables varient en fonction du modèle.
- Certaines fonctions peuvent ne pas être disponibles pendant l'enregistrement.
- Les seuls programmes qui puissent être enregistrés sont ceux diffusés et reçus par l'antenne.
- Il est possible que Bluetooth ne fonctionne pas correctement lorsque l'téléviseur enregistre sur un périphérique USB.
- Les vidéos de moins de 10 secondes ne seront pas sauvegardées.
- Vous pouvez sauvegarder jusqu'à 600 titres dans une même partition.
Gestion des vidéos:
Les vidéos stockées sur les périphériques de stockage peuvent être affichées et visualisées avec l'application Enregistrements.
- Appuyez sur la touche « List » de la télécommande et sélectionnez l'onglet Enregistements situé à gauche de l'écran.
- Sélectionnez « Enregistrement » en haut à droite.

- Sélectionnez le périhérique de stockage à consulter, le type d'enregistrement, la méthode de tri et le type d'affichage.
- Sélectionnez et supprimez le contenu comme vous le souhaitez.
- Des informations détaillées sur le contenu s'affichent. Si vous le désirez, modifiez le titre du contenu dans la fenêtre contextuelle.
- Lancez la recherche. Remarque: Les vidéos ne peuvent être lues que sur ce téléviseur.
Lecture des vidéos:
Les fonctions de base comme la lecture et la pause sont accessibles depuis l'écran de lecture.
- Sélectionner les vidéos dans l'application Enregistrements.
- Pour contrôler le déroulement de la vidéo, appuyez sur le bouton (OK) pendant la lecture.

- Accédez aux fonctions de lecture simples.
- Exécutez les réglages de lecture en boucle de la vidéo.
- Ici, vous pouvez ouvrir l'écran de configuration des fonctions complémentaires.
Configurations des fonctions complémentaires:
- Appuyez sur le bouton (OK) pendant la lecture de la vidéo souhaitée.
- Sélectionnez « Tous les paramètres » sur l'écran.

- Retourner aux options d'enregistrement.
- La liste des vidéos s'affiche sous la vignette pendant la lecture des enregistrements.
- Activez ou désactivez les sous-titres.
- Sélectionnez la langue de diffusion.
- Sélectionnez «Continuer à regarder» pour reprendre la lecture à la dernière scène visionnée.
- Retournez à l'écran normal ; les éléments configurables varient selon les modèles.
Utilisation du tableau de bord domotique:
- Vous pouvez sélectionner ou contrôler un appareil (téléphone mobile, périphérique externe, appareils de domotique IdO, etc.) connecté au téléviseur.
- Appuyez sur le bouton (HOME) de la télécommande et sélectionnez Écran de démarrage ou maintenez le bouton (HOME) de la télécommande.

- Vous pouvez sélectionner un appareil intelligent connecté avec l'application ThinQ App. Consultez la section Connexion d'un périphérique externe et Connexion d'un appareil intelligent dans le Guide de l'utilisateur pour plus d'informations.
- Vous pouvez reproduire le son d'un appareil intelligent connecté via Bluetooth. Pour plus d'informations, consultez la section Connexion de périphériques externes qui reproduisent le son d'un appareil connecté via le téléviseur dans le Guide de l'utilisateur.
- Vous pouvez sélectionner les périphériques externes connectés via le port d'entrée externe ou le réseau.
- L'enceinte sélectionnée s'affiche et son écran de configuration est disponible.
- Vous pouvez sélectionner les périphériques de stockage rattachés.
- Vous pouvez contrôler les appareils domotiques connectés IdO. Consultez la section Connexion de périphériques externes qui connectent des appareils pour sélectionner les options souhaitées.
- Les appareils connectés peuvent facilement être contrôlés en préselectant les opérations souhaitées.
- Connexion: vous pouvez vous connecter ou vous déconnecter du compte ThinQ que vous avez créé sur votre appareil mobile, modifier le nom d'un périphérique connecté à la borne d'entrée et des appareils domotiques connectés IdO, ou ajuster les paramètres associés.
- Mettez à jour la liste des services.
- Fermez l'écran de démarrage.
- Les paramètres disponibles varient selon la région et le modèle.
Connexion d'un appareil domotique connecté ido
Vous sous-poucez contrôler l'état des appareils domotiques connectés IdO.
- Installez l'application ThinQ sur votre smartphone.
- Connectez-vous à votre compte ThinQ et programmez votre appareil ThinQ.
- Appuyez sur le bouton (HOME) de la télécommande et sélectionnez Écran de démarrage.
- Appuyez sur «Paramètres» en haut à droite et sélectionnez Se connecter.
- Si vous vous trouvez dans une zone non desservie par ThinQ, vous ne pourrez pas connecter l'appareil ThinQ.
- Si vous utilisez votre application mobile pour contrôler le périphérique externe, il est possible que vous ne puissiez pas le contrôler simultanément via votre télécommande. Vous devez alors fermer l'application mobile pour pouvoir utiliser votre télécommande.

- Vous pouvez facilement contrôler votre appareil connecté en sélectionnant l'opération souhaitée.
- Vous pouvez vous connecter et vous déconnecter via le compte ThinQ créé sur l'appareil mobile.
- Modifier la liste: Changez le nom, affichez/masquez ou modifiez l'ordre des appareils domotiques connectés IdO. Notification: activez cette fonction pour recevoir des notifications sur l'état de l'appareil domotique IdO. Supprimer: pour supprimer le périphérique connecté. Vous ne pouvez supprimer que certains appareils.
- Consulter le guide de connexion des appareils domotiques IdO. Vous pouvez connecter et afficher les appareils programmés dans votre compte ThinQ.
Lorsque l'appareil est connecté, la vignette correspondante apparait en miniature au bas de la liste.
- Les paramètres disponibles varient selon le modèle et la région.
- La gamme d'appareils ThinQ compatibles avec un téléviseur est sujette à modification sans préavis.
- Les appareils ThinQ compatibles et les fonctions disponibles ne sont pas forcément les mêmes pour le téléphone mobile et le téléviseur.
Connexion des appareils intelligents
Connecter le téléviseur à un appareil intelligent vous permet d'exécuter différentes fonctions. Connecter votre appareil intelligent à un téléviseur avec ThinQ:
- Téléchargez ThinQ dans l'app store de votre appareil. Ce code QR facilite l'opération.
Android IOS

- Connectez votre téléviseur et votre appareil intelligent au même réseau Wi-Fi. Vous pouvez vérifier le réseau Wi-Fi du téléviseur dans Paramètres > Tous les paramètres > Réseau > Connexion Wi-Fi.
- Lancez ThinQ sur votre appareil intelligent.
- Suivez les instructions de ThinQ pour connecter votre appareil intelligent au téléviseur. Une fois votre compte ThinQ relié au téléviseur, vous pouvez : gérer les appareils IdO programmes dans votre compte depuis l'écran d'accueil du téléviseur.
Contrôler votre téléviseur avec ThinQ:
Vous pouvez contrôler le téléviseur avec les boutons de l'application sur l'écran de votre appareil intelligent.

- Certaines commandes fonctionnent de façon limitée en mode d'entrée externe. L'écran de l'application et ses fonctionnalités sont sujets à modification sans préavis.
- Les fonctions disponibles diffèrent selon le pays et le système d'exploitation.
- électionner une entrée avec des commandes vocales au lieu d'utiliser la télécommande.
- Vous pouvez utiliser les mêmes fonctions que le pointeur et les touches fléchées de la télécommande Magic Remote Control.
Remarque: Verrouillage pour les avis TV / l'activation des programmes / les applications / les sources : le mot de passe initial est « 0000 »
Réinitialiser un mot de passe oublié:
Si vous oubliez votre mot de passe, exécutez la procédure suivante pour le réinitialiser:
- Appuyez sur la touche «Paramètres» de la télécommande.
- Sélectionnez Tous les paramètres > Général > Sécurité
- Appuyez sur (Programmes) Flèche vers le haut > (Programmes) Flèche vers le haut > (Programmes) Flèche vers le bas > (Programmes) Flèche vers le haut sur la télécommande. Une fenêtre apparait. Saisissez les chiffres « 0313 » puis appuyez Enter et votre mot de passe sera rétabli.
Entretien de l'écran
Évitez de frotter ou de frapper l'écran avec un objet dur, car cela pourrait rayer, marquer ou même endommager l'écran de façon permanente. Assurez-vous que l'écran est installé dans un endroit où il sera à l'abri des abrasifs et des débris volants, ce qui pourrait endommager le panneau ACL. N'utilisez jamais d'ammoniaque ni de produit contenant de l'ammoniaque, car cela endommagerait le revêtement antireflet à la surface de l'écran. Utilisez uniquement un nettoyeur d'écran approuvé pour nettoyer la surface de l'écran. Débranchez le câble d'alimentation avant de nettoyer l'écran. Dépoussiérez l'appareil en essuyant l'écran et le boîtier avec un chiffon doux et propre. Si l'écran nécessite un nettoyage supplémentaire, utilisez un chiffon propre et humide. N'utilisez pas de nettoyants en aérosol, ni de solvants d'aucune sorte. N'utilisez pas de produits chimiques comme du diluant ou du benzène pour nettoyer l'extérieur du produit. Ceux-ci peuvent égratigner la surface et effacer les indications, les étiquettes d'identification ou le mode d'emploi figurant sur l'extérieur, ce qui peut entraîner une mauvaise utilisation et un mauvais fonctionnement du produit.
Mise en garde relative aux téléphones mobiles
Gardez-vous de tenir votre téléphone mobile éloigné de votre écran pour éviter de perturber l'image ou le son, ce qui pourrait endommager leur écran de façon permanente.
Directives relatives à la fin de vie
Dans le but de fabriquer des produits respectueux de l'environnement, votre nouveau écran contient des matières qui doivent être recyclées et réutilisées. À la fin de la durée de vie de votre écran, des entreprises spécialisées doivent minimiser le gaspillage en séparant les matières réutilisables des matières non réutilisables. Veuillez vous assurer de vous débarrasser de votre écran conformément à la réglementation locale.

Cet ordinateur est un équipement ménager. C'est un appareil à isolation électrique de l'ou « à double isolation », conçu pour ne pas nécessiter de connexion de sécurité.

Vous décidez de vous en défaire, veuillez noter que les déchets électriques ne doivent pas être mis au rebut avec les ordures ménagères. Veuillez le recycler en respectant la législation en vigueur. Consultez votre collectivité locale ou votre distributeur pour vous renseigner sur les consignes de recyclage (Directive sur les activités électriques et électroniques usagées).
Notice Facile