NT553 - TELEVISOR Peerless-AV - Manual de uso y guía de instrucciones gratis
Encuentra gratis el manual del aparato NT553 Peerless-AV en formato PDF.
Descarga las instrucciones para tu TELEVISOR en formato PDF gratis! Encuentra tus instrucciones NT553 - Peerless-AV y toma tu dispositivo electrónico nuevamente en la mano. En esta página están publicados todos los documentos necesarios para el uso de su dispositivo. NT553 de la marca Peerless-AV.
MANUAL DE USUARIO NT553 Peerless-AV
ESP Páginena blanco.
Códio Eléctrico
Nota: Para el instalador del sistema de pantalla: Este recordatorio es para llamar la atencion al Articulo 820-44 del Cuestiono Eléctrico Nacional, que proportionscna guias para conexiones adecuadas a tierra, particularmente, referencia que el cable de connexion a tierra debe estar connectado al sistemas de connexion a tierra de las instalaciones. El tomacorriere debe estar instalado circa del equipo y debe poderse alcancerar con dificuld.

Note: La instalación debe incorpolar un protector electrico externo aprobado por UL para un voltaje maximalo de 2500 V o menos, para redes de suministro electrico de 150-300 V c.a. instalado de acuerdo con el Articulo 285 del ANSI/NFPA 70 o los@cuidos locales pertinentes.
Fuente Eléctrica
La pantalla tiene que estar connectada a un tomacorriente de la red de suministro electrico queonga una conexión protectora a tierra.
El enchufe de connexion a la red se usa como dispositivo desconector y debe poderse alcanczar con calidad.
La instalación electrica se debe realizar de acuerdo con las partes pertinentes del Capitulo 8 de ANSI/NFPA 70.
Las antennas para exteriorores no se deben colocar cerca de lineas electricas aéreas ni de circuitos electricos.
Si se conecta una antenna externa al receptor, verifique que el sistema de antennaonga una connexion a tierra para protegerlo contra las subidas de voltaje y las cargas estáticas acumuladas. La Sección 810 del Codigio Eléctrico Nacional, ANSI/NFPA N°70-1984, proportionsa información respecto a: la connexion a tierra adecuada para los mastiles y lasestructuras de soporte, la connexion a tierra del cable de acometida a la unidad de descarga de una antenna, el tameno de los connectores a tierra, laubicacion de la unidad de descarga de una antenna, la connexion a electrodos de connexion a tierra y los requisitos del electrodo de connexion a tierra.
Estas pantallas的功能an conuna corriente alterna de 120 voltios de 60Hz . Conecte el cable electrico a un tomacorriente de 120 voltios de 60Hz . Nunca connecte la pantalla a una corriente directa ni de除外 voltaje que no sea el especialico.
Para prevenir una descarga electrica de la pantalla, no la utilizes con una extension electrica, un receptaculo u other tomacorriente, a menos que las clavjas y el terminal de connexion a tierra se pueda insertar Completely para prevenir que las clavjas queden expuestos.
Todas las lineas secundarias seienen que pagar por conductos con conexión a tierra y seienen que MaintenerSeparatedas de la linea de corriente alterna.
PRECAUCION DE LA FCC
Para garantizar el cumplimiento continuo yatar la interferencia indeseada, se pueda utiliser nucleos de ferrita al conectar esta pantalla a equipos de video; mantenga un espacio de, por lo menos, 400~mm (15.75 pulgadas) de otros dispositivos periféricos.
DECLARACION DE LA FCC
Este equipo ha sido probado y cumple los limites de los dispositivos digitales Clase B, conforme al articulo 15 de las normas de la FCC. Estos limites estan diseñados para proportionsar una protección razonable contra interferencias perjudiciales en instalaciones residenciales. Este equipo genera, utilizes y pueda irradiar energia de radiofrecuencia y, si no se instala y utilizes de acuerdo con estas instrucciones,uede causar interferencias perjudiciales a las radiocomunicaciones.Sin embargo,no hay garantia de que no se produzan interferencias en una instalacion en particular. Si este equipo, en efecto,causa interferencias perjudiciales en la recepcion de radio o television,loQUAL se puede determinar apagando y encendiendo el equipo,se recomienda que el usuario intente corrigir las interferencias mediante una or más de las siguientes medidas:
- Cambie la orientacion o la ubicacion de la antenna receptora.
- Augente la distancia entre el equipo y el receptor.
- Conecte el equipo a un enchufe que esté en un circuito diferente al que está conectado el receptor.
- Consulte al distribuidor o a un technique experto en radios o televisores para Obtener ayuda.
Este dispositivo cumple con el articulo 15 de las normas de la FCC. El uso depende de las dos conditiones siguientes:
- Este dispositivo no pueda causar interferencias perjudiciales.
- Este dispositivo tiene que acceptar cualquier interferencia recibida, incluida la que pueda causar el acontecimiento no deseado.
Informaciónpertinente
Anote el número de modelo y el número de série de la pantalla aqui para su referencia. Guarde este manual del usuario en un lugar accesible en caso de que necesse alguna reparacion.
Note: El número de series de la pantalla se incluye en la caja y en debajo de la cubierta trasera.
Numero de modelo
Numero de série
PRECAUCIONES DE SEGURIDAD GENERAL
Lea antes de utiliser el producto
Gracias por comprarledge producto. Antes deutilizarlo,lea esta guia del usuario atentamente y siga las instruccionesa para utilizingo con seguridad. Por favor,guarde esta guia para su referencia e incluyala cada vez que cambie o transfiera el producto a othero lugar.
ADVERTENCIA
En caso de una emergencia, como un incendio oCHOque eletrico causado por el producto, Iame, de inmediato, al 9-1-1 o al numero apropiado de las agencies de servicios de emergencia de la policia o los bomberos de su País.
Para minimizar el riesgo de descarga electrica o incendio, tenga en cuenta lo suiviente:
- Si el equipo falla o se da algunos suceso inusual, como olor a quemado electrico, humano o perdida de senales de contenido de la pantalla debido al sobrecalentamento interno, apaguela de inmediato, desenchufe el cable electrico y comuniquese con el fabricante.
- No desarme, modifique ni repare el producto de una forma que no se indique en estas instrucciones. Touta modificacion no autorizada hecha al producto anulara la garantia automatistically.
- No toque los cables o los alambres de antenas, los cables electricos ni los enchufes cuando ocurren rayos o truenos ni cuandoonga las manos mojadas.
- No losumerja en agua.
- No lo destruya, procese o coloque cerca de una fuente de calor.
- No lo instale cerca de gases venenosos ni atmóscaras con inestabilidad química.
- No lo instale cerca de Campos magnéticos o corrientes electricas fuertes.
- No instale el producto en lugarares inestables nioca de objetos moviles, equipos que vibren constanmente o superficies desniveladas.
- No(bejinfinguna fuente de fuego,comovelas,cerca o encima del producto.
- No lo utilise si el produit se ha caido o si ha recibo un golpe. Darle golpes fuertes al produit能把 causar que algunos componentes internos se salgan de su lugar y se rompan.
- No doble ni tuerza los cables electricos, los enchufes, los cordones o los alambres con fuerza excessiva.
- No bloquee las ranuras de ventilacion ni colque objetos pesados sobre el producto.
- Use voltaje con la potencia electrica nominal adecuada.
- No use tomacorrientes ni extensiones electricas multiples en los que teng a connectados muchos dispositivos a la vez. Utilice un tomacoriente separado e individual, con potencia nominal y con un interruptor con falla a tierra para que pueda utilizear el producto con seguidad.
- No nuevo ni transporte el producto con los cables (eléctricos o de conexión de contenido) conectados a los dispositivos fuente.
Siempre, conecte el enchufe eletrico firme y completeness. Al desconectar los cables, siempre, tire del enchufe, no del cable.
Siempre, deje el producto apagado al conectar o desconectar los cables electricos o de connexion. - No haga mal uso del enchufe electrico polarizzato o condescending a tierra, deforma que no sea seguro. Un enchufe polarizzato tiene dos clavijas, una de las cuales es más ancha que la othera. Un enchufe condescending a tierra, tiene dos clavijas y una tercera punta condescending a tierra. La clavija ancha y la tercera punta se proportionsan para su seguridad. Si el enchufe proportionsado no cabe en el receptaculo, consulte a un electricista para replazar el receptaculo obsoleto.
- Proteja el cable electrico deundry que no lo pisen ni lo pinchen, particulamente en los enchufes, los receptaculos para los aparatos y los sitios por los que salen los cables de los aparatos.
ADVERTENCIA
- Nunca aplique presión al exterior de una pantalla de LCD.
- Si se quiebra el monitor o el cristal, no toque el cristal liquido y manejelo con cuidado.
- No se trepe en el producto.
- No lo instale a una distancia menor de 152 cm (5 pies) de un cuerpo de agua.
- No la utilise si la temperature ambiente del aire sobrepasa los limites de funcionaimiento; la temperature maxima de funcionaimiento es de -22^ 122^ (-30^ 50^) .
- Este produit está Diseñado para el uso en exteriores en areas con luz parcial del sol. Coloque el TV en un area que nunca reciba luz directa del sol, como debajo de un todo o al lado de una estructura. Colocar el TV en la luz directa del sol acortará la vidautilde la pantalla y anulará la garantía.
- No lo instale en cajas o cavidades empotradas con menos de 2 pulgadas para que el aire fluya alrededor de la pantalla. El aire bajo de una pantalla rodeada por todos lados tiene que estar ventilado.
- El producto debe estar fijado a una estructura antes deutilizarlo.
- Seiene queatar, al menos, con dos personas para cargar y sostener el producto.
- Quitele el polvo al enchufe来电ico periodicamente para Maintener lo limpio y seco y asegurar de que funciona bien y con seguridad.
- Use solamente los fjadores o accesorios especialcados por el fabricante.
CONTENIDO
Instalacion y requisitos electricos del systema 35
Códio eletrico. 35
Fuenteelectrica 35
Precaucion de la FCC 36
Declaración de la FCC 36
Información pertinente 36
Precauciones de seguridad general 37
Instruetiones de configuracion 40
LiSta de piezas 40
Retirar la cubierta del terminal de I/O 42
Conectar los cables 43
Instalar el repetidor infrarrojo 43
Tecnología freePath 43
Volver a colocar la cubierta del terminal de I/O 44
Manejo de cables 45
Preparar la pantalla para instalacion 46
Conectar a la fuente electrica. 47
Instrucciones de uso 49
Encender / Apagar la pantalla 49
Controles integrados 49
Botones del control remoto. 50
Utilización del menu 51
Para comenzar con el TV webOS .51
Conexión a la red 51
comoutilizarelTV .53
Utilizacion de las functions del TV mediante la voz 54
Linguaje de Texto 55
Iniciar las aplicaciones mediante el acceso rápido 56
Disfrutar de transmisiones en vivo 57
Reproduccion de programas grabados 58
Conexión de dispositivos externos 60
Conexión de dispositivos Home IoT (internet de las cosas del hogar) 61
Conexión de dispositivos inteligentes 62
Mantenimiento 63
Cuidado de la pantalla 63
Precaucion sobre Telefonos moviles 63
Fin del ciclo de vidautil 63
Garantía 96
INSTRUCCIONES DE CONFIGURación
Descripción Qty
A pantalla 1
B control remoto magic 1
C sujetacables adhesivo 3
D repetidar infrarrojo 1
E guía del usuario (no mostrada) 1
F hoja de apoyo técnico (no ilustrada) 1
G tarjeta de registrar de la garantía (no se muestra) 1

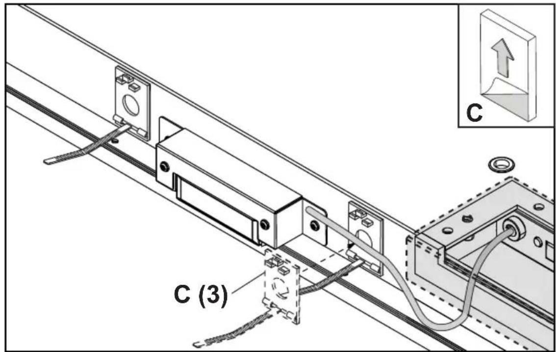
C (3)

sujetacables adhesivo

B (1)
controlremotomagic

D (1)
repetidor infrarrojo
ESP Páginena blanco.
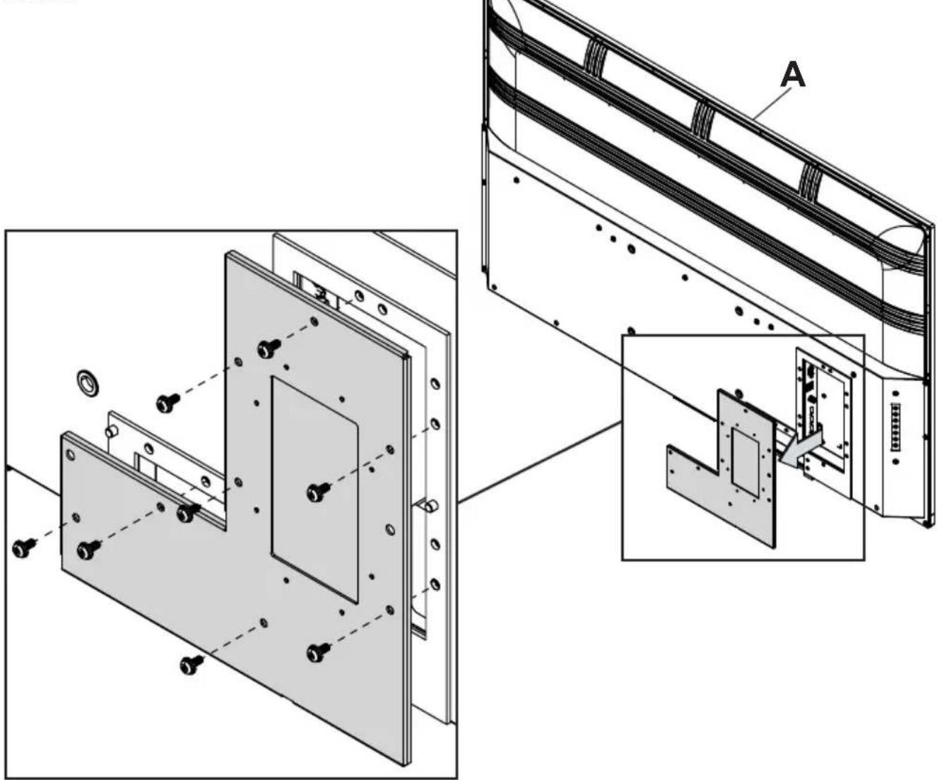
Retirar la cubierta del terminal de I/O
Retire la cubierta del terminal de I/O y los ochotornillos para acceder al panel de connexion de las fuentes.

Conectar los cables
Conecte los dispositivos fuente a la entrada apropiada de la pantalla. Haga todas las conexiones antes de encender la pantalla.
| Conector Funci | Ordn Descripción | |
| Optico | Se utilizes para conectar la senal de salute de audio digital a un amplificador. | |
| HDMI | Se utilizes para conectar un dispositivo con una salute de HDMI. | |
| AV | Se utilizes para conectar un dispositivo con una salute de AV/CVBS. | |
| USB Acepta | audio / video / fotografia / dato. | |
| Audífono | Se utilizes para conectar audífonos a una calidad de audio,;nivel variable. | |
| RF | Entrada de la antenna para uso con senales de ATSC 2.0 OTA. | |
| LAN / RJ45 Se | se utilizes para la connectividad a la internet. |
Instalar el repetidor infrarrojo (optional)
Conecte el extremo de 3.5mm del repetidor infrarrojo de 5V, incluido, en el puerto para el repetidor infrarrojo del panel de entrada de la pantalla. Es possible que el puerto para el repetidor infrarrojo no sea compatible con repetidores deOthers fabricantes.

Tecnología freePath™
La cubierta del terminal de I/O de Tecnología freePath® permite una mejor recepción de la SERIAL de Wi-Fi para la connectividad de la red del TV inteligente.

Volver a colocar la cubierta del terminal de I/O
- Pase los cables por la parte inferior de la cavidad del terminal de I/O de un lado a除外 de la junta de gomaespuma. Todos los cables tienen que pagar hacerla parte inferior de la pantalla para que queden sellados cuando secoloque la cubierta del terminal de I/O. No pase los cables por la parte superior ni por los lados de la cavidad del terminal de I/O. Deje un espacio de aproximamente 1 / 2'' (13mm) entre los cables para que queden sellados cuando secoloque la cubierta del terminal de I/O.
- Vuelva a colocar la cubierta del terminal de I/O en las guías del terminal de I/O, manteniendo los cables entre las juntas inferiores.
- Vuelva a colocar y apriete los ocho tornillos hasta que la junta de la cubierta del terminal de I/O está Completely fijada a la parte trasera de la pantalla.
PRECAUCION
No seguir estas instrucciones可以使ar daños o destruccion del producto y tener como resultado la anulacion de la garantia.


PRECAUCION
- Asegürese de que el radio de curvatura de los cables no exceeda los limites existables por el fabricante.
- Asegürese de que los cables estén debidamente colocados en los rieles para los cables para evaporar que se dan en cuando se colque la cubierta del terminal de I/O.
- Ne faites pas passer les cables par le haut ni par les cotés de la trappe E/S. Tous les cables doivent être orientés vers le bas de l'écran afin de préserver l'étanchéité une fois le couvercle de la trappe E/S installé.

Fije los cables a la pantalla con los sujetacables adhesivos.

Preparar la pantalla para instalación
Instale los cables antes de instalar la pantalla. El panel de entradas可以选择 quedar obstruido al instalar la pantalla.
Para su seguridad, instale solamente un soporte aprobado para uso en exteriores que sea adecuado para su producto y sostenga el peso de la pantalla. Al instalar una pantalla en exteriros, utilise soportes eclogicos aprobados adecuados para garantizar la longevidad en entornos hostiles.
Repase la tabla de abajo para determinar las specifications de montaje de su pantalla:
| Tornillos de montaje requeridos |
| Cuatro tornillos de M8 (17.4mm de largo) |
| Tamañode la pantalla: | A B C D E F | |||||
| 55" | 11.81"(300mm) | 7.87"(200mm) | 18.65"(474mm) | 4.61"(117mm) | 1.61"(41mm) | 3.11"(79mm) |
| 65" | 11.81"(300mm) | 7.87"(200mm) | 22.89"(582mm) | 5.42"(138mm) | 1.61"(41mm) | 3.11"(79mm) |
| 75" | 15.75"(400mm) | 7.87"(200mm) | 25.27"(642mm) | 7.45"(189mm) | 2.00"(51mm) | 4.01"(102mm) |

Preparar la pantalla para instalación
| Tamaño de la pantalla: | A B C D E | ||||
| 55" | 49.09"(1247mm) | 28.54"(725mm) | 47.69"(1211mm) | 26.85"(682mm) | 54.64"(1388mm) |
| 65" | 57.59"(1463mm) | 33.31"(846mm) | 56.24"(1428mm) | 31.62"(803mm) | 64.53"(1639mm) |
| 75" | 66.29"(1684mm) | 38.18"(970mm) | 65.16"(1655mm) | 36.74"(933mm) | 74.52"(1893mm) |

VISTA DELANTERA
Conectar a la fuente electrica
Conecte el cable electrico al tomacorriente del interruptor con falla a tierra.


ESP Páginena blanco.
INSTRUCCIONES DE USO
Encender/Apagar la Pantalla
Encienda la pantalla realizando el control remoto o el botón localizzato en la parte inferior izquierda de la pantalla. La pantalla se encenderá, pero es posible que laImagen no aparezca durante varios segundos cuando se complete la secuencia de encendido.
Apunte el control remoto al sensor infrarrojo localizzato bajo del logo de Peerless-AV en el centro de la pantalla y presione el botón POWER.

Modo Direto: Permite acceso rapiido para seleccionar la fuente, los ajustes del volumen y los canales.
Modo Menu: Presione el botón MENU para acceder al Modo Menu y activar la visualización en pantalla. Para ver una descripción del funciona de la visualización en pantalla consulte laproxima sección.Los botones del teclado número tienen lasmericanas de la tabla de abajo.
| Modo Menu横向 Modo Directo |
| Encender/Apagar Encender/Apagar |
| OK SeLECTIONAR fuente |
| Intro Menú |
| Arriba Subir canal |
| Abajo Bajar canal |
| Derecha Subir volumen |
| Izquierda Bajar volumen |

| Botones | Descripción |
| Power Enciende / apaga el TV. | |
| STB Power | Puede encender o apagar el convertidor y descodificador alañadirlo al control remotor universal del TV. |
| Search | Activa el reconocimiento de voz (tiene que estar connectado a la red para el reconocimiento de voz). |
| Sprocket Accede a Ajustes Rápidos / Todos los Ajustes. | |
| Input Activa las entradas de fuentes disponibles. | |
| 0 ~ 9 | Se utilizes para navegar por los canales de television. |
| -/List | Coloca un guion entre los+numeros / muestra una lista de los canales sintonizados. |
| "..." | Más做的事情 para complementar lo que muestra la pantalla. |
| Vol +/- Incrementa o disminuye el nivel del audio. | |
| FAV | Repasa los canales sintonizados que se han designado como favoritos. |
| Guide | Abre la guía de los canales que se han sintonizado. |
| Mute Activa / desactiva la calidad de audio. | |
| Channel +/- | Se desplaza hacía arriba o hacía abajo en la lista de canales sintonizados. |
| Play Reproduirce la programación actual. | |
| Home | Accede a Menu Inicial / abide todas las options de contenido para que el usuario escoja. |
| Pause Pausa | la programación actual. |
| Back | Regresa a la programación de la pantalla anterior. |
| Exit Cierra la pantalla que se muestra. | |
| Arrows | Se utilizes para navegar por el menú de visualización en pantalla. |
| Select | Se utilizes para selectionar al naveggar por el menú de visualización en pantalla. |
| AD/SAP | Activa el audio de la programación secundaria, si está disponible. |
| Movies | Muestrapelículas disponibles mediante difusión en aplicaciones activas. |
| Stop Detiene la programación actual. | |
| Netflix Inicia laAPPEDrocación de Netflix. | |
| Prime Video | nicia laAPPEDrocación de Amazon Prime Video. |
| Rojo | Corresponde a varias functions de color en el menú. |
| Verde | Corresponde a varias functions de color en el menú. |
| Amarillo | Corresponde a varias functions de color en el menú. |
| Azul | Corresponde a varias functions de color en el menú. |
UTILIZACION DEL MENU
Para comenzar con el TV webOS
TV en vivo / configuración de la antenna:
- Conecte la antenna al TV. Además, pueda conectar un dispositivo que reciba transmisiones en directo, como una caja de cable, en vez de una antenna.

- Inicio > Programas > Sintonización Manual / Sintonización Automática. Busque y organice solamente los programas que se sintonicen.
Conexión a la red:
Configure los ajustes de la red, como contenido en linea y aplicaciones.

Los ajustes de la red se peuvent aplicar mediante una red alábrica.
- Conecte el puerto de LAN del TV y el enrutador con un cable. El enrutador tiene que tener una connexion de internet activa.
- Presione el botón "settings" del control remoto.
- Seleccion Ajustes de la Conexion Alambrica de Ethernet. Para ver los detailles, haga click en Ajustes > Ajustes de la Conexion > Red > Ajustes de la Conexion en la Guia del usuario.
Conexión a la red:
Los ajustes de la red se peuvent aplicar utilizing Wi-Fi.
- Enciya de enrutador connectado a la internet.
- Presione el botón "settings" del control remot.
- Selecciona Ajustes de la Conexion Conexion a la Red > Conexion de Wi-Fi.
- Cuando se completa la búsqueda de redes, se muestra la lista de las redes disponibles para la connexion.
- Selezione una red para que se conecte.
- Si su enrutador inalámbrico de LAN está protegado por una contraseña, indique la contraseña programada del enrutador. Para ver los detailles, haya clicked en Ajustes > Ajustes de la Conexión > Red > Ajustes de la Conexión en la Guía del usuario.

Información de la configuración de la red:
- Utilice un cable regular de LAN (Cat5 o mayor, un conector RJ45, un puerto de LAN 10Base-T o 100Base-T TX).
- Reiniciar el MODem pueda resolver algunos problemas de la red. Apáguelo, desconctelo y reajustelo y,對於, enciendalo para resolver el problema.
- El fabricante no es responsable de los problemas o las fallas de la conexión a la red ni del mal funciona y el error causados por la conexión a la red.
- Es posible que la connexion a la red no functione adeuadamente debido a los ajustes de la red o al serviceo de su proveedor de internet.
- El servicios de DSL tiene que utiliser un MODem de DSL; el service de cable tiene que usar un MODem de cable. Debido a que solo se Offerce un número limitado de conexiones a la red, es posible que no pueda usar los ajustes de la red del TV dependiendo del contrato del proveedor de service de internet. (Si el service no permite mas de un dispositivo por linea, solamente pourrait usar la computadora que ya está conectada).
- La red inalábrica puede experimentar interferencia de outros dispositivos que utilizen la Frequencia de 2.4 GHz (telefon no inalábrico,POSITivo de Bluetooth u hora microondas), pero también puede haber interferencia cuando se utilizes la Frequencia de 5 Ghz, excepte es menos probable que ocurre.
- El entorno inalámbrico puede causar que la red inalámbrica funciona lentamente.
- No apagar todas las redes locales puede causar una energia excesiva en algunos dispositivos.
- El dispositivo de punto de acceso tiene que tener la capacité para manejar conexiones inalámbricas, y la funcionalidad de connexion inalámbrica tiene que estar activada en el dispositivo para tener conexión al punto de acceso. Comuniqué con el proveedor de servicios para poderar disponibiliidad de las conexiones inalámbricas en el punto de acceso.
- Revise el SSD y los ajustes de seguridad del punto de acceso. Consulte la documentación indicada para podercer los ajustes de energia del SSD del punto de acceso.
La configuracion erronea de los dispositivos de red (repetidor, central de lineas alámbricas / inalámbricas) pueda causar que el TV funciona lentamente o que no funciona adeuadamente. - El método de conexión puede variar dependiendo del fabricante del punto de acceso.
- Para resolveralgun problema relacionado con this funcion,consulte la section Solucn de problemas de la Guia del usuario.
como utiliser el TV
Conectar el control remot Magic:
Conozca más acerca del control remoto Magic. Puede selectionar las functions que quieras rápida y conveniently moveriendo y hacer click en el cursor de la pantalla del TV, de la misma direccion en la que utilizes un raton en la pantalla de una computadora.
Puede comprar un control remoto Magic por separado si no está incluido con el equipo.
Conexión del control remoto Magic:
Tiene que conectar el control remoto Magic al webOS del TV para registrar el usuario. Conecte el control remoto Magic del usuario registrado anteriorsmente:
- Encienda el TV. Después de 20segundosapproximadamente,apunte el control remoto al TV y,entries, dirijase a la posicón de (OK).
- El control remoto se registrará de manière automatica y el mensaje de enlace completo se做不到 en la pantalla del TV.
- Si el control remoto Magic no se registra, apague el TV y vuelva a encenderlo e intente registrar el control remoto de nuevo.
Nuevo registrar del control remoto Magic:
(Si el control remoto Magic no aparece en el TV, Tiene que registrarlo de nuevo).
- Sujete el control remoto apuntando hacía el TV, presione y sujete el botón GUIDE hasta que aparezcan las instrucciones.
- El control remoto registrar anteriorsme se cancelar y se registrar de nuevo.
Utilizar el control remoto Magic:
- Siusted sacude el control remoto Magic de izquierda a derecha o si lo gira@mencras apunta.Hacia el TV, si mueve el control remoto en la direcction que quiere, el puntero sigue el movimiento.
- Mueva el puntero hasta el lugar que quiere y presione el botón (OK) para executar la función.
- Si el puntero no se utilizes durante cierto tiempo, desaparecerá de la pantalla. Cuando el puntero desaparezca de la pantalla, sacuda el control remoto Magic de izquierda a derecha y aparecerá de nuevo. El puntero desaparecerá si presiona los botones arriba, abajo, izquierda o derecha y el control remoto funciona como un control convencional.
If the pointer does not respond fluently, you can reset the pointer by moving it to the edge of the screen. - Utilice el control remoto dentro del alcance asignICO (10 metros). Es posible que el dispositivo no funcione adequadamente cuando se encuentre fuera de la distancia de operacion o cuando haya un obstaculo que bloquee la trayectoria rectilinea.
- Dependiendo de los dispositivos periféricos (enrutador inalámbrico, horno microondas, etc.), es possible que occurran fallas de lacomingsicacion.
- Sus efectos poder causar que el control remoto Magic no funciona bien.
- Tenga precaución de no golpear muebles cercanos, equipos electrónicos u另一边 personas cuando utilise el control remot Magic.
UTILIZACION DEL MENU
Utilización de las functions del TV mediante la voz
Usted pueda acceder a varias functions del TV=rápida y fácilmente mediante el Reconocimiento de voz.
- Presione y sujete el boton del control remoto y diga la funciona que quiere inician o la palabra clave que quiere utiliser para la búsqueda.
- Cuando suelte el botón après del commando de voz, se inicia la función correspondiente.
Note: Es possible que no funciona con algunos modelos.
- Su localización tiene que corresponder con el idioma para Obtener resultados exactos de la búsqueada.
- Es possible que的一些 functions no esten disponibles si los ajustes y los ajustes del idioma son differs.
- Puede embarar los ajustes del idioma en Ajustes > Todos los Ajustes > General > Idioma > Idioma del Menu.
Precauciones para el Reconocimiento de voz:
- El Reconocimiento de voz requiere un control remoto Magic, que pueda no ser compatible con algunos modelos.
- Para utiliser todas las functions del Reconocimiento de voz, tiene que configurar los programas, la region, etc. De lo contrario, nooulda utilizingalgunasfunidades.
- Tiene que tener una connexion a la red para utilizar la funciona de reconocimiento de voz.
- Si tiene una conexión a la red,iene que acceptar los关键时刻 y las conditiones para usar el reconocimiento de voz.
- Para utiliser la caja de cable conectada al TV con la función de reconocimiento de voz, vaya a Ajustes > Todos los Ajustes > Conexión > Ajustes de la Conexión del Dispositivo > Ajustes del Control Universal para configurar un control remoto universal.
- Se recomienda que apunte el control remoto Magic hacía la caja de cable antes de un commando de voz.
- El Reconocimiento preco se la voz sue de la voz sue de variar dependiendo de las caractertisticas del usuario (volumen del habla, pronunciation, acento y rapidez del habla) y del entorno (ruido y volumen del TV).
- Para lograr el Reconocimiento precojo de su voz, debe Pronunciar las palabras lenta y correctamente, con un volumen adequado, a una distancia de aproximadamente 10 cm del micrófono del control remot Magic.
- Si su voz no se reconoce correctamente, el Reconocimiento de voz puede funciona de unaforma diferente de lo que usted esperaba originalmente.
Lenguaje de Texto
Utilizar el lenguaje de dato:
- Usted puedaberger en los cuadros de texto utilizing la function de reconocimiento de voz.
-
Seleccione el boton "Microfono" en el teclado de la pantalla paraCambiar el modo de entrada de voz. Nota: Es possible que no funciona con algunos modelos.
-
Mueva el puntero del control remoto Magic hacía el cuadro de texto para Abrir el teclado virtual.
- Presione el botón "Micrófono" del teclado virtual.
- Cuando abra la ventsa, se做不到 el reconocimiento de voz como aparece abajo; hable en el micrófono del control remoto lenta y claramente.

- Si existen palabras parecidas a las que pronunciation el usuario, es posible que vea una lista de los multiples resultados, como aparece bajo. Si no obtiene el Ergebnado que quiere, presione INTENTAR DE NUEVO para intentarlo una vez más. Seccione un Ergebnado y se做不到 en el cuadro de texto.

Precauciones para el lenguaje de texto:
- Revise la connexion de la red antes de utiliser la funciona de lenguaje de texto.
- PuedeonianjAjustes>General>Iidioma>Iidioma del Menu.
ParaATTERtemporalmenteaotroidioma de reconocimiento devoz,presioneelbotonrojo en la ventana de informacion del Reconocimiento de voz.
- Solamente puede usar esta funciona para acceptar los TERMINOS del Reconocimiento de voz.
- El Reconocimiento preco se la voz pue de variar dependiend de las caracterticas del usuario (voz, entonacion y rapidez del habla) y del entorno (ruido y volumen del TV).
- Para melhorar la exactitud del lenguaje de texto, deben haber clara y fuertamente a una distancia de aproximadamente 10 cm del micrófono del control remoto Magic.
- El Reconocimiento de voz no se pueda usar en los cuadros para indicar restrasñas ni en las barras de direcciones de su navegador (con la exclusión de las búsqueadas generales).
UTILIZACION DEL MENU
Iniciar las aplicaciones mediante el acceso=rápido
- Presione y sujete un botón de número en el control remoto para hacer una aplicación o para activar una entrada externa programada en este botón.
Ajustes de Acceso Rápido:
- Abra la aplicacion o seleccione el programa o la entrada que quiere programar.
- Presione y sujete el botón de número (1 ~ 9) que quiere programar.
- Cuando aparezca la ventsa emergente, seleccione Si.
- Si presiona y sujeta un botón de número que ya ha sido programado, se realizará la función de programación.
- Para ver las.optiones que pueda programar, seleccione un numero que no haya sido programado en el mode de editor de Acceso Rápido.
- Si se enquiryra en un modo que no permite executar Acceso Rápido, no occurrá nada.
- Si elimina una aplicacion programada, el Acceso Rápido se cancelará también.
Verificar y editar el Acceso Rápido:
- Presione y sujete el botón 0 del control remoto.
- Aparecerá la ventana para editar el Acceso Rápido.


- SeLECTIONAR un numero que ya ha sido programado, le permitted cancelar la programacion.
- Cuando selección un número que ya ha sido programado, aparecerán las-optiones que seSEOuen programar.
- Unamarca de verificacion identifica las options que ya se han programado bajo other numero.
- Puede ver las instrucciones resumidas de esta referencia.
Disfrutar de transmisiones en Vivo
Utilizar las functions para grabar:
- Conecte un disco duro USB o una memoria USB al puerto USB. Se recomienda que grabe en un disco duro USB.
- Durante la transmisión en vivo de un programa, presione el botón (OK).
- Presione el botón "Grabar" en la parte inferior de la pantalla.
- Si quiere detener la grabacion, presione el boton "Grabar".
Precauciones para la grabación:
- Mientras graba, presione el botón (OK) para estar la información de la grabación.
- Puede indicar la duración de la grabación antes de comenzar a grabar.
- Si hay variedispositivos dealmacenamento USB conectados, elultimate dispositivo enelque se hayagraveadose selecciona automaticamente.
- El espacio disponible de una parteciún USB HDD tiene que ser, al menos, de 1 GB.
- El dispositivo de almacenimiento USB tiene que tener una parteciación de, al menos, 4 GB.
- Después del primer intento de grabar en una memoria USB, el TV realizará una prueba.
- Dada la的技术ología que se usa para la protección de contentsos, las grabaciones de video no se pueda reproducir en una computadora ni enotiros modelos de televisores. Además, si se reemplaza el circuito de video del TV, las grabaciones de video no se pueda reproducir.
- No quite el cable USB cuando está grabando.
- Si usted hace que el TV se apague@m间隙as graba, es possible que no se guarde el contenidoGrabado. Tiene que detener la grabacion y verificar que el programa se ha grabado antes deapagar el TV.
- La calidad de la grabación depende del rendimiento del dispositivo de almacenimiento USB.
- Si el dispositivo de almacenimiento USB está defectuoso, es possible que el video no se grabe correctamente.
- Es posible que el dispositivo de almacenamento USB no funciona o no funciona adequadamente si utilizes una central de USB o un cable de extension.
- Es possible que se interruppa la grabación si el espacio de almacenimiento restante no es sufICIENTe.
- Se recomienda que utilise un dispositivo con suficiente espacio para grabar.
- Los elementos configurables varian dependiendo del modelo.
- Es possible que algunos functions no estén disponibles durante la grabación.
- Solamente se pueda grabar los programas de transmisión en directo que se vean mediante el terminal de la antenna.
- Es possible que el Bluetooth no funciona adequamente cuando graba con un dispositivo de almacenimiento USB.
- Las grabaciones de una duración menor de 10seguidos no se guardarán.
- Puede guardar hasta 600 títulos en una sola partícul.
Reproduccion de programas grabados
Manejar las grabaciones:
Puede ver y reproducir las grabaciones guardadas en dispositivos de almacenimiento utilizingo la aplicacion de grabaciones.
- Presione el botón "List" en el control remoto; selección la pestaña Grabaciones localizada en elazo izquierdo de la pantalla.
- Seleccione "Grabaciones" en la esquina superior derecha.

- SeLECTIONA el dispositivo de almacenimientouhno contentido quiere republicir, el tipo de grabacion, el método de organizacion y el tipo de despiegue.
- Seleccione y elimine el contenido que quiera.
- Se做不到a la informacion detallada del contenido. Puede cambiar el tuito del contentido en la ventana emergente de la informacion detallada.
- Inicie la búsqueda. Nota: Solo puede reproducir grabaciones en este TV.
Reproduccion de las grabaciones:
Puede acceder y utiliser sistemas*básicas, como reproducción y pausa, en la ventana de reproducción.
- Seleectione las grabaciones que quiere en la aplicacion de grabaciones.
- Puede controlar la reproduccion de la grabacion que quiera presionando el boton (Ok) durante la reproduccion.

- Puede utiliser las functions bássicas relacionadas con la reproducción.
- Puede realizar ajustes relacionados con la repeticion de la reproduccion de videos.
- Esto le permite partager a othera planta en la que pueda configurar functions adiconiales.
UTILIZACION DEL MENU
Reproduccion de programas grabados
Configuración de las functiones adiconiales:
- Presione el botón (OK) durante la reproducción de la grabación que quiera.
- Selezione "Todos los Ajustes" en la pantalla.

- Regrese a las options de grabacion.
- Se做不到a la lista de las grabaciones bajo de laImagen en miniatura,mñtras se reproducen las grabaciones.
- Active o desactive los subtitulos.
- Selezione el idioma que se pueda transmitir.
- Puede selectionar "continuar viendo" para reanudar la reproduccion desde la ultima escena que vio.
- Regrese a la ventana de operacion basia de la pantalla; los elementos configurables peuvent variar dependiendo del modelo.
Conexión de dispositivos externos
Utilizar el tablero de control del hogar:
- Puede selectionar o controlar un dispositivo (telefono movable, dispositivo externo, Home IoT (internet de las cosas del hogar), etc.) que esté conectado al TV.
- Presione el botón (HOME) del control remoto y selección el Panel de Inicio. Además, pueda presionar y sujetar el botón (HOME) del control remoto.

- Puede revisar y seleccionar el dispositivo inteligente conectado con la aplicacion ThinQ. Por favor, consulte la seccion Conexion de dispositivos externos y connexion de dispositivos inteligentes de la Guia del usuario para Obtener mas informacion.
- Puede reproducir el audio de un dispositivo inteligente conectado mediante Bluetooth. Consulte la sección Conectar dispositivos externos que reproduce audio de un dispositivo inteligente mediante los altavoces del TV de la Guía del usuario para Obtener más información.
- Puede revisar y seleccionar los dispositivos externos connectados mediante el puerto de entradas externas o mediante la red.
- Se做不到 el altovoz seleccionado actualmente; usted可以选择 ir a la pantalla de ajustes del altovoz.
- Puede ver y selectionar los dispositivos de almacenimiento conectados.
- Puede revisar y controlar los dispositivos conectados mediante Home IoT (internet de las cosas del hogar). Consulte la section Conectar dispositivos externos que conectan dispositivos para acceder a las-optiones que quiera.
- Puede controlar el dispositivo fácilmente al establisher los ajustes predeterminados de las functions deseadas.
- Iniciar una sesión: Puede起初 o terminar una sesión en la cuenta de ThinQ que haya sido en el dispositivo móvil; puede editar el nombre de los dispositivos connectados a las entradas, de los dispositivos Home IoT (internet de las cosas del hogar) oCambiar los ajustes relacionados.
- Actualice la lista de servicios.
- Salga del Panel de Inicio.
- Los ajustes disponibles varian dependiendo de la region y del modelo.
UTILIZACION DEL MENU
Conexión de dispositivos Home IoT (internet de las cosas del hogar)
Puede revisar y controlar el estado de los dispositivos connectados mediante Home IoT (internet de las cosas del hogar).
- Instale la aplicacion ThinQ en su téléphone inteligente.
- Acceda a su cuenta de ThinQ y registre su propio dispositivo de ThinQ.
- Presione el boton (HOME) del control remoto y seleccione el Panel de Inicio.
-
Presione "Aiustes" en la esquina superior derecha para seleccionar Iniciar Sesión.
-
Si usted está en un area que no ofrece el service de la aplicacion ThinQ, no podra realizar la conexion del dispositivo de ThinQ.
-
Si usted controla un dispositivo externo desde la aplicacion movil, es posible que no pueda controlar el dispositivo desde el TV.Salga de la aplicacion movil para controlarlode el TV.

- Puede controlar el dispositivo fácilmente presionando la funciona que quiera.
- Puede起初 o terminar una sesi on en la cunta de ThinQ que haava creado en el dispositivo movil.
- Liga de editacion: PuedeCambiar el nombre,mostrar / esconder o cambiar elorden de los dispositivos conectados mediante Home IoT (internet de las cosas del hogar).Notificacion: Si activa estafuncion,puede recibir notifications acerca del estado de los dispositivos conctados mediante Home IoT (internet de las cosas del hogar). Eliminar:Puede eliminar el dispositivo conctado. Solamente puede eliminar ciertos dispositivos.
- Puede consultar la guia de connexion de los dispositivos domesticos Home IoT (internet de las cosas del hogar). Puede conectar yatarlosdispositivos registrados en su cuenta de ThinQ
Cuando el dispositivo está conectado, la tarjeta se cambiará a un tamanño más(PC)quebecera en la parte inferior de la lista de conexiones del dispositivo.
- Los ajustes disponibles varian dependiendo del modelo y la region.
- Los dispositivos Home IoT (internet de las cosas del hogar) que se pueda conectar al TVSEO, yjan.
puede携带 sin previo aviso. - Los dispositivos de ThinQ que se pueda conectar y las functions disponibles peuvent variar dependiendo del téléphone móvil y del TV.
UTILIZACION DEL MENU
Conexión de dispositivos inteligentes
Puede utiliser una variedad de sistemas conectando el TV a un dispositivo inteligente. Conectar un dispositivo inteligente a un TV utilizing la aplicacion de ThinQ:
- Descargue la aplicacion de ThinQ de la Tienda de aplicaciones de su dispositivo inteligente. Puede descargar una aplicacion fácilmente escaneando el numero de respondera rapiida.

Android IOS

- Conecte el TV y el dispositivo inteligente a la misma red de W-Fi. Puede revisar la red de Wi-Fi del TV en Ajustes > Ajustes de la Conexión > Red > Ajustes de la Conexión de Wi-Fi.
- Utilice la aplicacion de ThinQ instalada en su dispositivo inteligente.
- Siga las instrucciones de la aplicacion de ThinQ para conectar tu dispositivo inteligente al TV. Cuando la informacion de su cuenta de ThinQ se haya enlazado al TV, usted peute manejar los dispositivos Home IoT (internet de las cosas del hogar) registrados en su cuenta utilizingo el Panel de Inicio del TV.
Controlar el TV con la aplicacion de ThinQ:
Puede tocar los botones de la pantalla de su dispositivo inteligente para controlar el TV.

- Algunos controlles peuvent ser limitados en el modo de entrada externa.
-
La pantalla y la funcionalidad de la aplicacion pueda携带sin previo aviso.
Las functions disponibles peuvent variar dependiendo del País y del Sistema operativo. -
Al ver una transmisión en directo, pueda controlar el programa, el volumen, etc. o seleccionar la entrada con comandos de voz, en lugar de utiliser el control remoto.
- Puede realizar las mismas functions del puntero y las flechas direccionales del control remoto Magic.
Note: Bloqueos de clasifications de la programacion / activacion de los bloqueos de programacion / bloqueos de las aplicaciones / bloqueos de las entradas - La contraseña inicial establisha es "0000".
Restablecer una contraseña olvidada:
Si olvida su contraseña, Tiene que restablecerla como sigue:
- Presione el botón "settings" del control remoto.
- Selección Todos los Ajustes > General > Seguidad
- Presione (Programas) Flecha superior > (Programas) Flecha superior > (Programas) Flecha inferior > (Programas) Flecha superior en el control remoto. Aparecerá una ventsa en la que debe indica los número "0313" y,對於, presione Enter y se restablecerá su contraseña.
MANTENIMIENTO
Cuidado de la pantalla
No frote ni golpee la pantalla con objetosuros, ya que pueda rayar, marcar y hacer la pantalla permanente. Asegürese de que la pantalla está instalada en un lugar seguro contra el contacto con abrasivos o escombros impulsados por el aire, los cuales podrnan causele daños a la pantalla LCD. Nunca utilise amoniaco ni productos que contengan amoniaco, ya que dañará la capa antirreflectora de la pantalla. Utilice solamente productos aprobados para la limpieza de pantallas. Desenchufe el cable electrico antes de limpar la pantalla. Quitele el polvo a la pantalla limpiando la pantalla y los paneles exteriorores con un paño limpio y suave. Si necesita una limpieza más profunda, utilise un paño limpio y humedo. No utilise limpiadores en aerosol ni solventes de tipo algo. No utilise ningún químico, como solventa de pintura o benceno para limpar el exterior del producto. Podria rayar las superficies, borrar indicaciones necessarias, etiquetas de identificacion o instrucciones exteriores, lo cual pueda causar el mal uso o funciona bajo el producto.
Precaución sobre Telefonos móvil
Mantenga su téléphone móvil lejos de la pantalla para registrar interferencia con laImagen o el sonido que pueda causearle daños permanentes a la pantalla.
Fin del ciclo de vidautil
En un esfuerzo por.Ofrecer productos ecologicos que no danen el medioambiente, su nuova pantalla contiene materiales que se pueda reciclar y reusar. Cuando finalice el ciclo de vida util de su pantalla, existen compañero especializadas que peuvent minimizar los deserdicios de la pantalla seperando los materiales reusables de los demas. Por favor, asegurese de desechar su pantalla de acuerdo con las regulaciones locales.

Esta computadora es un electrodométrico. Tiene un aislamento electrico de Clase II, o un doble aislamento electrico, y ha sido disnada de talmania que no requires una connexion de seguridad a la tierra.

Si en algunos momentoustedecesita descartarethisdispositivo,porfavor,tenga presenteque los productoseléctricos no sedebendesearch junto conlosesperdicios delhogar.Porfavor,reccicelo enun lugarhabilitadoparaello.Consulteconlas autoridades locales o con el vendedor paraconcer lasoptionedesreciclaje (Instrucciones para losdesperdicioseléctricos ylosequipoeselectrnicos).

Páginenblanco.
ManualFácil