NH3225ANDROID - Téléviseur NIKKEI - Notice d'utilisation et mode d'emploi gratuit
Retrouvez gratuitement la notice de l'appareil NH3225ANDROID NIKKEI au format PDF.
| Caractéristiques | Détails |
|---|---|
| Taille de l'écran | 32 pouces |
| Résolution | HD Ready (1366 x 768 pixels) |
| Type d'écran | LED |
| Connectivité | HDMI, USB, Wi-Fi, Ethernet |
| Système d'exploitation | Android TV |
| Fonctionnalités Smart TV | Accès aux applications de streaming, navigateur web |
| Consommation énergétique | Classe énergétique A |
| Dimensions (L x H x P) | 73.5 x 43.5 x 8.5 cm |
| Poids | 5.5 kg |
| Maintenance | Nettoyer l'écran avec un chiffon doux, éviter les produits chimiques agressifs |
| Sécurité | Ne pas exposer à l'humidité, utiliser sur une surface stable |
| Garantie | 2 ans |
FOIRE AUX QUESTIONS - NH3225ANDROID NIKKEI
Téléchargez la notice de votre Téléviseur au format PDF gratuitement ! Retrouvez votre notice NH3225ANDROID - NIKKEI et reprennez votre appareil électronique en main. Sur cette page sont publiés tous les documents nécessaires à l'utilisation de votre appareil NH3225ANDROID de la marque NIKKEI.
MODE D'EMPLOI NH3225ANDROID NIKKEI
AV en HDMI - signal de compatibilité
| Bron Ondersteunde signalen | ||
| Composite/Achter AV | PAL | |
| SECAM | ||
| NTSC4.43 | ||
| NTSC3.58 | ||
| Component(YPbPr) | 480i, 480p 60Hz | |
| 576i, 576p 50Hz | ||
| 720p 50Hz,60Hz | ||
| 1080i | 50Hz,60Hz | |
| HDMI | 480i | 60Hz |
| 480p 60Hz | ||
| 576i, 576p 50Hz | ||
| 720p 50Hz,60Hz | ||
| 1080i | 50Hz,60Hz | |
| 1080p | 24Hz, 25Hz, 30Hz, 50Hz, 60Hz | |
Introduction 4 Installation du support & Fixation murale. 4 Mise sous/hors tension du téléviseur 7 Commande et fonctionnement du téléviseur.........7 Télécommande 8 Assistant de configuration initiale. 9 Contenu du Menu du Mode TV en Direct. 12 Chaines 12 Options TV. 12 Enregistrement 13 Réglages 13 Réseau & Internet. 13 Chaine 14 Comptes et Connexion 16 Applications 16 Préférences de l'appareil 16 Liste des chaines 20 Enregistrement USB 25 Enregistrement instantané 26 Regarder les programmes enregistrés 26 Enregistrement du décalage temporel. 26 Format de Disque 26 Liste des programme. 26 CEC. 27 Google Cast 27 Système HBBTV 28 Dépannage et astuces 29 Modes d'affichage typiques de l'entrée VGA....30 Compatibilité des signaux AV et HDMI. 30 Résolutions DVI prises en charge 35 Informations de la disposition. 37

Attention
RISQUE DE CHOC
ELECTRIQUE
NE PAS OUVRIR

ATTENTION: POUR ÉVITER TOUT RISQUE DE CHOC
ELECTRIQUE, NE RETIREZ PAS LE COUVERGIE
(OU L'ARRIÈRE).
L'ENTRETIEN DES PIECES INTERNES EST
INTERDIT AUX UTILISATEURS. VEUILLEZ CONFIER
L'ENTRETIEN A UN PERSONNEL QUALIFIÉ.
Pendant des phénomènes météorologiques extrêmes (tempêtes, foudre) et de longues périodes d'inactivité (aller en vacances), débranchez le téléviseur du secteur.
La prise d'alimentation est utilisée pour débrancher le téléviseur de l'alimentation secteur et doit donc rester facilement accessible. Lorsque vous ne débranchez pas le téléviseur du secteur, il continue d'absorber de l'énergie, quel que soit son état, même s'il est en mode veille ou éteint.
Remarque: Respectez les consignes à l'écran afin d'utiliser les fonctions y relatives.
Important - veuillez prêter attention à ces instructions avant d'installer ou de faire fonctionner votre appareil
AVERTISSEMENT: Cet appareil n'a pas été fabriqué pour être utilisé par des personnes (y compris les enfants) aux capacités physiques, sensorielles ou intellectuelles réduites ou manquant d'expérience et de connaissances, à moins d'avoir été encadrées ou formées à l'utilisation de l'appareil par une personne responsable de leur sécurité.
- Utilisez cet appareil à une altitude inférieure à 5000 mètres au-dessus du niveau de la mer, dans des endroits secs ou des régions ayant un climat modéré ou tropical.
- Le poste de TV est destiné à un usage domestique et à un usage intérieur similaire, mais peut également être utilisé dans des lieux publics. Pour des besoins d'aération, laissez un espace d'au moins 5 cm devant le téléviseur.
- Ne gênez pas la ventilation en la recouvrant ou en bloquant les ouvertures avec des objets tels que des journaux, des nappes de table, des rideaux, etc.
- Le cordon d'alimentation doit être facilement accessible. Ne posez pas le téléviseur ou le meuble, etc., sur le cordon d'alimentation. Un cordon/une fiche d'alimentation endommagé(e) peut provoquer un incendie ou un choc électrique. Tenez le cordon d'alimentation par la fiche et évitez de le tirer pour débrancher le téléviseur. Ne touchez jamais le cordon/la fiche d'alimentation avec les mains mouillées, cela peut causer un court-circuit ou un choc électrique. Ne nouez et n'attachez jamais le
cordon d'alimentation à d'autres cordons. Lorsqu'il est endommagé, faites-le remplacer par un personnel qualifié.
- N'exposez pas le téléviseur à des gouttes ou des éclaboussures de liquide et ne posez pas d'objets contenant du liquide tels que les vases, les tasses, etc. sur ou au-dessus du téléviseur (par exemple sur les étagères au-dessus de l'appareil).
- N'exposez pas le téléviseur à la lumière directe du soleil ou ne placez/ne dirigez pas des flammes nues telles que les bougies allumées au-dessus ou à proximité du téléviseur.
- Ne placez pas des sources de chaleur telles que les chauffages électriques, les radiateurs, etc. à proximité du téléviseur.
- Ne posez pas le téléviseur à même le sol et sur des surfaces inclinées.
- Pour éviter des risques de suffocation, tenez les sacs plastiques hors de la portée des bébés, enfants et des animaux domestiques. Fixez soigneusement le support au téléviseur. Si le support est fourni avec des vis, serrez-les fermement pour éviter que le téléviseur ne s'incline. Ne serrez pas trop les vis et montez convenablement les supports en caoutchouc.
- N'éliminez pas les batteries dans le feu ou avec des matériaux dangereux ou inflammables.
Avertissement
- N'exposez pas les piles à une chaleur excessive telle que celle du soleil, du feu ou autre.
- Une pression excessive du son provenant des écouteurs et haut-parleurs peut entraîner une perte d'ouïe.
AVANT TOUTE CHOSE - NE JAMAIS laisser quiconque, les enfants en particulier, pousser ou porter des coups sur l'écran, insérer des objets dans les trous, les fentes ou les autres ouvertures du boîtier.
| Attention | Blessures graves ou risque de mort |
| Risque d'électrocution | Risque de tension dangereuse |
| Entretien | Composant d'entretien important |
Symboles sur le produit
Les symboles suivants sont utilisés sur le produit pour marquer les instructions relatives aux restrictions, aux précautions et à la sécurité. Chaque explication se rapporte uniquement à l'endroit du produit portant le symbole correspondant. Veuillez en tenir compte pour des raisons de sécurité.

Équipement de classe II: Cet appareil, de par sa conception, ne nécessite pas d'branchement sécurisé à un système électrique et ce à la terre.
Terminal sous tension dangereux: Les bornes marquées, dans des conditions normales d'utilisation, sont dangereuses lorsqu'elles sont sous tension.

Mise en garde, voir instructions d'utilisation: Les zones marquées contiennent des piles en forme de bouton ou
de pièce de monnaie replacables par l'utilisateur.

Produit Laser de Classe 1: Ce produit est équipé d'une source laser de Classe 1 sans danger dans des conditions d'utilisation raisonnables.
raisonnablement prévisibles.
Avertissement
N'avalez pas la pile. Les produits chimiques y contenus pourraient vous brûler.
Ce produit ou les accessoires fournis avec celui-ci pourraient partager une pile bouton. L'ingestion d'une pile bouton peut causer non seulement de sévères brûlures internes en seulement 2 heures, mais aussi le décès.
Gardez les nouvelles et anciennes piles hors de portée des enfants.
Si le compartiment à piles ne se ferme pas correctement, arrêtez d'utiliser le produit et tenez-le hors de la portée des enfants.
Si vous pensez que des piles ont été avalées ou logées n'importe où à l'intérieur du corps, consultez de toute urgence un médecin.
Un téléviseur peut tomber, causant des blessures graves ou mortelles. Vous pouvez éviter de nombreuses blessures, notamment aux enfants, en prenant des précautions simples telles que:
- TOUJOURS utiliser les armoires ou les supports ou les méthodes de montage recommandées par le fabricant du téléviseur.
- TOUJOURS utiliser des meubles qui peuvent supporter le téléviseur en toute sécurité.
- TOUJOURS vous assurer que le téléviseur ne dépasse pas le bord du meuble de support.
- TOUJOURS informer les enfants des dangers de grimper sur les meubles pour atteindre le téléviseur ou ses commandes.
- Acheminer TOUJOURS les cordons et les câbles reliés à votre téléviseur de façon à ce qu'ils ne puissent pas être trébuchés, tirés ou saisis.
- Ne JAMAIS placer un téléviseur dans un endroit instable.
- Ne JAMAIS placer le téléviseur sur un meuble haut (par exemple, une armoire ou une bibliothèque)
sans ancrer à la fois le meuble et le téléviseur sur un support approprié.
- Ne JAMAIS placer le téléviseur sur du tissu ou autres matériaux qui pourrait se couvrir entre le téléviseur et les meubles de support.
- Ne JAMAIS placer d'objets qui pourraient inciter les enfants à grimper, comme des jouets et des télécommandes, sur le dessus du téléviseur ou du meuble sur lequel le téléviseur est placé.
- L'équipement est uniquement adapté pour un montage en hauteur ≤ 2m
Si le téléviseur existant doit être conservé et déplacé, les mêmes considérations que ci-dessus doivent être appliquées.
Lorsque l'appareil est connecté à la mise à la terre de protection du BATIMENT par l'alimentation SECTEUR ou par d'autres appareils avec un branchement à la mise à la terre de protection ou à un système de distribution de télévision via un câble coaxial, cela peut, dans certaines circonstances, comporter un risque d'incendie. Par conséquent, assurez-vous que le branchement à un système de distribution de télévision soit assuré par un dispositif garantissant une isolation électrique inférieure à une certaine gamme de fréquences (isolateur galvanique).
Avertissements liés à la fixation MURALE
- Lisez les instructions avant de monter votre téléviseur au mur.
- Le kit de fixation murale est en option. Vous pouvez vous en procurer chez votre vendeur local, s'il n'est pas fourni avec votre téléviseur.
- N'installez pas le téléviseur au plafond ou sur un mur incliné.
- Utilisez les vis de fixation murale et autres accessoires recommandés.
- Serrez fermement les vis de fixation murale pour éviter la chute du téléviseur. Ne serrez pas trop les vis.
Les schémas et les illustrations dans ce Manuel d'utilisateur sont fournis à titre de référence uniquement et peuvent différer de l'aspect réel de l'appareil. La conception et les caractéristiques de l'appareil peuvent être modifiées sans notification.
Nous vous remercions d'avoir choisi notre produit. Vous allez bientôt profiter de votre nouveau téléviseur. Veuillez lire attentivement ces consignes. Elles contiennent des informations importantes qui vous aideront à tirer le meilleur parti de votre téléviseur et vous assureront une installation et un fonctionnement sûrs et corrects.
Accessoires inclus
- Telecommande
- Piles:2xAAA
- Manuel d'Instruction
Fonctions
- Télévision couleur avec télécommande
- Système d'exploitation Android™
- Google Cast
- Recherche vocale
- TV numérique / par câble entièrement intégrée (DVB-T-T2/C)
- Entrées HDMI pour connecter d'autres appareils aux prises HDMI
- Entre USB
- Entrées composites pour appareils externes (lecteurs DVD, PVR, jeux vidéo, etc.)
- Système de son stéréo reproduction
- Télatexte
- Connexion de casque
- Système de programmation automatique
- Réglage manuel
- Minuteur de mise en veille
- Minuterie Marche / Arrêt
- Désactiver la minuterie
- Fonction de coupure de l'image
- Pas d'arrêt automatique du signal :
- Entrée VGA
- Ethernet (LAN) pour la connectivité et le service Internet 802.11 a/b/g/n/ca Support WLAN intégré HbbTV
Dommage dynamique élevée (HDR) / Log-gamma hybride (HLG)
Grâce à cette fonctionnalité, le téléviseur peut réproduire une plus grande plage dynamique de luminosité en capturant et en combinant plusieurs expositions différentes. La HDR/HLG garantit une meilleure qualité de l'image grâce aux points saillants plus clairs et plus réalistes, une couleur plus réaliste et autres améliorations. Il offre l'effet tant recherché par les cinéastes, éclairant les zones cachées des ombres et de la lumière du soleil avec toute la clarté, la couleur et les détails. Les contenus HDR / HLG sont pris en charge par des applications natives et de marché, des entrées HDMI, USB et des émissions DVB.
Préparations
Retirez le(s) socle(s) de l'emballage et posez le téléviseur sur une table de travail, avec le panneau de l'écran couché sur un tissu propre et doux (couverture, etc.)
Utilisez une table plate et solide, plus grande que le téléviseur. - Ne tenez pas le panneau de l'écran. - Évitez de rayer ou de briser le téléviseur.
Montage du socle
- Installez le(s) support(s) sur le modèle de montage du support à l'arrière du téléviseur.
- Insérez les vis fournies, puis serrez-les tout doucement jusqu'à ce que le support soit correctement fixé.
Retrait du socle du téléviseur
Assurez-vous de poser le socle de la manière suivante lors de l'utilisation de la fixation murale ou du remballage du téléviseur.
- Posez le téléviseur sur une table de travail, avec le panneau de l'écran couché sur un tissu propre et doux. Laissez le(s) support(s) en saillie sur le bord de la surface.
- Dévissez les vis qui fixent le(s) support(s).
- Retirez le(s) support(s).
Lors de l'utilisation du support mural
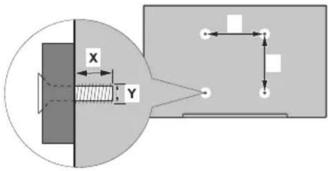
Votre téléviseur est également compatible avec les supports muraux conformes à la norme VESA. Si le support mural n'est pas fourni avec votre téléviseur, contactez votre revendeur local pour acheter celui recommandé.
Les trous et les mesures utilisés pour l'installation du support mural sont indiqués ci-après.

| MESURES DU MONTAGE MURAL VESA | ||
| Modèle de trou Tailles (mm) | W | H |
| 75 75 | ||
| Tailles de vis | ||
| Longueur (X) | min. (mm) 7 | |
| max. (mm) 8 | ||
| Fil (Y) M4 | ||
Branchement de l'antenne
Connectez l'antenne ou une prise de télévision par câble à l'ENTREE ANTENNE (ANT) qui se trouve à l'arrière du téléviseur.
Dos du téléviseur


Si vous souhaitez connecter un appareil au téléviseur, assurez-vous que le téléviseur et l'appareil sont hors tension avant de les relier. Une fois les connexions terminées, vous pouvez allumer les dispositifs et les utiliser.
Autres connexions

Si vous souhaitez connecter un appareil au téléviseur, assurez-vous que le téléviseur et l'appareil sont hors tension avant de les relier. Une fois les connexions terminées, vous pouvez allumer les différents dispositifs et les utiliser.
| Connecteur Type Câbles Périè | phérique | ||
| COMPOSANT | Connexion Vidéo Composante (retour) | Câble de Connexion VGA vers Composant | |
| Connexion HDMI (arrière et côté) | |||
| Connexion VGA (arrière) | |||
| AUDIO | Connexion VGA/ Composant Audio (arrière) | Composant/VGA Câble Audio | |
| SPDIF | Connexion SPDIF (Sortie coaxiale) (arrière) | ||
| COMPOSITE | Composite (Audio/ Vidéo) Connexion (arrière) | Câble Audio/Vidéo | |
| ECOUTEUR | Connexion Casque (côté) | ||
| Connexion USB (côté) | |||
| Connexion CI (côté) | |||
| LAN | Connexion Ethernet (côté) | Câble LAN / Ethernet | |
Pour activer l'audio VGA/Composant, vous devez utiliser les entrées audio arrière avec un câble audio VGA/Composant pour la connexion audio. Lorsque vous utilisez le kit de montage au mur (fourni par un tiers du contrat, si non fourni), nous vous recommandons de connecter tous vos câbles à l'arrière du téléviseur avant l'installation murale. Insérez ou effacez le module Cl uniquement lorsque le téléviseur est ETEINT (SWITCHED OFF). Veuillez consulter le manuel d'instruction du module pour plus de détails sur les réglages. Les entrées USB sur les périphériques de support TV jusqu'à 500mA. En branchant les appareils dont la valeur actuelle dépasse 500mA, vous courez le risque d'endommager votre téléviseur. En connectant un appareil au téléviseur à l'aide d'un câble HDMI afin de garantir une immunité suffisante contre les parasites radioélectriques, vous nevez utiliser un câble HDMI haute vitesse (qualité supérieure) entièrement protégé.
Branchement à l'alimentation
IMPORTANT: Le téléviseur a été conçu uniquement pour fonctionner avec une prise de 220-240 V CA, 50Hz
Après le déballage, laissez le téléviseur atteindre la température ambiante de la pièce avant de le brancher sur la prise secteur.
Branchez le câble d'alimentation à la prise secteur. Le téléviseur s'allume automatiquement.
Pour allumer le téléviseur à partir du mode veille
Lorsque le téléviseur est en mode veille, l'indicateur LED reste allumé. Pour allumer le téléviseur à partir du mode veille :
- Appuyez sur le bouton de Veille (Standby) de la télécommande.
- Appuyez sur le bouton de commande du téléviseur. Le téléviseur s'allume ensuite.
Pour faire basculer le téléviseur en mode veille
Le téléviseur ne peut pas être mis en mode veille avec le bouton de commande. Appuyez sur le bouton Veille de la télécommande et maintenez-la enfoncée. Le dialogue de mise hors tension s'affiche à l'écran. Mettez OK en surbrillance et appuyez sur le bouton OK. Ainsi, le téléviseur passera en mode veille.
Pour permettre l'éteigniseur hors tension
Pour arrêter complètement le téléviseur, débranchez le cordon d'alimentation du secteur.
Mode de veille rapide
Permettreleteleviseur en mode veille rapide soit;
- Appuyez sur la touche Standby de la télécommande. Appuyez de nouveau pour retourner au mode de fonctionnement.
- Appuyez sur le bouton de commande du téléviseur. Appuyez à nouveau sur le bouton de commande pour revenir au mode de fonctionnement.
Commande et fonctionnement du téléviseur

Le bouton de commande vous permet de contrôler les fonctions de Mise en Veille Rapide du téléviseur.
Remarque: La position du bouton de contrôle varie selon le modèle.
Pour éteindre le téléviseur (Veille Rapide) : Appuyez sur le bouton de commande pour mettre le téléviseur en mode veille rapide.
Pour éteindre le téléviseur (Veille) : Le téléviseur ne peut pas être mis en mode veille à l'aide du bouton de commande.
Pour allumer le TV : Appuyez sur le bouton de commande, le téléviseur s'allume.
Remarque: Le menu Réglages TV en direct OSD en mode TV en direct ne peut pas être affiché via le bouton de commande.
Fonctionnement de la TV à l'aide de la télécommande
Appuyez sur le bouton Menu de votre télécommande pour afficher le menu Réglages TV en direct une fois dans Mode TV en direct. Appuyez sur le bouton Accueil pour afficher ou retourner à l'écran d'accueil du téléviseur Android. Utilisez les boutons de direction pour déplacer la mise au point, continuez, puis ajustez certains réglages et appuyez sur OK pour faire des sélections afin d'effectuer des modifications, de définir vos préférences, d'entrer dans un sous-menu, lancer une application, etc. Appuyez sur le bouton Précédent/Retour pour retourner à l'écran du menu précédent.
Sélection d'entrée
Une fois les équipements externes connectés à votre téléviseur, vous pouvez commuter entre différentes sources d'entrée. Appuyez successivement sur la touche Source de votre télécommande ou utilisez les boutons de direction, puis appuyez sur le bouton OK pour passer à différentes sources en mode TV en direct. Ou entrez dans le menu Entrées sur l'écran d'accueil, sélectionnez la source souhaitée dans la liste et appuyez sur OK.
Changer les chaînes et régler le volume
Vous pouvez ajuster le volume à l'aide des boutons Volume + / - et changer de chaîne dans le mode TV en direct à l'aide des boutons Programme + / - de la télécommande.

Insertion des piles dans la télécommande
Retirez au préalable la vis qui fixe le couvercle du compartiment des piles sur le côté arrêté de la télécommande. Soulevez délicatement le couvercle. Insérez deux piles 1,5 V de taille AAA. Assurez-vous que les signes (+) et (-) correspondent (respectez la polarité). Ne confondez pas les nouvelles piles avec les piles usées. Remplacez uniquement par une pile identique ou de type équivalent. Replacez le couvercle. Vissez à nouveau le couvercle.
Bouton veille
Appuyez sur le bouton Veille de la télécommande et maintenez-la enfoncée. Le dialogue de mise hors tension s'affiche à l'écran. Mettez OK en surbrillance et appuyez sur le bouton OK. Ainsi, le téléviseur passera en mode veille. Appuyez brièvement sur le bouton et relâchez pour faire basculer le téléviseur en mode Veille rapide ou pour allumer le téléviseur lorsqu'il est en mode Ve Veille rapide ou en mode Veille.
- Veille : Veille rapide / Veille / Marche
- Boutons numériques : change de chaîne en mode TV en direct, puis introduit un chiffre ou une série dans l'écran de la case de saisie.
- Langue : bascule entre les modes sonores (TV analogue), affiche et change la langue audio (le cas échéant, en TV numérique)
- Accueil: Ouvre l'Écran d'Accueil
- Mise en sourdine : Réduit complètement le volume du téléviseur
- Volume +/-
- Guide : Affiche le guide électronique de programme en mode TV en direct
- Boutons de direction : permet de naviguer entre les menus, de paramétrer les options, déplacer le focus ou le curseur, etc., définir le temps d'enregistrement et afficher les sous-pages en mode TV en direct - Télétexte lorsque vous appuyez sur le bouton Gauche ou Droite. Suivez les instructions à l'écran.
- OK: Confirme les sélections, accède aux sous-menus, visualise la liste des chaînes (en mode TV en direct)
- Précédent/Retour: Revient à l'écran de menu précédent, recule d'un pas, ferme les fenêtres ouvertes, ferme le télétexte (en mode Live TV-Teletext)
- Netflix: Lance l'application Netflix.
- Menu: Affiche le menu Réglages TV en direct en mode TV en direct, affiche les options de réglage disponibles telles que le son et l'image.
- Arrêt : suspend définitivement la lecture du média en cours.
- Rembobiner : Lecture rapide en arrière des médias comme les films.
- Enregistrer: enregistrer les programmes en mode TV en direct
- Boutons de couleur: Suivez les instructions qui s'affichent à l'écran pour les fonctions des boutons de couleur.
- Ouvre et ferme le télétexte (si disponible en mode TV en direct)
- Pause :_suspend la lecture du média et démarre l'enregistrement programme en mode TV en direct Lire :_démarre la lecture du média sélectionné
- Avancer rapidement : permet d'avancer la lecture des fichiers multimédia comme les films
- MyButton1: Ouvre le menu de réglage du mode d'image sur les sources disponibles
- YouTube : Lance l'application YouTube.
- Retour : Permet de fermer et de quitter les menus Paramètres TV en Direct, de fermer l'Écran d'Accueil, de quitter toute application ou menu en cours ou la bannière OSD, de passer à la dernière source définie
- Info : Affiche les informations concernant le contenu sur écran
- Source: Affiche toutes les sources de diffusion et de contenu disponibles, ferme l'Écran d'Accueil et passe à la dernière source définie
- Programme +/-: Augmente / réduit le nombre de chaînes en mode TV en direct.
- Sous-titres : Active et désactive les sous-titres (si disponibles)
Assistant de configuration initiale
Remarque: Suivez les instructions qui s'affichent à l'écran pour achever le processus d'actualisation. Utilisez les boutons de direction et le bouton OK de la télécommande pour sélectionner, configurer, confirmer et poursuivre.
Lors de la première mise en marche, un écran de bienvenue s'affiche. Sélectionnez la langue de votre choix et appuyez sur OK. Suivez les instructions qui s'affichent à l'écran pour régler le téléviseur et installez les chaînes. L'assistant d'installation vous guide tout au long de l'installation. Vous pouvez effectuer la configuration initiale à tout moment en utilisant l'option Réinitialiser dans le menu Paramètres>Préférences de l'appareil. Vous pouvez accéder au menu Paramètres à partir de l'écran d'accueil ou du menu des options TV en Mode TV en direct.
1. Message d'accueil et sélection de la langue
Le message « Bienvenue » s'affiche avec les options de sélection de la langue affichées à l'écran. Sélectionnez la langue désirée dans la liste et appuyez sur OK pour continuer.
2. Configuration initiale
Après la sélection de la langue, vous pouvez démarrer l'assistant de configuration initial. Mettez en surbrillance Continuer et appuyez sur OK pour continuer. Vous ne pourrez pas revenir en arrière ni modifier la langue une fois que vous continuez. Si vous souhaitez modifier la langue après cette étape, vous devrez faire basculer le téléviseur en mode veille afin que le processus de configuration commence dès le début lors du prochain démarrage du téléviseur. Pour ce faire, appuyez et maintenez le bouton Veille enfoncé. Une boîte de dialogue de confirmation s'affichera. Sélectionnez et appuyez sur OK.
3. Recherche d'accessoires
Une recherche d'accessoires sera effectuée après le démarrage de la configuration initiale. Suivez les informations à l'écran pour jumeler votre télécommande (selon le modèle de la télécommande) et d'autres accessoires sans fil avec votre téléviseur. Appuyez sur le bouton Précédent/Retour pour terminer l'ajout d'accessoires et continuer.
4. Installation rapide
Si vous n'avez pas connecté votre téléviseur à Internet via Ethernet, un écran s'affiche, dans lequel vous pouvez transférer le réseau WLAN et le Compte Google de votre téléphone Android sur votre téléviseur. Mettez en surbrillance Continuer et appuyez sur OK pour continuer. Suivez les instructions à l'écran de votre téléviseur et de votre téléphone pour terminer le processus. Vous pouvez également sauter cette étape en sélectionnant l'option Sauter. Certaines
étapes peuvent être ignorées en fonction des réglages effectués à cette étape.
Si vous avez déjà connecté votre téléviseur à Internet via Ethernet, un message indiquant que vous êtes connecté s'affiche. Vous pouvez désirer de continuer avec la connexion câblée ou de changer le réseau. Mettez en surbrillance Modifier réseau et appuyez sur OK si vous souhaitez utiliser une connexion sans fil au lieu d'une connexion filaire.
5. Connexion réseau
Vous passerez automatiquement à l'étape suivante si vous connectez votre téléviseur à Internet via Ethernet à ce stade. Sinon, les réseaux sans fil disponibles seront recherchés et répertoriés sur l'écran suivant. Sélectionnez votre réseau WLAN dans la liste et appuyez sur OK. Entrez le mot de passe à l'aide du clavier virtuel si le réseau est protégé par un mot de passe. Sélectionnez l'option Autres réseaux dans la liste, si le réseau auquel vous voulez vous connecter possède un SSID masqué.
Si vous souhaitez ne pas vous connecter à Internet à ce stade, vous pouvez ignorer cette étape en sélectionnant l'option Ignorer. Vous pouvez vous connecter ultérieurement à Internet à l'aide des options du menu Réseau et Internet dans le menu Paramètres de l'écran d'accueil ou dans le menu Options TV en mode TV en direct.
Cette étape sera ignorée si la connexion Internet a été établie à l'étape précédente.
6. Connectez-vous à votre compte google
Si la connexion réussit, vous pouvez vous connecter à votre compte Google sur l'écran suivant. Vous devez être connecté à un compte Google pour pouvoir utiliser les services Google. Cette étape sera ignorée si aucune connexion Internet n'a été établie lors de l'étape précédente ou si vous vous êtes déjà connecté à votre compte Google lors de l'étape de Configuration rapide.
En vous connectant, vous pourrez découvrir de nouvelles applications pour les vidéos, la musique et les jeux sur Google Play ; obtenir des commandes personnalisées d'applications comme YouTube ; acheter ou lire les derniers films et émissions sur Google Play Movies & TV ; accéder à votre divertissement et contrôler vos médias. Mettez en surbrillance Connexion et appuyez sur OK pour continuer. Les options de connexion sont les suivantes :
Utilisez votre téléphone ou votre ordinateur : Vous pouvez utiliser un navigateur sur votre téléphone ou ordinateur portable pour vous connecter. Sélectionnez cette option et appuyez sur le bouton OK. Un code apparaîtra à l'écran du téléviseur. Assurez-vous que votre téléphone ou ordinateur portable est connecté au même réseau.
que vous téléviseur. Ouvrez le site Web donné (androidv. com/setup, suivez les instructions à l'écran pour l'URL à jour du site Web) dans le navigateur de votre téléphone ou de votre ordinateur et entrez le code que vous voyez sur votre écran de télévision dans le champ de saisie correspondant. Suivez ensuite les instructions sur votre appareil et terminez le processus.
- Utilisez votre télécommande : Cette option vous permet de vous connecter à votre compte Google en saissant votre adresse e-mail ou votre numéro de téléphone et votre mot de passe.
Si vous souhaitez ne pas vous connecter à votre compte Google à ce stade, vous pouvez ignorer cette étape en sélectionnant l'option Ignorer.
7. Conditions d'utilisation
L'écran Conditions d'Utilisation s'affiche ensuite. En continuant, vous acceptez les Conditions d'Utilisation de Google, les Règles de Confidentialité de Google et les Conditions d'Utilisation de Google Play. Sélectionnez Accepter et appuyez sur le bouton OK de la télécommande pour continuer. Vous pouvez également consulter les Conditions d'Utilisation, la Politique de Confidentialité et les Conditions d'Utilisation de Jeu sur cet écran. Pour afficher le contenu, une connexion Internet est nécessaire. Un message sera affiché, mentionnant l'adresse du site Web sur lequel ces informations peuvent également être consultées, au cas où l'accès à Internet ne serait pas disponible.
8. Emplacement
Sur l'écran suivant, vous pouvez autoriser ou interdire à Google et aux applications tierces d'utiliser les informations de localisation de votre téléviseur. Sélectionnez Oui pour confirmer et appuyez sur OK. Pour verrouiller cette étape, sélectionnez Non et appuyez sur le bouton OK pour continuer. Vous pouvez modifier ce paramètre ultérieurement en utilisant le menu Paramètres > Préférences de l'appareil > Localisation sur Écran d'Accueil.
9. Aider à améliorer android
Envoyez automatiquement des informations de diagnostic à Google, comme des rapports de crash et des données d'utilisation depuis votre appareil et vos applications. Ces informations ne seront pas utilisées pour vous identifier. Sélectionnez Oui pour confirmer et appuyez sur OK. PourLocker cette étape, Sélectionnez Non et appuyez sur le bouton OK pour continuer. Vous pouvez modifier ce paramètre ultérieurement en utilisant le menu Paramètres>Préférences de l'appareil>Usage & Diagnostics sur l'Écran d'Accueil.
Les informations sur les services Google et certaines fonctionnalités de votre téléviseur seront affichées ci-dessous. Vous pouvez activer les résultats personnels de l'Assistant en choisant l'option
correspondante lorsque vous êtes invité. Appuyez consécutivement sur OK pour continuer.
10. Pays
Dans l'étape suivante, sélectionnez Pays dans la liste et appuyez sur OK pour continuer.
11. Mot de passe
En fonction de la sélection du pays que vous avez effectuée à l'étape précédente, il se peut que l'on vous demande de définir un mot de passe (PIN) à ce stade. Appuyez sur OK pour continuer. Le code PIN choisi ne saurait être 0000. Ce PIN sera nécessaire pour accéder à certains menus, contenus ou pour libérer des chaînes, sources, etc. verrouillées. Vous devrez l'entrer si l'on vous demande d'entrer un PIN pour une opération de menu ultérieure.
12. Sélectionner le mode TV
Dans l'étape suivante de la configuration initiale, vous pouvez régler le mode de fonctionnement du téléviseur en mode Accueil ou en mode Mémorisation. L'option Mémorisation configure les paramètres de votre téléviseur pour l'environnement magasin. Cette option est uniquement destinée à l'usage de magasin. Il est recommandé de sélectionner Accueil pour une utilisation à domicile.
13. Chromecast intégré toujours disponible
Sélectionnez votre préférence de disponibilité de Chromecast. S'il est réglé sur Actif, votre téléviseur sera détecté comme un appareil Google Cast et permettra à Google Assistant et à d'autres services de réveiller librement votre téléviseur pour répondre aux commandes Cast, même en mode veille et lorsque l'écran est éteint.
Remarque: Si vous ne souhaitez pas effectuer une recherche du syntoniseur, sélectionnez l'une des options disponibles. Vous pouvez ignorer la recherche à certaines étapes ultérieures de l'assistant d'installation. Si vous sautez cette étape, vous pouvez effectuer une recherche de chaînes ultérieurement en utilisant les options de menu Chaînes associées.
L'étape suivante consiste à sélectionner le mode Syntoniseur. Sélectionnez vos préférences du syntoniseur afin d'inverser les chaînes pour la fonction TV en direct. Les options d'Antenne et de Cable sont disponibles. Sélectionnez l'option qui correspond à votre zone géographique et appuyez sur OK ou sur le bouton de direction Droit pour continuer.
Antenne
Si l'option Antenne est sélectionnée, le téléviseur recherche les diffusions numériques terrestres et analogiques. Sur le prochain écran, sélectionnez l'option Recherche et appuyez sur OK pour lancer la recherche ou sélectionnez Ignorer la recherche pour continuer sans effectuer la recherche.
Remarque: Si le pays sélectionné n'a pas d'émissions en mode analogique, l'option de recherche analogue peut ne pas être disponible.
Cable
Si l'option Cable est sélectionnée, le téléviseur recherche les diffusions numériques par câble et analogiques. Le cas échéant, les options d'opérateur disponibles s'affichent sur l'écran Sélectionner l'opérateur. Dans le cas contraire, cette étape est ignorée. Vous pouvez sélectionner uniquement un opérateur à partir de la liste. Sélectionnez l'opérateur souhaité et appuyez sur OK ou sur le bouton de direction Droit pour continuer. Sur le prochain écran, Sélectionnez l'option Recherche pour lancer la recherche ou sélectionnez Ignorer la recherche pour continuer sans effectuer la recherche. Si l'option Recherche est sélectionnée, un écran de configuration s'affiche ensuite. Les options Mode Recherche, Fréquence (KHz), Modulation, Débit de symboles (Ksym/s), ID de réseau peuvent être réglées. Pour effectuer une numérisation complète, définissez le Mode Recherche sur Complet/Avancé si disponible. Selon l'opérateur sélectionné et/ou le Mode Recherche, certaines options peuvent ne pas être disponibles.
Remarque: Si le pays sélectionné n'a pas d'émissions en mode analogique, l'option de recherche analogue peut ne pas être disponible.
Une fois le réglage des options disponibles terminé, appuyez sur le bouton de direction Droit pour continuer. Le téléviseur commence à chercher les diffusions disponibles.
Lorsque la configuration initiale est terminée, les résultats seront affichés. Appuyez sur OK pour terminer la configuration.
L'écran d'accueil s'affiche. Vous pouvez mettre en surbrillance l'application TV en direct et appuyer sur OK pour passer en mode TV en direct et regarder les chaînes TV.
Écran d'accueil
Pour profiter des avantages de votre téléviseur Android, votre téléviseur doit être connecté à internet. Connectez le téléviseur à un réseau domestique possédant une connexion internet à haut débit. Vous pouvez connecter vos téléviseurs à un réseau sans fil ou avec fil via un modem/routeur. Consultez le Résseau et Internet, précisées les sections Connexion à Internet pour plus d'informations concernant la manière de connecter vos téléviseurs à internet.
Le Menu d'accueil constitue le centre de votre téléviseur. Appuyez sur le bouton Accueil pour afficher l'Écran d'accueil. Toute application peut être démarrée à partir du Menu d'accueil, passer à une chaîne TV,
regarder un film ou ouvrir un périphérique connecté. En fonction de la configuration de votre téléviseur et du pays sélectionné lors de la configuration initiale, le Menu d'accueil pourrait partager des éléments différents.
Les options disponibles à l’Écran d’accueil sont représentées dans des lignes. Pour naviguer dans les options de l’Écran d’accueil, utilisez les boutons de direction de la télécommande. Les applications, YouTube, Google Play Movies & TV, Google Play Music et Google Play Music ainsi que les lignes et lignes des applications que vous avez installées peuvent être disponibles. Sélectionnez une ligne puis placez la mise au point sur l’élément désiré de la ligne. Appuyez sur le bouton OK pour effectuer une sélection ou pour accéder à sous-menu.
Les outils de recherche se trouvent au coin supérieur gauche de l’écran. Vous pouvez désirer d’initier une recherche soit en saisissant un mot à l’aide du clavier virtuel ou en essayant l’option de recherche vocale si votre télécommande possède un microphone intégré. Déplacez la mise au point sur l’option désirée et appuyez sur OK pour continuer.
Dans le coin supérieur droit de l'écran, les Paramètres Notifications, Entrées, Réseaux et Internet (nommées Connecté ou Non Connecté en fonction de l'état de connexion actuel) et l'heure actuelle s'affichent. Vous pouvez configurer vos préférences, notamment la Date et l'heure, à l'aide des options du menu Date & Heures dans le menu Paramètres>Préférences de l'Appareil.
La première ligne sera la ligne des Apps. Les applications TV en direct et Multi Media Player seront disponibles avec d'autres applications. Mettez en surbrillance TV en direct et appuyez sur OK pour passer en mode TV en direct. Si la source a été réglée sur une option autre que TV précédemment, appuyez sur le bouton Source et régliez en tant que TV afin de regarder les chaînes TV en direct. Mettez en surbrillance Multi Media Player et appuyez sur OK pour parcourir les périphériques USB ou les serveurs multimédia connectés et dire/afficher le contenu multimédia installé sur le téléviseur. Les fichiers audio peuvent être joués via les haut-parleurs du téléviseur ou via le système stéréo connecté au téléviseur. Vous pouvez configurer vos préférences de sortie sonore à partir de l'option Haut-parleur dans le menu Paramètres>Préférences de l'appareil>Son. Pour naviguer sur Internet, vous aurez besoin d'une application de navigateur Internet. Faites une recherche ou lancez l'application Google Play, trouvez un navigateur et téléchargez-le.
Contenu du menu du mode TV en direct
Mettez d'abord le téléviseur en mode TV en direct, puis appuyez sur la touche Menu de la télécommande pour voir les options du menu TV en direct. Pour passer en mode TV en direct, vous pouvez soit appuyer sur le bouton Quitter, soit mettre en surbrillance l'application Live TV depuis la ligne Apps et appuyer sur OK sur l'écran d'accueil.
Chaînes
Ajouter à mes favors : Ajoutez la chaîne en cours de visionnage à la liste de favors sélectionnée précédemment.
Guide de programme : Ouvrez le guide électronique des programmes. Reportez-vous à la section Guide du programme pour plus d'informations.
Nouvelles chaînes disponibles : Commencez une recherche de nouvelles chaînes. Sélectionnez l'application ou le symponiseur de la source de chaîne. Effectuez ensuite les paramétrages en fonction de votre environnement et de vos préférences si nécessaire. Vous pouvez utiliser les options du menu Chaînes pour rechercher des chaînes de broadcast. Reportez-vous à la section Chaînes pour plus d'informations. Une fois terminé, mettez en surbrillance Terminé et appuyez sur OK.
Options TV
Source : Affiche la liste des sources d'entrée. Sélectionnez la source désirée et appuyez sur OK pour passer à cette source.
Mode Image : Réglez le mode d'image selon vos préférences ou exigences. Le mode Image peut être réglé sur l'une de ces options : Utilisateur, Standard, Vivant, Sport, Film et Jeu. Vous pouvez utiliser le mode Utilisateur pour créer des paramètres personnalisés. Allez dans Paramètres > Préférences de l'appareil > Image pour plus de détails sur les options de configuration.
Mode d'affichage : Définissez le format de l'image. Sélectionnez l'une des options prédéfinies en fonction de vos préférences.
Haut-parleurs : Pour écouter le son audio du téléviseur à partir du périphérique audio compatible connecté, réglez sur Système Audio Externe. Configurez les Haut-parleurs du téléviseur pour utiliser les haut-parleurs de votre téléviseur pour la sortie audio.
Alimentation
Minuteur de mise en veille : Définissez une période d'inactivité après laquelle vous voulez
que votre téléviseur passe automatiquement en mode veille.
Image éteinte : Sélectionnez cette option et appuyez sur OK pour éteindre l’écran. Appuyez sur n’importe quelle touche de la télécommande ou sur le téléviseur pour allumer l’écran à nouveau. Notez que vous ne pouvez pas allumer l’écran via les boutons Volume +/-, Muet et Veille. Ces boutons fonctionnent normalement.
Pas d'arrêt automatique du signal : Réglez le comportement du téléviseur lorsqu'aucun signal n'est détecté à partir de la source d'entrée actuellement réglée. Définissez un délai après lequel vous voulez que votre téléviseur s'éteigne automatiquement ou qu'il soit réglé sur Off pour être désactivé.
Carte CI Afficher les options disponibles du menu de la Carte CI. Cet élément peut ne pas être disponible en fonction du réglage de la source d'entrée.
Options avancées
Langue audio : Définissez votre préférence linguistique pour l'audio. Cet élément peut ne pas être disponible en fonction du réglage de la source d'entrée.
Blue Mute: Activez ou désactivez cette fonction selon vos préférences. Lorsqu'il est allumé, l'arrière-plan bleu s'affiche à l'écran lorsque aucun signal n'est disponible.
Chaine par défaut: Définissez vos préférences de chaîne de démarrage par défaut. Lorsque le Mode de Sélection est réglé sur Sélection de l'utilisateur, l'option Afficher les chaînes devient disponible. Mettez en surbrillance et appuyez sur OK pour voir la liste des chaînes. Mettez une chaîne en surbrillance et appuyez sur OK pour faire une sélection. La chaîne sélectionnée s'affiche à chaque fois que le téléviseur est remis sous tension à partir d'un mode veille rapide. Si le Mode de sélection est réglé sur Dernier État, la dernière chaîne regardée s'affiche.
Chaîne d'interaction : Activez ou désactivez la fonction Chaîne d'interaction. Cette fonction n'est utile qu'au Royaume-Uni et en Irlande.
Protection à code PIN MHEG : Activer ou désactiver la fonction de protection du code PIN MHEG. Cette option permet d'autoriser ou de verrouiller l'accès à certaines applications MHEG. Les applications désactivées peuvent être relâchées en entrant le code PIN correct. Cette fonction n'est utile qu'au Royaume-Uni et en Irlande.
Paramètres de HBBTV
Support HBBTV : Activez ou désactivez la fonction HBBTV.
Ne pas suivre : Définissez vos préférences concernant le comportement de suivi pour les services HBBTV.
Paramètres des cookies : Définissez votre préférence de paramétrage de cookie pour les services HBBTV.
Stockage persistant: Activez ou désactivez la fonction Stockage Persistant. S'ils sont réglés sur Activé, les cookies seront stockés avec une date d'expiration dans la mémoire permanente du téléviseur.
Bloquer les sites de suivi: Activez ou désactivez la fonction Bloquer les Sites de Suivi.
ID de l'appareil: Activez ou désactivez la fonction ID de l'appareil.
Réinitialiser l'ID de l'appareil : Réinitialisez l'ID de l'appareil pour les services HBBTV. Le dialogue de confirmation s'affichera. Appuyez sur OK pour continuer, Retour pour annuler.
Sous-titre
Sous-titre analogue: Réglez cette option Désactiver, Activer ou Muet. Si l'option Muet est sélectionnée, le sous-titre analogue sera affiché à l'écran et les haut-parleurs seront désactivés simultanément.
Sous-titres numériques: Réglez cette option sur Désactivé ou Activé.
Suivi de sous-titres : Définissez votre préférence de suivi des sous-titres, le cas échéant.
Langue des sous-titres numériques : Définissez l’une des options de langue listée comme première langue de sous-titre préférée.
Deuxième langue de sous-titrage numérique : Définissez l'une des options de langue listée comme seconde langue de sous-titre préférée. Si la langue dans Option de Langue du Sous-titre Digital n'est pas disponible, les sous-titres s'afficheront dans ladite langue.
Type de sous-titre : Réglez cette option sur Normal ou Malentendants. Une fois activé, l'option Malentendants fournit des services de sous-titrage aux téléspectateurs sourds ou malentendants avec des descriptions supplémentaires.
Télétexte
Langue Télétexte digital Définissez la langue télétexte pour les diffusions digitales.
Langue de la page de décodage Définissez la langue de la page de décodage pour l'affichage télétexte.
Veille automatique : Définissez une période d'inactivité après laquelle vous voulez que votre téléviseur passe automatiquement en mode veille.
Les options 4 Heures, 6 Heures et 8 Heures sont disponibles. Régler sur Jamais pour désactiver.
Information sur le système : Affiche des informations système détaillées sur le canal actuel, telles que le Niveau du Signal, la Qualité du Signal, la Fréquence, etc.
Info version: Afficher les informations du système telles que le nom et la version du modèle.
Paramètres: Reportez-vous à la section Paramètres pour plus d'informations.
Enregistrement
Liste d'enregistrement: Les enregistrements seront affichés s'ils sont disponibles. Mettez en surbrillance un enregistrement de votre choix et appuyez sur le bouton Jaune pour le supprimer ou appuyez sur le bouton Bleu pour afficher des informations détaillées. Vous pouvez utiliser les boutons Rouge et Vert pour faire défiler la page vers le haut et vers le bas.
Détails de l'appareil: Les périphériques de stockage USB connectés s'affichent. Mettez en surbrillance l'appareil de votre choix et appuyez sur OK pour afficher les options disponibles.
Régler le décalage horsaire : Marquez le périphérique de stockage USB sélectionné ou une partition sur celui-ci pour l'enregistrement par décalage horsaire.
Régler PVR: Marquez le périphérique de stockage USB sélectionné ou une partition sur celui-ci pour le PVR.
Format: Formatez le périphérique de stockage USB sélectionné. Reportez-vous à la section Enregistrement USB pour plus d'informations.
Test de Vitesse : Démarrez un test de vitesse pour le périphérique de stockage USB sélectionné. Le résultat du test sera affiché une fois terminé.
Liste de programme : Ajoutez des rappels ou enregistrez des minuteries à l'aide du menu Liste de Programme.
Mode de Décalage horaire: Activer ou désactiver la fonction d'enregistrement avec décalage temporel. Reportez-vous à la section Enregistrement USB pour plus d'informations.
Réglages
Vous pouvez accéder au menu Paramètres à partir de l'écran d'accueil ou du menu des options TV en Mode TV en direct.
Réseau & internet
Vous pouvez configurer les paramètres réseau de votre téléviseur à l'aide des options de ce menu. Vous pouvez également mettre en surbrillance l'op
option Connecté/Non connecté sur l'écran d'accueil et appuyer sur OK pour accéder à ce menu.
Wi-Fi: Activez et désactivez la fonction LAN sans fil (WLAN).
Réseaux disponibles
Lorsque la fonction WLAN est activée, les réseaux sans fil disponibles sont répertoriés. Sélectionnez Voir tout et appuyez sur OK pour voir tous les réseaux. Sélectionnez l'un d'eux et appuyez sur OK pour vous connecter. Si le réseau est protégé par un mot de passe, vous serez appelés à le savoir pour vous connecter.
Autres options
Ajouter un nouveau réseau: Ajouter des réseaux avec des SSDI cachés.
Recherche toujours disponible: Vous pouvez laisser le service de localisation et d'autres applications rechercher les réseaux, même lorsque la fonction WLAN est désactivée. Appuyez sur OK pour l'allumer et l'éteindre.
Wow: Activez et désactivez cette fonction. Cette fonction vous permet d'allumer ou de réveiller votre téléviseur via le réseau sans fil.
Wol: Activez et désactivez cette fonction. Cette fonction vous permet d'allumer ou de réveiller votre téléviseur via le réseau.
Ethernet
Connecté/Non connecté: Affiche l'état de la connexion Internet via les adresses Ethernet, IP et MAC.
Paramètres du proxy: Définissez manuellement un proxy HTTP pour le navigateur. Ce proxy ne peut pas être utilisé par d'autres applications.
Paramètres IP : Configurez les paramètres IP de votre téléviseur.
Chaînes
Les options de ce menu peuvent changer ou doivent être inactives selon la sélection du Mode d'Installation de la Chaine.
Mode d'installation de chaîne - antenne
Recherche automatique des chaînes : Lancez une recherche de chaînes analogiques et numériques. Vous pouvez appuyer sur le bouton Retour pour annuler la numérisation. Les chaînes déjà trouvées sont enregistrées dans la liste des chaînes.
Analyse de Mise à jour : Recherche des mises à jour. Les chaînes précédemment ajoutées ne sont pas supprimées, mais les nouvelles chaînes trouvées sont enregistrées dans la liste des chaînes.
Scan manuel analogique: Lancez une recherche manuelle des chaînes analogiques. Entrez la Fréquence de Démarrage, puis sélectionnez Numérique vers le haut ou Numérique vers le bas. Lorsqu'une chaîne est trouvée, la recherche s'arrête et la chaîne trouvée est enregistrée dans la liste des chaînes.
Recherche de RF Unique: Sélectionnez la Chaine RF à l'aide des boutons de direction Droite/Gauche. Le niveau et la qualité du signal de la chaine sélectionnée s'affichent. Appuyez sur OK pour lancer la recherche de la chaine RF sélectionnée. La chaine trouvée est enregistrée dans la liste des chaînes.
Mise à jour Manuelle du Service : Lancez une mise à jour de service manuelle.
LCN: Définissez votre préférence pour LCN. LCN est le système du numéro de chaîne logique qui sélectionné des émissions disponibles, conformément à une séquence de chaînes reconnaissables (si disponible).
Type de Balayage des Chaînes : Définissez votre préférence de type de balayage.
Type de Balayage des Chaînes : Définissez votre préférence pour le type de balayage.
Sélection du réseau favori : Sélectionnez votre réseau préféré. Cette option de menu sera active si plus d'un réseau est disponible.
Saut de Chaîne: Réglez les chaînes à sauter lorsque vous parcourez les chaînes à l'aide des boutons Programme +/- de la télécommande. Mettez les chaînes souhaitées de la liste en surbrillance et appuyez sur OK pour les sélectionner/désélectionner.
Échange de Chaînes : Modifiez les positions des deux chaînes sélectionnées dans la liste des chaînes électionner. Lorsque la deuxième chaîne est sélectionnée, elle est remplacée par la première chaîne sélectionnée. Vous devez régler l'option LCN sur Désactivé ou Défaut afin d'activer cette fonction.
Déplacer la Chaine: Déplacez une chaine à la position d'une autre chaine. Mettez en surbrillance la chaine que vous pouze déplacer et appuyez sur OK pour la sélectionner. Faites ensuite la même chose pour une deuxième chaine. Lorsque la chaine est sélectionnée, la première chaine sélectionnée est déplacée à la position de cette chaine. Vous devez régler l'option LCN sur Désactivé ou Default afin d'activer cette fonction.
Modification de Chaine: Modifiez des chaînes dans la liste de chaînes. Modifiez le nom et le nombre de chaine de la chaine sélectionnée et affichez les informations relatives au Nom de Réseau, à la Fréquence, au Système de Couleur et au Système Audio de cette chaine le cas échéant. Selon la chaine, d'autres options peuvent également être éditées. Vous pouvez
Appuyez sur le bouton Bleu pour supprimer la chaîne en surbrillance.
Réglage fin des chaînes analogiques : Affinez le réglage d'une chaîne analogue. Une liste de chaînes analogiques disponibles s'affiche. Sélectionnez la chaîne désirée dans la liste et appuyez sur le bouton OK. Ensuite, modifiez la fréquence de la chaîne en appuyant sur les boutons de direction Droite/Gauche. Appuyez sur OK pour enregistrer la nouvelle fréquence de cette chaîne. Appuyez sur Retour pour annuler. Cet élément peut ne pas être visible, selon que la première chaîne regardée était analogique ou non.
Annuler la Liste des Chaînes : Supprimer toutes les chaînes mémorisées dans la liste des chaînes du mode d'installation des chaînes sélectionné. Une boîte de dialogue s'affiche pour confirmation. Sélectionnez OK et appuyez sur le bouton OK pour continuer. Sélectionnez Annuler et appuyez sur OK pour annuler.
Mode d'installation de chaîne - câble
Recherche automatique des chaînes : Lancez une recherche de chaînes câblées analogiques et numériques. Les options d'opérateur s'affichent, si disponible. Sélectionnez la langue souhaitée et appuyez sur OK. Les options Mode de Balayage, Type de Balayage des Chaînes, Fréquence et ID Réseau peuvent être disponibles. Les options peuvent varier en fonction de l'opérateur et des sélections du Mode Recherche. Réglez le Mode Recherche sur Complete si vous ne savez pas comment configurer d'autres options. Sélectionnez Recherche et appuyez sur OK pour lancer la recherche. Vous pouvez appuyer sur le bouton Retour pour annuler la numérisation. Les chaînes déjà trouvées sont enregistrées dans la liste des chaînes.
Recherche de RF Unique: Saisissez la valeur Fréquence. Le Niveau du Signal et la Qualité du Signal de la Fréquence sélectionnée s'affichent. Sélectionnez l'option Recherche et appuyez sur OK pour lancer la recherche. La chaîne trouvée est enregistrée dans la liste des chaînes.
LCN: Définissez votre préférence pour LCN. LCN est le système du numéro de chaine logique qui sélectionné des émissions disponibles, conformément à une séquence de chaines reconnaissables (si disponible).
Type de Balayage des Chaînes : Définissez votre préférence de type de balayage.
Type de Balayage des Chaînes : Définissez votre préférence pour le type de balayage.
Sélection du réseau favori : Sélectionnez votre réseau préféré. Cette option de menu sera active si plus d'un réseau est disponible. Cette option peut ne pas être disponible selon le pays sélectionné lors du processus de configuration initial.
Saut de Chaîne: Réglez les chaînes à sauter lorsque vous parcourez les chaînes à l'aide des boutons Pro
gramme + / - de la télécommande. Mettez les chaî /désélectionner.
Échange de Chaînes : Modifiez les positions des deux chaînes sélectionnées dans la liste des chaînes. Mettez les chaînes souhaitées de la liste en surbrillance et appuyez sur OK pour les sélectionner. Lorsque la deuxième chaîne est sélectionnée, elle est replacée par la première chaîne sélectionnée. Vous devez régler l'option LCN sur Déactivé ou Default afin d'activer cette fonction.
Déplacer la Chaine: Déplacez une chaine à la position d'une autre chaine. Mettez en surbrillance la chaine que vous pouze déplacer et appuyez sur OK pour la sélectionner. Faites ensuite la même chose pour une deuxième chaine. Lorsque la chaine est sélectionnée, la première chaine sélectionnée est déplacée à la position de cette chaine. Vousdezver régler l'option LCN sur Désactivé ou Default afin d'activer cette fonction.
Modification de Chaîne: Modifiez des chaînes dans la liste de chaînes. Modifiez le nom et le nombre de chaîne de la chaîne sélectionnée et affichez les informations relatives au Nom de Réseau, à la Fréquence, au Système de Couleur, au Système Audio, à la Modulation et au Débit de Symboles de cette chaîne. Selon la chaîne, d'autres options peuvent également être éditées. Vous pouvez appuyer sur le bouton Bleu pour supprimer la chaîne en surbrillance.
Réglage fin des chaînes analogiques : Affinez le réglage d'une chaîne analogue. Une liste de chaînes analogiques disponibles s'affiche. Sélectionnez la chaîne désirée dans la liste et appuyez sur le bouton OK. Ensuite, modifiez la fréquence de la chaîne en appuyant sur les boutons de direction Droite/Gauche. Appuyez sur OK pour enregistrer la nouvelle fréquence de cette chaîne. Appuyez sur Retour pour annuler. Cet élément peut ne pas être visible, selon que la dernière chaîne regardée était analogue ou non.
Annuler la Liste des Chaînes : Supprimer toutes les chaînes mémorisées dans la liste des chaînes du mode d'installation des chaînes sélectionné. Une boîte de dialogue s'affiche pour confirmation. Sélectionnez OK et appuyez sur le bouton OK pour continuer. Sélectionnez Annuler et appuyez sur OK pour annuler.
Remarque : Les options peuvent ne pas être disponibles et apparaissent en gris selon la sélection de l'opérateur et les paramètres relatifs à l'opérateur.
Mode d'installation de chaîne
Réglez cette option comme Antenne ou Câble.
Mise à jour automatique de la chaine
Activez ou désactivez la fonction de mise à jour automatique des chaînes.
Message de mise à jour de la chaîne
Activez ou désactivez la fonction de message de mise à jour de la chaîne. Cet élément peut ne pas être visible, selon la sélection du Mode d'Installation de la Chaîne.
Contrôles parentaux
Pour accéder à ce menu, il faut d'abord entrer le code PIN. Le PIN par défaut est réglé à 1234. Si vous avez défini un nouveau PIN après le processus de configuration initiale, utilisez le PIN que vous avez défini. Compte tenu du pays sélectionné, certaines options du menu ne seront pas disponibles lors de la configuration initiale.
Chaînes bloquées: Sélectionner la/les chaîne/s à verrouiller dans la liste des chaînes. Sélectionner une chaîne et appuyer sur OK pour sélectionner/désélectionner. Pour regarder une chaîne verrouillée, un PIN doit d'abord être saisi.
Restrictions du Programme : Bloquez les programmes en fonction des informations sur la classification par âge qui sont diffusées avec eux. Vous pouvez activer ou désactiver les restrictions, définir les systèmes de classification, les niveaux de restriction et les limites d’âge en utilisant les options de ce menu.
Entrées Bloquées: Verrouillez l'accès au contenu de source d'entrées sélectionnée. Mettez en surbrillance l'option d'entrée souhaitée et appuyez sur OK pour sélectionner/déselectionner. Pour passer à une source d'entrée bloquée, il faut d'abord entrer le PIN.
Modifier PIN: Changez le code PIN par défaut. Sélectionnez cette option et appuyez sur OK. Vous devrez d'abord entrer l'ancien PIN. Ensuite, un nouvel écran de saisie du code PIN sera affiché. Saisissez deux fois le nouveau code PIN pour confirmation.
Canal audio
Définissez la préférence de chaîne audio, si disponible. Cet élément peut ne pas être visible, selon que la première chaîne regardée était analogue ou non.
Langue audio
Définissez l'une des options de langue listée comme première langue audio préférée. Cet élément peut ne pas être visible, selon que la dernière chaîne regardée était numérique ou non.
Deuxième langue audio
Définissez l'une des options de langue listée comme deuxième langue audio préférée. Lorsque l'option Langue Audio sélectionnée n'est pas prise en charge dans le paramètre Langue audio, cette langue préférée est prise en compte. Cet élément peut ne pas être visible, selon que la dernière chaîne regardée était numérique ou non.
Licences open source
Affiche les informations de licence du logiciel libre.
Affiche le numéro de version du système.
Comptes et connexion
Google : Cette option sera activée si votre compte Google était préalablement connecté. Vous pouvez configurer vos préférences de synchronisation de données ou supprimer votre compte enregistré sur le téléviseur. Mettez en surbrillance un service répertorié dans la section Choisir les applications synchronisées et appuyez sur OK pour activer/désactiver la synchronisation des données. Sélectionnez Sync Maintenant et appuyez sur OK pour synchroniser tous les services en même temps.
Ajouter un compte : Ajoutez un nouveau compte aux comptes disponibles en vous y connectant.
Applications
En se servant des options de ce menu, vous pouvez gérer les applications sur votre téléviseur.
Applications récemment ouvertes
Vous pouvez afficher les applications récemment ouvertes. Sélectionnez Voir toutes les applications et appuyez sur OK pour voir toutes les applications installées sur votre téléviseur. La quantité d'espace de stockage dont ils ont besoin sera également affichée. Vous pouvez voir la version de l'application, ouvrir ou forcer pour arrêter l'exécution de l'application, désinstaller une application téléchargée, voir les permissions et les activer/désactiver, activer/désactiver les notifications, effacer les données et le cache etc. Mettez une application en surbrillance et appuyez sur OK pour afficher les options disponibles.
Autorisations
Gérer les autorisations et quelques autres fonctionnalités des applications.
Autorisations d'applications : Les applications seront triées par catégories de type de permission. Vous pouvez activer ou désactiver les permissions pour les applications à partir de ces catégories.
Accès spécial à l'application : Configurez certaines fonctions et autorisations spéciales de l'application.
Sécurité et restrictions : Utilisation des options de ce menu ;
- Vous pouvez permettre ou limiter l'installation d'applications à partir de sources autres que Google Play Store.
- Régler le téléviseur de manière à interdire ou avertir avant l'installation des applications dangereuses.
Préférences de l'appareil
À propos : Vérifiez les mises à jour du système, modifiez le nom de l'appareil, redémarrez le téléviseur
et affichez les informations système telles que les adresses réseau, numéros de série, versions, etc. Vous pouvez également afficher des informations légales, gérer les publicités, afficher votre identifiant publicitaire, le réinitialiser et activer/desactiver les publicités personnalisées en fonction de vos intérêts.
Netflix ESN: Affichez votre numéro ESN. (*) Le numéro ESN est un numéro d'identification unique pour Netflix, créé spécialement pour identifier votre téléviseur.
Date et heures : Réglez les options date et heures de votre téléviseur. Vous pouvez régler votre téléviseur pour qu'il mette à jour l'heure et la date automatiquement via le réseau ou la diffusion. Réglez-le en fonction de votre environnement et de vos préférences. Désactivez cette option en réglant sur Off si vous souhaitez modifier la date et l'heure manuellement. Ensuite, définissez la date, l'heure, le fuseau horaire et les options de format d'heure.
Minuterie
Type de Temps de Mise Sous Tension : Réglez votre téléviseur pour qu'il s'allume tout seul. Réglez cette option sur Activer ou Unique pour activer la minuterie de mise sous tension, Réglez sur Désactiver pour la désactiver. Si l'option Une fois est activée, le téléviseur ne s'allumera qu'une seule fois à l'heure définie dans l'option Heure de mise sous tension automatique ci-dessous.
Heure de Mise Sous Tension Automatique : Disponible si le Type d'heure de mise sous tension est activé. Réglez l'heure à laquelle vous désirez que votre téléviseur s'allume à partir du mode veille à l'aide des boutons de direction et appuyez OK pour enregistrer le nouveau temps défini.
Type de temps d'arrêt : Réglez votre téléviseur pour qu'il s’éteigne tout seul. Réglez cette option sur Activer ou Unique pour activer la minuterie de mise hors tension, Réglez sur Désactiver pour la désactiver. Si l'option Une fois est désactivée, le téléviseur ne s’éteindra qu’une seule fois à l’heure définie dans l’options Heure de mise hors tension automatique ci-dessous.
Heure de Mise Hors Tension Automatique : Disponible si le Type d'heure de mise hors tension est activé. Réglez l'heure à laquelle vous désirez que votre téléviseur passe en mode veille à l'aide des boutons de direction et appuyez OK pour enregistrer le nouveau temps défini.
Langue : Définissez votre préférence linguistique.
Clavier: Sélectionnez votre type de clavier et gérez les paramètres du clavier.
Entrées : Affiche ou masque un terminal d'entrée, change l'étiquette d'un terminal d'entrée, configure les options de la fonction HDMI CEC (Contrôle Électronique du Consommateur).
tronique du Consommateur) et affiche la liste des appareils CEC.
Alimentation
Minuteur de mise en veille : Définissez une période d'inactivité après laquelle vous voulez que votre téléviseur passe automatiquement en mode veille.
Image éteinte : Sélectionnez cette option et appuyez sur OK pour éteindre l’écran. Appuyez sur n’importe quelle touche de la télécommande ou sur le téléviseur pour allumer l’écran à nouveau. Notez que vous ne pouvez pas allumer l’écran via les boutons Volume +/-, Muet et Veille. Ces boutons fonctionnent normalement.
Pas d'arrêt automatique du signal : Réglez le comportement du téléviseur lorsqu'aucun signal n'est détecté à partir de la source d'entrée actuellement réglée. Définissez un délai après lequel vous voulez que votre téléviseur s'éteigne automatiquement ou qu'il soit réglé sur Off pour être désactivé.
Mode Image: Réglez le mode d'image selon vos préférences ou exigences. Le mode Image peut être réglé sur l'une de ces options : Utilisateur, Standard, Vivant, Sport, Film et Jeu. Vous pouvez utiliser le mode Utilisateur pour créer des paramètres personnalisés.
Les paramètres Luminosité, Contraste, Couleur, Teinte, Netteté sont réglés en fonction du mode d'image sélectionné. Si l'un de ces paramètres est modifié manuellement, l'option Mode d'image passe en mode Utilisateur, s'il n'est pas déjà défini comme Utilisateur.
Rétroéclairage automatique: Définissez votre préférence pour le rétroéclairage automatique. Les options Désactivé, Bas, Moyen et Éco seront disponibles. Réglez sur Désactivé pour désactiver.
Retroéclairage: Réglez manuellement le niveau de rétroéclairage de l'écran. Cet élément ne sera pas disponible si le Retroéclairage automatique n'est pas réglé sur Désactivé.
Luminosité: Réglez la valeur de luminosité de l'écran.
Contraste: Réglez la valeur de contraste de l'écran.
Couleur: Ajustez la valeur de saturation des couleurs de l'écran.
Teinte: Réglez la valeur de teinte de l'écran.
Netteté: Réglez la valeur de netteté des objets affichés à l'écran.
Gamma: Définissez votre préférence gamma. Les options Foncé, Moyen et Lumineux seront disponibles.
Température de couleur : Réglez votre température de couleur préférée. Les options Utilisateur, Cool, Standard et Chaud seront disponibles. Vous pouvez ajuster manuellement les valeurs de gain du rouge, du vert et du bleu. Si l'une de ces valeurs est modifiée manuellement, l'option Température de Couleur devient Utilisateur, si elle n'est pas déjà définie comme Utilisateur.
Mode d'affichage : Définissez le format de l'image. Sélectionnez l'une des options prédéfinies en fonction de vos préférences.
HDR: Activez ou désactivez la fonction HDR. Cette rubrique sera disponible si un contenu HDR est détecté.
Options vidéo avancées
DNR: La Réduction Dynamique du Bruit (DNR) est le processus de suppression du bruit du signal numérique ou analogique. Réglez votre préférence DNR sur Faible, Moyen, Fort, Auto ou désactivez-la en la réglant sur Désactivé.
MPEG NR: La Réduction du Bruit MPEG nettoie les bruits de blocs autour des contours et les bruits de fond. Réglez votre préférence MPEG NR sur Faible, Moyen, Fort, ou désactivez-la en la réglant sur Désactivé.
Contrôle Luma adaptatif La commande adaptative Luma ajuste les réglages de contraste globalement en fonction de l'histogramme du contenu afin d’affirmer une perception plus profonde du noir et un blanc plus lumineux. Réglez votre préférence Contrôle Luma Adaptatif sur Faible, Moyen, Fort, ou désactive-la en la réglant sur Désactivé.
Mode DI Film Cette fonction permet la détection de cadence 3:2 ou 2:2 pour un contenu de film de 24 ips et améliore les effets secondaires (tels qu'un effet d'entrelacement ou de tremblement) causés par ces méthodes de tirage. Réglez votre préférence pour le mode DI Film Mode sur Auto ou désactivez-le en le réglant sur Désactivé. Cet élément ne sera pas disponible si le mode Jeu ou le mode PC est activé.
Blue Stretch: L'œil humain perçoit les blancs plus froids comme des blancs plus brillants, la fonction d'Étirement Bleu change la balance des Blancs des niveaux de gris mi-haut à une température de couleur plus froide. Activez ou désactivez la fonction Blue Stretch.
Mode jeu : Le mode Jeu est le mode qui réduit certains des algorithmes de traitement d'image pour suivre le rythme des produits qui ont une cadence d'images rapide. Activez ou désactivez la fonction Mode Jeu.
Mode PC: Le mode PC est le mode qui réduit certains des algorithmes de traitement d'image pour conserver le type de signal tel quel. Il peut
être utilisé en particulier pour les entrées RVB. Activez ou désactivez la fonction Mode PC.
Plage RGB HDMI: Ce réglage doit être ajusté en fonction de la plage du signal RVB d'entrée sur la source HDMI. Il peut être à portée limite (16-235) ou complète (0-255). Définissez votre préférence de plage RGB HDMI. Les options Auto, Complet et Limite seront disponibles. Cet élément ne sera pas disponible si la source d'entrée n'est pas réglée sur HDMI.
Accordeur de couleurs: La saturation des couleurs, la teinte et la luminosité peuvent être ajustées pour le rouge, le vert, le bleu, le cyan, le magenta, le jaune et le ton chair (teint de la peau) pour avoir une image plus vivante ou plus naturelle. Réglez manuellement les valeurs de teinte, de couleur, de luminosité, de décalage et de gain. Sélectionnez Activer et appuyez sur OK pour activer cette fonction.
Correction de la Balance des Blancs en 11 points : La fonction de balance des blancs permet de calibrer la température de couleur du télévisieur en niveaux de gris détaillés. L'uniformité de l'échelle de gris peut être améliorée visuellement ou par mesure. Ajustez manuellement la force des couleurs Rouge, Vert, Bleu et la valeur de Gain. Sélectionnez Activer et appuyez sur OK pour activer cette fonction.
Réinitialisation à la Valeur par Défaut : Réinitialisez les paramètres vidéo aux valeurs par défaut.
Remarque: Selon la source d'entrée actuellement régée, certaines options de menu peuvent ne pas être disponibles.
Son
Sons du Système: Le son du système est le son joué lors de la navigation ou de la sélection d'un élément sur l'écran de télévision. Mettez cette option en surbrillance et appuyez sur OK pour activer ou désactiver cette fonction.
Style de Son : Pour faciliter le réglage du son, vous pouvez sélectionner un réglage prédéfini. Les options Utilisateur, Standard, Vif, Sports, Film, Musique ou Nouvelles seront disponibles. Les paramètres de son seront ajustés en fonction du style de son sélectionné. D'autres options sonores peuvent devenir indisponibles en fonction de la sélection.
Balance: Réglez la balance de volume gauche et droite des haut-parleurs et des écouteurs.
Détail de l'égaliseur : Ajustez les valeurs de l’égaliseur en fonction de vos préférences.
Haut-parleurs : Pour écouter le son audio du téléviseur à partir du périphérique audio compatible connecté, réglez sur Système Audio Externe. Configurez les Haut-parleurs du téléviseur pour
utiliser les haut-parleurs de votre téléviseur pour la sortie audio.
Sortie numérique : Définissez la préférence de sortie audio numérique. Les options Auto, Bypass, PCM, Dolby Digital Plus et Dolby Digital seront disponibles. Mettez en surbrillance l'option que vous préférez et appuyez sur OK pour la définir.
Retard SPDIF : Réglez la valeur de retard SPDIF.
Contrôle du volume automatique Avec le Réglage Automatique du Volume, vous pouvez régler le téléviseur pour compenser automatiquement les différences de volume soudaines. Typiquement au début des publicités ou lorsque vous changez de chaîne. Activez ou désactivez cette option en appuyant sur OK.
Mode Downmix: Définissez votre préférence pour convertir les signaux audio multi-chânes en signaux audio à deux chânes. Appuyez sur OK pour voir les options et régler. Les options Stéréo et Surround seront disponibles. Mettez en surbrillance l'option que vous préférez et appuyez sur OK pour la définir.
Traitement Dolby Audio : Avec le Traitement Dolby Audio, vous pouvez améliorer la qualité sonore de votre téléviseur. Appuyez sur OK pour voir les options et régler. Certaines autres options sonores peuvent devenir indisponibles et apparaitre en gris selon les réglages effectués ici.
Traitement Dolby Audio: Mettez cette option en surbrillance et appuyez sur OK pour activer/désactiver cette fonction.
Mode Son: Si l'option Traitement Dolby Audio est activée, l'option Mode Son sera disponible pour le réglage. Mettez en surbrillance l'option Mode Son et appuyez sur OK pour voir les modes sonores prédéfinis. Les options Smart, Film, Musique et Nouvelles seront disponibles. Mettez en surbrillance l'option que vous préférez et appuyez sur OK pour la définir.
Réinitialisation à la Valeur par Défaut : Réinitialise les paramètres de son aux valeurs par défaut.
Stockage: Consultez l'état de l'espace de stockage total du téléviseur et des appareils connectés, le cas échéant. Pour obtenir des informations détaillées sur les détails d'utilisation, mettez en surbrillance et appuyez sur OK. Il y aura également des options pour éjecter et formater les périphériques de stockage connectés.
Écran d'accueil: Personnelisez votre écran d'accueil. Sélectionnez les chaînes qui seront affichées sur l'écran d'accueil. Organisez des applications et des yeux, changez leur ordre ou obtenez-en plus.
Mode Mémorisation : Mettez en surbrillance le mode de Mémorisation et appuyez sur OK. Sélectionnez Continuer et appuyez sur OK si vous voulez continuer.
Ensuite, mettez en surbrillance Activé pour activer ou Désactivé pour désactiver et appuyez sur OK. En mode de mémorisation, les paramètres de votre téléviseur seront configurés pour l'environnement du magasin et les fonctions prises en charge seront affichées à l'écran. Une fois actifs, les paramètres de la messagerie de stockage seront disponibles. Réglez selon vos préférences. Il est recommandé de ne pas activer le mode de mémorisation pour une utilisation à domicile.
Assistant Google: Sélectionnez votre compte actif, consultez les permissions, sélectionnez les applications à inclure dans les résultats de recherche, activez le filtrage de recherche sécurisé, activez le blocage des mots offensers et consultez les licences open source.
Écran de veille : Réglez les options économiseur d'écran et mode veille de votre téléviseur. Vous pouvez désigner un économiseur d'écran, régler le délai d'attente de ce dernier, régler l'heure à laquelle le téléviseur passera en mode veille ou démarrer le mode économiseur d'écran.
Localisation : Vous pouvez autoriser l'utilisation de la connexion sans fil pour estimer l'emplacement, voir les demandes de localisation récentes et autoriser ou restreindre l'utilisation des informations de localisation par les applications listées.
Utilisation et diagnostics : Envoyez automatiquement les données d'utilisation et les informations de diagnostic à Google. Réglez selon vos préférences.
Utilisation et diagnostic du fabricant: Si vous acceptez, votre téléviseur enverra des informations de diagnostic (tel que l'adresse MAC, le pays, la langue, les versions logicielles et micrologicielles, les versions du chargeur d'amorçage et la source du téléviseur) et des données d'utilisation anonymes à partir de votre appareil à un serveur situé en Irlande. Nous ne pouvons pas vous identifier, mais nous collectons et enregistrons uniquement ces informations de diagnostic et ces données d'utilisation anonymes pour nous assurer que votre appareil fonctionne correctement.
Accessibilité : Configurer les déficiences visuelles, les paramètres de sous-titrage et/ou activer/désactiver la description audio, les déficiences auditives, le sous-titrage parlé, le texte à fort contraste. Certains réglages de légende ne seront pas appliqués.
Déficiences visuelles : Les chaînes de télévision numériques peuvent diffuser des commentaires audio spéciaux décrivant à l'écran l'action, le langage corporel, les expressions et les mouvements des personnes ayant une déficience visuelle.
Haut-parleur: Activez cette option lorsque vous souhaitez écouter le commentaire audio via les haut-parleurs du téléviseur.
Écouteur: Activez cette option lorsque vous souhaitez acheminer le son du commentaire audio vers la sortie casque du téléviseur.
Volume: Réglez le niveau de volume du commentaire audio.
Panoramaque et Atténuation: Activez cette option lorsque vous souhaitez écouter le commentaire audio plus clairement, quand il est disponible par diffusion.
Audio pour les déficients visuels : Définissez le type audio pour les déficients visuels. Les options sont disponibles en fonction de la diffusion sélectionnée.
Contrôle du Fader : Ajustez l'équilibre du volume entre l'audio principal du téléviseur (Main) et le commentaire audio (AD).
Réinitialisation: Réinitialisez tous les paramètres du téléviseur à la valeur par défaut. Mettez en surbrillance Réinitialiser et appuyez sur OK. Un message de confirmation s'affiche, Sélectionnez Effacer tout pour procéder à la réinitialisation. Le téléviseur s'allume/s'éteint d'abord, ensuite la configuration initiale commence. Sélectionnez Annuler pour quitter.
Remarque: Vous pouvez être invité à entrer un code PIN pour continuer la réinitialisation. Entrez le code PIN que vous avez défini pendant l'installation initiale. Si vous n'avez pas défini un code PIN lors de l'installation initiale, vous pouvez utiliser le code PIN par défaut. Le code PIN par défaut est 1234.
Télécommande & accessoires
Voulez utiliser des accessoires sans fil, tels que votre télécommande (selon le modèle de la télécommande), des écouteurs, des claviers ou des manettes de jeu avec votre TV Android. Ajoutez des périphériques et utilisez-les avec votre téléviseur. Sélectionnez cette option et appuyez sur OK pour rechercher les périphériques disponibles et les utiliser avec votre téléviseur. Si disponible, sélectionnez l'option Ajouter un accessoire et appuyez sur OK pour lancer la recherche. Réglez votre appareil en mode jumelage. Les périphériques disponibles seront reconnus et répertoriés ou la demande d'appairage sera affichée. Sélectionnez votre appareil dans la liste et appuyez sur OK ou mettez OK en surbrillance et appuyez sur OK pour commencer le couplage.
Les appareils connectés seront également listés ici. Pour déconnecter un périphérique, sélectionnez-le et appuyez sur OK. Mettez ensuite en surbrillance l'option Dissocier et appuyez sur OK. Sélectionnez ensuite OK et appuyez sur OK une nouvelle fois pour déconnecter le périphérique de votre téléviseur. Vous pouvez également modifier le nom d'un appareil connecté. Mettez l'appareil en surbrillance et appuyez sur OK, puis sélectionnez Modifier nom et appuyez à nouveau sur OK. Appuyez à nouveau sur OK et utilisez le clavier virtuel pour modifier le nom de l'appareil.
Liste des chaînes
Le téléviseur trie toutes les chaînes enregistrées dans la Liste des Chaînes. Appuyez sur le bouton OK pour ouvrir la Liste des chaînes en mode TV en direct. Vous pouvez appuyer sur le bouton Rouge pour faire défiler la liste page par page, ou appuyer sur le bouton Vert pour la faire défiler vers le bas.
Si vous le souhaitez, vous pouvez filtrer ou trier les chaînes ou trouver une chaîne dans la liste des chaînes. Appuyez sur le bouton Jaune pour afficher les options Sélectionner Plus. Les options disponibles sont Sélectionner le Type, Trier et Rechercher. L'option de tri peut ne pas être disponible selon le pays sélectionné lors du processus de configuration initial.
Pour filtrer les chaînes, mettez en surbrillance Sélectionner le Type et appuyez sur le bouton OK. Vous pouvez choisir entre les options Catégories, Numérique, Radio, Gratisit, Crypted, Analogique, Favoris et Réseau pour filtrer la liste des chaînes ou sélectionner l'option Diffusion pour voir toutes les chaînes installées dans la liste des chaînes. Les options disponibles peuvent varier en fonction de la sélection de l'opérateur.
Pour trier les chaînes, mettez Trier en surbrillance et appuyez sur la touche OK. Sélectionnez l'une des options disponibles et appuyez à nouveau sur OK. Les chaînes seront triées en fonction de leur sélection.
Pour couvrir une chaine, mettez en surbrillance Rechercher et appuyez sur le bouton OK. Le clavier virtuel s'affiche. Entrez tout ou partie du nom ou du numéro de la chaine que vous souhaitez couvrir, mettez en surbrillance le symbole de coche sur le clavier et appuyez sur OK. Les résultats correspondants seront énumérés.
Remarque: Si une option, sauf Diffusion, est sélectionnée dans le menu Sélectionner le Type, vous ne pouvez faire défiler que les chaînes qui sont actuellement listées dans la liste des chaînes à l'aide des touches Programme +/- de la télécommande.
Modification des chaînes et de la liste des chaînes
Vous pouvez éditer les chaînes et la liste des chaînes à l'aide des options Sauter Chaine, Permuter de Chaine, Déplacer Chaine et Éditer Chaine dans le menu Paramètres>Chaine>Chaînes. Vous pouvez accéder au menu Paramètres à partir de l'écran d'accueil ou du menu des options TV en Mode TV en direct.
Remarque: Les options Permuter de Chaine, Déplacer Chaine et Modifier Chaine peuvent ne pas être disponibles et apparaisent en gris selon la sélection de l'opérateur et les paramètres relatifs à l'opérateur. Vous pouvez désactiver le paramètre LCN dans le menu Paramètres>Chaine, car il empêche l'édition des chaînes. Cette option peut être activée par défaut en fonction du pays sélectionné lors de la configuration initiale.
Gestion des listes de chaînes préférées
Vous pouvez créer quatre listes différentes de vos chaînes préférées. Ces listes comprennent uniquement les chaînes de votre choix. Appuyez sur la touche OK pour afficher la liste des chaînes. Appuyez ensuite sur le bouton Bleu pour accéder aux listes de favoris. Si une des listes est affichée à l'écran, vous pouvez appuyer sur le bouton directionnel Gauche ou Droit pour passer d'une liste à l'autre. Pour modifier la position d'une chaîne, sélectionnez cette chaîne et appuyez sur le bouton Jaune. Utilisez ensuite les boutons directionnels Haut et Bas pour déplacer la chaîne à la position souhaitée et appuyez sur OK. Sélectionnez une chaîne de la liste et appuyez sur le bouton OK pour la regarder.
Pour ajouter la chaîne actuellement regardée à l'une de vos listes de favoris, sélectionnez la liste de favoris souhaitée comme décrit ci-dessus et appuyez sur la touche Menu de la télécommande. Entrez ensuite dans le menu Chaînes, mettez en surbrillance l'option Ajouter à Mes Favoris et appuyez sur OK. La chaîne sera ajoutée à la liste de favoris sélectionnée. Seul le canal actuellement regardé peut être ajouté à une liste de favoris. Pour supprimer une chaîne de la liste, ouvrez la liste des favoris, sélectionnez la chaîne et appuyez sur le bouton Bleu.
Si vous souhaitez définir l'une de vos listes de chaînes préférencées comme liste de chaînes principale, vous devez sélectionner la liste de chaînes préférencées comme décrit ci-dessus. Définissez ensuite l'option Sélectionner le type dans Favoris. Ouvrez la liste de chaînes et appuyez sur le bouton Jaune pour voir les options. En fonction du choix de l'opérateur, cette fonction peut être bloquée et ne pas fonctionner correctement. Guide de programme
Grâce à la fonction Guide électronique de Programme (EPG) de votre téléviseur, vous pouvez consulter le programme des événements des chaînes actuellement installées dans votre liste de chaînes. Tout dépend de la diffusion concernée, que cette fonctionnalité soit en charge ou non.
Pour accéder au Guide électronique des programmes sur l'écran d'accueil, appuyez sur la touche Guide de la télécommande. Le guide électronique des programmes est également disponible en mode TV en Direct. Vous pouvez passer en mode « Live TV » soit en lançant l'application Live TV sur l'écran d'accueil, soit en sélectionnant la source d'entrée « Chaînes » dans le menu « Entrées » de l'écran d'accueil. Pour accéder au guide des programmes en mode « Live TV », appuyez sur la touche « Guide » de votre télécommande.
Utilisez les boutons de direction pour naviguer dans le guide de programme. Vous pouvez utiliser les boutons de direction Haut/Bas ou Programme +/- pour passer à la chaine précédente/suivante de la liste et les
boutons de direction Droite/Gauche pour sélectionner un événement souhaité de la chaîne actuellement en surbrillance. Si disponible, le nom complet, l'heure et la date de début et de fin, le type de l'événement en surbrillance et une brève information à son sujet sont affichés au bas de l'écran.
Appuyez sur le bouton Bleu pour filtrer les événements. En raison de la grande variété d'options de filtre, vous pouvez trouver des événements du type souhaité plus rapidement. Appuyez sur le bouton Jaune pour voir les informations détaillées sur l'événement en surbrillance. Vous pouvez également utiliser les boutons Rouge et Vert pour voir les événements de la veille et le lendemain. Les fonctions seront attribuées aux boutons colorés de la télécommande lorsqu'ils seront disponibles. Suivez les informations qui s'affichent à l'écran pour les fonctions précises des boutons.
Appuyez sur le bouton Enregistrement pour ajouter une minuterie pour l’événement en surbrillance dans le guide. Vous pouvez définir le type de minuterie en définissant l’options Type de Programme sur Rappel ou Enregistrement. Lorsque d’autres paramètres sont définis, Sélectionnez Ajouter et appuyez sur OK. La minuterie sera ajoutée à la liste de programmes. Vous pouvez accéder à la liste de programmes à partir du menu Enregistrer en mode TV en Direct.
Le guide ne peut pas être affiché si la source d'entrée du téléviseur est bloquée à partir du menu Paramètres > Chaîne > Contrôle parental > Entrées bloquées en mode TV en direct ou sur l'écran d'accueil.
Connexion à internet
Vous pouvez accéder à Internet sur votre téléviseur en le connectant à un système à large bande. Il est nécessaire de configurer les paramètres réseau pour pouvoir profiter d'une variété de contenus en ligne et d'applications Internet. Ces paramètres peuvent être configurés à partir du menu Paramètres>Réseau et Internet. Vous pouvez également mettre en surbrillance l'option Connecté/Non connecté sur l'écran d'accueil et appuyer sur OK pour accéder à ce menu. Pour plus d'informations, consultez la section Réseau & Internet sous le titre de Paramètres.
Connexion avec fil
Connectez-vous téléviseur à votre modem / routeur via un câble Ethernet. Il y a un port LAN à l'arrière de votre téléviseur.
L'état de la connexion dans la section Ethernet du menu Réseau et Internet passe de Non connecté à Connecté.

- Connexion FSI à large bande
- Cable LAN (Ethernet)
- Entree LAN à l'arrière du téléviseur
Vous pourrez réussir à connecter votre téléviseur à votre réseau de prise murale en fonction de la configuration de votre réseau. Dans ce cas, vous pouvez connecter votre téléviseur directement au réseau via un câble Ethernet.

- Réseau prise murale
- Entrée LAN à l'arrière du téléviseur
Connexion sans fil
Un modem/routeur LAN sans fil est nécessaire pour connecter le téléviseur à Internet via un réseau local sans fil.
Sélectionnez l'option Wi-Fi dans le menu Réseau et Internet et appuyez sur OK pour activer la connexion sans fil. Les réseaux disponibles seront répertoriés. Sélectionnez l'un d'eux et appuyez sur OK pour vous connecter. Pour plus d'informations, consultez la section Réseau et Internet sous le titre de Paramètres.

1. Connexion FSI à large bande
Un réseau avec un SSID masqué ne peut pas être détecté par d'autres appareils. Si vous souhaitez vous connecter à un réseau avec un SSID caché, mettez en surbrillance l'option Ajouter un nouveau réseau dans le menu Réseau et Internet sur l'écran d'accueil et appuyez sur OK. Ajoutez le réseau en entrant manuellement son nom à l'aide de l'option correspondante.
Certains réseaux peuvent avoir un système d'autorisation qui nécessite une deuxième connexion comme dans un environnement de travail. Dans ce cas, après vous être connecté au réseau sans fil auquel vous souhaitez vous connecter, mettez en surbrillance les Notifications situées en haut à droite de l'Écran d'accueil et appuyez sur OK. Mettez ensuite en surbrillance la notification Se connecter au réseau Wi-Fi et appuyez sur OK. Saisissez vos informations d'identification pour vous connecter.
Un routeur sans-fil N (IEEE 802.11a/b/g/n/ac) avec des bandes simultanées de 2,4 et 5 GHz est conçu pour augmenter la bande passante. Ces fonctions sont optimisées pour une transmission vidéo en HD plus claire et plus rapide et un transfert de fichiers et euxs sans fil faciles.
Utilisez une connexion LAN pour un partage plus rapide de données avec d'autres appareils comme les ordinateurs.
La vitesse de transmission varie selon la distance et le nombre d'obstructions entre les produits de la transmission, la configuration de ces produits, l'état des ondes radio, la bande et les produits utilisés. La transmission peut également être coupée ou être déconnectée selon l'état des ondes radio, des téléphones DECT ou de tout autre appareil WLAN 11b. Les valeurs standard de la vitesse de transmission sont les valeurs maximales théoriques pour les normes des appareils sans fil. Elles ne sont pas les vitesses réelles de la transmission des données.
L'endroit où la transmission est le plus efficace varie en fonction de l'environnement d'utilisation.
La fonction sans fil du téléviseur prend en charge les modems de type 802.11 a, b, g, n et ac. Il vous est fortement conseillé d'utiliser le protocole de communication IEEE 802.11n pour éviter toute dysfonction pendant que vous visionnez les vidéos.
Vous devez changer le SSID de votre modem si d'autres modems aux alentours partagent le même SSID. Dans le cas contraire, vous pouvez rencontrer des problèmes de connexion. Utilisez une connexion avec fil si vous avez des problèmes avec votre connexion sans fil.
Une vitesse de connexion stable est nécessaire pour lire le contenu en ligne. Utilisez une connexion Ethernet si la vitesse du réseau local sans fil est instable.
Sur l'écran d'accueil, faites défiler jusqu'à la ligne Apps, sélectionnez Multi Media Player (MMP) et appuyez sur le bouton OK pour lancer.
Sélectionnez le type de support sur l'écran principal du lecteur multimédia. Sur l'écran suivant, vous pouvez appuyer sur le bouton Menu pour accéder à une liste d'options de menu lorsque le focus est sur un dossier ou un fichier multimédia. Lors de l'utilisation des options de ce menu, vous pouvez modifier le type de support, trier les fichiers, modifier la taille des vignettes et transformer votre téléviseur en cadre photo numérique. Vous pourrez également copier, coller et supprimer les fichiers multimédia à l'aide des options correspondantes de ce menu, si un périphérique de stockage USB formaté en FAT32 est connecté au téléviseur. De plus, vous pouvez changer le style d'affichage en sélectionnant Analyseur normal ou Analyseur recursif. En mode Analyseur normal, les fichiers s'affichent avec les dossiers, si disponible. Ainsi, seul le type de fichiers multimédia sélectionné dans le dossier racine s'affiche Si dernier fichier multimédia du type sélectionné n'est present, le dossier est considéré comme vide. En mode Analyseur recursif, la source de tous les fichiers multimédia disponibles du type sélectionné est recherchée et les fichiers trouvés sont affichés. Appuyez sur le bouton Retour/Précédent pour fermer ce menu.
Afin d'activer la fonction de cadre photo, sélectionnez Photo comme type de média. Appuyez ensuite sur le bouton Menu, sélectionnez Cadre photo et appuyez sur OK. Une fois que vous avez sélectionné l'option One Photo mode et que vous avez appuyé sur OK, l'image que vous avez définie comme image de cadre photo plus tout s'affiche lorsque la fonction de cadre photo est activée. En cas de sélection de l'option
de périphérique de stockage USB, le premier fichier (en mode Analyse recursive) sera affiché. Afin de définir l'image du cadre photo, appuyez sur le bouton Menu pendant que le fichier photo de votre choix est affiché, sélectionnez Image du cadre photo et appuyez sur OK.
Lorsque vous parcourez les fichiers video, un aperçu de la video en surbrillance s'affiche dans une petite fenêtre située sur le côté gauche de l'écran si le style d'affichage est défini sur le mode Liste. Appuyez sur le bouton Bleu pour passer de l'affichage Liste à l'affichage Grille. Vous pouvez également utiliser les boutons Programme +/- pour passer directement au premier et au dernier dossier ou filchier si le style d'affichage est réglé sur Vue grille.
Les fichiers vidéo
Appuyez sur OK pour dire le fichier vidéo mis en évidence.
Info : Affichez la barre d'information. Appuyez deux fois pour afficher l'information étendue et le fichier suivant.
Lecture / Pause : Pause et reprise de la lecture.
Rembobiner : Lancez la lecture en sens inverse. Appuyez successivement sur pour régler la vitesse de rembobinage.
Avance rapide : Lancez la lecture en avance rapide. Appuyez successivement sur cette touche pour régler la vitesse de lecture avant.
Arrêter: Arrêtez la lecture et revenez à l'écran du lecteur multimédia.
Programme + : Passez au fichier suivant.
Programme- : Passez au dossier précédent.
Précédent/Retour: Retour à l'écran du lecteur multimédia.
Dossiers sur la musique
Appuyez sur OK pour sélectionner le fichier musical/audio.
Info : Affichez les informations étendues et le fichier - suivant.
Lecture / Pause : Pause et reprise de la lecture.
Rembobiner: Appuyez et maintenez pour rembobiner.
Avance rapide: Appuyez sur la touche et maintenez-la enfoncée pour avancer rapidement.
Arrêter: Arrête la lecture du disque.
Programme + : Passez au fichier suivant.
Programme- : Passez au dossier précédent.
Précédent/Retour: Retour à l'écran du lecteur multimédia.
Si vous appuyez sur le bouton Précédent/Retour sans arrêter la lecture au préalable, la lecture se poursuivra pendant que vous naviguez dans le lecteur multimédia. Vous pouvez utiliser les boutons du lecteur multimédia
pour contrôler la lecture. La lecture s'arrête si vous quittez le lecteur multimédia ou si vous passez le type de média à Video.
Fichiers photos
Appuyez sur OK pour afficher le fichier photo mis en évidence. Une fois que vous avez appuyé sur le bouton Lecture, le diaporama démarre et tous les fichiers photos du dossier en cours ou du périphérique de stockage, selon le style de visualisation, s'affichent dans l'ordre. Si l'option Répéter est réglée sur Aucun, seuls les fichiers situés entre le fichier mis en évidence et le dernier fichier de la liste seront affichés. Le diaporama s'arrête après l'affichage du dernier fichier listé.
Info : Affichez la barre d'information. Appuyez deux fois pour afficher les informations détaillées.
Lecture / Pause : Mettez en pause et reprenez le diaporama.
Bouton vert (Rotation/Durée): Faites pivoter l'image / Réglez l'intervalle entre les diapositives.
Bouton jaune (Zoom/Effet) : Zoom sur l'image / Appliquer divers effets au diaporama.
Programme + : Passez au fichier suivant.
Programme- : Passez au dossier précédent.
Précédent/Retour: Retour à l'écran du lecteur multimédia.
Fichiers texte
Une fois que vous avez appuyé sur le bouton OK, le diaporama démarre et tous les fichiers photos du dossier en cours ou du périphérique de stockage, selon le style de visualisation, s'affichent dans l'ordre. Si l'option Répéter est réglée sur Aucun, seuls les fichiers situés entre le fichier mis en évidence et le dernier fichier de la liste seront affichés. Le diaporama s'arrête après l'affichage du dernier fichier listé.
Info : Affichez la barre d'information. Appuyez deux fois pour afficher les informations détaillées.
Lecture / Pause : Pause et reprise du diaporama.
Programme + : Passez au fichier suivant.
Programme -: Passez au dossier précédent.
Boutons directionnels (bas ou droite / haut ou gauche) : Passez à la page suivante. / Passez à la page précédente.
Précédent/Retour: Arrêtez le diaporama et revenez à l'écran du lecteur multimédia.
Options menu
Appuyez sur le bouton Menu pour voir les options disponibles lors de la lecture ou de l'affichage des fichiers multimédia. Le contenu de ce menu diffère selon le type de fichier média.
Lecture / Pause : Pause et reprise de la lecture ou du diaporama.
Répetition : Définissez l'option de répétition. Mettez une option en surbrillance et appuyez sur OK pour modifier le paramètre. En cas de sélection de l'option Répéter une fois, le fichier multimédia actuel sera lu ou affiché de manière répétée. En cas de sélection de l'option Répéter tout, tous les fichiers multimédia du même type dans le dossier en cours ou dans le périphérique de stockage, selon le style de visualisation, seront lus ou affichés de manière répétée.
Lecture aléatoire activée / désactivée : Activez ou désactivez l'option de lecture aléatoire. Appuyez sur OK pour modifier le réglage.
Durée: Définissez l'intervalle entre les diapositives. Mettez une option en surbrillance et appuyez sur OK pour modifier le paramètre. Vous pouvez également appuyer sur le bouton Vert pour régler. Cette option ne sera pas disponible si le diaporama est mis en pause.
Pivoter: Faites pivoter l'image. L'image sera tournée de 90 degrés dans le sens des aiguilles d'une montre chaque fois que vous appuierez sur OK. Vous pouvez également appuyer sur le bouton Vert pour effectuer une rotation. Cette option ne sera pas disponible si le diaporama n'est pas mis en pause.
Effet : Appliquez divers effets au diaporama régler. Cette option ne sera pas disponible si le diaporama est mis en pause.
Zoom: Zoom sur l'image qui est actuellement affichée faire un zoom avant. Cette option ne sera pas disponible si le diaporama n'est pas en pause.
Police: Définissez les options de police. La taille, le style et la couleur peuvent être définis en fonction de vos préférences.
Afficher les informations : Affichez les informations détaillées.
Image de cadre photo : Définissez l'image actuellement affichée comme image de cadre photo. Cette image sera affichée si le mode Une photo est sélectionné à la place du périphérique de stockage connecté lors de l'activation de la fonction de cadre photo. Sinon, tous les fichiers seront lus comme un diaporama lorsque la fonction de cadre photo est activée.
Cacher/afficher le spectre : Cachez ou montrez le spectre si disponible.
Options lyriques : Affichez les options de paroles si elles sont disponibles.
Image éteinte : Ouvrez le menu d'alimentation de votre télévisieur. Vous pouvez utiliser l'option Image éteinte ici pour éteindre l'écran. Appuyez sur n'importe quelle touche de la télécommande ou sur le télévisieur pour allumer l'écran à nouveau.
Paramètres d'image : Affichez le menu des paramètres de l'image.
Paramètres du son : Affichez le menu des réglages du son.
Réglages audio : Définissez l'option de bande sonore si plus d'une est disponible.
Dernière mémoire: Réglez l'option Heure si vous pouзе re: prendre la lecture à partir de la position où elle a été arrêtée la prochaine fois que vous ouvrirez le même fichier vidéo. Si elle est réglée sur Arrêter, la lecture commence au début. Mettez une option en surbrillance et appuyez sur OK pour modifier le paramètre.
Cherchez: Sauter à un moment précis du fichier vidéo. Utilisez les touches numériques et directionnelles pour entrer l'heure et appuyez sur OK.
Sous-titre: Définissez vos préférences de sous-titres le cas échéant. Réglez sur Désactiver pour désactiver les sous-titres.
Codage du sous-titre : Affiche les options de codage de sous-titres si elles sont disponibles.
IMPORTANT! Sauvegardez les fichiers sur vos périphériques de stockage USB avant de les raccorder au téléviseur. La responsabilité du fabricant ne saurait être engagée en cas de dommage de fichier ou de perte de données. Certains types de périphériques USB (à l'exemple des lecteurs MP3) ou des lecteurs de disque dur/cartes mémoires USB peuvent être incompatibles avec ce téléviseur. Le téléviseur prend en charge le formatage des disques NTFS et FAT32. Les appareils au format FAT32 ayant une capacité de stockage supérieur à 192 To ne sont pas pris en charge. Les appareils au format NTFS ayant une capacité de stockage supérieur à 2 To ne sont pas pris en charge.
Vous pouvez visualiser vos photos, documents texte ou divers fichiers musicaux et vidéo installés sur un périphérique de stockage USB connecté sur le téléviseur. Branchez votre périphérique de stockage USB à l'une des entrées USB du téléviseur.
Sur l'écran principal du lecteur multimédia, sélectionnez le type de support souhaité. Sur l'écran suivant, sélectionnez un nom de fichier dans la liste des fichiers multimédia disponibles et appuyez sur le bouton OK. Suivez les instructions qui s'affichent à l'écran pour obtenir les informations relatives aux fonctions supplémentaires des boutons de couleur.
Remarque : Patientez un moment avant de brancher ou de débrancher l'appareil, car la lecture des fichiers peut être inachevée. Le cas échéant, cela peut physiquement endommager le lecteur USB et le périphérique USB lui-même.
Ne déconnectez pas votre périphérique USB pendant la lecture d'un fichier.
Assurez-vous que l'appareil mobile est connecté au même réseau que votre téléviseur. Sur le téléviseur, faites défiler jusqu'à la ligne Apps sur l'écran d'accueil, sélectionnez Multi Media Player (MMP) et appuyez sur le bouton OK pour lancer. Sélectionnez le type de support sur l'écran principal du lecteur multimédia. Sur l'écran suivant, appuyez sur le bouton Bleu pour passer à la mise en page de la vue Liste. Appuyez ensuite sur le bouton Précédent. DMR (Digital Media Renderer) apparaitra parmi les options de type de media. Mettez en surbrillance l'option DMR et appuyez sur le bouton OK. Le téléviseur est prêt à recevoir le fichier multimédia envoyé par tout appareil mobile. Sur l'appareil mobile, ouvrez le fichier que vous souhaitez partager et appuyez sur l'icône de partage ou sur l'option correspondante du menu Options de votre appareil mobile. Les appareils disponibles seront répertoriés. Sélectionnez cette TV dans la liste. Vous pouvez obtenir le nom de l'appareil de votre téléviseur à partir du menu Paramètres>Préférences d'Appareil>À propos de l'écran d'accueil. Si vous le souhaitez, vous pouvez également modifier le nom du téléviseur en sélectionnant l'un des noms prédéfinis ou en saisissant un nom personnalisé à l'aide des options du menu Nom de l'appareil. Lorsque la connexion est établie avec succès, le fichier multimédia sélectionné est affiché sur le téléviseur.
Enregistrement USB
Pour enregistrer un programme, vous devez d'abord connecter un périphérique de stockage USB à votre téléviseur lorsque celui-ci est éteint. Vous pouvez allumer la TV pour activer la fonction enregistrement. Pour enregistrer des programmes de longue durée comme les films, il vous est conseillé d'utiliser un disque dur externe USB.
Les programmes enregistrés sont sauvegardés sur le périphérique de stockage USB connecté. Si vous le souhaitez, vous pouvez enregistrer/copy les enregistrements sur un ordinateur; toutefois, ces fichiers ne peuvent y être lus. Seul votre téléviseur peut vous permettre de lire les enregistrements.
Un retard Lip Sync peut survenir pendant le décalage temporel. L'enregistrement radio n'est pas pris en charge.
Si la capacité d'écriture de l'appareil USB est insuffisante, l'enregistrement pourrait ne pas fonctionner et l'option espace temporel ne sera pas disponible.
Pour cette raison, il est recommandé d'utiliser les lecteurs de disques durs USB pour l'enregistrement des programmes HD.
Évitez de déconnecter la clé USB ou le disque dur pendant l'enregistrement. Si vous le faites, vous courez le risque d'endommager la clé USB/le disque dur connecté(e).
Certains éléments pourraient ne pas être enregistrés en raison des problèmes de signaux, et par conséquent, les videos gèlent parfois pendant la lecture.
Si un enregistrement démarre à partir de la minuterie lorsque le télétexte est activé, une boîte de dialogue s'affiche. Si vous sélectionnez Oui et appuyez sur OK, le télétexte sera désactivé et l'enregistrement commencera.
Enregistrement instantané
Appuyez sur le bouton Enregistrer pour démarrer l'enregistrement d'un événement tout en visionnant un programme. Appuyez sur le bouton Arrêt pour arrêter et enregistrer l'enregistrement instantané.
Vous ne pouvez pas changer d'émission pendant l'enregistrement.
Regarder les programmes enregistrés
Sélectionnez Liste d'Enregistrements dans le menu Enregistrement en mode TV en direct et appuyez sur OK. Sélectionnez un élément enregistré dans la liste (s'il a été précédemment enregistré). Appuyez sur le bouton OK pour regarder.
Appuyez sur le bouton Arrêter ou Précédent/Retour pour arrêter une lecture.
Les enregistrements seront nommés dans le format suivant: Nom de la chaîne_Date(Année/Mois/Jour)Durée(Heure/Minute/Seconde)_Nom du programme.
Enregistrement du décalage temporel
Pour utiliser la fonction d'enregistrement différé, l'option Mode Décalage temporel du menu Enregistrer> Mode Décalage temporel doit être activée en premier.
En mode décalage temporel, le programme est mis sur pause puis enregistré simultanément dans l'appareil de stockage USB. Appuyez sur le bouton Pause/Lecture tout en regardant une émission pour activer le mode de décalage temporel. Appuyez à nouveau sur le bouton Pause/Lecture pour revenir au programme en mode pause. Appuyez sur le bouton Arrêter pour arrêter l'enregistrement et retourner au programme en direct.
Lorsque cette fonction est utilisée pour la première fois, l'assistant de Configuration du Disque s'affiche lorsque vous appuyez sur le bouton Pause / Lecture. Vous pouvez désirer le mode de configuration Auto ou Manuel. En mode Manuel, si vous préférez, vous pouvez formater votre périphérique de stockage USB et spécifier l'espace de stockage qui sera utilisé pour la fonction Timeshift. Lorsque la configuration est terminée, le Résultat de la Configuration du Disque s'affiche. Appuyez sur le bouton Quitter.
La fonction de décalage horaire ne sera pas disponible pour les émissions de radio.
Format de disque
Lorsque vous utilisez un nouveau périphérique de stockage USB, il est recommandé de le formater d'abord à l'aide de l'option Format du menu Enregistrer>Infos appareil en mode TV en Direct. Mettez en surbrillance le périphérique connecté sur l'écran Infos sur le Périphérique et appuyez sur le bouton directionnel OK ou Droite pour afficher la liste des options disponibles. Mettez ensuite en surbrillance Format et appuyez sur OK pour continuer. Un dialogue de confirmation s'affiche. Sélectionnez Oui et appuyez sur OK pour commencer le formatage.
IMPORTANT: Le formatage de votre périphérique de stockage USB effacera TOUTES les données qu'il contient et son système de fichiers sera converti en FAT32. Dans la plupart des cas, des erreurs de fonctionnement seront fixées après un formatage, mais vous perdrez toutes vos données.
Liste de programme
Vous pouvez ajouter des rappels ou enregistrer des minutes et à l'aide du menu Liste de Programme. Vous pouvez accéder à la Liste de Programme à partir du menu Enregistrer en mode TV en Direct. Mettez en surbrillance Liste de Programme et appuyez sur OK. Les minutes déjà réglées seront listées si elles sont disponibles.
Appuyez sur le bouton Enregistrer pour ajouter une minuterie lorsque le menu Liste de Programme s'affiche à l'écran. Vous pouvez définir le type de minuterie en définissant l'option Type de Programme sur Rappel ou Enregistrement. Lorsque d'autres paramètres sont définis, Sélectionnez Ajouter et appuyez sur OK. La minuterie sera ajoutée à la liste. Si possible, vous pouvez également modifier ou supprimer les minuteries de cette liste. Sélectionnez la minuterie de votre choix et appuyez sur OK. Les options Modifier et Supprimer s'affichent au bas de l'écran. Sélectionnez l'option souhaitée et appuyez sur OK. Après avoir édité une minuterie, vous pouvez choisir de la remplacer ou de l'ajouter comme nouvelle minuterie. Si vous choisissez l'option Remplacer, la minuterie sera enregistrée avec les nouveaux réglages. Si vous choisissez l'option Ajouter, la minuterie sera ajoutée à la liste en tant que nouvelle minuterie. Mettez en surbrillance Remplacer ou Ajouter selon vos préférences et appuyez sur OK pour continuer. Lorsque vous choisissez de supprimer une minuterie, un dialogue de confirmation s'affiche à l'écran. Sélectionnez Oui et appuyez sur OK pour supprimer la minuterie sélectionnée.
Un message d'avertissement s'affiche si les intervalles de temps de deux minuteries se chevauchent. Vous ne
pouvez pas définir plus d'une minute pour le même intervalle de temps.
Appuyez sur le bouton QITTER pour fermer la Listedu Programme.
Grâce à la fonction CEC de votre téléviseur, vous pouvez utiliser un appareil connecté à l'aide de la télécommande du téléviseur. Cette fonction communique avec les appareils connectés à l'aide du HDMI CEC (Commande d'électronique grand public). Les appareils doivent prendre en charge le HDMI CEC et être connectés à une connexion HDMI.
L'option connexe du menu doit être allumée pour utiliser la fonctionnalité CEC. Pour vérifier, activer ou désactiver la fonction CEC, procédez comme suit :
- Entre le menu Paramètres> Préférences de l'appareil> Entrées de l'écran d'accueil ou les options du téléviseur> Paramètres> Préférences de l'appareil> Entrées en mode TV en Direct.
- Faites défiler vers le bas jusqu'à la section Contrôle Électronique du Consommateur (CEC). Vérifiez si l'option Contrôle HDMI est activée.
- Mettez l'option Contrôle HDMI en surbrillance et appuyez sur la touche OK pour l'activer ou la désactiver.
Assurez-vous que tous les paramètres CEC sont correctement configurés sur le dispositif CEC connecté. La fonctionnalité CEC possède différents noms sur différentes marques. La fonction CEC peut ne pas être disponible sur tous les appareils. Si vous connectez un appareil compatible HDMI CEC à votre téléviseur, la source d'entrée HDMI correspondante sera renommée avec le nom de l'appareil connecté.
Pour faire fonctionner l'appareil CEC connecté, sélectionnez la source d'entrée HDMI correspondante dans le menu Entrées de l'écran d'accueil. Ou appuyez sur la touche Source si le téléviseur est en mode TV en direct et sélectionnez la source d'entrée HDMI correspondante dans la liste. Pour permettre fin à cette opération et commander à nouveau le téléviseur via la télécommande, appuyez sur le bouton Source toujours fonctionnelle de la télécommande et passez à une autre source.
La télécommande du téléviseur peut automatiquement commander le dispositif après avoir sélectionné la source HDMI connectée. Cependant, tous les boutons ne sont pas transmis à l'appareil. Seuls les appareils qui prennent en charge la fonction de télécommande CEC sont compatibles avec la télécommande du téléviseur.
Le téléviseur prend également en charge la fonction ARC (Audio Return Channel). Cette fonction est un lien audio qui permet de remplacer d'autres câbles entre la télé et le système audio (récepteur A/V ou système)
stéréo). Connectez le système audio à l'entrée HDMI2 du téléviseur pour activer la fonction ARC.
Pour activer la fonction ARC, l'option Haut-parleurs doit être réglée sur Système audio externe. Vous pouvez accéder à cette option à partir des options TV ou des options TV>Paramètres>Préférences de l'appareil>Menu Sons en mode TV en Direct ou à partir du menu Paramètres>Préférences de l'appareil>Son sur l'écran d'accueil. Lorsque ARC est actif, TV coupe automatiquement le son de ses autres sorties audio. Ainsi, vous n'entendrez que de l'audio provenant d'un périphérique audio connecté. Les touches de contrôle du volume de la télécommande seront dirigées vers l'appareil audio connecté et vous pourrez contrôler le volume de l'appareil connecté avec votre télécommande TV.
Remarque : La souris ARC fonctionne uniquement via l'entrée HDMI2.
Google cast
Grâce à la technologie Google Cast intégrée, vous pouvez lancer une application installée sur votre appareil mobile directement sur votre téléviseur. Si votre appareil mobile dispose de la fonction Google Cast, vous pouvez mettre en miroir l'écran de votre appareil sur votre téléviseur sans utiliser aucun fil. Sélectionnez l'option Écran d'affichage sur votre appareil Android. Les appareils disponibles seront détectés et répertoriés. Sélectionnez votre téléviseur dans la liste et appuyez dessus pour lancer le casting. Vous pouvez obtenir le nom du réseau de votre téléviseur à partir du menu Paramètres> Préférences d'Appareil >À propos de l'écran d'Accueil. Nom de l'appareil sera l'un des éléments affichés. Vous pouvez également modifier le nom de votre téléviseur. Sélectionnez Nom de l'appareil et appuyez sur OK. Puis sélectionner Modifier et appuyez à nouveau sur OK. Vous pouvez sélectionner l'un des noms prédéfinis ou entrez un nom qui vous convient.
Pour afficher l'écran de votre appareil sur l'écran du téléviseur...
- Sur votre appareil Android, allez dans 'Paramètres' depuis le panneau de notification ou l'écran d'accueil.
- Tapez sur 'Connectivité de l'appareil'.
- Tapez sur 'Projection facile' et activez 'Projection sans fil'. Les appareils disponibles seront répertoriés
- Sélectionnez le téléviseur sur lequel vous pouvez lancer l'application
- Faites glisser le panneau de notification vers le bas
- Tapez sur 'Projection sans fil'.
- Sélectionnez le téléviseur sur lequel vous pouvez lancer l'application
Si l'application mobile est compatible avec l'affichage, à l'instar de YouTube, Dailymotion, Netflix, vous pouvez afficher votre application sur votre téléviseur. Sur l'application mobile, appuyez sur l'icône Google Cast. Les applications disponibles seront détectés et répertoriés. Sélectionnez votre téléviseur dans la liste et appuyez dessus pour lancer le casting.
Pour lancer une application sur l'écran du téléviseur...
- Sur votre smartphone ou tablette, ouvrez une application qui prend en charge Google Cast.
- Appuyez sur l'icône de Google Cast
- Sélectionnez le téléviseur sur lequel vous pouvez lancer la l'application
- L'application sélectionnée s'ouvre sur le téléviseur
Remarques :
Google Cast fonctionne sur Android et iOS. Assurez-vous que l'appareil mobile est connecté au même réseau que votre téléviseur.
Les options de menu et les noms des fonctions Google Cast sur votre appareil Android peuvent varier d'une marque à l'autre et peuvent changer avec le temps. Reportez-vous au manuel de votre appareil pour obtenir les dernières informations sur la fonction Google Cast.
Système HBBTV
HbbTV (Hybrid Broadcast Broadband TV) est une norme qui combine de manière transparente les services de télévision diffusés par le biais de la radiodiffusion avec des services diffusés par le biais de la large bande et permet également l'accès à des services Internet uniquement pour les consommateurs utilisant des téléviseurs et décodeurs connectés. Parmi les services fournis par la HbbTV, on peut citer, entre autres : les chaînes de télédiffusion traditionnelles, la vidéo à la demande, le guide de programme électronique, la publicité interactive, la personnalisation, les jeux, le réseau social, ainsi que les autres applications multimédia.
Les applications HbbTV sont disponibles sur des chaînes où elles sont signalées par le diffuseur. Les applications HbbTV sont généralement lancées en appuyant sur un bouton de couleur sur la télécommande. Généralement, une petite icône de bouton rouge apparaitra à l'écran afin d'informer l'utilisateur qu'il y a une application HbbTV sur cette chaîne. Appuyez sur le bouton indiqué à l'écran pour lancer l'application.
Les applications HbbTV utilisent les touches de la télécommande pour interagir avec l'utilisateur. Lorsqu'une application HbbTV est lancée, le contrôle de certains boutons appartient à l'application. À titre d'exemple, la sélection des chaînes numériques peut ne pas
fonctionner sur une application télétexte ou les chiffres indiquent les pages de télétexte.
HBBTV appelle une capacité de streaming AV sur la plateforme. De nombreuses applications existent qui fournissent des services de rattrapage et de VOD (video à la demande). Les boutons OK (lecture/pause), Stop, Avance rapide et Rebobinage de la télécommande peuvent être utilisés pour interagir avec le contenu AV.
Remarque : Vous pouvez activer ou désactiver cette fonction à partir du menu Options TV > Options Avancées > Paramètres HBBTV en mode TV en direct.
Recherche en mode de veille rapide
Si une recherche automatique est effectuée plus tôt, votre téléviseur cherche de nouvelles chaînes numériques ou les chaînes manquantes à 05 h 00 chaque matin en mode de veille rapide.
Et si l'option de mise à jour automatique des chaînes dans le menu Paramètres > Chaînes est activée, le téléviseur se réveillera dans les 5 minutes suivant sa mise en veille rapide et la recherche des chaînes. La LED de veille clignote pendant ce processus. Une fois que la LED de veille cesse de clignoter, le processus de recherche est terminé. Toute nouvelle chaîne trouvée sera ajoutée à la liste des chaînes. Si la liste des chaînes est mise à jour, vous serez informé des changements à la prochaine mise sous tension.
Mise à jour du logiciel
Votre téléviseur est capable de trouver et de mettre à jour le microprogramme automatiquement via Internet.
Pour profiter de la(Meilleure)utilisation de votre téléviseur et bénéficier des dernières améliorations, assurez-vous que votre système est always a jour.
Mise à jour du logiciel via internet
Sur l'écran d'accueil, entrez dans le menu Paramètres > Préférences de l'appareil > À propos afin de mettre à jour la version de votre système Android. Déplacez la mise au point sur l'option Mise à jour système et appuyez sur OK. Vous serez informé de l'état du système et l'heure de la première vérification des mises à jour de l'appareil s'affiche. L'option Vérifier la mise à jour est mise en surbrillance ; appuyez sur OK si vous pouvez vérifier la disponibilité d'une mise à jour.
Remarque: Ne débranchez pas le cordon d'alimentation pendant le processus de redémarrage. Si le téléviseur ne s'allume pas après la mise à niveau, débranchez-le, patientez deux minutes, puis rebranchez-le.
Le téléviseur ne s'allume pas.
Assurez-vous que le câble d'alimentation est correctement branché dans la prise de courant. - Débranchez le câble d'alimentation de la prise de courant. Attendez une minute puis rebranchez-le. - Appuyez sur le bouton Veille/Marche du téléviseur.
Le téléviseur ne répond pas à la télécommande.
- Le démarrage du téléviseur nécessite un certain temps. Pendant ce temps, le téléviseur ne répond pas à la télécommande ou aux commandes du téléviseur. C'est normal.
- Vérifiez si la télécommande fonctionne à l'aide d'un appareil photo de téléphone portable. Mettez le téléphone en mode Appareil photo et pointez la télécommande vers l'objet de l'appareil photo. Si vous remarquez à travers l'appareil photo que la LED infrarouge clignote lorsque vous appuyez sur n'importe quelle touche de la télécommande, alors la télécommande fonctionne. Le téléviseur doit être vérifié.
Si vous ne remarquez aucun clignotement, c'est que les piles seraient épuisées. Remplacez les piles. Si la télécommande ne fonctionne toujours pas, elle peut être cassée et doit être vérifiée.
Cette méthode de vérification de la télécommande n'est pas possible avec les télécommandes qui sont couplées sans fil au téléviseur.
Aucune chaîne disponible
Assurez-vous que tous les câbles sont correctement branchés et que vous avez sélectionné le bon réseau. Assurez-vous d'avoir sélectionné la bonne liste des chaînes. - En cas de réglage manuel, assurez-vous d'entrer la bonne fréquence de la chaîne.
Aucune image / image déformée
Assurez-vous que l'antenne est correctement branchée sur le téléviseur. Assurez-vous que le câble d'antenne est en bon état. Assurez-vous que le périphérique approprié est sélectionné comme source d'entrée. Assurez-vous que le périphérique externe ou la source est correctement connecté. - Assurez-vous que les paramètres de l'image sont correctement définis. - Les haut-parleurs, les appareils audio non mis à la terre, les néons, les immeubles de grande hauteur et d'autres objets courants peuvent influer sur
la qualité de la réception. Si possible, essayez d'améliorer la qualité de réception en changeant la direction de l'antenne ou en éloignant les appareils du téléviseur.
- Changez de format d'image si l'image n'est pas adaptée à l'écran. Assurez-vous que votre ordinateur utilise la résolution et la fréquence de rafraîchissement prises en charge.
Aucun son / faible qualité de son
Assurez-vous que les paramètres du son sont correctement définis. Assurez-vous que tous les câbles sont correctement connectés. Assurez-vous que le volume n'est pas coupé ou mis à zéro; augmentez le volume pour vérifier. Assurez-vous que la sortie audio du téléviseur est connectée à l'entrée audio du système audio externe. - Le son sort d'un seul haut-parleur. Vérifiez les paramètres d'équilibre à partir du menu de Son.
Les sources d'entrée - ne peuvent pas être sélectionnées.
Assurez-vous que l'appareil est connecté au téléviseur. Assurez-vous que tous les câbles sont correctement connectés. Assurez-vous de sélectionner la bonne source d'entrée dédiée au périphérique connecté. Assurez-vous que la bonne source d'entrée n'est pas cachée dans le menu Entrées.
Modes d'affichage typiques de l'entrée VGA
Le tableau ci-après est une illustration de quelques modes d'affichage vidéo typiques. Notre téléviseur ne peut pas prendre en charge toutes les résolutions.
| Index Résolution Fréquence | |
| 1 640x480 60Hz | |
| 2 640x480 72Hz | |
| 3 640x480 75Hz | |
| 4 800x600 56Hz | |
| 5 800x600 60Hz | |
| 6 800x600 72Hz | |
| 7 800x600 75Hz | |
| 8 1024x768 60Hz | |
| 9 1024x768 70Hz | |
| 10 1024x768 75Hz | |
| 11 1152x864 75Hz | |
| 12 1280x768 60Hz | |
| 13 1280x768 75Hz | |
| 14 1280x960 60Hz | |
| 15 1280x960 75Hz | |
| 16 1280 X 1024 60Hz | |
| 17 1280 X 1024 75Hz | |
| 18 1360x768 60Hz | |
| 19 1366x768 60Hz | |
| 20 1400x1050 59Hz | |
| 21 1400x1050 60Hz | |
| 22 1400x1050 75Hz | |
| 23 1440x900 60Hz | |
| 24 1440x900 75Hz | |
| 25 1600x1200 60Hz | |
| 26 1680x1050 59Hz | |
| 27 1680x1050 60Hz | |
| 28 1920x1080 60Hz |
Compatibilité des signaux AV et HDMI
| Source | Signaux pris en charge | |
| Composite / Arrière AV | PAL | |
| SECAM | ||
| NTSC4.43 | ||
| NTSC3.58 | ||
| Composant / YPbPr | 480i, 480p | 60Hz |
| 576 i, 576 p | 50Hz | |
| 720p | 50 Hz, 60 Hz | |
| 1080i | 50 Hz, 60 Hz | |
| HDMI | 480i | 60Hz |
| 480p | 60Hz | |
| 576 i, 576 p | 50Hz | |
| 720p | 50 Hz, 60 Hz | |
| 1080i | 50 Hz, 60 Hz | |
| 1080p | 24Hz, 25Hz, 30Hz, 50Hz, 60Hz | |
Dans certains cas, un signal du téléviseur peut ne pas s'afficher correctement. Le problème peut être celui d'une inconsistance au niveau des normes de l'équipement source (DVD, décodeur, etc.). Si vous rencontrez ce type de problème, veuillez contacter votre fournisseur et le fabricant de l'appareil source.
Formats de fichier pris en charge pour le mode USB
Vidéo
| Code védéo Résolution | Taux binaire | Profilo Support | ||
| VP9 1920x1080@60fps 40Mbps Profile0,2 | MKV (.mkv)WebM (.webm) | |||
| HEVC/H.265 1920x1080@60fps 50Mbps | Main/Main10 Profil, niveau élevé @Level 4.1 | MP4 (.mp4, .mov), 3GPP (.3gpp, .3gp), flux de transport MPEG (.ts, .trp, .tp), MKV (.mkv), WebM (.webm), FLV (.flv), AVI (.avi), H265 (.265) | ||
| MPEG1/2 1920x1080@60fps 80Mbps MP@HL | Flux de programme MPEG (.DAT, .VOB, .MPG, .MPEG), flux de transport MPEG (.ts, .trp, .tp), MP4 (.mp4, .mov), 3GPP (.3gpp, .3gp), AVI (.avi), MKV (.mkv), WebM (.webm), ASF (.asf), WMV (.wmv), OGM (.ogm) | |||
| MPEG4 1920x1080@60fps 40Mbps | Profil Simple Profil Simple Avancé@Niveau 5 GMC n'est pas supporté | MP4 (.mp4, .mov), 3GPP (.3gpp, .3gp), AVI (.avi), MKV (.mkv), WebM (.webm), ASF (.asf), WMV (.wmv), FLV (.flv), OGM (.ogm), flux de transport MPEG (.ts, .trp, .tp), flux de programme MPEG (.DAT, .VOB, .MPG, .MPEG) | ||
| Sorenson H.263 1920x1080@60fps 40Mbps | FLV (.flv)AVI (.avi) | |||
| H.263 1920x1080@60fps 40Mbps | FLV (.flv), MP4 (.mp4, .mov), 3GPP (.3gpp, .3gp), AVI (.avi), ASF (.asf), WMV (.wmv) | |||
| H.264 1920X1080@30fps 62.5Mbps | principal et de haut niveau au niveau supérieur 4,1 | FLV (.flv), MP4 (.mp4, .mov), 3GPP (.3gpp, .3gp), flux de transport MPEG (.ts, .trp, .tp), ASF (.asf), WMV (.wmv), AVI (.avi), MKV (.mkv), WebM (.webm), OGM (.ogm), flux de programme MPEG (.DAT, .VOB, .MPG, .MPEG), H264 (.264) | ||
| AVS 1920x1080@60fps 40Mbps | Jizhun profile @ Niveau 6.0 | Flux de transport MPEG (.ts, .trp, .tp), AVS (.avs) | ||
| AVS+ 1920x1080@60fps 50Mbps | Niveau du profil@de diffusion 6.0.1.08.60 | Flux de transport MPEG (.ts, .trp, .tp), AVS (.avs) | ||
| WMV3 1920x1080@60fps 40Mbps | ASF (.asf), AVI (.avi), MKV (.mkv), WebM (.webm), WMV (.wmv), 3GPP (.3gpp, .3gp), MP4 (.mp4, .mov), OGM (.ogm) | |||
| VC1 1920x1080@60fps 40Mbps | Profil Avancé @ Niveau 3 Profil Simple Profil Principal | Flux de transport MPEG (.ts, .trp, .tp), ASF (.asf), WMV (.wmv), AVI (.avi), MKV (.mkv), WebM (.webm), 3GPP (.3gpp, .3gp), MP4 (.mp4, .mov), VC1 (.vc1) | ||
| Code video Résolution | Taux binaire | Profilo Support | ||
| Motion JPEG 640x480@30fps 10Mbps | AVI (.avi), 3GPP (.3gpp, .3gp), MP4 (.mp4, .mov), MKV (.mkv), WebM (.webm), FLV (.flv), OGM (.ogm) | |||
| VP8 1920x1080@60fps 20Mbps | MKV (.mkv), WebM (.webm), FLV (.flv), 3GPP (.3gpp, .3gp), MP4 (.mp4, .mov), AVI (.avi), OGM (.ogm) | |||
| RV30/RV40 1920x1080@60fps 40Mbps | RM (.rm, .rmvb), MKV (.mkv), WebM (.webm) | |||
Audio
| Code audio | Taux d'échantillon | Chaine | Taux binaire | Support Remarque | |
| MPEG1/2 Couche 1 | 16KHz ~ 48KHz Jusqu'à 2 | 32Kbps~ 448Kbps | MP3 (.mp3), AVI (.avi), ASF (.asf), WMV (.wmv), MKV (.mkv, .mka), WebM (.webm), 3GPP (.3gpp, .3gp),MP4 (.mp4, .mov, m4a), flux de transport MPEG (.ts, .trp, .tp), flux de programme MPEG (.DAT, .VOB, .MPG, .MPEG), FLV (.flv), WAV (.wav), OGM (.ogm) | ||
| MPEG1/2 Couche 2 | 16KHz ~ 48KHz Jusqu'à 2 | 8Kbps ~ 384Kbps | MP3 (.mp3), AVI (.avi), ASF (.asf), WMV (.wmv), MKV (.mkv, .mka), WebM (.webm), 3GPP (.3gpp, .3gp),MP4 (.mp4, .mov, m4a), flux de transport MPEG (.ts, .trp, .tp), flux de programme MPEG (.DAT, .VOB, .MPG, .MPEG) , FLV (.flv), WAV (.wav), OGM (.ogm) | ||
| MPEG1/2/2.5 Couche 3 | 8KHz ~ 48KHz Jusqu'à 2 | 8Kbps ~ 320Kbps | MP3 (.mp3), AVI (.avi), ASF (.asf), WMV (.wmv), MKV (.mkv, .mka), WebM (.webm), 3GPP (.3gpp, .3gp),MP4 (.mp4, .mov, m4a), flux de transport MPEG (.ts, .trp, .tp), flux de programme MPEG (.DAT, .VOB, .MPG, .MPEG). , FLV (.flv), WAV (.wav), OGM (.ogm) | ||
| AC3/DD) | 32KHz, 44,1KHz, 48KHz | Jusqu'à 5,1 | 32Kbps ~ 640Kbps | AC3 (.ac3), AVI (.avi), MKV (.mkv, .mka), WebM (.webm), 3GPP (.3gpp, .3gp), MP4 (.mp4, .mov, m4a), flux de transport MPEG (.ts, .trp, .tp), flux de programme MPEG (.DAT, .VOB, .MPG, .MPEG), WMV (.wmv), ASF (.asf), OGM (.ogm) | |
| EAC3/DDP) | 32KHz, 44,1KHz, 48KHz | Jusqu'à 5,1 | 32Kbps ~ 6Mbps | EAC3 (.ec3), AVI (.avi), MKV (.mkv, .mka), WebM (.webm), 3GPP (.3gpp, .3gp), MP4 (.mp4, .mov, m4a), flux de transport MPEG (.ts, .trp, .tp), flux de programme MPEG (.DAT, .VOB, .MPG, .MPEG), WMV (.wmv), ASF (.asf), OGM (.ogm) | |
| AAC-LC, HEAAC 8KHz ~ 48KHz | Jusqu'à 5,1 | AAC-LC: 12kbps~ 576kbps V1 6kbps ~ 288kbps V2 : 3kbps ~ 144kbps | AAC (.aac), AVI (.avi), MKV (.mkv, .mka), WebM (.webm), 3GPP (.3gp, .3gp), MP4 (.mp4, .mov, m4a), flux de transport MPEG (.ts, .trp, .tp), flux de programme MPEG (.DAT, .VOB, .MPG, .MPEG), FLV (.flv), RM (.rm, .rmvb, .ra), WAV (.wav), WMV (.wmv), ASF (.asf), OGM (.ogm) | ||
| WMA 8KHz ~ 48KHz Jusqu'à 2 | 128bps ~ 320Kbps | ASF (.asf), WMV (.wma, .wmv), AVI (.avi), MKV (.mkv, .mka), WebM (.webm), 3GPP (.3gpp, .3gp), MP4 (.mp4, .mov) | WMA 7, WMA 8, WMA 9 Norme | ||
| WMA 10 Pro M0 | 8KHz ~ 48KHz Jusqu'à 2 < 192kbps | < 384kbps | ASF (.asf), WMV (.wma, .wmv), AVI (.avi), 3GPP (.3gpp, .3gp), MP4 (.mp4, .mov) | ||
| WMA 10 Pro M1 | 8KHz ~ 48KHz | < 768kbps | ASF (.asf), WMV (.wma, .wmv), AVI (.avi), 3GPP (.3gpp, .3gp), MP4 (.mp4, .mov) | ||
| WMA 10 Pro M2 | 8KHz ~ 96KHz | < 1.5Mbps (noyau DTS pur) | Flux de transport MPEG (.ts, .trp, .tp), flux de programme MPEG (.DAT, .VOB, .MPG, .MPEG), WAV (.wav), MKV (.mkv, .mka), WebM (.webm), 3GPP (.3gpp, .3gp), MP4 (.mp4, .mov, m4a), AVI (.avi), OGM (.ogm), DTS (.dts) | Prise en charge du décodage sté reproduction uniquement | |
| VORBIS Jusqu'à 48 KHz | KHz Jusqu'à 2 | ||||
| DTS Jusqu'à 48 KHz | Jusqu'à 5,1 | < 1.5Mbps (noyau DTS pur) | MP4 (.mp4, .mov), 3GPP (.3gpp, .3gp), flux de transport MPEG (.ts, .trp, .tp) | ||
| DTS LBR | 12KHz, 22KHz, 24KHz, 44,1KHz, 48KHz | Jusqu'à 5,1 | MP4 (.mp4, .mov), 3GPP (.3gpp, .3gp), flux de transport MPEG (.ts, .trp, .tp) | ||
| DTS XLL Jusqu'à 96KHz Jusqu'à 6 | Flux de transport MPEG (.ts, .trp, .tp, .mts, .m2ts), MP4 (.mp4, .mov), 3GPP (.3gpp, .3gp) | ||||
| LPCM 8KHz ~ 48KHz | Mono, Stéréo, 5.1 | 64Kbps ~ 1.5Mbps | WAV (.wav), AVI (.avi), MKV (.mkv, .mka), WebM (.webm), 3GPP (.3gpp, .3gp), MP4 (.mp4, .mov, m4a), flux de transport MPEG (.ts, .trp, .tp), flux de programme MPEG (.DAT, .VOB, .MPG, .MPEG), WMV (.wmv), ASF (.asf), FLV (.fiv), OGM (.ogm) | ||
| IMA-ADPCM MS-ADPCM | 8KHz ~ 48KHz Jusqu'à 2 | 2Kbps~ 384Kbps | WAV (.wav), AVI (.avi), MKV (.mkv, .mka), WebM (.webm), OGM (.ogm) | ||
| G711 A/mu-law 8KHz 1 64Kbps | WAV (.wav), AVI (.avi), MKV (.mkv, .mka), WebM (.webm), FLV (.fiv) | ||||
| Code audio | Taux d'échantillon | Chaîne | Taux binaire | Support Remarque | |
| LBR (cook) | 8KHz11,025KHz22,05KHz,44,1KHz | Jusqu'à5,1 | 6Kbps ~128Kbps | RM (.rm, .rmvb, .ra) | |
| FLAC 8KHZ~96KHz | Jusqu'à7,1 | < 1.6Mbps | MKV (.mkv, .mka), WebM (.webm),FLAC (.flac) | ||
| OPUS 8KHz ~ 48KHz | Hz Jusqu'à 6 | 6Kbps ~510Kbps | MKV (.mkv, .mka)WebM (.webm) | ||
| AMR-NB 8KHz 1 | 4.75 ~12.2Kbps | 3GPP (.3gpp, .3gp)MP4 (.mp4, .mov, m4a) | |||
| AMR-WB 16KHz 1 | 6.6 ~23.85Kbps | 3GPP (.3gpp, .3gp), MP4 (.mp4, .mov, m4a) |
Image Sous-titre
| Image Photo | Résolution (largeur x hauteur) | |
| JPEG | Base-line 15360x8640 | |
| Progressif 1024x768 | ||
| PNG 9600x6400 | ||
| BMP 9600x6400 | ||
| GIF 6400x4800 | ||
| WebP 3840x2160 | ||
| HEIF 4000x3000 |
Interne
| Extension du fichier | Support | Sous-titre Codec |
| ts, trp, tp | TS | Sous-titre DVB Télétexte CC(EIA608) PGS |
| mp4 | MP4 | Vobsub PGS TX3G |
| MKV | MKV | ASS SSA SRT VobSub PGS |
Externe
| Extension du fichier Anal yseur de sous-titre Remarque | ||
| .srt SubRip | ||
| .ssa/.ass | Sous-station Alpha Sous-station Alpha avancée | |
| .smi SAMI | ||
| .sub | MicroDVD SubIdx (VobSub) | |
| .txt TMPlayer | ||
Résolutions DVI prises en charge
Reportez-vous aux résolutions suivantes au moment de raccorder des périphériques à votre téléviseur à l'aide des câbles convertisseurs DVI (DVI à HDMI - non fournis).
| 56Hz 60Hz | 66Hz 70Hz | 72Hz 75Hz | ||||
| 640x480 | X | X | ||||
| 800x600 | XXX | |||||
| 1024x768 | XXXX | |||||
| 1280x768 | X | X | ||||
| 1280x960 | X | |||||
| 1360x768 | X | |||||
| 1366x768 | X | |||||
| 1280 X 1024 | XXXX | |||||
| 1400x1050 | X | |||||
| 1600x900 | X |
Spécifications
| Télédiffusion | PAL BG/I/DK SECAM BG/DK |
| Réception des chânes | VHF (BAND I/III), UHF (BAND U), HYPERBAND |
| Réception numérique | Télévision numérique terrestre ou par cable entiwrement intégrée (DVB-T-C) (DVB-T2 conforme) |
| Nombre de chaînes prédéfinies | 2 200 |
| Indicateur de chaire Affichage à l'écran | |
| Entrée d'antenne RF 75 Ohm (déuélibrée) | |
| Tension de fonctionnement | 220-240 V CA, 50 Hz. |
| Audio Sté reproduction German + Nicam | |
| Puisance de sortie Audio (WRMS.) (10 % THD) | 2 x 6 |
| Consommation électrique (W) | 65W |
| Consommation d'énergie en mode veille avec maintainen de la connexion au réseau (W) | < 2 |
| Dimensions TV DxLxH (avec pied) (mm) | 191 x 732 x 480 |
| Dimensions du téléviseur D x L x H (sans pied) (mm) | 51/78 x 732 x 435 |
| Affichage 32" | |
| Température de fonctionnement et humidité | 0 °C à 40 °C, soit 85 % d'humidité maximale |
Spécifications du transmetteur LAN sans fil
| Gammes de fréquence | Puisance max de sortie |
| 2400 - 2483,5 MHz (CH1-CH13) < 100 mW | |
| 5150 - 5250 MHz (CH36 - CH48) < 200 mW | |
| 5250 - 5350 MHz (CH52 - CH64) < 200 mW | |
| 5470 - 5725 MHz (CH100 - CH140) < 200 mW |
Restrictions pays
Cet appareil est destiné à un usage domestique et de bureau dans tous les pays de l'UE (ainsi que d'autres pays qui appliquent les directives européennes en la matière) sans restriction, sauf pour les pays ci-dessous mentionnés.
| Pays Restrictions | |
| Bulgaria | Autorisation générale requise pour l'usage extérieur et le service public |
| Italie | Une autorisation générale est requise en cas d'utilisation à l'extérieure de ses propres installations. |
| Grèce | Usage interne uniquement pour les bandes de 5470 à 5725 MHz |
| Luxembourg | Une autorisation générale est requise pour la fourniture réseau et les opérations d'entretien (pas pour le spectre) |
| Norvège | La transmission radio est interdite dans les zones situées dans un rayon de 20 km à partir du centre de Ny-Ålesund |
| Fédération de Russie | Utilisation interne uniquement |
| Israël | Bande 5 GHz uniquement pour la plage 5180 MHz-5320 MHz |
Les exigences peuvent changer à tout moment pour tous les pays. Il est recommandé à l'utilisateur de vérifier auprès des autorités locales l'état actuel de leur réglementation nationale sur les réseaux locaux sans fil à 5 GHz.
Licences
Les termes HDMI, Interface multimédia haute définition HDMI et le logo HDMI sont des marques de commerce ou des marques déposées de HDMI Licensing Administrator, Inc.

Fabriqué sous licence de Dolby Laboratoires. Dolby, Dolby Audio et le symbole du double D sont des marques déposées de Dolby Laboratories Licensing Corporation.
Dolby audio
Google, Android, Android TV, Chromecast, Google Play et YouTube sont les marques commerciales de Google LLC.
Cet appareil est doté d'une technologie dont les droits de propriété intellectuelle reviennent à Microsoft. Toute utilisation ou diffusion de cette technologie sans autorisation expresse de Microsoft est interdite.
Les propriétaires de contenus utilisent la technologie d'accès au contenu Microsoft PlayReady™ pour protéger leur propriété intellectuelle, ainsi que les contenus protégés par des droits d'auteur. Ce dispositif utilise la technologie PlayReady pour accéder à son contenu protégé et/ou à celui de la technologie de gestion de droits numériques Windows Media (WMDRM). Si le dispositif échoue dans l'application des restrictions relatives à l'utilisation de contenu, les propriétaires de contenus peuvent exiger de Microsoft l'annulation de l'utilisation par le dispositif du contenu protégé PlayReady. Cette annulation n'affecte pas les contenus non protégés ou ceux protégés par d'autres technologies d'accès au contenu. Les propriétaires de contenus pourraient vous demander de mettre à niveau PlayReady pour accéder à leurs contenus. Si vous ignorez la mise à niveau, vous ne pourrez pas accéder au contenu qui requiert une mise à niveau.
Le Logo «CI Plus» est une marque de commerce de CI Plus LLP.
Ce produit est protégé par certains droits de propriété intellectuelle de Microsoft Corporation. L'utilisation ou la distribution d'une telle technologie en dehors de ce produit est interdite sans une licence de Microsoft ou d'une filiale Microsoft/agrée.
Informations de la disposition
Ces symboles signifient que l'appareil électrique et électronique de même que la batterie portant ce symbole ne doit pas être mis au rebut comme des déchets ménagers ordinaires à la fin de leurs durées de vie. Au contraire, ils doivent être acheminés aux points de collecte indiqués pour le recyclage des équipements électriques et électroniques, ainsi que les batteries pour un traitement, une récupération et un recyclage correct conformément à la législation en vigueur dans votre pays et aux directives 2012/19/EU et 2013/56/EU.
En effectuant une bonne mise au rebut de ces produits, vous contribuerez ainsi à la préservation des ressources naturelles et aiderez par le fait même à éviter de potentiels effets négatifs sur l'environnement et la santé humaine qui, dans le cas contraire, pourraient être occasionnés par une gestion inadéquate des déchets générés par ces produits.
Pour plus d'informations sur les points de collecte et le recyclage de ces produits, contactez les autorités locales, le centre de collecte des ordures ménagères ou le magasin où vous avez acheté le produit.
Conformément à la législation en vigueur dans votre pays, des pénalités peuvent être imposées pour mauvaise mise au rebut de ce déchet.
(Utilisateurs commerciaux)
Si vous souhaitez procéder à la mise au rebut du présent appareil, veuillez contacter votre fournisseur et prenez connaissance des conditions générales du contrat d'achat.
Ces symboles ne sont valides qu'au sein de l'Union Européenne.
Contactez les autorités locales pour vous informer sur la mise au rebut et le recyclage.
L'appareil et son emballage doivent être déposés à votre point de collecte local pour recyclage.
Certains centres de collecte acceptent des produits gratuitement.
Remarque: Le symbole Pb en dessous du symbole pour les piles indique que ces piles contiennent du plomb.
- Produts
- Piles

Notice Facile