NH3225ANDROID - Fjernsyn NIKKEI - Gratis brugsanvisning og manual
Find enhedens vejledning gratis NH3225ANDROID NIKKEI i PDF-format.
Download vejledningen til din Fjernsyn i PDF-format gratis! Find din vejledning NH3225ANDROID - NIKKEI og tag din elektroniske enhed tilbage i hånden. På denne side er alle dokumenter nødvendige for brugen af din enhed offentliggjort. NH3225ANDROID af mærket NIKKEI.
BRUGSANVISNING NH3225ANDROID NIKKEI
Stativinstallation og vægmontering 4
Taender/slukker TV'et. 7
TV-betjeningsknapper & betjening 7
Fjernbetjening 8
Vejledning til Start-opsætning 9
Indhold i menuen Live TV-tilstand 11
Kanaler 11
TV-valgmuligheder. 11
Optag 12
Indstillinger 13
Visning af optagede programmer 23
Tidsforskudt optagelse 23
Diskformat 23
Planlaegningsliste: 24
[CEC] 24
Google Cast 24
HBBTV-system. 25
Fejlfinding og rad. 26
VGA-input Typiske visningstilstande 27
Signalkompatilitet for AV og HDMI 27
Understotteded DVI-oplosninger 32
Oplysninger om bortskaffelse. 34
Sikkerhedsoplysninger

CAUTION
RISIKOFORE ELEKTRISK STD MAIKKE ABNES

CAUTION: FOR AT UNDGÅ RISIKO FOR ELEKTRISK STØD:
FJERNIKKEDAKSLET(ELLERBAGSIDEN). DERFINDESINGEN SERVICERBAREDELE INDENI.VEDBEHOVFORSERVICERINGSKAL SERVICETEKNIKERE.KONTAKTES.
Strømstikket bruges til at afbryde TV'et fra lysnettet og skal derfor—hele tiden nære tilgængeligt og brugbart. Hvis TV'et ikke er frakoblet elektricitet fra lysnettet, vil enheden stadig trække strøm i alle situationer, selv hvis fjernsynet er i standby eller slukket.
Bemerk: Folg anvisningerne på skaarmen for betjening af relaterede Funktioner.
VIGTIGT - Laes brugsanvisningen welt inden installation aller drug.
ADVARSEL: Dette produit er beregnet til brug af personer (herunder børn), som er i stand til/ erfarne i at anvende en sādan ench ed uovervåget, medindre, de har fæt instruktion i brugen af apparatet af en person med ansvar for deres sikkerhed.
- Brug dette TV i en højde på under 5000 meter over havets overflade, på tørre steder og i regioner med moderat eller tropisk klima.
- TV-apparatet er beregnet til husholdning og lignende indendors brug, men kan ochs bruges på offentlige steder.
- Af hensyn til ventilation skal du sorge for mindst 5 cm fri plads omkring TV'et.
- Ventilationen må ikke hindres ved at dække ventilationsæbningerne med ting, sasom aviser, duge, gardiner osv.
- Strømstikket skal vare let tilgengeligt. Anbring/DD TV'et, mobler, osv. pa strømkabet. Et beskadiget kabel/stik kan forarsage brand eller give elektrisk stød. Handter ledningen ved stikket, frakobl/DD TV'et, ved at trække i ledningen. Ror aldrig ved strømkabet/stikket med vade hender, da dette kan forarsage en kortslutting eller elektrisk stød. Slå aldrig knude pa strømkabet og bind det aldrig sammen med andre kabler. Hvis det er skadet, skal det udskiftes, dette bør kun udfores af kvalificeret personale.
-
Udsæt ikke TV'et for dryp eller sprej't af væsker og placer ikke genstande med væske, sösum vaser, kopper mv. på eller over TV'et (f.eks på hylder over enheden).
-
Udsæt ikke TV'et for direkte sollys eller placer ikke aben ild, sösom taendte stearinlys på toppen af erler iærheden af fjernsynet.
- Placer/DD:vekermildersasomelektriske varmeapparater, radiatorermv.naerTV'et.
Anbring-ilke TV'et pagulvet og skra flader. - For at undgå risiko for kvælning, skal plastikposer opbevares utilgængeligt for babyer, børn og husdyr.
- Fastgør omhyggeligt stativet til TV'et. Hvis stativet er forsynet med skruer, strammes skruerne godt fast for at forhindre TV'et i at vippe. Over-stram ikke skruerne og montere stativets gummi-fddder ordentligt.
- Smid参加会议的人员
- Smid参加会议的人员
- Smid参加会议的人员
- Smid参加会议的人员
- Smid参加会议的人员
ADVARSEL
- Batterier må ikke udsættes for stærk varme som direkte solskin, ild og lignende.
- For kraftig lyd fra øre- og hovedtelefoner kan medføre høretab.
FORST OG FREMMEST - Lad ALDRIG nogen, især børn, skubbe eller ramme skærmen, skubbe noget ind gennem huller og sprækker aller andre Åbninger i dækslet.
| Forsigtig | Risiko for alvorlig personskade eller død |
| Risiko for elektrisk stød | Alvorlig strømrisiko |
| Vedligeholdelse | Vigtig vedligeholdelseskomponent |
Maerkning af Produktet
Folgende symboler anvendes på produitet som markør for begrænsninger og forholdsregler og sikkerhedsanvisninger. Hver forsklaring skal iagttages, hvor produitet er forsynet med relateret mærkning alene. Bemærk södanne oplyninger af sikkerhedsmæssige Årsager.

Klasse II-udstyr: Dette apparat er udformet på en sādan mäde, at det ikke kræver en sikkerhedstilslutning til elektrisk jord.

Farlig ledende terminal: Den/de markeredeternal(-er) er farligt ledende under normale driftsforhold.

Forsigtig, se betjeningsvejledningen: De(t) is markerede omrade(r) indeholder mont-ller in knapcellebatterier, som kan udskiftes afilen.

Klasse 1 Laserprodukt: Dette produit indeholder en classe 1-laserkilde, som er sikker under rimeligt forudsigelige driftsforhold.
ADVARSEL
Batteriet må ikke sluges. Giver risiko for kemiske aetsningsskader
Dette produit aller tilbehoret, som leveresammen med produitet, kan indeholde et batteri i knapstorrese. Hvis knapcellebatteriet sluges, kan det medfare alvorlige indre aetse-skader pa bare 2 timer, hvilket kan vare livsfarligt.
Opbevar nye og brugte batterier utilgengeligt for born.
Hvis batteridaekslet不解ukker ordentligt, skal du stoppe med at bruge Produktet og opbevare det utilgengeligt for born.
Hvis du har mistake om at batterier kan vare blevet slugt aller placeret inde i en del af kroppen, skal du straks soge laegehjaelp.
Et TV kan falde ned og forarssage alvorlig personskade aller ddd. Mange skader, iser for born, kan undgas ved at tage simple forholdsrregler, sasom:
- Brug ALTID kabinetter stativer aller monteringsmétoder, der er anbefalet af producenten af fjernsynet.
- Brug ALTID møbler, der kan understotte TV'et sikkert.
- Sorg ALTID for at TV'et/DD icke rager ud over kanten af stottemoblet.
- Laer ALTID børn om farene ved at klatre op på mobler for at kinne nå TV'et eller dets kontrolknapper.
- Sæt ALTID ledninger og kabler, der er tilsluttet dit TV, SSE man ikke kan snuble, trække i dem uller gribe dem.
- Anbring ALDRIG et TV-apparat på et ustabilt sted.
- Anbring ALDRIG fjernsynet på Höhe je mobler (f.eks. skabe eller bogreoler).uden at forankre bade mobler og TV til en passende stotte.
- Anbring ALDRIG TV'et på stof aller andere materi aler, der er placeret mellem TV'et og stottemobler.
- Placer ALDRIG genstande, der kan friste børn til at klatre, sasom legetoj og fjernbetjeninger, pa toppen af TV'et uller mblerne, som fjernsynet er placeret pa.
- Udstyret passer kun til montering i højder pa ≤ 2m Hvis dit nuværende TV er ved at blive afmonteret og flyttet, bør de samme overvejelser som ovenfor anvendes.
Apparater forbundet til bygningsinstallationernes beskyttende jordforbindelse gennem LYSNETTET aller gennem andet apparat med beskyttende jordforbindelse - og til et TV-distributionssystem ved brug af koaksialkabel, kan under visse omstændigheder vare brandfarligt. Tilslutning til et kabelfordelersystem skal derfor foretages gennen en anordning, der giver elektrisk isolation under et bestem frekvensområde (galvanisk isolator).
ADVARSLER VED VAEGMONTERING
- Laes vegledningen før montering af dit TV pa væggen.
Vægmonteringskit er ekstraudstyr Du kan fä det fra din lokale forhandler, hvis ikke det følger med TV'et. - Installer erke TV'et pa et loft erler pa en skra vaeg.
- Brug de angivne vægmonteringsskruer og andet tilbehør.
- Stram vægmonteringsskruerne for at forbindre TV'et i at falde. Overspaend ikke skruerne.
Figurer og illustrationer i dette brugervejledninger er kun vejledende og kan afvige fra det faktiskeproduktdusende. Produktdesign og specifikationenkanændresumenvarsel.
Indledning
Tak, fordi du har valgt vores produit. Du vil snart nyde snart dit nye TV. Laes disse instruktioner omhyggeligt. De indeholder vignige oplysninger, som vil hjælpé dig med at fá det bedste ud af dit TV og sikre en sikker og korrekt installation og drift.
Fjernbetjening
- Batterier: 2 x AAA
- Instruktsbog
Funktioner
Fjernbetjent farve-TV.
Android™ operativesystem
- Google Cast
Stemmesøgning
- Fuldt integreret digital antenna/kabel-TV (DVB-T-T2/C)
- HDMI-indgange til at tilslutte andre enheder med HDMI-stik
- USB-input
- Kompositstik til eksterne enheder (sasom DVD-afpillere, PVR, videospil osv.).
- Stereolydsystem
Tekst-TV
- Tilslutting af horetelefoner
- Automatisk programmierungssystem
- Manuel tuning
- Sove-timer
- taend-/sluk-timer
- Sluk timeren:
- Billed-deaktiveringsfunktion
- Automatisk slukkefunktion ved ingen signal
VGA-indgang
- Ethernet (LAN) til internetforbindelse og -tjeneste
802.11 a/b/g/n/ac indbyggetWLAN-understottelse
HbbTV
High Dynamic Range (HDR) / Hybrid Log-Gamma (HLG):
Ved hjælp af dette Funktion kan TV'et gengive et størredynamikområde i lysstyrke ved at opfange og derefter kombinere flere forskellige eksponereringer. HDR/HLG lover bedre billedkvalitet takket øre klarere,
mere realistisk lysfremhævning, mere realistisk farve og andre forbedringer. Det leverer det udseende, som filmskabere skal opfylde, og viser de skjulte omrader i mørke skygger og sollys med fuld klarhed, farver og detaljer. HDR/HLG-indhold understøtes via indbygede og portal-applikationer, HDMI, USB-indgange og via DVB-udsendelse
Stativinstallation og vægmontering
Montering / fjernelse af suklen
Forberedelser
Tag doklen(-erne) og TV'et fra emballagen og sæt TV'et pa et arbejdsbord med skærmpanelet ned pa ren og blød klud (tæppe, mm)
- Brug en flad og fast bord større end TV'et.
- Hold/DD skaermpanelet.
- Sorg for icke at ridse aller ødelægge TV'et.
Samling af Soklen
- Anbring suklen(-erne) på soskelmontering smønstret(-erne) på bagsden af TV'et.
- Indsæt de fire skruer og stram dem forsigtigt, indtil foden er monteret ordentligt.
Sorg for at fjerne saklen pa folgende MADE, nár du bruger vægbeslag eller pakker TV'et ned.
- Sæt fjernsynet på et arbejdsbord med skærmpanelet nedad på ren og blød klud. Efterlad saklen(-erne) söden rækker ud over kanten af underlaget.
- Løsn skruerne, som fastholderstativet(-erne).
Fjern Soklen(-erne).
Ved brug af vægbeslag
Dit TV er forberedt til et VESA-kompatibelt vægbeslag.
Hvis det ikke leveres med dit TV, skal du kontakte din lokale forhandler for at kobe det anbefalede vægbeslag.
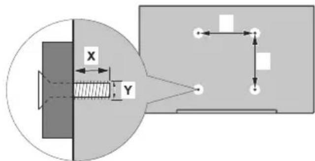
Huller og mal for vægbeslagsinstallation er som vist nedenfor.

| VESA Mål PÅ VæGBESLAG | ||
| Størrelse på hulmønstre (mm) | W | H |
| 75 75 | ||
| Skrueestørrelser | ||
| Længde (X) | min. (mm) 7 | |
| max. (mm) 8 | ||
| Gevind (Y) M4 | ||
Antenneforbindelse
Hvisdu vil tilslutte en ehed til TV'et, skal du sorge for, at bade TV og eheden er slukket, fdr du opretter en forbindelse. Nar forbindelsen er etableret, kan du tande for ehederne og bruge dem.
Andre forbindelser

Hvis du vil til slutte en enched til TV'et, skal du sorge for, at bade TV og encheden er slukket, f#r du opretter en forbindelse. Nar forbindelsen er etableret, kan du tande for enchederne og bruge dem.
| Forbindelse Type | Kabler Enhed | ||
| KOMPONENT | Komponent video-tilslutning (bagside) | VGA til Komponent Forbindelseskabel | |
| HDMI-tilslutning (bagside&side) | |||
| VGA-tilslutning (bagside) | |||
| AUDIO IN | VGA/Komponentaudio-Forbindelse (bagside) | Komponent/VGA Audiokabel | |
| SPDHVIS | SPDIF (Koaksial udgang) tilslutning (tilbage) | ||
| KOMPOSIT | Komposit (Audio/Video) tilslutning (bagside) | Audio/Video-tilslutningskabel | |
| HOVEDTELEFON | Hovedtelefon tilslutning (side) | ||
| USB tilslutning (side) | |||
| CI tilslutning (side) | |||
| LAN | Ethernet-tilslutning (bagside) | LAN-/Ethernet-kabel | |
For at aktivere VGA/Komponent Audio, skal du bruge bagsidens lydindgange med et VGA/Komponent-audiokabel (medfolger ici) for lydtilslutning. Ved brug af vægmon-teringssættet (kontakt din forhandler for at kobe et, hvis det ikke medfolger), anbefaler vi, at du sætter alle dine kabler i bag pa TV'et, for det monteres pa væggen. Cl-modulet mA kun isætes ell er fjernes, nar TV'et er SLUKKET. Se instrukts-manualen til modulet for detailjer omkring indstillinger. USB-indgape pa dit TV understetter eheder pa op til 500mA. Tilslutning af eheder, der har strømvaeri over 500mA, kan beskadige dit TV. Ved tilslutning udstyr ved hjælp af et HDMI-kabel til dit TV, for at sikre tilstrekkelig immunitet mod parasitfrekvens-stråling og problemfri overførsel af high definition-signaler, sasom 4K-indhold, skal du bruge en høj hastighed afskæmer (høj kvalitet) HDMI-kabel med ferritkerner.
Tænder/slukker TV'et
Tilsut strøm
VIGTIGT: Dette TV-apparater designet til at fungere med 220-240V, 50Hz stikkontakt.
After udpakning skal du lade TV-apparatet comme op pä den omgivende rumtemperatur, för du tilslutter det til strømforsyningen.
Sæt strømkablet i stikkontakten. TV'etændes herefter(Tilvalg).
Trykke pa Standby-knappen pa fjernbetjeningen.
Tryk på kontrolknappen på TV'et.
TV'et taendes herefter.
TV'et kan ikke skiftes til standbytilstand via kontrolknappen. Tryk og hold Standby-knappen på fjernbetjeningen. Nu vises Sluk-menuen på skærmen. Marker OK og tryk på knappen OK. TV'et skifter nu til standbytilstand.
For at slukke TV'et welt, tag strmledningen ud af stikkontakten.
Hurtig standby-tilstand
For at taende TV'et fra standbytilstand skal man enten:
- Trykke på Standby-knappen på fjernbetjeningen.
Trykigen for at gà tilbage til driftstilstand.
Tryk på kontrolknappen på TV'et.
Tryk对其进行控制并进行控制。
TV-betjeningsknapper & betjening

Kontrolknappen giver dig mulighed for at styre Hurtig standbyfunktioner på TV'et.
Bemerk: Placeringen af kontrl-knappen kan variere alt after modellen.
Sadan slukkes TV'et (hurtig standby): Tryk pa kontrolknappen for at omdanne TV'et til hurtig standbytilstand.
Sādan slukkes TV'et: TV'et kan/DD skiftes til standbytilstand via kontrlknappen.
For at tænde for TV'et: Tryk på kontrolknappen, TV'et vil tænde.
Bemerk: Live TV-indstellingsmenu OSD i Live TV-tilstand kan/DDi.
ikke vises via kontrolknappen.
Brug af fjernbetjeningen
Tryk på knappen Menu på din fjernbetjening, for at se Live-TV, indstellingsmenu i Live-TV-tilstand. Tryk på Hjem-knappen for at få vist eller vende tilbage til startskærmen på Android TV. Brug retningsknapperne til at flytte fokus, fortsette, justere nogle indstillinger og trykke på OK at foretage valg for at foretageændringer, indstille dine præferencer, gå ind i en untermenu, starte et program osv. Tryk på Retur/Tilbage for at vende tilbage til den forrige menuskærm.
Indgangsvalg
Nár de eksterne systemer er tilsluttet TV'et, kan du skifte mellem de forskellige signalindgange. Tryk på Kilde-knappen på fjernbetjeningen i rækkefolge, aller drug piletasterne, og tryk derefter på OK-knappen for at skifte til forskellige kilder i Live TV-tilstand. Eller indtast Indgange på startskærmen, vælg den ønskede kilde på listen og tryk på OK.
AEndring af kanaler og lydstyrke
Du kan justere lydstyrken ved hjælp af Volumen +/- knapper og skift kanal i Live TV-tilstand ved hjælp af Program +/- knapper på fjernbetjeningen.
Fjernbetjening

Saat batterierne i fjernbetjeningen
Fjern forst den skrue, der fastgor dakslet til batterirummet pa bagsiden af fjernbetjeningen. Loft daekslet forsigtigt. Indsæt to 1,5V AAA-batterier. Sorg for at (+) og (-) stemmer overens (vær opmaerksom pa korrekt polaritet). Bland ikke的游戏 og nye batterier. Udskift kun med nogle af samme eller tilsvarende type. Saet daekslet paigen. Skru derefter daekslet paigen.
Standby-knap
Tryk og hold Standby-knappen på fjernbetjeningen. Nu vises Sluk-menuen på skærmen. Marker OK og tryk på knappen OK. TV'et skifter nu til standbytilstand. Tryk kortvarigt og slip for at skifte TV'et til hurtig standbytilstand eller for atænde TV'et i hurtig standby-ller standbytilstand.
- Standby: Hurtig Standby / Standby / Til
- Numeriske knapper: Skifter kanal i Live-TV-tilstand, indtaster et tal aller bogstavtekstboksen pa skarmen.
- Sprog: Skifter mellem lydtilstande (analogt TV), viser ogændrer lyd/undertekstsprog (digital TV, hvor det er tilgaengeligt)
- Hjem: Viser startskaernen.
- Lydløs: Slukker helt for lydstyrken pa TV'et
- Volumen +/-
- Guide: Viser den elektroniske programguide i Live TV-tilstand
- Retningsbestemte knapper: Navigerer i menuer, indstellingsindstillinger, flytter fokus erer markor osv., Indstiller optagetid og viser undersiderne i Live TV-tekst-TV-tilstand, nar der trykkes pa horeller Venstre. Folg instruktionerne pa skaernen.
- OK: Bekræfter valg, går ind i untermenuer, viser kanalliste (i Live TV-tilstand)
- Tilbage/Retur: Vender tilbage til forrige menuskaerm, garet skridt tilbage, lukker abne vinduer, lukker tekst-TV (i Live TV-Tekst-TV-tilstand)
- Netflix: Starter Netflix-programmet
- Menu: Viser Live TV-indstillingsmenu (i Live TV-tilstand), viser tilgängelige indstellingsmuligheder sa som lyd og billede
- Stop: Stopper mediet, der afspilles
- Spol tilbage: Flytter billed bagud i medier, sasom film
- Optag: Optager programmer i Live TV-tilstand
- Farvede knapper: Følg vejledningen på skærmen for farvede knapfunktioner
- Tekst: Abner og lukker Tekst-TV (hvor det er tilgengeligt i Live TV-tilstand)
- Pause: Sætter det medie, der afspilles på pause, starter tidsforskudt optagelse i Live TV-tilstand Afspil: Starter afspilning af valgt medie
- Hurtigt fremad: Flytter billeder fremad i medier, sasom film
- MyButton1: Abner menuen for indstilling af billedtilstand pa tilgaengelige kilder
- YouTube: Starter YouTube-applikationen
- Afslut: Lukker og forladerLive TV-indstillingsmenuer, lukkerStartskaermen forlader enhver korende application ell er menu ell er OSD-banner, skifter til sidst indstillede kilde
- Info: Viser information om indhold på skærmen
- Kilde: Viser alle tilgängelige udsendelses- og indholdskilder, lukker startskærmen og skifter til sidst indstillede kilde
- Program +/-: Oger/reducerer kanalnummeret i Live TV-tilstand
- Undertekster: Slár undertekster til og fra (hvis tilgængelig)
Vejledning til Start-opsætning
Bemark: Folg instruktionerne pa skaernen for at fulfore startupaetningen. Brug piletasterne og OK-knappen pa fjernbetjeningen for at vaelge, indstille, konfigurere og fortsaete.
När TV'et tændes første gang, vises Velkomstskærmen. Vælg dit foretrukne sprog og tryk på OK. Følg instruktionerne på skærmen for at indstille dit TV og installere kanaler. Installationsguiden vil guide dig gennem installationsprocessen. Du kan udføre førstegangss installation när som helst ved hjælp af menuvalget Nulstil i den tilhorende indstilling i menuen Indstlinger>foretrukne encheder. Du kan få adgang til Indstlinger fra startskærmen eller fra TV-indstlinger-menu i Live TV-tilstand.
1. Velkomstmeddeelse oq sproqvalg
After valg af sprogkan du starte den oprindelige installationsguide. Vaelg FORTSAET og tryk pa OK for at fortsaete. Du kan ikke gå tilbage ogændre sprog og land, nardu fortætter. Hvis du har brug for atændre sproget after dette trin, skal du skifte TV'et til standbytilstand, sa installationsprocessen starter fra starten, nar du tænder for fjernsynet. For at gore dette skal du trykke pa Standby-knappen. Der vises en dialog. Fremhæv OK og tryk OK.
En sogning after tilbehør udfores, after at den Forste opsæting er startet. Følg informationerne pa skærmen for at parre din fjernbetjening (afhænger af model af fjernbetjening) og andet tradløst tilbehør med dit TV. Tryk på Tilbage/retur-knappen for at afslutte tilfojelse af tilbehør og starte opsætningen.
4. Hurtig opsæting
Hvis du ikke tidligere har tilsluttet dit TV til internettet via Ethernet, vises der en skærm, hvor du kan overføre din Android-telefons WLAN-netværk og Google-konto til dit TV. Vælg FORTSAET og tryk på OK for at fortsette. Følg instruktionerne på dit TV og din Telefon for at afslutte processen. Du kan øgsø springs dette trin over ved at vælgse Spring over muligheden. Nogle trin springs muligvis over afhængigt af de indstillinger, der er foretaget i dette trin.
Hvis du tidligere tilslutte de dit TV til internettet via Ethernet, vises der en meddeelse om, at du er tilsluttet. Du kan vaelge at fortsette med en kabelforbindelse aller skiffe netvark. Fremhav Skift netvark og tryk på OK, hvis du vil bruge tradløs forbindelse i stedet for kabelforbindelse.
5. Netværksforbindelse
Du ledes automatisk til det næste trin, hvis du tilslutter dit TV til internet via Ethernet på dette tidspunkt. Hvis ikke, vil tilgængelige tradløse netværk søges og vises på den næste skærm. Marker dit WLAN-netværk på listen, og tryk på OK for at forbinde. Indtast adgangskoden, hvis det valgte netværk er beskyttet med adgangskode. Vælg Andet netværk fra listen, hvis det netværk, du vil oprette forbindelse, har skjult SSD.
Hvis du foretrækker ikke at oprette forbindelse til internettet på dette tidspunkt, kan du springe dette trin over ved at vælgge Spring over-muligheden. Du kan oprette forbindelse til internettet senere ved hjælp af Netværk og Internet-menuindstillinger i Indstillinger fra startskærmen eller fra TV-indstellingsmenu i Live TV-tilstand.
Dette trin springs over, hvis der er oprettet internetforbindelse i det forrige trin.
Hvis forbindelsen oprettes, kan du logge på din Google-konto på den æste skærm. Du skal ære logget ind på en Google-konto for at kinne bruge Google-tjenester. Dette trin springs over, hvis der ikke er oprettet nogen internetforbindelse i det forrige trin, eller hvis du allerede er logget ind på din Google-konto i Quick Setup-trin.
- Brug din Telefon aller computer: Du kan bruge en browser på din Telefon aller computer til at logge på. Fremhæv dette mulighed og tryk på knappen OK. Der vil blive vist en kode på TV-skaernen. Kontroller at enchederne er tilsluttet til det samme netværk som TV'et. Abn det givne websted (androidTV.com/setup, følg instruktionerne på skærmen for den ajourførte websteds url) i Telefonens eller computerens browser, og indtast koden, du ser på din TV-skaerm, i det relaterede indtastningsfelt. Følg derefter instruktionerne på din enhed, og fuldfør processen.
- Brug din fjernbetjening Ved hjælp af denen mulighed kan du logge på din Google-konto ved at indtaste din e-mail-adresse eller Telefonnummer og din adgangskode.
Hvis du foretraekker ikke at logge ind på din Google-konto på dette tidspunkt, kan du springs dette trin over ved at vælge Spring over-muligheden.
7. Betingelser for Service
Servicevilkár-skærmbilledet vises derefter. Ved at fortsaete accepter er du Googles servicevilkár, Googles privativspolitik og Google Play Servicevikar. Fremhæv Godkend, og tryk pa OK pa fjernbetjeningen for at bekraefte og fortsaete. Du kan ogsa se Servicevikar, Fortrolighedspolitik og Play-servicevikar pa deren skærm. For at fá vist indholdet er der brug for en internetforbindelse. Der vises en meddeelse om webstedets adressse, hvor disse oplysninger ogsa kar ses, hvis internetadgang ikke er tilgængelig.
8. Beliggenhed
På dennectskermkan du tillade elliekke tillade Google og tredjepartsapps at bruge dit TV's placeringsoplysninger. Vaelg Ja og tryk pa OK for at fortsette. For at springe dette trin over uden bekraeftelse, vaelg Ingen og fortset ved at trykke pa OK-knappen.Du kan aendre donne indstilling senere ved hjelp af menuen Indstillinger>Enhedspraeferencer>Placering paskarmen.
Send automatisk diagnosticeringsoplysninger til Google, som f.eks. crashrapporter og brugerdata fra din enhed og apps. Disse oplysninger vil ikke blive brugt til at identificere dig. Vælg Ja og tryk på OK for at fort-sætte. For at springe dette trin over uten bekraeftelse, vælg Ingen og fortsæt ved at trykke på OK-knappen. Du kanændre dette indstilling senere ved hjælp af menuen Indstlinger>Enhedspræferencer>Brug og diagnosticering på startskærmen.
Derefter vises ophysninger om Google-tjenester og nogle functiomer pa dit TV. Du kan aktivere personlige resultater for Assistent ved at vaelge den pagaelnde mulighed, nar du bliver bedt om det. Tryk pa OK flere gange for at fortsette.
10. Land
Afhengigt af det land, du foretog i det forrige trin, kan du blive bedt om at definere en adgangskode (PIN) pa dette tidspunkt. Tryk pa OK for at starte. Den valgte pinkode ma ikke vare 0000. Denne pinkode kræves for at fadgang til nogle menuer, indhold eller for at frigive laste kanaler, kilder osv. Du bliver ndt til at indtaste den, hvis du bliver bedt om at indtaste en PIN-kode til en menuoperation senere.
12. Vaelg TV-tilstand
I det falgende trin i den forste opsætning kan du indstille TV'ets betjeningstilstand enten som Hjem eller som Butik. Butik vil konfigurere TV'ets indstillinger til forretningsmiljo. Denne tilstand er kun beregnet til brug i butikker. Det anbefales at vælge Hjemmetilstand ved brug i hjemmet.
13. Indbygget Chromecast altid tilgaardeligt
Vælg din foretrukne Chromecast-tilgængelighed. Hvis indstillet som Til bliver dit TV bliver registeret som en Google Cast-enhed og tillader Google Assistant og andre tjenester at vække dit TV til at svare pa Cast-kommandoer, selv narr det er i standbytilstand og skærmen er slæt fra.
14. Tuningstilstand
Bemark: Hvis du ikke ønsker at udføre en tunerscanning, skal du alligevel vælgge en af de tilgængelige indstlinger. Du kan sprege scanningen over på et senere tidspunkt i installationsguiden. Hvis du.springer over dette trin, kan du udføre en kanalsøgning senere ved hjælp af de relaterede menuiindstellinger Kanaler.
Det neste trin er valg af tunertilstand. Vaelg din tunerpraeference for at installere kanaler til Live TV-funktion. Antenne og Kabel er tilgengelige. Fremhavn den indstilling, der svarer til dit miljo, og tryk pa OK eller Hojre retningskapn for at fortsette.
Antenne
Hvis Antenne er valgt, vil TV'et soge after digitale jordbaserede og analoge udsendelser. Fremhaev pa neste skaerm menupunktet Scanning og tryk pa OK for at starte sogningen aller vaelg Spring scanning over for at fortsette.uden at udfore en sogning.
Bemerk: Hvis det valgte land/DDke har analoge udsendelser, er den analoge sogemulighed maske icke tilgengelig.
Kabel
Hvis Kabel-indstillingen er valgt, vil TV'et soge after digitale kabel- og analoge udsendelser. Hvis der er nogen, vil tilgaard engelige operatrorindstlinger blive vist pa skarmen Vaelg operar. Ellers donne funktion blive spreunget over. Du kan kun vaelge en operar fra listen. Fremhav den onskedede operar, og tryk pa OK eller den Hojre retningskap for at fortsette. Fremhav pa neste skerm menupunktet Scanning for at starte en sogning eller vaelg Spring scanning over for at fortsette Eden at udfore en sogning. Der vises en bekraeftelsesskaerm, hvis Scanning vaelges. Scanningstilstand, Frekvens (kHz), Modulation, Symbollastighed (Ksym/s), Netvarksid-indstlinger skal muligvis indstilles. For at udfore en fuld scanning skal du indstille Scanningstilstand som Fuld/Avanceret hvis muligt. Afhengig af den valgte operat or og/eller Scanningstilstand er nogle indstlinger muligvis ikke tilgaardengelige til at indstilles.
Bemerk: Hvis det valgte land ikke har analoge udsendelser, er den analoge søgemulighed maske ikke tilgengelig.
Nár du er færdig med at indstille tilgængelige indstillinger, skal du trykke pa Hojre retningsknap for at fortsette. TV'et begynder at lede after tilgængelige udsendelser.
När opsætningen er afsluttet, vises resultatet. Tryk på OK for at afslutte indstillingerne.
Startskaermen vil blive vist. Du kan fremhæve Live TV-appen og trykke på OK for at skiffe til Live TV-tilstand og se TV-kanaler.
Startskærmen
For at nyde fordelene ved dit Android TV skal dit TV vare tilslutte internettet. Tilslut TV'et til et hjemmenetvark med en hjohastighedsinternetforbindelse. Du kan tilslutte dit TV tradlost aller kabelforbundet til dit modem/router. Vi henviser til afsnittene Netvark og Internet og Oprettelse af forbindelse til Internettet for yderligere information om, hvordan du forbinder dit TV til internettet.
Startmenu er centrum for tit TV. Tryk på Homeknappen for at vise menuskærmen. Fra startmenuen kan du starte ethvert program, skifte til en TV-kanal, se en film eller skifte til en tilsluttet enchod. Afhängigt af din TV-opsætning og dit lands valg i den første opsætning kan hjemmemenuen indeholde forskellige elementer.
De tilgengelige indstlinger på startskærmen er placer i rækker. For at navigere gennem indstlingerne for startskærm skal du bruge retningsknapperne på fjernbetjeningen. Apps, YouTube, Google Play Film og TV, Google Play Musik og Google Play relaterede rækker og rækker af de applikationer, du har installerer, er muligvis tilgengelige. Vælg en række, og flyt derefter fokuset til det ønskede emne i rækken. Tryk på OK for at foretage et valg eller for at abne en untermenu.
I overste venstre hjørne af skærmen findes søgeredskaber. Du kan vælge enten at indtaste et ord for at starte en søgning via det virtuelle tastatur eller prove stemmesøgning, hvis din fjernbetjening hare en indbygget mikrofon. Flyt fokus til det ønskede punkt og tryk på OK for at starte applikationen.
I overste hjre hjørne af skærmen underretninger, Indgange, netværk og internet (vil blive navngivet som forbundet eller Ikke forbundeti henhold til den aktuelle forbindelsesstatus). Indstlinger og den aktuelle tid vises. Du kan konfigurere dine dato- og tidsindstlinger ved hjælp af Dato og tid menuindstlinger fra menuuenIndstlinger>Enhedspræferencer.
Første række vil vare Apps-rækken. Live TV og Multi Media Player-apps vil vare tilgængelige sammen med andre apps. Fremhæv Live TV og tryk på OK for at skifte til Live TV-tilstand. Hvis kilden tidligere var indstillet til anden indstilling end TV, sä tryk på Kilde-knappen og indstil som TV for at se Live TV-kanaler. Fremhæv Multi Media Player og tryk på OK for at gennemse de tilslutte de USB-enheder eller medieservere og afspille/vise det installerede medieindhold på TV'et. Lydfilerne kan afspilles gennem højttalerne på TV'et erler gennem de hjttalersystemer, der er tilsluttet til TV'et. Du kan konfigurere din præference for lydudgang fra Højttaler
indstilling i Indstlinger>Enhedspræferencer>Lydmenu. For at soge på internettet, har du brug for et internetbrowserprogram. Foretag en søgning eller start Google Play-appen, find en browser og download den.
Indhold i menuen Live TV-tilstand
Shift forst TV'et Live TV-tilstand, og tryk derefter pa Menu-knappen pa fjernbetjeningen for at se Live TV-menuindstillinger. For at skifte til Live TV-tilstand kan du enten trykke pa knappen Afslut aller fremhaev Live TV-appen fra Apps-rakken og tryk pa OK pa startskaernen.
Kanaler
Tilfoj til Mine foretrukne: Tilfoj den kanal, der i ojeblikket ses, til den tidiligere valgte favoritliste.
Programguide Viser den elektroniske programoversigt Se afsnittet Elektronisk programguide (EPG) for flere oplysninger.
Nye kanaler tilgengelige Start en sogning after nye kanaler. Vaelg kanalkildeapplikation ellertuner. Foretag derefter indstillingerne i henhold til dit miljo og dine praeferencer om ndvendigt. Du kan bruge Kanalmenuindstillinger for at soge after udsendelsesskanaler. Se afsnittet Kanal for at fflere opliesninger.. Nar det er gjort, skal du fremhve Faerdig og trykke pa OK.
TV-valgmuligheder
Kilde: Vis listen over inputkilder. Vælg den ønskede og tryk på OK for at skifte til den kilde.
Billedtilstand: Du kanændre billedtilstanden, sa den passer til dine præferencer erler krav. Billedtilstand kan indstilles til en af følgende: Bruger, Standard, Levende, Sport, Film og Spil. Du kan bruge Brugertilstand for at oprette tilpassede indstlinger. Gå til Indstillinger>Enhedspræferencer>Billede til detailjerede indstillingsmuligheder.
Visningstilstand: Indstiller skærmens billedformat Vælg en af de foruddefinerede indstlinger i henhold til dine præferencer.
Hojttalere: For at hore TV-lyd fra den tilslutteke kompatible lydenhed indstil som Ekstern forstaerker. Indstil som TV-hojttalere for at bruge hojttalerne pa dit TV til lydudgang.
Strøm
Dvaletimer Definer en tomgangstid, hvorefter du onsker, at dit TV automatisk skal gä i dvaletilstand.
Billede fra: Vælg denen mulighed, og tryk pa OK, for at slukke for skærmen med det samme. Tryk pa en knap pa fjernbetjeningen aller pa TV'et for at tænde for skærmen ingen. Bemærk, at du/DDKE kan tænde for skærmen via Volumen +/-
Lydløs og Standby-knapperne. Disse knapper vil fungerenormalt.
Autosluk ved intet signal Indstil TV'ets opforsel,\ nár der ikke registreres noget signal fra den aktuelt\ indstillede indgangskilde. Definer et tidsrum, after\ hvilket du onsker, at dit TV automatisk skal slukke\ eller indstil til Fra for at deaktivere.
Cl-kort Vis tilgengelige menupunkter pa det brugte Cl-kort. Denne indstilling er muligvis ikke tilgengelig afhengigt af inputkildeindstillingen.
Avancerede indstlinger
Lydsprog: Indstil din sprogpræference for audio. Denne indstilling er muligvis ikke tilgængelig afhængigt af inputkildeindstillingen.
Blue Mute: Tænd/sluk forienne Funktion i henhold til dine præferencer. Nár det er tændt, vises bla baggrund pa skærmen, nár der ikke er noget signal til rändighed.
Standardkanal: Indstil din standardopstartkanalpræference. Nár Vælg tilstand er indstillet som Brugervalg, Vis kanaler indstillingen bliver tilgængelig. Fremhæv, og tryk på OK for at se kanalliste. Marker en kanal og tryk på OK for at fortsette. Den valgte kanal vises, hver gang TV'et tændes fra hurtig standbytilstand. Hvis Vælg tilstand er indstillet som Sidste status, vises den sidst sete kanal.
Interaktionskanal: Tænd ell er sluk Interaktionskanalen. Denne Funktion er kun nyttig i Storbrittannien og Irland.
MHEG PIN-beskyttelse: Tænd ell er sluk MHEG PIN-beskyttesesfunktionen. Denne indstilling aktiverer ell deaktiverer adgang til nogle af MHEG-applikationerne. Handicap-applikationer kan frigives ved at indtaste den rigtige pinkode. Denne Funktion er kun nyttig i Storbritannien og Irland.
HBBTV-indstillinger
HBBTV-understottelse Taend aller sluk HBBTV-funktionen.
Spor化进程: Du kan angive din præference vedrørende sporingsadfaerd for HBBTV-tjenester ved hjælp af/DDne indstilling.
Cookie-indstillinger: Indstil din foretrukne cookie-indstilling for HBBTV-tjenester.
Permanent opbevaring: Tænd eller sluk den permanente opbevaringsfunktion. Hvis indstillet som Til gemmes cookies med en udlobsdato i TV'ets permanente hukommelse.
Bloker sporingssteder: Taend eller sluk blokersporingsstedfunktionen.
Enheds-ID: Tænd ell er sluk Enheds-ID-funktionen.
Nulstil encheds-ID: Nulstil enchedens ID for HBBTV-tjenester. Der vises en bekraeftelsesdialog. Trykke OK at fortsette, Tilbage at annullere.
Undertekst
Analog undertekt: Sæt dette indstilling som Fra, Til eller Lydlo. Hvis Lydlo er valgt, vil den analogue undertekt blive vist på skærmen, men højttalerne vil samtidigt blive sat på lydlo.
Digitalt undertektst: Indstil som Fra aller Til.
Undertekstspor: Angiv praeferencer for undertekstspor, hvis det er tilgaengeligt.
Digitalt undertekstsprog: Indstil en af de angivne sprogindstillinger som forste digitale lydsprogprafeference.
Andet digitale undertekstsprog: Indstil en af de angivne sprogindstillinger som,anden digitale undertekt-prreference.Hvis det valgte sprog i det Digitale undertekt-sprogvalg ikke er tilgangeligt, vil underteksterne blive vist på dette sprog.
Underteksttype: Indstil donne mulighed som Normalller Horehammet. Hvis indstillingent til horehammede er valgt, giver den undertekttjenester til dve og horehammede seere med yderligere beskrivelser.
Tekst-TV
Digitalt Tekst-TV-sprog: Indstil Tekst-TV-sproget til digitale usendelser.
Afkodning af sidesprog: Indstil sprog for dekodningsssider til visning af Tekst-TV.
Auto-dvale: Definer en tomgangstid, hvorefter du onsker, at dit TV automatisk skal gä i dvaletilstand. Valgmulighederne 4 timer, 6 timer og 8 timer er tilgängelige. Indstil som Aldrig for at deaktivere.
Systeminformation: Vis detaljeret systeminformation om den aktuelle kanal sà som Signalniveau, Signalkvalitet, Frekvens osv.
Indstillinger: Se afsnittet Indstillinger for flere oplysninger.
Optag
Optagelsese: Optagelsene vises, hvis de er tilgengelige. Fremhæv en optagelse after eget valg, og tryk på Gul knap for at slette den eller trykke på Blå knap for at se detaljerede oplysninger. Du kan bruge de rode og gronne knapper til at rulle sider op og ned.
Enhedsinfo: Forbundne USB-lagerenheder vises. Fremhav den fane, du vil have, og tryk pA OK for at se tilgengelige muligheder.
Indstil Tidsforskydning: Tag den valgte USB-lagerenhed aller en partition pa den til tidsforskudt optagelse.
Indstil PVR: Tag den valgte USB-lagerenhed aller en partition på den til PVR.
Formater: Formater den valgte USB-lagerenhed. Se afsnittet USB-optagelse for at fä flere oplysninger.
Hastighedstest: Start en hastighedstest for den valgte USB-lagerenhed. Testresultatet vises, nár det er aflsuttet.
Planlægningsliste: Tilføj pamindelser aller optagetimere ved hjælp af menuen Planlægningsliste.
Tidsforskudt tilstand Aktiver eller deaktiver tidsforskudt optagelsesfunktion. Se afsnittet USB-optagelse for at fä flere oplysninger.
Indstillinger
Du kan fà adgang til Indstillinger fra startskærmen erler fra TV-indstillinger-menu i Live TV-tilstand.
Netværk og Internet
Du kan konfigurere dit TV's netværksindstillinger ved at benyte valgmulighederne i dette menu. Du kan ogå fö vist Forbundet/Ikke-forbundet-ikonet på startskærmen og trykke på OK for at fö adgang til dette menu.
Wi-Fi: Taend ell er sluk LAN (WLAN)-funktionen.
Tilgengelige netvark
När WLAN-funktionen er tændt, vises tilgängelige tradløse netværk. Fremhæv Se alt og tryk på OK for at se alle netværk. Vælg en og tryk på OK for at forbinde. Du bliver muligvis bedt om at indtaste en adgangskode for at oprette forbindelse til det valgte netværk, hvis netværket er adgangskodebeskyttet.
Andre muligheder
Tilføj nyt netværk: Tilføj netværk med skjulte SSID'er.
Scanning altid tilgengelig: Du kan lade placerings-tjenesten og andre apps scanne after netværk, selv nar WLAN-funktionen er slæt fra. Tryk på OK for atænde eller slukke for den.
Wow: Slådenne Funktion til og fra. Denne Funktion giver dig mulighed for atænde eller vække dit TV via tradløstnetværk.
Wol: Sladenne Funktion til og fra. Denne Funktion giver dig mulighed for at tende eller vække dit TV-netværk.
Ethernet
Tilsluttet/ikke tilsluttet: Viser status for internetforbindelsen via Ethernet-, IP- og MAC-adresser.
Proxy-indstlinger: Indstil en HTTP-proxy til browseren manuelt. Denne proxy bruges muligvis ikke af andre apps.
IP-indstlinger: Konfiguration af TV'ets IP-indstlinger
Kanal
Kanaler
Indstillingerne i donne menu kan ændres eller blive inaktiveret afhængigt af valg af Kanalinstallationstilstand.
Kanalinstallationstilstand - Antenne
Automatisk kanalsøgning: Start en scanning after analoge og digitale kanaler. Du kan trykke på knappen Back for at annullere scanningen. De kanaler, der allerede er fundet, gemmes i kanallisten.
Opdater scanning: Sog after opdateringer. Tidligere tilfojede kanaler slettes ikke, men alle nyligt fundne kanaler gemmes på kanallisten.
Analog manuel scanning: Start en manuel scanning after analogue kanaler. Gå ind iStartfrekvens og vælg derefter Scan op eller Scan ned. Når der findes en kanal, afsluttes scanningen, og den fundne kanal gemmes på kanallisten.
Enkelt RF-scanning: Vælg RF-kanal ved at bruge Højre/Venstre retningsknapper. Signal niveau og Signalkvalitet af den valgte kanal vil blive vist. Tryk på OK for at starte scanning på den valgte RF-kanal. Defundne kanaler vil blive gemt i kanallisten.
Manuel serviceopdatering Start en serviceopdatering manuelt.
LCN: Indstil din præference for LCN. LCN er et logisk kanalnummer-system, der arrangerer tilgængelige udsendelser i overensstemmelse med en genkendelig kanalrækkefolge, (hvis davon er tilgængelig).
Kanalscanningstype: Indstil prafeference for scanningstype.
Kanallagringstype Angiv din lagringstype-prafe-rence.
Favoritnetværksvalg: Vælg dit yndlingsnetværk. Denne menuindstilling vil vare aktiv, hvismere end kun etnetværk er tilgengeligt.
Spring kanaler over: Indstil kanaler, der skal springs over, nár du skifter kanaler via Program +/- knapper på fjernbetjeningen. Marker den/de onionskede kanal/kanaler på listen, og tryk på OK for at vælge/fravælge.
Kanalbytning: Ombytpositionerne for de to valgte kanaler på kanallisten. Marker de ønskede kanaler på listen, og tryk på OK for at vælge. Når den,anden kanal vælges, erstattes dette kanals position med placeringen af den første valgte kanal. Du skal indstille LCN mulighed for at Fra eller Standard for at aktivere dette Funktion.
Kanalflytning: Flyt en kanal til positionen for en anden kanal. Marker den kanal, du vil flytte, og tryk pa OK for at vaelge. Gør derefter det samme for en anden kanal. Når den anden kanal vaelges, flyttes den først valgte kanal til denne kanals position. Du skal indstille
LCN mulighed for at Fra eller Standard for at aktivere donne fonction.
Kanalredigering: Rediger kanaler pa kanallisten Rediger navn og kanalnummer pa den valgte kanal og vis Netværksnavn, Frekvens, Farve-system og Lydsystem-oplysninger i forbindelse med den kanal, hvis den kanal er tilgengelig. Afhengigt af kanalen kan andre indstlinger ons redigeres. Du kan trykke pa den Bla knap for at slette den fremhaeve de kanal.
Finjustering af analog kanal: Finjuster en analog kanal. Der vises en liste over tilgengelige analogene netværk. Vælg den ønskede kanal, og tryk på knappen OK. Skift derefter kanalens frekvens ved at trykke på venstre/højre retningsknapper. Tryk på OK for at gemme den nye frekvens for den kanal. Tryk på Tilbage for at annullere. Dette element er muligvis ikke synligt, afhængigt af om den sidst sete kanal var analog.
Slet kanalliste Slet alle kanaler, der er gemt pa kanallisten for den valgte kanalinstallationstilstand. Der vil blive vist en dialog for bekraeftelse. Marker OK og tryk pa knappen OK, for at fortsette. Marker Annuller og tryk pa OK for at annullere.
Kanalinstallationstilstand - Kabel
Automatisk kanalsøgning: Start en scanning after analoge og digitale kabelkanaler. Hvis operatørvalg er tilgængelige, vil de blive listet. Vælg det ønskede og tryk på OK. Scanningstilstand, Kanalscannertype, Frekvens og Netværks-ID-indstlinger kan vare tilgængelige. Valgmulighederne kan variere afhængigt af operatoren og valg af Scanningstilstand. Indstil Scanningstilstand som fuld, hvis du ikke ved, hvordan du indstiller andre indstlinger. Fremhæv derefter Scan og tryk på Ok for at starte scanningen. Du kan trykke på knappen Back for at annullere scanningen. De kanaler, der allerede er fundet, gemmes i kanallisten.
Enkelt RF-scanning: Indtast Frekvensværddien. Signalniveau og Signalkvalitet af den valgte x口
& m vil blive vist. Fremhaev menuvalget Scan og tryk pa OK for at starte scanningen. Defundne kanaler vil blive gemt i kanallisten.
LCN: Indstil din præference for LCN. LCN er et logisk kanalnummer-system, der arrangerer tilgængelige udsendelser i overensstemmelse med en genkendelig kanalrækkefolge, (hvis davon er tilgængelig).
Kanalscanningstype: Indstil prafeference for scanningstype.
Kanallagringstype Angiv din lagringstype-prafe-rence.
Favoritnetvarksvalg: Vaelg dit yndlingsnetvark. Denne menuindstilling vil vare aktiv, hvis mere end kun etnetvark er tilgengeligt. Denne mulighed er muligvis不解 tilgengelig afhengigt af det valgte land under forstegangss installationen.
Spring kanaler over: Indstil kanaler, der skal springs over, nár du skifter kanaler via Program +/- knapper på fjernbetjeningen. Marker den/de onionskede kanal/ kanaler på listen, og tryk på OK for at vælge/fravælge.
Kanalbytning: Ombytpositionerne for de to valgte kanaler på kanallisten. Marker de ønskede kanaler på listen, og tryk på OK for at vælge. När den,anden kanal vælges, erstattes dette kanals position med placeringen af den første valgte kanal. Du skal indstille LCN mulighed for at Fra eller Standard for at aktivere dette Funktion.
Kanalflytning: Flyt en kanal til positionen for en anden kanal. Marker den kanal, du vil flytte, og tryk pa OK for at vaelge. Gør derefter det samme for en anden kanal. Når den anden kanal vaelges, flyttes den først valgte kanal til deutsche kanals position. Du skal indstille LCN mulighed for at Fra eller Standard for at aktivere dette Funktion.
Kanalredigering: Rediger kanaler på kanallisten Rediger navn og kanalnummer for den valgte kanal og vis Netværksnavn, Frekvens, , Farvesystem, Lydsystem, Modulation og Symbol Rate-oplysninger relateret til den kanal. Afhengigt af kanalen kan andre indstlinger och regideres. Du kan trykke på den Blå knap for at slette den fremhævede kanal.
Finjustering af analog kanal: Finjuster en analog kanal. Der vises en liste over tilgengelige analoge netværk. Vælg den ønskede kanal, og tryk på knappen OK. Skift derefter kanalens frekvens ved at trykke på venstre/højre retningsknapper. Tryk på OK for at gemme den nye frekvens for den kanal. Tryk på Tilbage for at annullere. Dette element er muligvis ikke synligt, afhängigt af om den sidst sete kanal var analog.
Slet kanalliste Slet alle kanaler, der er gemt på kanallisten for den valgte kanalinstallationstilstand. Der vil blive vist en dialog for bekraeftelse. Marker OK og tryk på knappen OK, for at fortsette. Marker Annuller og tryk på OK for at annullere.
Bemark: Nogle indstlinger er muligvis ikke tilgengelige og vises som nedtonet afhængigt af operatørvalg og operatør-relaterede indstlinger.
Kanalinstallationstilstand
Saatdenne indstilling som Antenne eller Kabel.
Automatiskkanalopdatering
Taend eller sluk den automatiske kanalopdaterings-funktion.
Kanalopdateringsmeddeelse
Tænd eller sluk for kanalopdateringsmeddelelsen. Dette element er muligvis ikke synligt, afhængigt af valget af Kanalinstallationstilstand.
Foraeldrekontrol
(*) For at indtasteijke menu skal PIN-koden forst indtastes. Standard pinkode er indstillet til 1234. Hvis du har defineret
en ny pinkode after den feste installationsproces, skal du bruge den pinkode, du har defineret. Nogle indstlinger er muligvis ikke tilgængelige affængigt af det valgte land ved Forstegangssinstallationen.
Blokerede kanaler: Vælg kanal/er, der skal blokeres fra kanallisten. Fremhæv en kanal og tryk på OK for at vælg/ refrælge. For at se en blokeret kanal, skal pinkode indtastes Först.
Program-restrictioner: Bloker programmer i henhold til aldersklassificeringsinformationerne, der udsendes sammen med dem. Du kan aktivere aller deaktivere begraensninger, indstille klassificeringssystemer, begraensnings niveauer og aldersgrænser ved hjælp af indstillingerne i/DDne menu.
Blokerede input: Forhindre adgang til det valgte indgangskildeindhold. Fremhæv den ønskete indtastning, og tryk på OK for at vælg/ refrælge. For at skifte til en blokeret inputkilde, kal pinkoden Först indtastes.
Shift pinkode Skift standardpinkoden. Fremhæv dette valg og tryk på OK. Du skal Först indtaste den gamle pinkode. Derefter skalden nye pinkodeindtastnings-skaerm vises Indtast den nye pinkodetogange for at bekråfte.
Lydkanal
Indstil praefere for lydkanal, hvis den er tilgengelig. Dette element er muligvis ikke synligt, afhengigt af om den sidst sete kanal var analog.
Lydsprog
Indstil en af de angivne sprogindstillinger som fpreste lydsprogprafeference. Dette element er muligvis ikke synligt, afhængigt af om den sidst sete kanal var digital.
Andet lydsprog
Indstil en af de angivne sprogindstillinger som anden lydsprogpræference. Hvis det valgte sprog i Lydsprogsinddilling ikke understøtes, vil denne sprogpræference ikke blive taget i betragtning. Dette element er muligvis ikke synligt, afhængigt af om den sidst sete kanal var digital.
Open source-software
Viser Open Source Software-licensoplysninger.
Version
Viser systemversionsnummer.
Konti og login
Google: Denne indstilling vil vare tilgengelig, hvis du er logget ind pa din Google-konto. Du kan konfigurere dine datasynkroniseringspræferencer erller fjerne din registrerede konto pa TV'et. Fremhæv en tjeneste, der er anfør i afsnittet Vælg synkroniserede apps og tryk pa OK for at aktivere/deaktivere datasynkronising.
Fremhæv Synkroniser nu og tryk på OK for at synkronisere alle aktiverede tjenester på en gang.
Tilfoj konto: Foj en ny til de tilgengelige konti ved at logge ind pa den.
Apps
Ved hjælp af indstillingerne i dette menu kan du administristre apps på dit TV.
Nyligt abnede apps
Du kan vise nyligt abnede apps. Fremhæv Se alle apps og tryk pa OK for at se alle de apps, der er installereret pa dit TV. Maengden af lagerplads, som de havde brug for, vil ogsa blive vist. Du kan se versionen af appen, abne eller tvinge til at stoppe kørslen af appen, afinstallere en downloadet app, se tilladelserne og slå dem til/fra, tände/slukke for meddeleserne, rydde data og cache osv. Fremhæv en app og tryk pa OK for at se tilgaengelige indstillinger.
Tilladelser
Administerer tilladelserne og nogle andre Funktioner på apps.
App- tilladelser: Apps sorteres after tilladelsestypekategorier. Du kan aktivere deaktivere tilladelser for apps fra disse kategorier.
Speciel appadgang: Konfigurer nogle appfunktioner og specielle tilladelser.
Sikkerhed og begrænsninger: Brug af indstillingerne i++,
- Du kan tillade aller begrænse installation af apps fra andere kilder end Google Play Store.
- Indstil TV'et til at afvise aller advare inden installation of apps, der kan forårsage skade.
Enhedspræferencer
Om: Kontroller for systemopdateringer, skift enchedsnavnet, genstart TV'et og vis systemoplysninger sasom netværksadresser, serienumre, versioner osv. Du kan och vise juridiske oplysninger, styre annunci er, visitet annunciereings-ID, nulstille det og tænde/slukke de tilpassede annunci er baseret på dine interesser.
Netflix ESN: Vis dit ESN-nummer. ESN-nummerer et unikt id-nummer for Netflix, skabt specielt til at identificere dit TV.
Dato/Tid: Angiv dato og klokkeslaet for dit TV. Du kan indstille dit TV til automatisk at opdatere tids- og datooplysninger over netværket ull via udsendelser. Indstil det, sa det svarer til dit miljo og dine præferencer. Deaktiver ved at indstille som Fra, hvis du manuelt vil ændre dato eller klokkeslaet. Angiv derefter indstillinger for dato, tid, tidszone og tidsformat.
Timer
Tænd-timer-type: Indstil dit TV til at taende af sig selv. Indstil donne indstilling som Til aller En gang for at aktivere en taendingstidsindstilling, indstilles som Fra for at deaktivere. Hvis TV'et er indstillet som En gang, taendes det kun en gang pa det definerede tidspunkt i Automatisk taendetid nedenfor.
Automatisk tændetid: Tilgengelig, hvis Tændetidstype er aktiveret. Indstil det ønskede tidspunkt for dit TV tænde fra standby ved hjælp af retningsknapper og tryk på OK for at gemme den nye indstillede tid.
Sluk-timer-type: Indstil dit TV til at slukke af sig selv. Indstil donne indstilling som Til aller En gang for at aktivere en slukketidsindstilling, indstilles som Fra for at deaktivere. Hvis TV'et er indstillet som Engang, taendes det kun en gang pa det definerede tiddpunkt i Automatisk slukketid nedenfor.
Automatisk slukketid: Tilgengelig, hvis Slukketidstype er aktiveret. Indstil det ønskede tidspunkt for dit TV til at gå pa standby ved hjælp af retningsknapper og tryk på OK for at gemme den nye indstillede tid.
Sprog: Indstil din sprogprafeference.
Indgange: Vis aller skjul en indgangsterminal, skift etiketten for en indgangsterminal, og konfigurer indstillingerne for HDMI CEC (Consumer Electronic Control)-funktionen og vise CeC-enhedslisten..
Strøm
Dvaletimer Definer en tomgangstid, hvorefter du onsker, at dit TV automatisk skal gä i dvaletilstand.
Billede fra: Vælg dette mulighed, og tryk på OK, for at slukke for skærmen med det samme. Tryk på en knap på fjernbetjeningen eller på TV'et for atænde for skærmenigen. Bemærk, at du ikke kanænde for skærmen via Volumen +/-, Lydløs og Standby-knapperne. Disse knapper vil funge- renormalt.
Autosluk ved intet signal Indstil TV'ets opforsel,\ när der/DD ke registreres noget signal fra den aktuelt\ indstillede indgangskilde. Definer et tidsrum, after\ hvilket du onsker, at dit TV automatisk skal slukke\ eller indstil til Fra for at deaktivere.
Billede
Billedtilstand: Du kanændre billedtilstanden, sa den passer til dine præferencer erler krav. Billedtilstand kan indstilles til en af følgende: Bruger, Standard, Levende, Sport, Film og Spil. Du kan bruge Brugertilstand for at oprette tilpassede indstillinger.
Baggrundslys, Lysstyrke, Kontrast, Maetning, HUE, Skarpheds-indstillingerne justeres i henhold
til den valgte billeddtilstand. Hvis en af disse indstillinger ændres manuelt, Billedtilstand indstillingen ændres til Bruger, hvis ikke allerede indstillet som Bruger.
Automatisk baggrundsbelysning: Indstil din automatiske baggrundslyspræference. Fra, Lav, Medium og Høj-valg vil vare tilgængelige. Sæt til Fra for at deaktivere.
Baggrundslys: Juster baggrundsbelynsningsni-veauet manuelt af skærmen. Denne indstilling vil ikke vare tilgængelig, hvis Automatisk baggrundsbelysning ikke er indstillet til Fra.
Lysstyrke: Justerer skaermens lysstyrkevaeri.
Kontrast: Juster skaermens kontrastværdi
Farve: Juster skaermens farvemaelningsværdi.
Hue: Juster skærmens hueværdi
Skarphed: Indstiller skarphedsvaerdi for de genstande, der vises pa skaernen.
Gamma: Indstil din gammapraference. Mørk, Middel og Lys vil ære tilgængelige.
Farvetemperatur: Indstil din praefere for farvetemperatur. Bruger, Kolid, Standard og Varm vil vare tilgengelige. Du kan justere rode, gronne og blaforstarkningsvardier manuelt. Hvis en af disse vardier aendres manuelt, vil Farvetemperatur blive skiftet til Bruger, hvis de/DDke allerede er indstillet til Bruger.
Visningstilstand: Indstiller skærmens billedformat Vælg en af de foruddefinerede indstlinger i henhold til dine præferencer.
HDR: Tænd ell er sluk HDR-funktionen. Denne vare vil vare tilgengelig, hvis HDR-indhold registreres.
Avanceret video
MPEG NR: MPEG-stojreduktion renser blokstoj omkring konturer og stoj pa baggrunden. Indstil din MPEG DNR-praference som Lav, Medium, Stark, Auto eller sluk den ved at indstille som Fra.
Adaptiv lumenkontrol: Adaptiv Lumenkontrol justerer kontrastindstillinger globalt i henhold til indholdshistogram for at give dybereorte og lysere hvide opfattelser. Indstil din Adaptive lumenkontrol -prreference til Lav, Medium, Stark erler sluk den ved at indstille den til Fra.
DI Film-tilstand: Det er Funktionen til 3:2 aller 2:2-kadencedetektion for 24 fps filmindhold og forbedrer bivirkningerne (som interlacing-effekt eller judder), der er forarsaget af disse nedtrakningsmetoder. Indstil din DI Filmtilstandspraefe
rence som Auto eller sluk den ved at indstille til Fra. Dette menupunkt er ikke tilgængeligt, hvis Spiltilstand eller PC-tilstand erændt.
Blue Stretch: Det mensslige oje opfatter kolige re hvid som lysere hvid, bla straefknction aender hvidbalancen mellem mellemhoge gra niveauer til koligere farvetemperatur. Tend erer sluk Blue Stretch-funktionen.
Spiltilstand: Spiltilstand er den tilstand, der skærer nogle af billedhandlingsalgotitmerne ned for at holde trit med videospil, der har hurtige billedhastigheder. Tænd ell er sluk Spiltilstandsfunktionen.
PC-tilstand PC-tilstand er den tilstand, der skærer ned på nogle af billedbehandlingsalgotitmerne for at holde signatypen, som den er. Det kan vaere anvendeligt især til RGB-indgange. Tænd ellersluk PC-tilstandsfunktionen.
HDMI RGB-rækkevidde: Denne indstilling skal justeres i henhold til RGB-indgangssignalets signalomrade på HDMI-kilde. Det kan före begraanse rækkevidde (16-235) eller fuld rækkevidde (0-255). Indstil din HDMI RGB-rækkevidde. Auto, Til og Begraanse er tilgängelige. Denne indstilling vil ikke vare tilgängelig, hvis indgangskilden ikke er indstillet til HDMI.
Farvetuner: Farvemætning, farvetone, lysstyrke kan justeres til rød, grøn, blå, cyan, magenta, gul ogHUDtone (hudfarve) for at fæt mere levende eller mere naturligt billede. Indstil Farvetone, mætning, lysstyrke, Offset og Forstærknings-værdier manuelt. Fremhæv Aktiver og tryk på OK for at tænde for dette funktion.
11-punkts hvidbalancekorrektion: Hvidbalance-funktion kalibrerer TV'ets farvetemperatur i detaljerede gr niveauer. Ved visuelt skon eller maling kan ensartethed i gra skala forbidres. Juster styrken pa Rode, Gronne, Bla farver og forstarkningsvardi manuelt. Fremhavn Aktiver og tryk pa OK for at taende forijke Funktion.
Nulstil til standardværdier: Nulstiller videoinstillingerne til fabriksstandarderne.
Bemerk: Afhengigt af den aktuelt indstillede inputkilde er nogle menuindstlinger muligvis ikke tilgengelige.
Lyd
Systemlyde: Systemlyd er den lyd, der afspilles, när du navigerer erler vælger et element pa tvskærmen. Fremhæv dette valg og tryk på OK for atænde/slukke for这部分 functionality.
Lydstil: For nem lydjustering kan du vaelge en forudindstillet indstilling. Bruger, Standard, Levende, Sport, film, musik aller Nyheds-indstillinger vil vare tilgengelige. Lydindstlingerne justeres i henhold til den valgte lydstil. Nogle andre lydindstellinger kan muligvis ikke tilgengelige afhaengigt af valget.
Balance: Juster venstre og højre lydstyrke for hjttalere og hovedtelefoner.
Equalizer-detailjer: Juster equalizervaerdierne i henhold til dine prafeferencer.
Hojttalere: For at hore TV-lyd fra den tilslutteke kompatible lydenhed indstil som Ekstern forstaer ker. Indstil som TV-hojttalere for at bruge hojttalerne pa dit TV til lydudgang.
Digital udgang: Indstiller den digitale lydudgangsindstilling. Auto, Bypass, PCM, Dolby Digital Plus og Dolby Digital vil vare tilgengelige. Fremhaev den fane, du vil have, og tryk pa OK for at indstille.
SPDIF-forsinkelse: Juster SPDIF-forsinkelsesvaerdien.
Automatisk volumenkontrol: Med automatisk volumenkontrol kan du indstille TV'et til automatisk at udjaevne pludselige lydstyrkefskelle. Typisk i begyndelsen af annunci er, ellr nar du skifter kanal. Tend/sluk for donne indstilling ved at trykke pa OK.
Downmix-tilstand Indstil din præference for at konvertere multikanals lydsignaler til to-kanal lydsignaler. Tryk OK for at se valgmuligheder og indstille. Stereo og Surround-muligheder vil vare tilgengelige. Fremhæv den fane, du vil have, og tryk på OK for at indstille.
Dolby Audio-behandling: Med Dolby Audio-be-handling kan du forbedre lydkvaliteten pa dit TV. Tryk OK for at se valgmuligheder og indstille. Nogle andre lydindstellinger kan muligvis ikke tilgængelige og vises som nedtonet afhængigt af de indstlinger, der er foretaget her.
Dolby Audio-behandling: Fremhæv dette valg og tryk på OK for at tænde/slukke for deren Funktion.
Lydtilstand: Hvis Dolby lydbehanding indstillingen er taendt på Lydtilstand, er muligheden tilgengelig til at indstille. Fremhæv Lydtilstand-valgmulighed og tryk på OK for at se de forudindstillede lydtilstande. Smart, Film, Musik og Nyheder vil ære tilgengelige. Fremhæv den fane, du vil have, og tryk på OK for at indstille.
Nulstil til standardværdier: Nulstiller lydindstillingerne til fabriksstandard.
Lager: Se TV'ets og den tilslutte de enhances sampled lagerpladsstatus, hvis det er tilgengeligt. For at se detailjerede oplyninger om brugsdetaljer fremhavn og tryk pa OK. Der vil ogsa vare muligheder for at skubbe ud og formatere de tilsluttede lagerenheder.
Startskærmen: Tilpas din startskærm. Vælg kanaler, der vises på startskærmen. Organiser apps og spill, skift deres rækkefolge eller fålere af dem.
Butikstilstand: Fremhæv Butikstilstand og tryk pa OK. Laes beskrivelsen, fremhæv Fortsæt og tryk pa OK hvis du vil fortsette. Fremhæv derefter Til for at
aktivere aller Fra for at deaktivere og tryk på OK. I butikstilstand vil dit TV's indstlinger blive konfigureret til butiksmiljø, og de understøttede Funktioner vises pa skærmen. Når de engang er aktiveret, vil indstlinger til Butiksmeddelelser blive tilgængelige. Vælg de indstlinger, du foretrækker. Det anbefales ikke at vælg butikstilstand ved brug i hjemmet.
Google-assistant: Vælg din aktive konto, se tilladelser, vælg hvilke apps, der skal inkluderes i søgeresultaterne, aktivere sikkert søgefilter, aktiv stødende ordblokering og se open source-licenser.
Pauseskarm Angiv indstillingerne for pauseskarm og dvaletilstand pa dit TV. Du kan vaelge en pauseskarm, indstille ventetiden for pauseskarmen, indstille nár TV'et gär i dvaletilstand eller starte pauseskarmtil-stand.
Beliggenhed: Du kan tillade brug af den tradlose forbindelse til at estimere placeringen, se de nylige anmodninger om placering og tillade aller begrangsde anforte apps til at bruge dine placeringsoplysninger.
Brug og diagnose: Send automatisk brugsdata og diagnostiske oplysninger til Google. Vælg den indstilling, du foretrækker.
Fabrikant:brug og diagnose:Hvis du accepterer vil dit TV sende diagnostiske oplysninger (sə som MAC-adresse, land, sprog, software- firmwareversioner,bootloader-versions og kilde for TV'et) og anonyme brugerdata fra din enhed til en server placer et i Irland.Vi er ikke i stand til at identificere dig og indsamler kun disse diagnostiske oplysninger og anonyme brugerdata for at sikre at din enhed virker korrekt.
Indstillinger for handikappede: Konfigurer Svagtseende, Billedtekster indstillinger og/eller sluk/tænd Lydbeskrivelse, Horehammet, Talte undertekt, Tekst med høj kontrast. Nogle af billedtekstindstillingerne anvendes muligvis ikke.
Svagtseende: Digitale TV-kanaler kan udsende en saerlig lydkommentar, der beskriver handling pa skærmen, kropssprog, udtryk og bevgelser for messnesker med synshandicap.
Hojttaler: Slå donne mulighed til, hvis du vil hare lydkommentaren gennem TV-hojttalerne.
Hovedtelefoner: Slå dette mulighed til, hvis du vil dirigere lyden fra lydkommentaren til TV'ets hovedtelefonudgang.
Lydstyrke: Juster lydstyrken på lydkommentaren.
Panorer og dæmp: Sla dette mulighed til, hvis du vil hjre lydkomentaren klareere, narr den er tilgengelig gennem TV-udsendelsen.
Lydtil synshaemmede:Indstil lydtypetil svagsende.Valgmulighederne vil vare tilgengelige afhengigt af den valgte udsendelse.
Dampningskontrol: Juster lydstyrken mellem den almindelige TV-lyd (Alm.) og lydkommentar (AD).
Nulstil: Nulstil TV-indstillingerne til fabriksstandard. Fremhæv Nulstil og tryk på OK. En bekraftelsesemeddeelse vises, ælg Slet alt for at fortsette med nulstilling. TV'et slukkes/tændes Först, og den Forste-gangsopsæting starter. Vælg Annuller for at forlade.
Bemerk: Du kan blive bedt om at indtaste en pinkode for at fortsette med nulstillingsproceduren. Indtast den pinkode, du har defineret ved førstegangss installationen. Hvis du ikke har indstillet en pinkode ved førstegangss installationen, kan du bruge standardpinkoden.. PIN-koden er fabriksindstilet til 1234.
Du kan bruge tradlolest tilbehør, sasom din fjernbetjening (afhænger af modellen af fjernbetjening), hovedtelefoner, tastaturer eller spilkkontrollere med dit Android TV. Tilføj encheder for at bruge dem på dit TV. Vælg dette indstilling, og tryk på OK for at begynde at søge after tilgængelige encheder for at parre dem med dit TV. Fremhæv derefter Tilføj tilbehør og tryk på OK for at starte sogningen. Indstil encheden til parringstilstand Tilgængelige encheder genkendes, og der vises en lista, eller parringsanmodning vises. Vælg din encheden fra listen, og tryk på OK eller fremhæv OK og tryk på OK for at starte parring.
Tilslutte de enheder vises ogsa her. For at frakoble en enched skal du markere den og trykke pa OK. Fremhæv derefter Frakobling og tryk pa OK. Vælg derefter OK og tryk pa OK iven for at frakoble encheden fra TV'et. Du kan skifte navnet pa en tilsluttet enched. Fremhæv encheden, og tryk pa OK, fremhæv derefter Skiftnavn og tryk pa OK iven. Tryk pa OK iven brug det virtuelle tastatur til at skifte navnet pa encheden.
Kanalliste
TV'et sorter alle gemte stationer i Kanallisten. Tryk på OK-knappen, for at abne Kanallisten i Live-TVtilstand. Du kan trykke på Rød knappen for at rulle op på listen side for side, eller tryk på Grøn for at rulle ned.
Om ønsket kan du filtrere eller sortere kanalerne eller finde en kanal på kanallisten. Tryk på Gul for at få vist Vælg flere muligheder. Tilgængelige muligheder er Vælg Type, Sorter og Find. Sorteringsmuligheder er muligvis ikke tilgængelige afhængigt af det valgte land ved frøstegangssinstallationen..
For at filtrere kanalens fremhavning Vælg Type og tryk på OK-knap. Du kan vælgelmelm Kategorier, Digital, Radio, Gratis, Krypteret, Analog og Netværk-indstillinger for at filtrere kanallisten eller vælg Udsendelsesmulighed for at se alle installerede kanaler på kanallisten. Tilgængelige indstillinger kan[vare anderledes afhængigt af operatørvalg.
For at filtrere kanalens fremhavning Vaelg Type og tryk pa OK- knappen. Vaelg en af de tilgaardelige indstlinger, og tryk igen pa OK. Kanalerne vil blive sorteret after dit valg.
For at &, en kanal fremhæv Find og tryk pa OKknappen. Det virtuelle tastatur vil blive vist. Indtast hele ell er en del af navnet aller nummeret pa den kanal, du vil &, fremhæv markingsymbolet pa tastaturet og tryk pa OK. Matchende resultater vil blive opført.
Bemerk: Hvis nogen mulighed undtagen Udsendelse er valgt i Vaelg type-menuen, kan du kun rulle gennem de kanaler, der i ojeblinkket er vist pa kanallisten ved hjaelp Programmer +/- knapper pa fjernbetjeningen.
Sletting af kanalerne på kanallisten
Du kan redigere kanalerne og kanallisten vha. Kanalspring, Kanalsorting, Kanalflytning og Kanalredigeringsindstillinger under menuen Indstillinger>Kanaler> Kanaler. Du kan fä adgang til Indstillinger fra startskærmen eller fra TV-indstillinger-menu i Live TV-tilstand.
Bemerk: Indstillingerne Kanalsorting, Kanalflytning og Kanalredigering er muligvis ikke tilgængelig og vises som gra afhængigt af operatørvalgog operør-relaterede indstlinger. Du kan slukke for LCN indstilling i Indstlinger>Kanal-menu, da det forbinder kanalredigering. Denne mulighed er muligvis indstillet til TIL afhængigt af det valgte land under førstgangsinstallationen.
Styring af foretrukne kanallister.
Du kan oprette fire forskellige listener over dine foretrukne kanaler. Disse listener inkluderer kun de kanaler, der er specificeret af dig. Tryk pa OK-knappen, for at vise Kanallisten. Tryk derefter pa Bla for at fadgang til favoritlister. Hvis en af listerne vises pa skarmen, kan du trykke pa Venstre eller Hojre retningskapfor at skifte fra en liste til anden. For at aendre en kanals position skal du markere den kanal og trykke pa Gul knap. Brug derefter Op og ned retningsknapper for at flytte kanalen til den onskede position og trykke pa OK. Fremhav en kanal pa listen, og tryk pa OK-knappen for at se.
For at fje den aktuelt sete kanal til en af dine favoritlister skal du vaelge den onskede favoritliste som beskrevet ovenfor og trykke pa Menu-knappen pa fjernbetjeningen. Gå derefter ind i menuen Kanaler, fremhæv Foj til Mine favoritter valgmulighed og tryk pa OK. Kanalen vil blive fjet til den udvalgte foretrukne liste... Kunden aktuelt sete kanal kan blive tilfojettil en favoritliste. For at fjerne en kanal fra listen over foretrukne skal du abne favoritlisten, fremhæve kanalen og trykke pa den tasten Blå knap.
Hvis du onsker at indstille en af dine Foretrukne kanallister som hovedkanalliste, skal du vaelge den onskede favoritliste, som beskrevet ovenfor. Indstil derefter Valg type som Foretrukken. Aben kanallisten og tryk pa den Gule knap for at se valgmulighederne. Afhengigt af operatrorvalget kan
denne Funktion vare blokeret og ikke fungere korrekt. Programguide
Ved hjælp af elektronisk programstyringsfunktion (EPG) på dit TV kan du gennemse begivenhedsplanen for de aktuelt installerede kanaler på din kanalliste. Det afhænger af den relaterede udsendelse, om这部分 fonction understøtes eller ej.
For at fä adgang til den elektroniske programguide paa startskærmen skal du trykke pa Guide -knappen paa fjernbetjeningen. Elektronisk programguide er ogsa tilgengelig i Live TV-tilstand. Du kan skifte til Live TV-tilstand ved enten at starte Live TV ansøgning pa startskærmen eller vaelg input-kilden Kanaler fra Indgange menu pa startskærmen. For at fä adgang til programguiden, nar du er i Live-TV-tilstand tryk pa Guide-knappen pa din fjernbetjening.
Brug retningsknapperne til at navigere gennem programguiden. Du kan bruge op/ned retningsknapper erler Program + / - for at skifte til forrige/nestekanal pa listen og hjo're/venstre retningsknapper for at vaelge en onsket begivenhed pa den aktuelt fremhveede kanal. Hvis det er tilgengeligt, vises det fulde navn, startsluttid og-dato, genre for den fremhveede begivenhed og en kort information om den nederst pa skarmen.
Tryk pa den Blå knap for at abne programoversigten. På grund af det store udvalg af filterindstillinger kan du finde begivenheder af den ønskede type hurtigere. Tryk Gul for at se detailjerede oplysninger om den fremhæve de begivenhed. Du kan øgs brugerode og gronne knapper til at se begivenheder fra foregående dag og næste dag. Funktionerne tildeles de farvede knapper pa fjernbetjeningen, nr de er tilgængelige. Følg vejledningen pa skærmen for praçicse knapfunktioner
Tryk på knappen Optag for at tilføj en timer for den fremhævede begivenhed i guiden. Du kan definere timertypeen ved at indstille Planlægningsystemulighed som Påmindelse eller Optag. Når du er færdig, skal du fremhæve Tilføj og trykke på OK. Timeren vil blive fjet til listen. Du kan få adgang til Planlægningsliste fra Optag-menuen i Live TV-tilstand. Vejledningen kan ikke vises, hvis TV-indgangskilde er blokeret fra Indstillinger>Kanal>Forældrekontrol> Blokerede input i Live TV-tilstand eller på startskærmen.
Du kan fä adgang til internettet pà dit TV ved at forbinde det til et bredbandssystem. Det er nødvendigt at konfigurere netværksindstillingerne for at nyde en lang række streaming-indhold og internet-applikationer. Disse indstillinger kan konfigureres fra Indstillinger>Netværk og Internet-menuen. Du kan ogsa fà vist Forbundet/Ikke-forbundet-ikonet på startskærmen
og trykke pa OK for at fadgang til donne menu. For yderligere oplysninger henvises til Netvark og Internet-afsnittet under Indstillinger.
Kabelforbundet forbindelse
Tilslut dit TV til dit modem aller din router via et ethernet-kabel. Der er en LAN-port pa bagsiden af dit TV.
Du vil maske vare i stand til at forbinde dit TV til dit LAN-netvark, afhengigt af dit netvarks konfiguration. I dette tilfaelde kan du tilslutte dit TV direkte til netvarket ved hjaelp af et Ethernet-kabel.

- Netværksstik i væggen
- LAN-indgang pa bagsiden af TV'et
Trädløs forbindelse
Et tradlost LAN-modem/runner kræves for at forbinde TV'et til Internetet via tradlost netværk.
Fremhæv Wi-Fi i Netværk og Internet-menuen og tryk pa OK for at aktivere Trådløs forbindelse. Tilgængelige netværk vil blive opfør. Vælg en og tryk pa OK for at forbinde. For yderligere oplyninger
henvises til afsnittet Netvark og internett under titlen Indstillinger.

Et netværk med skjult SSID kan ikke detekteres af andre enheder. Hvis du vil oprette forbindelse til et netværk med skjult SSID, skal du fremhæve Tilfoj nyt netværk mulighed under Netværk og Internet på startskærmen, og tryk på OK. Tilfoj netværket ved at indtaste dets navn manuelt ved hjælp af den relaterede mulighed.
Nogle netværk har et godkendelsessystem, der krævet er andet login i et sádant arbejdsmiljø. I dette tilfælde, skal du fremhæve Underretninger placeret overst til højre på Startskærmen og trykke OK after at du hart tilsluttet til det netværk, du gele vil pa.. Fremhæv derefter Log ind på Wi-Fi-netværksunderretninger og tryk på OK. Indtast dine brugeroplysninger for at logge ind.
En tradløs N-router (IEEE 802.11a/b/g/n/ac) med simultan 2,4 og 5 GHz-band er designet til at øge bandbredden. Disse er optimeret for en lettere og hurtigere HD-streaming af videoer, filoverforsler og tradløs gaming.
Drug en LAN-forbindelse for hurtigere fildeling mellem Andre eheder sasom computere.
Transmissionshastigheden varierer afhengigt af afstanden og antallet af forhindringer mellem transmissionsprodukterne, konfigurationen af disse produiter, radiobolgeforholdene, ledningstraifik og de produiter, du bruger. Transmissionen kan ogsa falde ud uller blive afbrudt afhengigt af radiobolgeforhold, DECT-telefoner uller andre WLAN 11b-apparater. Standardvardierne for overforselshastigheden er de teoretiske(Maximumvardier for de tradlse standarder. De er ici de faktiske hastigheder pa datatransmission.
Den placering, hvor overforslen er mest effektiv, varierer afhengigt af brugsmiljoet.
Den tradlose Funktion i TV'et understotter modemer af type 802.11 a,b,g,n & ac. Det anbefales kraftigt, at du
bruger IEEE 802.11n kommunikationsprotokollen for at undgå eventuelle problemer, mens du ser videoer.
Du skal æandre dit modems SSID, nær heden med samme SSID. Ellers kan det stød pa forbindelse problemer. Brug en kabelforbundet forbindelse i stedet, hvis du oplever problemer med den tradlse forbindelse.
En stabil tilslutningshastighed kræves for at afspille streamingindhold. Brug en Ethernet-forbindelse, hvis den tradløse LAN-hastighed er ustabil.
Multimedia spiller
Rul til på startskærmen Apps-række, vælg Multi Media Player (MMP) og tryk på OK knappen for at starte.
Vælg den ønske medietype på mediebrowserens hovedmenu og tryk på OK På det næste skærmbillede kan du trykke på Menu-knappen for at få adgang til en liste over menuindstillinger, mens fokus er på en mapperpe eller en mediefil. Ved hjælp af indstillingerne i这部分 menu kan du øndre medietypen, sortere filerne, øndre miniaturestrerlsen og omdanne dit TV til en digital fotorama. Du vil øgså vår i stand til at kopiere, indsætte og slette mediefilerne ved hjælp af de relaterede indstillinger i这部分 menu. Hvis der er en FAT32-USB-lagerenhed tilsluttet til TV'et. Derudover kan du skifte visningsstil ved at øelge Normal parser aller Rekursiv Parser. I Normal parser-tilstand vises filerne med mapperper, hvis de er tilgængelige. Så kun den valgte type af mediefiler i rodmappen eller i den valgte mapperpe vil blive vist. Hvis der ikke er nogen mediefiler af den valgte type, antages mapperpen som tom. I Rekursiv parser-tilstand kilden søges after alle tilgængelige mediefiler af den valgte type, og de fundne filer vises på listen. Tryk på Tilbage/Retur for at lukke这部分 menu.
Vaelg Foto som medietype for at aktivere fotoramme-funktionen. Tryk pa knappen Menu, vaelg Fotoramme, og tryk pa OK. Hvis du vaelger menupunktet One fototilstand og trykker pa OK vises det billede, du har indstillet som fotorammbillede tidligere, nar fotoramme-funktionen er aktiveret. Hvis du vaelger menupunktet USB-lagerenhed vises den feste fil (i Rekursiv parser-tilstand). Tryk pa menu-knappen for at indstille fotoramme-billedet Menu-knappen, mens den valgte fotofil vises, fremhavn Fotoramme-billede og tryk pa OK.
Nár du gennemser videofilne, vises en forhandvisning af den fremhævede video i et lille vindue til venstre på skærmen, hvis visningsstilen er indstillet til Listevisning. Tryk på den Blå knap for at skifte mellem listevisning og gittervisning. Du kan ögså bruge Program +/- knapper for at springe direkte til
den feste og sidste mapperpe eller fil, hvis visningsstilen er indstillet til gittervisning.
Videofiler
Tryk pa OK for at afspille den fremhævede videofil.
Info: Vis infolinjen. Tryk to gange for at fá vist den udvidede information og den æste fil.
Afpil/pause: Sæt på pause, og genoptag afpilningen.
Spol tilbage: Starter afspilningen. Tryk flere gange for at indstille tilbagespolingshastigheden.
Hurtigt fremad: Start hurtig fremad-afspilning. Tryk flere gange for at indstille hastigheden for afspilning fremad.
Stop: Stop afspilningen, og vend tilbage til medieafspillerens skærm.
Program+: Skift til naeste fil.
Program-: Skift til forrige fil.
Tilbage/Retur: Vend tilbage til medieafspillerskaernen Musikfiler
Tryk på OK for at afspille den fremhaevede musik/lydfil.
Info: Vis den udvidede information og den æste fil.
Afpil/pause: Sæt på pause, og genoptag afpilningen.
Spol tilbage: Tryk og hold for at spole tilbage.
Hurtigt fremad: Tryk og hold for at spole fremad.
Stop: Stop afspilningen.
Program+: Skift til naeste fil.
Program-: Skift til forrige fil.
Tilbage/Retur: Vend tilbage til medieafspillerskaernen
Hvis du trykker på Tilbage/Retur-knappen uden forst at stoppe afspilningen, fortsetter afspilningen, mens du gennemser multimediafspilleren. Du kan bruge medieafspillerknapperne til at kontrollere afspilningen. Afspilningen stopper, hvis du forlader medieafspilleren erller skifter medietype til Video.
Fotofiler
Tryk på OK for at afspille den fremhævede fotofil. Nár du trykker på Afpil-knappen, vil diasshowet starte og alle fotofiler i den aktuelle mappe eller i lagerenheden afhängigt af visningsstil, vises i rækkefolge. Hvis Gentag-indstillingen er indstillet til Ingen, vil kun filerne mullem den fremhævede og den sidst viste vises. Diasshowet stopper, after at den sidst anførte fil vises.
Info: Vis infolinjen. Tryk to gange for at fã vist den udvidede information.
Afspil/pause: Sæt diasshowet pa pause og fortseit.
Grøn knap (Roter/varighed): Roter billedet/Indstil intervallet mellem lysbillederne.
Gul knap (Zoom/Effect): Zoom ind på billedet/Anvend forskellige effekter på diasshowet.
Program+: Skift til naeste fil.
Program-: Skift til forrige fil.
Tilbage/Retur: Vend tilbage til medieafspillerskaermen
Tekstfilter
När du trykker på OK-knappen, vil diasshowet starte og alle tekstfiler i den aktuelle mapperpe ell er i lagerenheden afhängigt af visningsstil, vises i rækkefolge. Hvis Gentag-indstillingen er indstilet til Ingen, vil kun filerne mellem den fremhævede og den sidst viste vises. Diasshowet stopper, after at den sidst anførte fil vis
Info: Vis infolinjen. Tryk to gange for at fá vist den udvidede information.
Afpil/pause: Sæt diasshowet pa pause og fortseit.
Program+: Skift til naeste fil.
Program-: Skift til forrige fil.
Retningsknapper (Ned eller Hjre/Op erler Venstre): Skift til æste side. / Skift til forrige side.
Tilbage/Retur: Stop Diasshowet, og vend tilbage til medieafspillerens skærm.
Menuvalg
Tryk på Menu-knappen for at se tilgängelige indstillinger, mens du afspiller eller viser mediefiler. Indholdet af davon menu varierer afhängigt af mediefiltypen.
Pause/afspil: Sæt afspilningen aller diasshowet pa pause og fortset.
Gentag: Indstil gentagelsesvalget. Fremhæv et menupunkt og tryk på OK for at skifte indstilling. Hvis Gentag en er valgt, vil den aktuelle mediefil blive afspillet aller vist gentagne gange. Hvis menuvalget Gentag alle er valgt, vil alle mediefiler af samme type i den aktuelle mapperpe aller i lagerenheden, afhænger af visningsstil, vil gentagne gange blive afspillet aller vist.
Shuffle til/fra: Tænd eller sluk shufflefunktionen. Tryk på "OK" for atændre indstillingen.
Varighed: Indstil intervallet mellem lysbillederne. Fremhaev et menupunkt og tryk pa OK for at skifte indstilling. Du kan ogsa trykke pa den Gronne knap for at indstille. Denne indstilling vil ikke vaere tilgængelig, hvis diasshowet er sat pa pause.
Roter: Drej billeddet. Billedet roteres 90 grader med uret, hvr gang du trykker pa OK. Du kan ogsa trykke pa den Gronne knap for at rotere. Denne indstilling vil/DDke vare tilgengelig, hvis diasshowet/DDke er sat pa pause.
Effekt: Anvend forskellige effekter på diasshowet. Fremhæv et menupunkt og tryk på OK for at skifte indstilling. Du kan ögså trykke på den Gule knap for at indstille. Denne indstilling vil ikke tilgängelig, hvis diasshowet er sat på pause.
Zoom: Zoom ind på det billede, der i øjeblikket vises. Fremhæv et menupunkt og tryk på OK for at skiffe indstilling. Du kan ögså trykke på Gul knap for at
zoone ind. Denne indstilling er/DDke tilgengelig, hvis diasshowet ikke er sat pa pause.
Font: Indstil valget af skrifttyper. Storrelse, stil og farve kan indstilles i henhold til dine praeferencer.
Vis info: Vis den udvidede information
Fotorammbillede: Indstil det aktuelt viste billede som fotorammbillede. Dette billede vises, hvis En fototilstand vaelges i stedet for den tilsluttede slagerenhed, mens fotoramme-funktionen aktiveres. Ellers afspilles alle filer som et diasshow, nar fotoramme-funktionen er aktiveret.
Skjul/vis spektrum: Skjul aller vis spektret, hvis det er tilgaardeligt.
Lyriske indstillinger: Vis lyriske indstillinger, hvis de er tilgengelige.
Billede fra: Abn strømmenuen på dit TV. Du kan bruge Billede fra her for at slukke for skærmen. Tryk p en knap på fjernbetjeningen eller TV'et for atænde for skærmen igen.
Billedindstillinger: Vis menuen med billedindstillinger.
Lydindstillinger: Vis lydindstellingsmenuen.
Audioindstillinger: Indstil lydsporindstillingen, hvis der er mere end et tilgengeligt.
Sidste hukommelse: Indstil til Tid hvis du vil genoptage afspilningen fra den position, hvor den blev stoppet neste gang du abner den samme videofil. Hvis indstillet til Fra, starter afspilningen begyndelsen. Fremhaev et menupunkt og tryk på OK for at skifte indstilling.
Sogning: Gå til et bestemt tidspunkt på videofilen. Brug de numeriske og retningsbestemte knapper til at indtaste tiden og tryk på OK.
Undertekt: Angiv præferencer for undertektspor hvis det er tilgengeligt. Sæt den til FRA, for at slukke for undertekster.
Kodning af undertekt: Vis Undertekstkodning, hvis de er tilgaengelige.
Fra USB-forbindelse
IMPORTANT! Tag en sikkerhedskopi af dine filer pa dine lagringsenheder, for du til slutter dem til TV'et. Producenten kan ikke holds ansvarlig for skadede filer og datatab. Visse USB-eheder (f.eks. MP3-afspillere) aller USB-harddiskdrev/nogler er muligvis ikke kompatibile med dette TV. TV'et understøter FAT32- og NTFS-diskformatering. FAT32-formatterede eheder med en lagringskapacitet større end 192TB understøtes ikke NTFS-formatterede eheder med en lagringskapacitet større end 2TB understøtes ikke
Du kan se dineotos,tekstdokumenterller afspilledine musik-og videofiler,der er installereret pa entilsluttet USB-lagerenhed pa TV'et.Tilslut WLANEnhed til en af USB-indgange pa TV'et
På den vigtigste medieafspillerskærm skal du vælgeden ønskedede medietype. På det næste skærmbillede
skal du fremhæve et filnavn fra listen over tilgængelige mediefiler og trykke på OK-knappen. Følg vejledningen på skærmen for mere information på farvede knapfunktioner
Bemark: Vent lidt, forhver tilslutning og frakobling, da afspilleren muligvis stadig laeser filer. Undladelse af dette kan forarsage fysisk skade pa USB-afspilleren og pa selve USB-enheden. Traek icke drevet ud under afspilning af en fil
Fra en mobilenhed via DMR
Kontroller at enchederne er tilsluttet til det samme netværk som dit TV. Rul til pa startskærmen Appsrække pa TV'et, vælg Multi Media Player (MMP) og tryk pa OK knappen for at starte. Vælg den onske medietype pa mediebrowserens hovedmenu og tryk pa OK Pa den næste skærm tryk pa den Blå knap for at skifte listvisningslayout. Tryk derefter pa knappen Tilbage. DMR (Digital Media Renderer)-indstilling vises blandt medietypeindstillingerne. Vælg DMR-indstilling, og tryk pa knappen OK. TV'et er klar til at modtage mediefilen sendt fra din mobile enched. Abn den fil, du vil dele pa mobilenheden, og tryk pa delingsikonet eller pa den relaterede mulighed fra indstellingsmenuen pa din mobilenhed. Tilgængelige encheder vil blive opfør. Vælg dit TV pa listen. Du kan hente enchedsnavnet pa dit TV fra Indstlinger> Enhedspræferencer> Om menu pa startskærmen. Om onsket kan TV'ets navn øsø ændres ved enten at vælg et af de foruddefinerede navne eller indtaste et brugerdefineret navn vha. indstillingerne i Enhedsnavn menu. Hvis forbindelsen er etableret, afspilles/vises den valgte mediefil pa dit TV.
USB-optagelse
Hvis du vil optage et program, skal du først forbinde en USB-lagringsenhed til dit TV, mens det er slukket. Du skal derefter tænde for TV'et, for at aktivere optagelsesfunktionen.
For at optage langvarige programmer, sāsom film, anbefales det at bruge USB-harddiskdrev (HDD's). Optagede programmer gemmes pa den tilslutte de USB-lagringsenhed. Hvisdu onsker det, kan du gemme/kopiere optagelser til en computer, men disse filer vil ikke tilgängelige til afspilning pa computeren. Du kan kun afspille optagelser via dit TV.
Forsinkelse af læbesynkronising kan forekommen under tidsforskydning. Radiooptagelse understøtes. Hvis skrivehastigheden på den tilslutte de USB-enhed ikke er tilstrækkelig, kan registraringen svigte og tidsforskydningsfunktionen er muligvis ikke tilgængelig. Af dette grund anbefales det at bruge USB-harddiskdrev til optagelse af HD-programmer.
Frakobl参加会议USB/HDD under en optagelse. Dette kan beskadige den tilslutte de USB/HDD.
Nogle streaming-pakker ikke kan registerres på grund af signalproblemer, hvilket kan medføre, at videoer undertiden kan fryse under afspilning.
Hvis timeren starter en optagelse, nár tekst-TV er tændt, vil der blive vist en dialog. Hvis du fremhæver Ja og trykker på OK, slukkes Tekst-TV og optagelsen starter.
Øjeblikelig optagelse
Tryk på Optag-knappen for at starte optagelsen af en begivenhed med det samme, mens du ser et program. Tryk på Stop knap til stop og gem iøjeblikelig optagelse.
Du kan/DDke skifte udsendelser under optagelsestilstand.
Visning af optagede programmer
Vælg Registeringsliste fra Optage i Live TV-tilstand, og tryk på OK. Vælg et optaget element fra listen (hvis det er optaget tidligere). Tryk på knappen OK for at fortsette.
Tidsforskudt optagelse
For at bruge tidsforskudt optagefunktionskal Tidsforskudt tilstands-indstilling i Optag>Tidsforskudt tilstand-menu forst aktiveres.
I tidsforskudt Funktion bliver programmet stoppet, og samtidig optaget på den tilslutte de USB-lagringsenhed. Trykpa knappen Pause/Afpil mens du ser en udsendelse for at aktivere tidsforskudt tilstand. Tryk pa knappen Pause/Afpil ingen, for at genoptage program pa pause, fra hvor du stoppe. Tryk pa knappen Stop for at stoppe tidsforskudt optagelse og vende tilbaget til live-udsendelsen.
Tidsforskudt Funktion er/DDi tilgengelig for radioudsendelser.
Diskformat
Nár du bruger en ny USB-lagerenhed, anbefales det, at du først formaterer den ved hjælp af Formaterindstilling i Optag> Enhedsinfo menu i Live TV-tilstand. Fremhæv den tilslutte de enhed pa Enhedsinfo-skaerm, og tryk pa OK eller Højre retningsknap for at se listen over tilgængelige indstillinger. Sa fremhæv Formater og tryk pa OK for at fortsette. Der vises
VIGTIGT! Formattering of USB-drevet vil slette ALLE data pà det, og dets filsystem vil blive konverteret til FAT32. I de fleste tilfælde vil driftsfejl blive ordnet after en formattering, men du vil miste ALLE dine data.
Planlaegningsliste:
Du kan tilfje pamindelser erler optagetimere ved hjælp af menuen Planlægningsliste. Du kan få adgang til Planlægningsliste fra Optage-menuen i Live TV-tilstand. Fremhæv Planlægningsliste og tryk på OK. Tidligere indstillede timere vil blive vist, hvis der er nogen tilgængelige.
Tryk på Optag for at tilføj en timer, mens Planlægningsliste menu vises på skærmen. Du kan definere timertypeen ved at indstille Planlægningsstype mulighed som Pamindelse eller Optag. Nå du er færdig, skal du fremhæve Tilfoj og trykke på OK. Timeren vil blive fjet til listen.
Hvis der er nogen tilgengelige, kan du ogsa redigere eller slette timerne pa donne liste. Fremhav den timer, du vil have, og tryk pa OK. Rediger og Slet vildukke op i bunden af skarmen. Fremhav den onskede valgmulighed og tryk pa OK. Nar du har redigeret en timer, kan du vaelge enten at udskifte den ellertilfoje den som en ny timer. Hvis du vaelger Udskiftindstillingen, gemmes timeren med de nye indstlinger. Hvis du vaelger Tilfoje valgmulighed, vil timeren blive fojet til listen som en ny timer. Fremhav Erstatller Tilfoj i henhold til din prafeference og tryk pa OK for at fortsette. Nar du vaelger at slette en timer, vises en bekraeftelsesdialog pa skarmen. Fremhav Ja og tryk pa OK for at slette den valgte kanal.
En adverselsmeddeelse vises, hvis tidsintervaller for to timere overlapper hinanden. Du kan ikke indstille mere end en timer for det samme tidsinterval.
Med CEC-funktionen på dit TV kan du betjene en tilsluttet enhed med TV-fjernbetjeningen. Denne Funktion bruger HDMI CEC (Consumer Electronics Control) til at kommunikere med de tilslutte de eheder. Enheder skal understotte HDMI CEC og skal vare tilsluttet en HDMI-forbindelse.
For at gore brug af CEC-funktionaliteten, skal den tilhorende valgmulighed tendes. For at kontrollere, tend ell er sluk ved CEC-funktionen, gor folgende:
- Gå end i menuen Indstillinger>enhed Praefferencer>Indgange pa startskærmen eller menuen TV-valg>Indstillinger>Enhedspræferencer>Indgange in Live TV-tilstand.
-
Rul ned til Forbrugerelektronisk kontrol (CEC)-afsnittet. Kontroller om HDMI-kontrol er taendt.
-
Fremhæv HDMI-kontrol og tryk OK for atændelse slukker
Sorg for, at alle CEC-indstlinger er korrekt konfigureret pa den tilslutte CEC-enhed. CEC-funktionaleteten har forskellige navne pa forskellige mærker. CEC-funktion fungerer muligvis ikke pa alle enheder. Hvis du tilslutter en ent med HDMI CEC-understelltse til dit TV, omdobes den relaterede HDMI-indgangskilde med den tilslutte enhancesavn.
For at betjene den tilslutte de CEC-enhed skal du vaelge den relaterede HDMI-indgangskilde fra menuen Indgange pa startskaernen. Eller tryk pa Kildeknappen, hvis TV'et er i Live TV-tilstand, og vaelg den relaterede HDMI-indgangskilde fra listen. Tryk pa for at afslutte donne handling og styre TV'et via fjernbetjeningen igen skal du trykke pa Kilde-knappen, der stadig vil vare functiionel, pa fjernbetjeningen og skifte til en,anden kilde.
TV'ets fjernbetjening er automatisk i stand til at kontrollere de vigtigste Funktioner after den tilslutte HDMI-kilde er valgt. Imidertid videresendes ikke alle knapper til enheden. Kun eheder, der understotter CEC-fjernbetjeningsfunktion, vil svare på TV-fjernbetjeningen.
TV'et understøtter ogsa ARC (Audio Return Channel) Funktionen. Denne Funktion er en lydforbindelse med henblick på at erstatte andre kabler mellem fjernsynet og musiksystemet (A/V-modtager eller højttalersystem). Tilslut lydsystemet til HDMI2-indgangen på TV'et for at aktivere ARC-funktion.
For at aktivere ARC har functioren Hojttalere valgmulighed skal indstilles som Eksternt lydsystem. Du kan fà adgang til donne indstilling fra TV-indstillinger er TV-indstlinger> Indstlinger> Enhedspræferencer> Lyd menu i Live TV-tilstand aller fra Indstillinger> Enhedspræferencer> Lyd menu pa startskærmen. Nár ARC er aktiv, vil TV'et automatisk sète sine øvriere lydudgange pa lydløs. Sá vil du kun hore lyd fra den tilslutte de lydenhed Lydstykrænapperne pa fjernbetjeningen dirigeres til tilsluttet lydenhed, og du kan kontrollere lydstyrken pa den tilslutte de enhed med din TV-fjernbetjening.
Bemerk: ARC understottes kun via HDMI2 input.
Google Cast
Med den indbygde Google Cast-teknologi kan du caste indholdet fra din mobile enhed direkte til dit TV. Hvis din mobile enhed har Google Cast-funktion, kan du spejle din enchedskaerm tradlost. Vaelg Cast skermindstilling pa din Android-enhed. Tilgengelige enheder vil blive detekteret og opført. Vaelg dit TV fra listen, og tryk pa det for at starte casting. Du kan hente enchedsnavnet pa dit TV fra menuen Indstillinger> Enhedspræferencer> Om pa startskaermen. Enhedsnav vil vare en af de viste articler. Du kan Skifte navnet pa dit TV'et. Fremhæv Enhedsnavn og
tryk på OK. Fremhæv derefter Formater og tryk på OK igen. Du kan enten vælgge et af de foruddefinered navne eller indtaste et brugerdefineret navn.
- Gå til 'Indstillinger' på din Android-enhed fra underretningspanelet eller startskærmen
- Tryk på 'Enhedsforbindelse'
- Tryk på 'Let projetktion' og aktiver 'Trådløs projetktion'. Tilgængelige encheder vil blive opført.
- Vaelg det TV, du gerne vil caste til erler
- Skub underretningspanelet ned
- Tryk på 'Trädloş projektion'
- Vaelg det TV, du gerne vil caste til
Hvis mobilappen er Cast-aktiveret, sasom YouTube, Dailymotion, Netflix, kan du caste din app til dit TV. I mobilappen skal du kigge after Google Cast-ikonet og trykke pa det. Tilgaardelige encheder vil blive detekteret og opfør. Vælg dit TV fra listen, og tryk pa det for at starte casting.
For at caste en app til TV-skaarmen ...
- Åbn en app, der understøtter Google Cast på din smartphone eller tablet
- Tryk på Google Cast-ikonet
- Vaelg det TV, du gerne vil caste til
- Den app, du valgte, skal begynde at afspille på TV Bemærkninger:
Google Cast fungerer på Android og iOS. Kontroller at enchederne er tilsluttet til det samme netværk som dit TV.
Menupunkter og navngivninger til Google Cast-funktion på din Android-enhed kan afvige fra mærke til mærke og kanændre sig med tiden. Se din encheds manual for seneste informationer om Google Cast-funktion.
HBBTV-system
HbbTV (Hybrid Broadcast Broadband TV) er en ny industristrandard, der problemfrit kombinerer TV-tjenester, der leveres via signaler med tjenester, der leveres via bredband, og giver ogsa adgang til ydelser forbeholdt internettet, til forbrugere, der anvender tilslutte de TV og Set-Top-bokse. Tjenester, der leveres gennem HbbTV omfatter traditionelle TV-kanaler, catch-up-tjenester, video-on-demand, EPG, interaktiv reklame, personalising, afstemninger, spill, sociale netvark og andre multimediaapplikationer.
HbbTV-applikationer er tilgengelige på kanaler, hvor de signaleres af TV-stationen.
HbbTV-applikationer startes generelt med et tryk pa en farvet knap pa fjernbetjeningen. Generelt vises et lique rdt knapikon pa skaermen for at underrette brugeren om, at der er et HbbTV-program pa denne
kanal. Tryk på knappen, der vises på skærmen for at iestarte applicktionen.
HbbTV-applikationer bruger tasterne på fjernbetjeningen til at interagere med brugeren. När en HbbTV-applikation abnes, ejes visse taster af applikationen. For eksempel vil et numerisk kanalvalg muligvis ikke fungere på en tekst-TV-applikation, hvor tallene indikerer tekst-TV-sider.
HbbTv kræver AVI-streamingsfunktion til platformen. Der findes utallige applikationer, som tilbyder VOD (video on demand) og catch-up TV-tjenester. Knapperne OK (Afpil og pause), Stop, Spol frem, og Spol tilbage på fjernbetjeningen kan bruges til at interagere med AV-indholdet.
Bemerk: Du kan aktivere eller deaktivere donne fonction fra menuen TV-Indstlinger>Avancerede indstlinger>HB-BTV-indstlinger i Live TV-tilstand.
Hurtig standby-søgning
Hvis der tidligere udfores en automatisk sogning, soger dit TV after nye aller manglende digitale kanaler kl. 05:00 hv er morgen, mens du er i hurtig standbytilstand.
Og hvis Auto Channel Update indstilling i Indstillinger>Kanal menuen er aktiveret, vil TV'et vignne op inden for 5 minutter after det er skifet til hurtig standbytilstand og sogning after kanaler. Standby-LED blinker under denne proces. Nar standby-LED'en holder op med at blinke, er sogeprocessen aflsuttet. De fundne kanaler vil blive gemt i kanallisten. Hvis kanallisten opdateres, vil du blive informeret omændringerne ved næste start.
Softwareopdatering
TV'et er i stand til at finde og opdatere firmwaren automatisk via udsendelsessignalet.
For at opleve den bedste brug af dit TV og drage fordel af de seneste forbedringer skal du sikre dig, at dit system altid er opdateret.
Softwareopdatering via Internet
På startskærmen gå ind i Indstillinger> Enhedspræferencer> Om for at opdatere din Android-systemversion. Flyt fokus til det Systemopdatering og tryk på OK. Du vil blive informeret om systemstatus, og det tidspunkt, hvor enheden sidst blev kontrolleret for en opdatering, vises. Det Søg after opdatering indstillingen fremhaaves, tryk på OK hvis du vil tjekke for en tilgaardelig opdatering.
Bemær: Træk ikke stromkablet ud genstartprocessen. Hvis TV'et ikkeændes after en opgradering, skal du tage stikket ud, vento minutter og derefter sætte stikket i ingen.
Fejlfinding og råd
TV'et taender nikke
- Sorg for at stromledningen er sat korrekt i stikkontakten.
- Frakobl strømkablet fra stikkontakten. Vent et minut, og tilslut det derefterigen.
Tryk på Standby/tænd-knappen på TV'et.
TV'et reagerer ikke på fjernbetjeningen.
Tv'et kræver noget tid at starte op. I ləbet af这部分 periode reagerer TV'et ikke på fjernbetjeningen eller TV-kontrollere. Dette er ganske normalt.
- Kontroller om fjernbetjeningen fungerer ved hjælp af et mobiltelefonkamera. Sæt Telefonen i kameratilstand, og peg fjernbetjeningen mod kameralinsen. Hvis du trykker på en vilkårlig tast på fjernbetjeningen og bemærker, at den infrarøde LED flimrer gennem kameraet, fungerer fjernbetjeningen. TV'et skal kontrolleres:
Hvis du ikke bemærker nogen flimren, kan batterierne muligvis ære opbrugt. Udskift batterierne. Hvis fjernbetjeningen stadig ikke fungerer, kan fjernbetjeningen muligvis ære ødelagt og skal kontrolleres.
Denne metode til kontrol af fjernbetjeningen er/DDmulig med fjernbetjeninger, der er tradlost parret med TV'et.
Ingen kanaler
- Sorg for, at alle kabler er korrekt tilsluttet, og at det korrekte netværk er valgt.
- Sorg for, at den korrekte kanalliste er valgt.
- Sorg for, at du har indstillet den rigtige kanalfrekvens, hvis du har udfort manuel indstilling.
Intet billede/forvrænget bilde
- Kontroller at antennen er korrekt tilsluttet til TV'et.
- Kontroller at antennekablet称之 beskadiget.
- Kontroller at den korrekte enhed er valgt som inputkilde.
- Kontroller at den eksterne enhed eller kilde er korrekt tilsluttet.
- Kontroller at følgende billedindstillinger er korrekte:
Hojttalere,iks-jordforbundne lydenheder, neonlys, hje bygninger og andre store genstande kan pavirke modtagelseskvaliteten. Forsog om muligt at forbredre modtagelseskvaliteten ved at aendre antennenrningen eller flytte eheder væk fra TV'et - Skift til et andet billedformat, hvis billedet ikke passertil skærmen
- Sorg for, at din PC bruger den understottede oplosnig og opdateringshastighed.
Ingen lyd / dárlig lyd
- Kontroller at lydindstillingerne er korrekte:
- Kontroller at alle kabler er tilsluttet korrekt og fastgjort.
- Kontroller at lydstyrken ikke er sat på lydlos eller indstillet til nul, øg lydstyrken, der skal kontrolleres.
- Kontroller at TV-lydudgangen er tilsluttet lydindgangen pa det eksterne lydsystem.
- Derkommen kun lyd fra en højttaler Tjek balanceindstillingerne i Lydmenuen.
Indgangskilder - kan/DDke vaelges
- Kontroller at enheden er korrekt tilsluttet til TV'et.
- Kontroller at alle kabler er tilsluttet korrekt og fastgjort.
- Kontroller at du vaelger den rigtige inputkilde, der er dedikeret til den tilslutte deenhed.
- Sorg for, at den rigtige inputkilde ikke er skjult for menuen Indgange.
VGA-input Typiske visningstilstande
Den følgende tabel illustrerer nogle af de typiske video-displaytilstande. Dit TV understørmer muligvis ikke alle oplosninger.
| Indeks Opløsning Frekvens | |
| 1.640x480 60Hz | |
| 2640x480 72Hz | |
| 3640x480 75Hz | |
| 4800x600 56Hz | |
| 5800x600 60Hz | |
| 6800x600 72Hz | |
| 7800x600 75Hz | |
| 81024x768 60Hz | |
| 91024x768 70Hz | |
| 101024x768 75Hz | |
| 111152x864 75Hz | |
| 121280x768 60Hz | |
| 131280x768 75Hz | |
| 141280x960 60Hz | |
| 151280x960 75Hz | |
| 161280x1024 60Hz | |
| 171280x1024 75Hz | |
| 181360x768 60Hz | |
| 191366x768 60Hz | |
| 201400x1050 59Hz | |
| 211400x1050 60Hz | |
| 221400x1050 75Hz | |
| 231440x900 60Hz | |
| 241440x900 75Hz | |
| 251600x1200 60Hz | |
| 261680x1050 59Hz | |
| 271680x1050 60Hz | |
| 281920x1080 60Hz |
Signalkompatilitet for AV og HDMI
| Kilde Understandøtte de signaler | ||
| Komposit / bagside-AV | PAL | |
| SECAM | ||
| NTSC4.43 | ||
| NTSC3.58 | ||
| Component/YPbPr | 480i, 480p 60Hz | |
| 576i, 576p 50Hz | ||
| 720p | 50Hz,60Hz | |
| 1080i | 50Hz,60Hz | |
| HDMI | 480i | 60Hz |
| 480p | 60Hz | |
| 576i, 576p 50Hz | ||
| 720p | 50Hz,60Hz | |
| 1080i | 50Hz,60Hz | |
| 1080p | 24Hz, 25Hz, 30Hz, 50Hz, 60Hz | |
I visse tilfælde kan et signal ikke vises ordentlich på TV'et. Problemet kan nære manglende overensstemmelse med standarder fra kildeudstyr (DVD, antenneboks osv.). Hvis man oplever södanne problemer, br man kontakte forhandleren samt producenten.
Understegtede filformater til USB-tilstand
Video
| Video-codec Op1øsning Bitrate Profi | Container | ||
| VP9 1920x1080@60fps 40Mbps Profile0,2 | MKV (.mkv)WebM (.webm) | ||
| HEVC/H.265 1920x1080@60fps 50Mbps | Main/Main10Profile, High Tier@Level 4.1 | MP4 (.mp4, .mov), 3GPP (.3gpp, .3gp),MPEG transport-stream (.ts, .trp, .tp), MKV (.mkv), WebM (.webm), FLV (.flv),AVI (.avi), H265 (.265) | |
| MPEG1/2 1920x1080@60fps 80Mbps MP@HL | MPEG programstream (.DAT, .VOB, .MPG, .MPEG), MPEG transportstream (.ts, .trp, .tp), MP4 (.mp4, .mov), 3GPP (.3gpp, .3gp), AVI (.avi), MKV (.mkv), ASF (.asf) | ||
| MPEG4 1920x1080@60fps 40Mbps | Enkel profilAvanceret enkel profil@Niveau 5GMC understøttesikke | MP4 (.mp4, .mov), 3GPP (.3gpp, .3gp),AVI (.avi), MKV (.mkv), WebM (.webm),ASF (.asf), WMV (.wmv),FLV (.flv), OGM(.ogm),MPEG transportstream (.ts, .trp, .tp),MPEG programstream (.DAT, .VOB, .MPG, .MPEG) | |
| Sorenson H.263 1920x1080@60fps 40Mbps | FLV (.flv)AVI (.avi) | ||
| H.263 1920x1080@60fps 40Mbps | FLV (.flv), MP4 (.mp4, .mov), 3GPP (.3gpp, .3gp), AVI (.avi), ASF (.asf),WMV (.wmv) | ||
| H.264 1920X1080@30fps 62,5Mbps | normal og hoyprofil op til niveau 4,1 | FLV (.flv), MP4 (.mp4, .mov), 3GPP (.3gpp, .3gp), MPEG transportstream (.ts, .trp, .tp), ASF (.asf), WMV (.wmv),AVI (.avi), MKV (.mkv), WebM (.webm),OGM (.ogm),MPEG programstream (.DAT, .VOB, .MPG, .MPEG), H264 (.264) | |
| AVS 1920x1080@60fps 40Mbps | Jizhun profile @Trin 6,0 | MPEG transport stream (.ts, .trp, .tp),AVS (.avs) | |
| AVS+ | 1920x1080@60fps 50Mbps | Udsendelseprofile@Level6.0.1.08.60 | MPEG transport stream (.ts, .trp, .tp),AVS (.avs) |
| WMV3 | 1920x1080@60fps 40Mbps | ASF (.asf), AVI (.avi), MKV (.mkv),WebM (.webm), WMV (.wmv), 3GPP (.3gpp, .3gp), MP4 (.mp4, .mov), OGM(.ogm) | |
| VC1 | 1920x1080@60fps 40Mbps | Avanceret profil@Level 3Enkel profilHovedprofil | MPEG transportstream (.ts, .trp, .tp),ASF (.asf), WMV (.wmv), AVI (.avi), MKV (.mkv), WebM (.webm), 3GPP (.3gpp, .3gp), MP4 (.mp4, .mov), VC1(.vc1) |
| Video-codec Oplo | ||||
| Motion JPEG 640x4 | 80@30fps 10Mbps | AVI (.avi), 3GPP (.3gpp, .3gp), MP4 (.mp4, .mov), MKV (.mkv), WebM (.webm), FLV (.flv), OGM (.ogm) | ||
| VP8 1920x1080@60fps 20Mbps | MKV (.mkv), WebM (.webm), FLV (.flv), 3GPP (.3gpp, .3gp), MP4 (.mp4, .mov), AVI (.avi), OGM (.ogm) | |||
| RV30/RV40 1920x1080@60fps 40Mbps | RM (.rm, .rmvb), MKV (.mkv), WebM (.webm) | |||
Audio
| Audio-codec | Samplingsfrekvens Kanal | Bitrate C | Container Bemark | ||
| MPEG1/2 Layer1 | 16KHz ~ 48KHz Op til 2 | 32Kbps~448Kbps | MP3 (.mp3), AVI (.avi), ASF (.asf), WMV (.wmv), MKV (.mkv, .mka), WebM (.webm), 3GPP (.3gpp, .3gp), MP4 (.mp4, .mov, m4a), MPEG transportstream (.ts, .trp, .tp), MPEG programstream (.DAT, .VOB, .MPG, .MPEG), FLV (.flv), WAV (.wav), OGM (.ogm) | ||
| MPEG1/2 Layer2 | 16KHz ~ 48KHz Op til 2 | 8Kbps ~384Kbps | MP3 (.mp3), AVI (.avi), ASF (.asf), WMV (.wmv), MKV (.mkv, .mka), WebM (.webm), 3GPP (.3gpp, .3gp), MP4 (.mp4, .mov, m4a), MPEG transportstream (.ts, .trp, .tp), MPEG programstream (.DAT, .VOB, .MPG, .MPEG), FLW (.flv), WAV (.wav), OGM (.ogm) | ||
| MPEG1/2/2.5 Layer3 | 8KHz ~ 48KHz Op til 2 | 8Kbps ~320Kbps | MP3 (.mp3), AVI (.avi), ASF (.asf), WMV (.wmv), MKV (.mkv, .mka), WebM (.webm), 3GPP (.3gpp, .3gp), MP4 (.mp4, .mov, m4a), MPEG transportstream (.ts, .trp, .tp), MPEG programstream (.DAT, .VOB, .MPG, .MPEG), FLY (.flv), WAV (.wav), OGM (.ogm) | ||
| AC3/DD) | 32KHz, 44,1KHz, 48KHz | Op til 5,1 | 32Kbps ~640Kbps | AC3 (.ac3), AVI (.avi), MKV (.mkv, .mka), WebM (.webm), 3GPP (.3gpp, .3gp), MP4 (.mp4, .mov, m4a), MPEG transportstream (.ts, .trp, .tp), MPEG programstream (.DAT, .VOB, .MPG, .MPEG), WMV (.wmv), ASF (.asf), OGM (.ogm) | |
| EAC3/DDP) | 32KHz, 44,1KHz, 48KHz | Op til 5,1 | 32Kbps ~6Mbps | EAC3 (.ec3), AVI (.avi), MKV (.mkv, .mka), WebM (.webm), 3GPP (.3gpp, .3gp), MP4 (.mp4, .mov, m4a), MPEG transportstream (.ts, .trp, .tp), MPEG programstream (.DAT, .VOB, .MPG, .MPEG), WMV (.wmv), ASF (.asf), OGM (.ogm) | |
| AAC-LC, HEAAC 8KHz ~ 48KHz Op til 5,1 | AAC-LC:12kbps~576kbpsV1 6kbps~288kbpsV2: 3kbps~144kbps | AAC (.aac), AVI (.avi), MKV(.mkv, .mka), WebM (.webm),3GPP (.3gpp, .3gp), MP4(.mp4, .mov, m4a), MPEGtransportstream (.ts, .trp, .tp),MPEG programstream (.DAT, .VOB, .MPG, .MPEG), FLV(.flv), RM (.rm, .rmvb, .ra),WAV (.wav), WMV (.wmv),ASF (.asf), OGM (.ogm) | |||
| .WMA 8KHz ~ 48KHz Op til 2 | 128bps ~320Kbps | ASF (.asf), WMV (.wma, .wmv), AVI (.avi), MKV (.mkv, .mka), WebM (.webm), 3GPP(.3gpp, .3gp), MP4 (.mp4, .mov) | WMA 7,WMA 8,WMA 9Standard | ||
| WMA 10 ProM0 | 8KHz ~ 48KHz Op til 2 | < 192kbps | ASF (.asf), WMV (.wma, .wmv), AVI (.avi), 3GPP (.3gpp, .3gp), MP4 (.mp4, .mov) | ||
| WMA 10 ProM1 | 8KHz ~ 48KHz Op til 5 | 1 < 384kbps | ASF (.asf), WMV (.wma, .wmv), AVI (.avi), 3GPP (.3gpp, .3gp), MP4 (.mp4, .mov) | ||
| WMA 10 ProM2 | 8KHz ~ 96KHz Op til 5 | 1 < 768kbps | ASF (.asf), WMV (.wma, .wmv), AVI (.avi), 3GPP (.3gpp, .3gp), MP4 (.mp4, .mov) | ||
| VORBIS Op til 48KHz Op til 2 | MKV (.mkv, .mka), WebM(.webm), 3GPP (.3gpp, .3gp),MP4 (.mp4, .mov, m4a), Ogg(.ogg), WMV (.wmv), ASF(.asf), AVI (.avi) | Understøtter kun stereo-afkodning | |||
| DTS Op til 48KHz Op til 5,1 | < 1,5Mbps(Ren DTS-kerne) | MPEG transportstream(.ts, .trp, .tp), MPEGprogramstream (.DAT, .VOB, .MPG, .MPEG), WAV (.wav), MKV (.mkv, .mka), WebM(.webm), 3GPP (.3gpp, .3gp),MP4 (.mp4, .mov, m4a), AVI(.avi), OGM (.ogm), DTS (.dts) | |||
| DTS LBR | 12KHz, 22KHz,24KHz,44,1KHz,48KHz | Op til 5,1 | Op til 2Mbps | MP4 (.mp4, .mov), 3GPP(.3gpp, .3gp), MPEGtransportstream (.ts, .trp, .tp) | |
| DTS XLL Up to 96KHz Op til 6 | MPEG transportstream (.ts, .trp, .tp), mts, .m2ts), MP4(.mp4, .mov), 3GPP (.3gpp, .3gp) | ||||
| LPCM 8KHz ~ 48KHz | Mono,Stereo,5.1 | 64Kbps ~1.5Mbps | WAV (.wav), AVI (.avi), MKV(.mkv, .mka), WebM (.webm), 3GPP (.3gpp, .3gp), MP4(.mp4, .mov, m4a), MPEGtransportstream (.ts, .trp, .tp),MPEG programstream (.DAT, .VOB, .MPG, .MPEG), WMV(.wmv), ASF (.asf), FLV (.flv),OGM (.ogm) | ||
| Audio-codec | Samplingsfrekvens Kanal | Bitrate | Container | Bemark | |
| IMA-ADPCM | 8KHz ~ 48KHz Op til 2 | 2Kbps~384Kbps | WAV (.wav), AVI (.avi), MKV (.mkv, .mka), WebM (.webm), OGM (.ogm) | ||
| MS-ADPCM | |||||
| G711 A/mu-law 8KHz 164Kbps | WAV (.wav), AVI (.avi), MKV (.mkv, .mka), WebM (.webm), FLV (.flv) | ||||
| LBR (cook) | 8KHz11.025KHz,22,05KHz, 44,1KHz | Op til 5,1 | 6Kbps ~128Kbps | RM (.rm, .rmvb, .ra) | |
| FLAC 8KHz~96KHz | Op til 7,1 < 1,6Mbps | MKV (.mkv, .mka), WebM (.webm), FLAC (.flac) | |||
| OPUS 8KHz ~ 48KHz | Hz Op til 6 | 6Kbps ~510Kbps | MKV (.mkv, .mka)WebM (.webm) | ||
| AMR-NB 8KHz 1 | 4,75 ~12,2Kbps | 3GPP (.3gpp, .3gp)MP4 (.mp4, .mov, m4a) | |||
| AMR-WB 16KHz | 1 | 6,6 ~23,85Kbps | 3GPP (.3gpp, .3gp), MP4 (.mp4, .mov, m4a) | ||
Billede
Undertekt
| Billede | Foto | Opløsning(bredde x hjde) |
| JPEG | Base-line | 15360x8640 |
| Progressiv | 1024x768 | |
| PNG | 9600x6400 | |
| BMP | 9600x6400 | |
| GIF | 6400x4800 | |
| Webp | 3840x2160 | |
| HEIF | 4000x3000 |
Intern
| Filendelse | Container | Undertekt-codec |
| ts, trp, tp | TS | DVB-undertekt Tekst-TV CC(EIA608) PGS |
| mp4 | MP4 | Vobsub PGS TX3G |
| mkv | MKV | ASS SSA SRT VobSub PGS |
Ekstern
| Filendelse Undertitel | %-parser Kommentarer | |
| .srt SubRip | ||
| .ssa/.ass | SubStation Alpha Advanced SubStation Alpha | |
| .smi SAMI | ||
| .sub | MicroDVD SubIdx (VobSub) | |
| .txt TMPlayer |
Understegtede DVI-opløsninger
När du tilslutter udstyr til stikkene på dit TV ved brug af et DVI-konverteringskabel(DVI til HDMI kabel - medfolger](ikke), kan du referere til følgende information om opløsning.
| 56Hz 60Hz 70Hz 72Hz 75Hz | ||||||
| 640x480 | X | X | ||||
| 800x600 | XXX | |||||
| 1024x768 | XXXX | |||||
| 1280x768 | X | X | ||||
| 1280x960 | X | |||||
| 1360x768 | X | |||||
| 1366x768 | X | |||||
| 1280x1024 | XXXX | |||||
| 1400x1050 | X | |||||
| 1600x900 | X | |||||
Specificationer
| TV-udsendelse | PAL BG/I/DK/ SECAM BG/DK |
| Modtagende kanaler | VHF (BAND I/III) - UHF (BAND U) - HYPERBAND |
| Digital modtagelse | Fuldt integreret digital antenne-kabel TV(DVB-T-C) (i overensstemmelse med DVB-T2) |
| Antal forudindstillede kanaler | 2.200 |
| Kanalindikator Skærmmenu | |
| RF antenneindgang 75 Ohm (ubalanceteret) | |
| Driftspænding | 220-240V vekselstrøm, 50Hz |
| Audio German+Nicam Stereo | |
| Audio udgangseffekt (WRMS.) (10% THD) | 2 x 6 |
| Strømforbrug (W) 65W | |
| Netværksbaseret standby-elforbrug (W) | < 2 |
| TV-dimensioner BxHxD (med fod) (mm) | 191 x 732 x 480 |
| TV-dimensioner BxHxD (eden fod) (mm) | 51/78 x 732 x 435 |
| Skærm 32" | |
| Brugsterpematur og driftsluftfugtighed | 0°C op til 40°C, maks. 85% luftfugtighed |
Trädlöse LAN-Specifikationer
| Frekvensområder | Maksimal udgangsstrøm |
| 2400 - 2483,5 MHz (CH1-CH13) < 100 mW | |
| 5150 - 5250 MHz (CH36 - CH48) < 200 mW | |
| 5250 - 5350 MHz (CH52 - CH64) < 200 mW | |
| 5470 - 5725 MHz (CH100 - CH140) < 200 mW |
Landebegrænsninger
Denne enhed er beregnet til hjemme- og kontorbrug i alle EU-lande (og andre lande after det relevante EU-direktiv) Eden nogen begraensning, bortset fra de nedenfor naevnte lande.
| Land Begræns | hinger: |
| Bulgarien | Generel tilladelse krævet til udendørs brug og offentlige tjenester |
| Italien | Hvis det bruges utden for egne lokaler, kræves der en generel tilladelse |
| Grækenland | Indendørs brug kun til 5470 MHz til 5725 MHz-bændet |
| Luxembourg | Generel tilladelse krævet til netværk og tjenesteforsyning (ikke for spektrum) |
| Norge | Radiotransmission er forbudt for det geo-grafiske område inden for en radius af 20 km fra centrum af Ny-Ålesund |
| Den Russiske Føderation | Kun indendørs brug |
| Israel | 5 GHz-bænd kun i intervallet 5180 MHz - -5320 MHz |
Kravene til et land kan til enhver tid æendres. Det anbefales, at brugeren undersøger den aktuelle status hos de lokale myndigheder om deres nationale forordninger for 5 GHz tradløs LAN.
Licens
Ordene HDMI og HDMI High-Definition Multimedia Interface og HDMI-logoet er varemærker eller registrenderede varemærker tilhorende HDMI Licensing Administrator, Inc.

Ejere af indhold bruger Microsoft PlayReady™ indholds-adgangsteknologi til at beskytte deres immaterielle rettigheder, herunder ophavrsretligt beskyttet indhold. Denne enhed bruger PlayReadyteknologi til at fadagang til PlayReady-beskyttet indhold og/eller WMDRM-beskyttet indhold. Hvis enheden icke pátvinger tilstrækkelige restriktioner for drug af indhold, kan indholdsejerne kræve, at Microsoft tilbagekalder enhedens evne til at forbruge PlayReadybeskyttet indhold. Tilbagekaldelse bør icke pāvirke ubeskyttet indhold erer indhold beskyttet af andre indholds-adgangs-teknologier. Ejere af indhold kan kræve, at du opgraderer PlayReady for at fadgang til deres indhold. Hvis du afviser en opgrading, vil du icke kunne fad agang til indhold, der kræver opgraderingen.
Logoet "CI Plus" er et varemaerke tilhorende CI Plus LLP.
Dette produit er beskyttet af visse intellektuelle ejendomsrettigheder i Microsoft Corporation. Brug eller distribution af en sadan tekologi utden for dette produit er forbudt utden den relevante licens(-er) fra Microsoft.
Oplysninger om bortskaffelse
[DenEuropaeiskeUnion]
Disse symboler angiver, at det elektriske og elektroniske udstyr ikke skal bortskaffes som almindeligt husstandsaffald ved slutningen af udstyrets levetid. I stedet for skal udstyret overdrages til et indsamlingssted for genbrug af elektriske og elektroniske apparater med henblick på korrekt behandling, genindvinding og genbrug i overensstemmelse med national lovgivning og EU-direktiverne 2012/19/EU og 2013/56/EU.
Ved korrekt bortskaffelse af disse produit er man med til at bevare naturlige ressourcer og hjælper med til at forbindre potentielle miljø- og sundhedsmæssige negative effekter, der ellers ville vare forarsaget af ukorrekt affaldsbortskaffelse af disse produiter.
For mere detailjeret information om indsamlingssteder og genbrug af disseprodukter,kontakt venligst dinDDRkommune,din lokale genbrugsoplysning eller stedet, hvor du har erhvervet dette produit.
Der kan udstedes boder for ukorrekt bortskaffelse af dette affald i henhold til national lovgivning.
(Virksomhedsbrugere)
Hvis du onsker at bortskaffe dette produit, bedes du kontakte din leverandør og kontrollere vilkarene og betingelsene for kobsaftalen.
Disse symboler er kun gyldige i EU.
Produktet og emballagen skal tages til dit lokale opsamlingssted for genanvendelse.
Nogle smlingspunkter acceptererprodukter Gratis.
Bemerk: Pb-maerket som sidder under batterisymbolet angiver, at dette batteri indeholder bly.
- Produktter

- Batteri
Indice
Introduzione 4
NemManual