NH3225ANDROID - Televisore NIKKEI - Manuale utente e istruzioni gratuiti
Trova gratuitamente il manuale del dispositivo NH3225ANDROID NIKKEI in formato PDF.
Scarica le istruzioni per il tuo Televisore in formato PDF gratuitamente! Trova il tuo manuale NH3225ANDROID - NIKKEI e riprendi in mano il tuo dispositivo elettronico. In questa pagina sono pubblicati tutti i documenti necessari per l'utilizzo del tuo dispositivo. NH3225ANDROID del marchio NIKKEI.
MANUALE UTENTE NH3225ANDROID NIKKEI
Installazione supporto e montaggio a parete.....4
Accendere/spagnere la TV. 7
Controllo e funzionamento della TV. 7
Telecomando. 8
Installazione guidata iniziale 9
Contenuto menu modalità Live TV. 11
Canali 11
Opzioni TV. 12
Registrar 13
Impostazioni 13
Rete Internet. 13
Canale 14
Accounte registrazione 16
App 16
Preferenzedispositivo 16
Elenco canali 19
Registrazione USB. 24
Registrazione Istantanea 25
Visione dei programmi Registrati 25
Registrazione timeshift 25
Formato disco. 25
Elencoprogrammi 25
CEC. 26
Google Cast 26
Sistema HBBTV 27
Guida alla risoluzione dei problemi e suggerimenti 28
Modalità tipica monitor, ingresso VGA 29
Compatibilità segnale AV e HDMI 29
Risoluzioni DVI supportate. 34
Informazioni sullo smaltimento 36
Informazioni sulla sicurezza

ATTENZIONE
RISCHIO DI SHOCK ELETTRICO: NON APRIRE

ATTENZIONE: PER RIDURRE IL RISCHIO DI SCOSSE
ELETTRICHE NON RIMUOVERE IL COPERCHIO (O LA PARTE POSTERIORE).
ALL'INTERNO NON VI SONO COMPONENTI RIUTILIZZABILI DALL'UTENTE. RIVOLGERSI A PERSONALE DI ASSISTENZA QUALIFICATO PER GLI INTERVENTI DI MANUTENZIONE.
In condizioni climatiche estreme (tempeste, fulmini) e lunghi periodi di inattività (vacanze), scollegare la TV alla presa di corrente.
La spina di rete si usa per scollegare la TV alla rete elettrica e deve quando rimanere lavoramente raggiungibile. Se la TV noniene scollegata elettricamente alla presa di corrente, il dispositivo assorbira ancora energia in tutte le situazioni,anche se la TV si trovato in modalità standby o è spenta.
Note: Attenersi alle istruzioni a video per l'uso delle relative funzioni.
IMPORTANTE - Leggere interamente queste istruzioni prima di installare oMETTERE in funzione
AVVERTENZA Questo dispositivo non è stato pensato per essere utilizzato da persone in grado (in possesso dell'esperienza necessaria per) usareQuesto tipo di dispositivienza supervisione, eccetto in caso di supervisione o istruzioni concernenti l'uso del dispositivo fornite da una persona responsable della sicurezza.
- Usare il set TV ad altitudini inferiori a 5000 metri sopra al livello del mare, in posti asciutti e in regioni con climi moderati o tropicali.
- Il tevisore è destinato ad un uso domestico e in ambienti chiusi, ma più anche essere usato in luoghi pubblici.
- A fini di ventilazione consiglio di lasciare come minimo 5 cm di spazio libero intorno alla TV.
- La ventilazione non deve essere impedita alla copertura o dal blocco delle aperture di ventilazione con giornali, tovaglie, tappeti, coperte, ecc.
- Il cavo di alimentazione dovrebbe essere facilemente accessibile. Non mettere l'apparecchio, un mobile, ecc., sul cavo di alimentazione, ne' schiacciare il cavo. Un cavo di alimentazione danneggiato cui causare incendi o provocare scosse elettriche. Prendere il cavo per la presa, non scollinare la TV tirando il cavo di alimentazione. Non toccare mai il cavo/la presa con le mani bagnate: ciò potrebbe provocare un corto circuito o una scossa elettrica. Non fare mai un dato nel cavo né legarlo con altri
cavi. Se danneggiato, delve essere sostituito, ma unicamente da personale qualificato.
- Non esporre la TV a gobce o schizzi di liquidi e non mettere oggetti pieni di liquidi, ad esempio vasi, tazze, ecc. sulla TV (ad esempio sui ripiani sopra all'unità).
- Non esporre la TV alla luce solare diretta; non collocare fiamme libere, come ad esempio candele accese, sopra o vicino alla TV.
- Non mettere fonti di calorie, come ad esempio riscaldatori elettrici, radiatori, ecc. vicino al set TV.
Non mettere la TV su ripiani e superfici inclinate. - Per evitare il pericolo di soffocamento, tenere le borse di plastica fuori alla portata di neonati, bambini e animali domestici.
- Fissare con attenzione il supporto alla TV. Se il supporto è dotato di viti, serrarle saldamente al fine di evitare che la TV cada. Non serrare eccessivamente le viti e montare i piedini in gomma in modo adeguato.
- Non smaltire le batterie nel fuoco oppure con materiali pericolosi o infiammabili.
AVVERTENZA
- Le batterie non devono essere esposte a calore eccessivo, come luce solare, fuoco o simili.
- Il volume audio in excesso da auricolari e cuffie cui causare la perdita dell'udito.
SOPRATTUTTO - MAI lasciare che alcuno, soprattutto bambini, spingano o colpiscano lo schermo, inseriscano oggetti nei fori, nelle tacche o in altre parti dell'involucro.
| Attenzione | Rischio di gravi lesioni o morte |
| Rischio di scossa elettrica | Rischio di tensioni pericolose |
| Manutenzione | Componente di manutenzione importante |
Indicazioni sul prodotto
I seguenti symboli vengono usati sul prodotto a indicazione di limitazioni, precauzioni e istruzioni di sicurezza. Ogni spiegazione verrà presa in considerazione riflettendo sul fatto che il prodotto ha determinateindicazioni.Si prega di annotarequeste informazioni per ragioni di sicurezza.

Strumentazione di classe II: Questo dispositivo è stato progettato in modo tale da non richiedere un collegamento di sicurezza ssa a terra.
con messa a terra.

Terminale除去 tensione pericoloso: I terminali contrassegnati sono pericolosi, in quanto除去 tensione, in condizioni di normale
funzionamento.

Attenzione, cfr. istruzioni di funzionamento: L'area individata contiene batterie a moneta o a cella, sostituibili.

Prodotto laser di Classe 1: Questo prodotto contiene una sorgente laser di Classe 1, che è sicura in condizioni di funzionamento normali.
AVVERTENZA
Non ingerire batterie, pericolo di esplosione chimica. Il prodotto o gli accessori forniti in dotazione col prodotto potrebbero contentere una batteria a moneta/bottone. Se la batteria a cella, modello moneta/bottone viene ingoiata, cui cause gravi lesioni interne in sole 2 ore e cui portare al decreso.
Tenere lontano alla portata dei bambini batterie nuove e batterie usate.
Se lo scomparto batterie non si chiude in modo sicuro, smettere di usare il prodotto e tenerlo lontano alla portata dei bambini.
Qualora si ritenga che le batterie vengano ingoiate o collocate all'interno del corpo, rivolgersi immediamente a un medico.
La TV potrebbe cadere, causando gravi lesioni personali o morte. Molte lesions, in particolare ai bambini, possono essere evitate prendendo facili precauzioni, quali ad esempio:
- Usare SEMPRE mobiletti o supporti o metodi di montaggio consigliati dal produttore della televisione.
- Usare SEMPRE mobili in grado di sostenere in modo sicuro la TV.
- Garantire SEMPRE che la TV non sporga dal bordo del mobile che la sostiene.
- Informare SEMPRE i bambini dei possibili pericoli che salire sui mobili per raggiungere la TV compra.
- Fissare SEMPRE i cavi e i fili collegati al tevisore, in modo che non possano far inciampare, essere tirati o afferrati.
- Non collocare MAI una TV in una posizione instabile.
- Non posizionare MAI la TV su mobili alto (ad esempio credenze o librerie) perché ancorare sia il mobile che la TV a un adeguato supporto.
Non appoggiare MAI la TV su pile di indumenti o altri materiali che si interpongano fra la TV stessa e il mobilio di sostegno. - MAI collocare oggetti che potrebbero invogliare i bambini ad arrampicarsi, come giocattoli e telemandi, sulla parte superiore del teilevisore o sui mobili su cui è posizionato il teilevisore.
- L'apparecchio è adatto solo per il montaggio ad altezze ≤ 2 m .
Qualora la TV venga conservata e spostata, valgono le stesse considerazioni indicate più sopra.
Un apparecchio collegato alla messa a terra di protezione dell'installazione dell'edificio attraverso le connessioni di CORRENTE oattraverso un'alto apparecchio con un collegamento di messa a terra di
protezione - e ad un sistema tevisivo di distribuzione che usa un cavo coassiale più, in alcuni casi, creare rischi di incendio. Il collegamento a un sistema di distribuzione via televisione deve quindi essere eseguitotramite un dispositivo che fornisce isolamento elettrico al di quello di una certa gamma di frequenza (isolatore galvanico)
AVVERTENZE PER L'INSTALLAZIONE A PARETE
- Leggere le istruzioni prima di montare la TV a parete.
- Il kit di montaggio a parete è opzionale. Sarà possibile rivolgersi al proprio rivenditore locale, qualora le stesse non siano fornite in dotazione con la TV.
- Non installare la TV a soffitto oppure su paret inclinate.
- Servirsi delle viti di montaggio a parete indicate e nelle degli altri accessori.
- Serrare saldamente le viti per il montaggio a parete al fine di evitare che la TV cada. Non serrare eccessivamente le viti.
I dati e le illustrazioni nel manuale dell'utente sono forniti unicamente a scopo di riferimento e potrebbero differire rispetto all'aspetto reale del prodotto. Il design e le specifiche del prodotto possono variare alla preavviso.
Introduzione
Grazie per aver scelto il nostro prodotto. Sarà presto possibile usufruire della TV. Leggere le istruzioni con attenzione. Le presenti istruzioni contengono importanti informazioni che contribuiranno a usare al meglio la TV e garantiranno installazione e funzionamento sicuri e corretti.
Accessoriniclusi
- Telekomando
- Batterie: 2X AAA
- Manuale di istruzioni
Caratteristiche
- Monitor a colori telecomandato
- Sistema operativo Android™
- Google Cast
Ricerca vocale
TV digitale terrestre/cavo integrata (DVB-T-T2/C) - Ingressi HDMI per collegare altri dispositivi con prese HDMI
- Presa Input USB
- Ingressi compositi per dispositivi esterni (comelettori DVD, PVR, videogiochi, ecc.)
- Sistema audio stereo
Televideo - Collegamento cuffia
- Sistema programmazione automatica
Ricerca manuale - Timer spegnimento
- Timer On/Off
- Timer di spegnimento
- Funzione imagine off
- Funzione nessun segnale autospegnimento
- Ingresso VGA
- Ethernet (LAN) per connettività e servizi Internet
Supporto WLAN 802.11 a/b/g/n/ac integrato
HbbTV
High Dynamic Range (HDR) / Gamma Hybrid Log (HLG)
Usando esta funzione la TV è in grado di riproduire una gamma dinamica più ampia di luminosità catturando e poi combinando diverse espositioni. HDR/HLG garantisce una migliorie qualità delle
immagini grazie a parti lumeggiate più luminose e realistiche, colori più realistici e altri miglioramenti. Offre la resa che i registi volevano ottenere,ismostrando le aree nascoste delle ombre scure e la luce solare con un livello massimo di chiarezza, colore e dettaglio. I contenuti HDR/HLG sono supportati tramite applicazioni native e di negozio, HDMI, ingressi USB e trasmissioni DVB.
Installazione supporto e montaggio a parete
Montaggio / Rimozione del piedistallo
Preparazione
Estrarre il piedistallo e la TV alla confezione, e collocare la TV su un piano di appoggio col pannello rivolto verso il basso, appoggiandolo su un panno pulito e morbido (lenzuolo, ecc.)
- Usare un ravolo di dimensioni più grandi rispetto alla TV.
- Non tenere lo schermo per il pannello.
Non graffiare o rompere la TV.
Montaggio del piedistallo
- Posizione are il supporto sullo schema di montaggio sul lato posteriore della TV.
- Inserire le viti in dotazione e sarrarle delicatamente fino a che il supporto non è inserito correttamente.
Rimozione del piedistallo alla TV
Fare in modo di rimuovere il piedistallo come segue quando si usa una staffa a parete o quando la TV viene imballata nuovamente.
- Collocare la TV su un piano di lavoro col pannello rivolto verso la parte Bassa, sul panno pulito e morbido. Lasciare che il supporto sporga或者其他 l'estremità della superficie.
- Svitare le viti che tengono fissato il supporto(i).
- Togliere il supporto.
In fase di utilizzato della staffa di montaggio a parete
La TV è inoltre predisposta per una staffa per il montaggio a parete conforme VESA. Se non è con il teilevisore, contattare il rivenditore locale per acquistare la staffa da parete consigliata.
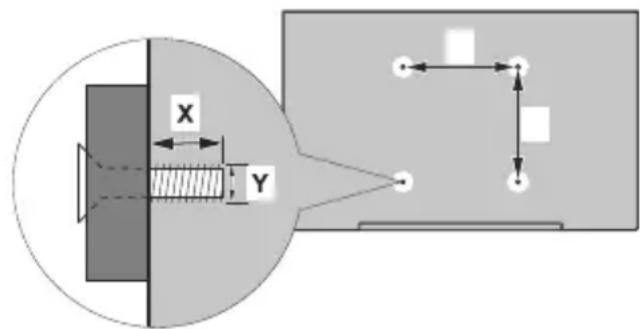
Fori e misure per l'installazione del supporto a parete;

| MISURAZIONI SUPPORTO DI INSTALLAZIONA A PARETE VESA | ||
| Schema del foro Dimensioni (mm) | L | H |
| 75 75 | ||
| Dimensioni delle viti | ||
| Lunghezza (X) | min. (mm) 7 | |
| max. (mm) 8 | ||
| Filetture (Y) M4 | ||
Collegamento antenna
Collegare l'antenna o il cavo TV nella presa INGRESSO ANTENNA (ANT) che si trova sulla parte posteriore della TV.
Parte posteriore della TV


Per collegare un disposativo alla TV, verificare che sua la TV che il disposativo vengano spenti prima di eseguire eventuali collegamenti. Dop o aver
realizzato il collegamento sare possibile accendere le unità e usarle.
Altri collegamenti

Per collegare un dispositivo alla TV, verificare che sia la TV che il dispositivo vengano spenti prima di esguire eventuali collegamenti. Dopo aver realizzato il collegamento sare possibile accendere le unità e usarle.
| Connettore Tipo Cavi Dispositivo | |||
| COMPONENT | Component video Collegamento (Retro) | Cavo di collegamento da VGA e component | |
| HDMI Collegamento (lato posteriore e lato) | |||
| Collegamento VGA (retro) | |||
| AUDIO INGRESSO | VGA/ Componente audio Collegamento (retro) | Cavo audio component/VGA | |
| SPDIF | Connessione SPDIF (uscita coassiale) ( parte posteriore) | ||
| COMPOSITO | Connessione composto (Audio/Video) (retro) | Cavo Audio/Video | |
| AURICOLARI | Collegamento auricolari (lato) | ||
| Collegamento USB (lato) | |||
| Collegamento CI (lato) | |||
| LAN | Collegamento Ethernet (retro) | Cavo LAN / Ethernet | |
Per abilitare l'audio VGA/Component, è necessario utilizzato gli ingressi audio posteriori, con un cavo audio VGA/Component per il collegamento audio. Quando viene usato il kit di montaggio a parete (contattare il rivenditore per acquistarme uno, se non in dotazione), consigliamo di collegare tutti i cavi sul dato posteriore della TV prima dell'installazione a parete. Inserire o rimuovere il modulo CI solo quando la TV è SPENTA. Per dettagli sulle impostazioni, consultare il manuale d'uso del modulo. Ogni ingresso USB della TV supporta dispositivi fino a un massimo di 500mA. Il collegamento di dispositivi con valore superiore a 500mA potrebbe danneggiare la TV. In fase di collegamento di strumentazione per mezzo di un cavo HDMI alla propria TV, al fine di garantire un livello minimo di immunità delle radiazioni di frequenze parasitiche e per trasmettereenza problema segnali ad alta definizione, ad esempio conteniuti 4K, sare Mandatory usare un cavo HDMI schermato ad alta velocità (high grade) contentente ferrite.
Accendere/spagnere la TV
Collegamento all'alimentazione
IMPORTANTE: L'apparecchio TV è stato progettato per funzionare con una presa da 220-240V CA, 50 Hz.
Dopo aver molto l'imballaggio, fare in modo che l'apparecchio TV raggiunga la temperature ambiente prima di collegarlo all'alimentazione principale.
Inserire il cavo di alimentazione alla presa della rete elettrica. In quello modo la TV si accendera automaticamente.
Per accendere la TV da standby
Se la TV è in standby, il LED di standby si accenderà. Per accendere la TV alla modalità di standby è possibile:
- Premete il tasto Standby sul telecomando.
- Premere il tasting di lavoro sulla TV.
In甚么 mode la TV si accendera
Per portare la TV in standby
Il tevisore non può essere messo in standby tramite un pulsante del telecomando. Premere e tenere premuto il tasto Standby sul telecomando. Sullo schermo apparirà la finestra di dialogo Spegnimento Evidenziare OK e premere il pulsante OK. La TV passa in modalità standby.
Per spegnere la TV
Per spagnere completeness la TV, scollegare il cavo di alimentazione alla presa di rete.
Modalità quick standby
Per far passare la TV in modalità di quick standby è possibile:
- Premere il tasto Standby sul telecomando.
Premerlo di nuovo per tornare in modalità operativa. - Premere il tasto di lavoro sulla TV.
Premerlo di nuovo per tornare in modalità operativa.
Controllo e funzionamento della TV

Il pulsante di lavoro consente di controllare le funzioni di Quick Standby-On della TV.
Note: Le posizioni dei pulsanti di lavoro potrebbero variare a seconda del modello.
Per spegnere la TV (Quick standby): Premere il pulsante di lavoro per portare il teileisore in modalità di standby rapido.
Per spegnere la TV (Standby): Il tevisore non cui quod essere messo in standby tramite un pulsante del telecomando.
Per accendere la TV: Premere il pulsante di lavoro, la TV si accende.
Note: Il menu impostazioni Live TV OSD in modalità Live TV non più essere visualizzato tramite il pulsante.
Funzionamento con telecomando
Premere il pulsante Menu sul telecomando per visualizzare il menu delle impostazioni Live TV in modalità Live TV. Premere il pulsante Home per visualizzare o tornare alla schermata iniziale della TV Android. Utilizzato i pulsanti direzionali per spostare la selezione, procedere, regolare alcune impostazioni e premere OK per effettuare selezioni al fine di apportare modifiche, impostare le preferenze, entrare in un sottomenu, avviare un'app, ecc. Premere Indietro/Ritorna per ritornare alla schermata del menu precedente.
Scelta ingresso
Una volta collegati sistemi esterni alla TV, sare possibile passare a diverse fonti di ingresso Premere il tasto Sorgente sul telecomando consecutivamente o utilizzare i tasti direzionali, quando premere il tasto OK per passare a fonti diverse in modalità Live TV. In alternatively, accedere al menu Ingressi nella schermata iniziale, selezionare la sorgente desiderata dall'elenco e premere OK.
Cambio dei canali e di volume
É possibile regolare il volume utilizzato i tasti Volume +/-eambiare il canale in modalità Live TV utilizzato i tasti Programma +/- del telecomando.
Telecomando

Installazione delle batterie nel telecomando
Come prima casa, togliere la vite che tiene fissato il coperchio dello scomparto batteria sul lato posteriore del telecomando. Sollevare delicatamente il coperchio. Inserire due batterie di tipo AAA da 1,5 V. Accertarsi che i symboli (+) e (-) corrispondano (rispettare la polarità). Non utilizzato insieme batterie nuove e vecchie. Sostituire solo con batterie dello stesso tipo o di tipo equivalente. Riposizionare il coperchio. Quindi, riavvitare il coperchio.
Pulsante Standby
Premere etenere premuto il tasto Standby sul telecomando.Sullo schermo apparirà la finestra di dialogo
Spegnimento. Evidenziare OK e premere il pulsante OK. La TV passa in modalità standby. Premere breve, e rilasciare, per portare la TV in modalità di standby rapido o per accendere il teilevisore in modalità di standby rapido o standby.
- Standby: Standby rapido/Standby/On
- Tasti numerici: Commutano il canale in modalità Live TV, inseiscono un numero o una lettera nella casella di testo sullo schermo
- Lingua: Alterna le varie modalità audio (TV analogica), visualizza e modifica la lingua audio/sottotitoli (ove disponibile, TV digitale)
- Home: Apre la schermata Home
- Mute: Spagne completeness il volume della TV
- Volume +/-
- Guida: Visualizza la guida del programma elettronico in modalità Live TV
- Pulsanti direzionali: Esplora i menu, le opzioni di impostazione, sposta la messa a fuoco o il cursore ecc., imposta il tempo di registrazione e visualizza le volte pagine in modalità Televideo-Live TV, se premuto a destra o a sinistra. Attenersi alle istruzioni a video.
- OK: Conferma le selezioni, entra nei loro menu, visualizzazione l'elenco dei canali (in modalità Live TV)
- Indietro/Torna: Torna alla schermata del menu precedente, fa un passo indietro, chiude le finestre aperte, chiude il televideo (in Live TV-modality Televideo)
- Netflix: Lancia l'applicazione Netflix
- Menu: Mostra il menu delle impostazioni della Live TV (in modalità Live TV), visualizzazione le opzioni di impostazione disponibili, come l'audio e l'imagine
- Stop: Interrompe il media in fase di riproduzione
- Indietro: Sposta i frame all'indietro nei media, come ad esempio i film
- Regina: Regina i programmi in modalità Live TV
- Tasti colorati: Attenersi alle istruzioni a video per le funzioni dei tasti colorati
- Testo: Apre e chiude il televideo (ove disponibile in modalità Live TV)
- Pausa: Mette in pausa il file in fase di riproduzione, avvia la registrazione timeshift nella modalità Live TV Play: Inizia a riproduire i media selezionati
- Avanti veloce: Sposta i frame in avanti nei media, come ad esempio i film
- MyButton1: Apre il menu di impostazione della modalità immagine sulle sorgenti disponibili
- YouTube: Lancia l'applicazione YouTube
- Exit (Esci): Chiude ed esce dai menu delle impostazioni della TV Live, chiude la schermata Home, esce da qualsiasi applicazione o menu in corso o banner OSD, passa all'ultima sorgente impostata
- Info: Visualizza informazioni sul contento a video
- Fonte: Mostra tutte le fonti di trasmissione e contentuti disponibili, chiude la schermata Home e passa all'ultima sorgente impostata
- Programma +/-: Aumenta/diminuisce il numero dei canali in modalità Live TV
- Sottotitoli: Attiva e disattiva i sottotitoli (ove disponibile)
Installazione guidata iniziale
Note: Attenersi alle istruzioni a video per completare l'installazione guidata iniziale. Utilizzare i pulsanti direzionali e il pulsante OK sul telecomando per selezionare, impostare, confermare e procedere.
Quando viene accesa per la prima volta viene visua- lizzata la Schermata di benvenuto. Selezionare la propria lingua e OK. Attenersi alle istruzioni a video per impostare la TV e installare i canali. La procedura guidata di installatione vi guidera nel processo di configurazione. E possibile eseguire la configurazione iniziale in qualsiasi momento utilizzato l'opzione Reset nel menu Impostazioni>Preferenze dispositivo. E possibile accedere al menu Impostazioni alla schermata iniziale o dal menu delle Opzioni TV in modalità Live TV.
1. Messaggio di benvenuto e selezione lingua
Il messaggio "Benvenuto" verra lostrato assieme alle opzioni di selezione lingua elencate sullo schermo. Selezionare la lingua desiderata dall'elenco e premere OK per continuare.
2. Configurazione iniziale
Dopo la selezione della lingue sare possibile avviare la procedura guidata di configurazione iniziale. Selezionare Continua e premere OK per procedere. Non sare possibile tornare indietro e modificare la lingua e il paese una volta che si procede. Se dopo esta fase è necessario modificare la lingua, si dovrá portare la TV in modalità standby, in modo che il processo di configurazione venga riavviato alla prossima accensione della TV. A tal fine, tenere premuto il pulsante Standby. Verrà visualizzata una finestra di dialogo. Evidenziare OK e premere OK.
3. Ricerca degli accessori
Verrà eseguita una ricerca degli accessori dopo l'avvio della configurazione iniziale.Seguire le istruzioni sullo schermo per assocare il telecomando (dipende dal modello del telecomando) e altri accessori wireless alla TV.Premere il pulsante Back/Return per terminare I'aggiunta di accessori e procedere.
4. Impostazione rapida
Se non si è precedentemente collegata la TV a Internet via Ethernet, viene visualizzata una schermata in cui è possibiletrasfere la rete WLAN del Telefono Android e l'account Google sulla TV. Selezionare Continua e premere OK per procedere. Attenersi alle istruzioni a video sulla TV e sul Telefono per completare ilprocesso. É inoltre possibile saltare questo passaggio selezionando I'opzione Salta. Alcuni passaggi possono essere saltati a seconda delle impostazioni selezionate in questa fase.
Se la TV è stataprecedentemente collegata a Internet via Ethernet, viene visualizzato un messaggio che indica che si è connessi. Épossible scegliere se
continue con la connessione cablata oambiare rete. Evidenziare Cambia rete e premere OK se si desidera utilizzato la connessione wireless invece di quella cablata.
5. Connessione di Rete
Se a questo punto si collega la TV a Internet via Ethernet, si va automaticamente al passo successivo. In caso contrario, verrà eseguita una ricerca delle reti wireless disponibili che verranno elencate nella videata successiva. Selezionare la rete WLAN dall'elenco e premere OK per connettersi. Inserire la password usando la tastiera virtuale se la rete è protetta da password. Selezionare l'opzione Altra rete dall'elenco, se la rete che si desidera collegare ha un SSD nascosto.
Se a questo punto si preferisce non connettersi a Internet, è possibile saltare quello passaggio selezionando l'opzione Salta. è possibile connettersi a Internet in un secondo momento utilizzato le opzioni del menu Rete e Internet nel menu Impostazioni alla schermata iniziale o dal menu delle Opzioni TV in modalità Live TV.
Questo passaggio verrà saltato se la connessione Internet è stata stabilita nel passaggio precedente.
6. Accedere al proprio account Google
Se la connessione riesce, si più accedere al proprio account Google nella schermata successiva. Per poter utilizzato i servizi Google è necessario essere collegati a un account Google. Questo passaggio verra saltato se non è stata stabilita alcuna connessione Internet nel passaggio precedente o se èustria stato effettuato l'accesso all'account Google nella fase di Configurazione rapida.
Effettuando l'accesso, si potranno scoprirne nuove applicazioni per video, musica e giochi su Google Play; ottenerere consigli personalizzati da app come YouTube; acquistare o noleggiare i film e gli spettacoli più recenti su Google Play Movies & TV; accederere all'intrattenimento, controllare i media. Selezionare Accedi e premere OK per procedere. Le opzioni di accesso sono le seguenti:
- Utilizzare il Telefono o il computer: è possibile utilizzato un browser sul Telefono o sul computer per effettuire l'accesso. Evidenziate questa opzione e premere il pulsante OK. Sullo schermo verrà visualizzato un codice. Assicurarsi che il Telefono o il computer siano collegati alla stessa rete della TV. Aprire il site Web indicato (androidtv.com/setup seguire le istruzioni a video per l'url aggiornato del site Web) nel browser del Telefono o del computer e inserire il codice visualizzato sullo schermo della TV nel relativocampo di immissione. Quindi seguire le istruzioni sul dispositivo e completare la procedura.
- Utilizzare il telecomando: Utilizzato Questa opzione è possibile accedere al proprio account
Google inserendo il proprio indirizzo e-mail o numero di Telefono e la propria password.
Se si preferisce non accedere al proprio account Google a quello punto, è possible saltare quello passaggio selezionando l'opzione Salta.
7. Termini di servizio
La schermata Termini di servizio verrà visualizzata successivamente. Continuando, l'utente accetta i Termini di servizio di Google, l'Informativa sulla privacy di Google e i Termini di servizio di Google Play. Evidenziare Accetta e premere OK sul telecomando per confermare e procedere. É inoltre possibile visualizzare le Condizioni di servizio, l'Informativa sulla privacy e le Condizioni di servizio di Play su但这a schermata. Per visualizzare il contento è necessaria una connessione Internet. Verrà visualizzato un messaggio che riportera l'indirizzo del sito Web sul quale è possible consultare ancche dette informazioni, nel caso in cui non si disponibile l'accesso a Internet.
8. Posizione
Nella schermata successiva, è possibile consentire o impedire alle app di Google e di terme parti di utilizzato le informazioni sulla posizione del teilevisore. Selezionare Si per confermare e premere OK. Per saltare quello passaggio senza conferma, selezionare No e procedere premendo il pulsante OK. è possibile modificare但这a impostazione in un secondo momento,utilizzando il menu Impostazioni>Preferenze disposivo>Posizione nella schermata Home.
9. Aiuta a migliorare Android
Inviare automaticamente informazioni diagnostiche a Google, come i rapporti di crash e i dati di utilizzo del dispositorio e delle app. Queste informazioni non sarenno utilizzate per identificare l'utente. Selezionale Si per confermare e premere OK. Per saltare quello passaggio senza conferma, selezionare No e procedere premendo il pulsante OK. è possible modificare questa impostazione in un secondo momento, utilizzato il menu Impostazioni>Preferenze dispositorio>Uso e diagnostica nella schermata Home.
Le informazioni sui servizi Google e su alcune funzioni del teilevisore verranno visualizzate successivement. è possibile attivare i risultati personali per l'Assistente, scegliendo l'opzione relativiva, quando richiesto. Premere il tasting OK in maniera consecutiva per procedere.
10. Paese
Nel passaggio successivo, selezionare il proprio Paesedall'elenco e premere OK per continuare.
11. Password
A seconda del Paese selezionato nel passaggio precedente, potrebbe ora essere richiesto di scegliere una password (PIN). Premere il tasto OK per procedere. Il numero PIN selezionato non può essere
- Questo PIN sare necessario per accederad allcuni menu, contenuti o per sbloccare canali bloccati, fonti, ecc. Occorra insertirlo se in seguito verrà richiesto di inseire un PIN per una qualiasi operatione di menu.
12. Selezionare la modalità TV
Nella fase successiva della configurazione iniziale è possibile impostare la modalità di funzionamento del teilevisore come Home o come Store. L'opzione Store configurera le impostazioni della TV per l'ambiente negozio. Questa opzione è pensata unicamente per l'uso in negozio. Consigliamo di selezionare Home per l'uso domestico.
13. Chromecast integrato sempre disponible
Selezionare la preferenza per la disponibilità chromecast. Se impostato su On il tevisore verrà rilevato come dispositivo Google Cast e consentirà a Google Assistant e ad altri servizi di attivare il tevisore per rispondere ai comandi Cast,anche quando è in modalità standby e lo schermo è spento.
14. Modalità sintonizzazione
Note: Se non si desidera eseguire una scansione del sintonizzatore, selezionare comunique una delle opzioni disponibili. É possibile saltare la scansione in una fase successiva della procedura guidata di installatione. Se si salute quello passaggio, è possibile eseguire una ricerca dei canali in un secondo momento, utilizzato le relative opzioni del menu Canali.
Il passo successivo è la selezione della modalità sintonizzazione. Selezionare la preferenza di sintonizzazione, per installare i canali per la funzione Live TV. Le opzioni Antenna e Cavo sono disponibili. Evidenziare l'opzione corrispondente al proprio ambiente e premere il pulsante OK o il pulsante direzionale Destro per procedere.
Antenna
Se l'opzione Antenna è selezionata, la TV cerchera le trasmissioni digitali terresti e analogiche. Nella schermata successiva, evidenziate l'opzione Scansione e premere OK per avviare la ricerca o selezionare Salta scansione per continuareenza eseguire una ricerca.
Note: Se il paese selezionato non ha trasmissioni analogiche, l'opzione di ricerca analogica potrebbe non essere disponibile. Cavo
Se l'opzione Cavo è selezionata, la TV cerchera le trasmissioni digitali via cavo e analogiche. Se presenti, le opzioni operatore disponibili saranno elencate nella schermata Selectiona operatore. Altrimenti questo passaggio verrà saltato. É possibile selezionare un solo operatore dall'élenco. Evidenziare l'operatore desiderato e premere OK o il pulsante direzionale Destro per procedere. Nella schermata successiva, evidenziare l'opzione Scansione per avviare una ricerca o selezionare Salta scansione per
continue sensa eseguire una ricerca. Se si selezione Scansione, viene visualizzata una schermata di configurazione. Potrebbe essere necessario impostare le opzioni Modalità scansione, Frenquenza (KHz), Modulazione, Simbolo (Ksym/s), ID di rete. Per eseguire una scansione completa, impostare la Modalità di scansione come Completa/Avanzata, se disponibile. A seconda dell'operaatore selezionato e/o della Modalità di scansione, alcune opzioni potrebbero non essere disponibili.
Note: Se il paese selezionato non ha trasmissioni analogiche, l'opzione di ricerca analogica potrebbe non essere disponibile.
Al termine dell'impostazione delle opzioni disponibili, premere il pulsante direzionale Destro per procedere. La television iniziera la ricerca delle stazioni disponibili.
Quando l'impostazione iniziale è completeness, verrà visualizzato il risultato. Premere OK per finire la procedura di configurazione.
Verrà visualizzata la schermata iniziale. É possibile evidenziare l'app Live TV e premere OK per passare alla modalità Live TV e guardare i canali TV.
Schermata Home
Per godere deivantaggi dell'Android TV, il tevisore devese essere connesso a Internet. Collegare il tevisore a una rete domestica con una connessione Internet ad alta velocità. E possible collegare la TV in modalità wireless o via cavo al modem/router. Per ulteriori informazioni su come collegare la TV a Internet, consultare lesezioni Rete e Internet e Connessione a Internet.
Il menu Home è il centro del tevisore. Premere il tasto Home per visualizzare la schermata principale. Dal menu Home è possibile avviare qualsiasi app, passare a un canale TV, guardare un film o passare a un dispositivo collegato. A seconda della configurazione della TV e della selezione del Paese nella configurazione iniziale, il menu Home può diferere voci.
Le opzioni disponibili della Schermata Home sono posizionate su diverse righe. Per spostarsi nella schermata Home, servirsi dei pulsanti direzionali sul telegomando. Potrebbero essere disponibili app, YouTube, Google Play Movies & TV, Google Play Music e le voci relative a Google Play delle app installate. Selezionale una riga quando evidenziate l'opzione desiderata nella riga. Premere il pulsante OK per fare una selezione o per accedere a un除去-menu.
Gli strumenti di ricerca saranno localizzati in alto a sinistra dello schermo. É possibile scegliere di digitare una parola per avviare una ricercatramite la tastiera virtuale oppure provare l'opzione di ricerca vocale, se il telecomando dispone di un microfono incorporato.
Spostare la selezione sull'opzione desiderata e premere il pulsante OK per accedere.
In alto a destra dello schermo vengono visualizzate le opzioni Notifiche, Ingressi, Rete e Internet (che saranno indicate con la voce Connesso o Non connesso, in base allo stato di connessione), Impostazioni e l'ora. É possible configurare le preferenze relative a data e ora utilizzato le opzioni del menu Data e ora dal menu Impostazioni>Preferenze dispositivo.
La prima voce sare la riga delle App. Le app Live TV e Multi Media Player saranno disponibili insieme ad altre app. Evidenziare Live TV e premere OK per passare alla modalita Live TV. Se in precedenza la sorgente è stata impostata su un'opzione diversa alla TV, premere il pulsante Sorgente e impostarla come TV per guardare i canali TV live. Evidenziare Multi Media Player e premere OK per vedere i dispositivi USB o i media server collegati e riproduire/ visualizzare i contentuti multimediali installati sul tevisore. I file audio possono essere riprodottiattraverso gli altoparlanti del tevisore o attraverso i sistemi di altoparlanti collegati al tevisore. É possibile configurare le preferenze dell'uscita audio dall'opzione Altoparlanti nel menu Impostazioni>Preferenze dispositivo>Preferenze audio. Per navigare in internet, è necessario averre un'applicazione per il browser internet. Fare una ricerca o lanciare l'applicazione Google Play, trovare un browser e scaricarlo.
Contenu menu modalità Live TV
Passare prima alla modalità Live TV e poi premere il tasto Menu sul telecomando, per visualizzare le opzioni del menu Live TV. Per passare alla modalità Live TV è possible premere il pulsante Esci o evidenziare l'app Live TV delle App e premere OK sulla schermata iniziale.
Canali
Aggiungi a Preferiti: Aggiunge il canale che si sta guardando alla lista dei preferiti precedentamente selezionata.
Guida programmi: Apre la guida elettronica dei programmi. Cfr. la sezione Guida programmi per ulteriori informazioni in merito.
Nuovi canali disponibili: Avvia una ricerca di nuovi canali. Selezionare l'app sorgente del canale o il sintonizzatore. Quindi effettuare le impostazioni in base al proprio ambiente e alle proprie preferenze, ove necessario. è possibile utilizzato le opzioni del menu Canale per cercare i canali di trasmissione. Cfr. la sezione Canali per ulteriori informazioni. Al termine, evidenziare Fatto e premere OK.
Opzioni TV
Fonte: Visualizza l'elenco delle fonti di ingresso. Selezionare quella desiderata e premere OK per passare a quella sorgente.
Modalità Immagine: Imposta la modalità immagine per soddisfare preferenze o requisiti. Immagine cui èsere impostata su una di queste opzioni: Utente, Standard, Vivido, Sport, Film e Gioco. É possibile utilizzare la modalità Utente per creare impostazioni personalizzate. Andare su Impostazioni>Preferenze dispositosivo>Immagine per informazioni dettagliate sulle opzioni d'impostazione.
Modalità display: Imposta il rapporto dello schermo. Selezionare una delle opzioni predefinite in base alle proprie preferenze.
Altoparlanti: Per sentire l'audio della TV dal dispositorio audio collegato compatibile, impostare su Sistema audio esterno. Impostare come Altoparlanti TV per usare gli altoparlanti del teilevisore come uscita audio.
Alimentazione
Timer di spegnimento: Definisci un tempo di inattività dopo il quale desideri che il teilevisore entri automaticamente in modalità spegnimento.
Picture Off: Selezionare l'opzione, quindi premere OK per spegnere lo schermo. Premere un qualsiasi pulsante sul telecomando o sulla TV per riaccendere lo schermo. Si noti che non è possible accendere lo schermotramite i pulsanti Volume + / - Mute e Standby. Questi pulsanti funzioneranno in modo normale.
Spegnimento automatico nessun segnale: Imposta la preferenza comportamentale della TV quando non viene rilevato nessun segnale alla sorgente di ingressso attualmente impostata. Definire un periodo di tempo dopo il quale si desidera che il tevisore si spenga automaticamente, oppure impostare su Off per disabilitare.
Card Cl: Mostra le opzioni di menu disponibili della scheda Cl in uso. Questa opzione potrebbe non essere disponibile, in base all'impostazione della sorgente di ingressso.
Operazioni avanzate
Lingua audio: Selezionare le preferenze relative alla lingua dell'audio. Questa opzione potrebbe non essere disponibile, in base all'impostazione della sorgente di ingresso.
Blu Mute: Attivare/disattivare esta funzione in base alle proprie preferenze. quando è attivata, viene visualizzato uno sfondo blu sullo schermo, quando non è disponibile alcun segnale.
Canale predefinito: Impostare le preferenze predefinite per il canale di avvio. Quando la Modalità
di selezione è Selezione utente, l'opzione Mostra canali sare disponibile. Evidenziare e premere OK per consultare la lista canali. Evidenziare un canale, quando premere OK per selezionare. Il canale selezionato verrà visualizzato agli volte che il teilevisore viene riaccesso da qualsiasi modalità di standby. Se la Modalità di selezione è impostata come Ultimo status, verrà visualizzato l'ultimo canale guardato.
Interazione canale: Attivare o disattivare la funzione Interazione canale. Questa funzione è utile solo nel Regno Unito e in Irlanda.
Protezione PIN MHEG: Attiva o disattiva la funzione di protezione MHEG PIN. Questa impostazione attiva o disattiva l'accesso ad alcune delle applicazioni MHEG. Le applicazioni disattivate possono essere rilasciate inserendo il PIN corretto. Questa funzione è utile solo nel Regno Unito e in Irlanda.
Impostazioni HBBTV
Supporto HBBTV: Attiva o disattiva la funzione HBBTV.
Do Not Track: Imposta la propria preferenza per quanto riguarda il comportamento di tracciamento dei servizi HBBTV.
Impostazioni cookies: Imposta la preferenza per i cookie per i servizi HBBTV.
Memorizzazione persistente: Attiva o disattiva la funzione di Memorizzazione persistente. Se su On, i cookies saranno memorizzati con una data di scadenza nella memoria del tevisore.
Blocco tracciamento siti: Attiva o disattiva la funzione Blocco tracciamento siti.
ID dispositivo: Attiva o disattiva la funzione ID dispositivo.
Reimposta ID dispositivo: Reimposta l'ID del dispositivo per i servizi HBBTV. Verra visualizzata una finestra di dialogo di conferma. Premere OK per procedere, Indietro per annullare.
Sottotitoli
Sottotitoli analogici: Imposta l'opzione come Off, On o Muto. Se viene scelta l'opzione Muto i sottotitoli analogici saranno visualizzati sullo schermo, ma gli altoparlanti saranno disattivati simultaneamente.
Sottotitoli digitali: Impostare Questa opzione come Off o On.
Tracce sottotitoli: Imposta la preferenza di traccia dei sottotitoli, se disponibile.
Lingua sottotitoli digitali: Imposta una delle opzioni linguistiche elencate come prima preferenza per la lingua digitale dei sottotitoli.
Seconda lingua sottotitoli digitali: Imposta una
delle opzioni linguistiche elencate come seconda preferenza per la lingua digitale dei sottotitoli. Se la lingua selezionata nell'opzione Lingua sottotitoli digitali non è disponibile, i sottotitoli saranno visualizzati in questa lingua.
Tipi di sottotitoli: Impostare come Normale o Non udenti. Se l'opzione Non udenti viene selezionata,essa fornisce servizi di sottotitoli a spettatori non udenti e con problemi di udito, con descrizioni aggintive.
Televideo
Lingua televideo digitale: Imposta la lingua del televideo per le trasmissioni digitali.
Lingua paginadi decodifica: Imposta la lingua della paginadi decodifica,per visualizzare il televideo.
Standby automatico: Definisci un tempo di inattività dopo il quale desideri che il teilevisore entri automaticamente in modalità spegnimento. Sono disponibili opzioni di4 ore, 6 ore e 8 ore. Impostare su Mai per disabilitare.
Informazioni sistema: Visualizza informazioni di
sistema dettagliate sul canale corrente, come il Livello del segnale, la Qualità del segnale, la Frenenza, ecc.
Informazioni versione: Visualizza informazioni sul sistema, come il Nome del modello e la Versione.
Impostazioni: Per informazioni dettagliate,fare riferimento alla sezione Impostazioni.
Registrar
Lista registrazioni: Se disponibili, le registrazioni saranno visualizzate. Evidenziare la registrazione scelta e premere il pulsante Giallo per cancellarla o premere il pulsante Blu per visualizzare informazioni dettagliate. è possible utilizzato i pulsanti Rosso e Verde per scorrere la pagina su e giu.
Informazioni dispositivo: Verranno visualizzati i dispositivi di archivazione USB collegati. Evidenziare il dispositivo di propria scelta, quando premere OK per inviare il commando.
Imposta timeshift: Contrassegnare il dispositorio di archivazione USB selezionato o una partizione su diesso per la registrazione timeshift.
Imposta PVR: Contrassegnare il dispositorio di archivazione USB selezionato o una partizione su diesso per il PVR.
Formato: Formattare il dispositorio di archivazione USB selezionato. Cfr. la sezione Registrazione USB per ulteri informazioni
Test velocità: Avviare un test di velocità per il dispositivo di archivazione USB selezionato. Il risultato del test viene visualizzato al termine.
Elenco programmi: Aggiunge promemoria o registrar i timer utilizzato il menu Elenco programmi.
Modalità timeshift: Attiva o disattiva la funzione di registrazione timeshift. Cfr. la sezione Registrazione USB per ulteri informazioni
Impostazioni
É possibile accedere al menu Impostazioni alla schermata iniziale o dal menu delle Opzioni TV in modalità Live TV.
Rete Internet
È possibile configurare le impostazioni di rete del teilevisore utilizzando le opzioni di questo menu. É inoltre possibile evidenziate l'icona Connesso/Non connesso nella schermata principale e premere OK per accedere a questo menu.
Wi-Fi: Attiva e disattiva la funzione LAN wireless (WLAN).
Reti disponibili
Quando la funzione WLAN è attivata, vengono elencate le reti wireless disponibili. Evidenziare Vedi tutto e premere OK per visualizzare tutte le reti. Selezionarme una e premere OK per stabilire il collegamento. Qu但她 a rete sua protetta da password, potrebbe essere chiesto di insere una password per collegarsi alla rete selezionata.
Altre opzioni
Aggiungi nuova rete: Aggiunge reti con SSID nascosti.
Scansione sempre disponible: Consente al servizio di localizzazione e ad altre app di cercare le reti,anche quando la funzione WLAN è disattivata. Premere OK per attivare o disattivare.
Wow: Attivare e disattivare esta funzione. Questa funzione consente di accendere o riattivare il teileso tramite la rete wireless.
Wol: Attivare e disattivare esta funzione. Questa funzione consente di accendere o riattivare il tevisoretramite la rete.
Ethernet
Connesso/non connesso: Visualizza lo stato della connessione internet via Ethernet, indirizzi IP e MAC.
Impostazioni proxy: Imposta manualmente un proxy HTTP per il browser. Questo proxy non può essere utilizzato da altre applicazioni.
Impostazioni IP: Configura le impostazioni IP della TV.
Canale
Canali
Le opzioni di questo menu possono essereambiato o disattivate a seconda della selezione di Modalità installazione canale.
Modalità installazione canale: antenna
Ricerca automatica canale: Avviare una scansione per i canali analogici e digitali. Sarà possibile premere il tasting Indietro per annullare la scansione. I canali già trovati saranno memorizzati nell'elenco dei canali.
Aggiorna scansione: Cerca aggiornamenti. I canali aggiunti precedentamente non verranno cancellati, ma i nuovi canali trovati verranno memorizzati nell'elenco dei canali.
Scansione manuale analogica: Avvia una scansione manuale dei canali analogici. Immettere la Frequenza di avvio, quando selezionare Scansione su o Scansione giù. Quando viene trovato un canale, la scansione sare completingata e il canale trovato sare memorizzato nell'elenco dei canali.
Singola scansione RF: Selezionare il Canale RF utilizzato i pulsanti direzionali Destro/Sinistro. Verranno visualizzati il Livello segnale e la Qualità segnale del canale selezionato. Premere OK per avviare la scansione sul Canale RF selezionato. I canali trovati saranno memorizzati nell'elenco dei canali.
Aggiornamento manuale servizio: Avvia manualmente un aggiornamento del servizio.
LCN: Imposta le preferenze LCN. LCN è il sistema Logical Channel Number che organizza le trasmissioni disponibili con una sequenza numerica di canali riconoscibile (ove disponibile).
- Tipo scansione canale: Imposta le preferenze per il tipo di scansione.
Tipi store canale: Imposta le preferenze per il tipo di store.
Selezione rete preferita: Selezione la rete preferita. Questa opzione del menu sare attiva se è disponibile più di una rete.
Salta canale: Imposta i canali da saltare quando si cambia canale tramite i pulsanti Programma +/- sul telecomando. Evidenziare il/i canale/i desiderato/i nell'elenco e premere OK per selezionare/deselectionare.
Sostituzione di canali: Sostituisce le posizioni dei due canali selezionati nella lista dei canali. Selezionare i canali desiderati dall'elenco e premere OK per selezionarli. Quando si selezione il secondo canale, la posizione di questo canale verrà sostituita con la posizione del primo canale selezionato. Per abilitare但这a funzione si dovrebbe impostare l'opzione LCN su Off o Predefinita.
Sposta canale: Sposta un canale nella posizione di un'alto canale. Evidenziare il canale desiderato e premere OK per selezionario. Fare lo stesso per un secondo canale. Quando il secondo canale viene selezionato, il primo canale selezionato verrà spostato nella posizione di quel canale. Per abilitare但这a funzione si dovrebbe impostare l'opzione LCN su Off o Predefinita.
Modifica canale: Modifica canali nella lista canali. Modificare il nome e il numero di canale del canale selezionato e visualizzare Nome di rete, Frenenza, Sistema cromatico e Informazioniistema audio relative a quel canale, se disponibili. A seconda del canale possono essere modificate ancche altre opzioni. Sarà possibile premere il tasto Blu per cancellare il canale evidenziato.
Fine-tune canale analogico: Esegue la regolazione di un canale analogico. Verrà visualizzata una lista dei canali analogici disponibili. Selezionare il canale desiderato dall'élenco e poi premere il pulsante OK. Quindi cancellare la frequenza del canale, premendo i tasti direzionali Sinistra/Destra. Premere OK per memorizzare la nuova frequenza per quel canale. Premere Indietro per annullare. Questa你可以 potrebè non essere visible, a seconda che l'ultimo canale guardato fosse o meno analogico.
Cancella elenco canali: Cancella tutti i canali memorizzati nell'élenco dei canali della modalità di INSTALLazione del canale selezionato. Verrà visualizzata una finestra di dialogo per la conferma. Evidenziare OK e premere OK per procedere. Per annullare, evidenziare Annulla e premere OK.
Modalità installazione canale: cavo
Ricerca automatica canale: Avviare una scansion dei canali analogici e digitali via cavo. Se disponibili, verranno elencate le opzioni operatore. Selezionare alla desiderata e premere OK. Le opzioni Modalità scansione, Tipo scansione canale, Frequenza e ID di rete potrebbero essere disponibili. Le opzioni possono variare a seconda dell'operatore e della selezione della Modalità di scansione. Impostare la Modalità scansione come Completa, se non si sa come impostare altre opzioni. Evidenziare Scansione, quando premere OK per avviare la ricerca. Sarà possibile premere il tasto Indietro per annullare la scansione. I canali già trovati saranno memorizzati nelle'elenco dei canali.
Singola scansione RF: Immettere il Valore della frequenza. Verranno visualizzati il Livello segnale e la Qualità segnale della Frenquenza selezionata. Evidenziare l'opzione Scansiona e premere OK per avviare la scansione. I canali trovati saranno memorizzati nell'elenco dei canali.
LCN: Imposta le preferenze LCN. LCN è il sistema Logical Channel Number che organizza le trasmis-
sioni disponibili con una sequenza numerica di canali riconoscibile (ove disponibile).
- Tipo scansione canale: Imposta le preferenze per il tipo di scansione.
Tipi store canale: Imposta le preferenze per il tipo di store.
Selezione rete preferita: Selezione la rete preferita. Questa opzione del menu sare alla attiva se è disponibile più di una rete. Questa opzione potrebbe non essere disponibile a seconda del Paese selezionato durante il processo di impostazione iniziale.
Salta canale: Imposta i canali da saltare quando si cambia canale tramite i pulsanti Programma +/- sul telecomando. Evidenziare il/i canale/i desiderato/i nell'elenco e premere OK per selezionare/deselectionare.
Sostituzione di canali: Sostituisce le posizioni dei due canali selezionati nella lista dei canali. Selezionare i canali desiderati dall'elenco e premere OK per selezionarli. Quando si selezione il secondo canale, la posizione di quello canale verrà sostituita con la posizione del primo canale selezionato. Per abilitare但这a funzione si dovrebbe impostare l'opzione LCN su Off o Predefinita.
Sposta canale: Sposta un canale nella posizione di un altro canale. Evidenziare il canale desiderato e premere OK per selezionario. Fare lo stesso per un secondo canale. Quando il secondo canale viene selezionato, il primo canale selezionato verrà spostato nella posizione di quel canale. Per abilitare但这a funzione si dovrebbe impostare l'opzione LCN su Off o Predefinita.
Modifica canale: Modifica canali nella lista canali. Modificare il nome e il numero di canale del canale selezionato e visualizzare informazioni quali Nome di rete, Frenenza, Sistema cromatico e Sistema audio, Modulazione e Simbolo di quel canale. A seconda del canale possono essere modificate ancche altre opzioni. Sarà possibile premere il tasting Blu per cancellare il canale evidenziato.
Fine-tune canale analogico: Esegue la regolazione di un canale analogico. Verrà visualizzata una lista dei canali analogici disponibili. Selezionare il canale desiderato dall'élenco e poi premere il pulsante OK. Quindi cancellare la frequenza del canale, premendo i tasti direzionali Sinistra/Destra. Premere OK per memorizzare la nuova Frequenza per quel canale. Premere Indietro per annullare. Questa你可以 potrebè non essere visible, a seconda che l'ultimo canale guardato fosse o meno analogico.
Cancella elenco canali: Cancella tutti i canali memorizzati nell'elenco dei canali della modalità di installation del canale selezionato. Verrà visualizzata una finestra di dialogo per la conferma. Evidenziare OK e premere OK per procedere. Per annullare, evidenziare Annulla e premere OK.
Note: Alcune opzioni potrebbero non essere disponibili e apparire in grigio a seconda della selezione dell'opercatore e delle impostazioni relative all'opercatore.
Modalità installazione canale:
Impostare esta opzione come Antenna o Cavo.
Aggiornamento automatico canale
Attivare o disattivare l'aggiornamento automatico dei canali.
Messaggio aggiornamento canale
Attiva o disattiva la funzione dei messaggi di aggiornamento del canale. Questa你可以 potrebbe non essere visible, a seconda della selezione della Modalità installazione canale.
Parental control
(*) Per entrare in quello menu è necessario prima insere il PIN. Il PIN predefinito è impostato su 1234. Qualora sia stato definito un nuovo PIN dopo il processo di configurazione initiale, utilizzato il PIN definito. Alcune opzioni potrebbero non essere disponibili o variate a seconda del Paese selezionato durante la configurazione initiale.
Canali bloccati: Selezionare il/i canale/i da bloccare dall'elenco dei canali. Evidenziare un canale e premere OK per selezionare/deselectionare. Per guardare un canale bloccato, insere prima il PIN del canale bloccato.
Restrizioni del programma: Blocca i programmi secondo le informazioni di classificazione dell'ètà che vengono con essi trasmesse. è possibile attivare o disattivare le restrizioni, impostare i sistemi di classificazione, i livelli di restrizione e i limiti di età utilizzato le opzioni di questo menu.
Ingressi bloccati: Impedisce l'accesso al contento della sorgente di input selezionata. Evidenziare l'input desiderato e premere OK per selezionare/deselectionare. Per passare a una sorgente input bloccata, immettere prima il PIN.
Modifica PIN: Cambia il PIN di default. Evidenziare但这a opzione e premere OK. Inserire prima il vecchio PIN. Successivement verrà visualizzata la schermata di inserimento del nuovo PIN. Inserire il nuovo PINdue volte per conferma.
Canale audio
Imposta la preferenza del canale audio, se disponible.
Questa你可以 potrebbe non essere visible, a seconda che l'ultimo canale guardato fosse o meno analogico.
Lingua audio
Imposta una delle opzioni lingua elencate come preferenza per la prima lingua audio. Questa你可以 potrebbe non essere visible, a seconda che l'ultimo canale guardato fosse o meno digitale.
Lingua audio secondaria
Imposta una delle opzioni lingua elencate come seconda lingua audio preferita. Se nell'impostazione Lingua audio l'opzione di lingua selezionata non è supportata,但这a preferenza linguistica sare considerata. Questa voce potrebbe non essere visible, a seconda che l'ultimo canale guardato fosse o meno digitale.
License open source
Visualizzare le informazioni sulla licenza dei software open source.
Versione
Visualizza il numero di versioneistema.
Accounte registrazione
Google: Questa opzione sare è disponibile con l'accesso all'account Google. É possible con Gurare le preferenze di sincronizzazione dei dati o rimuovere l'account registrato sul teilevisore. Evidenziare un servizio elencato nella sezione Scegli app sincronizzate e premere OK per attivare/disattivare la sincronizzazione dei dati. Evidenziare Sincronizza ora e premere OK per sincronizzare tutti i serviziabilitati in una sola volta.
Aggiungi account: Aggiunta di un nuovo accountagli account disponibilitramite accesso.
App
Usando le opzioni di questo menu è possibile gestire le app sulla TV.
App recenti
E possibile visualizzare le app aperte recentamente. Evidenziare Mostra tutte le app e premere OK per vindere tutte le app installata sulla TV. Verra visualizzataanche la quantità di spazio di archivazione necessario. E inoltre possibile vindere la versione dell'app,aprirla o forzarne l'esecuzione,disinstallare un'app scaricata,vedere i permessi e abiliarli/ disabilitarli, attivare/disattivare le noti che,cancellare i dati e la cache, ecc. Evidenziare un'app e premere OK per visualizzare le opzioni disponibili.
Permessi
Consente di gestire i permessi e altre caratteristiche delle app.
Permessi app: Le app saranno ordinate per categorie di permessi. All'interno di queste categoria è possibile disabilitare i permessi delle app.
Accesso speciale app: Consente di configurare alcune caratteristiche dell'app e dei permessi speciali.
Sicurezza & limitazioni: Usando le opzioni di questo menu;
- É possibile consentire o limitare l'installazione delle app provenienti da fonti che non siano il Play Store di Google.
- Impostare la TV in modo che impedisca o avvisi prima dell'installazione di app che potrebbero causare danni.
Preferenze dispositivo
Informazioni: Veri ca la presenza di aggiornamenti del sistema, cambia il nome del dispositivo, riavvia il teilevisore e visualizzza informazioni sul sistema, come indirizzi di rete, numeri di serie, versioni, ecc. è inoltre possibile visualizzare informazioni legali, gestire gli annunci, visualizzare il proprio ID pubblicitario, azzerarlo e attivare/disattivare gli annunci personalizzati in base ai propri interessi.
Netflix ESN: Visualizza il numero ESN. Il numero ESN è un numero ID unico per Net ix, creato appositamente per identi care la TV.
Data e ora: Imposta le opzioni di data e ora della TV. è possibile impostare il tevisore per aggiornare automaticamente i dati di data e ora sulla rete o sulle trasmissioni. Impostare in base ad ambiente e preferenze. Disabilitare impostando come Off se si desidera modi care manually la data o l'ora. Impostare quando le opzioni di data, ora, fuso orario e formato ora.
Timer
Tipo ora di accensione: Imposta il teilevisore per accendersi da solo. Impostare su On o Una volta per abilitare il timer di accensione, impostare su Off per disabilitare. Se impostato come Una volta. la TV si accenderà solo una volta all'ora de nita nell'opzione Ora di accensione qui sotto.
Ora accensione automatica: Disponibile se Tipo ora di accensione è abilitato. Impostare l'ora desiderata per l'accensione del teilevisore alla modalità standby utilizzando i pulsanti direzionali e premere OK per salvare il nuovo orario impostato.
Tipo ora di spegnimento: Imposta il teilevisore per spegneri da solo. Impostare su On o Una volta per abilitare il timer di spegnimento, impostare su Off per disabilitare. Se impostato come Una volta, la TV si spegnerà solo una volta all'ora de nita nelle'opzione Ora di spegnimento qui sotto.
Ora spegnimento automatico: Disponibile se Tipo ora di spegnimento è abilitato. Impostare l'ora desiderata per lo spegnimento del teilevisore alla modalità standby utilizzando i pulsanti direzionali e premere OK per salvare il nuovo orario impostato.
Lingua: Seleziona le preferenze relative alla lingua.
Tastiera: Seleziona il tipo di tastiera e gestisci le impostazioni della tastiera.
Ingressi: Mostra o nascondi un terminale di ingresso, cambia l'etichetta di un terminale di ingresso e con -
gura le opzioni per la funzione HDMI CEC (Consumer Electronic Control).
Alimentazione
Timer di spegnimento: Definisci un tempo di inattività dopo il quale desideri che il teilevisore entri automaticamente in modalità spegnimento.
Picture Off: Selezionare l'opzione, quando premere OK per spegnere lo schermo. Premere un qualsiasi pulsante sul telecomando o sulla TV per riaccendere lo schermo. Si noti che non è possibile accendere lo schermotramite i pulsanti Volume + / - Mute e Standby. Qosti pulsanti funzioneranno in modo normale.
Spegnimento automatico nessun segnale: Imposta la preferenza comportamentale della TV quando non viene rilevato nessun segnale alla sorgente di ingressso attualmente impostata. Definire un periodo di tempo dopo il quale si desidera che il teilevisore si spenga automaticamente, oppure impostare su Off per disabilitare.
Imagine
Modalità Immagine: Imposta la modalità immagine per soddisfare preferenze o requisiti. Immagine cui quere impostata su una di queste opzioni: Utente, Standard, Vivido, Sport, Film e Giochi. è possibile utilizzato la modalità Utente per creare impostazioni personalizzate.
Le impostazioni di retroilluminazione, luminosità, contrasto, colore, tonalità, nitidezza saranno regolate in base alla modalità imagine selezionata. Se una di queste impostazioni viene modificata manually, l'opzione Modalità imagine verràambiata in Utente, se non è giorn impostata come Utente.
Retroilluminatione automatica: Imposta le preferenze per la retroilluminatione automatica. Saranno disponibili le opzioni Off, Basso, Medio ed Eco. Impostare su Off per disabilitare.
Retroilluminatione: Regola il livello di retroilluminatione dello schermo manualmente. Questa opzione non sare disponibile se l'opzione Retroilluminatione automatica non è impostata su Off.
Luminosità: Regola la luminosità dello schermo.
Contrasto: Regola il contrasto dello schermo.
Colore: Regola il valore della saturazione del colore dello schermo.
Tinta: Regola la tonalità dello schermo.
- Nitidezza: Regola il valore di nitidezza per gli oggetti visualizzati sullo schermo.
Gamma: Imposta la preferenza di gamma. Sono disponibili le opzioni Scuro, Medio e Chiaro.
Temperatura Colore: Impostare la temperatura colore preferita. Saranno disponibili le opzioni
Utente, Freddo, Standard e Caldo. É possibile regolare manualmente i valori di guadagno rosso, verde e blu. Se una di queste impostazioni viene modificata manualmente, l'opzione Temperatura colori verràambiata in Utente, se non è giorn impostata come Utente.
Modalità display: Imposta il rapporto dello schermo. Selezionare una delle opzioni predefinite in base alle proprie preferenze.
DNR: La funzione Dynamic Noise Reduction (DNR) consiste nel processo di rimozione del rumore dal segnale analogico o digitale. Impostare le preferenze DNR come Basso, Medio, Forte, Auto o disattivarle impostandole come Off.
MPEG NR: La riduzione del rumore MPEG (MPEG Noise Reduction) rimuove i rumori relativi a suoni leggeri e di sostofondo. Imposta le preferenze MPEG NR come Basso, Medio, Forte, o le disattiva impostandole come Off.
Controllo adattivo Luma: Il controllo adattivo Luma regola le impostazioni di contrasto complessivamente, secondo l'istogramma del contentuto, per fornire una percezione più profonda del nero e più luminosa del bianco. Imposta le preferenze del Controllo Adattivo Luma come Basso, Medio, Forte o le disattiva impostandole come Off.
Modalità film DI: è la funzione di rilevamento della cadenza 3:2 o 2:2 per il contento della pellicola a 24 fps e migliorara gli effetti collaterali (come l'effetto di interlacciamento o le "vibrazioni") che sono causati da quosti metodi di pull down. Imposta le preferenze della Modalità film DI come
Auto o le disattiva se impostato su Off. Questa você non está disponible se la Modalità gioco o la Modalità PC sono attive.
Blue Stretch: L'occhio umano percepisce i bianchi più freddi come bianchi più brillanti, la funzione Blue Stretch cambia il bilanciamento del bianco dei livelli di grigio medio-alti a una temperatura di colore più fredda. Attiva o disattiva la funzione Blue Stretch.
Modalità gioco: La modalità gioco è la modalità che riduce alcuni degli algorithmi di elaborazione delle immagini, per stare al passo coi videogiochi con frame rate velociti. Attiva o disattiva la funzione Modalità gioco.
Modalità PC: La modalità PC è la modalità che riduce alcuni degli algorithmi di elaborazione delle immagini, per Maintainere il tipo di segnaleosi com'è. Puo essere utilizzato soprattutto per
gli ingressi RGB. Attiva o disattiva la funzione Modalità PC.
Gamma HDMI RGB: Questa impostazione deve essere regolata in base al Campo del segnale RGB in ingressso sulla sorgente HDMI. Puo essere limitato (16-235) o a gamma intera (0-255). Imposta la preferenza della gamma HDMI RGB. Sono disponibili le opzioni Auto, Pieno e Limite. Questa opzione non sare disponibile se l'input della sorgente non è impostato su Off.
Sintonizzatore colore: La saturazione del colore, la tonalità, la luminosità possono essere regolati per i toni del rosso, verde, blu, ciano, magenta, giallo e carne (tonalità della pelle) per avere un'immagine più vivida o più naturale. Impostare manually impegna i valori Tonalità, Colore, Luminosità, Offset e Guadagno. Evidenziare Abilità e premere OK per attivare esta funzione.
Correzione del bilanciamento del bianco a 11 punti: La funzione di bilanciamento del bianco calibra la temperature del colore della TV in livelli di grigio dettagliati. Visivamente o attraverso la misurazione, l'uniformità della Scala di grigi cui essere migliorata. Regola manualmente l'intensità dei colori rosso, verde, blu e il valore del guadagno. Evidenziare Abilita e premere OK per attivare但这a funzione.
Ripristino delle impostazioni predefinite: Ripristina le impostazioni video ai livelli predefiniti di fabbrica.
Note: A seconda della sorgente di ingresso impostata, alcune opzioni di menu potrebbero non essere disponibili.
Audio
Audio di problema: L'audio di problema è il suono riprodotto quando si naviga o si selezione una voce sullo schermo del teilevisore. Evidenziare esta opzione e premere OK per attivarla/disattivarla.
Stile audio: Per una facile regolazione del suono, è possibile selezionare un'impostazione predefinita. Le opzioni Utente, Standard, Vivido, Sport, Film, Musica o News saranno disponibili. Le impostazioni audio verranno regolate in base allo stile sonoro selezionato. Altre opzioni audio potrebbero non essere disponibili a seconda della selezione.
Bilancimiento: Regola il bilancimiento del volume a destra e a sinistra per gli altoparlanti e le cuffie.
Dettaglio equalizzatore: Regola i valori dell'equalizzatore in base alle proprie preferenze.
Altoparlanti: Per sentire l'audio della TV dal dispositivo audio collegato compatibile, impostare su Sistema audio esterno. Impostare come Altoparlanti TV per usare gli altoparlanti del teileisure come uscita audio.
Uscita digitale: Imposta la preferenza di uscita audio digitale. Sono disponibili le opzioni Auto, Bypass, PCM, Dolby Digital Plus e Dolby Digital. Evidenziare l'opzione desiderata e premere OK per impostarla.
Ritardo SPDIF: Regola il valore del Ritardo SPDIF.
Controllo automatico volume: Col Controllo automatico del volume è possibile impostare il televisione per livellare automaticamente le differenze di volume improvvise. In genere all'inizio della pubblicità o quando si cambia canale. Attivare/disattivare esta opzione premendo OK.
Modalità Downmix: Imposta la preferenza per convertire i segnali audio multicanale in segnali audio bicanale. Premere OK per vedere il menu delle opzioni e impostarlo. Saranno disponibili le opzioni Stereo e Surround. Evidenziare l'opzione desiderata e premere OK per impostarla.
Elaborazione audio Dolby: Con l'elaborazione audio Dolby si può migliorare la qualità dell'audio della TV. Premere OK per vedere il menu delle opzioni e impostarlo. Altre opzioni audio sono essere non disponibili e apparire in grigio, a seconda delle impostazioni effettuate.
Elaborazione audio Dolby: Evidenziare questa opzione e premere OK per attivarla/disattivarla.
Modalità audio: Se l'opzione Elaborazione audio Dolby è attiva, l'opzione Modalità audio sare disponibile all'impostazione. Evidenziare l'opzione Modalità audio e premere OK per visualizzare le modalità audio preimpostate. Le opzioni Smart, Film, Musica, News saranno disponibili. Evidenziare l'opzione desiderata e premere OK per impostarla.
Ripristino delle impostazioni predefinite: Ripristina le impostazioni audio ai valori predefiniti.
Archivazione: Visualizzare lo stato dello spazio di archivazione totale del teilevisore e dei dispositivi collegati, ove disponibile. Per visualizzare informazioni dettagliate sui dettagli d'uso, evidenziare e premere OK. Sono又能 disponibili opzioni per l'espulsione e la formattazione dei dispositivi di archivazione collegati.
Schemata Home: Personalizza la schermata iniziale. Selezionare i canali che verranno visualizzati nella schermata iniziale. Organizzato app e giochi, modificarne l'ordine o per ottenerne di più.
Modalità vendita: Evidenziare Modalità vendita e premere OK. Evidenziare Continua e premere OK se si desidera procedere. Evidenziare On per attivare o Off per disattivare e premere OK. In modalità vendita le impostazioni del teilevisore saranno configurate per l'ambiente di vendita e le funzioni supportate saranno visualizzate sullo schermo. Una volta attivare, le impostazioni di Messaggistica vendita saranno disponibili.
Impostare in base alle proprie preferenze. Consigliamo di selezionare Modalità vendita per l'uso domestico.
Assistente Google: Seleziona l'account attivo, visualità i permessi, selezione quali applicazioni includere nei risultati di ricerca, attiva il filtrò di ricercicura, il blocco parole offensive e visualità le licen'open source.
Salvaschermo: Imposta le opzioni di screensaver e modalità d'attesa per il teilevisore. É possibile scegliere uno screensaver, impostare il tempo di attesa per lo screensaver, impostare quando il teilevisore entra in modalità d'attesa o avviare la modalità screensaver.
Posizione: Consente l'uso della connessione wireless per stimare la posizione, vedere le recenti richieste di posizione e consentire o limitare le app elencate, per utilizzare le informazioni sulla posizione.
Uso e diagnostica: Invia automaticamente i dati di utilizzo e le informazioni diagnostiche a Google. Impostare in base alle proprie preferenze.
Uso e diagnostica del Produttore: Se accetti, il tuo teilevisore inviera informazioni di carattere diagnostico (come ad esempio l'indirizzo MAC, il paese, la lingua, le versioni del software e del firmware, le versioni del bootloader e la sorgente del teilevisore) e dati d'uso anomini dal loro dispositivo a un server situato in Irlanda. Non siamo in grado di identificarti e ci limitiamo unicamente a raccogliere e conservare queste informazioni diagnostiche e dati d'uso anomini al fine di garantire il correto funzionamento del loro dispositivo.
Accessibilità: Configura le impostazioni per Ipovedenti, le Didascalie e/o attiva/disattiva l'Audio descrizione, l'opzione Ipoudenti, i Sottotitoli, il Testo ad alto contrasto. Alcune delle impostazioni relative alla didascalia potrebbero non essere presenti.
Ipovedenti: I canali tevisivi digitali sono trasmettere speciali audio descrizioni che commentano le azione sullo schermo, il linguaggio del corpo, le espressioni e i movimenti per le persone con disabilità visiva.
Altoparlanti: Attivare questa opzione se si desidera ascoltare l'audio descrizione attraverso gli altoparlanti della TV.
Cuffia: Attivare esta opzione se si desidera ascoltare l'audio descrizione atraverso l'uscita cuffie della TV.
Volume: Regola il livello del volume dell'audio descrizione.
Pan e fade: Attivare esta opzione se si desidera ascoltare l'audio descrizione più chiaramente, quando è disponibile per la trasmissione.
Audio per ipovedenti: Impostare il tipo di audio per ipovedenti. Le opzioni saranno disponibili a seconda della trasmissione selezionata.
Regolatore fader: Regola il bilanciamento del volume tra l'audio della TV principale (Main) e il commento audio (AD).
Reset: Ripristina tutte le impostazioni della TV ai valori apredefiniti di fabbrica. Evidenziare Reset e premere OK. Verrà visualizzato un messaggio di conferma, selezionare Cancella tutto per procedere con il ripristino. Prima il teilevisore si spegne/accende e poi si avvia la configurazione iniziale. Selezionare Annulla per uscire.
Note: Potrebbe ossere chiesto di inserire un PIN per procedere con l'operazione di reset. Inserire il PIN definito durante la prima installatione. Se non si ha impostato un PIN durante la prima installatione, usare il PIN predefinito. Il PIN predefinito è 1234.
Telecomando & accessori
Sara possibile usare accessori wireless, quali ad esempio telecomandi (dipende dal modello del telecomando), auricolari, tastiere o controller di gioco con una TV Android. Aggiungere dispositivi per usarli con la TV. Selezionare questa opzione e premere OK per iniziare la ricerca di dispositivi disponibili per abbinarli alla TV. Evidenziarie, se disponibile, l'opzione Aggiungi accessorio, quando premere OK per avviare una ricerca. Impostare il dispositivo sulla modalità di abbinamento. I dispositivi disponibili verranno riconosciuti ed elencati o verrà visualizzata la richiesta di pairing. Selezionare il dispositivo dall'elenco e premere OK o evidenziarie OK e premere OK per avviare l'abbinamento.
Anche i dispositivi connessi verranno qui elencati. Per eliminare l'abbinamento di un dispositivo, evidenziarlo, quando premere OK. Evidenziare l'opzione Unpair e premere OK. Quindi, selezionare OK e premere nuovamente OK per eliminare l'abbinamento del dispositivo alla TV. è possibile modificare il nome di un dispositivo connesso. Evidenziare il dispositivo e premere OK, quando evidenziare Cambia nome e premere nuovamente OK. Premere nuovamente OK, utilizzare la tastiera virtuale per cancellare il nome del dispositivo.
Elenco canali
La TV ordinata tutti i canali salvati nell'Elenco canali. Premere OK per visualizzare l'Elenco Canali in modalità Live TV. è possibile premere il pulsante Rosso per scorrere l'elenco网页 per pagina, oppure premere il pulsante Verde per scorrere verso il basso. Se lo si desidera, è possibile filtrare o ordinare i canali o trovare un canale nell'elenco dei canali. Premere il pulsante Giallo per visualizzare le opzioni Selezione altri canali. Le opzioni disponibili sono Selezione tipo, Ordina e Trova. L'opzione Ordina (Sort) potrebbe non essere disponibile a seconda del
Paese selezionato durante il processo di impostazione iniziale.
Per filtrare i canali, evidenziate Seleziona tipo e premere OK. è possibile selezionare tra le Categorie, Digitale, Radio, Libero, Criptato, Analogico, Preferito e Rete, per filtrare l'elenco canali o selezionare Broadcast per visualizzare tutti i canali installati nell'elenco canali. Le opzioni disponibili potrebbero differire a seconda della selezione dell'operatore.
Per filtrare i canali, evidenziate Ordina e premere OK. Selezionare una delle opzioni disponibili e premere nuovamente OK. I canali saranno ordinati in base alla selezione.
Per trovare i canali, evidenziare Trova e premere OK. Verrà visualizzata la tastiera virtuale. Inserire tutto o parte del nome o del numero del canale che si desidera trovare, evidenziare il symbolo del segno di spunta sulla tastiera e premere OK. I risultati rilevanti saranno migliorati in elenco.
Note: Se nel menu Selezione tipo viene selezionata una qualiasi opzione ecctto Broadcast, è possibile scorrere solo i canali attualmente elencati nell'elenco canali using i tasti Programma +/ - del telecomando.
Modifica dei canali dall'elenco canali
- É possibile modificare i canali e l'elenco dei canali usando le opzioni Salta canale, Ordina canale, Sposta canale e Modifica canale nel menu Impostazione>Canale>Canali. É possibile accedere al menu Impostazioni alla schermata iniziale o dal menu delle Opzioni TV in modalità Live TV.
Note: Le opzioni Ordina canale, Sposta canale e Modifica canale potrebbero non essere disponibili e apparire in grigio a seconda della selezione dell'opercatore e alle impostazioni. è possibile disattivare l'impostazione LCN nel menu Impostazioni>Canale, poiché impedisce la modifica dei canali. Questa opzione può essere impostata di default su On a seconda del paese selezionato durante il processo di configurazione iniziale.
Puoi create quattro elenchi diversi dei loro canali preferiti. è possible creare quattro diverse liste di canali preferiti. Premere OK per visualizzare l'elenco canali. Quindi premere il pulsante Blu per accedere alle liste dei preferiti. Se una delle liste viene visualizzata sullo schermo, è possibile premere il pulsante direzionale Sinistra o Destra per passare da una lista all'altra. Per cancellare la posizione di un canale, evidenziarlo e premere il tasto Giallo. Poi usare i tasti direzionali Su e Giu per spostare il canale nella posizione desiderata e premere OK. Evidenziare un canale nella lista e premere il pulsante OK per guardarlo.
Per aggiungere il canale che si sta guardando a una delle liste di preferiti, selezionate la lista preferiti desiderata, come descririto sopra e premete il tasting
Menu sul telecomando. Quindi entrare nel menu. Canali, evidenziar e opzione Aggiungi ai preferiti e premere OK. Il canale selezionato verrà aggioso all'elenco dei preferiti. Solo il canale attualmente guardato cui assereaggiunto all'elenco dei preferiti. Per rimuovere il canale dall'elenco dei preferiti, après la lista dei preferiti, evidenziar il canale e premere il pulsante Blu.
Se si vuole impostare uno dei propri elenchichi di canali preferiti come elenco di canali principale, è necessario selezionare l'elenco dei preferiti desiderato come descritto sopra. Successivement impostare l'opzione. Seleziona tipo su Preferito. Apire l'elenco dei canali e premere il pulsante Giallo per vedere le opzioni. A seconda della selezione dell'operatore但这a funzione, cui essere bloccata e non funzionare correttamente. Guida programmi
Tramite la funzione di guida elettronica ai programmi (Electronic Programme Guide, EPG) del teilevisore è possibile visualizzare la programmazione degli eventi dei canali attualmente installati nella lista dei canali. Dipende alla trasmissione correlata sequestra funzione è supportata o meno.
- Per accedere alla Guida Elettronica Programmi nella schermata iniziale, premere il tasto Guida sul telecomando. La guida elettronica ai programmi è disponibileanche in modalitàLive TV. É possiblen passare alla modalitàLive TVtramite l'app Live TV sulla schermata iniziale o selezionando la sorgente di ingressso Canali dal menu Ingressi nella schermata iniziale. Per accedere alla guida ai programmi in modalitàLive TV, premere il pulsante Guida sul telecomando.
Utilizzare i pulsanti di navigazione per navigare nell'elenco programmi. É possible utilizzato i pulsanti direzionali Su/Giù o i pulsanti Programma +/- per passare al canale precedente/successivo dell'elenco e i pulsanti direzionali Destra/Sinistra per selezione l'evento desiderato del canale attualmente evidenziato. Se disponibili, il nome Completo, l'ora e la data di inizio-fine, il genere dell'evento evidenziato e una breve informazione su di"This saranno visualizzati nella parte inferiore dello schermo.
Premere il tastinge Blu per filtrare gli eventi. A causa della grande varietà di opzioni di filtering è possibile trovare più rapidamente gli eventi desiderati. Premere il pulsante Giallo per visualizzare informazioni dettagliate sull'evento evidenziato. É inoltre possibile utilizzato i tasti Rosso e Verde per visualizzare gli eventi del giorno precedente e del giorno successivo. Le funzioni saranno assegnate ai tasti colorati sul telecomando, ove disponibili. Attenersi alle istruzioni a video per le funzioni dei pulsanti.
Premere il tastingo Regina peraggiugnere un timer all'evento evidenziato nella guida. E possible definire il tipo di timer impostando l'opzione Tipo di
programma come Promemoria o Regina. Quando sono impostati altri parametri, evidenziate Aggiungi e premere OK. Il timer verrà aggiunto all'elenco programmi. è possibile accedere all'elenco programmi dal menu Registrazione in modalità Live TV.
La guida non può essere visualizzata se la sorgente di ingresso TV è bloccata dal menu Impostazioni>Canale>Parental control>Ingressi bloccati in modalità Live TV o nella schermata iniziale.
Collegamento a Internet
É possibile accedere a Internet tramite la TV collegandola a unsystema a banda larga. É necessario configurare le impostazioni di rete per godere di una varietà di contenuti in streaming e applicazioni Internet. Queste impostazioni possono essere configurate dai menu Impostazioni>Rete e Internet. É inoltre possi-bile evidenziate l'icona Connesso/Non connesso nella schermata principale e premere OK per accedere a questo menu. Per ulteriori informazioni,fare riferimento alla sezione Rete e Internet in Impostazioni.
Collegamento cablato
Collegare la TV al modem/runnertramite cavo Ethernet. C'è una porta LAN sulla parte posteriore della TV.
Lo stato della connessione nella sezione Ethernet nel menu Rete e Internet cambiera da Non connesso a Connesso.

- Connessione ISP a banda larga
- Cavo LAN (ethernet)
- Ingresso LAN sul lato posteriore della TV
É possible collegare la TV a una presa di rete a muro, a seconda della configurazione di rete. In quello caso, è possibile collegare il tevisore direttamente alla reteutilizzando un cavo Ethernet.

- Presa di rete a parete
- Ingresso LAN sul lato posteriore della TV
Collegamento wireless
É necessario un modem/rodger LAN wireless per collegare la TV a Internettramite una rete LAN wireless.
Selezionare l'opzione Wi-Fi nel menu Rete e Internet e premere OK per abilitare la connessione wireless. Verranno elencate le reti disponibili. Selezionarme una e premere OK per stabilire il collegamento. Per ulteriori informazioni, fare riferimento alla sezione Rete & Internet in Impostazioni.

1. Connessione ISP a banda larga
Una rete con SSD nascimento non può essere rilevata da altri dispositivi. Per connettersi a una rete con SSD nascimento, evidenziare l'opzione Aggiungi nuova rete nel menu Impostazioni>Rete e Internet nella schermata iniziale e premere OK. Aggiungere la rete inserendo il proprio nome manually servendosi della relativa opzione.
Alcune reti possono avere unsystema di autorizzazione che richiede un secondo accesso come tale in un ambiente di lavoro. In quello caso, dopo essersi collegati alla rete wireless desiderata, evidenziarile Notifiche situato in alto a destra della schermata principale e premere OK.Quindi,evidenziare la notifica Accedi alla rete Wi-Fi e premere OK.Inserire le proprie credenziali per accedere.
Per augmentare la larghezza di banda, è previsto un router N-wireless (IEEE 802.11a/b/g/n//ac) con bande 2,4 e 5 GHz simultanee. Ottimizzato per uno streaming video HD più fluido e più velocce, trasferimenti file e gioco HD.
Usa la connessione LAN per un trasferimento dati fra altri dispositivi, quali ad esempio computer.
La velocità di trasmissione varia a seconda della distance e del numero di ostruzioni tra i prodotti di trasmissione, la configurazione dei prodotti, le condizioni delle onde radio, il traffico di linea e i prodotti usati. La trasmissione può essere interrotta o disconnessa in base alle condizioni delle onde radio, DECT, Telefoni o altri dispositivi WLAN 11b. I valori standard della velocità di trasmissione sono i valori massimi teoretici per gli standard wireless. Non si tratta delle velocità effettive di trasmissione dei dati. La posizione in cui la trasmissione è migliorare varia a seconda dell'ambiente di utilizzo.
La funzione Wireless della TV supporta i modem 802.11 del tipo a,b,g, n & ac. Consigliamo di usare il protocollo di communicatesione IEEE 802.11n per evitare possibili problemi in fase di visualizzazione dei video.
Modificare il SSD del modem se sono presenti altri modem nelle circostanze con lo stesso SSD. In caso contrario, si potrebbero riscontrare problemi di connessione. Usare la connessione via cavo in caso di problemi con la connessione wireless.
Per riproduire i contenuti in streaming è necessaria una velocità di connessione stabile. Utilizzare la connessione Ethernet se la velocità della LAN wireless è instabile.
Multi Media Player
Nella schermata iniziale, scorrere fino alla riga App, selezionare Multi Media Player (MMP) e premere il pulsante OK per avviarlo.
Selezionale il tipo di media sullo schermo media player principale. Nella schermata successiva, è possibile premere il pulsante Menu per accederà a un elenco di opzioni di menu, nelle è evidenziate una cartella o un file multimediae. Utilizzato le opzioni di questo menu è possibile modificare il tipo di supporto, ordinare i file, modificare le dimensioni delle miniature e trasformare il teilevisore in una cornice digitale. Sarà inoltre possibile copiare, incollare ed eliminare i file multimediai utilizzato le relative opzioni di questo menu, se un dispositivo di archiviazione USB formatto FAT32 è collegato al teilevisore. Inoltre, è possibile cancellare lo stile di visualizzazione selezionando Normal Parser o Recursive Parser. In modalità Normal Parser i file saranno visualizzati con le cartelle, se disponibili. Così facendo verrà visualizzato solo il tipo di file multimediae nella cartella principale o nella cartella
selezionata. Se non ci sono file multimediali del tipo selezionato, la cartella sare considerata vuota. In modalità Recursive Parser la sorgente verrà cercata per tutti i file multimediali disponibili del tipo selezionato e i file trovati saranno elencati. Premere il pulsante Indietro/Precedente per chiudere quello menu.
Per attivare la funzione cornice foto selezionare Foto come tipo di supporto. Quindi premere il pulsante Menu, evidenziare Cornice Foto e premere OK. Se si selezione l'opzione Modalità una foto e si preme OK, l'imagine impostata in precedenza come imagine della cornice verrà visualizzata quando la funzione cornice è attivata. Se si selezione l'opzione dispositivo di memorizzazione USB, verrà visualizzato il primo file (in modalità Recursive Parser). Per impostare l'imagine della cornice premere il pulsante Menu nelle este visualizzato il file di foti di vostra scelta, evidenziare Imagine cornice foto e premere OK.
Durante la ricerca dei file video verrà visualizzata un'anteprima del video evidenziato in una piccola finestra sul lato sinistro dello schermo se lo stile di visualizzazione si imposta su Visuale lista. Premere il pulsante Blu per passare alla Visuale lista alla Visuale griglia. èanche possibile utilizzato i tasti
Programma + / - per saltare direttamente alla prima e all'ultima cartella o file se lo stile di visualizzazione è impostato su Vista griglia.
File video
Premere OK per riproduire il file video evidenziato.
Info: Visualizzare la barra delle informazioni. Premere due volte per visualizzare le informazioni estese e il file successivo.
Play/Pausa: Mettere in pausa/riprendere la riproduzione.
Indietro: Iniziare il riavolgimento. Premere consecutivamente per impostare la velocità di riavolgimento.
Avanti veloce: Avviare la riproduzione in avanzamento veloce. Premere consecutivamente per impostare la velocità di riproduzione in avanzamento veloce.
Stop: Arrestare la riproduzione e tornare alla schermata del media player.
Programma+: Passare al file successivo.
Programma - Passare al file precedente.
Indietro/Torna: Ritornare alla schermata del media player.
File musicali
Premere OK per riproduire il file musicae evidenziato.
Info: Visualizzare le informazioni estese e il file successivo.
Play/Pausa: Mettere in pausa/riprendere la riproduzione.
Indietro: Premere e tenere premuto per riavvolgere.
Avanti veloce: Premere e tenere premuto per l'avanzamento veloce.
Stop: Interrompere la riproduzione.
Programma +: Passare al file successivo.
Programma -: Passare al file precedente.
Indietro/Torna: Ritornare alla schermata del media player.
Se si preme il tasto Indietro/Torna perché interrorn Pere prima la riproduzione, la riproduzione continua quando si naviga nellettore multimediae. E possibileutilizzare i tasti dellettore multimediae per controllare la riproduzione. La riproduzione si interrompe se si esced dal media player o si passa dal tipo di media al video.
File di Foto
Premere OK per riproduire la foto evidenziata. Quando si preme il pulsante Play si avvia la presentazione delle foto e tutti i file di foto nella cartella corrente o nel dispositorio di memorizzazione, a seconda dello stile di visualizzazione, vengono visualizzati in ordine. Se l'opzione Ripeti è impostata su Nessuno verranno visualizzati solo i file tra quello evidenziato e l'ultimo elencato. La presentazione si interromperà durante la visualizzazione dell'ultimo file elencato.
Info: Visualizzare la barra delle informazioni. Premere due volte per visualizzare le informazioni estese.
Play/Pausa: Mette in pausa e riprende la presentazione.
Pulsante verde (Ruota/Durata): Ruotare l'imagine/ impostare l'intervalto tra le diapositive.
Tasto giallo (Zoom/Effetto): Zoomare l'immagine/ applicare vari effetti alla presentazione.
Programma+: Passare al file successivo.
Programma -: Passare al file precedente.
Indietro/Torna: Ritornare alla schermata del media player.
File di testo
Quando si preme il pulsante OK si avvia la presentazione delle foto e tutti i file di testo nella cartella corrente o nel dispositorio di memorizzazione, a seconda dello stile di visualizzazione, vengono visualizzati in ordine. Se l'opzione Ripeti è impostata su Nessuno verranno visualizzati solo i file tra quello evidenziato e l'ultimo elencato. La presentazione si interromperà durante la visualizzazione dell'ultimo file elencato.
Info: Visualizzare la barra delle informazioni. Premere due volte per visualizzare le informazioni estese.
Play/Pausa: Mette in pausa e riprende la presentazione.
Programma+: Passare al file successivo.
Programma -: Passare al file precedente.
Pulsanti direzionali (Giò o Destra / Su o Sinistra): Passare alla pagina successiva. /Passare alla pagina precedente.
Indietro/Torna: Arrestare la presentazione e tornare alla schermata del media player.
Opzioni menu
Premere il tasto Menu per visualizzare le opzioni disponibili durante la riproduzione o la visualizzazione dei file multimediai. Il contento di questo menu varia a seconda del tipo di file multimediae.
Pausa/Play: Mettere in pausa riprendere la coproduzione o la presentazione.
Ripeti: Impostare l'opzione di ripetizione. Evidenziare un'opzione e premere OK per modificare l'impostazione. Se si selezione l'opzione Ripeti uno, il file multimediae corrente verrà riproduotto o visualizzato ripetutamente. Se l'opzione Ripeti tutto è selezonata, tutti i file multimediai dello stesso tipo nella cartella corrente o nel dispositivo di memorizzazione, a seconda dallo stile di visualizzazione, verranno riproduotti o visualizzati ripetutamente.
Shuffle On/Off: Attivare o disattivare l'opzione shuffle. Premere il tasting OK per modificare l'impostazione.
Durata: Impostare l'intervalto tra le diapositive. Evidenziare un'opzione e premere OK per modificare l'impostazione. Éanche possibile premere il pulsante verde per l'impostazione. Questa opzione non sare disponibile se la presentazione è in pausa.
Ruota: Ruotare l'imagine. L'imagine verrà ruotata di 90 gradi in senso orario agli volta che si preme OK. Éanche possibile premere il pulsante Verde per ruotare. Questa opzione non sare disponibile se la presentazione non è in pausa.
Effetto: Applicare vari effetti alla presentazione. Evidenziare un'opzione e premere OK per modificare l'impostazione. èanche possibile premere il pulsante Giallo per l'impostazione. Questa opzione non sare disponibile se la presentazione è in pausa.
Zoom: Zoomare l'imagine attualmente visualizzata. Evidenziare un'opzione e premere OK per modificare l'impostazione. Éanche possibile premere il pulsante Giallo per ingrandire. Questa opzione non sare disponibile se la presentazione non è in pausa.
Carattere: Impostare l'opzione carattere. Dimensioni, stile e colore possono essere impostati in base alle proprie preferenze.
Mostra Info: Visualizzare le informazioni per esteso.
Imagine cornice Foto: Impostare l'immagine attualmente visualizzata come imagine della cornice Foto. Questa imagine verrà visualizzata se si selezione la modalità Una Foto alippo del dispositorio di memorizzazione collegato nelle situatta la funzione della cornice per Foto. Altrimenti tutti
i file verranno riprodotti come presentazione quando la funzione della cornice Foto è attivata.
Nascondi/mostra spezzo: Nascondere o restrare lo spezzo, se disponibile.
Opzioni testo: Visualizzare le opzioni dei testi, se disponibili.
Picture Off: Apriere il menu di accensione del teilevisore. Usare I'opzione Picture off per spegnere lo schermo. Premere un qualsiasi pulsante sul telecomando o sulla TV per riaccendere lo schermo.
Impostazioni immagine: Visualizzare il menu Impostazioni imagine.
Impostazioni suono: Visualizzare il menu Impostazioni suono.
Impostazioni audio: Impostare l'opzione della colonna sonora se ne sono disponibili più di una.
Ultimo memorizzato: Impostare su Time se si desidera riprendere la riproduzione dalla posizione in cui è stato fermato la prossima volta che si après lo stesso file video. Se impostato su Off la riproduzione partirà dall'inizio. Evidenziare un'opzione e premere OK per modificare l'impostazione.
Cerca: Saltare a uno specifico punto del file video. Utilizzato i pulsanti numerici e direzionali per insertire l'ora e premere OK.
Sottotitoli: Imposta la propria preferenza dei sottotitoli, se disponibile. Impostare su Off per disattivare i sottotitoli.
Codifica dei sottotitoli: Visualizza le opzioni delle codifiche dei sottotitoli, se disponibili.
Dalla connessione USB
IMPORTANT! Eseguire il backup dei file sul dispositivo USB prima di eseguire il collegamento alla TV. Si noti che il produttore non è in alcun modo responsable di eventuali danni o perdite di dati. Alcuni tipi di dispositivi USB (ad esempiolettori MP3) o dischi rigidi/stick di memoria USB potrebbero non essere compatibili con la TV. La TV supporta la formattazione di dischi NTFS e FAT32. I dispositivi formattati FAT32 con una capacità di archivazione superiore a 192TB non sono supportati. I dispositivi formattati NTFS con una capacità di archivazione superiore a 2TB non sono supportati.
É possibile visualizzare le Foto, i documenti di testo o riproduire i file musicali e i video installati sul dispositivo di archivazione USB collegato al tevisore. Collegare il dispositivo USB a uno degli ingressi USB del tevisore.
Nella schermata principale dellettore multimediae, selezionare il tipo di supporto desiderato. Nella schermata successiva, evidenziarile nomen di un file dall'elenco dei file multimediali disponibili e premere il pulsante OK. Attenersi alle istruzioni a video per ulteriori informazioni sulle other funzioni dei pulsanti disponibili.
Note: Attendere alcuni istanti prima di agli collegamento e scollegamento, dato che illettore potrebbe essere più in faselettura file. Questa operazione potrebbe causare danni fisici allettore USB e aldispositivo USB. Non estrarre il drive in fase di riproduzione di un file.
Da un dispositivo mobile tramite DMR
Assicurarsi che il dispositivo mobile si collegato alla stessa rete della TV. Sulla TV, scorrere fino alla riga App nella sezione Home, selezionare Multi Media Player (MMP) e premere il pulsante OK per avviarlo. Selezionare il tipo di media sulso schermo media player principale. Nella schermata successiva, premere il pulsante Blu perambiare il layout di visualizzazione dell'elenco. Quindi, premere il pulsante Nero. L'opzione DMR (Digital Media Renderer) apparirà tra le opzioni del tipo di supporto. Evidenziare DMR e premere il pulsante OK. La TV è pronta a ricevere il file multimediae inviato dal dispositorio mobile. Sul dispositorio mobile, aprire il file che si desidera condidere e toccare l'icona di condivizione o la relativa opzione dal menu opzioni del proprio dispositivo mobile. I dispositori disponibili verranno elencati Selezionare la propria TV dall'elenco. è possibile ottenerile il nome della TV dal menu Impostazioni>Preferenze dispositorio>Informazioni nella Home. Se lo si desidera, il nome del tevisore cui è essere modificatoanche selezionando uno dei nomi predefiniti oppure inserendo un nome personalizzato,utilizzando le opzioni del menu Nome dispositorio. Se la connessione è stata stabilita con successo, il file multimediae selezionato verrà riprodotto/visualizzato sulla TV.
Registrazione USB
Per registrar un programma, sare come prima casa necessario collegare un dispositivo di archivazione USB alla TV nelle queste è spenta. Successivement accendere la TV per attivare la funzione di registrazione.
Per registrarare programmi di lunga durata, come ad esempio film, consigliamo di usare un disco rigido USB.
I programmi registrati vengono salvati sul disposittivo di archivazione USB collegato. Se lo si desidera, è possibile memorizzare/copiare le registrazioni su un computer, ma questi file non saranno disponibili per la riproduzione su un computer. Sarà possibile riproduire le registrazioni solotramite la TV.
Il ritardo Lip Sync potrebbe verificarsi durante la differita. La registrazione radio non è supportata Nel caso in cui la velocità di scrittura del dispositivo di archivazione USB collegato non sia sufficiente, la funzione di registrazione potrebbe non essere disponibile.
Ecco perché consigliamo di usare i dischi rigidi USB per la registrazione di programmi HD.
Non scollegare l'USB/HDD contre la registrazione è in corso. Ciò potrebbe danneggiare il dispositivo USB/HDD collegato.
Alcuni pacchetti streaming potrebbero non essere registrati a causa di problemi di segnale; talvolta i video si potrebbero bloccare in fase di riproduzione. Qualora una registrazione parte dal timer quando il teilevideo è attivo, compare una finestra di dialogo. Se si evidenzia Si e si preme OK, il teilevideo verrà disattivato e partirà la registrazione.
Registrazione Istantanea
Premere il pulsante Record per avviare la registrazione immediata di un evento durante la visione di un programma. Premere il pulsante Stop per fermare e salvare laregistrazione istantanea.
Non sare possibile cambiare trasmissione durante la modalità registrazione.
Visione dei programmi Registrati
Selezionare Lista registrazioni dal menu Registrazioni in modalità Live TV e premere OK. Selezionare la voce registrati alla lista (se precedente registri). Premere il tasting OK per guardare.
Premere il pulsante Stop o Indietro/Precedente per arrestare la riproduzione.
Le registrazioni saranno binominate nel seguente fornato: Canale Nome_Data(Anno/Mese/Giorno)_Durata(Ora/Minuto/Secondo)._Nome programma
Registrazione timeshift
Perutilizzare la funzione di registrazione timeshift, I'opzione Modalità timeshift nel menu Regina> Modalità timeshift dovrebbe essere attivata prima.
In modalità timeshift, il programma viene in pausa e simultaneamente registrato nel dispositivo di archivazione USB collegato. Per attivare la modalità timeshift, premere il pulsante Pausa/Play in fase di visualizzazione di una trasmissione. Premere nuovamente Pausa/Play per riprendere il programmaMESSO in pausa dal punto in cui era stato interrotto. Premere il pulsante Stop per interrompere la registrazione timeshift e tornare alla trasmissione in diretta.
Quando esta funzioneiene utilizzata per la prima volta, quando si preme il pulsante Pausal/Play, viene visualizzata la procedura guidata di Impostazione disco. è possibile scegliere sua la modalità di impostazione Automatica e sua Manuale. In modalità manuale, se si preferisce, è possible formattare il proprio dispositivo di archivazione USB e specificare lo spazio di archivazione che sare utilizzato per la funzione timeshift. Quando l'impostazione è completenessi, viene visualizzato ilrisultato dell'impostazione del disco. Premere il tasto Exit.
La funzione timeshift non sare disponibile per le trasmissioni radio.
Formato disco
Quando si utilizes un nuovo dispositivo di archivazione USB, si consiglia di formattarlo prima utilizzando l'opzione Formato nel menu Regina>Informazioni dispositivo in modalità Live TV. Evidenziare il dispositivo collegato nella schermata Informazioni dispositivo e premere il pulsante direzionale destro o OK per visualizzare l'elenco delle opzioni disponibili. Quindi evidenziare Formato e premere OK per procedere. Verrà visualizzata una finestra di dialogo di conferma. Evidenziare Si e premere OK per avviare la formattazione.
IMPORTANTE: La formattazione del dispositivo di archivazione USB cancellerà TUTTI i dati su diesso e il suo file system sare convertito in FAT32. Nella maggior parte dei casi gli erre di funzionamento verranno risolti dopo una formattazione ma verranno persi TUTTI i dati.
Elenco programmi
É possibileaggiungere promemoria o registrar i timerutilizzando il menuElencoprogrammi. É possibile accedere all'Elenco programmi dal menu Registrazione in modalitàLive TV.Evidenziare Elenco programmi e premere OK.I timer impostati in precedenza verranno elencati,ove disponibili.
Premere il pulsante Regina peraggiungere un timer nelle sullo schermo viene visualizzato il menu Elenco programmi. è possibile definire il tipo di timer impostando l'opzione Tipo di programma come Promemoria o Regina. Quando sono impostati altri parametri, evidenziate Aggiungi e premere OK. Il timer verrà aggiunto all'elenco.
Se disponibili, èanche possibile modificare o eliminare i timer di quello elenco. Evidenziare il timer di propria scelta e premere OK. Le opzioni Modifica e Cancella appariranno nella parte inferiore dello schermo. Evidenziare l'opzione desiderata e premere OK. Dopo aver modificato un timer è possibile scegliere se sostituirlo oaggiungerlo come nuovo timer. Se si scegliè l'opzione Sostituisci, il timer verrà salvato con le nuove impostazioni. Se si scegliè l'opzione Aggiungi, il timer verrà aggiunto all'elenco come nuovo timer. Evidenziare Sostituisci o Aggiungi in base alle proprie preferenze e premere OK per procedere. Quando si sceglie di eliminare un timer, sullo schermo viene visualizzata una finestra di dialogo di conferma. Evidenziare Si e premere OK per eliminare il timer selezionato.
Se gli intervalli di tempo di due timer si sovrappongono, viene visualizzato un messaggio d'avviso. Non è possibile impostare più di un timer per lo stesso intervallo di tempo.
Premere il tasto ESCI per chiudere l'elenco degli orari.
CEC
Con la funzione CEC del teilevisore è possibile comandare un dispositivo collegato con il telecomando della TV. Questa funzione utilizes HDMI CEC (Consumer Electronics Control) per comunicare con i dispositivi collegati. I dispositivi devono supportare HDMI CEC e devono essere collegati con una connessione HDMI.
Perutilizzare la funzionalità CEC,la relativa opzione nel menu deve essere attivata.Per controllare, accendere o spegnere la funzione CEC,fare quanto segue:
- Accedere al menu Impostazioni>Preferenze dispositivo>Ingressi nella schermata iniziale o al menu Opzioni TV>Impostazioni>Preferenze dispositivo>Ingressi nella modalità Live TV.
- Scorrere verso il basso fino alla sezione Consumer Electronic Control (CEC). Chontrollare se l'opzione HDMI è attiva.
- Evidenziare l'opzione HDMI desiderata e premere OK per accenderla o spegnerla.
Assicurarsi che tutte le impostazioni CEC siano impostate correttamente sul dispositivo CEC collegato. La funzionalità CEC ha nomi diversi a seconda dellamarca. La funzione CEC potrebbe non funzionare con tutti i dispositivi. Se si collega un dispositivo con supporto HDMI CEC alla TV, la relativa sorgente di ingressso HDMI verrà rimominata con il nome del dispositivo collegato.
Perutilizzare il dispositivo CEC collegato, selezionare la relativa sorgente di ingressso HDMI dal menu Ingressi nella schermata iniziale. Oppure premere il tasto Sorgente (Source) se il tevisore è in modalità Live TV e selezionare la relativa sorgente di ingressso HDMI dall'elenco.Per terminare esta operazione e controllare nuovamente il tevisore tramite il telecomando, premere il pulsante Source, che sera ancorta attivo, sul telecomando e passare ad un'altra sorgente.
Il telecommando sare in grado di eseguire automaticamente il dispositivo una volta selezionata la sorgente HDMI collegata. Tuttavia, non tutti i tasti vengono inoltrati al dispositivo. Solo i dispositivi che supportano la funzione di controllo remoto CEC risponderanno al telecommando della TV.
La TV supportaanche la funzione ARC (Audio Return Channel).Questa funzione e un collegamento audio pensato per sostituire othercavi fra la TVe l'impianto audio (ricevitore A/V o impianto audio).Collegare ilsystema audio all'ingresso HDMI2 del teilevisore perabilitare la funzione ARC.
Per attivare la funzione ARC, l'opzione Altoparlanti dovrebbe essere impostata come Sistema audio
esterno. É possibile accedere a questa opzione delle Opzioni TV o dal menu Opzioni TV>Impostazioni>Preferenze dispositivo>Suono in modalità Live TV o dal menu Impostazioni>Preferenze dispositivo>Suono nella schermata iniziale. Quando la funzione ARC è attiva, la TV disattiva automaticamente l'audio delle altre uscite audio. Si sente l'audio solo dal dispositivo audio collegato I pulsanti di controllo del volume del telecommando saranno diretti al dispositivo audio collegato e sare possibile controllare il volume del dispositivo collegato con il telecommando della TV.
Note: ARC è supportato solo tramite l'ingresso HDMI2.
Google Cast
Con la technologia integrata di Google Cast è possibile lanciare il contento dal tuo dispositivo mobile direttamente sul teilevisore. Se il dispositivo mobile ha la funzione Google Cast, si può proietare lo schermodel del proprio dispositivo sulla TV in modalità wireless. Selezionare l'opzione Proietta schermo sul dispositivo Android. I dispositivi disponibili verranno riconosciuti edelencati. Selezionare il teilevisore dall'elenco e premere su di"This per iniziare la proiezione. è possibile ottenerile il nome della rete del teilevisore dal menu Impostazioni>Preferenze dispositivo>Informazioni nella Home. Il nome del dispositivo sare una domi quelli mostrati. è inoltre possibile modificare il nome del teilevisore. Evidenziare il Nome dispositivo e premere OK. Quindi evidenziate Cambia e premere nuovamente OK. è possibile selezionare uno dei nomi predefiniti o inseire un nome personalizzato.
Per proietare lo schermo del dispositivo sullo schermo della TV...
- Dal dispositorio Android, andare su 'Impostazioni' dal pannello di notificata o alla schermata iniziale.
- Premere su 'Connettivita del dispositivo'.
- Premete su "Proiezione facile" e attivate "Proiezione wireless". I dispositivi disponibili verranno elencati
- Selezionare il tevisore su cui si desidera proiettare
oppure
- Scorrere verso il basso il pannello di notificata
- Premete su 'Proiezione wireless'
- Selezionare il tevisore su cui si desidera proiettare
Se l'app mobile è abilitata alla proiezione, come YouTube, Dailymotion, Netflix, si più lanciare l'app sulla TV. Sull'applicatione mobile, perché l'icona Google Cast e premi su diessa. I dispositivi disponibili verranno riconosciuti ed elencati. Selezionare il teilevisore dall'élenco e premere su di"This per iniziare la proiezione.
Per proiettare un'app sullo schermo TV....
- Sullo smartphone o tablet, après un'app che supporta Google Cast
- Toccare l'icona Google Cast
- Selezionare il teileisore su cui si desidera proiettare
- L'application selezionata dovrebbe iniziare a funzionare sulla TV
Note:
Google Cast funzione con Android e iOS. Assicurarsi che il dispositivo mobile sia collegato alla stessa rete della TV.
Le opzioni del menu e i nomi per la funzione Google Cast sul dispositorio Android possono variate damarca amarca e possonoambiare nel tempo. Fare riferimento al manuale del dispositorio per le ultime informazioni sulla funzione Google Cast.
Sistema HBBTV
HbbTV (Hybrid Broadcast Broadband TV) è un nuovo standard industriale che combina in modo invisibile servizi TV consegnati tramite trasmissione con servizi consegnati tramite banda larga consentendo inoltre l'accesso a servizi internet per i consumatori che utilizzano TV collegate e set-top box. I servizi trasmessi tramite HbbTV comprende canali di trasmissione TV tradizionali, servizi di catch-up, video-on-demand, EPG, pubblicità interattiva, personalizzazioni, voti, giochi, social network e altre applicazioni multimediali. Le applicazioni HbbTV sono disponibili sui canali in cui sono segnalate dall'emittente. Le app HbbTV vengono generalmente lanciate premendo un tasto colorato sul telecomando. Generalmente un piccolo tasto rosso appeare sullo schermo per notificare all'utente che c'è un'app HbbTV su qu canale. Premere il pulsante indicato sullo schermo per lanciare l'applicazione.
Le app HbbTv si servono di tasti del telecomando per interagire con l'utente. Quando viene lanciata un'applicazione HbbTv, il controllo di alcuni tasti appartiene all'applicazione. La selezione dei canali numerici, ad esempio, potrebbe non funzionare su un'applicazione teilevideo, in cui i numero significano i numero di pagina.
HbbTv richiede che la piattaforma sia dotata della possibilità di eseguire streaming AV. Molte sono le applicazioni che forniscono VOD (video on demand) e servizi di TV catch-up. I pulsanti OK (avvio&pausa), Stop, Avanti veloc e Indietro sul telecomando sono essere utilizzati per interagire con i contenuti AV.
Note: É possibile attivare o disattivare questa funzione dal menu Impostazioni HBBTV>Opzioni TV>Opzioni avanzate in modalità Live TV.
Ricerca standby rapido
Se viene prima eseguita una ricerca automatica, la TV perché nuovi canali digitali o canali digitali mancanti agli mattina alle 05:00, nelle si trova in modalità di standby rapido.
E se l'opzione Aggiornamento automatico canale nel menu Impostazioni>Canali è abilitata, il tevisore si attiva entro 5 minuti dopo essere passato in modalità quick standby eorca i canali. Il LED di standby lampeggerà durante quello processo. Una volta che il LED di standby smette di lampeggiare, il processo di ricerca è completato. Tutti i nuovi canali trovati verranno aggiunti all'élenco dei canali. Se l'élenco dei canali viene aggiornato, si verrà informati sulle modifiche alla successiva accensione.
Aggiornamento software
La TV è in grado di trovare e aggiornare il firmware in automaticotramite Internet.
Perutilizzare al meglio il tevisore e usufruire degli ultimi miglioramenti, assicurarsi che il systema sia sempreaggiornato.
Aggiornamento software via Internet
Nella schermata iniziale, accedere al menu Impostazioni>Preferenze dispositivo>Informazioni per aggiornare la versione del sistema Android. Spostarsi sull'opzione di Aggiornamentoistema e premere OK. Verra visualizzato lo stato del sistema e l'ora in cui il disposativo è stato controllato per l'ultimo aggiornamento. L'opzione Cerca aggiornamenti sera evidenziate, premere OK se si desidera verificare la disponibilità di un aggiornamento.
Note: Non scollegare il cavo di alimentazione durante il processo di riavvio. Se la TV non si accende dopo l'aggiornamento, scollegarla, attendere due minuti, quando ricollegarla.
Guida alla risoluzione dei problemi e suggerimenti
La TV non si accende
- Accertarsi che il cavo di alimentazione sia collegato saldamente alla presa di corrente.
- Scollegare il cavo di alimentazione alla presa di corrente. Attendere un minuto e ricollegarlo.
- Premere il pulsante Standby/On sulla TV.
La TV non risponde al telecomando
- La TV richiede un po'di tempo per avviarsi.Durante\ questo periodo di tempo, il teilevisore non risponde\ al telecomando o ai comandi TV. Si tratta di un\ avvenimento normale.
- Controllare se il telecomando funzione con la telecamera del Telefono cellulare. Portare il Telefono in modalità fotocamera e punctare il telecomando versuso l'obiettivo della fotocamera. Se si preme un tasto qualsiasi del telecomando e si notatione che il LED a infrarossi lampeggiaattraverso la fotocamera, il telecomando funzione. Il teilevisore devese sere controllato.
Se non si notation il lampeggiamento, le batterie potrebbero essere esaurite. Sostituire le batterie. Se il telecomando non funziona ancora, potrebbe essere rotto e deve essere controllato.
Questo metod per controllare il telecomando non è possibile con telecomandi che sono accoppiati in modalità wireless con il tevisore.
Nessun canale
- Assicurarsi che tutti i cavi siano collegati correttamente e che sia selezionata la rete corretta.
- Assicurarsi che sia stato selezionato l'elenco dei canali corretto.
- Assicurarsi di aver inserto la frequenza di canale corretta qualora sua stata eseguita la sintonizzazione manuale.
Nessuna imagine/immagine distorta
- Assicurarsi che l'antenna sia collegata correttamente alla TV.
- Accertarsi che il cavo dell'antenna non sia danneggiata.
- Assicurarsi che il disposativo corretto sia selezionato come sorgente di ingresso.
- Assicurarsi che il dispositivo esterno o la sorgente sua collegato correttamente.
- Assicurarsi che le impostazioni dell'immagine siano corrette.
- Altoparlanti ad alto volume, dispositivi audio, luci al neon, edifici alte e altri oggetti di grande dimensioni possono influenzare la qualità della ricezione.
Se possibile, provare a migliorare la qualità della riscizione, cambiando la direzione dell'antenna o allontanando i dispositivi dal tevisore.
- Cambiare il formato dell'imagine, se l'imagine non si adatta allo schermo.
- Assicurarsi che il PC utilizzi la risoluzione e la frequenza di aggiornamento supportate.
Nessun audio/audio scadente
- Assicurarsi che le impostazioni dell'audio siano corrette.
- Assicurarsi che tutti i cavi siano correttamente installati.
- Assicurarsi che il volume non sia disattivato o impostato a zero, augmentare il volume per controllare.
- Assicurarsi che l'uscita audio del tevisore sia collegata all'ingresso audio dell'impianto audio esterno.
- L'audio viene emesso solo da un altoparlante. Controllare le impostazioni di bilanciamento dal menu Audio.
Sorgenti di ingresso - non è stato possibile effettuare la selezione
- Assicurarsi che il dispositivo sia collegato alla TV.
- Assicurarsi che tutti i cavi siano correttamente installati.
- Assicurarsi di selezionare la sorgente d'ingresso corretta del dispositivo collegato.
- Assicurarsi che la fonte di ingresso corretta non sia nascosta dal menu Ingressi.
Modalità tipica monitor, ingressso VGA
La tabella che segue illustra alcune delle modalità di visualizzazione tipiche del video. La TV potrebbe non supportare tutte le risoluzioni.
| Indice | Risoluzione Frenenza | |
| 1 640x480 60Hz | ||
| 2 640x480 72Hz | ||
| 3 640x480 75Hz | ||
| 4 800x600 56Hz | ||
| 5 800x600 60Hz | ||
| 6 800x600 72Hz | ||
| 7 800x600 75Hz | ||
| 8 1024x768 60Hz | ||
| 9 1024x768 70Hz | ||
| 10 1024x768 75Hz | ||
| 11 1152x864 75Hz | ||
| 12 1280x768 60Hz | ||
| 13 1280x768 75Hz | ||
| 14 1280x960 60Hz | ||
| 15 1280x960 75Hz | ||
| 16 1280x1024 60Hz | ||
| 17 1280x1024 75Hz | ||
| 18 1360x768 60Hz | ||
| 19 1366x768 60Hz | ||
| 20 1400x1050 59Hz | ||
| 21 1400x1050 60Hz | ||
| 22 1400x1050 75Hz | ||
| 23 1440x900 60Hz | ||
| 24 1440x900 75Hz | ||
| 25 1600x1200 60Hz | ||
| 26 1680x1050 59Hz | ||
| 27 1680x1050 60Hz | ||
| 28 1920x1080 60Hz | ||
Compatibilità segnale AV e HDMI
| Sorgente Segnali supportati | ||
| Composito / Retro AV | PAL | |
| SECAM | ||
| NTSC4.43 | ||
| NTSC3.58 | ||
| Componente / YPbPr | 480i, 480p 60Hz | |
| 576i, 576p 50Hz | ||
| 720p 50Hz,60Hz | ||
| 1080i 50Hz,60Hz | ||
| HDMI | 480i 60Hz | |
| 480p 60Hz | ||
| 576i, 576p 50Hz | ||
| 720p 50Hz,60Hz | ||
| 1080i 50Hz,60Hz | ||
| 1080p | 24Hz, 25Hz, 30Hz, 50Hz, 60Hz | |
In certi casi i segnali della TV LCD posso non essere ricevuti e visualizzati correttamente. Il problema cui essere causato dall'incompatibilità con gli standard dei dispositivi di ingresso (lettore DVD, decoder digitale, ecc). Se si dovessero verificare tali problemi, contattare il rivenditore e il produttore dei dispositivi.
Format di file supportati per la modalità USB
Video
| Codec Video | Risoluzione Bit Rate | Profili Contenitore | ||
| VP9 1920x1080@60fps 40Mbps Profilo0,2 | MKV (.mkv)WebM (.webm) | |||
| HEVC/H.265 1920x1080@60fps 50Mbps | Principale/Principale10 Profilo, Livello superiore@Livello 4,1 | MP4 (.mp4, .mov), 3GPP (.3gpp, .3gp), MPEG transport stream (.ts, .trp, .tp), MKV (.mkv), WebM (.webm), FLV (.flv), AVI (.avi), H265 (.265) | ||
| MPEG1/2 1920x1080@60fps 80Mbps MP@HL | MPEG stream programma (.DAT, .VOB, .MPG, .MPEG), MPEG transport stream (.ts, .trp, .tp), MP4 (.mp4, .mov), 3GPP (.3gpp, .3gp), AVI (.avi), MKV (.mkv), WebM (.webm), ASF (.asf), WMV (.wmv), OGM (.ogm) | |||
| MPEG4 1920x1080@60fps 40Mbps | Profilo sempliceProfilo sempliceavanzato@Livello 5GMC non supportato | MP4 (.mp4, .mov), 3GPP (.3gpp, .3gp), AVI (.avi), MKV (.mkv), WebM (.webm), ASF (.asf), WMV (.wmv),FLV (.flv), OGM (.ogm), MPEG transport stream (.ts, .trp, .tp), MPEG stream programma (.DAT, .VOB, .MPG, .MPEG) | ||
| Sorenson H.263 1920x1080@60fps 40Mbps | FLV (.flv)AVI (.avi) | |||
| H.263 1920x1080@60fps 40Mbps | FLV (.flv), MP4 (.mp4, .mov), 3GPP (.3gpp, .3gp), AVI (.avi), ASF (.asf), WMV (.wmv) | |||
| H.264 1920X1080@30fps 62.5Mbps | principal e altoprofilo fino al livello4,1 | FLV (.flv), MP4 (.mp4, .mov), 3GPP (.3gpp, .3gp), MPEG transport stream (.ts, .trp, .tp), ASF (.asf), WMV (.wmv),AVI (.avi), MKV (.mkv), WebM (.webm), OGM (.ogm), MPEG stream programma (.DAT, .VOB, .MPG, .MPEG), H264 (.264) | ||
| AVS 1920x1080@60fps 40Mbps | Jizhun profilo @Livello 6,0 | Flusso di trasporto MPEG (.ts, .trp, .tp),AVS (.avs) | ||
| AVS+ 1920x1080@60fps 50Mbps | Broadcastingprofilo@Livello6.0.1.08.60 | Flusso di trasporto MPEG (.ts, .trp, .tp),AVS (.avs) | ||
| WMV3 1920x1080@60fps 40Mbps | ASF (.asf), AVI (.avi), MKV (.mkv),WebM (.webm), WMV (.wmv), 3GPP (.3gpp, .3gp), MP4 (.mp4, .mov), OGM (.ogm) | |||
| VC1 | 1920x1080@60fps 40Mbps | Profilo avanzato@Livello 3Profilo sempliceProfilo principale | MPEG transport stream (.ts, .trp, .tp),ASF (.asf), WMV (.wmv), AVI (.avi), MKV (.mkv), WebM (.webm), 3GPP (.3gpp, .3gp), MP4 (.mp4, .mov), VC1(.vc1) | |
| Codec Video Risoluzione Bit Rate Profili Contenitore | ||||
| Motion JPEG 640x4 | 80@30fps 10Mbps | AVI (.avi), 3GPP (.3gpp, .3gp), MP4 (.mp4, .mov), MKV (.mkv), WebM (.webm), FLV (.flv), OGM (.ogm) | ||
| VP8 1920x1080@60fps 20Mbps | MKV (.mkv), WebM (.webm), FLV (.flv), 3GPP (.3gpp, .3gp), MP4 (.mp4, .mov), AVI (.avi), OGM (.ogm) | |||
| RV30/RV40 1920x1080@60fps 40Mbps | RM (.rm, .rmvb), MKV (.mkv), WebM (.webm) | |||
Audio
| Codec Audio | Frequenza di campionamento | Canale Bit Rate Contenitore Nota | ||
| MPEG1/2 Layer1 | 16KHz ~ 48KHz Fino a 2 | 32Kbps~448Kbps | MP3 (.mp3), AVI (.avi), ASF (.asf), WMV (.wmv), MKV (.mkv, .mka), WebM (.webm), 3GPP (.3gpp, .3gp),MP4 (.mp4, .mov, m4a), MPEG transport stream (.ts, .trp, .tp), MPEG stream programm (DAT, .VOB, .MPG, .MPEG), FLV (.flv), WAV (.wav), OGM (.ogm) | |
| MPEG1/2 Layer2 | 16KHz ~ 48KHz Fino a 2 | 8Kbps ~384Kbps | MP3 (.mp3), AVI (.avi), ASF (.asf), WMV (.wmv), MKV (.mkv, .mka), WebM (.webm), 3GPP (.3gpp, .3gp),MP4 (.mp4, .mov, m4a), MPEG transport stream (.ts, .trp, .tp), MPEG stream programm (DAT, .VOB, .MPG, .MPEG), FL V (.flv), WAV (.wav), OGM (.ogm) | |
| MPEG1/2/2.5 Layer3 | 8KHz ~ 48KHz Fino a 2 | 8Kbps ~320Kbps | MP3 (.mp3), AVI (.avi), ASF (.asf), WMV (.wmv), MKV (.mkv, .mka), WebM (.webm), 3GPP (.3gpp, .3gp), MP4 (.mp4, .mov, m4a), MPEG transport stream (.ts, .trp, .tp), MPEG stream programm (DAT, .VOB, .MPG, .MPEG), FLV (.flv), WAV (.wav), OGM (.ogm) | |
| AC3/DD) | 32KHz, 44.1KHz, 48KHz | Fino a 5,1 | 32Kbps ~640Kbps | AC3 (.ac3), AVI (.avi), MKV (.mkv, .mka), WebM (.webm), 3GPP (.3gpp, .3gp), MP4 (.mp4, .mov, m4a), MPEG transport stream (.ts, .trp, .tp), MPEG stream programm (DAT, .VOB, .MPG, .MPEG), WMV (.wmv), ASF (.asf), OGM (.ogm) |
| EAC3/DDP) | 32KHz, 44.1KHz, 48KHz | Fino a 5,1 | 32Kbps ~6Mbps | EAC3 (.ec3), AVI (.avi), MKV (.mkv, .mka), WebM (.webm), 3GPP (.3gpp, .3gp), MP4 (.mp4, .mov, m4a), MPEG transport stream (.ts, .trp, .tp), MPEG stream programm (DAT, .VOB, .MPG, .MPEG), WMV (.wmv), ASF (.asf), OGM (.ogm) |
| Codec Audio | Frequenza di campionamento | Canale | Bit Rate Conten | itore Nota | |
| AAC-LC, HEAAC 8KHz ~ 48KHz Fino a 5,1 | AAC-LC: 12kbps~ 576kbps V1 6kbps ~ 288kbps V2: 3kbps ~ 144kbps | AAC (.aac), AVI (.avi), MKV (.mkv, .mka), WebM (.webm), 3GPP (.3gp, .3gp), MP4 (.mp4, .mov, m4a), MPEG transport stream (.ts, .trp, .tp), MPEG stream programma (.DAT, .VOB, .MPG, .MPEG), FLV (.flv), RM (.rm, .rmvb, .ra), WAV (.wav), WMV (.wmv), ASF (.asf), OGM (.ogm) | |||
| .WMA 8KHz ~ 48KHz Fino a 2 | 128bps ~ 320Kbps | ASF (.asf), WMV (.wma, .wmv), AVI (.avi), MKV (.mkv, .mka), WebM (.webm), 3GPP (.3gpp, .3gp), MP4 (.mp4, .mov) | WMA 7, WMA 8, WMA 9 Standard | ||
| WMA 10 Pro M0 | 8KHz ~ 48KHz Fino a 2 < 192kbps | ASF (.asf), WMV (.wma, .wmv), AVI (.avi), 3GPP (.3gpp, .3gp), MP4 (.mp4, .mov) | |||
| WMA 10 Pro M1 | 8KHz ~ 48KHz Fino a 5,1 < 384kbps | ASF (.asf), WMV (.wma, .wmv), AVI (.avi), 3GPP (.3gpp, .3gp), MP4 (.mp4, .mov) | |||
| WMA 10 Pro M2 | 8KHz ~ 96KHz Fino a 5,1 < 768kbps | ASF (.asf), WMV (.wma, .wmv), AVI (.avi), 3GPP (.3gpp, .3gp), MP4 (.mp4, .mov) | |||
| VORBIS Fino a 48KHz Fino a 2 | MKV (.mkv, .mka), WebM (.webm), 3GPP (.3gpp, .3gp), MP4 (.mp4, .mov, m4a), Ogg (.ogg), WMV (.wmv), ASF (.asf), AVI (.avi) | Supporta solo la decodifica stereo | |||
| DTS Fino a 48KHz | Fino a 5,1 | < 1.5Mbps (Pure DTS core) | MPEG transport stream (.ts, .trp, .tp), MPEG stream programmna (.DAT, .VOB, .MPG, .MPEG), WAV (.wav), MKV (.mkv, .mka), WebM (.webm), 3GPP (.3gpp, .3gp), MP4 (.mp4, .mov, m4a), AVI (.avi), OGM (.ogm), DTS (.dts) | ||
| DTS LBR | 12KHz, 22KHz, 24KHz, 44.1KHz, 48KHz | Fino a 5,1 | Fino a 2Mbps | MP4 (.mp4, .mov), 3GPP (.3gpp, .3gp), MPEG transport stream (.ts, .trp, .tp) | |
| DTS XLL Fino a 96KHz Fino a 6 | MPEG transport stream (.ts, .trp, .tp, .mts, .m2ts), MP4 (.mp4, .mov), 3GPP (.3gpp, .3gp) | ||||
| LPCM 8KHz ~ 48KHz | 8KHz ~ 48KHz Fino a 2 | 64Kbps ~ 1.5Mbps | WAV (.wav), AVI (.avi), MKV (.mkv, .mka), WebM (.webm), 3GPP (.3gpp, .3gp), MP4 (.mp4, .mov, m4a), MPEG transport stream (.ts, .trp, .tp), MPEG stream programmna (.DAT, .VOB, .MPG, .MPEG), WMV (.wmv), ASF (.asf), FLV (.fiv), OGM (.ogm) | ||
| IMA-ADPCM MS-ADPCM | 8KHz ~ 48KHz Fino a 2 | 2Kbps~ 384Kbps | WAV (.wav), AVI (.avi), MKV (.mkv, .mka), WebM (.webm), OGM (.ogm) | ||
| G711 A/mu-law 8KHz | 1 | 64Kbps | WAV (.wav), AVI (.avi), MKV (.mkv, .mka), WebM (.webm), FLV (.fiv) | ||
| Codec Audio | Frequenza di campionamento | Canale Bit Rate Contenitore Nota | |||
| LBR (cook) | 8KHz11.025KHz,22,05KHz,44,1KHz | Fino a 5,1 | 6Kbps ~128Kbps | RM (.rm, .rmvb, .ra) | |
| FLAC 8KHz~96KHz | Fino a 7,1 < 1,6Mbps | MKV (.mkv, .mka), WebM (.webm), FLAC (.flac) | |||
| OPUS 8KHz ~ 48KHz | Fino a 6 | 6Kbps ~510Kbps | MKV (.mkv, .mka)WebM (.webm) | ||
| AMR-NB 8KHz 1 | 4,75 ~12,2Kbps | 3GPP (.3gpp, .3gp)MP4 (.mp4, .mov, m4a) | |||
| AMR-WB 16KHz 1 | 6,6 ~23,85Kbps | 3GPP (.3gpp, .3gp), MP4 (.mp4, .mov, m4a) | |||
Imagine
Sottotitoli
| Immagine Foto | Risoluzione(larghezza x altezza) | |
| JPEG | Base-line 15360x8640 | |
| Progressive 1024x768 | ||
| PNG 9600x6400 | ||
| BMP 9600x6400 | ||
| GIF | 6400x4800 | |
| WebP | 3840x2160 | |
| HEIF | 4000x3000 |
Interno
| Estensione file | Contenitore | Codec sottotitolo |
| ts, trp, tp | TS | DVB Sottotitoli Teletesto CC(EIA608) PGS |
| mp4 | MP4 | Vobsub PGS TX3G |
| mkv | MKV | ASS SSA SRT VobSub PGS |
Esterna
| Estensione file Parser | sottotitoli Consigli | |
| .srt SubRip | ||
| .ssa/.ass | SubStation Alpha Advanced SubStation Alpha | |
| .smi SAMI | ||
| .sub | MicroDVD SubIdx (VobSub) | |
| .txt TMPlayer |
Risoluzioni DVI supportate
In fase di collegamento dei dispositivi ai connettori della TV usingo il cavo convertitore DVI (cavo da DVI a HDMI - non fornito in dotazione), rimandiamo alle seguenti informazioni sulla risoluzione.
| 56Hz 60Hz 70Hz 72Hz 75Hz | ||||||
| 640x480 | X | X | ||||
| 800x600 | xxxx | |||||
| 1024x768 | xxxx | |||||
| 1280x768 | X | X | ||||
| 1280x960 | X | |||||
| 1360x768 | X | |||||
| 1366x768 | X | |||||
| 1280x1024 | xxxx | |||||
| 1400x1050 | X | |||||
| 1600x900 | X | |||||
Specifiche
| Trasmissione TV | PAL BG//DK/ SECAM BG/DK |
| Canali riceventi | VHF (BAND I/III) - UHF (BAND U) - HYPERBAND |
| Ricezione digitale | TV digitale terrestre-cavo pienamente integrata (DVB-T-C) (conforme DVB-T2) |
| Numero dei canali pre- impostati | 2 200 |
| Indicatore di canale OSD | |
| Ingresso antenna RF 75 | Ohm (non bilanciato) |
| Tensione Operativa 220- | 240V CA 50Hz. |
| Audio German+Nicam Stereo | |
| Potenza Uscita Audio (WRMS.) (10% THD) | 2 x 6 |
| Consumo energetico (W) | 65W |
| Consumo energetico collegamento in rete standby (W) | < 2 |
| TV Dimensioni PxLxA (con piedistallo) (mm) | 191 x 732 x 480 |
| TV Dimensioni PxLxA (senza piedistallo) (mm) | 51/78 x 732 x 435 |
| Display 32" | |
| Temperatura di funzionamento e umidità | 0°C fino a 40°C, 85% umidità |
Specifiche tecniche del trasmettitore LAN Wireless
| Gamme di frequenza | Potenza massima in uscita |
| 2400 - 2483,5 MHz (Canale 1-Canale 13) | < 100 mW |
| 5150 - 5250 MHz (Canale 36 - Canale 48) | < 200 mW |
| 5250 - 5350 MHz (Canale 52 - Canale 64) | < 200 mW |
| 5470 - 5725 MHz (Canale 100 - Canale 140) | < 200 mW |
Limitazioni paesi
Questo dispositivo è stato pensato unicamente per uso domestico e in ufficio in tutti i paesi UE (e in altri paesi, a seconda della direttiva pertinente UE) sulla limitazione accetto per i paesi di seguito indicati.
| Paese Limitazione | |
| Bulgaria | Autorizzazione richiesta per uso all'esterno e servizio pubblico |
| Italia | Se usata all'esterno, è richiesta un'auto-rizzazione generica |
| Grecia | Uso all'interno, solo per banda da 5470 MHz a 5725 MHz |
| Lussemburgo | Autorizzazione generale richiesta per la fornitura della rete e del servizio (non per spectrum) |
| Norvegia | La trasmissione radio è proibita per l'area geografica entro un raggio di 20 km dal centro di Ny-Ålesund |
| Federazione Russia | Unicamente uso in spazi chiusi |
| Israele | Banda 5 GHz solo per la gamma 5180 MHz-5320 MHz |
I requisiti di qualsiasi paese potrebbero variare in qualsiasi momento. Consigliamo all'utente di verificare con le autorità locali lo stato attuale delle normative nazionali per le LAN 5 GHz.
Licenze
I termini HDMI e HDMI High-Definition Multimedia Interface e il logo HDMI sono marchi o marchi registrati di HDMI Licensing Administrator, Inc.

Prodotto su licenza dei Laboratori Dolby. Dolby, Dolby Audio e il symbolo dopbia-D sono marchi registrati di Dolby Laboratories. Licensing Corporation.
Dolby Audio
Google, Android, Android TV, Chromecast, Google Play e YouTube sono marchi registrati Google LLC.
Questo prodotto contiene una Tecnologia soggetta a determinati diritti di proprietà intellettuale di Microsoft. L'uso o la distribuzione di questa TECHNOIA al di fuori del prodotto sono operazioni vietate sulla licenza/ licenze adeguata/adeguate da Microsoft.
I proprietari dei contenuti si servono della Tecnologia di accesso ai contenuti Microsoft PlayReadyTM per proteggere la propria proprietà intellettuale, compresi i contenuti coperti da copyright. Questo dispositivo si serve della Tecnologia PlayReady per accedere ai contenuti protetti da PlayReady e/o ai contenuti protetti da WMDRM. Qualora il dispositivo non applicchi in modo adeguato le limitazioni sull'uso dei contenuti, i proprietari dei contenuti potrebbero richiedere a Microsoft di revocare l'abilità del dispositivo di usfuriere dei contenuti protetti da PlayReady. La revoca non dovrebbe interessare i contenuti non protetti o i contenuti protetti da altre Tecnologie di accesso ai contenuti. I proprietari dei contenuti potrebbero richiedere di aggiornare PlayReady per poter accedere ai loro contenuti. Qualora venga rifiutato un aggiornamento, non sare possibile accedere al contentuto che richiede l'aggiornamento.
Il logo "CI Plus" è un marchio di CI Plus LLP.
Questo prodotto è protetto dalle norme sulla propietà intellettuale di Microsoft Corporation. L'uso o la distribuzione di tale Tecnologia sono vietati salvo esplicità approvazione di Microsoft o di una sussidiaria autorizzata.
Informazioni sullo smaltimento
[Unione Europea]
Questo significolo sul prodotto o sulla confezione significica che l'apparecchio elettrico o elettronico alla fine del ciclo di esercizio non deve essere smaltito insieme ai rifiuti domestici. è obblatorio riportarlo ad un punto di raccolta per provvedere al suo riciclaggio o recupero di parti e materie prime, nonché allo smaltimento corretto, conformmente alle leggi nazionali in vigore e alla Direttiva 2012/19/UE e 2013/56/UE.
Assicurando che questo prodotta venga smaltito correttamente, si contribuisce a prevenir potenziali consequences negative per l'ambiente e la salute umana che potrebbero"Invece essere causate da una gestione errata dello smaltimento di quello prodotto.
Per maggiori informazioni sul riciclaggio di questo prodotto contattare gli uffici locali, il servizio smaltimenti rifiuti domestici o il negozio presso cui è stato acquistato.
A seconda delle leggi nazionali in vigore nel caso di smaltimento scorretto possono essere applicabili varie sanzioni.
[Utenti business]
Per smaltire quello prodotto, contattare il fornitore e controllare i termini e le condizioni del contratto d'acquisto.
[Paesi non UE]
Questi symboli sono validi esclusivamente nell'Unione Europea.
Contattare le autorità di zona per maggiori informazioni sullo smaltimento e sul ricicchio.
Il prodotto e l'imballaggio dovrebbero essere portate al punto di raccolta di zona per essere riciclate.
Alcuni punti di raccolta accettano i prodotti in modo gratuite.
Nota: La dicitura Pb posta al di sotto del symbolo delle batterie indica che queste contengono piombo.
![NIKKEI NH3225ANDROID - [Paesi non UE] - 1](/content/2026/04/589112/images/8eb18890d43f59f3991c0dd07aaf18c3de6213690f3980495ae2bc699a1b3855.jpg)
- Prodotti
- Batteria
ManualeFacile