OY122S - Éclairage IFM - Notice d'utilisation et mode d'emploi gratuit
Retrouvez gratuitement la notice de l'appareil OY122S IFM au format PDF.
| Caractéristique | Détails |
|---|---|
| Type de produit | Éclairage |
| Technologie d'éclairage | LED |
| Puissance | Non spécifiée |
| Température de couleur | Non spécifiée |
| Flux lumineux | Non spécifié |
| Dimensions | Non spécifiées |
| Alimentation | Non spécifiée |
| Utilisation recommandée | Intérieur/extérieur selon spécifications |
| Maintenance | Nettoyage régulier, vérification des connexions |
| Sécurité | Conforme aux normes de sécurité électrique |
| Garantie | Non spécifiée |
| Informations supplémentaires | Consulter le manuel d'utilisation pour les détails d'installation |
FOIRE AUX QUESTIONS - OY122S IFM
Questions des utilisateurs sur OY122S IFM
0 question sur cet appareil. Repondez a celles que vous connaissez ou posez la votre.
Poser une nouvelle question sur cet appareil
Téléchargez la notice de votre Éclairage au format PDF gratuitement ! Retrouvez votre notice OY122S - IFM et reprennez votre appareil électronique en main. Sur cette page sont publiés tous les documents nécessaires à l'utilisation de votre appareil OY122S de la marque IFM.
MODE D'EMPLOI OY122S IFM
Notice d'utilisation originale Déteceurs optoélectroniques de sécurité (barrage immatériel de sécurité / barrière de sécurité multifaisceaux) Largeur de protection (portée) 0...20 m OY
704698 / 03 12 / 2018

Contenu
1 Remarque préliminaire 4
1.1 Symboles utilisés 4 1.2 Avertissements utilisés 4
2 Consignes de sécurité 5 2.1 Exigences relatives à la sécurité de l'application 6
3 Furniture 7 4 Fonctionnement et caractéristiques 7 5 Fonction 8
6 Montage 9
6.1 Notices de montage 9 6.2 Calcul de la distance de sécurité minimale 10 6.3 Montage vertical des barrages immatériels de sécurité / barrières de sécurité multifaisceaux 12
6.3.1 Barrages immateriels de sécurité résolutions 20 mm, 30 mm et 40 mm 6.3.2 Barrages immateriels de sécurité résolutions 50 mm et 90 mm, barrières de sécurité à 2, 3 et 4 faisceaux 13
6.4 Montage horizontal des barrières immatérielles de sécurité 14 6.5 Fixation et orientation optique 14
6.5.1 Orientation optique 15
6.6 Distance des surfaces réfléchissantes 16 6.7 Systèmes multiples 18 6.8 Utilisation de miroirs de renvoi 19
7 Raccordement électrique 20
7.1 Schéma de branchement émetteur 20 7.2 Schéma de branchement récepteur 21
8 Modes de fonctionnement 22
8.1 Fonctionnement automatique 23 8.2 Fonctionnement surveilé 24 8.3 Raccordement des contacteurs externes 25 8.4 Fonction test 25
8.4.1 Fonction test interne 25
9 Elements de service et d'indication 26 9.1 Etats LED 26 10 Fonctionnement 27 10.1 Etat de commutation des sorties 27 10.1.1 Etat de sécurité 27 10.1.2 Etat commuté 27 10.1.3 Classification de l'interface 27 10.2 Test du fonctionnement des barrages immateriels de sécurité 28 11 Schema d'encombrement 29 11.1 Barrage immateriel de sécurité 29 11.2 Barrière de sécurité multifaisceaux 30 12Données techniques 31 12.1 Barrages immateriels de sécurité / barrières de sécurité multifaisceaux...31 12.1.1 Barrages immateriels de sécurité résolution 20 mm 32 12.1.2 Barrages immateriels de sécurité résolution 30 mm 32 12.1.3 Barrages immateriels de sécurité résolution 40 mm 32 12.1.4 Barrages immateriels de sécurité résolution 50 mm 33 12.1.5 Barrages immateriels de sécurité résolution 90 mm 33 12.1.6 Barrières de sécurité à 2, 3 ou 4 faisceaux 34 13 Correction de defaults 34 13.1 Diagnostic de defaults émetteur 34 13.2 Diagnostic de defaults récepteur 35 14 Maintenance, réparation et élimination 36 15 Termes et abréviations 37 16Annexe. 38 16.1 Lieste de verification 38
1 Remarque préliminaire
La notice fait partie de l'appareil. Elle s'adresse à des personnes compétentes selon les directives CEM, basse tension et les règlements de sécurité.
Elle fournit des informations sur l'utilisation correcte du produit.
Lire la notice avant l'utilisation afin de vous familiariser avec les conditions environnantes, l'installation et le fonctionnement.
Respecter les consignes de sécurité.
1.1 Symboles utilisés
Action à faire
Retour d'information, résultat → Référence
O LED éteinte LED allumée LED clignote

Remarque importante
Le non-respect peut aboutir à des dysfonctionnements ou perturbations.
Information
Remarque supplémentaire.

Protection de zone pour la main

Protection de zone pour le corps ou des parties du corps

Protection de surface pour le corps ou des parties du corps

Protection de zone pour le corps

Avertissement
Avertissement de dommages corporels graves.
Danger de mort ou de graves blessures irréversibles.
2 Consignes de sécurité
- Respecter les consignes de la notice d'utilisation.
- Toute responsabilité est déclinée en cas de non-respect des consignes ou des normes, en particulier en cas de mauvaises manipulations et/ou modifications de l'appareil.
- L'appareil ne doit être monté, raccordé et mis en service que par un technicien dûment formé aux consignes de sécurité.
- Respecter les normes techniques pertinentes correspondantes à l'application.
- Respecter les exigences de la norme EN 60204, EN 999 et ISO 13855 lors de l'installation.
- Prendre contact avec le fabricant en cas de dysfonctionnement de l'appareil. Des interventions sur l'appareil ne sont pas permises.
- Mettre l'appareil hors tension en externe avant de commencer à travailler.
- Mettre hors tension les circuits de charge relais alimentés séparément.
- Effectuer un test complet de bon fonctionnement après installation du système.
- Utiliser l'appareil uniquement sous les conditions d'environnement spécifiques (→ 12 Données techniques). Contacter le fabricant en cas de conditions d'environnement particulières.
- En cas de questions sur la sécurité - si nécessaire - contacter les autorités responsables de votre pays.

Avertissement
Danger de mort ou de graves blessures irréversibles.
Respecter toutes les remarques de cette notice concernant l'installation et l'utilisation. Utiliser les détecteurs optoélectroniques de sécurité seulement sous les conditions spécifiées et conformément aux prescriptions.
2.1 Exigences relatives à la sécurité de l'application
Les exigences de sécurité de chaque application doivent correspondre aux exigences spécifiées dans cette notice.
Respecter les obligations suivantes :
Respecter les conditions d'utilisation spécifiées ( 12 Données techniques). L'utilisation des détecteurs optoélectroniques de sécurité près de fluides actifs chimiquement et biologiquement ainsi que de rayonnements ionisants n'est pas admissible.
Pour des applications dans l'agroalimentaire, veuillez contacter votre filiale pour vérifier la compatibilité des détecteurs optoélectroniques de sécurité avec les produits chimiques utilisés. - Choisir la fonction normalement fermée pour tous les circuits de sécurité externes raccordés au système. Si les détecteurs optoélectroniques de sécurité passent à l'état défini comme état de sécurité du à un defaulted interne, des mesures doivent être prises pour garantir l'état de sécurité si l'installation continue son fonctionnement.
Remplacer les appareils endommagés.
La fonction de protection des détecteurs optoelectroniques de sécurité n'est garantie qu'avec les conditions suivantes:
- La commande de la machine peut être contrôlée électriquement et le mouvement machine dangereux peut être arrêté immédiatement et à chaque moment du cycle de travail.
- Il n'y a aucune danger, pour les opérateurs, déjection de matériel ou de parties de machine.
- Le point dangereux n'est accessible que par la zone protégée.
- 2 détecteurs optoélectroniques de sécurité (1 émetteur et 1 récepteur)
- Boîtiers jusqu'à 1263 mm de longueur totale : 4 équères de fixation, 4 adaptateurs de montage avec filetage M5 et les écrous correspondants
- Boîtiers supérieurs à 1263 mm de longueur totale : 6 équères de fixation, 6 adaptateurs de montage avec filetage M5 et les écrous correspondants
- 1 notice d'utilisation détecteurs optoélectroniques de sécurité, numéro d'article 704698.
Si l'un des composants mentionnés manque ou est endommagé, contacter l'une des filiales ifm.
4 Fonctionnement et caractéristiques
Émetteur (T) Récepteur (R) P = zone protégée; I = largeur de protection (portée); H = hauteur de protection
Les barrages immatériels de sécurité / barrières de sécurité multifaisceaux OY sont des dispositifs protecteurs optoélectroniques multifaisceaux selon IEC 61496 et sont constitués d'un émetteur et d'un récepteur.

5 Fonction
La zone protégée (P) est générée entre l'émetteur et le récepteur et est définie par l'hauteur de protection (H) et la largeur de protection (portée) (I).
L'hauteur de protection est l'hauteur protégée par le barrage immatériel de sécurité / la barrière de sécurité multifaisceaux. Elle dépend du boîtier ( 12 Données techniques).
Si les barrages immatériels de sécurité / barrières de sécurité multifaisceaux sont installés horizontalement, cette valeur indique la profondeur de la zone protégée.
La largeur de protection (portée) est la distance maximale qui peut exister entre l'émetteur et le récepteur (→ 12 Données techniques).
Lorsque la zone protégée est libre, les deux sorties (OSSD) du récepteur sont actives.
Si un objet (O) avec un diamètre supérieur ou égal à la résolution (d) entre dans la zone protégée, les sorties sont désactivées.
La résolution (d) (capacité de détection) du barrage immatériel de sécurité / de la barrière de sécurité multifaisceaux dépend du diamètre de la lentille (B) et de la distance entre les lentilles (C) et reste constante dans toutes les conditions de l'application.


Pour qu'un objet (O) soit détecté de manière sûre dans la zone protégée, la dimension de l'objet (O) doit au minimum être aussi grande que la résolution (d).
6.1 Notices de montage
Avant le montage des détecteurs optoélectroniques de sécurité, les conditions suivantes sont à garantir:
- La classification de l'équipement de protection électrosensible (ESPE) doit correspondre à l'évaluation des risques de la machine à surveiller.
- Le système de sécurité ne sert qu'à garantir une fonction de sécurité et n'est pas nécessaire pour le fonctionnement d'une machine.
- Il doit être possible d’arrêter immédiatement le mouvement dangereux de la machine. Pour cela, le temps d’arrêt de la machine doit être déterminé.
- L'objet à détecter doit être supérieur ou égal à la résolution du détecteur optoélectronique de sécurité.

Monter les détecteurs de sécurité optoélectroniques de manière à ce que la zone dangereuse ne puisse être approchée que par la zone protégée. Selon l'application, d'autres dispositifs protecteurs peuvent être nécessaires.
Les conditions environnantes du lieu de montage ne doivent pas affecter la fonction des détecteurs optoélectroniques de sécurité. À noter particulièrement :
- L'émetteur et le récepteur ne doivent pas être affectés par des sources lumineuses intensives (lampe spot, lumière du soleil etc.).
- La température ambiante doit être dans la gamme indiquée ( 12 Données techniques).
- Un brumisage des lentilles dû à de grandes variations de température peut affecter le fonctionnement des détecteurs optoelectroniques de sécurité. Prendre des mesures appropriées pour éviter ce phénomène.
- Certaines conditions environnantes peuvent influencer la fonction des détecteurs optoélectroniques de sécurité. Pour les lieux de montage où il y a la possibilité de brouillard, pluie, fumée ou poussière, il est recommandé de prendre des mesures appropriées.
- Il faut respecter les directives EN 999 ou ISO 13855.

Pour le montage correct des détecteurs de sécurité optoélectroniques, prendre en compte les illustrations suivantes.






6.2 Calcul de la distance de sécurité minimale
Il faut respecter une distance de sécurité minimale entre le détecteur optoelectronique de sécurité et le point de danger. Cette distance doit garantir que ce point dangereux ne puisse être atteint qu'après l'arrêt complet de l'état dangereux de la machine.

Monter le détecteur de sécurité optoelectronique à une distance supérieure ou égale à la distance minimale de sécurité (S), pour que la zone dangereuse (A) ne puisse être approchée qu'après l'arrêt total du mouvement dangereux de la machine. Selon la norme européenne EN 999:2008, la formule suivante doit être utilisée pour le calcul de la distance de sécurité minimale (S):
S = distance de sécurité minimale
H = hauteur de protection
C = distance supplémentaire
| S | distance de sécurité minimale mm | |
| K | vitesse d'approche d'un object vers la zone dangereuse mm/s | |
| t1 | Temps de réponse total du système de protection, du déclenchement à la désactivation | s |
| t2 | Temps de réponse total de la machine, du signal stop à la désactivation ou au passage à l'état défini comme sûr | s |
| C | distance supplémentaire mm | |
| d | résolution (capacité de détention) mm |

Le non-respect de la distance de sécurité minimale peut aboutir à une limitation ou à la perte de la fonction de sécurité.
Exemple d'application :

A = zone dangereuse
S = distance de sécurité minimale
6.3.1 Barrages immatériels de sécurité résolutions 20 mm, 30 mm et 40 mm

Ces boîtiers sont dédiés à la protection de zone pour les mains (protection des mains).

Ils ne doivent pas être utilisés pour la protection des doigts!
La distance de sécurité minimale (S) est déterminée à l'aide de la formule suivante :
$$ S = 2 0 0 0 \left(t _ {1} + t _ {2}\right) + 8 (d - 1 4) $$
Cette formule s'applique aux distances de sécurité minimales (S) entre 100 et 500 mm. Si le calcul indique que S est supérieur à 500 mm, la distance peut être réduite à une valeur minimale de 500 mm en utilisant la formule suivante:
$$ S = 1 6 0 0 \left(t _ {1} + t _ {2}\right) + 8 (d - 1 4) $$

A = zone dangereuse
S = distance de sécurité minimale
H = hauteur
G = niveau référence
S'il est possible - en raison d'une configuration spéciale de la machine - d'accéder à la zone dangereuse par le haut, le faisceau le plus haut du barrageage immatériel de sécurité doit se couvrir sur une hauteur (H) (mesurée à partir du niveau de référence (G)) dont la valeur doit être déterminée selon les spécifications dans ISO 13855.
6.3.2 Barrages immatériels de sécurité résolutions 50 mm et 90 mm, barrières de sécurité à 2, 3 et 4 faisceaux


Ces boîtiers sont dédiés à la protection de zone pour le corps ou des parties du corps.

Ils ne doivent pas être utilisés pour la protection des doigts ou des mains!
La distance de sécurité minimale (S) est déterminée à l'aide de la formule suivante :
$$ S = 1 6 0 0 \left(t _ {1} + t _ {2}\right) + 8 5 0 $$
La hauteur (H1) du faisceau le plus haut mesurée par rapport au niveau de référence (G) ne doit pas être inférieure à 900 mm tandis que la hauteur (H2) du faisceau le plus bas ne doit pas dépasser 300 mm (ISO 13855).

A = zone dangereuse
Hx = hauteur
S = distance de sécurité minimale
G = niveau de référence
6.4 Montage horizontal des barrages immatériels de sécurité

Ces boîtiers sont dédiés à la protection de surface pour le corps ou des parties du corps.
Lors du montage s'assurer que, la distance entre le début de la zone dangereuse (A), et le faisceau du barrage immatériel de sécurité le plus éloigné de (A), est supérieure ou égale à la distance de sécurité maximale (S). Elle est calculée comme suit :
$$ S = 1 6 0 0 \left(t _ {1} + t _ {2}\right) + 1 2 0 0 - 0. 4 H $$
ou H est la hauteur de la zone protégée par rapport au niveau de référence (G) de la machine;
$$ H = 1 5 (d - 5 0) $$
Dans ce cas : H < 1 m (selon ISO 13855).

A = zone dangereuse
S = distance de sécurité minimale
H = hauteur
G = niveau de référence
6.5 Fixation et orientation optique

Une orientation correcte de l'émetteur et du récepteur est décisive pour le fonctionnement correct des détecteurs de sécurité optoélectroniques.



Monter l'émetteur et le récepteur à l'aide des accessoires de montage fournis de sorte qu'ils se trouvent exactement face-à-face. Orienter l'émetteur et le récepteur de sorte qu'ils se trouvent en parallèle à la même hauteur et que les connecteurs soient orientés dans la même direction.

S'il faut s'attendre à des vibrations dans votre application, il est recommandé d'utiliser des amortisseurs de vibrations (disponibles comme accessoires).

Des équerres réglables peuvent être utilisées pour une orientation optique facile (disponibles comme accessoires).
6.5.1 Orientation optique
T = émetteur; R = récepteur


Les affichages LED du récepteur aident à orienter correctement les détecteurs optoélectroniques de sécurité.
| Signification | RéCEPTeur LED en 2 couleurs rouge verte jaune bleue | LED en 2 couleurs bleue | ||
| Le récepteur ne detecte aucun faisceau lumineux | ● | ○ | ○ | ○ |
| Le récepteur detecte quelques faisceaux lumineux | ✕ | ○ | ○ | ● |
| Le récepteur detecte tous les faisceaux lumineux à signal faible | ○ | ● | ○ | ● |
| Le récepteur detecte tous les faisceaux lumineux | ○ | ● | ○ | ○ |
Orienter l'émetteur de sorte que la LED verte du récepteur soit allumée. Visser l'émetteur et le récepteur.
6.6 Distance des surfaces réfléchissantes

Des surfaces réfléchissantes proches des détecteurs de sécurité optoélectroniques peuvent éliminer la fonction de sécurité du système.
La distance minimale (D) dépend de la largeur de protection (l) en tenant compte de l'angle de projection et de réception.

Il faut respecter la distance minimale (D) entre les surfaces réfléchissantes et la protection (P). En cas de non-respect, l'objet à détecter ne peut pas être détecté. En cas d'utilisation incorrecte du produit, la sécurité et l'intégrité de personnes et d'installations ne peuvent pas être garanties.

Émetteur (T) Récepteur (R) D = distance minimale; I = largeur de protection (portée); P = zone protégée
Après le montage, vérifier par une interruption intentionnelle de la zone protégée (P) si des surfaces refléchissantes affectent le fonctionnement des détecteurs optoelectroniques de sécurité.
Distance de sécurité minimale des surfaces refléchissantes D = distance minimale en [mm] ; I = largeur de protection (portée) [m]
6.7 Systèmes multiples

L'utilisation de plusieurs barrages immatériels de sécurité / barrières de sécurité multifaisceaux peut aboutir à des defaults de fonctionnement et éliminer la fonction de protection.
Monter les barrages immatériels de sécurité / barrières de sécurité multifaisceaux de sorte que le faisceau émis de l'émetteur d'un système ne peut être détecté que par le récepteur correspondant.
Les règles de montage importantes suivantes sont à respecter pour éviter une influence mutuelle de plusieurs systèmes :
Arrangement a arrangement b
R1 T1 T2 R2 T1 R1



Arrangements possibles :
A: Position des deux émetteurs l'un près l'autre B: Position de l'émetteur 1 et du récepteur 2 l'un au-dessus de l'autre C: Combinaison en forme "L"

R2 T2
T = émetteur; R = récepteur
6.8 Utilisation de miroirs de renvoi
Un ou plusieurs miroirs de renvoi (disponible comme accessoire) peuvent être utilisés pour la protection et la surveillance des zones dangereuses accessibles de plusieurs côtés. À l'aide de miroirs de renvoi, le faisceau émis par l'émetteur peut être dirigé vers plusieurs côtés d'accès.
Afin d'obtenir un angle de réflexion de 90°C, orienter les miroirs avec un angle d'inclinaison de 45°C.
L'image suivante montre une application ou une sécurisation d'accès en forme U est réalisée à l'aide de deux miroirs de renvoi.
Récepteur (R) Émetteur (T) A = zone dangereuse M = miroir de renvoi S = distance de sécurité minimale Dx = longueur du côté
Fixer le miroir de renvoi de sorte que la distance de sécurité minimale (S) est respectée de chaque côté de la zone dangereuse. Lors du montage, s'assurer que la surface du miroir est bien plane et qu'il n'y a pas de vibrations qui affectent le dispositif de sécurité. - La portée résulte de la somme des longueurs de toutes les côtés (D1 + D2 + D3) de l'accès à la zone protégée. La portée maximale des détecteurs optoelectroniques de sécurité est réduite de 15% pour chaque miroir. - Ne pas utiliser plus de trois miroirs de renvoi.
7 Raccordement électrique
- Mettre l'installation hors tension. Le cas échéant, mettre également hors tension les circuits de charge relais alimentés séparément.

La tension nominale est 24 V DC. Cette tension peut se situer entre 19,2 V et 28,8 V.

En cas d'un unique défaut, la tension d'alimentation ne doit pas dépasser la valeur maximale de 28,8 V DC. Pour cette raison, une séparation sûre de l'alimentation en courant et du transformateur est nécessaire.

Afin de garantir une fiabilité fonctionnelle, il faut s'assurer que la capacité de la sortie est de 2000 F / A min. si une alimentation avec pont de diodes est utilisée.
Raccorder les appareils selon les tableaux suivants :
7.1 Schéma de branchement émetteur
| Layoutbroche | Broche | Nom Type Descriptif | |
| 2 15 3 4 | 1 L+ (24 V DC) | Tension d'alimentation | |
| 2 Range 0 Configuration largeur de protection | |||
| 3 L- (0 V DC) Tension d'inféstation | |||
| 4 Range 1 Configuration largeur de protection | |||
| 5 FE | ctionnelle | ||
Informations sur les connecteurs disponibles sur notre site web à :
www.ifm.com → Nos produits → Accessoires
La largeur de protection (portée) à utiliser est configurée via range 0 et range 1.
Configuration largeur de protection (portée)
| Range 0 | Range 1 | Descriptif |
| 24 V 0 V | Sélection petite | portée (0...10 m) |
| 0 V 24 V | Sélection grande | portée (3...20 m) |
| 0 V | 0 V | Emetteur en fonction test (→8.4 Fonction test) |
| 24 V | 24 V | Aucune fonction, erreur de configuration |

Pour un fonctionnement correct des barrages immatériels de sécurité / barrières de sécurité multifaisceaux, les broches 2 et 4 de l'émetteur doivent être raccordées selon les indications dans le tableau ci-dessus.
7.2 Schéma de branchement récepteur
| Layoutbroche | Broche | Nom Type Descriptif | ||
| 2 1 83 4 5 6 | 1 OSSD1 Sortie Sortie de sécurité statique 1 | |||
| 2 24 V DC - Tension d'alimentation 24 V DC | ||||
| 3 OSSD2 Sortie Sortie de sécurité statique 2 | ||||
| 4 | K1_K2 / Restart | Entrée | Contact de surveillance du relais externe | |
| 5 SEL_A Entrée Mode de fonctionnement Barragesimmateriels de sécurité / barrièresde sécurité multifaisceaux | ||||
| 6 SEL_B Entrée | ||||
| 7 | 0 V DC | -Tension d'alimentation 0 V DC | ||
| 8 | FE | -Terre | fonctionnelle | |
Informations sur les connecteurs disponibles sur notre site web à :
www.ifm.com → Nos produits → Accessoires

Remarque : Installer les câbles des détecteurs de sécurité
optoélectroniques séparément des sources de parasites comme par ex. puissance.
Raccorder l'émetteur et le récepteur à la terre fonctionnelle.
8 Modes de fonctionnement
Les différents modes de fonctionnement des barrages immatériels de sécurité / barrières de sécurité multifaisceaux type OY peuvent être réglés via les raccordements sur le connecteur à 8 pôles du récepteur.
| Modes de fonctionnement Raccordement | |||
| Broche 4 Broche 5 Broche 6 | |||
| A Automatique K1_K2 / Restart | Raccordement à : L+ (24 V DC) | SEL_A Raccordement à : L+ (24 V DC) | SEL_B Raccordement à : L- (0 V DC) |
| B Automatique avec surveillance K1_K2 | K1_K2 / Restart | SEL_A Raccordement à : L+ (24 V DC) | SEL_B Raccordement à : L- (0 V DC) |
| Raccordement à : L+ (24 V DC) (via des contacts normalement fermés de K1_K2) | |||
| C Manuel K1_K2 / Restart | Raccordement à : L+ (24 V DC) (via bouton de démarrage) | SEL_A Raccordement à : L- (0 V DC) | SEL_B Raccordement à : L+ (24 V DC) |
| D Manuel avec surveillance K1_K2 | K1_K2 / Restart | SEL_A Raccordement à : L+ (24 V DC) (via bouton de démarrage et contacts normalement fermés de K1_K2) | SEL_B Raccordement à : L+ (24 V DC) |
1: K1 2: K2 3: Redémarrer
8.1 Fonctionnement automatique
Si les barrages immatériels de sécurité / barrières de sécurité multifaisceaux sont utilisés en mode automatique, un démarrage surveillé n'est pas possible.
Les barrages immatériels de sécurité / barrières de sécurité multifaisceaux rentrent en fonctionnement automatiquement quand la zone protégée est libre, les sorties (OSSD) sont validées.

Vérifier si cela est conforme avec l'évaluation des risques de votre installation.
En mode automatique, les sorties OSSD1 et OSSD2 suivent l'état des barrages immatériels de sécurité / barrières de sécurité multifaisceaux :
| Zone protégée libre Sorties = actives état logique "1" |
| Zone protégée interrompue Sorties = désactivées état logique "2" |
8.2 Fonctionnement surveillé
Le fonctionnement en mode surveillé (Start/Restart Interlock activé) est toujours nécessaire si un passage dans la zone dangereuse doit être surveillé (des personnes peuvent être présentes dans la zone dangereuse après passage de la zone protégée sans être détectées).
Le bouton démarrage/redémarrage doit se couvrir en dehors de la zone dangereuse. Il doit être monté de façon que la zone dangereuse et l'accès soient clairement visibles. Il ne doit pas être possible d'activer le bouton démarrage / redémarrage à l'intérieur de la zone dangereuse.

En mode manuel, les barrages immatériels de sécurité / barrières de sécurité multifaisceaux répondent à la fonction comme "trip device" selon IEC 61496. Le non-respect de cette norme peut aboutir à une mise en danger de personnes.
Les sorties de sécurité OSSD1 et OSSD2 sont activées quand la zone protégée est libre et la commande restart est actionnée via un bouton de démarrage ou via une impulsion correspondante sur l'entrée K1_K2/Restart broche 4.
Si les barrages immatériels de sécurité / barrières de sécurité multifaisceaux sont désactivés par une personne ou un objet, la commande restart (24 V sur la broche 4) doit être actionnée pour le redémarrage. Durée de l'impulsion >100 ms.
8.3 Raccordement des contacteurs externes
En mode de fonctionnement automatique et surveillé, des contacteurs externes peuvent être associés. Pour cela, les contacteurs doivent être raccordés en série entre la tension d'alimentation et la broche 4 du récepteur ( 8 Modes de fonctionnement / tableau, fig. B).
En cas de fonctionnement surveillé, raccorder en série un bouton de démarrage en plus ( 8 Modes de fonctionnement / tableau, fig. D).
8.4 Fonction test
La fonction test permet la vérification des détecteurs optoélectroniques de sécurité, par exemple à l'aide d'un système de contrôle du processus ou d'un module de commande ( 7.1 Tableau Configuration largeur de protection).
L'impulsion test interrompt l'émission de lumière de l'émetteur et les sorties ont un signal à 0 ( 10.1 Etat de commutations des sorties).

Le temps minimal de la commande test est 4 ms.

8.4.1 Fonction test interne
Les barrières immatérielles de sécurité / barrières de sécurité multifaisceaux type 4 réalisent des tests internes en permanence. Les défauts sont détectés pendant le temps de réponse du modèle correspondant, provoquant des désactivations (temps de réponse 12 Données techniques).
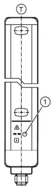
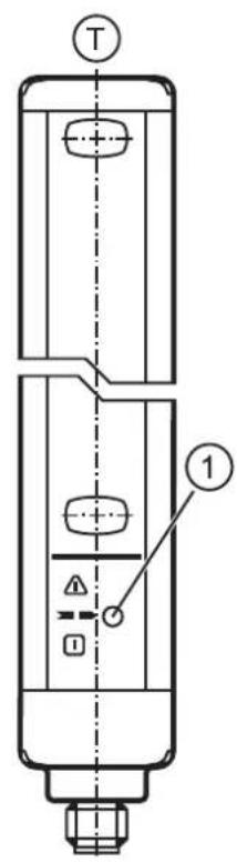
9 Éléments de service et d'indication
Émetteur Récepteur 1: LED 3 couleurs (rouge/verte/orange) 2: LED 2 couleurs (jaune/bleue) 3: LED 2 couleurs (rouge/verte)
9.1 États LED
La LED bleue est allumée avec signal faible ( 6.5.1 Orientation optique).
| Signification | Emetteur Récepteur LED LED LED rouge verte orange | rouge verte jaune | bleue | ||||
| Mise sous tension du système, Test d'entrée | ● | ○ | ○ | ● | ○ | ● | ○ |
| Erreur (→13 Correction du défaut) | × | ○ | ○ | × | ○ | ○ | ○ |
| Condition de test | ○ | ○ | ● | ○ | ○ | ○ | ○ |
| Condition générale de fonctionnement normale | ○ | ● | ○ | ○ | ● *) | ○ | ○ |
| Zone protégée interrompue, Sorties désactivées | ○ | ● | ○ | ● | ○ | ○ | ○ |
| Zone protégée libre, Sorties désactivées, Attend le redémarrage | ○ | ● | ○ | ○ | ○ | ● | ○ |
| Zone protégée libre, Sorties activées | ○ | ● | ○ | ○ | ● | ○ | ○ |
La LED verte clignote 2 fois quand le système est mis en tension, si l'appareil est configuré en grande portée.
10.1 État de commutation des sorties
Les barrages immatériels de sécurité / barrières de sécurité multifaisceaux ont deux sorties (OSSD) sur le récepteur, leurs niveaux de sortie dépendent de l'état de la zone protégée.
Tous les courts-circuits entre les sorties ou entre une sortie et l'alimentation en courant (24 V DC ou 0 V DC) sont détectés comme un défaut par les barrages immatériels de sécurité / barrières de sécurité multifaisceaux.
| Sortie Etats | TOR Signification | |||
| OSSD1 1 | Condition Zone protégée libre. | |||
| OSSD2 1 | ||||
| OSSD1 1 0 | 0 | Condition Zone protégée interrompue ou défaut constaté. | ||
| OSSD2 0 1 | 0 | |||
10.1.1 État de sécurité
L'état de sécurité est l'état désactivé (état sans courant : état logique "0") sur au moins une des sorties (OSSD).
Si une des sorties est désactivée, le bloc logique de sécurité aval doit mener le système complet dans l'état défini de sécurité.
10.1.2 État commuté
En état commuté, le récepteur fournit une tension de 24 V DC (état logique "1") aux deux sorties.
Données de sortie
Les données de sortie suivent les données de sortie selon IEC 61496 :
| Etat logique "1" 24 V DC Max | 400 mA | |
| Etat logique "0" ≤ 1,5 V DC | < 0,2 mA |
Classification de l'interface
L'interface des appareils correspond au type d'interface C classe 3 selon la prise de position ZVEI CB 241 Ed. 2.0
Clé d'identification
| Type d'interface | Type d'interface approupié | ||||
| Source C3 Récepteur C1 | C2 | C3 | |||
10.2 Test du fonctionnement des barrages immatériels de sécurité

Avant de commencer à travailler, vérifier le fonctionnement correct des barrages immatériels de sécurité.
Pour le test de fonctionnement, utiliser un échantillon conforme à la résolution du barrageage immatériel de sécurité.
Informations sur les barres de contrôle disponibles sur :
www.ifm.com → Nos produits → Accessoires.

Faire entrer l'échantillon dans la zone protégée et le bouger doucement de haut en bas. D'abord au centre et ensuite près de l'émetteur et du récepteur.
S'assurer que la LED rouge du récepteur est allumée en continu durant tout le mouvement dans la zone protégée.

Respecter les remarques sur l'entretien des barrages immatériels de sécurité / barrières de sécurité multifaisceaux 14 Maintenance, réparation et élimination

Remarques sur la mise en service 17.1 Liste de vérification.
11.1 Barrage immatériel de sécurité








T: Émetteur 1: LED 3 couleurs (rouge/verte/orange) R: Récepteur 2: LED 2 couleurs (jaune/bleue) L: Longueur totale* 3: LED 2 couleurs (rouge/verte)
11.2 Barrière de sécurité multifaisceaux








T: Émetteur 1: LED 3 couleurs (rouge/verte/orange) R: Récepteur 2: LED 2 couleurs (jaune/bleue) L: Longueur totale* 3: LED 2 couleurs (rouge/verte)
- Longueurs disponibles → 12 Données techniques
12.1 Barrages immatériels de sécurité / barrières de sécurité multifaisceaux
| Conforme aux exigences :Type 4 CEI 61496-1, SIL 3 CEI 61508, SILcl 3 CEI 62061,ISO 13849-1 : 2015 catégorie 4 PL e | |
| Technologie de sortie DC / PNP | |
| Tension d'alimentation 24 DC (19,2...28,8) | |
| ConsommationEmetteur [mA] 42Récepteur [mA] 83 | |
| Sorties (OSSD) 2 x PNP | |
| Courant max. par sortie [mA] 400 (24 V) | |
| Charge capacitive maximale CL_max [μF] 0,82 | |
| Retard à la disponibilité [s] < 2 | |
| Durée d'utilisation \( T_M \) (Mission Time) [h] 175200 | |
| CEM | CEI 61496-1 |
| Vibration | CEI 61496-1 |
| Choc | CEI 61496-1 |
| Température ambiente \( \left\lbrack {{}^{ \circ }\mathrm{C}}\right\rbrack \) | -10...55 |
| Humidité relative de l'air max. [%] | 95 |
| Lieu d'application | Classe C selon EN 60654-1,Lieu protégé contre les intempérières |
| Protection | IP 65 / IP 67 / III |
| Matière du boîtier Aluminium / PC | |
| Type de lumière | Infrarouge 950 nm |
| Affichage | LED jaune, LED verte, LED rouge, LEDbleue, LED orange |
| RaccordementEmetteurRécepteur | M12M12 |
| Longueur max. du câble de raccordement [m] | 100*) |
*) pour une section transversale de 0,34mm²
12.1.1 Barrages immatériels de sécurité résolution 20 mm
| OY221S | OY222S | OY223S | OY224S | OY225S | OY226S | OY227S | OY228S | OY229S | OY230S | |
| Longueur totale L [mm] 213 363 51 | 8 663 8 | 13 963 | 1113 | 263 14 | 13 15 | 63 | ||||
| Hauteur de protection [mm] 160 310 | 460 61 | 0 760 | 910 10 | 60 121 | 0 1360 | 1510 | ||||
| Temps de réponse [ms] | 4 | 5,5 | 7,5 | 9 | 11 | 13 | 14,5 | 16,5 | 18 | 20 |
| Fiabilité relative à la technologie de la sécurité PFHD [1/h] | 1,0-08 | 1,3-08 | 1,5-08 | 1,8-08 | 2,0-08 | 2,3-08 | 2,5-08 | 2,7-08 | 3,0-08 | 3,2-08 |
| Durée de l'impulsion de test ti [μs] | 80 | 80 | 80 | 80 | 80 | 80 | 80 | 80 | 80 | 80 |
| Intervalle de l'impulsion de test T [ms] | 3,9 | 5,7 | 7,5 | 9,3 | 11.1 | 12,9 | 14,7 | 16,5 | 18,3 | 20.1 |
| Rapport ti/ T [%] | 2,1 1,4 | 1,1 0,9 | 0,7 0,5 | 0,6 0,5 | 0,5 0,4 | 0,4 |
12.1.2 Barrages immatériels de sécurité résolution 30 mm
| OY241S | OY242S | OY243S | OY244S | OY245S | OY246S | OY247S | OY248S | OY249S | OY250S | |
| Longueur totale L [mm] 213 363 51 | 3 663 | 8 13 963 | 1113 | 263 | 14 13 15 | 63 | ||||
| Hauteur de protection [mm] 160 310 | 460 | 61 760 | 9 10 10 | 60 | 121 | 0 1360 | 1510 | |||
| Temps de réponse [ms] | 3 | 4 | 5 | 6 | 6,5 | 7,5 | 8,5 | 9,5 | 10 | 11 |
| Fiabilité relative à la technologie de la sécurité \( PFH_{D} \) [1/h] | \( 9,2^{-{09}} \) | \( 1,0^{-{08}} \) | \( 1,2^{-{08}} \) | \( 1,3^{-{08}} \) | \( 1,4^{-{08}} \) | \( 1,5^{-{08}} \) | \( 1,7^{-{08}} \) | \( 1,8^{-{08}} \) | \( 1,9^{-{08}} \) | \( 2,0^{-{08}} \) |
| Durée de l'impulsion de test \( t_i \) [μs] | 80 | 80 | 80 | 80 | 80 | 80 | 80 | 80 | 80 | 80 |
| Intervalle de l'impulsion de test T [ms] | 3,0 4 | 0 4,8 | 5,8 6,6 | 7,6 8,4 | 9,4 10 | 2 11 | 2 | |||
| Rapport \( t_i/T \)[%] | 2,7 2 | 0 1,7 | 1,4 1,2 | 1,1 1,0 | 0,9 0,8 | 0,7 |
12.1.3 Barrages immatériels de sécurité résolution 40 mm
| OY261S | OY262S | OY263S | OY264S | OY265S | OY266S | OY267S | OY268S | OY269S | OY270S | |
| Longueur totale L [mm] 213 363 51 | 3 663 | 8 13 963 | 1113 | 1 263 | 14 13 15 | 63 | ||||
| Hauteur de protection [mm] 160 310 | 460 | 6 0 760 | 9 10 10 | 60 | 121 | 0 1360 | 1510 | |||
| Temps de réponse [ms] 3 3,5 4 4,5 | 5 | 6 6,5 7 | 7,5 | 8 | ||||||
| Fiabilité relative à la technologie de la sécurité \( PFH_{D} \) [1/h] | \( 8,9^{-{09}} \) | \( 9,9^{-{09}} \) | \( 1,1^{-{08}} \) | \( 1,2^{-{08}} \) | \( 1,2^{-{08}} \) | \( 1,3^{-{08}} \) | \( 1,4^{-{08}} \) | \( 1,5^{-{08}} \) | \( 1,6^{-{08}} \) | \( 1,7^{-{08}} \) |
| Durée de l'impulsion de test \( t_i \) [μs] | 80 | 80 | 80 | 80 | 80 | 80 | 80 | 80 | 80 | 80 |
| Intervalle de l'impulsion de test T [ms] | 2,8 | 3,4 | 4,0 | 4,6 | 5,2 | 5,8 | 6,4 | 7,0 | 7,6 | 8,2 |
| Rapport \( t_i/T \)[%] | 2,9 | 2,4 | 2,0 | 1,7 | 1,5 | 1,4 | 1,3 | 1,1 | 1,0 |
12.1.4 Barrages immatériels de sécurité résolution 50 mm
| OY282S | OY283S | OY284S | OY285S | OY286S | OY287S | OY288S | OY289S | OY290S | |
| Longueur totale L [mm] 363 513 663 | 813 963 | 1113 | 1263 | 1413 | 1563 | ||||
| Hauteur de protection [mm] 310 460 | 610 760 | 910 | 060 | 1210 | 1360 | 1510 | |||
| Temps de réponse [ms] 3 3,5 4 4,5 | 5 5,5 6 | 6,5 7 | |||||||
| Fiabilité relative à la technologie de la sécurité PFHd [1/h] | 9,2-09 | 9,9-09 | 1,1-08 | 1,1-08 | 1,2-08 | 1,3-08 | 1,3-08 | 1,4-08 | 1,5-08 |
| Durée de l'impulsion de test ti [μs] | 80 80 | 80 80 | 80 80 | 80 80 | 80 80 | ||||
| Intervalle de l'impulsion de test T [ms] | 3,0 | 3,5 | 4,0 | 4,5 | 4,9 | 5,4 | 5,9 | 6,4 | 6,9 |
| Rapport ti/T [%] | 3,8 | 2,3 | 2,0 | 1,8 | 1,6 | 1,5 | 1,4 | 1,3 | 1,2 |
12.1.5 Barrages immatériels de sécurité résolution 90 mm
| OY204S | OY205S | OY206S | OY207S | OY208S | OY209S | OY210S | |
| Longueur totale L [mm] | 663 | 813 | 963 | 1113 | 1263 | 1413 | 1563 |
| Hauteur de protection [mm] | 610 | 760 | 910 | 1060 | 1210 | 1360 | 1510 |
| Temps de réponse [ms] | 3 | 3,5 | 3,5 | 3,5 | 4 | 4 | 4,5 |
| Fiabilité relative à la technologie de la sécurité \( PFH_{D} \) [1/h] | \( 9,7^{-{09}} \) | \( 1,0^{-{08}} \) | \( 1,1^{-{08}} \) | \( 1,1^{-{08}} \) | \( 1,2^{-{08}} \) | \( 1,2^{-{08}} \) | \( 1,3^{-{08}} \) |
| Durée de l'impulsion de test \( t_i \) [μs] | 80 | 80 | 80 | 80 | 80 | 80 | 80 |
| Intervalle de l'impulsion de test T [ms] | 3,0 | 3,3 | 3,5 | 3,7 | 4,0 | 4,2 | 4,5 |
| Rapport \( t_i/T \) [%] | 3,8 | 2,4 | 2,3 | 2,2 | 2,0 | 1,9 | 1,8 |
12.1.6 Barrières de sécurité à 2, 3 ou 4 faisceaux
| F100 | OY120S OY121 | S OY122S | |
| Nombre de faisceaux 2 3 4 | |||
| Longueur totale L [mm] 653 953 1053 | |||
| Hauteur de protection [mm] 510 810 910 | |||
| Temps de réponse [ms] 2,5 2,5 2,5 | |||
| Fiabilité relative à la technologie de la sécurité \( PFH_{D} \) [1/h] | \( 9,2^{-09} \) | \( 1,0^{-08} \) | \( 1,1^{-08} \) |
| Durée de l'impulsion de test \( t_i \) [μs] | 80 80 80 | ||
| Intervalle de l'impulsion de test T [ms] | 2,3 2,4 2,5 | ||
| Rapport \( t_i / T \) [%] | 3,5 3,3 3,2 |
13 Correction de défauts
Les LED de l'émetteur et du récepteur affichent les états de fonctionnement défectueux ( 9 Éléments de service et d'indication). Voir les tableaux suivants pour une description détaillée des défauts.
13.1 Diagnostic de défauts émetteur
| LED | Cause possible | Correction de defaults | |
| Rouge | 2 impulsions consécutives | Raccordement défectueux broche 2/4 | Vérifier raccordements broches 2 et 4. |
| Rouge | 3/4 impulsions consécutives | Défaut interne Envoyer l'appareil pour réparation à la filiale ifm. | |
13.2 Diagnostic de défauts récepteur
| LED Cause possible Correction | Rejection de defaults | ||
| Rouge | impulsions consécutives | Configuration fausse | Vérifier les raccordements. |
| Rouge | impulsions consécutives | Aucun feedback contacteur externe | Vérifier raccordementbroche 4. |
| Rouge | impulsions consécutives | Émetteur parasite détecté | Chercher l'émetteur parasite et prendre les mesures suivantes: -Réduire la portée de l'émetteur parasite de grande à petite. -Inverser la position de l'émetteur et du récepteur. -Repositionner l'émetteur parasite pour que le récepteur ne soit pas affecté. -Protégier les faisceaux de l'émetteur parasite avec des éléments protecteurs mats. |
| Rouge | impulsions consécutives | Erreur Sorties OSSD | Vérifier les raccordements. Si le défaut existe toujours, envoyer l'appareil à la filiale ifm pour réparation. |
| Rouge | impulsions consécutives | Défaut interne Envoyer | l'appareil pour réparation à la filiale ifm. |
| Jaune $ | signal faible - Vérifier l'orientation de l'émetteur et du récepteur. -Nettoyer le panneau avant, vérifier la portée. -Attendre l'impulsion de redémarrage. | ||
14 Maintenance, réparation et élimination
- Maintenir le dispositif protecteur optoélectronique selon les règlements nationaux en vigueur et selon les délais demandés. Les tests doivent être confiés à des personnes qui possèdent les compétences correspondantes.
- Il est recommandé de nettoyer les panneaux avant de l'émetteur et du récepteur régulièrement.
- Les nettoyer avec un torchon propre humide. Dans les environnements très poussièreux, il est recommandé de nettoyer les panneaux avant avec un produit antistatique.
- Ne pas utiliser de produits de nettoyage agressifs ou abrasifs, car ils peuvent attaquer les surfaces. Afin d'éviter des charges électrostatiques sur la face avant, ne pas utiliser de tissu en laine.

Des rayures sur les panneaux avant des détecteurs de sécurité optoélectroniques peuvent dévier les faisceaux lumineux et affecter la fonction de protection.
- L'appareil ne doit être réparé que par le fabricant.
- S'assurer d'une élimination écologique de l'appareil après son usage selon les règlements nationaux en vigueur.
15 Termes et abréviations
| Blanking Fonction optionnelle qui permet, à des objets plus grands que la capacité de détction, de se trouver dans la zone protégée sans que ceci mène à une désactivation des sorties OSSD. | |
| ESPE Systèmes de protection electro-sensibles | |
| CCF Common Cause Failure Défaillance de cause commune. | |
| DCavg Average Diagnostic Coverage | Degré de couverture du diagnostic moyen. |
| Muting Fonction de suppression temporaire d'une fonction de sécurité par d'autres parties du système de commande relatives à la sécurité. | |
| MTTFd Mean Time To Dangerous Failure | Temps moyen avant défaillance dangereuse. |
| OSSD Output Signal Switch Device | Dispositif de signal de sortie de commutation, Sortie de sécurité statique. |
| PFH (PFHD) Probability of (dangerous) Failure per Hour | Probabilité d'une défaillance (dangereuse) par heures |
| PL Performance Level Capacité des éléments relatifs à la sécurité d'effectuer une fonction de sécurité dans des conditions prévisibles et de réduire le risque. | |
| SIL Safety Integrity Level Niveau de sécurité | SIL 1-4 selon IEC 61508. Plus le niveau SIL est haut, plus faible est la probabilité d'une défaillance de la fonction de sécurité |
| SILcl Safety Integrity Levelclaim limit | Niveau de sécuritélimite de revindication(selon CEI 62061) |
| TM Mission Time Durée d'utilisation | |
Données techniques et informations supplémentaires sur notre site web à www.ifm.com
16.1 Liste de vérification
Cette liste de vérification sert d'aide pour la mise en service des barrages immatériels de sécurité / barrières de sécurité multifaisceaux. Les exigences de la liste de vérification doivent être respectées, selon l'application et les directives / normes consultées.
- Est-ce que les directives / normes valables pour la sécurité de la machine étaient respectées ?
- Est-ce que l'accès à la protection de zone / la protection de surface vers le point de danger est uniquement possible par la zone protégée par les barrages immatériels de sécurité / barrières de sécurité multifaisceaux ?
- Est-ce que les mesures de protection qui empêchent de passer au-dessous, par-dessus ou par les côtés ont été prises et sécurisées contre les tentatives de fraude ?
- Est-ce que le temps d'arrêt de la machine a été mesuré et adapté pour le montage des barrages immatériels de sécurité / barrières de sécurité multifaisceaux ?
- sont fixés correctement et protégés contre le desserrage ou le désalignement ?
- Est-ce que les barrages immatériels de sécurité / barrières de sécurité multifaisceaux ont été vérifiés selon les descriptions de fonctionnement et de maintenance de cette notice ?
- Est-ce qu'une surveillance externe (EDM) des contacteurs externes (par ex. contacteurs, vannes etc.) est utilisée?
- Est-ce que l'état défini comme sur est initialisé lors de la désactivation des barrages immatériels de sécurité / barrières de sécurité multifaisceaux ?
- Est-ce qu'il y a des souillures ou rayures sur la face active de l'émetteur ou du récepteur?
- Est-ce que les instructions de montage de cette notice d'utilisation sont respectées?

Cette liste de vérification ne remplace ni le contrôle ni la mise en service par un électricien formé en technologie de sécurité.
Notice Facile