TA2115 - Transmetteur de température IFM - Notice d'utilisation et mode d'emploi gratuit
Retrouvez gratuitement la notice de l'appareil TA2115 IFM au format PDF.
| Caractéristiques techniques | Capteur de température, plage de mesure -50 à +100°C, précision ±0,5°C |
|---|---|
| Utilisation | Idéal pour les applications industrielles, surveillance de température dans les processus |
| Maintenance et réparation | Vérification régulière des connexions, nettoyage des capteurs si nécessaire |
| Sécurité | Respecter les normes de sécurité électrique lors de l'installation |
| Informations générales | Compatible avec divers systèmes de contrôle, installation simple |
FOIRE AUX QUESTIONS - TA2115 IFM
Questions des utilisateurs sur TA2115 IFM
0 question sur cet appareil. Repondez a celles que vous connaissez ou posez la votre.
Poser une nouvelle question sur cet appareil
Téléchargez la notice de votre Transmetteur de température au format PDF gratuitement ! Retrouvez votre notice TA2115 - IFM et reprennez votre appareil électronique en main. Sur cette page sont publiés tous les documents nécessaires à l'utilisation de votre appareil TA2115 de la marque IFM.
MODE D'EMPLOI TA2115 IFM
Notice d'utilisation
Transmetteurs de température
TA1xxx
TA2xxx
Contenu
1 Remarques préliminaires 3
1.1 Symboles utilisés 3 1.2 Avertissements utilisés 3
2 Consignes de sécurité. 4 3 Usage prévu 5
4 Fonction 6
4.1 Sortie analogique 6 4.2 IO-Link 6
5 Montage 8
5.1 Pour applications aseptiques selon 3A 8 5.2 Pour applications aseptiques selon EHEDG 8 5.3 Appareils avec raccord process Clamp 9
5.4 Appareils avec raccord processus de bouchon d'étanchéité 9
5.4.1 Étanchéité affleurante et aseptique via un joint PEEK. 10 5.4.2 Étancheté affleurante via une zone d'étancheté métal sur métal 10
5.5 Appareils pour raccordement au process via une bague de serrage 10 5.6 Appareils pour raccordement au process au moyen d'adaptateurs sans zone de détention 11
6 Raccordement électrique 12 7 Paramétrage 13
7.1 Paramètres réglables 13
8 Fonctionnement 14 9 Maintenance, réparation et élimination 15 10 Réglage usine. 16
1 Remarques préliminaires
Notice d'utilisation, données techniques, homologations et informations supplémentaires via le code QR sur l'appareil / l'emballage ou sur www.ifm.com.
1.1 Symboles utilisés
✓ Condition préalable Action à effectuer Réaction, résultat
Désignation d'une touche, d'un bouton ou d'un affichage
Référence

Remarque importante
Le non-respect peut aboutir à des dysfonctionnements ou perturbations

Information
Remarque supplémentaire

Attention
Avertissement de dommages corporels
Danger de blessures légères, réversibles.
2 Consignes de sécurité
L'appareil décrit ici est un composant à intégrer dans un système.
- L'installateur du système est responsable de la sécurité du système.
- enir toutes les informations et consignes de sécurité nécessaires à l'opérateur et à l'utilisateur et, le cas échéant, à tout personnel de service autorisé par l'installateur du système.
- Lire ce document avant la mise en service du produit et le conserver pendant la durée d'utilisation du produit.
- Le produit doit être approprié pour les applications et conditions environnantes concernées sans aucune restriction d'utilisation. Utiliser le produit uniquement pour les applications pour lesquelles il a été prévu ( Usage prévu).
- Utiliser le produit uniquement pour les fluides admissibles.
- Un non-respect des consignes ou des données techniques peut provoquer des dommages matériels et/ou corporels.
- Le fabricant n'assume aucune responsabilité ni garantie pour les conséquences d'une mauvaise utilisation ou de modifications apportées au produit par l'utilisateur.
- Le montage, le raccordement électrique, la mise en service, le fonctionnement et l'entretien du produit doivent être effectués par du personnel qualifié et autorisé par le responsable de l'installation.
- Assurer une protection efficace des appareils et des câbles contre l'endommagement.
3 Usage prévu
L'appareil surveille des liquides et des gaz.
L'appareil détecte la température du fluide et la convertit en un signal de sortie analogue.
4.1 Sortie analogue
L'appareil fournit un signal analogique qui est proportionnel à la valeur process.
Le signal analogique peut être inversé :
- 4...20 mA avec réglage [OU] = I 20...4 mA avec réglage [OU] = Ineg
L'étendue de mesure peut être mise à l'échelle : L'étendue de mesure peut être limitée via les paramètres [ASP] et [AEP].

Distance minimale entre ASP et AEP = 5^ ou 9°F
Fig. 1: Etendue de mesure maximale à [OU] = 1 MAW : Valeur initiale de l'étendue de mesure MEW : Valeur finale de l'étendue de mesure
Fig. 2: Etendue de mesure mise à l'échelle à [OU] = 1 ASP : Valeur initiale analogique AEP : Valeur finale analogique
Dans l'étendue de mesure le signal de sortie est entre 4 et 20mA. Si la valeur de température est en dehors des limites de l'étendue de mesure, le signal suivant est fourni :
| Signal de sortie à [OU] = I Signal de sortie à [OU] = Ineg | ||
| Température > AEP 20...20,6 mA 4...3,7 | mA | |
| Température > MEW 20,6 mA 3,7 mA | ||
| Température < ASP 4...3,7 mA 20...20,6 | mA | |
| Température < MAW 3,7 mA | 20,6 mA | |
En cas de défaut interne, le signal de sortie se comporte selon les paramètres régés dans [FOU] (3,5 mA ou 21,1 mA).
4.2 IO-Link
Cet appareil dispose d'une interface de communication IO-Link permettant l'accès direct aux données process et de diagnostic. De plus, le paramétrage de l'appareil est possible pendant le fonctionnement. L'utilisation de l'appareil via l'interface IO-Link nécessite un maître IO-Link.
Pour une communication hors fonctionnement, il vous suffit d'un PC, d'un logiciel de paramétrage IO-Link adapté et d'un câble adaptateur IO-Link.
Les IODD nécessaires pour la configuration de l'appareil, les informations détaillées concernant la structure des données process, les informations de diagnostic et les adresses des paramètres ainsi que toutes les informations nécessaires concernant le matériel et le logiciel IO-Link sont disponibles sur www.ifm.com.
Avec le matériel et le logiciel appropriés, l'interface IO-Link offre les fonctions suivantes :
- Paramétrage à distance de l'appareil.
- Transmission des signaux résistante aux parasites et sans perte de valeurs mesurées.
- Transmission du paramétrage lors du remplacement d'un appareil ou à d'autres appareils du même type.
- Affichage des messages d'erreur et d'événement.
- Sauvegarde sans papier des paramétrages, des valeurs process et des messages de diagnostic.
- Évaluation des valeurs process et des données de diagnostic via le maître IO-Link.
- Affichage des valeurs de température minimum et maximum.

Attention
Pendant le montage ou en cas de défaut, une haute pression ou des fluides chauds peuvent s'échapper de l'installation.
Risque de blessure du à la pression ou aux brûlures. S'assurer que le circuit n'est pas sous pression avant d'effectuer des travaux de montage. S'assurer que pendant les travaux de montage, des fluides ne peuvent pas s'écouler à l'endroit du montage.
5.1 Pour applications aseptiques selon 3A
Fixer les capteurs Clamp à l'aide d'un serrage (Clamp). S'assurer d'une intégration de l'appareil dans l'installation selon 3A. Utiliser uniquement des raccords process avec homologation 3A et marqués avec le symbole 3A → Accessoires sur www.ifm.com).

Observer les réglementations pour le nettoyage et la maintenance en cas d'utilisation selon 3A.

L'utilisation n'est pas possible dans des installations qui doivent satisfaire aux critères du point E1.2 / 63-03 de la norme 3A, 63-03.
Fig. 3: Position de montage si utilisé selon 3A
Observer le positionnement du capteur afin d'assurer l'écoulement du fluide de l'adaptateur de montage. Ne pas installer l'appareil en position 4 ou 5.
5.2 Pour applications aseptiques selon EHEDG

Si le capteur est correctement installé, il est approprié pour le NEP (nettoyage en place).
Prendre en compte les limites d'utilisation (résistance à la température et résistance de la matière) selon la fiche technique.
S'assurer d'une intégration de l'appareil dans l'installation selon EHEDG. Utiliser une installation auto-vidante. Utiliser uniquement des adaptateurs process homologués EHEDG ayant des joints d'étanchéité spéciaux exigés par la norme EHEDG.
Installer les orifices de fuite de manière bien visible et orientés vers le bas en cas de conduites verticales. En cas de composants présents dans la cuve, ils doivent permettre l'accès d'un jet de nettoyage direct. S'assurer que toutes les zones en contact avec la matière soient bien nettoyées. Pour éviter des zones mortes, respecter les dimensions selon la figure suivante : L < (D-d).



1: Joint d'étanchéité côté capteur (E43911 / E43915) 2: Joint d'étanchéité selon la prise de position EHEDG 3: Adaptateur 4: Orifice de fuite 5: Joint PEEK (E43911/E43915)
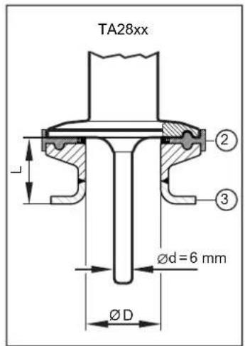
5.3 Appareils avec raccord process clamp
Les appareils monoblocs de type TA28xx avec Clamp 1,5" sont les plus faciles à utiliser pour l'installation aseptique.

Prendre en compte les instructions de montage pour l'emploi dans les zones aseptiques selon 3A ou EHEDG.
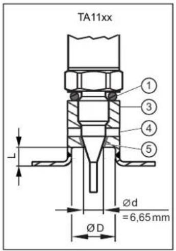
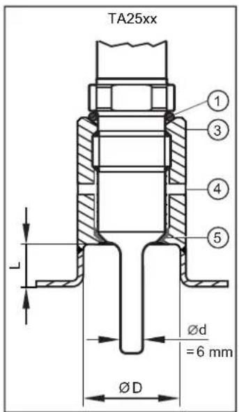
5.4 Appareils avec raccord process cône d'étanchéité
Les appareils de type TA25xx (cône d'étanchéité G1½) et TA11xx (cône d'étanchéité M12) peuvent être adaptés aux raccords process standards via deux versions d'étanchéité. Pour les deux versions d'étanchéité, il est recommandé :
Utiliser seulement des accessoires d'ifm electronic. Le bon fonctionnement n'est pas assuré en cas d'utilisation de composants d'autres fabricants. Lire la notice de l'adaptateur utilisé.
Pour un montage du capteur conforme à 3A et EHEDG, utiliser le joint PEEK.
- Pour les appareils TA25xx : E43911 (joint d'étanchéité PEEK et joint d'étanchéité côte capteur).
- Pour les appareils TA11xx : E43915 (joint d'étanchéité PEEK et joint d'étanchéité côte capteur).

E43911 / E43915 n'est pas fourni et doit être commandé séparément.
Prendre en compte la notice de montage du E43911 / E43915.

Le joint d'étanchéité côte capteur peut compenser des tolérances. Il évite la pénétration de fluides autour du filetage.
Le joint d'étanchéité côte capteur ne peut pas absorber à lui seul la pression du système.
5.4.1 Étanchéité affleurante et aseptique via un joint PEEK
Insérer le joint PEEK. - Le joint PEEK est approprié pour l'utilisation dans des installations aseptiques selon EHEDG et 3A. - Le joint PEEK a une stabilité à long terme et ne nécessite aucune maintenance. - En cas de montage répété, vérifier le joint PEEK et le replacer, si nécessaire. - Le joint PEEK est conçu pour les adaptateurs ifm avec une butée mécanique vers le fluide. Utiliser des adaptateurs avec orifices de fuite. Visser le capteur dans l'adaptateur. Couple de serrage recommandé 20 Nm.

Prendre en compte les instructions de montage pour l'emploi dans les zones aseptiques selon 3A ou EHEDG.
5.4.2 Étanchéité affleurante via une zone d'étanchéité métal sur métal

L'effet d'étanchéité stable à long terme, sans maintenance, d'une zone d'étanchéité métal sur métal est seulement garanti si l'appareil n'est monté qu'une seule fois.
Ne pas utiliser le joint PEEK. Visser le capteur dans l'adaptateur. Couple de serrage recommandé : 20 Nm.
5.5 Appareils pour raccordement au process via une bague de serrage
Les appareils de type TA22xx sont montés dans le tuyau ou la cuve en tant que sondes rigides via un adaptateur à bague de serrage.
Exemples de montage :

Fig. 4: Installation directe (par ex. avec adaptateur E30407) Fig. 5: Installation avec tube protecteur (par ex. avec adaptateur E37421)
5.6 Appareils pour raccordement au process au moyen d'adaptateurs conçus sans zone de détention
Les appareils de type TA16xx sont montés dans le tuyau ou la cuve au moyen d'adaptateurs conçus sans zone de détention.
Le montage des adaptateurs conçus sans zone de détention permet une installation sans zone morte et un nettoyage facile pour applications aseptiques.
Plus d'informations sur www.ifm.com.
6 Raccordement électrique

L'appareil doit être raccordé par un électricien qualifié.
Respecter les réglementations nationales et internationales relatives à l'installation de matériel électrique.
Alimentation en tension selon EN 50178, TBTS, TBTP.
Mettre l'installation hors tension. Raccorder l'appareil comme suit :
Fig. 6: Schéma de branchement
Fonctionnement en tant qu'appareil à 2 fils (1)
| Broche Affection | |
| 1 | L+ |
| 2 Signal analogue température | |
Fonctionnement en tant qu'appareil à 4 fils (2)
| Broche Affectation | |
| 1 | L+ |
| 2 Signal analogue températe | |
| 3 | L- |
| 4 IO-Link |
7 Paramétrage
Un outil de paramétrage avec possibilité IO-Link offre les options suivantes :
- Lire les valeurs process actuelles.
- Lire, modifier, sauvegarder tous les réglages de paramètres actuels et les transmettre à d'autres appareils du même type. Raccorder l'appareil via l'interface IO-Link sur un PC ou un API avec un logiciel de paramétrage approprié.

Toutes les informations nécessaires sur le matériel et le logiciel IO-Link sur www.ifm.com.
7.1 Paramètres réglables
| Paramètre Description | ||
| OU • I : 4...20 mA | • Ineg : 20...4 mA | |
| ASP Valeur minimum de la sortie analogue | ||
| Pour OU2 = I Valeur de température mesurée à laquelle 4 mA sont fournis. | ||
| Pour OU2 = Ineg Valeur de température mesurée à laquelle 20 mA sont fournis. | ||
| AEP Valeur maximum de la sortie analogue | ||
| Pour OU2 = I Valeur de température mesurée à laquelle 20 mA sont fournis. | ||
| Pour OU2 = Ineg Valeur de température mesurée à laquelle 4 mA sont fournis. | ||
| COF Calibrage du point zéro | Plage de réglage : ± 10 °C en pas de 0,1 °C. La valeur mesurée interne "0" est décalée de cette valeur. | |
| FOU Comportement de la sortie en cas d'un défaut interne. • On : Le signal analogique passé à la valeur 21,1 mA. • OFF : Le signal analogique passé à la valeur 3,5 mA. | ||
| Uni Unité de mesure pour la température du fluide : °C ou °F. | ||
8 Fonctionnement
Après la mise sous tension, l'appareil se trouve en mode de fonctionnement normal.
9 Maintenance, réparation et élimination
Cet appareil ne nécessite aucun entretien.
L'appareil ne doit être réparé que par le fabricant.
S'assurer d'une élimination écologique de l'appareil après son usage selon les règlements nationaux en vigueur.
10 Réglage usine
| Paramètre Réglage | usine Réglage utiliser | |
| OU21 | ||
| COF 0 | ||
| FOU2 OFF |
Réglage usine pour [ASP] et [AEP] et l'unité de mesure [Uni] → Données techniques sur www.ifm.com.
Notice Facile