MK5101 - Détecteur IFM - Notice d'utilisation et mode d'emploi gratuit
Retrouvez gratuitement la notice de l'appareil MK5101 IFM au format PDF.
| Caractéristiques techniques | Non spécifiées |
|---|---|
| Utilisation | Non spécifiée |
| Maintenance et réparation | Non spécifiées |
| Sécurité | Non spécifiée |
| Informations générales | Non spécifiées |
FOIRE AUX QUESTIONS - MK5101 IFM
Questions des utilisateurs sur MK5101 IFM
0 question sur cet appareil. Repondez a celles que vous connaissez ou posez la votre.
Poser une nouvelle question sur cet appareil
Téléchargez la notice de votre Détecteur au format PDF gratuitement ! Retrouvez votre notice MK5101 - IFM et reprennez votre appareil électronique en main. Sur cette page sont publiés tous les documents nécessaires à l'utilisation de votre appareil MK5101 de la marque IFM.
MODE D'EMPLOI MK5101 IFM
Notice de Montage Détecteur magnetoinductif pour vérins
efector120
Emploi prescrit par les usages
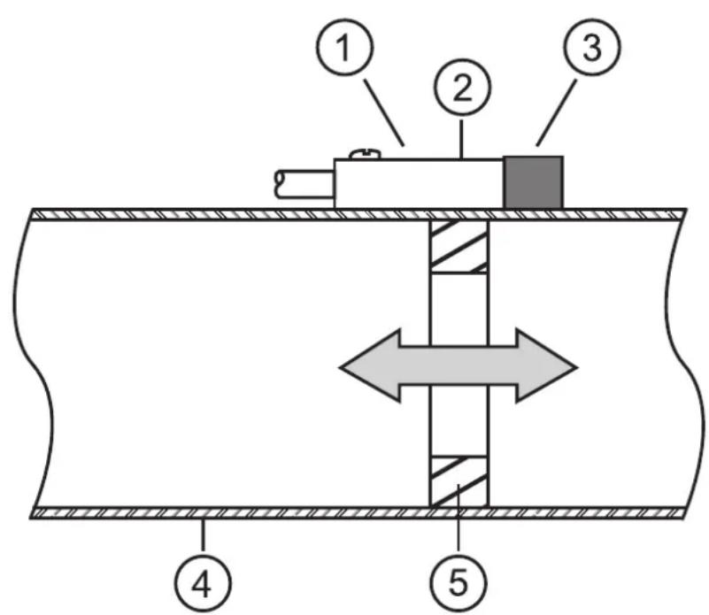
Le détector pour vérins signale la position du piston d'un vérin.
Le détector pour vérins détecte l'aimant torique du piston du vérin quand celui-ci passe à proximité et signale cela par une commutation.
- Utilisable avec tous les vérins à corps non magnétisable.

1: Déteceur 2: Face active 3: Accessoire de mémorisation 4: Paroi du vérin 5: Piston du vérin avec aimant torique
Montage
Fixer le détecteur sur le vérin. Positionner la face active à l'endroit où la position du piston doit être détectée. Vous trouverez une sélection d'adaptateurs de montage sur www.ifm.com/accessory.
Raccordement électrique

Mettre l'installation hors tension avant le raccordement du détecteur.
Raccordement strictement selon les indications de l'étiquette. Couleur des fils pour détecteurs avec sortie sur câble:
Réglage / fonctionnement
- Mettre le piston dans la position à détecter.
- Positionner le détecteur de manière précise à l'aide de l'indication par LED : La LED est allumée lorsque la sortie est commutée.
- Fixer le détecteur dans la rainure de manière fiable.
- Mémoriser la position du détecteur en utilisant l'accessoire de mémorisation.

Le montage du vérin à proximité immédiate de composants magnétisables peut entraîner des changements du comportement de commutation du détecteur.

Notice Facile