OWA206RVS - Hotte Pelgrim - Notice d'utilisation et mode d'emploi gratuit
Retrouvez gratuitement la notice de l'appareil OWA206RVS Pelgrim au format PDF.
| Caractéristiques techniques | Hotte décorative murale, inox |
|---|---|
| Dimensions | Largeur : 60 cm |
| Débit d'air | Jusqu'à 600 m³/h |
| Niveaux de puissance | 3 niveaux de puissance |
| Filtration | Filtres à graisse en aluminium, lavables |
| Éclairage | Éclairage LED intégré |
| Utilisation | Commandes par boutons, facile à utiliser |
| Maintenance | Filtres à nettoyer régulièrement, entretien simple |
| Sécurité | Protection contre la surchauffe |
| Informations générales | Idéale pour les cuisines de taille moyenne, design moderne |
FOIRE AUX QUESTIONS - OWA206RVS Pelgrim
Questions des utilisateurs sur OWA206RVS Pelgrim
0 question sur cet appareil. Repondez a celles que vous connaissez ou posez la votre.
Poser une nouvelle question sur cet appareil
Téléchargez la notice de votre Hotte au format PDF gratuitement ! Retrouvez votre notice OWA206RVS - Pelgrim et reprennez votre appareil électronique en main. Sur cette page sont publiés tous les documents nécessaires à l'utilisation de votre appareil OWA206RVS de la marque Pelgrim.
MODE D'EMPLOI OWA206RVS Pelgrim
Notice d'utilisation
Hotte cheminée
Bedienungsanleitung
Dunstabzugshaube
| Description | 4 | ||
| Introduction | 4 | ||
| Système | d'évacuation | ||
| Utilisation | |||
| Commande | 6 | ||
| Entretien | |||
| Nettoyage | 7 | ||
| Elimination | des filtrés | ||
| Remplacement des filtrés à charbon | 8 | ||
| Changement | d'ampoules | 8 | |
| Installation | |||
| Généralités | 10 | ||
| Connexion | électrique | ||
| Préparation | 12 | ||
| Mode | recyclage d'air | ||
| Montage | 13 | ||
Mise au rebut de l'appareil et de I'emballage 14
Description

A Touche arrêt
B Ventilateur position 1
C Ventilateur position 2
D Ventilateur position 3
E Eclairage
Introduction

Ce mode d'emploi offre une vue d'ensemble rapide de toutes les fonctions de l'appareil. Il contient des informations relatives aux consignes de sécurité et à l'entretien de l'appareil.
Conserve ce mode d'emploi et le guide d'installation.
Ils peuvent etre utiles aux futurs utilisateurs de I'appareil.
Système d'évacuation



En fonction du modele, la hotte aspirante peut etre raccordee de deux manieres:
- Version canal d'évacuation. Les vapeurs de cuisson aspirées et filtrées sont evacuées vers l'extérieur via la partie de la hotte. C'est la meilleure manière!

- Version recyclage. Les particules de graisse et les odeurs contenues dans les vapeurs de cuisson sont filtrées. L'air aspiré n'est pas evacué, mais renvoyé dans la cuisine. Il convient de placer un filtré à charbon actif dans la hotte.

Attention! Le filtré à charbon actif doit être commandé séparément. Une hotte de cuisine utilisée avec le filtré à charbon est plus bruyante qu'une hotte à évacuation extérieure.

Veuillez lore les consignes de sécurité fournies séparément avant la première utilisation de l'ordinateil!
UTILISATION
Commande

Marche et arrêt de la ventilation
- Appuyez sur la touche de vitesse B, C ou D.
La hotte aspirante est activée en fonction de la position selectionnée.
- Appuyez sur la touche de désactivation A.
Leventilateurestdésactivé.
Marche et arrêt de l'éclairage
- Appuyez sur la touche d'éclairage E.
L'éclairage s'allume.
- Appuyez encore sur la touche d'éclairage E.
L'éclairage s'eteint.
Nettoyage

Attention! Avant tout entretien, déconnectez l'alimentation électrique de la hotte, soit en débranchant la fiche d'alimentation, soit en coupant le courant au niveau de l'interrupteur principal du logement.
La hotte doit être régulièrement nettoyée à l'intérieur et à l'extérieur (au moins à la même fréquence que pour l'entretien des filtres àGRAISE).
Ne pas utiliser de produit contenant des abrasifs. Ne pas utiliser
d'alcool!
Attention! Il y a risque d'incendie si vous ne respectez pas les instructions concernant le nettoyage de l'appareil et le remplacement ou le nettoyage du filtré.
La responsabilité du constructeur ne peut enaucun cas etre engagée dans le cas d'un endommagement du moteur ou d'incendie liés à un entretien négligé ou au non respect des consignes de sécurité precedemment mentionnées.
Hotte
Vous pouvez nettoyer la hotte à l'eau savonneuse et une serviette douce, puis rincer à l'eau claire. Ne pas utiliser de produits d'entretien abrasifs. Frotter la peinture laquée de votre hotte avec de la cire pour qu'elle conserve sa beauté.

Hottes a cheminée en acier inoxydable
Ne pas nettoyer la cheminée avec une éponge à récurer ou avec des produits abrasifs. Frotter la cheminée en acier inoxydable avec un nettoyant pour acier inoxydable.
Filtres métalliques
Le filtrte doit être nettoyé une fois par mois (ou lorsque le système d'indication de saturation des filtres – si prévu sur le modèle possédé – indique cette nécessité) avec des détergents non agressifs, à la main ou dans le lave-vaisselle à faibles températures et cycle rapide. Placez les filtres en mettant les ouvertures vers le bas dans le lave-vaisselle pour permettre à l'eau de s'écouler. Les produits d'entretien donnent aux filtres en aluminium une couleur terne. Cela est tout à fait normal.
Filtres

Elimination des frittes
Coupt! Débrancher la fiche de prise de courant ou mettre le disjoncteur en position d'interruption du courant. Inclinez le panneau vers le bas. Appuyez sur la fermeture du filtre àGRAISSE et inclinez le filtre àGRAISSE vers l'avant pour l'oter.
Filtres a charbon
Remplacement des filtres à charbon

Vous doivent utiliser le filtré à charbon lorsqu'la hotter n'est raccordée àaucun conduit.
- Enlevez les filtres àGRAISSE.
- Fixez les filtres à charbon au moteur.
- Placez les filtres aGRAISSE.
Remarque :
- Le charbon de bois activé sature après une utilisation plus ou moins prolongée, selon le type de cuisson et la fréquence de nettoyage du filtré àGRAisse.
- Dans tous les cas, le filtré à charbon doit, cependant, être remplaça au moins tous les 4 mois.
- Les filtres à charbon actif ne sont pas lavables et donc pas réutilisables. Le charbon actif sature est polluant, donc remplacez le filtré à temps.
Éclairage

L'éclairage de la hotte aspirante est basé sur la technologie LED.
- Les lampes à LED vous garantissent un éclairage optimal, une durée de vie 10 fois supérieure aux lampes classiques et des économies d'énergie pouvant aller jusqu'à 90% .
- Pour le remplacement de l'éclairage à LED, prenez contact avec le service technique.
FR 8 Pelgrim
Généralités
Le raccordement électrique de cet apparéil doit être effectué par un installateur agréé, qui connait et applique les normes de sécurité en vigueur. Cet apparéil est conformément aux directives Européens.
Important:
- La distance entre le point le plus bas de la hotte aspirante et la plaque de cuisson doit être d'au moins 65 cm. Sur les taques de cuisson électriques, céramique ou à induction, cette distance doit être d'au moins 55 cm.
- Si la hotte est raccordée à un conduit d'évacuation existant, aucune autre apparéil electroménager ne doit être raccordé au même conduit (exemples : chauffe-eau, poèle).
- Ne pas oublier les règlements locaux en vigueur concernant l'ação des apparciels à gaz.
- Un conduit d'évacuation court et un nombre limite de coudes assurent un meilleur fonctionnement de la hotte.
- Avant de commencer à percer, assurez vous qu'il ne passé pas de conduites à l'endroit choisi.
- Le tuyau de connexion a un diamètre de 125 mm. Il est conseilé d'utiliser aussi ces diamètres pour le tube de connexion.
- Le matériel d'installation livre avec la hotte en question, est approprié pour des murs en béton renforcé et en briques. Certains types de murs demanderont des chevilles et des vis spéciales.
Utiliser, si fournit, le gabarit de montage pour marquer les trous de montage.
Connexion

Connexionélectrique
L'appareil est construit en classe II, pour celaaucun cable ne doit etre connecte avec la prise terre.
Il faut s'assurer que la tension du réseau correspond à la valeur indiquée à la plaque signalétique de la hotte. La connection avec le réseau électrique doit être exécutée comme suit:
BRUN = Phase L
BLEU = Phase N

Cette hotte aspirante est equipoise d'une fiche de raccordement.
Installez la hotte de manière à ce que la prise soit accessible.
Placez la prise murale de préférence hors de vue et derrière la gaine décorative.
Attention:
Pour le branchement fixe, veillez à ce que le cable d'alimentation soit muni d'un interrupteur omnipolaire avec une distance de contact d'au moins 3 mm.

max. 100mm
Preparation

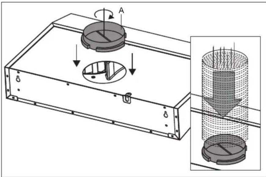
Fixez la bride fournie (A) à la hotte et installez le tuyau d'évacuation sur la bride.

Recirculation

Cette hotte aspirante convient pour la recirculation de l'air (voir « Systèmes d'aspiration »). Convertissez la hotte aspirante pour permettre la recirculation.
- Retirez la bride d'évacuation.

- Placez le bouchon obturateur.

- Tournez les poignées de distribution d'air sur les deux boîtiers de moteur dans la position « Recirculation »

- Installes les filtres à charbon.

FR 12 Pelgrim
Montage
Contre le mur

- Enlevez les filtres de la hotte.
- Maintenez la hotte contre le mur.
- Dessinez - à travers la hotte - les trous de fixation (A) et les trous pour bloquer la hotte (B).
- Percez les troux.
- Enforcez les bouchons filetés dans les trous.
- Vissez les vis dans les 2 trous de fixation (A). Attention : vissez les vis de manière à ce qu'elles sortent encore d'un cm du mur.
- Accrochez la hotte en utilisant les 2 vis de serrage.
- Vissez correctement les vis de fixation.
- Vissez correctement les vis de serrage.
Raccordez le tuyau d'évacuation à la bouche d'évacuation.
En dessous d'un placard de cuisine

- En vous aidant du gabarit fourni, tracez au crayon les repères des 4 trous de fixation (A), du trou pour le cordon de raccordement (C) et du trou pour l'évacuation (D) en dessous du placard de cuisine.
- Percez les trous.
- Introduisez le cordon de raccordement à travers le trou correspondant et poussez la bouche d'évacuation à travers l'ouverture.
- Vissez la hotte sur le fond du placard de cuisine avec les vis fournies.
Raccordez te tuyau d'évacuation à la bouche d'évacuation. - Branchez la fiche dans la prise de courant.
Mise au rebut
Mise au rebut de l'appareil et de l'emballage
Des matériaux solides ont eté utilisés pour fabriquer cet apparéil. Evacuez ces matériaux correctement et conformément aux dispositions administratives. Les autorités de votre pays pourront vous fournir des informations à ce sujet.
L'emballage de l'appareil est recyclable. Pour l'emballage, il peut etre fait usage :
- de carton;
- de film polyethylene (PE);
- de polystyrene exempt de CFC (mousse dure PS).
Ces matériaux doivent être mis au rebut de manière responsable et conforme aux dispositions gouvernementales.

Pour rappeler l'obligation de traiter séparément les apparêils electroménagers, a été apposé sur le produit un symbole représentant un conteneur à ordures barre d'une croix. Cela signifie qu'à l'issue de sa durée de vie, l'appareil ne peut être mis au rebut avec les déchets menagers classiques. L'appareil doit être déposé dans un centre de collecte sélective de déchets prévu par l'administration communale ou dans un point de vente fournissant ce service.
Le traitement sépare d'un apparéil electroménager permet d'éviter, pour l'environne ment et la santé, les retombées négatives qui pouraient découvert d'un traitement incorrect et permet de récapérer les matérielux qui le composent dans le but d'une économie importante en termes d'énergie et de ressources.

Déclaration de conformité
Nous déclarons que nos produits répondent aux directives européennes applicables, décisions et règlements et les exigences enumeratedes dans les normes de referencia.
INHALT
Ohre Haube
Notice Facile